Главная // Актуальные документы // ГОСТ Р (Государственный стандарт)СПРАВКА
Источник публикации
В данном виде документ опубликован не был.
Первоначальный текст документа опубликован в издании
М.: Стандартинформ, 2008.
Информацию о публикации документов, создающих данную редакцию, см. в справке к этим документам.
Примечание к документу
Взамен ГОСТ Р 51891-2002.
Название документа
"ГОСТ Р 51891-2008 (ИСО 1161:1984). Национальный стандарт Российской Федерации. Контейнеры грузовые серии 1. Фитинги. Технические условия"
(утв. и введен в действие Приказом Ростехрегулирования от 23.06.2008 N 126-ст)
(ред. от 10.12.2019)
"ГОСТ Р 51891-2008 (ИСО 1161:1984). Национальный стандарт Российской Федерации. Контейнеры грузовые серии 1. Фитинги. Технические условия"
(утв. и введен в действие Приказом Ростехрегулирования от 23.06.2008 N 126-ст)
(ред. от 10.12.2019)
Утвержден и введен в действие
по техническому регулированию
и метрологии
от 23 июня 2008 г. N 126-ст
НАЦИОНАЛЬНЫЙ СТАНДАРТ РОССИЙСКОЙ ФЕДЕРАЦИИ
КОНТЕЙНЕРЫ ГРУЗОВЫЕ СЕРИИ 1
ФИТИНГИ
ТЕХНИЧЕСКИЕ УСЛОВИЯ
Series 1 freight containers. Fittings.
Specifications
ISO 1161:1984
Series 1 freight containers - Corner fittings -
Specification
(MOD)
ГОСТ Р 51891-2008
(ИСО 1161:1984)
| | Список изменяющих документов Росстандарта от 10.12.2019 N 1356-ст) | |
Дата введения
1 января 2009 года
Цели и принципы стандартизации в Российской Федерации установлены Федеральным
законом от 27 декабря 2002 г. N 184-ФЗ "О техническом регулировании", а правила применения национальных стандартов Российской Федерации -
ГОСТ Р 1.0-2004 "Стандартизация в Российской Федерации. Основные положения".
1 ПОДГОТОВЛЕН Закрытым акционерным обществом "Промтрансниипроект" (ЗАО "Промтрансниипроект") и Открытым акционерным обществом "НИИВагоностроения" (ОАО "НИИВагоностроения") на основе собственного аутентичного перевода международного стандарта, указанного в пункте 4
2 ВНЕСЕН Техническим комитетом по стандартизации ТК 246 "Контейнеры"
3 УТВЕРЖДЕН И ВВЕДЕН В ДЕЙСТВИЕ
Приказом Федерального агентства по техническому регулированию и метрологии от 23 июня 2008 г. N 126-ст
4 Настоящий стандарт является модифицированным по отношению к международному стандарту ИСО 1161:1984 "Контейнеры грузовые серии 1. Фитинги угловые. Технические условия" (ISO 1161:1984 "Series 1 freight containers - Corner fittings - Specification", MOD) путем внесения технических отклонений, объяснение которых приведено во введении к настоящему стандарту, изменения его структуры, а также путем приведения в соответствие с международным стандартом ИСО 1161:2016
(в ред.
Изменения N 1, утв. Приказом Росстандарта от 10.12.2019 N 356-ст)
Дополнительные слова, показатели и их значения, включенные в текст стандарта для учета потребностей национальной экономики Российской Федерации, выделены курсивом.
Сравнение структуры настоящего стандарта со структурой указанного международного стандарта приведено в дополнительном
Приложении E.
Наименование настоящего стандарта изменено относительно наименования указанного международного стандарта для приведения в соответствие с ГОСТ Р 1.5-2004 (
подраздел 3.5)
Сведения о соответствии ссылочных национальных стандартов международным стандартам, использованным в качестве ссылочных в примененном международном стандарте, приведены в дополнительном
приложении ДА.
(абзац введен
Изменением N 1, утв. Приказом Росстандарта от 10.12.2019 N 356-ст)
5 ВЗАМЕН ГОСТ Р 51891-2002 (ИСО 1161:1984)
Информация об изменениях к настоящему стандарту публикуется в ежегодно издаваемом информационном указателе "Национальные стандарты", а текст изменений и поправок - в ежемесячно издаваемых информационных указателях "Национальные стандарты". В случае пересмотра (замены) или отмены настоящего стандарта соответствующее уведомление будет опубликовано в ежемесячно издаваемом информационном указателе "Национальные стандарты". Соответствующая информация, уведомления и тексты размещаются также в информационной системе общего пользования - на официальном сайте Федерального агентства по техническому регулированию и метрологии в сети Интернет
Настоящий стандарт является модифицированным по отношению к международному стандарту ИСО 1161:2016 "Контейнеры грузовые серии 1. Фитинги угловые. Технические условия".
(в ред.
Изменения N 1, утв. Приказом Росстандарта от 10.12.2019 N 356-ст)
По сравнению с примененным международным стандартом ИСО 1161:2016 в текст настоящего стандарта внесены следующие изменения:
(в ред.
Изменения N 1, утв. Приказом Росстандарта от 10.12.2019 N 356-ст)
- в
разделе 2 международные стандарты заменены на аналогичные национальные и добавлены ссылки на
ГОСТ 977-88,
ГОСТ 9454-78,
ГОСТ 15150-69, ГОСТ Р ИСО 148-1-2013, которыми установлены используемые в стандарте технические условия и методы испытаний стальных отливок;
(в ред.
Изменения N 1, утв. Приказом Росстандарта от 10.12.2019 N 356-ст)
- стандарт дополнен
разделом 3 "Термины и определения";
- в
разделе 4 пункт 4.1.1 дополнен объяснением, как определять правосторонние и левосторонние фитинги контейнера;
- в
разделе 6, подраздел 6.1, в таблице 1 представлены минимальные расчетные и испытательные нагрузки на угловые и промежуточные фитинги контейнера, которые в международном стандарте ИСО 1161:2016 представлены в пунктах 5.1.3 - 5.1.8; изменены номера
рисунков 6 и
7;
(в ред.
Изменения N 1, утв. Приказом Росстандарта от 10.12.2019 N 356-ст)
-
подраздел 6.2 дополнен
рисунком 8, который в международном стандарте ИСО 1161:2016 представлен в приложении A, рисунок A.1;
- стандарт дополнен
разделом 9, который в международном стандарте ИСО 1161:2016 представлен в разделе 8;
- стандарт дополнен
приложением D, содержащим требования, отражающие потребности экономики страны;
- стандарт дополнен
приложением E, содержащим изменение структуры настоящего стандарта по отношению к ИСО 1161:2016;
- стандарт дополнен
приложением ДА, содержащим сведения о соответствии ссылочных национальных стандартов международным стандартам, использованным в качестве ссылочных в примененном международном стандарте;
- стандарт дополнен структурным
элементом "Библиография".
(в ред.
Изменения N 1, утв. Приказом Росстандарта от 10.12.2019 N 356-ст)
(в ред.
Изменения N 1, утв. Приказом Росстандарта от 10.12.2019 N 356-ст)
Настоящий стандарт устанавливает основные размеры и требования к прочности угловых и промежуточных фитингов, предназначенных для грузовых контейнеров ИСО серии 1, соответствующих
ГОСТ Р 51876, по
ГОСТ Р ИСО 3874 (в части методов подъема).
Фитинги, предназначенные для установки на контейнеры с массой брутто, большей, чем в
ГОСТ Р 51876, включая контейнеры массой брутто до 36000 кг по
ГОСТ Р 53350, требуют выполнения дополнительных требований.
Настоящий стандарт не распространяется на угловые фитинги авиационных контейнеров
[1].
В настоящем стандарте использованы нормативные ссылки на следующие стандарты:
ГОСТ Р 51876-2008 (ИСО 1496-1:1990) Контейнеры грузовые серии 1. Технические требования и методы испытаний. Часть 1. Контейнеры общего назначения
(в ред.
Изменения N 1, утв. Приказом Росстандарта от 10.12.2019 N 356-ст)
(в ред.
Изменения N 1, утв. Приказом Росстандарта от 10.12.2019 N 356-ст)
ГОСТ Р 53350-2009 (ИСО 668:1995) Контейнеры грузовые серии 1. Классификация, размеры и масса
(ссылка введена
Изменением N 1, утв. Приказом Росстандарта от 10.12.2019 N 356-ст)
ГОСТ 977-88 Отливки стальные. Общие технические условия
ГОСТ 9454-78 Металлы. Метод испытания на ударный изгиб при пониженных, комнатной и повышенных температурах
ГОСТ 15150-69 Машины, приборы и другие технические изделия. Исполнения для различных климатических районов. Категории, условия эксплуатации, хранения и транспортирования в части воздействия климатических факторов внешней среды
ГОСТ Р ИСО 148-1-2013 Материалы металлические. Испытание на ударный изгиб на маятниковом копре по Шарпи. Часть 1. Метод испытания
(ссылка введена
Изменением N 1, утв. Приказом Росстандарта от 10.12.2019 N 356-ст)
(ссылка введена
Изменением N 1, утв. Приказом Росстандарта от 10.12.2019 N 356-ст)
Примечание - При пользовании настоящим стандартом целесообразно проверить действие ссылочных стандартов в информационной системе общего пользования - на официальном сайте Федерального агентства по техническому регулированию и метрологии в сети Интернет или по ежегодному информационному указателю "Национальные стандарты", который опубликован по состоянию на 1 января текущего года, и по выпускам ежемесячного информационного указателя "Национальные стандарты" за текущий год. Если заменен ссылочный стандарт, на который дана недатированная ссылка, то рекомендуется использовать действующую версию этого стандарта с учетом всех внесенных в данную версию изменений. Если заменен ссылочный стандарт, на который дана датированная ссылка, то рекомендуется использовать версию этого стандарта с указанным выше годом утверждения (принятия). Если после утверждения настоящего стандарта в ссылочный стандарт, на который дана датированная ссылка, внесено изменение, затрагивающее положение, на которое дана ссылка, то это положение рекомендуется принять без учета данного изменения. Если ссылочный стандарт отменен без замены, то положение, в котором дана ссылка на него, рекомендуется применять в части, не затрагивающей эту ссылку.
(примечание в ред.
Изменения N 1, утв. Приказом Росстандарта от 10.12.2019 N 356-ст)
В настоящем стандарте применены термины по ГОСТ Р 52202, а также следующий термин с соответствующим определением:
промежуточные фитинги: Элементы конструкции контейнеров типа E, расположенные симметрично от вертикальной оси контейнера между угловыми фитингами на расстоянии, равном габаритным размерам контейнера типа A, и обеспечивающие установку, штабелирование, перегрузку и крепление контейнеров.
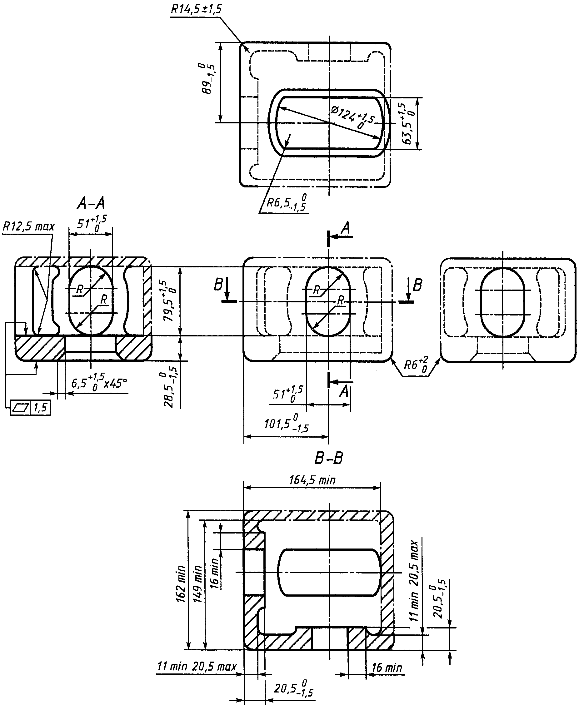
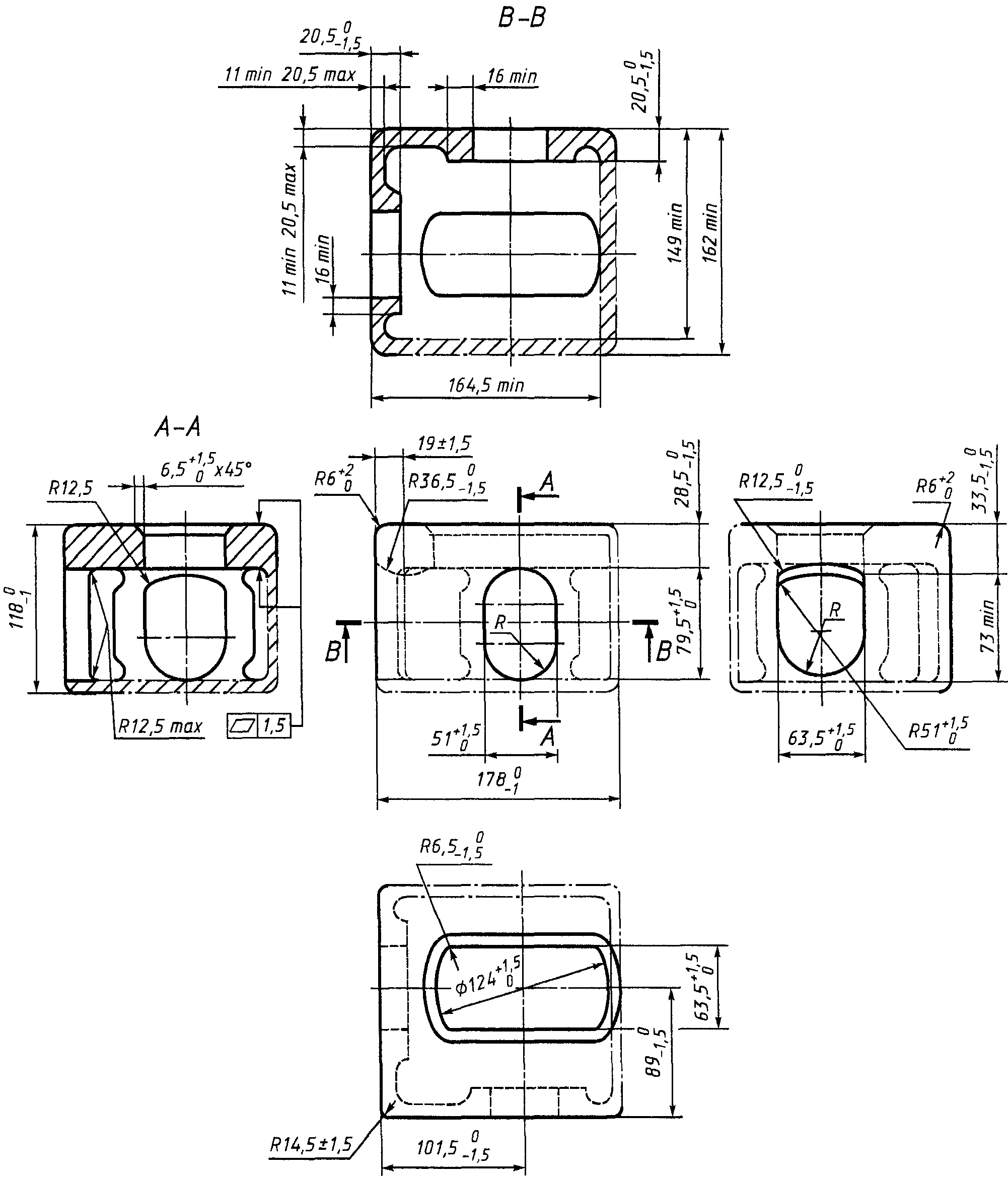
4.1.1 Размеры угловых нижних и верхних фитингов как правосторонних, так и левосторонних и допуски к ним должны соответствовать приведенным на
рисунках 1 и
2. Каждый контейнер серии 1, кроме типа E, должен иметь два верхних правосторонних и два верхних левосторонних угловых фитинга.
Правосторонние и левосторонние фитинги определяют при размещении наблюдателя снаружи контейнера лицом против торца контейнера с дверями.
Примечания
1 Сплошные и пунктирные линии обозначают обязательные элементы конструкции углового фитинга.
2 Штрихпунктирные линии обозначают вспомогательные элементы.
Рисунок 1 - Верхний правосторонний угловой фитинг
Примечания
1 Сплошные и пунктирные линии обозначают обязательные элементы конструкции углового фитинга.
2 Штрихпунктирные линии обозначают вспомогательные элементы.
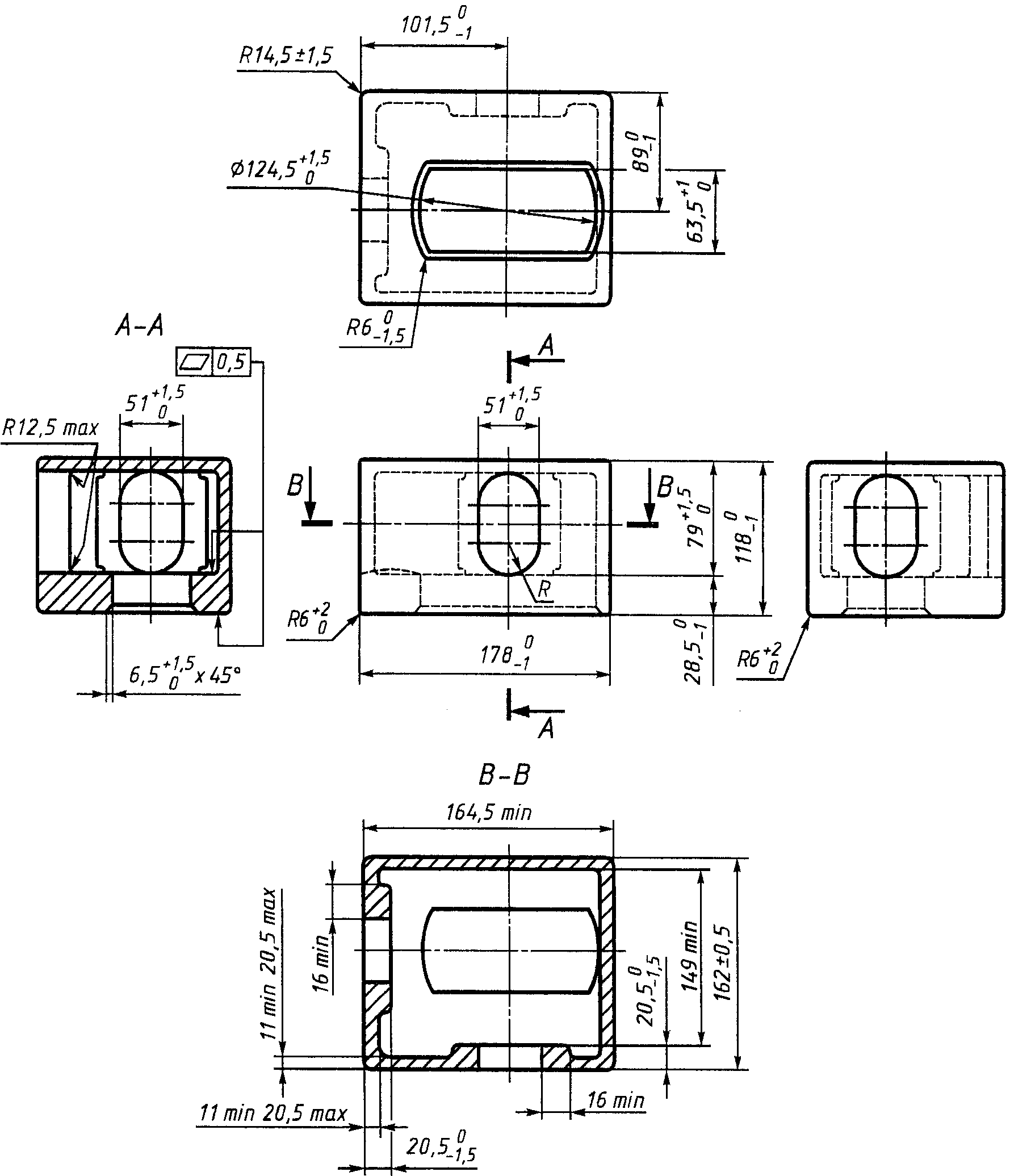
Рисунок 2 - Нижний правосторонний угловой фитинг
Нижние угловые фитинги должны иметь аналогичную конструкцию, за исключением торцевого отверстия. На
рисунках 1 и 2 изображены верхний и нижний правосторонние угловые фитинги; размеры левосторонних угловых фитингов соответственно идентичны.
4.1.2 Контейнеры типа E, помимо указанных в
4.1.1 угловых фитингов, должны дополнительно иметь два верхних правосторонних и два верхних левосторонних (
рисунок 3), и два нижних правосторонних, и два нижних левосторонних (
рисунок 4) промежуточных фитинга, соответствующие габаритным размерам контейнера типа A. Общий вид контейнера типа E с угловыми и промежуточными фитингами представлен на
рисунке 5.
Рисунок 3 - Верхний промежуточный фитинг
Рисунок 4 - Нижний промежуточный фитинг
Рисунок 5 - Контейнер типа E с угловыми
и промежуточными фитингами
4.1.3 Типовые наружные размеры, которые могут быть использованы при разработке конструкций угловых и промежуточных фитингов, приведены в качестве примера в
Приложении A.
4.2 Дополнительные требования к размерам и изготовлению угловых и промежуточных фитингов
4.2.1 Острые кромки необходимо притупить.
4.2.2 Необозначенный радиус скругления внутренних и наружных кромок отверстий должен быть

мм.
4.2.3 Угол пересечения двух кромок радиусом скругления 6 мм и кромки радиусом скругления 14,5 мм должен быть скруглен, при этом может быть удалено минимальное количество материала с плоских наружных поверхностей и стенок.
4.2.4 Если в угловом и промежуточном фитингах расстояние между наружной поверхностью основной стенки и внутренней поверхностью противоположной вспомогательной стенки равно минимально допустимому (149 мм), то внешний радиус скругления между нижней стенкой и боковой вспомогательной стенкой должен быть не более 5,5 мм.
Конструкция и материалы, из которых изготовляют угловые и промежуточные фитинги, должны соответствовать требованиям к прочности, эксплуатации и испытаниям, установленным
ГОСТ Р 51876.
6 Требования к конструкции
Угловые и промежуточные фитинги должны выдерживать нагрузки, соответствующие требованиям
ГОСТ Р 51876.
Минимальные расчетные и испытательные нагрузки на угловые и промежуточные фитинги контейнера указаны в
таблице 1.
Минимальные расчетные и испытательные нагрузки
Росстандарта от 10.12.2019 N 356-ст)
Условие возникновения нагрузок, действующих на угловой или промежуточный фитинг | Направление действия нагрузок | Нагрузки, действующие на угловой фитинг, кН | Нагрузки, действующие на промежуточный фитинг, кН | Примечание |
верхние | нижние | верхние | нижние |
Штабелирование контейнеров | Вертикально вниз | - | 1200 | - | 560 | Нагрузку определяют по формуле 942 кН + 1,8 Rg/4. Нагрузки определяют из условия установки контейнеров массы R = 30480 кг каждый в восемь ярусов при вертикальном ускорении 1,8g. Контейнеры типов 1EEE и 1EE штабелируют в три яруса по высоте при использовании промежуточных фитингов ( рисунки A.1, A.2а, A.2б) |
Вертикально вниз при эксцентриситете в поперечном направлении - 25,4 мм и в продольном - 38 мм | 942 | 942 | 423 | 471 |
Подъем контейнеров | Вертикально вверх | 195 | - | 195 | - | Нагрузки определяют исходя из сил, действующих при испытании контейнеров на подъем за верхние фитинги (рисунок A.2) |
Боковая поверхность нижних фитингов под углом 30° к горизонтали | - | 390 | - | 390 | Линия действия нагрузки (через строп) и внешняя боковая поверхность нижнего углового или нижнего промежуточного фитинга должны быть параллельны, расстояние между ними должно быть не более 38 мм. Нагрузки установлены для стропов под углом 30° к горизонтали, но допускается, что стропы могут быть расположены под любым другим углом между указанным и вертикалью (рисунок A.3) |
Транспортирование контейнеров железнодорожным транспортом | Продольно на нижнюю стенку через отверстие в ней | - | 300 | - | 300 | Нагрузку определяют из условия действия ускорения 2,0g в продольном направлении на контейнер массой R = 30480 кг и равномерного распределения нагрузок между двумя нижними угловыми или двумя нижними промежуточными фитингами одного торца контейнера |
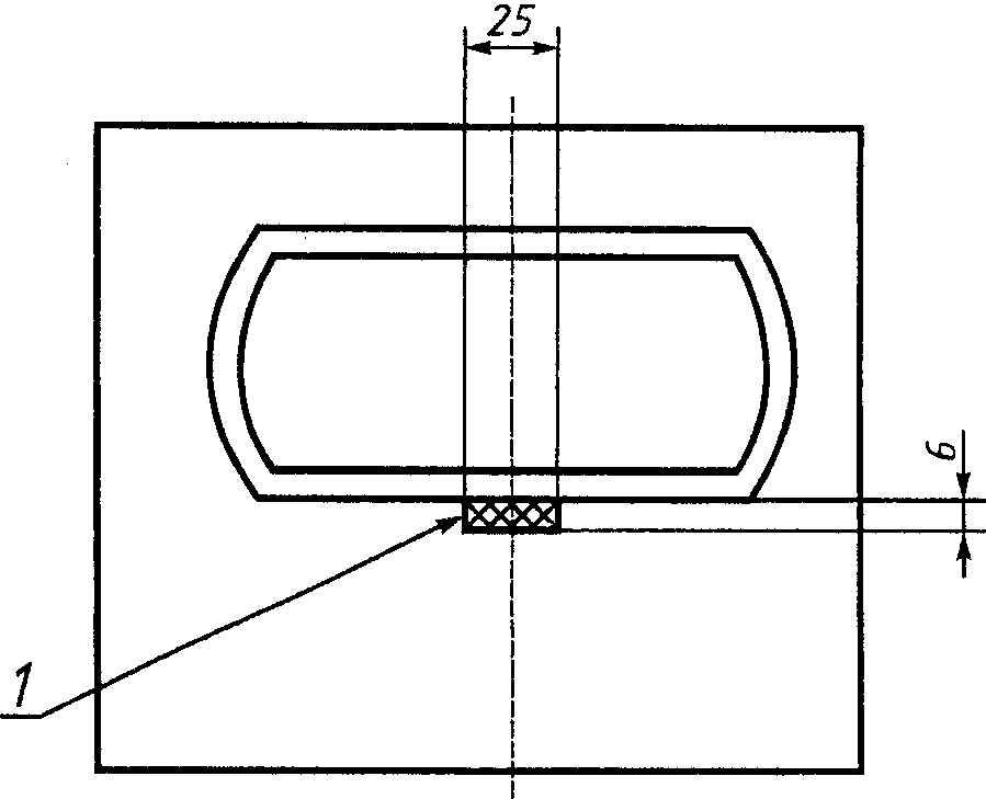
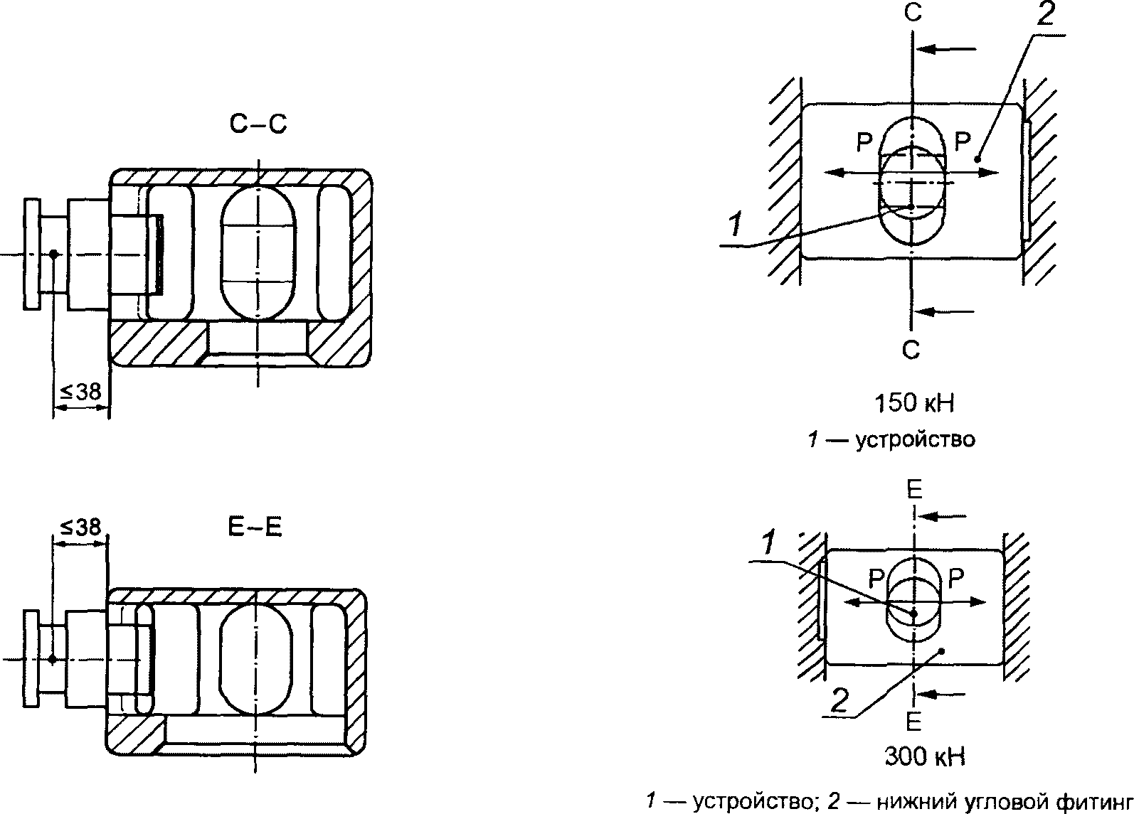
Крепление контейнеров при транспортировании | Вертикально вниз за боковые для промежуточных и дополнительно за торцевые отверстия для угловых фитингов (рисунок 6) | 250 | 250 | 250 | 250 | Нагрузка или результирующая любой комбинации нагрузок, действующих на торцевую (или боковую) стенку фитинга через отверстие в ней при креплении контейнера с помощью стропов или других крепежных средств, имеет значение, не превышающее значения, соответствующего любой точке на кривой, показанной на рисунке 6 штрихпунктирной линией, и направлена под углом, определяемым на этой же кривой. Плоскость действия этой нагрузки параллельна поверхности углового или промежуточного фитинга и расположена от нее на расстоянии не более 38 мм (рисунок A.4) |
Горизонтально за боковые и торцевые отверстия (рисунок 6) | 250 | 250 | 250 | 250 |
Непопадание фиксирующего элемента на транспортном средстве в нижнее отверстие нижнего углового или нижнего промежуточного фитинга | Вертикально вверх | - | 190 | - | 190 | Размеры и расположение расчетной контактной площадки соответствуют рисунку A.5 |
Примечание - В требованиях к прочности и методам испытаний, изложенных в настоящем стандарте, не учтены напряжения, которые могут возникнуть при скреплении контейнеров, установленных "торец к торцу". |

1 - горизонтальная нагрузка 150 кН; 2 - вертикальная
нагрузка 300 кН; 3 - предельные (результирующие)
нагрузки; 4 - граница зоны распределения нагрузок
Рисунок 6 - Предельные нагрузки на угловой
или промежуточный фитинг при захвате и закреплении
1 - площадка, воспринимающая нагрузку
при неправильной установке контейнера
Рисунок 7 - Нижний угловой или нижний промежуточный фитинг
(вид снизу)
6.2 Основные элементы конструкции угловых и промежуточных фитингов
Основными обязательными элементами конструкции угловых и промежуточных фитингов являются:
- верхних - стенка, образующая верхнюю грань: наружная боковая стенка и наружная торцевая стенка для угловых фитингов, внутренняя боковая стенка, внутренняя торцевая стенка, нижняя грань;
- нижних - стенка, образующая нижнюю грань: наружная боковая стенка и наружная торцевая стенка для угловых фитингов, внутренняя боковая стенка, внутренняя торцевая стенка.
Элементы конструкции верхних и нижних угловых фитингов показаны на
рисунке 8.
1 - верхняя стенка; 2 - наружная торцевая стенка;
3 - торцевое отверстие; 4 - наружная боковая стенка;
5 - боковое отверстие; 6 - верхнее отверстие;
7 - нижняя стенка; 8 - нижнее отверстие
Рисунок 8 - Элементы верхнего и нижнего угловых фитингов
(п. 6.2 в ред.
Изменения N 1, утв. Приказом Росстандарта от 10.12.2019 N 356-ст)
7 Минимальная контактная поверхность верхнего углового и верхнего промежуточного фитингов
У поворотных замков подъемных приспособлений, которые входят в верхние отверстия четырех верхних угловых и четырех верхних промежуточных фитингов, площадь опорной поверхности, контактирующая с горизонтальной верхней внутренней плоскостью этих фитингов, должна быть не менее 800 мм2 для каждого верхнего фитинга.
Примеры типовых поворотных замков подъемных приспособлений приведены в
приложении B.
(в ред.
Изменения N 1, утв. Приказом Росстандарта от 10.12.2019 N 356-ст)
8 Маркировка угловых и промежуточных фитингов
Маркировку на верхних и нижних угловых и промежуточных фитингах размещают так, чтобы она была четко видна после установки фитингов на контейнерах и не препятствовала нормальному применению перегрузочных, установочных и крепежных устройств, используемых вместе с угловыми и промежуточными фитингами.
(раздел 9 введен
Изменением N 1, утв. Приказом Росстандарта от 10.12.2019 N 356-ст)
9.1 Обязательные испытания
Испытания, изложенные в
9.3.1 -
9.3.12, должны проводиться на каждом фитинге, за исключением тех, которые производятся серийно. При серийном производстве должно быть испытано не менее 2% фитингов в каждой партии. Испытательные образцы должны быть произвольно выбраны сертификационным обществом <1> из каждой партии при термообработке.
--------------------------------
<1> Национальным органом, уполномоченным в Российской Федерации осуществлять технический контроль за контейнерами массой брутто 10 тонн и более в соответствии с Международной
конвенцией по безопасным контейнерам 1972 г., является Российский морской регистр судоходства.
В конце каждого испытания фитинг должен показывать отсутствие постоянной деформации.
Полномасштабная проверка для обеспечения соответствия настоящему стандарту в отношении размеров отверстия, толщины стенки и габаритных размеров должна быть выполнена на каждом фитинге.
9.2 Проверки дефектов литья
9.2.1 Визуальная проверка дефектов должна производиться на внешней и внутренней поверхностях каждого фитинга. Все дефектные фитинги должны быть уничтожены.
9.2.2 Испытание (например, рентгеновское или ультразвуковое) следует выполнять на одном фитинге из каждой партии литья. При обнаружении дефектов следует проверить все фитинги в партии. Все дефектные фитинги должны быть уничтожены.
9.3 Испытания
9.3.1 Механические свойства стали должны быть проверены на соответствие минимальным требованиям к материалам, указанным в
разделе 5 и
приложении D, и подтверждены для каждой температуры и партии отливок. Каждая партия отливок, используемая для изготовления фитингов, должна иметь документ о качестве.
9.3.2 Испытание на штабелирование верхнего углового фитинга
Фитинг должен быть размещен на типовой вертикальной угловой стойке и поддерживаться горизонтальными верхней и торцевой балками. На верхнюю поверхность фитинга прикладывается нагрузка 942 кН плюс 10%. Нагрузка должна быть приложена перпендикулярно фитингу и равномерно распределена по верхней поверхности. Нагрузка должна быть приложена в течение минимум 2 мин.
9.3.3 Испытание на штабелирование верхнего промежуточного фитинга
Фитинг должен поддерживаться типовой вертикальной промежуточной стойкой и горизонтальными балками верхней обвязки. На верхнюю поверхность фитинга должна быть приложена нагрузка 942 кН плюс 10%. Нагрузка должна быть приложена перпендикулярно фитингу и равномерно распределена по верхней поверхности. Нагрузка должна быть приложена в течение минимум 2 мин.
9.3.4 Испытание на штабелирование нижнего углового фитинга
Фитинг должен быть размещен горизонтально на жестком испытательном стенде. Сжимающее усилие должно быть приложено вертикально вниз на угловую стойку. Фитинг должен быть подвергнут полной нагрузке 1200 кН плюс 10%. Нагрузка должна быть приложена в течение минимум 2 мин.
9.3.5 Испытание на штабелирование нижнего промежуточного фитинга
Фитинг должен быть установлен горизонтально на жестком испытательном стенде. Сжимающее усилие должно быть приложено вертикально вниз на промежуточную стойку. Фитинг должен быть подвергнут полной нагрузке 560 кН плюс 10%.
Нагрузка должна быть приложена в течение минимум 2 мин.
Фитинги, не маркированные таким образом, чтобы их можно было различить как верхние или нижние, должны подвергаться испытанию на штабелирование как нижние фитинги.
9.3.6 Испытание на подъем при закреплении фитинга поворотным замком
Фитинг должен быть надежно закреплен на стенде с помощью поворотного замка. Вертикальная сила должна быть приложена к нижней стороне верхней стенки фитинга (нижней поверхности для нижнего фитинга). Усилие должно быть распределено на площади 800 мм2, 400 мм2 по любой стороне отверстия. Усилие должно быть не менее 250 кН. Нагрузка должна быть приложена в течение минимум 2 мин.
9.3.7 Испытание на подъем грузовым крюком, испытание 1
Верхний угловой фитинг должен быть надежно закреплен. Усилие должно быть приложено вертикально с помощью крюка для подъема груза. Крюк должен быть закреплен через верхнее и переднее отверстия или через верхнее и торцевое отверстия. Усилие должно быть не менее 194 кН. Нагрузка должна быть приложена в течение 2 мин.
9.3.8 Испытание на подъем грузовым крюком, испытание 2
Нижний угловой фитинг должен быть надежно закреплен. Сила должна быть приложена с помощью грузового крюка через боковое отверстие. Угол должен составлять 30° к горизонтали, а величина силы должна быть эквивалентна

(194 кН). Нагрузка должна быть приложена в течение минимум 2 мин.
9.3.9 Испытание на удар
Фитинг должен быть надежно закреплен. Сила удара величиной 150 кН должна быть приложена вертикально к площади 150 мм2 верхней поверхности фитинга, центрированной между отверстием и ближайшей боковой или торцевой стенками. Нагрузка должна быть приложена в течение минимум 2 мин.
Испытание должно быть повторено на нижней поверхности. Верхние и нижние поверхности не должны иметь следов деформации после завершения испытаний. Инструмент для испытания не должен оставлять углубление на поверхности более 0,3 мм.
9.3.10 Испытание на подъем крепежным устройством
Нижний угловой фитинг должен быть надежно закреплен. Усилие должно быть приложено вертикально к переднему отверстию фитинга с помощью крепежного устройства. Задний конец фитинга должен оставаться неподвижным. Нагрузка в 300 кН должна быть приложена в течение минимум 2 мин.
9.3.11 Испытание на непопадания фиксирующего элемента
При опускании контейнера на транспортное средство в результате непопадания фиксирующего элемента транспортного средства в нижние отверстия нижнего углового и промежуточного фитингов возникают локальные нагрузки.
Все нижние угловые и промежуточные фитинги должны выдерживать нагрузку 190 кН, приложенную вертикально к контактной площадке на верхней и нижней поверхностях площадью 25 мм x 6 мм, как показано на
рисунке A.5 (приложение A).
9.3.12 Испытание на надежность при перевозке по железной дороге
Нижний угловой фитинг надежно закрепляют. Усилие должно быть приложено горизонтально к нижнему отверстию в продольном направлении переднего отверстия с использованием устройства, аналогичного поворотному замку. Усилие должно быть в 360 кН. Нагрузка должна быть приложена в течение не менее 2 мин [
рисунок A.4 (приложение A)].
(обязательное)
Росстандарта от 10.12.2019 N 356-ст)
Рисунок A.1 - Штабелирование контейнеров
а) Подъем контейнера вертикально вверх
б) Подъем контейнера за боковую стенку нижнего углового
фитинга на 30° над горизонтальной плоскостью
Рисунок A.2 - Подъем контейнеров
а) Испытание нагрузками, приложенными
к торцевому отверстию вниз
б) Испытание нагрузками, приложенными горизонтально
к торцевым отверстиям
Рисунок A.3 - Крепление контейнеров при транспортировании
Рисунок A.4 - Испытание крепления
для железнодорожной перевозки
Рисунок A.5 - Иллюстрация непопадания
фиксирующего элемента
(справочное)
ТИПОВЫХ ПОВОРОТНЫХ ЗАМКОВ ПОДЪЕМНЫХ ПРИСПОСОБЛЕНИЙ
1 - напряжение кручения, снимаемое желобком
Рисунок B.1 - Поворотный конусообразный замок
Рисунок B.2 - Поворотный (кулачковый) замок
с параллельными боковыми сторонами
(справочное)
РУКОВОДСТВО ПО ВЫБОРУ РАЗМЕРОВ И РАЗМЕЩЕНИЮ
ПОВОРОТНЫХ ЗАМКОВ ДЛЯ ЗАКРЕПЛЕНИЯ ГРУЗОВЫХ КОНТЕЙНЕРОВ
НА ТРАНСПОРТНЫХ СРЕДСТВАХ
C.1.1 Шасси и поворотные замки различных типов приведены на рисунках C.1 и
C.2.
Рисунок C.1 - Типовое шасси с четырьмя поворотными замками
Рисунок C.2 - Типовое шасси с устройством типа "шея гуся"
C.1.2 Типовое запирающее устройство состоит из следующих элементов:
- горизонтальной грузонесущей площадки, способной выдерживать нагрузку от нижнего углового или нижнего промежуточного фитинга полностью загруженного контейнера с учетом динамических нагрузок;
- неподвижного кулачка (фиксатора), спроектированного таким образом, что он выступает из нижнего отверстия нижнего углового или нижнего промежуточного фитинга на высоту не ниже уровня внутренней поверхности фитинга (независимо от того, опирается контейнер на четыре угловых или промежуточных фитинга или на раму основания);
- поворотной головки, верхняя часть которой должна заходить в угловой или промежуточный фитинг, т.е. выступать за площадку, несущую нагрузку;
- устройства для поворота головки и закрепления ее в нужном положении (в некоторых случаях устройство, с помощью которого вращающаяся головка может перемещаться до упора и оказывать закрепляющее усилие на внутреннюю поверхность углового или промежуточного фитинга, а также удерживать фитинг от смещения вверх).
C.1.3 Запирающее устройство может быть:
- жестко закреплено на транспортном средстве;
- спроектировано так, чтобы исключить возможность расположения кулачка (фиксатора) ниже уровня площадки, несущей нагрузку;
- установлено на шарнирах или так, чтобы все устройства могли быть сняты (например, для того чтобы можно было снимать устройства в промежуточных точках рамы транспортного средства с целью исключить их возможное воздействие на нижние продольные балки основания контейнера типа 1A или 1E в местах, где расположены опоры для угловых фитингов контейнеров меньшего размера).
C.2 Размеры приспособлений с четырьмя поворотными замками для закрепления контейнеров на транспортном средстве
C.2.1 Несущие нагрузку площадки для размещения четырех поворотных замков на раме контейнеровоза или на железнодорожной платформе должны быть расположены в одной горизонтальной плоскости. Ни одна деталь рамы контейнеровоза или железнодорожной платформы, за исключением неподвижного кулачка (фиксатора) и поворотной головки, не должна быть выше этой горизонтальной плоскости.
C.2.2 Теоретический метод определения размеров и допусков приведен в
C.4.
C.2.3 Этот теоретический метод базируется на объяснениях, данных в
ГОСТ Р 53350 и настоящем стандарте.
(в ред.
Изменения N 1, утв. Приказом Росстандарта от 10.12.2019 N 356-ст)
C.2.4 Предполагают, что четыре кулачка (фиксатора) поворотных замков жестко закреплены на транспортном средстве. В случаях, когда кулачки не закреплены жестко (имеют люфт), следует учитывать рекомендации
C.2.9.
C.2.5 Защемление неподвижных кулачков (фиксаторов) с угловыми или промежуточными фитингами контейнера теоретически возможно, но встречается крайне редко, например в случае, если контейнер изготовлен с максимальными допусками и максимально допустимой разницей между диагоналями (образуя параллелограмм), а кулачки поворотных замков рамы автотранспортного средства, на которую устанавливают контейнер, расположены на ней с минимальными допусками и минимально допустимой разницей между диагоналями, которые также образуют параллелограмм.
C.2.6 Вероятность такого теоретически возможного экстремального (неблагоприятного) случая очень мала. Поэтому на практике применяют допуски менее жесткие, чем это предусмотрено теорией (
C.2.10).
C.2.7 Номинальные размеры между центрами кулачков (фиксаторов) поворотных замков, положительные и отрицательные допуски к ним должны соответствовать аналогичным размерам между центрами нижних отверстий нижних угловых или промежуточных фитингов контейнеров. Эти размеры приведены в таблице C.1, буквенные обозначения приведены в
C.4.
Таблица C.1
Номинальные размеры между центрами
кулачков (фиксаторов) поворотных замков
В миллиметрах
Тип контейнера | Длина St = Sc | Ширина Pt = Pc |
1EEE, 1EE | 13509,0 | 2259,0 |
1AAA, 1AA, 1A, 1AX | 11985,5 | 2259,0 |
1BBB, 1BB, 1B, 1BX | 8918,5 | 2259,0 |
1CC, 1C, 1CX | 5853,5 | 2259,0 |
1DD, 1D, 1DX | 2787,0 | 2259,0 |
C.2.8 Допуски к размерам между центрами кулачков (фиксаторов) поворотных замков (

,

) в теоретически прогнозируемом экстремальном (неблагоприятном) случае зависят:
- от размеров кулачков (фиксаторов);
- от того, что предпочтет конструктор, проектирующий транспортное средство: либо ужесточение допусков на размеры между центрами поворотных замков и большой допуск на разницу в размерах между центрами по диагонали, либо меньшие допуски на разницу в размерах по диагонали.
C.2.9 Для кулачков (фиксаторов) поворотных замков определенного размера назначают допуски, приведенные в таблице C.2, если соотношение между допусками на размеры между центрами по длине и разницей между размерами диагоналей кулачков (фиксаторов) поворотных замков будет приблизительно равно соотношению для соответствующих показателей контейнера.
Таблица C.2
Допуск

на размеры между центрами кулачков (фиксаторов)
по длине

и допуск

на размеры по ширине

(с учетом теоретически предсказуемого
экстремального случая)
В миллиметрах
Тип контейнера | tSt | tPt | Допустимая разность диагоналей k |
Обозначение кулачка (фиксатора) <1> |
A | B | C | A | B | C | A | B | C |
1EEE, 1EE | +/- 2,5 | +/- 3,5 | +/- 4,5 | +/- 2,0 | +/- 3,0 | +/- 4,0 | 4,5 | 8,5 | 10,5 |
1AAA, 1AA, 1A, 1AX | +/- 2,5 | +/- 3,5 | +/- 4,5 | +/- 2,0 | +/- 3,0 | +/- 4,0 | 4,5 | 8,5 | 10,5 |
1BBB, 1BB, 1B, 1BX | +/- 2,5 | +/- 4,5 | +/- 5,5 | +/- 2,0 | +/- 3,0 | +/- 4,0 | 7,0 | 9,0 | 11,0 |
1CC, 1C, 1CX | +/- 4,0 | +/- 5,5 | +/- 7,0 | +/- 2,0 | +/- 3,0 | +/- 4,0 | 10,0 | 13,0 | 14,0 |
1DD, 1D, 1DX | +/- 4,0 | +/- 5,5 | +/- 7,0 | +/- 2,0 | +/- 3,0 | +/- 4,0 | 10,0 | 12,5 | 13,5 |
<1> Для кулачков (фиксаторов) следующих размеров: A - длина (диаметр) 100, ширина 57; B - длина (диаметр) 97, ширина 56; C - длина (диаметр) 95, ширина 55. |
[Допуски, применяемые для размеров, относящихся к контейнерам, не могут быть применены для размеров между кулачками (фиксаторами) поворотных замков.]
C.2.10 Если поворотные замки имеют люфт в кулачках (фиксаторах), в которых они закреплены, или убирающиеся поворотные замки имеют свойственный им люфт, то на каждый +/- 1 мм отклонения (по длине и по ширине) для каждого из четырех кулачков (фиксаторов) допуски

и

, приведенные в
таблице C.2, могут быть увеличены на 1 мм, а значение допустимой разности диагоналей
k может быть увеличено на 1,5 - 2,0 мм; в качестве другого варианта существует способ установления менее жестких требований к допускам (
примечание 2 к таблице C.8).
C.2.11 Если вероятность возникновения экстремального случая (при котором наихудшее возможное сочетание допусков контейнера и его угловых или промежуточных фитингов в одном направлении совпадает с наихудшим сочетанием допусков рамы и ее поворотных замков в другом направлении) чрезвычайно мала (и, следовательно, не потребуются дополнительные расходы, связанные с соблюдением теоретических допусков, т.е. исключается подгонка несоединяющихся частей), то могут быть использованы "свободные теоретические" допуски, которые приведены в таблице C.3.
Таблица C.3
"Практические" допуски, предложенные США
для кулачка (фиксатора) поворотного замка A
размерами 100 x 57 мм
В миллиметрах
Тип контейнера | "Свободные теоретические" допуски | "Практические" допуски |
tSt | tPt | k | tSt | tPt | k |
1EEE, 1EE | +/- 4,5 | +/- 2,5 | 7,0 | +/- 6,0 | +0 -3 | 16,0 |
1AAA, 1AA, 1A, 1AX | +/- 4,5 | +/- 2,0 | 7,0 | +/- 6,0 | +0 -3 | 16,0 |
1BBB, 1BB, 1B, 1BX | +/- 4,5 | +/- 2,0 | 10,0 | +/- 6,0 | +0 -3 | 13,0 |
1CC, 1C, 1CX | +/- 6,0 | +/- 2,0 | 13,0 | +/- 6,0 | +0 -3 | 10,0 |
1DD, 1D, 1DX | +/- 6,0 | +/- 2,0 | 13,0 | +/- 6,0 | +0 -3 | 6,0 |
Примечания 1 Настоящую таблицу следует применять с учетом положений, содержащихся в C.2.10 и C.2.11. 2 Не рекомендуется уменьшать допуск tPt на размеры между кулачками (фиксаторами) поворотных замков и горизонтальной плоскостью. 3 Подобный ряд "свободных теоретических" допусков может быть определен для размеров кулачков (фиксаторов) поворотных замков, обозначенных B и C в таблице C.2, путем уменьшения размеров. |
Это относится также и к вариантам с жестко устанавливаемыми кулачками (фиксаторами) поворотных замков, а положения
C.2.9 могут быть применены к вариантам с кулачками (фиксаторами) поворотных замков, имеющими некоторую свободу.
C.2.12 В
таблице C.3 приведен ряд значений "практических" допусков, предложенных США.
Крупногабаритные контейнеры могут быть изготовлены по размерам - длине и ширине и с разницей между диагоналями, ограниченными точно установленными допусками, что позволяет применять на практике

допуски при установке кулачков (фиксаторов) поворотных замков, чем теоретические допуски, основанные на экстремальном (неблагоприятном) случае.
Значительная часть крупногабаритных контейнеров, как правило не имеющих в конструкции основания диагональных узлов жесткости, обладает определенной гибкостью, позволяющей установить их на штыри поворотных замков, закрепленных недостаточно точно.
Автотранспортные средства, в первую очередь предназначенные для перевозки легких грузов, обладают достаточной гибкостью, что облегчает установку на них контейнеров.
Примечание - Это положение не распространяется на железнодорожные платформы, которые обладают большой жесткостью.
C.3 Размеры приспособлений с двумя штырями и двумя поворотными замками для крепления контейнеров на транспортном средстве
C.3.1 Крепление контейнеров к полуприцепам с седельным устройством типа "шея гуся" обычно проводят с передней стороны (у торца тоннеля типа "шея гуся") с помощью штырей, которые вставляют в торцевые отверстия угловых фитингов, примыкающих к тоннелю, а с задней - двумя запирающими поворотными замками.
C.3.2 Переднее запирающее устройство состоит:
a) из штыря, скользящего в горизонтальной плоскости параллельно продольной оси шасси;
b) из рукоятки с рычагом для перемещения штыря.
C.3.3 Каждый штырь располагают в углублении, предусмотренном в раме шасси с устройством типа "шея гуся", таким образом, чтобы ось штыря совпадала с осью переднего торцевого отверстия нижнего углового фитинга.
C.3.4 Приспособления, состоящие из двух штырей и двух поворотных замков, предназначены для контейнеров типов 1EEE, 1EE, 1AAA, 1AA, 1A, 1AX.
C.3.5 Длина контейнеров, размеры и допуски шасси с устройством типа "шея гуся" для размещения контейнеров приведены в таблице C.4 и на
рисунке C.3.
Таблица C.4
Длина контейнеров, размеры и допуски шасси с устройством
типа "шея гуся" для размещения контейнеров
В миллиметрах
Тип контейнера | Длина контейнера Lk | Длина шасси L | kmax |
1EEE, 1EE | 13716 | 13622 +/- 6 | 16 |
1AAA, 1AA, 1A, 1AX | 12192 | 12098 +/- 6 | 16 |
1BBB, 1BB, 1B, 1BX | 9125 | 9030 +/- 6 | 13 |
1CC, 1C, 1CX | 6058 | 5962 +/- 6 | 10 |
Примечания 1 Расстояние в поперечном направлении между центрами кулачков (фиксаторов) и штырей составляет  мм, внешний размер плоскости балки шасси с устройством типа "шея гуся" -  мм. Эти два размера указывают у продольной оси симметрии шасси. 2 Разность диагоналей для шасси kmax не должна превышать следующие значения: 16 мм - при Lk = 13716 мм; 16 мм - при Lk = 12192 мм; 13 мм - при Lk = 9125 мм; 10 мм - при Lk = 6058 мм. 3 Все закрепительные устройства должны обеспечивать удобное и надежное крепление груженого и порожнего контейнеров за их нижние угловые фитинги, когда передняя часть шасси опирается на стойку домкрата или на какое-либо опорное приспособление. |
1 - точки осей закрепительного устройства для контейнера,
между которыми выполняют измерение диагоналей;
2 - поверхность закрепительного устройства, воспринимающая
горизонтальные усилия при транспортировании контейнера;
P = 32 min (минимальный заход штыря в угловой фитинг).
Измерение выполняют от торца углового фитинга до торца
штыря. E = 67 min (длина штыря). Измерение выполняют
от поверхности устройства, воспринимающей нагрузку,
до торца штыря, входящего в угловой фитинг;
3 - размер рекомендован как максимальный
для переднего отверстия нижнего углового фитинга
Рисунок C.3 - Основные размеры закрепительного устройства
с приспособлением типа "шея гуся" для контейнеров
типов 1AAA, 1AA, 1AX
C.4 Теоретический метод установления размеров и допусков, определяющих взаиморасположение кулачков (фиксаторов) поворотных замков на раме транспортного средства и крепления к ним угловых или промежуточных фитингов контейнеров
Для контейнеров (индекс c)
L - длина контейнера;
W - ширина контейнера;

и

- расстояние между центрами отверстий диагонально противоположных угловых фитингов - по
[1].

и

выведены из
L и
W. Поскольку соответствующие размеры взяты из настоящего стандарта, то

и

обозначают расстояние между центрами с допусками

и

(как показано ниже).
По правилу подобия треугольников и теореме Пифагора

.
Для кулачков (фиксаторов) поворотных замков (индекс t)
Получение

и

и допусков для них показано ниже.
Допуски

,

,

и

являются "половинными", т.е. симметрично расположенными относительно уровня проставления номинального размера.
По аналогии
то

или

.
Примечание - В отдельных случаях для определения размера кулачка (фиксатора) поворотного замка w и v можно получить графически (рисунок C.4).
A - симметричный допуск для

в продольном направлении;
B - симметричный допуск для

в поперечном направлении;
w и v - эксцентриситеты
Рисунок C.4 - Отверстие углового фитинга
(рассматривают минимальные значения)
Контейнер, имеющий: - максимальный размер по длине между центрами фитингов  ; - максимальный размер по ширине между центрами фитингов  ; -  - разность диагоналей между центрами отверстий угловых фитингов. | Кулачки (фиксаторы) поворотных замков, имеющие: - минимальный размер по длине между центрами  ; - минимальный размер по ширине между центрами  ; -  - разность диагоналей между центрами гнезд для установки поворотных замков и противолежащих отверстий нижних угловых фитингов. |
Вариант 2
Контейнер, имеющий: - минимальный размер по длине между центрами фитингов  ; - минимальный размер по ширине между центрами фитингов  ; | Кулачки (фиксаторы) поворотных замков, имеющие: - максимальный размер по длине между центрами  ; - максимальный размер по ширине между центрами  ; |
Могут быть выведены следующие равенства:

;

,
откуда:

(C.1)
Примечание - Поскольку

известно и
v может быть получено вышеизложенным способом, то

может быть выведено в соответствии с
X (или
K).
Поэтому для любого данного размера кулачка (фиксатора) поворотного замка существует теоретическая возможность использовать допуски различных видов, например такие, как "сжатые" - для расстояний в продольном направлении и "свободные" - приводящие к превращению прямоугольного сечения по вертикальной плоскости контейнера в сечение в виде параллелограмма.
В
таблицах C.5 -
C.8 приведены допуски предельных разностей диагоналей с учетом:
- наименее благоприятных сочетаний допусков, установленных для контейнеров серии 1 и их угловых фитингов;
Таблица C.5
Допуски предельных разностей диагоналей [независимо
от размера кулачка (фиксатора) поворотных замков]
В миллиметрах
Тип контейнера | St (= Sc) | TSc | Pt (= Pc) | TPc | K | X | |
1EEE, 1EE (угловые фитинги) | 13509 | +/- 6,5 | 2259,0 | +/- 4,0 | 19 | 10,0 | 1,9 |
1EEE, 1EE (промежуточные фитинги) | 11985,5 | +/- 6,5 | 2259,0 | +/- 4,0 | 19 | 9,7 | 1,96 |
1AAA, 1AA, 1A, 1AX | 11985,5 | +/- 6,5 | 2259,0 | +/- 4,0 | 19 | 9,7 | 1,96 |
1BBB, 1BB, 1B, 1BX | 8918,5 | +/- 6,5 | 2259,0 | +/- 4,0 | 16 | 8,3 | 1,93 |
1CC, 1C, 1CX | 5853,5 | +/- 4,5 | 2259,0 | +/- 4,0 | 13 | 7,0 | 1,86 |
1DD, 1D, 1DX | 2787,0 | +/- 1,0 | 2259,0 | +/- 4,0 | 10 | 6,4 | 1,56 |
Таблица C.6
Допуски предельных разностей диагоналей для кулачков
(фиксаторов) поворотных замков длиной 95,0 мм,
шириной 55,0 мм, v = 13,0 мм, w = 4,0 мм
(значения округлены до целого числа)
В миллиметрах
Тип контейнера | (tSt + x) | tSt | x | | tPt |
1EEE, 1EE | 9,8 | 4,0 | 5,8 | 11,5 | 4,0 |
4,5 | 5,3 | 10,5 | 4,0 |
5,0 | 4,8 | 9,5 | 4,0 |
1AAA, 1AA, 1A, 1AX | 9,8 | 4,0 | 5,8 | 11,5 | 4,0 |
4,5 | 5,3 | 10,5 | 4,0 |
5,0 | 4,8 | 9,5 | 4,0 |
1BBB, 1BB, 1B, 1BX | 11,2 | 5,0 | 6,2 | 12,0 | 4,0 |
5,5 | 5,7 | 11,0 | 4,0 |
6,0 | 5,2 | 10,0 | 4,0 |
1CC, 1C, 1CX | 14,5 | 6,0 | 8,5 | 16,0 | 4,0 |
6,5 | 8,0 | 15,0 | 4,0 |
7,0 | 7,5 | 14,0 | 4,0 |
1DD, 1D, 1DX | 15,6 | 6,0 | 9,6 | 15,0 | 4,0 |
7,0 | 8,6 | 13,5 | 4,0 |
8,0 | 7,6 | 12,0 | 4,0 |
Примечание - Значения tSt и k - по таблице C.2; v, w - определяют графически. |
Таблица C.7
Допуски предельных разностей диагоналей для кулачков
(фиксаторов) поворотных замков длиной (диаметром)
97,0 мм, шириной 56,0 мм, v = 12,1 мм, w = 3,5 мм
В миллиметрах
Тип контейнера | (tSt + x) | tSt | x | | tPt |
1EEE, 1EE | 7,8 | 3,0 | 4,8 | 9,5 | 3,0 |
3,5 | 4,3 | 8,5 | 3,0 |
4,0 | 3,8 | 7,5 | 3,0 |
1AAA, 1AA, 1A, 1AX | 7,8 | 3,0 | 4,8 | 9,5 | 3,0 |
3,5 | 4,3 | 8,5 | 3,0 |
4,0 | 3,8 | 7,5 | 3,0 |
1BBB, 1BB, 1B, 1BX | 9,2 | 3,5 | 5,7 | 11,0 | 3,0 |
4,0 | 5,2 | 10,0 | 3,0 |
4,5 | 4,7 | 9,0 | 3,0 |
1CC, 1C, 1CX | 12,5 | 4,5 | 8,0 | 15,0 | 3,0 |
5,0 | 7,5 | 14,0 | 3,0 |
5,5 | 7,0 | 13,0 | 3,0 |
6,0 | 6,5 | 12,0 | 3,0 |
1DD, 1D, 1DX | 13,6 | 5,5 | 8,1 | 12,5 | 3,0 |
6,0 | 7,6 | 12,0 | 3,0 |
|
Таблица C.8
Допуски предельных разностей диагоналей для кулачков
(фиксаторов) поворотных замков длиной (диаметром)
100,0 мм, шириной 56,0 мм, v = 10,5 мм, w = 3,5 мм
В миллиметрах
Тип контейнера | (tSt + x) | tSt | x | | tPt |
1EEE, 1EE | 4,8 | 2,0 | 2,8 | 5,5 | 3,0 |
2,5 | 2,3 | 4,5 | 3,0 |
3,0 | 1,8 | 3,5 | 3,0 |
1AAA, 1AA, 1A, 1AX | 4,3 | 2,0 | 2,8 | 5,5 | 3,0 |
2,5 | 2,3 | 4,5 | 3,0 |
3,0 | 1,8 | 3,5 | 3,0 |
1BBB, 1BB, 1B, 1BX | 6,2 | 2,5 | 3,7 | 7,0 | 3,0 |
3,0 | 3,2 | 6,0 | 3,0 |
1CC, 1C, 1CX | 9,5 | 3,5 | 6,0 | 11,0 | 3,0 |
4,0 | 5,5 | 10,0 | 3,0 |
1DD, 1D, 1DX | - | 4,0 | 6,6 | 10,0 | - |
4,5 | 6,1 | 9,5 | 3,0 |
5,0 | 5,6 | 9,0 | 3,0 |
Примечания 2. Если кулачки (фиксаторы) поворотных замков (и гнезда для их установки) укреплены на раме свободно (крепление по типу "поплавок"), то для каждого кулачка (фиксатора) предусмотрен свободный допуск +/- 1 мм в продольном и поперечном направлениях: a) значения tSt и tPt не изменяются, если размеры кулачка (фиксатора) поворотного замка увеличиваются на 1 мм в продольном и поперечном направлениях; b) для некоторых случаев при определении размеров кулачков (фиксаторов) следует учитывать, что: - значения tSt и tPt могут быть увеличены на 2 мм каждое при сохранении значения k; - значение k может быть увеличено на 3 - 4 мм при сохранении значений tSt и tPt; - значения tSt и tPt могут быть увеличены на 1 мм каждое, значение k может быть увеличено на 1,5 - 2,0 мм. |
(обязательное)
ДОПОЛНИТЕЛЬНЫЕ ТРЕБОВАНИЯ,
ОТРАЖАЮЩИЕ ПОТРЕБНОСТИ ЭКОНОМИКИ СТРАНЫ
D.1 Назначение и область применения
Угловые и промежуточные фитинги должны быть изготовлены под техническим наблюдением Российского морского регистра судоходства в соответствии с
[2].
(в ред.
Изменения N 1, утв. Приказом Росстандарта от 10.12.2019 N 356-ст)
Климатическое исполнение угловых и промежуточных фитингов - У категории 1 по ГОСТ 15150 для эксплуатации при температуре от минус 50 °C до плюс 70 °C (от 223 до 343 К). По согласованию с заказчиком может быть принят диапазон предельных температур от минус 40 °C до плюс 50 °C (от 233 до 323 К).
D.2 Требования к размерам
D.2.1 Примеры условных обозначений верхнего правостороннего углового и верхнего правостороннего промежуточного фитингов крупнотоннажного контейнера:
Фитинг ВП ГОСТ Р 51891-2008
Фитинг ВПП ГОСТ Р 51891-2008
То же, нижнего левостороннего углового и нижнего левостороннего промежуточного фитингов:
Фитинг НЛ ГОСТ Р 51891-2008
Фитинг НЛП ГОСТ Р 51891-2008
D.2.2 Предельные габаритные размеры угловых и промежуточных фитингов 178 x 162 x 118 мм (наиболее часто встречаемые).
(в ред.
Изменения N 1, утв. Приказом Росстандарта от 10.12.2019 N 356-ст)
D.3 Требования к прочности
D.3.1 Угловые и промежуточные фитинги должны быть изготовлены из конструкционной легированной стали. Выбор марки стали осуществляют по согласованию с Российским морским регистром судоходства.
Механические свойства стали после термической обработки угловых и промежуточных фитингов должны соответствовать показателям, приведенным в таблице D.1.
Таблица D.1
Механические свойства стали
Росстандарта от 10.12.2019 N 356-ст)
Предел текучести, МПа, min | Предел прочности, МПа, min | Относительное удлинение, %, min | Относительное сужение, %, min | Работа удара KV <1>, Дж, min, при температуре |
| | |
275 | 480 | 25 | 40 | 27 | 21 | 19 |
<1> Применяют среднее значение трех образцов с острым надрезом по ГОСТ 9454. Допускаются значения работы удара на одном образце меньшие, чем в настоящей таблице, но не менее 70% этого значения. <2> Испытания при указанной температуре проводят факультативно по требованию заказчика на фитингах, предназначенных для эксплуатации в районах Крайнего Севера. <3> Испытания на удар в соответствии с ГОСТ Р ИСО 148-1. |
Технические требования, приемка, методы испытаний, упаковка, транспортирование и хранение отливок угловых и промежуточных фитингов - по ГОСТ 977.
D.3.2 Угловые и промежуточные фитинги должны быть изготовлены из хорошо свариваемой стали. Свариваемость стали в процентах определяют по значению углеродного эквивалента -
.
= C + Mn/6 + (Cr + Mo + V) / 5 + (Ni + Cu) / 15, (D.1)
при этом углеродный эквивалент должен быть не более 0,45%.
D.4 Маркировка угловых и промежуточных фитингов предприятием-изготовителем
Каждый угловой и промежуточный фитинг должен иметь маркировку, содержащую: товарный знак или условный номер предприятия-изготовителя; номер плавки; год изготовления (две последние цифры; знак сертификации). Маркировка должна быть размещена так, чтобы четко была видна после установки фитингов на контейнере.
(в ред.
Изменения N 1, утв. Приказом Росстандарта от 10.12.2019 N 356-ст)
D.5 Приемка и методы контроля
D.5.1 Угловые и промежуточные фитинги предъявляют к приемке партиями, состоящими из отливок, выполненных на одной шихте по одинаковой технологии, прошедших термическую обработку в одном режиме.
Общее число угловых и промежуточных фитингов в партии должно быть не более 800, в том числе каждого исполнения - не более 200.
D.5.2 Для проверки соответствия угловых и промежуточных фитингов требованиям настоящего стандарта предприятие-изготовитель должно проводить приемосдаточные испытания, включающие в себя проверку:
- внешнего вида на соответствие требованиям раздела 4 - сплошные;
- размеров на соответствие требованиям 4.1, 4.2 - по рабочим чертежам, утвержденным в установленном порядке;
- механических свойств стали - на соответствие требованиям раздела 5 и D.3.1;
- качества отливок неразрушающим дефектоскопическим методом по технической документации предприятия-изготовителя, утвержденной в установленном порядке, - 2% партии, но не менее чем на трех угловых или трех промежуточных фитингах каждой плавки;
- прочности на соответствие требованиям таблицы 1 (6.1) и соответствия массы углового фитинга технической документации предприятия-изготовителя - 2%
фитингов каждого исполнения от партии.
(в ред.
Изменения N 1, утв. Приказом Росстандарта от 10.12.2019 N 356-ст)
D.5.3 Виды и характер допускаемых остаточных деформаций и дефектов после испытания угловых и промежуточных фитингов на прочность - по нормативной документации, утвержденной в установленном порядке.
D.5.4 Для контроля режима термической обработки при установившемся технологическом процессе не реже одного раза в месяц проводят проверку микроструктуры углового и промежуточного фитингов по нормативному документу.
D.5.5 Угловые и промежуточные фитинги для грузовых контейнеров серии 1 предприятия-изготовители и ремонтные предприятия поставляют с сертификатами Российского морского регистра судоходства.
D.5.6 Ремонт угловых и промежуточных фитингов осуществляют по [2].
(в ред.
Изменения N 1, утв. Приказом Росстандарта от 10.12.2019 N 356-ст)
D.6 Требования по безопасной эксплуатации фитингов
D.6.1 Наличие любых сплошных трещин требует замены фитинга.
D.6.2 Наличие любой деформации фитинга с наружной стороны контейнера требует замены фитинга.
D.6.3 Наличие любой деформации фитинга, которая может привести к полному нарушению безопасности, требует замены фитинга.
D.6.4 Наличие износов, превышающих размер допусков, определенных настоящим стандартом, не допускается.
(справочное)
СОПОСТАВЛЕНИЕ СТРУКТУРЫ НАСТОЯЩЕГО СТАНДАРТА СО СТРУКТУРОЙ
ПРИМЕНЕННОГО В НЕМ МЕЖДУНАРОДНОГО СТАНДАРТА
Росстандарта от 10.12.2019 N 356-ст)
Таблица E.1
Структура настоящего стандарта | Структура международного стандарта ИСО 1161:2016 |
Раздел | Подраздел | Раздел | Подраздел |
| - | 1 | - |
| - | 2 | - |
| - | - | - |
| | 3 | 3.1, 3.2 |
| - | 4 | - |
| | 5 | 5.1, 5.2 |
| - | 6 | - |
| - | 7 | - |
| - | 8 | - |
| - | Приложение A | - |
| - | Приложение B | - |
| - | - | - |
| - | - | - |
| - | - | - |
| - | - | - |
| - | Библиография | - |
(справочное)
СВЕДЕНИЯ О СООТВЕТСТВИИ ССЫЛОЧНЫХ НАЦИОНАЛЬНЫХ СТАНДАРТОВ
МЕЖДУНАРОДНЫМ СТАНДАРТАМ, ИСПОЛЬЗОВАННЫМ В КАЧЕСТВЕ
ССЫЛОЧНЫХ В ПРИМЕНЕННОМ МЕЖДУНАРОДНОМ СТАНДАРТЕ
Росстандарта от 10.12.2019 N 356-ст)
Таблица ДА.1
Обозначение ссылочного национального стандарта | Степень соответствия | Обозначение и наименование ссылочного международного стандарта |
(ИСО 1496-1:1990) | MOD | ISO 1496-1:1990 "Контейнеры грузовые серии 1. Технические требования и методы испытаний. Часть 1. Контейнеры общего назначения" |
(ИСО 830-99) | MOD | ISO 830:1999 "Контейнеры грузовые. Термины и определения" |
ГОСТ Р ИСО 148-1-2013 | IDT | ISO 148-1:2009 "Материалы металлические. Испытание на ударный изгиб по Шарпи с помощью маятникового копра. Часть 1. Метод испытания" |
Примечание - В настоящей таблице использованы следующие условные обозначения степени соответствия стандартов: - MOD - модифицированные стандарты; - IDT - идентичные стандарты. |
Росстандарта от 10.12.2019 N 356-ст)
| ИСО 8323:1985 Контейнеры грузовые. Контейнеры универсальные для воздушных и наземных перевозок (интермодальные). Технические условия и методы испытаний |
| Общие положения по техническому наблюдению за контейнерами, Правила изготовления контейнеров, Правила допущения контейнеров к перевозке грузов под таможенными печатями и пломбами, Правила технического наблюдения за изготовлением контейнеров, Правила технического наблюдения за контейнерами в эксплуатации - Российский морской регистр судоходства, 2019 г. |