Главная // Актуальные документы // ГОСТ Р (Государственный стандарт)СПРАВКА
Источник публикации
М.: Стандартинформ, 2012
Примечание к документу
Документ
введен в действие с 01.03.2012.
Взамен ГОСТ Р 50352-92.
Название документа
"ГОСТ Р ИСО 8325-2010. Национальный стандарт Российской Федерации. Инструменты стоматологические вращающиеся. Методы испытаний"
(утв. и введен в действие Приказом Росстандарта от 23.11.2010 N 494-ст)
"ГОСТ Р ИСО 8325-2010. Национальный стандарт Российской Федерации. Инструменты стоматологические вращающиеся. Методы испытаний"
(утв. и введен в действие Приказом Росстандарта от 23.11.2010 N 494-ст)
Утвержден и введен в действие
агентства по техническому
регулированию и метрологии
от 23 ноября 2010 г. N 494-ст
НАЦИОНАЛЬНЫЙ СТАНДАРТ РОССИЙСКОЙ ФЕДЕРАЦИИ
ИНСТРУМЕНТЫ СТОМАТОЛОГИЧЕСКИЕ ВРАЩАЮЩИЕСЯ
МЕТОДЫ ИСПЫТАНИЙ
Dental rotary instruments. Test methods
ISO 8325:2004
Dentistry - Test methods for rotary instruments
(IDT)
ГОСТ Р ИСО 8325-2010
Дата введения
1 марта 2012 года
Цели и принципы стандартизации в Российской Федерации установлены Федеральным
законом от 27 декабря 2002 г. N 184-ФЗ "О техническом регулировании", а правила применения национальных стандартов Российской Федерации -
ГОСТ Р 1.0-2004 "Стандартизация в Российской Федерации. Основные положения"
1 ПОДГОТОВЛЕН Государственным унитарным предприятием Республики Татарстан "Всероссийский научно-исследовательский проектный институт медицинских инструментов" (ГУП РТ "ВНИПИМИ")
2 ВНЕСЕН Техническим комитетом по стандартизации ТК 14 "Медицинские инструменты"
3 УТВЕРЖДЕН И ВВЕДЕН В ДЕЙСТВИЕ
Приказом Федерального агентства по техническому регулированию и метрологии от 23 ноября 2010 г. N 494-ст
4 Настоящий стандарт идентичен международному стандарту ИСО 8325:2004 "Стоматология. Методы испытаний вращающихся инструментов" (ISO 8325:2004 "Dentistry - Test methods for rotary instruments").
Наименование настоящего стандарта изменено относительно наименования указанного международного стандарта для приведения в соответствие с ГОСТ Р 1.5-2004
(пункт 3.5).
При применении настоящего стандарта рекомендуется использовать вместо ссылочных международных стандартов соответствующие им национальные стандарты Российской Федерации, сведения о которых приведены в дополнительном
приложении ДА
5 ВЗАМЕН ГОСТ Р 50352-92
Информация об изменениях к настоящему стандарту публикуется в ежегодно издаваемом информационном указателе "Национальные стандарты", а текст изменений и поправок - в ежемесячно издаваемых информационных указателях "Национальные стандарты". В случае пересмотра (замены) или отмены настоящего стандарта соответствующее уведомление будет опубликовано в ежемесячно издаваемом информационном указателе "Национальные стандарты". Соответствующая информация, уведомление и тексты размещаются также в информационной системе общего пользования - на официальном сайте Федерального агентства по техническому регулированию и метрологии в сети Интернет
ИСО (Международная организация стандартизации) является всемирной федерацией органов национальных стандартов (организации - члены ИСО). Работа по подготовке международных стандартов обычно осуществляется техническими комитетами ИСО. Каждая организация-член, заинтересованная в предмете, для которого создавался технический комитет, имеет право быть представленной в этом комитете. Международные правительственные и неправительственные организации также принимают участие в работе во взаимодействии с ИСО. ИСО тесно сотрудничает с Международной электротехнической комиссией (МЭК) по всем вопросам электротехнической стандартизации.
Международные стандарты разрабатываются в соответствии с правилами, приведенными в Директивах ИСО/МЭК, часть 2.
Проекты международных стандартов, принятые техническими комитетами, распространяются организациям-членам для голосования. Публикация в качестве международного стандарта требует одобрения по меньшей мере 75% организаций-членов с правом голоса.
Международный стандарт ИСО 8325 был подготовлен техническим комитетом ИСО/ТК 106 "Стоматология", подкомитет ПК 4 "Стоматологические инструменты".
Это второе издание отменяет и заменяет первое издание ИСО 8325:1985.
Настоящий стандарт устанавливает методы измерений/испытаний размерных характеристик, прочности шейки и шероховатости поверхности таких стоматологических вращающихся инструментов, как боры, фрезы, полиры, алмазные и абразивные инструменты.
Настоящий стандарт не предусматривает методы испытаний для характеристик материалов, используемых для стоматологических инструментов.
Примечание - Для испытаний этих характеристик смотрите стандарты на соответствующие изделия.
Данный стандарт не применим к стоматологическим инструментам для обработки корневого канала зуба (см. ИСО 3630-1).
В настоящем стандарте использованы ссылки на следующие стандарты, которые являются неотъемлемой частью для применения. Для недатированных документов применяют их самое последнее издание.
ИСО 1797-1 Инструменты стоматологические вращающиеся. Хвостовики. Часть 1. Хвостовики из металла
ИСО 1797-2 Инструменты стоматологические вращающиеся. Хвостовики. Часть 2. Хвостовики из пластических материалов
ИСО 1942 Стоматология. Словарь
ИСО 3274 Геометрическая спецификация изделия (GPS). Текстура поверхности. Профильный метод. Номинальные характеристики контактных (резцовых) инструментов
ИСО 4288 Геометрическая спецификация изделия (GPS). Текстура поверхности. Профильный метод. Правила и процедуры для оценки текстуры поверхности
В настоящем стандарте применены термины с соответствующими определениями по ИСО 1942.
Методы испытаний определяют путем описания методик измерений отдельных характеристик инструментов.
Методы испытаний, установленные в настоящем стандарте, касаются главных размерных характеристик стоматологических вращающихся инструментов. В дополнение к методам испытаний, установленным ниже, существуют и могут быть использованы другие эквивалентные методы и средства испытаний при условии, что они обеспечивают аналогичные результаты. Однако в случае спора приоритет отдается методам испытаний, установленным в настоящем стандарте.
Испытания следует проводить при комнатной температуре от 20 °C до 25 °C.
Предусматривают следующие средства измерений стоматологических инструментов:
a) микрометр;
b) штангенциркуль;
c) манометр с круговой шкалой;
d) микроскоп сравнения;
e) инструментальный микроскоп;
f) проекционный прибор (профильный проектор);
g) кольцевой прибор;
h) пневматический прибор;
i) угломерное средство измерений (гониометр);
j) лазерный сканер.
Другие прецизионные средства измерений могут быть применены в равной степени и могут быть использованы по усмотрению изготовителя. Средства измерений с достаточной точностью должны быть выбраны в отношении подлежащих измерениям характеристик инструментов.
Отрезки длины и диаметры должны быть измерены и рассчитаны в миллиметрах, а углы - в градусах.
5 Измерения отдельных характеристик стоматологических вращающихся инструментов
Следует использовать любое средство измерений по
4.3 с погрешностью не более 0,01 мм.
Применяемое усилие измерений - не более 1,5 Н.
5.1.2 Место измерений
Место измерений должно охватывать всю интегральную форму испытуемого изделия.
5.1.3 Процедура
Определяют форму рабочей части визуально или с использованием средства измерений в соответствии с
5.1.1.
5.2 Диаметр рабочей части
Следует использовать любое средство измерений по
4.3 с погрешностью не более 0,01 мм.
Применяемое усилие измерений - не более 1,5 Н.
В случае разногласия приоритетным методом является метод, использующий манометр с круговой шкалой.
5.2.2 Место измерений
Точкой измерений должна быть:
a) для цилиндрических инструментов - середина рабочей части;
b) для нецилиндрических инструментов - самый большой диаметр рабочей части, если иная не предусмотрена в стандарте на соответствующее изделие.
5.2.3 Процедура
Измеряют диаметр рабочей части с помощью средства измерений по
5.2.1.
Проводят одно измерение по периферийной поверхности, то есть по поверхности верхней части.
Для алмазных инструментов проводят три измерения под углами 120° друг от друга на окружности испытуемой детали. Поднимают клинок, прежде чем повернуть испытуемую деталь к следующей точке измерений. Записывают в журнал эти три результата измерений, обозначив их d1, d2, d3.
5.2.4 Оценка результатов испытаний для алмазных инструментов
Для алмазных инструментов рассчитывают средний диаметр по формуле
d = (d1 + d2 + d3)/3, (1)
где d1 - диаметр, полученный при первом измерении;
d2 - диаметр, полученный при втором измерении;
d3 - диаметр, полученный при третьем измерении.
Следует использовать любое средство измерений по
4.3 с погрешностью не более 0,01 мм.
Если используют механические средства измерений, они должны быть оснащены клинками из карбида вольфрама с кромкой в виде ножа толщиной не более 0,03 мм.
Применяемое усилие измерений - не более 1,5 Н.
5.3.2 Место измерений
Точкой измерений должен быть самый малый диаметр непосредственно позади рабочей части или непосредственно позади буртика, в зависимости от того, где применимо.
5.3.3 Процедура
Измеряют диаметр шейки с помощью средства измерений по
5.3.1.
Проводят одно измерение.
5.4 Размеры хвостовика и мандрена
Размеры хвостовика и мандрена определяют по ИСО 1797-1 и ИСО 1797-2.
Применяемое усилие измерений - не более 1,5 Н.
5.5.1 Измерительный инструмент
Следует использовать любой инструмент по
4.3 с погрешностью не более 0,01 мм.
Применяемое усилие измерений - не более 1,5 Н.
5.5.2 Место измерений
Точками измерений должны быть точки на концах самой короткой длины рабочей части, включая, где это применимо, шейку с покрытием.
5.5.3 Процедура
Измеряют длину рабочей части с помощью средства измерений по
5.5.1.
Проводят одно измерение.
Следует использовать любое средство измерений по
4.3 с погрешностью не более 0,01 мм.
Применяемое усилие измерений - не более 1,5 Н.
5.6.2 Место измерений
Точками измерений являются два конца инструмента, включая рабочую часть и хвостовик.
5.6.3 Процедура
Измеряют общую длину с помощью средства измерений по
5.6.1.
Проводят одно измерение.
5.7 Угол конуса рабочей части
Следует использовать любое средство измерений по
4.3 с погрешностью не более 2 мин (эквивалент - 1/30°).
Применяемое усилие измерений - не более 1,5 Н.
5.7.2 Место измерений
Измерения проводят на подготовленной площади рабочей части для применения испытательных средств.
Точками измерений должны быть, по крайней мере, две точки на поверхности рабочей части испытуемого изделия, которые расположены как можно дальше друг от друга.
5.7.3 Процедура
Определяют внутренний угол по отношению к базовой линии (оси) испытательных средств с помощью средства измерений по
5.7.1.
Измеряют соответствующие диаметры и длину конуса и, если необходимо, рассчитывают угол конуса.
Проводят одно измерение.
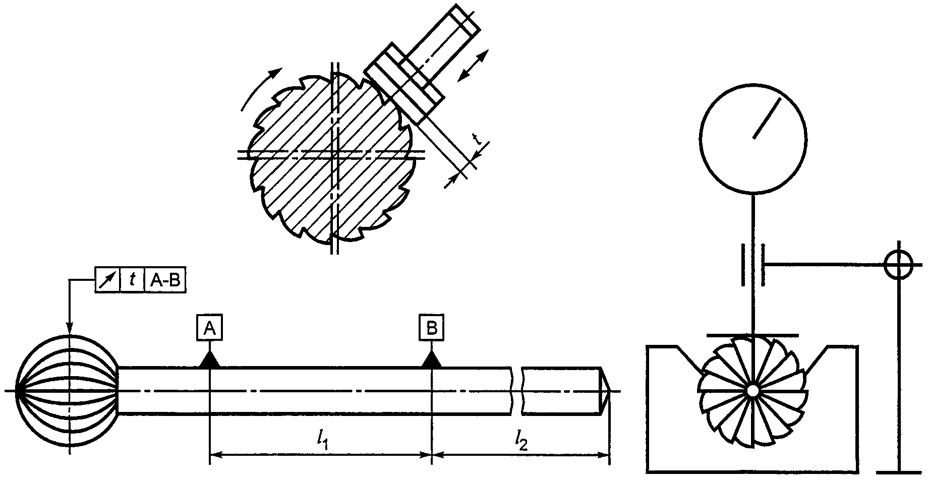
5.8.1 Удерживающее устройство и средство измерений
5.8.1.1 Удерживающее устройство
Удерживающее устройство для измерений биения одно из следующих:
a) разъемная призма с
V-образным вырезом с регулируемыми расстояниями
l1 и
l2 (см.
рисунок 1) - для инструментов с хвостовиками по ИСО 1797-1;
b) эквивалентное устройство, например прецизионный зажимной патрон, - для инструментов с хвостовиками по ИСО 1797-2;
c) эквивалентное устройство для мандренов.
Рисунок 1 - Разъемная измерительная призма
с V-образным вырезом
Отрезки длины l1 и l2, зависящие от посадочной длины испытуемого изделия, приведены в таблице 1.
Таблица 1
В миллиметрах
Тип хвостовика по ИСО 1797 <*> | Посадочная длина по ИСО 1797 <*> | l1 | l2 |
1 | 9 | 5 | 3 |
1 | 11 и 12 | 7 | 3 |
2 | 15 | 10 | 3 |
2 | 30 | 9 | 20 |
3 | 9 | 5 | 2 |
3 | 11 и 12 | 7 | 2 |
4 | 15 | 10 | 3 |
4 | 30 | 9 | 20 |
<*> ИСО 1797-1 или 1797-2, в зависимости от типа хвостовика. |
5.8.1.2 Средство измерений
Следует использовать любое средство измерений по
4.3 с погрешностью не более 0,01 мм.
Применяемое усилие измерений - не более 0,3 Н.
5.8.2 Место измерений
Точка измерений, указанная в стандартах на соответствующие изделия, находится на поверхности верхней части испытуемого изделия.
Если не дано уточнение, точкой измерений для цилиндрических и конусных инструментов должна быть середина рабочей части, для инструментов с другими формами - наибольший диаметр рабочей части.
5.8.3 Процедура
Устанавливают размеры отрезков длины
l1 и
l2 удерживающего устройства
(5.8.1.1) в соответствии с типом хвостовика (см.
таблицу 1), подлежащего испытаниям. Помещают испытуемое изделие в удерживающее устройство и медленно поворачивают его вокруг оси. Измеряют биение на поверхности верхней части испытуемого изделия с помощью средства измерений по
5.8.1.2.
Записывают в журнал максимальные t2 и минимальные t3 показания.
Рассчитывают разницу обоих показаний в качестве общего радиального биения l1 по формуле
t1 = t2 - t3, (2)
где t2 - максимальное показание биения;
t3 - минимальное показание биения.
5.9.1 Устройство приложения испытательной нагрузки и средство измерений
5.9.1.1 Устройство приложения испытательной нагрузки
Следует использовать устройство, обеспечивающее нагрузку
F, которая будет приложена к свободному концу испытуемого изделия, при этом его продольная ось должна быть удержана в зажимном патроне под углом 22,5° к горизонтали. Зажимной патрон должен обеспечивать возможность того, чтобы испытуемые изделия различной длины могли быть вставлены на глубину, указанную в
5.9.3 (см. рисунок 2).
Рисунок 2 - Испытуемое изделие под углом 22,5° к горизонтали
5.9.1.2 Средство измерений
Следует использовать любое средство измерений по
4.3 с погрешностью не более 0,01 мм.
Применяемое усилие измерений - не более 0,3 Н.
5.9.2 Испытательная нагрузка
Испытательная нагрузка F, Н, которая должна быть приложена, указана в стандарте на соответствующее изделие, рассчитана из следующего уравнения:

, (3)
где d1 - номинальный диаметр рабочей части, мм;
d2 - максимальный диаметр шейки, мм;
l - минимальная длина рабочей части, мм.
Помещают испытуемое изделие в зажимной патрон так, чтобы оно было зажато до соединения шейки и хвостовика. Поворачивают испытуемое изделие и записывают максимальное биение t4 в журнал. Устанавливают испытуемое изделие с максимальным биением вертикально вверх. Подают испытательную нагрузку в течение 5 с. Если испытуемое изделие разрушается, оно не проходит испытания. Если испытуемое изделие не разрушается, измеряют радиальное биение после нагрузки t5.
5.9.4 Остаточная деформация
Рассчитывают остаточную деформацию t6 по формуле
t6 = t5 - t4, (4)
где t4 - максимальное биение перед применением испытательной нагрузки;
t5 - максимальное биение после применения испытательной нагрузки.
5.10 Шероховатость поверхности
Определяют шероховатость поверхности по ИСО 3247 и ИСО 4288.
(справочное)
СВЕДЕНИЯ О СООТВЕТСТВИИ ССЫЛОЧНЫХ МЕЖДУНАРОДНЫХ СТАНДАРТОВ
ССЫЛОЧНЫМ НАЦИОНАЛЬНЫМ СТАНДАРТАМ РОССИЙСКОЙ ФЕДЕРАЦИИ
Таблица ДА.1
Обозначение ссылочного международного стандарта | Степень соответствия | Обозначение и наименование соответствующего национального стандарта |
ИСО 17971-1 | - | |
ИСО 1797-2 | - | |
ИСО 1942 | - | |
ИСО 3274 | - | |
ИСО 4288 | - | |
<*> Соответствующий национальный стандарт отсутствует. До его принятия рекомендуется использовать перевод на русский язык данного международного стандарта. Перевод данного международного стандарта находится в Федеральном информационном фонде технических регламентов и стандартов. |
[1] | ИСО 463 | Геометрические характеристики изделий (GPS). Приборы для измерения размеров. Конструкция и метрологические характеристики механических приборов с круговой шкалой |
[2] | ИСО 3599 | Штангенциркули с нониусом с точностью измерения до 0,1 и 0,05 мм |
[3] | ИСО 3611 | Микрометр для наружных измерений |
[4] | ИСО 3630-1 | Инструменты стоматологические для обработки канала корня зуба. Часть 1. Каналорасширители, дрильборы, пульпоэкстракторы, рашпили, каналонаполнители и корневые иглы |
[5] | ИСО 6906 | Штангенциркули с нониусом с ценой деления 0,02 мм |
[6] | ИСО 13295 | Инструменты стоматологические вращающиеся. Дискодержатели |
УДК 615.472:616:006.354 | | | |
Ключевые слова: стоматология, инструмент стоматологический вращающийся, метод испытаний |