Главная // Актуальные документы // ГОСТ Р (Государственный стандарт)СПРАВКА
Источник публикации
М.: Стандартинформ, 2011
Примечание к документу
Документ
введен в действие с 01.01.2011.
Название документа
"ГОСТ Р 53718-2009. Национальный стандарт Российской Федерации. Топлива авиационные. Метод определения высоты некоптящего пламени"
(утв. и введен в действие Приказом Ростехрегулирования от 15.12.2009 N 1180-ст)
"ГОСТ Р 53718-2009. Национальный стандарт Российской Федерации. Топлива авиационные. Метод определения высоты некоптящего пламени"
(утв. и введен в действие Приказом Ростехрегулирования от 15.12.2009 N 1180-ст)
Утвержден и введен в действие
агентства по техническому
регулированию и метрологии
от 15 декабря 2009 г. N 1180-ст
НАЦИОНАЛЬНЫЙ СТАНДАРТ РОССИЙСКОЙ ФЕДЕРАЦИИ
ТОПЛИВА АВИАЦИОННЫЕ
МЕТОД ОПРЕДЕЛЕНИЯ ВЫСОТЫ НЕКОПТЯЩЕГО ПЛАМЕНИ
Aviation fuels. Method of smoke point determination
ГОСТ Р 53718-2009
Дата введения
1 января 2011 года
Цели и принципы стандартизации в Российской Федерации установлены Федеральным
законом от 27 декабря 2002 г. N 184-ФЗ "О техническом регулировании", а правила применения национальных стандартов Российской Федерации -
ГОСТ Р 1.0-2004 "Стандартизация в Российской Федерации. Основные положения"
1 ПОДГОТОВЛЕН Открытым акционерным обществом "Всероссийский научно-исследовательский институт по переработке нефти" (ОАО "ВНИИ НП") на основе собственного аутентичного перевода на русский язык стандарта, указанного в
пункте 4
2 ВНЕСЕН Техническим комитетом по стандартизации ТК 31 "Нефтяные топлива и смазочные материалы"
3 УТВЕРЖДЕН И ВВЕДЕН В ДЕЙСТВИЕ
Приказом Федерального агентства по техническому регулированию и метрологии от 15 декабря 2009 г. N 1180-ст
4 Настоящий стандарт идентичен стандарту АСТМ Д 1322-02 "Метод определения высоты некоптящего пламени керосина и авиационного турбинного топлива" (ASTM D 1322-02 "Standard test method for smoke point of kerosine and aviation turbine fuel").
Наименование настоящего стандарта изменено относительно наименования указанного стандарта АСТМ для приведения в соответствие с ГОСТ Р 1.5-2004
(подраздел 3.5).
При применении настоящего стандарта рекомендуется использовать вместо ссылочных стандартов соответствующие им национальные стандарты Российской Федерации и межгосударственные стандарты, сведения о которых приведены в дополнительном
приложении ДА
5 ВВЕДЕН ВПЕРВЫЕ
Информация об изменениях к настоящему стандарту публикуется в ежегодно издаваемом информационном указателе "Национальные стандарты", а текст изменений и поправок - в ежемесячно издаваемых информационных указателях "Национальные стандарты". В случае пересмотра (замены) или отмены настоящего стандарта соответствующее уведомление будет опубликовано в ежемесячно издаваемом информационном указателе "Национальные стандарты". Соответствующая информация, уведомление и тексты размещаются также в информационной системе общего пользования - на официальном сайте Федерального агентства по техническому регулированию и метрологии в сети Интернет
1.1 Настоящий стандарт устанавливает метод определения высоты некоптящего пламени керосина и авиационного турбинного топлива.
Примечание - Существует корреляция между люминометрическим числом (метод АСТМ Д 1740) и высотой некоптящего пламени
(приложение X1).
1.2 Настоящий стандарт не ставит целью рассмотрение всех проблем безопасности, связанных с его применением. Пользователь настоящего стандарта несет ответственность за обеспечение соответствующих мер безопасности и охраны здоровья персонала, а также определяет пригодности регламентированных ограничений перед его применением.
В настоящем стандарте использованы нормативные ссылки на следующие стандарты:
АСТМ Д 1740 Метод определения люминометрических чисел авиационных турбинных топлив (ASTM D 1740, Test method for luminometer number of aviation turbine fuels)
АСТМ Д 4057 Руководство по ручному отбору проб нефти и нефтепродуктов (ASTM D 4057, Practice for manual sampling of petroleum and petroleum products)
IP 57/95 Высота некоптящего пламени (IP 57/95, Smoke point)
Примечание - Только IP 57/95, опубликованный в 1995 г., равноценен стандарту АСТМ Д 1322, более ранние варианты IP 57 не являются ему равноценными.
ИСО 3014:1993 Нефтепродукты. Определение высоты некоптящего пламени керосина (ISO 3014:1993, Petroleum products - Determination of the smoke point of kerosine)
В настоящем стандарте применены следующие термины с соответствующими определениями:
3.1 авиационное турбинное топливо (aviation turbine fuel): Очищенный нефтяной дистиллят, обычно используемый в качестве топлива для авиационных газовых турбин.
Различные сорта топлива характеризуются диапазоном испаряемости, температурой замерзания и температурой вспышки.
3.2 керосин (kerosine): Очищенный нефтяной дистиллят с температурой кипения от 140 °C до 300 °C, обычно используемый для освещения и отопления.
3.3 высота некоптящего пламени (smoke point): Максимальная высота (мм) некоптящего пламени топлива, сжигаемого в фитильной лампе определенной конструкции.
4.1 Пробу сжигают в закрытой лампе с фитилем, которую ежедневно калибруют по чистым углеводородным смесям с известной высотой некоптящего пламени. Максимальную высоту пламени, которая может быть достигнута с испытуемым топливом без копоти, определяют с точностью до 0,5 мм.
5 Значение и использование
5.1 Настоящий стандарт содержит информацию об относительных характеристиках дымления керосинов и авиационных турбинных топлив в диффузионном пламени. Высота некоптящего пламени связана с типом углеводородов, входящих в состав таких топлив. Как правило, чем выше содержание ароматических углеводородов в топливе, тем более коптящим является пламя. Высокие значения высоты некоптящего пламени указывают на низкую способность топлив к дымообразованию.
5.2 Высота некоптящего пламени (и люминометрическое число, с которым она может коррелировать) связана с потенциальным распространением теплоты излучения от продуктов сгорания топлива. Поскольку теплота излучения оказывает сильное влияние на температуру металла втулок камеры сгорания и других частей горячей секции газовых турбин, высота некоптящего пламени может быть использована для корреляции характеристик топлива со сроком службы этих элементов.
6.1 Лампа для определения высоты некоптящего пламени - см. рисунок 1 и
приложение A1.
1 - вытяжная труба; 2 - шкала; 3 - направляющая фитиля;
4 - камера; 5 - втулка для резервуара; 6 - резервуар
Рисунок 1 - Лампа для определения высоты некоптящего пламени
6.2 Фитиль
Фитиль представляет собой круглый твердый плетеный хлопчатобумажный жгут, имеющий следующие характеристики:
оболочка: 17 нитей основы, 66 текс x 3;
основа: 9 нитей, 100 текс x 4;
уток: 40 текс x 2;
уточные нити: 6 нитей на 1 см.
6.3 Пипетки и бюретки класса А.
7.1 Толуол, сорт эталонного топлива АСТМ.
Предупреждение - Использовать с осторожностью. Воспламеняем, пары вредны для здоровья (
A2.1, приложение A2).
7.2 2,2,4-Триметилпентан (изооктан) чистотой не менее 99,75% масс.
Предупреждение - Использовать с осторожностью. Воспламеняем, пары вредны для здоровья (
A2.2, приложение A2).
7.3 Метанол (метиловый спирт) безводный.
Предупреждение - Использовать с осторожностью. Воспламеняем, пары вредны для здоровья (
A2.3, приложение A2).
7.4 Эталонные топливные смеси
Эталонные топливные смеси, соответствующие испытуемым топливам, тщательно готовят из толуола и 2,2,4-триметилпентана в соответствии с составом, указанным в таблице 1, с использованием калиброванных бюреток или пипеток.
Таблица 1
Эталонные топливные смеси
Стандартная высота некоптящего пламени при давлении 101,3 кПа, мм | Толуол | 2,2,4-Триметилпентан |
% об. |
14,7 | 40 | 60 |
20,2 | 25 | 75 |
22,7 | 20 | 80 |
25,8 | 15 | 85 |
30,2 | 10 | 90 |
35,4 | 5 | 95 |
42,8 | 0 | 100 |
7.5 Гептан чистотой не менее 99,5% масс.
Предупреждение - Использовать с осторожностью. Чрезвычайно воспламеняем, при вдыхании пары вредны для здоровья (
A2.4, приложение A2).
8 Отбор проб и их подготовка
8.1 Отбор проб проводят согласно АСТМ Д 4057. Образец используют сразу по получении. Все пробы выдерживают до достижения температуры окружающей среды (20 +/- 5) °C без специального нагревания. Если проба мутная или возможно содержит инородный материал, ее фильтруют через фильтровальную бумагу.
9.1 Лампу помещают в вертикальном положении в помещении, полностью защищенном от сквозняков.
Каждую новую лампу тщательно осматривают, следя за тем, чтобы все вентиляционные отверстия в камере и резервуаре были чистыми, незасоренными и имели требуемые размеры. Камера должна быть расположена таким образом, чтобы вентиляционные отверстия не были загорожены.
Примечание - Небольшие отклонения от всех перечисленных требований оказывают значительное влияние на прецизионность полученных результатов.
9.1.1 Если помещение плохо защищено от сквозняков, лампу помещают в вертикальном положении в ящик, изготовленный из термостойкого материала (не содержащего асбест), открытый спереди. Расстояние между верхом ящика и верхом трубы лампы должно составлять не менее 150 мм. Внутренняя поверхность ящика должна быть окрашена в матово-черный цвет.
9.2 Все фитили как новые, так и оставшиеся от предыдущих испытаний, экстрагируют не менее чем 25 циклами в экстракторе со смесью равных объемов толуола и безводного метилового спирта. Дают фитилям частично высохнуть в вытяжном шкафу перед тем, как поместить их в термостат, или используют для сушки фитилей термостат с сильным наддувом и во взрывобезопасном исполнении, или и то, и другое вместе. Сушат в течение 30 мин при 100 °C - 110 °C и до использования хранят в эксикаторе.
10.1 Аппарат калибруют в соответствии с 10.2, повторно калибруют регулярно с интервалами, не превышающими 7 дней, а также при смене оператора или изменении показания барометрического давления более чем на 0,7 кПа.
10.2 Аппарат калибруют, испытывая две эталонные топливные смеси, указанные в
7.4, в соответствии с процедурой, изложенной в
разделе 11, и, по возможности, беря в вилку высоту некоптящего пламени образца.
Если это невозможно, используют две смеси, имеющие высоту некоптящего пламени, близкую к высоте некоптящего пламени образца.
Определяют поправочный коэффициент f для аппарата по формуле

, (1)
где As - стандартная высота некоптящего пламени первой эталонной топливной смеси;
Ad - высота некоптящего пламени, определенная для первой эталонной смеси;
Bs - стандартная высота некоптящего пламени второй эталонной топливной смеси;
Bd - высота некоптящего пламени, определенная для второй эталонной топливной смеси.
Если высота некоптящего пламени, определенная для испытуемого топлива, точно совпадает с высотой некоптящего пламени, определенной для эталонной топливной смеси, то в качестве второй эталонной смеси следует использовать смесь с ближайшим более высоким значением высоты некоптящего пламени, если она существует; в противном случае используют смесь со следующей ближайшей высотой некоптящего пламени.
10.3 Альтернативой подтверждения калибровки аппаратуры является ежедневное проведение каждым оператором испытания контрольного образца на используемой аппаратуре.
Записывают среднее значение результатов испытания контрольного образца и сравнивают его с контрольной диаграммой или используют другие статистические приемы.
Если расхождение превышает контрольные пределы или используют новую аппаратуру, то аппаратуру необходимо повторно откалибровать.
11.1 Кусок экстрагированного и высушенного фитиля длиной не менее 125 мм пропитывают в образце и вставляют в фитильную трубку резервуара. Если в результате проведения этой операции произошло закручивание фитиля, его осторожно раскручивают.
В случае разногласия или арбитражных испытаний всегда используют новый фитиль, подготовленный, как указано в
9.2.
Примечание - Зажигаемый конец фитиля рекомендуется снова смочить в образце после того, как фитиль будет вставлен в фитильную трубку.
11.2 В чистый сухой резервуар при комнатной температуре наливают приблизительно 20 см3 подготовленного образца, но не менее 10 см3.
11.3 Фитильную трубку вставляют в резервуар и крепко завинчивают. Необходимо проследить, чтобы вентиляционные отверстия в резервуаре были свободны от топлива. Обрезают фитиль горизонтально, подстригая обтрепанные концы так, чтобы он выступал на 6 мм из трубки. Используют новое чистое лезвие или другой режущий инструмент (некоторые лезвия имеют защитное покрытие, которое перед применением необходимо удалить растворителем). Затем резервуар вставляют в лампу.
11.3.1 При альтернативном методе для подготовки незакрученного фитиля и фитиля без обтрепанных концов используют специальный комплект для оправки фитиля. Держатель оправки насаживают сверху на фитильную трубку и вводят через трубку и держатель длинный пинцет с тремя захватами. Фитиль захватывают и осторожно протягивают через трубку без скручивания. Для обрезания фитиля по торцу держателя и удаления обтрепанных концов используют новое чистое лезвие. Когда держатель снимают, фитиль должен находиться в трубке на нужной высоте. Затем трубку вставляют в резервуар и туго завинчивают. Резервуар вставляют в лампу.
11.4 Зажигают лампу и регулируют фитиль так, чтобы высота пламени была равна приблизительно 10 мм; оставляют лампу гореть в течение 5 мин. Поднимают резервуар до появления копоти, затем медленно его опускают. При этом вид пламени меняется следующим образом:
11.4.1 Длинный язык пламени, дым едва заметен, пламя подвижное, неустойчивое.
11.4.2 Пламя с удлиненным острым концом и вогнутыми сторонами (
рисунок 2, A).
11.4.3 Острый конец исчезает, пламя становится слегка закрученным (
рисунок 2, B). Иногда рядом с правильным языком пламени появляется подвижное зубчатое светящееся пламя. Его не учитывают.
11.4.4 Язык пламени сильно закруглен (рисунок 2, C).
A - слишком высокое пламя; B - нормальное (правильное)
пламя; C - слишком низкое пламя; D - основание пламени
Рисунок 2 - Типичный вид пламени
Определяют высоту пламени B с точностью 0,5 мм. Записывают наблюдаемую высоту некоптящего пламени.
11.4.4.1 Чтобы избежать погрешностей в результате параллакса, глаз наблюдателя должен находиться слегка в стороне от центральной линии так, чтобы отражение пламени было видно на шкале по одну сторону от вертикальной центральной белой линии, а само пламя находилось по другую сторону шкалы. Показание шкалы в обоих случаях должно быть одинаковым.
11.5 Проводят три отдельных наблюдения высоты некоптящего пламени, повторяя последовательность появления пламени, установленную в
11.4.
Если эти результаты будут отличаться друг от друга более чем на 1,0 мм, повторяют испытание на новом образце и с другим фитилем.
11.6 Вынимают резервуар из лампы, промывают гептаном и продувают воздухом, чтобы подготовить к последующему использованию.
12.1 Рассчитывают высоту некоптящего пламени с точностью 0,1 мм по уравнению (2)
Высота некоптящего пламени = L·f, (2)
где L - среднее значение результатов трех отдельных показаний, округленное до 0,1 мм;
f - поправочный коэффициент
(10.2) с точностью 0,01.
12.2 Полученный таким образом результат, округленный с точностью 0,5 мм, записывают как высоту некоптящего пламени для испытуемого образца.
13 Прецизионность и отклонение
13.1 Повторяемость (сходимость) r
Расхождение между двумя последовательными результатами испытания, полученными одним и тем же оператором на одной и той же аппаратуре при постоянно действующих условиях на идентичном исследуемом материале в течение длительного времени при обычном и правильном выполнении метода испытания, может превышать следующее значение только в одном случае из двадцати
r = 2 мм.
13.2 Воспроизводимость R
Расхождение между двумя единичными и независимыми результатами, полученными разными операторами, работающими в разных лабораториях, на идентичном исследуемом материале в течение длительного времени при обычном и правильном выполнении метода испытания, может превышать следующее значение только в одном случае из двадцати
R = 3 мм.
Примечание - Прецизионные данные получены при проведении совместной АСТМ/IP программы в 1972. г.: 6 эталонных топливных смесей по АСТМ и 10 топлив Jet A и Jet B в диапазоне высоты некоптящего пламени от 15 до 45 мм.
13.3 Отклонение
Процедура измерения высоты некоптящего пламени керосинов и авиационных турбинных топлив, приведенная в методе испытания по АСТМ Д 1322, не имеет систематической погрешности, так как значение высоты некоптящего пламени можно определить только в условиях настоящего метода испытания.
(обязательные)
A1.1 Лампа для определения высоты некоптящего пламени, соответствующая размерам, приведенным в
таблице A1.1 и на
рисунках A1.1 и
A1.2. Следует соблюдать следующие основные требования:
Примечание - Для снижения утомления глаз при наблюдении за пламенем следует использовать кобальтовое стекло средней плотности.
A1.1.1 Верхний конец направляющей фитиля должен точно совпадать с нулевой отметкой на шкале.
A1.1.2 Шкала должна быть нанесена белыми линиями на черном стекле по обе стороны белой или черной полосы шириной 2 мм. Диапазон шкалы должен быть 50 мм, цена деления - 1 мм, цифры проставляются через каждые 10 мм, цена большого деления - 5 мм.
A1.1.3 Должно быть предусмотрено соответствующее устройство для подъема или опускания пламени. Общее расстояние перемещения должно быть не менее 10 мм, движение должно быть плавным и равномерным.
A1.1.4 Стекло в дверце лампы должно иметь вогнутую форму для предотвращения многократных отражений.
A1.1.5 Соединение между основанием и корпусом резервуара должно быть непроницаемым для топлива.
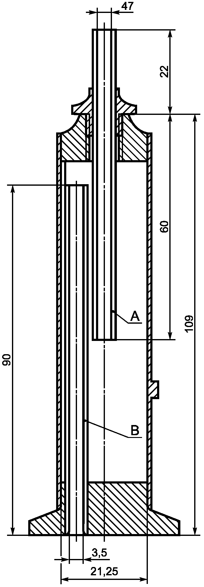
Таблица A1.1
Основные размеры лампы для определения высоты
некоптящего пламени
В миллиметрах
| Размеры | Допуск |
|
Втулка для резервуара C: | | |
- внутренний диаметр | 23,8 | +/- 0,05 |
Направляющая фитиля D: | | |
- внутренний диаметр | 6,0 | +/- 0,02 |
Воздушные каналы (в количестве 20) E: | | |
- диаметр | 2,9 | +/- 0,05 |
Камера F: | | |
- внешний диаметр | 35,0 | +/- 0,05 |
- диаметр вентиляционных отверстий | 3,5 | +/- 0,05 |
Корпус лампы G: | | |
- внутренний диаметр | 81,0 | +/- 1,0 |
- внутренняя глубина | 81,0 | +/- 1,0 |
Труба H: | | |
- внутренний диаметр | 40,0 | +/- 1,0 |
- высота от верхнего края трубы до корпуса лампы | 130 | +/- 1,0 |
|
Корпус резервуара: | | |
- внутренний диаметр | 21,25 | - |
- внешний диаметр | Скользящая посадка в держателе резервуара |
- длина без колпачка | 109 | +/- 0,05 |
- резьба на колпачке | диаметр - 9,5, | - |
шаг резьбы - 1,0 | - |
Фитильная трубка A: | | |
- внутренний диаметр | 4,7 | +/- 0,05 |
- внешний диаметр | Скользящая посадка в держателе резервуара |
- длина | 82,0 | +/- 0,05 |
Воздушный канал B: | | |
- внутренний диаметр | 3,5 | +/- 0,05 |
- длина | 90,0 | +/- 0,05 |
Рисунок A1.1 - Корпус лампы
A2.1.1 Предупреждение - Воспламеняем. Пары вредны для здоровья. Следует держать вдали от источников тепла, искрения и открытого пламени. Хранить следует в закрытом контейнере. Следует использовать при соответствующей вентиляции. Следует избегать вдыхания паров или тумана и продолжительного или повторяющегося контакта с кожей.
A2.2 2,2,4-Триметилпентан (изооктан)
A2.2.1 Предупреждение - Чрезвычайно воспламеняем. Вреден при вдыхании. Следует держать вдали от источников тепла, искрения и открытого пламени. Хранить следует в закрытом контейнере. Следует использовать при соответствующей вентиляции. Следует избегать образования паров и хранить вдали от источников тепла, искр и открытого пламени, особенно от электроприборов и нагревателей во взрывоопасном исполнении. Следует избегать вдыхания паров или тумана и продолжительного или повторяющегося контакта с кожей.
A2.3 Метанол (метиловый спирт)
Предупреждение - Огнеопасен. Пары вредны для здоровья. Может быть смертельным или вызвать слепоту в случае приема внутрь или вдыхания. Ядовит. Следует держать вдали от источников тепла, искрения и открытого пламени. Контейнер необходимо держать закрытым. Следует избегать контакта с глазами и кожей, вдыхания паров или тумана. Следует использовать при соответствующей вентиляции. Не следует принимать внутрь.
A2.4.1 Предупреждение - Чрезвычайно воспламеняем. Вреден при вдыхании. Пары могут вызвать вспышку огня. Следует держать вдали от источников тепла, искрения и открытого пламени. Контейнер необходимо держать закрытым. Следует использовать при соответствующей вентиляции. Следует избегать образования паров и удалить все источники возгорания, особенно электроприборы и нагреватели во взрывоопасном исполнении. Следует избегать продолжительного или повторяющегося контакта с кожей.
(справочное)
ЗАВИСИМОСТЬ МЕЖДУ ВЫСОТОЙ НЕКОПТЯЩЕГО ПЛАМЕНИ
И ЛЮМИНОМЕТРИЧЕСКИМ ЧИСЛОМ
X1.1 Введение
X1.1.1 Существует зависимость между высотой некоптящего пламени (SP) (метод АСТМ Д 1322) и люминометрическим числом (LN) (метод АСТМ Д 1740). На рисунке X1.1 показана эта зависимость для авиационных турбинных топлив типа керосина.
I - уровень доверительной вероятности
Рисунок X1.1 - Зависимость между высотой
некоптящего пламени и люминометрическим числом
X1.1.2 Зависимость основана на регрессии данных по 315 топливам с люминометрическими числами, которые находятся в пределах от минус 2 до 100. В этой группе было 160 реактивных топлив Jet A, A-1, JP-4 и JP-5. Остальные топлива представляли собой дизельные топлива, керосины, смеси фракций, полученных в результате переработки, и другие различные нефтяные дистилляты.
X1.1.3 Коэффициент корреляции - 0,95.
X1.1.4 Можно показать, что доверительные интервалы около линии корреляции можно объяснить типичной погрешностью измерений высоты некоптящего пламени и люминометрического числа. Это означает, что если и существует эффект различия типа топлива для каждого из двух методов, то он незначителен и скрыт погрешностями измерения высоты некоптящего пламени и люминометрического числа.
X1.2 Уравнения
X1.2.1 Кривая корреляции, показанная на
рисунке X1.1, может быть представлена одним из двух уравнений:
LN = -12,03 + 3,009SP - 0,0104SP2; (X1.1)
SP = +4,16 + 0,331LN + 0,000648LN2. (X1.2)
X1.2.2 Эти уравнения не являются со всей очевидностью математически тождественными, но они дают результаты, которые отличаются не более чем на 0,1 пункта для высоты некоптящего пламени или люминометрического числа. Оба уравнения представлены для удобства расчета в зависимости от того, какая дана переменная величина.
(справочное)
СВЕДЕНИЯ О СООТВЕТСТВИИ ССЫЛОЧНЫХ СТАНДАРТОВ НАЦИОНАЛЬНЫМ
СТАНДАРТАМ РОССИЙСКОЙ ФЕДЕРАЦИИ (И ДЕЙСТВУЮЩИМ
В ЭТОМ КАЧЕСТВЕ МЕЖГОСУДАРСТВЕННЫМ СТАНДАРТАМ)
Таблица ДА.1
Обозначение ссылочного стандарта | Степень соответствия | Обозначение и наименование соответствующего национального стандарта |
АСТМ Д 1740 | - | |
АСТМ Д 4057 | MOD | |
IP 57/95 | - | |
| | ИС МЕГАНОРМ: примечание. В официальном тексте документа, видимо, допущена опечатка: ГОСТ 4338-91 имеет название "Топливо для авиационных газотурбинных двигателей. Определение максимальной высоты некоптящего пламени". | |
|
ИСО 3014:1993 | MOD | ГОСТ 4338-91 "Топливо для авиационных газотурбинных двигателей. Определение высоты некоптящего пламени" |
<*> Соответствующий национальный стандарт отсутствует. До его утверждения рекомендуется использовать перевод на русский язык данного стандарта. Перевод данного стандарта находится в Федеральном информационном фонде технических регламентов и стандартов. Примечание - В настоящей таблице использовано следующее условное обозначение степени соответствия стандартов: MOD - модифицированные стандарты. |
УДК 621.892:543:006.354 | | | |
Ключевые слова: авиационное турбинное топливо, свойства горения, реактивное топливо, керосин, тепловое излучение, высота некоптящего пламени |