Главная // Актуальные документы // ГОСТ Р (Государственный стандарт)СПРАВКА
Источник публикации
М.: Стандартинформ, 2011
Примечание к документу
Документ
введен в действие с 01.01.2011.
Название документа
"ГОСТ Р 53707-2009. Национальный стандарт Российской Федерации. Нефтепродукты. Метод дистилляции при атмосферном давлении"
(утв. и введен в действие Приказом Ростехрегулирования от 15.12.2009 N 1147-ст)
"ГОСТ Р 53707-2009. Национальный стандарт Российской Федерации. Нефтепродукты. Метод дистилляции при атмосферном давлении"
(утв. и введен в действие Приказом Ростехрегулирования от 15.12.2009 N 1147-ст)
Утвержден и введен в действие
агентства по техническому
регулированию и метрологии
от 15 декабря 2009 г. N 1147-ст
НАЦИОНАЛЬНЫЙ СТАНДАРТ РОССИЙСКОЙ ФЕДЕРАЦИИ
НЕФТЕПРОДУКТЫ
МЕТОД ДИСТИЛЛЯЦИИ ПРИ АТМОСФЕРНОМ ДАВЛЕНИИ
Petroleum products.
Method of distillation at atmospheric pressure
ГОСТ Р 53707-2009
Дата введения
1 января 2011 года
Цели и принципы стандартизации в Российской Федерации установлены Федеральным
законом от 27 декабря 2002 г. N 184-ФЗ "О техническом регулировании", а правила применения национальных стандартов Российской Федерации -
ГОСТ Р 1.0-2004 "Стандартизация в Российской Федерации. Основные положения"
1 ПОДГОТОВЛЕН Открытым акционерным обществом "Всероссийский научно-исследовательский институт по переработке нефти" (ОАО "ВНИИ НП") на основе аутентичного перевода на русский язык стандарта, указанного в
пункте 4
2 ВНЕСЕН Техническим комитетом по стандартизации ТК 31 "Нефтяные топлива и смазочные материалы"
3 УТВЕРЖДЕН И ВВЕДЕН В ДЕЙСТВИЕ
Приказом Федерального агентства по техническому регулированию и метрологии от 15 декабря 2009 г. N 1147-ст
4 Настоящий стандарт идентичен стандарту АСТМ Д 86 - 07b "Стандартный метод дистилляции нефтепродуктов при атмосферном давлении" (ASTM D 86 - 07b "Standard test method for distillation of petroleum products at atmospheric pressure)".
При применении настоящего стандарта рекомендуется использовать вместо ссылочных стандартов соответствующие им национальные стандарты Российской Федерации и межгосударственные стандарты, сведения о которых приведены в дополнительном
приложении ДА
5 ВВЕДЕН ВПЕРВЫЕ
Информация об изменениях к настоящему стандарту публикуется в ежегодно издаваемом информационном указателе "Национальные стандарты", а текст изменений и поправок - в ежемесячно издаваемых информационных указателях "Национальные стандарты". В случае пересмотра (замены) или отмены настоящего стандарта соответствующее уведомление будет опубликовано в ежемесячно издаваемом информационном указателе "Национальные стандарты". Соответствующая информация, уведомление и тексты размещаются также в информационной системе общего пользования - на официальном сайте Федерального агентства по техническому регулированию и метрологии в сети Интернет
1.1 Настоящий стандарт устанавливает метод дистилляции нефтепродуктов при атмосферном давлении с использованием лабораторной установки периодического действия для количественного определения пределов выкипания таких продуктов, как легкие и средние дистилляты, топлива для автомобильных двигателей с искровым зажиганием, топлива для автомобильных двигателей, содержащие до 10% этанола, авиационные бензины, топлива для авиационных турбин, дизельные топлива 1-D и 2-D, смеси для биодизелей до 20%, судовые топлива, специальные петролейные эфиры, нафты, уайт-спириты, керосины и форсуночные топлива сортов 1 и 2.
1.2 Настоящий метод испытания предназначен для анализа дистиллятных топлив и неприменим к продуктам, содержащим заметные количества остаточного материала.
1.3 Настоящий метод испытания предусматривает использование как ручного, так и автоматического аппаратов.
1.4 Если нет других указаний, то значения, указанные в единицах СИ, должны рассматриваться как стандартные. Значения, приведенные в скобках, даны только для сведения.
1.5 Настоящий стандарт не ставит своей целью решить все проблемы безопасности, связанные с его использованием. На пользователе настоящего стандарта лежит ответственность за принятие соответствующих мер безопасности и за сохранение здоровья персонала, а также за выяснение и учет законодательных ограничений перед его использованием.
2.1 В настоящем стандарте использованы нормативные ссылки на следующие стандарты <1>, <2>:
--------------------------------
<1> Информацию по стандартам АСТМ Д и АСТМ Е можно найти на сайте АСТМ, www.astm.org или обратиться в службу АСТМ по электронной почте service@astm.org. За информацией по Annual Book of ASTM Standards volume - к standards Document Summary page на ASTM website.
<2> Могут быть получены в Energy Institute, 61 New Cavendish St., London, WIG 7AR, U.K/, http://www.energyiinst.org.uk.
АСТМ Д 97 Метод определения температуры текучести нефтепродуктов (ASTM D 97, Test method for pour point of petroleum products)
АСТМ Д 323 Метод определения давления паров нефтепродуктов (Метод Рейда) [ASTM D 323, Test method for vapour pressure of petroleum products (Reid method)]
АСТМ Д 4057 Руководство по ручному отбору проб нефти и нефтепродуктов (ASTM D 4057, Practice for manual sampling of petroleum and petroleum products)
АСТМ Д 4177 Руководство по автоматическому отбору проб нефти и нефтепродуктов (ASTM D 4177, Practice for automatic sampling of petroleum and petroleum products)
АСТМ Д 4953 Метод определения давления паров бензина и смесей бензина с оксигенатами (Сухой метод) [D 4953 Test method for vapour pressure of gasoline and gasoline-oxygenate blends (Dry method)]
АСТМ Д 5190 Метод определения давления паров нефтепродуктов (Автоматический метод) [ASTM D 5190, Test method for vapour ressure of petroleum products (Automatic method)]
АСТМ Д 5191 Метод определения давления паров нефтепродуктов (Мини-метод) [ASTM D 5191, Test method for vapour pressure of petroleum products (Mini method)]
АСТМ Д 5842 Руководство по отбору проб топлив и работе с ними для определения летучести (испаряемости) (ASTM D 5842, Practice for sampling and handling of fuels for volatility measurement)
АСТМ Д 5949 Метод определения температуры потери текучести нефтепродуктов (Автоматический метод пульсации давления) [ASTM D 5949, Test method for pour point of petroleum products (Automatic pressure pulsing method)]
АСТМ Д 5950 Метод определения температуры потери текучести нефтепродуктов (Автоматический метод опрокидывания) [ASTM D 5950, Test method for pour point of petroleum products (Automatic tilt method)]
АСТМ Д 5985 Метод определения потери текучести нефтепродуктов (Ротационный метод) [ASTM D 5985, Test method for pour point of petroleum products (Rotational method)]
АСТМ Д 6300 Руководство по определению данных прецизионности и отклонения для применения в методах испытания нефтепродуктов и смазочных материалов (ASTM D 6300, Practice for determination of precision and bias data for use in test methods for petroleum products and lubricants)
АСТМ Е 1 Спецификации на стеклянные жидкостные термометры АСТМ (ASTM E 1, Specification for ASTM liquid-in-glass thermometers)
АСТМ Е 77 Метод поверки и калибровки термометров (ASTM E 77, Test method for inspection and verification of thermometers)
АСТМ Е 1272 Спецификация на лабораторные стеклянные мерные цилиндры (ASTM E 1272, Specification for laboratory glass graduated cylinders)
АСТМ Е 1405 Спецификация на лабораторные стеклянные колбы для разгонки (ASTM E 1405, Specification for laboratory glass distillation flasks)
IP 69 Определение давления паров. Метод Рейда (IP 69, Determination of vapour pressure - Reid method)
IP 123 Нефтепродукты. Определение характеристик разгонки (IP 123, Petroleum products - Determination of distillation characteristics)
IP 394 Определение давления насыщенных паров воздуха (IP 394, Determination of air saturated vapour pressure)
IP Стандартные методы анализа и испытания нефтепродуктов и родственных продуктов 1996 г. - Приложение A (IP, Standard methods for analysis and testing of petroleum and related products 1996 - Appendix A)
3.1 В настоящем стандарте применены следующие термины с соответствующими определениями:
3.1.1 объем загрузки (charge volume): Объем образца (100 см3), загруженного в колбу для разгонки при температуре, установленной в таблице 1.
Таблица 1
| Группа 1 | Группа 2 | Группа 3 | Группа 4 |
Колба, см3 | 125 | 125 | 125 | 125 |
Термометр ASTM для разгонки | 7C (7F) | 7C (7F) | 7C (7F) | 7C (8F) |
Диапазон термометра IP для разгонки | Низкий | Низкий | Низкий | Высокий |
Прокладка для колбы | B | B | C | C |
Диаметр отверстия, мм | 38 | 38 | 50 | 50 |
Температура в начале испытания: | | | | |
Колба: | | | | |
°C | 13 - 18 | 13 - 18 | 13 - 18 | Не выше температуры окружающей среды |
°F | 55 - 65 | 55 - 65 | 55 - 65 | |
Подставка для колбы и экрана | Не выше температуры окружающей среды |
Приемный цилиндр и образец: | | | | |
°C | 13 - 18 | 13 - 18 | 13 - 18 <A> | 13 - температура окружающей среды <A> |
°F | 55 - 65 | 55 - 65 | 55 - 65 <A> | 55 - температура окружающей среды <A> |
|
3.1.2 разложение углеводородов (decomposition of a hydrocarbon): Пиролиз или крекинг молекул, приводящий к образованию молекул меньших размеров с более низкими температурами кипения, чем исходная молекула.
3.1.2.1 Характерными признаками термического разложения являются образование дыма и ошибочные показания термометра, заключающиеся в значительном снижении показаний при любой попытке регулирования нагрева.
3.1.3
температура разложения (decomposition point): Скорректированное показание термометра, которое совпадает с первыми признаками термического разложения жидкости в колбе.
3.1.3.1 Температура разложения, определенная в условиях настоящего метода испытания, необязательно соответствует температуре разложения, определяемой другими методами.
3.1.4 температура конца кипения (выпаривания) (dry point): Скорректированное показание термометра, наблюдаемое в момент, когда последняя капля жидкости испаряется со дна колбы (любые капли или пленка жидкости на стенке колбы или на термометре не учитываются).
3.1.4.1 Термин "конечная температура" (end point) [конечная температура кипения (final boiling point)] используют, как правило, вместо термина "температура конца кипения" (dry point) для всех основных целей.
Термин "температура конца кипения (выпаривания)" (dry point) можно использовать в специальных случаях, например при анализе нафты (растворителей), применяемой в производстве красителей. Кроме того, этот термин может быть заменен термином "конечная температура кипения" (end point - final boiling point) для образцов, по природе аналогичных тем, для которых прецизионность определения температуры конца кипения не удовлетворяет требованиям, представленным в
разделе 13.
3.1.5 динамическая задержка (dynamic holdup): Количество материала, присутствующего в горлышке колбы, боковом ответвлении колбы и трубке конденсатора во время разгонки.
3.1.6 эффект выступающего столбика (emergent stem effect): Отклонение в показании температуры, вызванное использованием стеклянного ртутного термометра в режиме частичного погружения, калиброванного при полном погружении.
3.1.6.1 В режиме частичного погружения часть ртутного столбика, т.е. выступающая часть столбика, находится при более низкой температуре, чем погруженная часть, что приводит к сокращению нити ртути и более низкому показанию температуры.
3.1.7 конечная температура (EP - end point) или конечная температура кипения (FBP - final boiling point): Максимальное скорректированное показание термометра, полученное во время испытания.
3.1.7.1 С этим обычно сталкиваются после испарения всей жидкости со дна колбы. Синонимом этих определений часто является термин "максимальная температура".
3.1.8 общие потери (front end loss): Потери вследствие испарения во время переноса образца из приемного цилиндра в колбу для разгонки, потеря пара во время разгонки и несконденсированный пар в колбе в конце разгонки.
3.1.9 температура начала кипения; ТНК (IBP - initial boiling point): Скорректированное показание термометра, наблюдаемое в момент падения первой капли конденсата с нижнего конца конденсаторной трубки.
3.1.10 процент выпаривания (percent evaporated): Сумма процента отгона и процента потерь.
3.1.11 процент потерь (или наблюдаемые потери) (percent loss or observed loss): 100% минус процент полного отгона.
3.1.11.1 скорректированные потери (corrected loss): Процент потерь, скорректированный на барометрическое давление.
3.1.12 процент отогнанного продукта (percent recovered): Объем конденсата, отмечаемый в приемном цилиндре, выраженный как процент от объема загрузки с одновременной записью показания температуры.
3.1.13
процент отгона (percent recovery): Максимальный процент отогнанного продукта, отмечаемый в соответствии с
10.18.
3.1.13.1
скорректированный процент отгона (corrected percent recovery): Процент отгона, отрегулированный на расхождение между отмечаемыми потерями и скорректированными потерями, как указано в
10.18.
3.1.13.2
процент общего отгона (percent total recovery): Общий процент отгона и остатка в колбе, определенный в соответствии с
11.1.
3.1.14
процент остатка (percent residue): Объем остатка в колбе, измеренный в соответствии с
10.19 и выраженный как процент от объема загрузки.
3.1.15
скорость изменения (или наклон) (rate of change or slope): Изменение в показании температуры на процент выпарившегося или отогнанного продукта, как указано в
11.6.2.
3.1.16 запаздывание температуры (temperature lag): Отклонение в показании температуры, полученной устройством для измерения температуры, от истинной температуры в это же время.
3.1.17
устройство для измерения температуры (temperature measurement device): Термометр, описание которого приведено в
6.3.1, или температурный датчик по
6.3.2.
3.1.18
показание температуры (temperature reading): Температура, полученная устройством или системой для измерения температуры, которая равна показанию термометра по
3.1.19.
3.1.18.1
скорректированное показание температуры (corrected temperature reading): Показание температуры по
3.1.18, скорректированное на барометрическое давление.
3.1.19
показание термометра (или результат измерения температуры) (temperature reading or temperature result): Температура насыщенного пара, измеренная в горлышке колбы ниже пароотводной трубки, определенная заданным термометром в условиях испытания.
3.1.19.1
скорректированное показание термометра (corrected temperature reading): Показание термометра по
3.1.19, скорректированное на барометрическое давление.
4.1 На основании состава, давления паров, предполагаемой температуры начала кипения (IBP) или предполагаемой температуры конца кипения (EP) или сочетания вышеуказанных параметров образец относят к одной из четырех групп. Монтаж аппаратуры, температура конденсатора и прочие рабочие переменные определяются группой, в которую входит образец.
4.2 100 см3 образца перегоняют в условиях, предписанных для группы, в которую входит образец. Разгонку выполняют на лабораторной установке периодического действия в условиях, которые рассчитаны для обеспечения фракционирования приблизительно с одной теоретической тарелкой. Проводят систематические наблюдения за показаниями температуры и объемами конденсата в зависимости от потребностей пользователя. Регистрируют также объем остатка и потери.
4.3 В заключение разгонки отмечаемые значения температуры пара следует скорректировать на барометрическое давление, и результаты исследовать на соответствие требованиям процедуры, таким как скорость разгонки. Если любое заданное условие не выполнено, испытание повторяют.
4.4 Результаты испытания обычно выражают как процент выпаривания или процент отгона при соответствующей температуре или в виде таблицы, или графически в виде кривой разгонки.
5 Значение и использование
5.1 Основной метод определения пределов выкипания нефтепродукта с использованием простой установки периодического действия применялся всегда, сколько существует нефтяная промышленность. Он является одним из старейших методов испытания (находящимся в юрисдикции комитета ASTM D 02), применяемых со времени, когда на него ссылались как на разгонку по Энглеру. Поскольку метод применяют в течение такого длительного периода, накоплено много данных, необходимых для оценки поведения продукта или самих процессов во время разгонки.
5.2 Характеристики разгонки (испаряемость) углеводородов часто важны для их безопасного применения и эксплуатации, особенно в случае топлив и растворителей. Пределы кипения дают информацию по составу, свойствам топлива и поведению во время хранения и применения. Испаряемость является основным показателем при определении склонности углеводородной смеси образовывать взрывоопасные пары.
5.3 Характеристики разгонки также важны для авиационных и автомобильных бензинов при запуске, прогреве и склонности к образованию паровой пробки при высокой рабочей температуре или на большой высоте, или в обоих случаях сразу. Присутствие компонентов с высокой температурой кипения в указанных или других топливах может оказывать значительное влияние на степень образования твердых продуктов разложения.
5.4 Поскольку испаряемость влияет на скорость выпаривания, то это свойство нефтепродукта также является важным фактором при применении многих растворителей, в частности используемых в красителях.
5.5 Пределы кипения при разгонке часто включают в спецификации на нефтепродукты, коммерческие контракты, применяют в системе нефтепереработки для контроля и согласования с обязательными правилами.
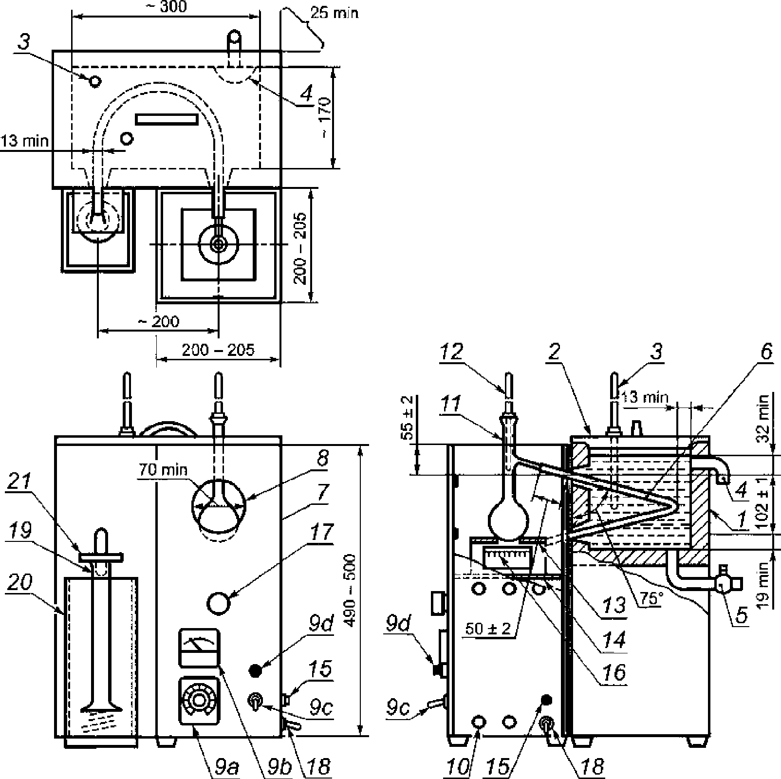
6.1 Основные детали аппаратов
6.1.1 Основными деталями аппаратов для разгонки являются: колба для разгонки, конденсатор, связанная с ними охлаждающая баня, металлический экран или кожух для перегонной колбы, источник тепла, подставка для колбы, устройство для измерения температуры и приемный цилиндр для сбора дистиллята.
6.1.2 На
рисунках 1 и
2 приведены образцы аппаратов для ручной дистилляции.
1 - охлаждающая баня; 2 - воздушные каналы; 3 - горелка;
4 - кожух; 5 - термостойкие прокладки; 6 - перегонная колба;
7 - термометр; 8 - крышка бани; 9 - фильтровальная бумага;
10 - подставка; 11 - мерный цилиндр; 12 - газовая линия
Рисунок 1 - Аппарат с применением газовой горелки
1 - баня для конденсатора; 2 - крышка бани колбы;
3 - температурный датчик; 4 - слив избытка охлаждающего
агента; 5 - слив хладоагента; 6 - конденсаторная трубка;
7 - экран; 8 - смотровое окошечко; 9a - регулятор
напряжения; 9b - вольтметр или амперметр; 9c - выключатель
энергии; 9d - световой индикатор энергии; 10 - вентиляция;
11 - колба для разгонки; 12 - температурный датчик;
13 - подставка, поддерживающая колбу; 14 - платформа
для бани; 15 - заземление; 16 - электронагреватель;
17 - ручка для регулировки уровня поддерживающей платформы;
18 - шнур источника энергии; 19 - приемный цилиндр;
20 - охлаждающая баня для приемника; 21 - крышка приемника
Рисунок 2 - Аппарат с применением
электрического нагревателя
6.1.3 Дополнительно к основным деталям, указанным в
6.1.1, автоматические аппараты также оборудованы системой измерения и автоматической системой регистрации температуры и связанного с этим объема отгона в приемном цилиндре.
6.3 Устройство для измерения температуры
6.3.1 Используемые ртутные стеклянные термометры должны быть наполнены инертным газом, иметь градуировку на стеклянной трубке и эмалированную заднюю стенку. Они должны соответствовать спецификации АСТМ Е 1 или IP "Стандартные методы анализа и испытания нефтепродуктов и родственных продуктов" 1996 г. - приложение A, или обоим; ASTM 7C/IP5C и ASTM 7F для низкотемпературных термометров и ASTM 8C/IP6C и ASTM 8F для высокотемпературных термометров.
6.3.1.1 Термометры, которые использовались в течение длительного периода времени выше температуры 370 °C, нельзя использовать повторно без проверки температуры таяния льда или проверки, предусмотренной АСТМ Е 1 и методом испытания АСТМ Е 77.
Примечание - При отмеченном показании термометра 370 °C температура резервуара достигает критического предела для стекла и поэтому возможно нарушение калибровки.
6.3.2 Системы измерения температуры иные, чем указанные в
6.3.1, применимы для настоящего метода испытания при условии, что они имеют то же самое запаздывание температуры, эффект выступающего столбика и точность, равноценную стеклянному ртутному термометру.
6.3.2.1 Электронный контур или алгоритмы, или и то, и другое, используемые для электронной системы, должны быть способны моделировать температурное запаздывание ртутного стеклянного термометра.
6.3.2.2 Альтернативно помещают датчик, у которого кончик (щуп) защищен кожухом, так, чтобы в сборке он имел запаздывание по температуре, аналогичное стеклянным ртутным термометрам, благодаря регулированию его тепловой массы и электропроводности.
6.3.3 В спорных ситуациях арбитражное испытание следует выполнять, применяя сертифицированные стеклянные ртутные термометры.
6.4 Центрирующее приспособление датчика температуры
6.4.1 Температурный датчик должен монтироваться в плотно подогнанном устройстве, сконструированном так, чтобы механически сцентрировать датчик в горлышке перегонной колбы без утечки паров. На
рисунках 3 и
4 представлены примеры приемлемых центрирующих приспособлений.
1 - ручка с насечкой; 2 - конус 1:10 Male Ns 19/26;
3 - О-кольцо; 4 - головка гайки
Рисунок 3 - Центрирующее приспособление из PTFE
(политетрафторэтилена - ПТФЭ)
для стеклянного шлифа у основания
1 - одинарное О-кольцо Витона или перфторэластомер;
2 - центрирующий конец в виде конуса в горлышке перегонной
колбы; 3 - уплотнительная гайка из ПТФЭ;
4 - отверстие под зонд Pt100; 5 - корпус из ПТФЭ;
6 - уплотнитель без О-кольца
Рисунок 4 - Пример приспособления для центрирования колб
с прямым высверленным горлышком
Предупреждение - Для цели, указанной в
6.4.1, недопустимо применение простой пробки с высверленным в центре отверстием.
Примечания
1 Другие центрирующие приспособления также приемлемы при условии, что они устанавливают и держат температурный датчик в надлежащем положении в горлышке перегонной колбы, как представлено на
рисунке 5 и описано в
10.5.
2 При проведении испытания ручным методом продукты с низкой ТНК могут иметь одно показание или более, закрытое центрирующим приспособлением. См. также
10.14.3.1.
Рисунок 5 - Положение термометра в колбе для разгонки
6.5 Автоматическое оборудование должно быть снабжено устройством автоматического прекращения подачи энергии к установке и подачи в виде спрея инертного газа или пара в камеру, где находится колба для разгонки в случае пожара.
Примечание - Некоторыми причинами пожара являются поломка колбы для разгонки, электрозамыкание, вспенивание или расплескивание жидкого образца через верхнее отверстие колбы.
Устройство измерения давления, обеспечивающее измерение местного давления на станции с точностью 0,1 кПа (1 мм рт. ст.) или лучше на том же самом уровне моря как и аппаратура в лаборатории.
Предупреждение - Не следует снимать показания с обычных барометров - анероидов, например с таких, которые используют на метеорологических станциях и в аэропортах, т.к. они предварительно откорректированы на дачу показаний на уровне моря.
7 Отбор проб, хранение и кондиционирование (подготовка) проб
7.1 Определяют характеристики группы, соответствующие испытуемому образцу (см.
таблицу 2). В тех случаях, когда процедура зависит от группы, в заголовках раздела должны быть приведены соответствующие указания.
Таблица 2
Характеристики образца | Группа 1 | Группа 2 | Группа 3 | Группа 4 |
Тип дистиллята | | | | |
Давление паров: | | | | |
при 37,8 °C, кПа | >= 65,5 | < 65,5 | < 65,5 | < 65,5 |
при 100 °F, psi (фунт на дюйм) | >= 9,5 | < 9,5 | < 9,5 | < 9,5 |
(Методы испытания по АСТМ Д 323; АСТМ Д 4953; АСТМ Д 5190, АСТМ Д 5191; АСТМ Д 5842; IP 69 или IP 394) |
Разгонка: | |
Температура начала кипения IBP: | | | | |
°C | - | - | <= 100 | 100 |
°F | - | - | <= 212 | 212 |
Температура конца кипения EP: | | | | |
°C | <= 250 | <= 250 | 250 | 250 |
°F | <= 482 | <= 482 | 482 | 482 |
7.2.1 Отбор проб выполняют в соответствии с АСТМ Д 4057 или АСТМ Д 4177 и как указано в таблице 3.
Таблица 3
Отбор проб, хранение и кондиционирование пробы
| Группа 1 | Группа 2 | Группа 3 | Группа 4 |
Температура склянки с пробой: | | | | |
°C | < 10 | | | |
°F | < 50 | | | |
Температура хранящейся пробы: | | | |
°C | | < 10 | Температура окружающей среды |
°F | | < 50 | Температура окружающей среды |
Температура образца после кондиционирования перед анализом: | | | |
°C | < 10 | < 10 | Температура окружающей среды или выше температуры потери текучести на 9 °C - 21 °C <B> |
°F | < 50 | < 50 | Температура окружающей среды или выше температуры потери текучести на 48 °F - 70 °F <B> |
Если проба увлажнена | Проводят повторный отбор пробы | Осушают в соответствии с 7.5.3 |
Если повторная проба все еще увлажнена <C> | Осушают в соответствии с 7.5.3 |
<A> В определенных условиях пробу следует хранить при температуре ниже 20° (68 °F). См. также 7.3.2 и 7.3.3. <B> Если проба твердая (полутвердая) - при температуре окружающей среды. См. также 7.5.2 и 7.5.3. <C> Если известно, что проба сырая, можно исключить повторный отбор. Образец сушат в соответствии с 7.5.2 и 7.5.3. |
7.2.1.1 Группа 1
Емкость для образца кондиционируют до температуры ниже 10 °C, заполняя ее предпочтительно холодной жидкой пробой и отбрасывая первую порцию. Если это сделать невозможно, например продукт, который следует отобрать, находится при температуре окружающей среды, то пробу следует отобрать в емкость, предварительно охлажденную ниже 10 °C, таким образом, чтобы свести к минимуму взбалтывание. Емкость сразу же закрывают плотно подогнанной пробкой.
Предупреждение - Не следует полностью заполнять и плотно закрывать холодную емкость с образцом из-за вероятности ее повреждения при нагревании.
7.2.1.2 Группы 2, 3 и 4
Пробу отбирают при температуре окружающей среды.
После отбора емкость с пробой тотчас закрывают плотно подогнанной пробкой.
7.2.1.3 Если проба, полученная испытательной лабораторией, отбиралась другими и неизвестно, выполнялся ли отбор проб в соответствии с
7.2, то предполагают, что проба отбиралась в соответствии с указаниями.
7.3 Хранение пробы
7.3.1 Если испытание не начинают тотчас после отбора, пробы хранят по
7.3.2,
7.3.3 и
таблице 3. Все пробы хранят вдали от прямого солнечного света или источников прямого нагрева.
Пробу хранят при температуре ниже 10 °C.
Примечание - Если нет оборудования (или оно недостаточно) для хранения образцов ниже 10 °C, то образец можно также хранить при температуре ниже 20 °C при условии гарантии оператора, что контейнер с пробой плотно закрыт и не имеет утечек.
Пробу хранят при температуре ниже 10 °C.
Примечание - Если нет оборудования (или оно недостаточно) для хранения образцов ниже 10 °C, то образец можно также хранить при температуре ниже 20 °C при условии гарантии оператора, что контейнер с образцом плотно закрыт и не имеет утечек.
7.3.4 Группы 3 и 4
Пробы хранят при температуре окружающей среды или ниже.
7.4 Подготовка пробы перед анализом
7.4.1 Пробы следует кондиционировать до температуры, указанной в
таблице 3, перед тем, как открыть контейнер для пробы.
7.4.1.1 Группы 1 и 2
Пробы следует кондиционировать до температуры ниже 10 °C (50 °F) перед тем, как открыть контейнер для пробы.
7.4.1.2 Группы 3 и 4
Если проба не течет при температуре окружающей среды, то ее перед испытанием нужно нагреть до температуры на 9 °C - 21 °C выше температуры текучести (методы испытания АСТМ Д 97, АСТМ Д 5949 или АСТМ Д 5985). Если во время хранения проба частично или полностью затвердевает, то для обеспечения гомогенности пробу расплавляют и энергично встряхивают перед тем, как открыть контейнер для пробы.
7.4.1.3 Если проба не течет при комнатной температуре, то температурные диапазоны, указанные в
таблице 3 для колбы и пробы, не применяют.
7.5 Увлажненные образцы
7.5.1 Пробы продуктов, явно содержащие воду, непригодны для испытания. Если проба не сухая, то берут другую пробу, свободную от взвешенной воды.
Если такую пробу получить нельзя, то взвешенную воду можно удалить следующим образом: к пробе, выдержанной при температуре 0 °C - 10 °C, добавляют приблизительно 10 г безводного сульфата натрия на 100 см3 пробы, встряхивают смесь приблизительно в течение 2 мин и затем дают отстояться в течение приблизительно 15 мин. Как только в пробе не будут видны признаки воды, пробу отделяют от осушителя, для анализа используют декантированную порцию, выдерживаемую при температуре 1 °C - 10 °C. При этом в отчете указывают, что проба была высушена с помощью осушителя.
Примечание - Взвешенную воду в мутных пробах групп 1 и 2 можно удалить, добавив безводный сульфат натрия и отделив жидкую пробу от осушающего агента декантированием, что статистически не влияет на результаты испытания <3>.
--------------------------------
<3> Обосновывающие данные находятся в файле штаб-квартиры АСТМ (ASTM International Headquarters) и их можно получить, запросив исследовательский отчет RR: D02-1455.
В случаях, когда практически нельзя получить обезвоженную пробу, взвешенную воду можно удалить, встряхивая пробу с безводным сульфатом натрия или другим подходящим осушающим агентом, и отделить ее от осушающего агента декантированием.
В отчете отмечают, что образец был высушен с помощью осушителя.
8.1 В соответствии с
таблицей 1 подготавливают аппаратуру согласно соответствующей группе, выбирая соответствующую колбу для разгонки, устройство для измерения температуры, подставку для колбы. Доводят температуру колбы, термометра, мерного цилиндра и охлаждающей бани до указанной температуры.
8.2 Следует соблюдать меры предосторожности, чтобы охлаждающая баня и мерный цилиндр поддерживались при необходимой температуре. Мерный цилиндр должен находиться в бане таким образом, чтобы или уровень жидкости был не ниже метки "100 см3", или цилиндр полностью был окружен воздухом циркуляционной камеры.
8.2.1 Группы 1, 2 и 3
Соответствующей средой для низкотемпературных бань является (но этим не ограничивается) измельченный лед и вода, охлажденный рассол и охлажденный этиленгликоль.
8.2.2 Группа 4
Соответствующей средой для бань с температурой окружающей среды или выше является (но этим не ограничивается) холодная вода, горячая вода или нагретый этиленгликоль.
8.3 Удаляют любую оставшуюся жидкость в конденсаторной трубке тампоном из кусочка мягкой безволоконной ткани, прикрепленной к корду или медной проволоке.
9 Калибровка и стандартизация
9.1 Система измерения температуры
Системы измерения температуры, применяемые кроме указанных стеклянных ртутных термометров, должны иметь то же самое температурное запаздывание, влияние выступающего столбика и точность, как равноценный стеклянный ртутный термометр. Подтверждение калибровки этих систем измерения температуры следует проводить с интервалами не более чем 6 мес и после замены или ремонта системы.
9.1.1 Точность и калибровка электронного контура или алгоритмов компьютера, или и того, и другого следует поверять с использованием стенда стандартного прецизионного сопротивления.
При выполнении поверки не следует использовать никакие алгоритмы для корректировки температуры на запаздывание и влияние выступающего столбика (см. инструкции изготовителя).
9.1.2 Величину отклонения следует поверять разгонкой чистого толуола в соответствии с группой 1 настоящего метода испытания и сравнением температуры 50% отгона с температурой, указанной в
таблице 4 <4>.
--------------------------------
<4> Обосновывающие данные находятся в файле штаб-квартиры АСТМ, их можно получить, запросив Исследовательский отчет RR: D02-1580.
Таблица 4
Истинные, минимальные и максимальные температуры кипения
50%-ного отгона по методу АСТМ Д 86
<A>
| Ручной метод | Автоматический метод |
Минимальная точка кипения 50% в условиях разгонки | Максимальная точка кипения 50% в условиях разгонки | Минимальная точка кипения 50% в условиях перегонки | Максимальная точка кипения 50% в условиях разгонки |
Толуол | ASTM/IP истинная точка кипения | Группы 1, 2 и 3 | Группы 1, 2 и 3 | Группы 1, 2 и 3 | Группы 1, 2 и 3 |
110,6 | 105,9 | 111,8 | 108,5 | 109,7 |
Гексадекан | ASTM/IP истинная точка кипения | Группа 4 | Группа 4 | Группа 4 | Группа 4 |
287,0 | 272,2 | 283,1 | 277,0 | 280,0 |
<A> В настоящей таблице приведены значения температур, определенные ручным и автоматическим методами, при доверительной вероятности 95% и общем количестве материала по совокупности 99%. Предлагаемый допуск составляет приблизительно 3 x сигму. Сведения по значениям настоящей таблицы представлены исследовательским отчетом RR: D02-1580. |
9.1.2.1 Если показание температуры не находится в пределах значений, представленных в
таблице 4 для соответствующей используемой аппаратуры (см.
примечание к разделу 9, 9.1.2.2 и
таблицу 4), то систему измерения температуры следует считать непригодной для испытания.
Примечание - Толуол применяют в качестве поверочной жидкости для калибровки. В результате мы почти не получаем никакой информации о том, как электронная система измерения моделирует запаздывание по температуре стеклянного ртутного термометра.
9.1.2.2 Для этого испытания используют толуол и гексадекан (цетан) сорта реактив, соответствующие спецификациям Комитета по аналитическим реактивам Американского химического общества
<5>. Однако можно использовать другие сорта, если предварительно установлено, что реактив имеет достаточную чистоту и может быть применен без снижения точности определения.
Примечание - При давлении 101,3 кПа в справочных руководствах указано, что толуол кипит при 110,6 °C при использовании термометра частичного погружения. Поскольку в настоящем методе испытания используют термометры, калиброванные на полное погружение, результаты будут ниже и в зависимости от термометра и ситуации могут быть разными для каждого термометра. При давлении 101,3 кПа в справочных руководствах указано, что гексадекан кипит при 287,0 °C при использовании термометра частичного погружения. Поскольку в методе испытания используют термометры, калиброванные на полное погружение, то результаты, как правило, будут ниже и в зависимости от термометра, и ситуации могут быть разными для каждого термометра.
--------------------------------
<5> "Химические реактивы. Спецификации Американского химического общества", Am. Chemical Soc., Washington, DC. Что касается предложений по испытанию реактивов, не перечисленных Американским химическим обществом, - см. Analar Standards for Laboratory Chemicals, Ltd, Pool. Dorset, U.K., and the United States Pharmacopoeia and National Formulary, US Pharmacopoeial Convention, Inc. (USPC), Rockville, MD.
9.1.3 В
приложении A3 изложена методика определения величины температурного запаздывания.
9.1.4 В
приложении X4 изложена методика по оценке влияния выступающего столбика ртути.
9.1.5 Для поверки калибровки системы измерения температуры при повышенных температурах используют гексадекан. При отгоне 50% система измерения температуры должна указать температуру, сравниваемую с температурой, приведенной в
таблице 4 для соответствующей аппаратуры в условиях разгонки группы 4.
Примечание - Из-за высокой температуры плавления гексадекана поверочные разгонки группы 4 должны выполняться при температурах конденсатора выше 20 °C.
9.2 Автоматический метод
9.2.1 Следящий механизм уровня
Для автоматического аппарата следящий механизм уровня/регистрирующий механизм аппарата должен иметь разрешение 0,1 см3 или лучше с максимальной погрешностью 0,3 см3 между точками 5 см3 и 100 см3. Калибровку аппарата в сборе следует поверять в соответствии с инструкциями изготовителя с интервалами не реже 3 мес и после замены или ремонта системы.
Примечание - Типичная процедура калибровки включает поверку пропускной способности, используя приемник, содержащий 5 см3 и 100 см3 продукта соответственно.
9.2.2 Барометрическое давление
Барометрическое показание прибора следует поверять по барометру, как указано в
6.6, с интервалами не более 6 мес и после замены или ремонта системы.
10.1 Регистрируют превалирующее барометрическое давление.
10.2 Группы 1 и 2
Плотно устанавливают термометр низкотемпературного диапазона с хорошо подогнанной корковой пробкой или пробкой из силиконовой резины (или равноценного полимерного материала) в горло контейнера с пробой и доводят температуру пробы до температуры, указанной в
таблице 1.
10.3 Группы 1, 2, 3 и 4
Проверяют, чтобы температура пробы соответствовала температуре, указанной в
таблице 1.
Отмеряют точно 100 см3 образца в мерный цилиндр и полностью переносят его в колбу для разгонки, принимая меры к тому, чтобы жидкость не попала в пароотводную трубку.
Примечание - Важно, чтобы расхождение между температурой образца и бани вокруг приемного цилиндра была минимальной. Расхождение 5 °C может дать расхождение 0,7 см3.
10.3.1 Группы 3 и 4
Если при температуре окружающей среды образец не течет, то его перед испытанием необходимо нагреть до температуры на 9 °C - 21 °C выше его температуры текучести (методы испытания по АСТМ Д 97, АСТМ Д 5949, АСТМ Д 5950 или АСТМ Д 5985). Если образец является частично или полностью затвердевшим перед испытанием, его должны расплавить и интенсивно встряхнуть перед отбором пробы для обеспечения гомогенности.
10.3.1.1 Если при температуре окружающей среды образец не течет, то пренебрегают температурным диапазоном для приемного цилиндра и образца, указанным в
таблице 1. Перед испытанием приемный цилиндр нагревают приблизительно до той же самой температуры, что и образец. Нагретый образец наливают в приемный цилиндр точно до отметки 100 см
3 и переносят полностью содержимое приемного цилиндра, насколько это возможно, в колбу для разгонки так, чтобы жидкость не попала в пароотводную трубку.
Примечание - Любой продукт, испаряющийся при переносе, увеличивает потери, а любой продукт, остающийся в приемном цилиндре, увеличивает остаточный объем отогнанного продукта во время ТНК (IBP).
10.4 В случае если образец будет кипеть неравномерно, т.е. пульсируя, следует к образцу добавить кипелки. Добавление кипелок приемлемо при любой разгонке.
10.5 Температурный датчик устанавливают через плотное устройство, чтобы подогнать датчик по месту, как указано в
6.4, механически сцентрировав его в горлышке колбы. При применении термометра его шарик должен находиться в центре горла, а нижний конец капилляра совпадать с верхней точкой дна внутренней стенки пароотводной трубки
(рисунок 5). При использовании термопары или термометра сопротивления следует руководствоваться инструкцией изготовителя
(рисунок 6).
Рисунок 6 - Пример одного из расположений зонда Pt-100
относительно отвода перегонной колбы для автоматического
перегонного аппарата по АСТМ Д 86,
рекомендуемых изготовителем
10.6 Пароотводную трубку колбы с хорошо подогнанной корковой пробкой или пробкой из силиконовой резины или равноценного полимерного материала плотно соединяют с конденсаторной трубкой. Устанавливают колбу так, чтобы она была в вертикальном положении и чтобы пароотводная трубка входила в конденсаторную трубку на 25 - 50 мм. Поднимают и регулируют подставку колбы, чтобы она плотно прилегала ко дну колбы.
Примечание - При использовании вакуумной смазки на соединительной поверхности центрирующего устройства применяют ее минимальное количество.
10.7 В термостатируемую баню под нижним концом конденсаторной трубки помещают приемный цилиндр, который использовался для измерения образца, без его осушки изнутри. Конец конденсаторной трубки должен быть отцентрирован в приемном цилиндре и опущен внутрь его на расстояние не менее 25 мм, но не ниже отметки 100 см3.
10.8 Температура начала кипения (IBP)
10.8.1 Ручной метод
Для сокращения потерь дистиллята от испарения приемный цилиндр закрывают кусочком фильтровальной бумаги или аналогичного материала, чтобы удобно установить трубку конденсатора. При использовании алонжа разгонку начинают, когда его кончик касается стенки приемного цилиндра. Если алонж не используют, то кончик конденсатора находится вдали от стенки приемного цилиндра. Отмечают время начала разгонки. Наблюдают и регистрируют IBP с точностью 0,5 °C (1,0 °F). Если алонж не используют, сразу придвигают приемный цилиндр, чтобы кончик конденсатора касался его внутренней стенки.
10.8.2 Автоматический метод
Чтобы уменьшить потери дистиллята от испарения, используют приспособление, поставляемое изготовителем с прибором. Подают тепло к перегонной колбе с содержимым, при этом кончик алонжа касается стенки приемного цилиндра. Отмечают время начала разгонки. Регистрируют IBP с точностью 0,1 °C (0,2 °F).
10.9 Регулируют нагрев таким образом, чтобы временной интервал между началом нагрева и начальной температурой кипения был равен указанному в таблице 5.
Таблица 5
| Группа 1 | Группа 2 | Группа 3 | Группа 4 |
Температура охлаждающей бани <A>: | | | | |
°C | 0 - 1 | 0 - 5 | 0 - 5 | 0 - 60 |
°F | 32 - 34 | 32 - 40 | 32 - 40 | 32 - 140 |
Температура среды, окружающей приемный цилиндр: | | | | |
°C | 13 - 18 | 13 - 18 | 13 - 18 | +/- 3 |
°F | 55 - 65 | 55 - 65 | 55 - 65 | +/- 5 (от температуры загрузки) |
Время от момента нагрева до температуры начала кипения, мин | 5 - 10 | 5 - 10 | 5 - 10 | 5 - 15 |
Время от начала кипения: | | | | |
до 5% отгона, с | 60 - 100 | 60 - 100 | - | - |
до 10% отгона, мин | - | - | - | - |
Постоянная средняя скорость конденсации от 5% отгона до остатка в колбе в 5 см3, см3/ мин | 4 - 5 | 4 - 5 | 4 - 5 | 4 - 5 |
Время от получения 5 см3 остатка до температуры конца кипения, мин | Не более 5 | Не более 5 | Не более 5 | Не более 5 |
<A> Температура конденсатора будет зависеть от содержания парафина в образце и его дистиллятных фракциях. Испытание обычно выполняют, используя одну температуру конденсатора. Об образовании парафина в конденсаторе могут свидетельствовать: a) присутствие частиц парафина в дистилляте, появляющемся на кончике конденсатной ловушки; b) более высокие потери от разгонки, чем те, которые предполагались на основании температуры начала кипения образца; c) неустойчивая скорость отгона и d) присутствие частиц парафина при удалении остающейся жидкости неволокнистой тканью (8.3). Должна быть использована минимальная температура, позволяющая удовлетворительно проводить испытание. Обычно температура бани в диапазоне от 0 °C до 4 °C пригодна для керосина, жидкого топлива марки N 1 (Grade N 1). |
10.10 Регулируют нагрев так, чтобы время от начальной температуры кипения до 5% или 10% отгона было равно указанному в
таблице 5.
10.11 Продолжают регулировать нагрев так, чтобы обеспечить равномерную среднюю скорость конденсации 4 - 5 см
3/мин от 5% или 10% отгона до 5 см
3 остатка в колбе.
Предупреждение - Из-за формы перегонной колбы и условий испытания пары и жидкость вокруг температурного датчика не находятся в термодинамическом равновесии. Следовательно, скорость разгонки влияет на измеряемую температуру пара. Поэтому в течение испытания скорость разгонки необходимо сохранять постоянной насколько это возможно.
Примечание - При испытании образцов бензина нередко можно увидеть, что конденсат неожиданно образует несмешивающиеся жидкие фазы и капельки на устройстве для измерения температуры и горлышке колбы при температуре пара около 160 °C. Это может сопровождаться резким (приблизительно 3 °C) спадом температуры пара и падением скорости отгона. Это явление, которое может произойти из-за присутствия следов воды в образце, может длиться в течение 10 - 30 с до восстановления температуры, и конденсат начнет снова плавно течь. Иногда эту температуру называют "температурой задержки".
10.12 Разгонку повторяют, если не соблюдаются требования, указанные в
10.9 -
10.11.
10.13 Если наблюдается температура разложения, как указано в
3.1.3, то нагрев прерывают и проводят испытания по
10.17.
10.14 В интервале между температурой начала кипения (IBP) и концом разгонки наблюдают и регистрируют данные, необходимые для расчета и записи результатов испытания, соответственно со спецификацией или как было установлено ранее для испытуемого образца. Эти отмечаемые данные могут включать температурные данные при заданных процентах отгона или проценты отгона при заданных температурах, или и то, и другое.
10.14.1 Ручной метод
Записывают все объемы в приемном цилиндре с точностью до 0,5 см3 и все температурные показания с точностью до 0,5 °C (1,0 °F).
10.14.2 Автоматический метод
Регистрируют все объемы в приемном цилиндре с точностью до 0,1 см3 и все температурные показания с точностью до 0,1 °C (0,2 °F).
10.14.3 Группы 1, 2, 3 и 4
В случаях, если отсутствуют специальные требования, записывают температуру начала кипения (IBP), конечную температуру (EP или FBP) или конечную температуру кипения или обе температуры, а также отмечают показания термометра при отборе 5%, 15%, 85% и 95% и записывают показания через каждые 10% отгона в диапазоне от 10% до 90% включительно.
Если при испытании авиационных турбинных топлив и аналогичных продуктов используют термометр высокотемпературного диапазона, то определяемые показания термометра могут быть закрыты центрирующим устройством. Если эти показания необходимы, то проводят вторую разгонку по условиям группы 3. В таких случаях показания термометра для низкого температурного диапазона можно записать вместо закрытых показаний термометра для высокого температурного диапазона, и это должно быть указано в отчете. Если по согласованию закрытые показания не учитывают, то это необходимо указать в отчете об испытаниях.
10.14.4 Если требуется записать показание термометра при заданном проценте выпаривания или отгона для образца, который имеет быстро меняющийся наклон кривой разгонки в области показания заданного процента выпаривания или отгона, то регистрируют температурные показания через каждый 1% отгона. Наклон считают быстро меняющимся, если изменение в наклоне
C по данным, указанным в
10.14.2, в этой конкретной области более 0,6 (изменение наклона
F более 1,0) при расчете по уравнению (1) [уравнению (2)]:

(1)

(2)
где C2 - температура при зарегистрированном ожидаемом % об. отгона, °C;
C1 - температура при зарегистрированном показании % об. отгона, предшествующая показанию ожидаемого % об. отгона, °C;
C3 - температура при зарегистрированном % об. отгона, следующем за ожидаемым % об. отгона, °C;
F2 - температура при зарегистрированном ожидаемом % об. отгона, °F;
F1 - температура при зарегистрированном показании % об. отгона, предшествующая показанию ожидаемого % об. отгона, °F;
F3 - температура при зарегистрированном % об. отгона, следующем за ожидаемым % об. отгона, °F;
V2 - значение % об. отгона, зарегистрированного при ожидаемом % об. отгона;
V1 - значение зарегистрированного % об. отгона, предшествующее ожидаемому % об. отгона;
V3 - значение зарегистрированного % об. отгона, следующее за ожидаемым % об. отгона.
10.15 Если количество оставшейся жидкости в колбе составляет около 5 см
3, проводят окончательную регулировку нагрева. Время от момента, когда в колбе находятся 5 см
3 жидкого остатка, до температуры конца кипения (конечной температуры кипения) (EP или FBP) должно находиться в пределах, указанных в
таблице 5. Если это условие не соблюдено, повторяют испытание, изменяя окончательную регулировку нагрева.
Примечание - Поскольку трудно определить, когда в колбе останется 5 см3 кипящей жидкости, то это время определяют, отмечая количество отогнанной жидкости в приемном цилиндре. Динамическая задержка, как было определено, равна приблизительно 1,5 см3 в этой точке. Если нет начальных - конечных потерь, то можно предположить, что количество 5 см3 в перегонной колбе соответствует количеству жидкости, равному 93,5 см3 в приемном цилиндре. Это количество установлено, чтобы определить количество начальных - конечных потерь.
10.15.1 Испытание повторяют, если действительные потери отличаются от подсчитанного значения более чем на 2 см3.
10.16 Отмечают и регистрируют конечную температуру кипения (EP или FBP) или температуру конца кипения, или и то, и другое и прекращают нагревание.
Примечание - Группы 1 и 2: один раз проводят окончательную регулировку нагрева, температура пара/показание термометра продолжают повышаться. Когда разгонка приближается к конечной температуре кипения (end point or final boiling point), она обычно сначала достигает температуры конца кипения (dry point). После достижения температуры конца кипения температура пара/показание термометра должны продолжать увеличиваться. Дно колбы будет сухим, но на стенках и горлышке колбы и температурном датчике все еще будет присутствовать конденсат пара. Конденсат пара может иметь вид белого облачка дыма. Этот конденсат пара/облачко дыма полностью закрывает датчик измерения температуры до того, как температура пара начнет снижаться. Если подобные наблюдения отсутствуют, то достичь конечной температуры кипения возможно нельзя. Целесообразно повторить испытание, используя дополнительное нагревание помимо того, что было при окончательной его регулировке. Обычно температура пара продолжает повышаться, когда достигнута температура конца кипения и облачко дыма закрывает датчик измерения температуры. Когда близка конечная температура кипения, скорость повышения температуры будет замедляться и выравниваться. Как только будет достигнута конечная температура кипения температура пара начнет и продолжит снижаться. Если температура пара начинает снижаться, но затем повышается и этот цикл повторяется, в то время как температура пара продолжает повышаться, это указывает на подачу слишком большого нагрева к уже окончательно отрегулированному нагреву. В этом случае целесообразно повторить испытание, уменьшая скорость конечного нагрева.
Группы 3 и 4: многие образцы группы 3 и 4 будут иметь те же самые характеристики разгонки относительно температуры конца кипения (dry point) и конечной температуры кипения (end point), что и группы 1 и 2. При испытании образцов, содержащих вещества с более высокой температурой кипения, нельзя определить температуру конца кипения или конечную температуру кипения до того, как будет достигнута температура разложения.
10.17 После прекращения нагревания дают дистилляту стечь в приемный цилиндр.
10.17.1 Ручной метод
Пока в мерный цилиндр продолжает стекать конденсат, наблюдают и отмечают объем конденсата с точностью до 0,5 см3 с интервалами 2 мин, пока не будут получены два одинаковых последовательных результата. Измеряют точно объем в приемном цилиндре и регистрируют его с точностью до 0,5 см3.
10.17.2 Автоматический метод
Аппарат должен непрерывно управлять объемом отгона до тех пор, пока этот объем изменяется не более чем на 0,1 см3 за 2 мин. Объем в приемном цилиндре регистрируют с точностью до 0,1 см3.
10.18 Регистрируют объем в приемном цилиндре как процент отгона продукта. Если разгонка была прекращена раньше из-за разложения образца, вычитают процент отгона из 100, записывают эту разницу как сумму процента остатка и процента потерь и опускают процедуру, приведенную в 10.19.
10.19 После охлаждения колбы при отсутствии паров разъединяют колбу и конденсатор, сливают содержимое колбы в 5-миллилитровый мерный цилиндр и опрокидывают колбу над цилиндром, позволяя стекать остатку до тех пор, пока объем жидкости в цилиндре не будет увеличиваться. Измеряют объем в мерном цилиндре с точностью до 0,1 см
3 и записывают его как процент остатка.
10.19.1 Если 5-миллилитровый мерный цилиндр не имеет деления ниже 1 см3, а объем жидкости меньше 1 см3, цилиндр предварительно заполняют 1 см3 тяжелого масла, чтобы лучше измерить объем остаточного продукта.
10.19.1.1 Если получен остаток больше, чем ожидалось, и разгонка неожиданно заканчивалась перед концом кипения, проверяют достаточно ли подавалось тепла к концу разгонки и соответствовали ли условия во время испытания, указанным в
таблице 5. В противном случае повторяют испытания.
Предупреждение - Принимают адекватные меры предосторожности при удалении горячей колбы, чтобы случайно не получить ожоги.
Примечания
1 Остатки после разгонки по методу испытания АСТМ Д 86 бензинов, керосинов и дистиллятных топлив обычно составляют 0,9% об. - 1,2% об.; 0,9% об. - 1,3% об. и 1,0% об. - 1,4% об. соответственно.
2 Настоящий метод испытания по АСТМ Д 86 не предназначен для анализа дистиллятных топлив, содержащих заметные количества остаточного материала
(1.2).
10.19.2 Группы 1, 2, 3 и 4
Регистрируют объем в 5-миллилитровом мерном цилиндре с точностью до 0,1 см3 как процент остатка.
10.20 Если целью разгонки является определение процента выпаривания или процента отгона при предварительно определенном скорректированном температурном показании, то процедуру модифицируют, чтобы она соответствовала инструкциям, изложенным в
приложении A4.
10.21 Проверяют трубку конденсатора и боковое ответвление колбы на присутствие парафиновых или твердых отложений. Если они обнаружены, испытание повторяют после выполнения мер, предусмотренных в сноске A к
таблице 5.
11.1 Процент полного отгона есть сумма процента отгона
(10.18) и процента остатка
(10.19). Вычитают процент полного отгона из 100 и получают процент потерь.
11.2 Не следует корректировать барометрическое давление на прогибание мениска и не следует приводить давление к давлению на уровне моря.
Примечание - Наблюдаемое показание барометрического давления не следует корректировать к стандартной температуре и стандартной силе тяжести. Даже не выполняя эти корректировки скорректированные температурные показания для одного и того же образца между лабораториями в двух разных местах мира обычно будут отличаться менее чем на 0,1 °C при 100 °C. Почти все ранее полученные результаты записаны при барометрических давлениях, которые не корректировались к стандартной температуре и стандартной силе тяжести.
11.3 Показания температуры корректируют к давлению 101,3 кПа (760 мм рт. ст.). Получают поправку для каждого температурного показания, используя уравнения Сиднея Янга (
уравнения 3,
4,
5) соответственно или используя таблицу 6.
Таблица 6
Ориентировочная поправка к показанию термометра
Температурный диапазон | Поправка <A> на разницу в давлении 1,3 кПа (10 мм рт. ст.) |
°C | °F | °C | °F |
10 - 30 | 50 - 86 | 0,35 | 0,63 |
30 - 50 | 86 - 122 | 0,38 | 0,68 |
50 - 70 | 122 - 158 | 0,40 | 0,72 |
70 - 90 | 158 - 194 | 0,42 | 0,76 |
90 - 110 | 194 - 230 | 0,45 | 0,81 |
110 - 130 | 230 - 266 | 0,47 | 0,85 |
130 - 150 | 266 - 302 | 0,50 | 0,89 |
150 - 170 | 302 - 338 | 0,52 | 0,94 |
170 - 190 | 338 - 374 | 0,54 | 0,98 |
190 - 210 | 374 - 410 | 0,57 | 1,02 |
210 - 230 | 410 - 446 | 0,59 | 1,07 |
230 - 250 | 446 - 482 | 0,62 | 1,11 |
250 - 270 | 482 - 518 | 0,64 | 1,15 |
270 - 290 | 518 - 554 | 0,66 | 1,20 |
290 - 310 | 554 - 590 | 0,69 | 1,24 |
310 - 330 | 590 - 626 | 0,71 | 1,28 |
330 - 350 | 626 - 662 | 0,74 | 1,33 |
350 - 370 | 662 - 698 | 0,76 | 1,37 |
370 - 390 | 698 - 734 | 0,78 | 1,41 |
390 - 410 | 734 - 770 | 0,81 | 1,46 |
<A> Поправку прибавляют, если барометрическое давление ниже 101,3 кПа (760 мм рт. ст.) и вычитают, если барометрическое давление выше 101,3 кПа (760 мм рт. ст.). |
Для температур по Цельсию:
CC = 0,0009·(101,3 -
Pk)·(273 +
tc); (3)
CC = 0,00012·(760 -
P)·(273 +
tc). (4)
Для температуры по Фаренгейту:
CF = 0,00012·(760 -
P)·(460 +
tf), (5)
где tc - отмеченное температурное показание, °C;
tf - отмеченное температурное показание, °F;
CC и CF - корректировки, которые алгебраически следует прибавить к отмеченным температурным показаниям;
Pk - барометрическое давление, превалирующее во время и в месте испытания, кПа;
P - барометрическое давление, превалирующее во время и в месте испытания, мм рт. ст.
После введения поправок и округления каждого результата с точностью до 0,5 °C (1,0 °F) или 0,1 °C (0,2 °F) соответственно к применяемой аппаратуре во всех дальнейших расчетах и записях используют скорректированные температурные показания.
Примечание - Температурные показания не корректируют к давлению 101,3 кПа (760 мм. рт. ст.) в случае, когда при испытании продукта в спецификации или соглашении между заинтересованными сторонами специально указывают, что такая корректировка не требуется и что поправка должна быть сделана к другому базовому давлению.
11.4 Корректируют действительные потери к давлению 101,3 кПа (760 мм рт. ст.), когда показания температуры скорректированы к давлению 101,3 кПа. Скорректированные потери
Lc рассчитывают по
уравнению 6 или
7 соответственно или можно взять из таблиц, представленных в приложении X3 (
таблица X3.1 или
X3.2).

(6)

(7)
где Lс - скорректированные потери;
L - наблюдаемые потери;
Pk - давление, кПа;
P - давление, мм рт. ст.
| | ИС МЕГАНОРМ: примечание. В официальном тексте документа, видимо, допущена опечатка: таблица A4 отсутствует. | |
Примечание -
Уравнения 6 и
7 выведены по данным таблицы A4 и
уравнениям 5 и
6 метода испытания по АСТМ Д 86-95 и более ранним вариантам. Вероятно, что представленные
уравнения 6 и
7 являлись первоначальными эмпирическими уравнениями, по которым были выведены таблица и уравнения в методе испытания по АСТМ Д 86-95 и более ранних вариантах.
11.4.1 Рассчитывают соответствующий скорректированный процент отгона в соответствии со следующим уравнением
Rc = R + (L - Lc), (8)
где Rc - скорректированный процент отгона;
R - % об. отгона;
L - процент потерь или наблюдаемые потери;
Lc - скорректированные потери.
11.5 Чтобы получить процент выпаривания при установленном показании температуры, процент потерь прибавляют к каждому наблюдаемому % об. отгона при требуемых показаниях температуры и записывают эти результаты как соответствующий процент выпаривания, т.е.
где Pe - процент выпаривания;
Pr - % об. отгона;
L - наблюдаемые потери.
11.6 Чтобы получить показания температуры при требуемом проценте выпаривания и если отсутствуют зарегистрированные данные температуры в пределах 0,1% об. от требуемого процента выпаривания, используют один из двух следующих методов и в протоколе испытаний указывают, какой из методов использован: арифметический или графический.
11.6.1 Арифметический метод
Вычитают отмечаемые потери при разгонке из каждого установленного процента выпаривания с целью получения соответствующего процента отгона. Рассчитывают требуемое значение температуры T, °C, по уравнению

(10)
где T - показание температуры при установленном проценте выпаривания;
TL - показание температуры, зарегистрированное при RL;
TH - показание температуры, зарегистрированное при RH;
R - % об. отгона, соответствующий установленному проценту;
RL - % об. отгона, ближайший и ниже R;
RH - % об. отгона, ближайший и выше R.
На величины, полученные арифметическим способом, влияет степень нелинейности графика разгонки. Интервалы между последовательными точками данных на любой стадии испытания должны быть не шире интервалов, указанных в
10.18. Никогда нельзя проводить расчеты, включающие экстраполяцию.
Используя миллиметровую бумагу с одинаковыми делениями, строят график для каждого показания термометра (с поправкой на барометрическое давление, если необходимо)
(11.3) относительно соответствующего процента отгона. Начинают строить график с температуры начала кипения (IBP) при нулевом проценте отгона по объему. Проводят плавную кривую, соединяющую точки. Для каждого требуемого процента выпаривания вычитают потерю при разгонке для получения соответствующего процента отгона и берут из графика значения температуры, которые указывают на этот процент отгона. На величины, полученные методом графической интерполяции, оказывает влияние тщательность построения графика.
Примечание - В
приложении X1 представлены цифровые примеры, иллюстрирующие эти арифметические методы.
11.6.3 В большинстве автоматических приборов данные температура/объем записывают с интервалами 0,1% об. или менее и сохраняют в памяти. Не следует использовать ни один из методов, описанных в
11.6.1 и
11.6.2, для записи температурного показания при заданном проценте выпаривания.
Требуемую температуру получают непосредственно из базы данных как температуру ближайшую к и в пределах 0,1% об. от предписанного процента выпаривания.
12.1 В протокол испытания включают информацию по
приложению X5, где приведены примеры оформления протоколов испытания:
12.2 Барометрическое давление с точностью до 0,1 кПа (1 мм рт. ст.).
12.3 Все показания объема в процентах.
12.3.1 Ручной метод
Записывают показания объема с точностью до 0,5 см3 и все температурные показания с точностью до 0,5 °C (1,0 °F).
12.3.2 Автоматический метод
Записывают показания объема с точностью до 0,1 см3 и все температурные показания с точностью до 0,1 °C.
12.4 После того как введены барометрические поправки на температуру, нижеследующие показатели не требуют дополнительного расчета перед записью: температура начала кипения (IBP), температура конца кипения (выпаривания), конечная температура кипения (EP или FBP), температура разложения и все пары соответствующих значений, включая процент отгона и температурные показания.
12.4.1 В протоколе испытания должно быть указано, корректировались ли температурные показания на барометрическое давление.
12.5 Если показания термометра не были скорректированы на давление 101,3 кПа (760 мм рт. ст.), процент остатка и процент потерь следует записывать как "наблюдаемые" согласно
10.19 и
11.1 соответственно.
12.6 При расчете процента выпаривания не следует использовать скорректированные потери.
12.7 Целесообразно основывать протокол испытания на соотношениях между температурными показаниями и процентом выпаривания, когда образцом является бензин или любой другой продукт, классифицированный по группе 1 или группе, где процент потерь более 2,0. В другом случае протокол испытания должен быть основан на соотношении между температурными показаниями и процентом выпаривания или процентом отгона. Каждый протокол испытания должен четко указывать, какой базис используют.
12.7.1 В ручном методе, если результаты приводят в процентах выпаривания в зависимости от температурных показаний, записывают каким методом пользовались: арифметическим или графическим (см.
11.6).
12.8 Записывают, использовался ли осушитель, как указано в
7.5.2 или
7.5.3.
12.9 Пример протокола испытания представлен в виде
таблицы X1. Он показывает процент отгона как функцию соответствующего показания температуры и как функцию скорректированного показания температуры. Он также показывает процент потерь, скорректированные потери и процент выпаривания как функцию скорректированного показания температуры.
13 Прецизионность и отклонение
13.1 Прецизионность
Прецизионность настоящего метода испытания, определенная статистическим исследованием результатов <6> межлабораторных исследований, следующая:
--------------------------------
<6> Подтверждающие данные (результаты совместной программы межлабораторных испытаний 2005 г.) находятся в файле ASTM International Headquarters и их можно получить при запросе исследовательского отчета RR: D02-1621.
Примечания
1 Прецизионность и отклонение (смещение) выведены согласно номеру группы следующим образом:
Образцы групп 1, 2 и 3 были отмечены этикетками как NOT 4 и образцы группы 4 - как GRP 4.
2 Прецизионность выведена, исходя из данных, полученных на автоматическом аппарате по методу АСТМ Д 86. Типичные примеры прецизионности для ручного аппарата можно рассчитать по информации, содержащейся в приложении A4
(A4.9).
13.1.1 Повторяемость
Расхождение между последовательными результатами испытания, полученными одним и тем же оператором на одной и той же аппаратуре при постоянных рабочих условиях на идентичном испытуемом материале в течение длительного времени и правильном выполнении настоящего метода испытания, может превышать следующие значения только в одном случае из двадцати.
ТНК (IBP): | r = 0,0295 (E + 51,19) | достоверный диапазон: от 20 °C до 70 °C |
E10: | r = 1,33 | достоверный диапазон: от 35 °C до 95 °C |
E50: | r = 0,74 | достоверный диапазон: от 65 °C до 220 °C |
E90: | r = 0,00755 (E + 59,77) | достоверный диапазон: от 110 °C до 245 °C |
ТКК (FBP) | r = 3,33 | достоверный диапазон: от 135 °C до 260 °C |
|
ТНК (IBP): | r = 0,018T | достоверный диапазон: от 145 °C до 220 °C |
T10: | r = 0,0094T | достоверный диапазон: от 160 °C до 265 °C |
T50: | r = 0,94 | достоверный диапазон: от 170 °C до 295 °C |
T90: | r = 0,0041T | достоверный диапазон: от 180 °C до 340 °C |
ТКК (FBP): | r = 2,2 | достоверный диапазон: от 195 °C до 365 °C, |
где E - температура выпаривания в пределах определенного достоверного диапазона и
T - температура отгона в пределах определенного достоверного диапазона.
Примечание - Относительно нафты, растворителей и других аналогичных продуктов, для которых сообщен процент отгона и процент потерь обычно менее одного процента, температуры, соответствующие процентам отгона, можно считать идентичными температурам процента выпаривания и прецизионность можно рассчитывать, как указано для NOT4.
13.1.2 Воспроизводимость
Расхождение между двумя единичными и независимыми результатами, полученными разными операторами в разных лабораториях на идентичном испытуемом материале при нормальном и правильном выполнении настоящего метода испытания, может превышать значения, только в одном случае из двадцати.
ТНК (IBP): | R = 0,059 (E + 51,19) | достоверный диапазон: от 20 °C до 70 °C |
E10: | R = 3,20 | достоверный диапазон: от 35 °C до 95 °C |
E50: | R = 1,88 | достоверный диапазон: от 65 °C до 220 °C |
E90: | R = 0,019 (E + 59,77) | достоверный диапазон: от 110 °C до 245 °C |
ТКК (FBP): | R = 6,78 | достоверный диапазон: от 135 °C до 260 °C |
|
ТНК (IBP): | R = 0,055T | достоверный диапазон: от 145 °C до 220 °C |
T10: | R = 0,022T | достоверный диапазон: от 160 °C до 265 °C |
T50: | R = 2,97 | достоверный диапазон: от 170 °C до 295 °C |
T90: | R = 0,015T | достоверный диапазон: от 180 °C до 340 °C |
ТКК (FBP): | R = 7,1 | достоверный диапазон: от 195 °C до 365 °C, |
где E - температура выпаривания в пределах определенного достоверного диапазона и
T - температура отгона в пределах определенного достоверного диапазона.
Примечание - Относительно нафты, растворителей и других аналогичных продуктов, для которых сообщен процент отгона и процент потерь обычно менее одного процента, температуры, соответствующие процентам отгона, можно считать идентичными температурам процента выпаривания и прецизионность можно рассчитывать, как указано для NOT4.
| | ИС МЕГАНОРМ: примечание. Сноска дана в соответствии с официальным текстом документа. | |
13.2 Формулировки прецизионности были выведены согласно Руководству 6300 по программе межлабораторных совместных испытаний <6>. Участвовало 16 лабораторий, проанализировано 33 набора образцов, включавших специфицированные бензины, некоторые из которых содержали до 10% этанола; специфицированное дизельное топливо с B5 и B20 биодизеля, специфицированное печное топливо, авиационные турбинные топлива, авиационные бензины, судовые топлива, уайт-спириты и толуол. Температурный диапазон по названным продуктам составлял от 23 °C до 365 °C. В исследовательском отчете приведена информация по типу образцов и их средние значения температур кипения.
Примечание - Прецизионность не была определена для одного образца бензина с высоким давлением паров, который продемонстрировал высокие потери, и для одного образца авиационного турбинного топлива с добавкой нетипичного бензина.
13.3 Отклонение
13.3.1 Поскольку отсутствует принятый эталонный материал, пригодный для определения отклонения при проведении испытания по настоящему методу, отклонение не было определено.
13.3.2 Относительное отклонение между ручным и автоматическим аппаратами
| | ИС МЕГАНОРМ: примечание. Сноска дана в соответствии с официальным текстом документа. | |
Межлабораторное изучение <4>, проведенное в 2003 г. на ручном и автоматическом оборудовании, привело к заключению, что отсутствуют статистические доказательства для предположения о том, что между результатами, полученными вручную и на автоматическом оборудовании, существует отклонение.
(обязательные)
A1 ТАБЛИЦЫ ПРЕЦИЗИОННОСТИ
ДЛЯ ПОВТОРЯЕМОСТИ r И ВОСПРОИЗВОДИМОСТИ R
| | | | 255 | 2,40 | | 5,61 |
Температура начала кипения IBP, °C | | IBP - NOT4 | | 260 | 2,44 | | 5,72 |
r - D86auto | | R - D86auto265 | 285 | 2,49 | | 5,83 |
20 | 2,10 | | 4,24 | Температура начала кипения 50%, °C | | E50 - NOT4 | |
25 | 2,25 | | 4,53 | r - D86auto | | R - D86auto |
30 | 2,40 | | 4,83 | 65 - 220 | 0,74 | | 1,88 |
35 | 2,54 | | 5,13 | Температура отгона 50%, °C | r - D86auto | T50 - GRP4 | |
40 | 2,69 | | 5,43 | | R - D86auto |
45 | 2,84 | | 5,72 | 170 - 295 | 0,94 | | 2,97 |
50 | 2,99 | | 6,02 | Температура начала кипения 90%, °C | | E90 - NOT4 | |
55 | 3,13 | | 6,32 | r - D86auto | | R - D86auto |
60 | 3,28 | | 6,62 | 110 | 1,28 | | 3,23 |
65 | 3,43 | | 6,91 | 115 | 1,32 | | 3,32 |
70 | 3,58 | | 7,21 | 120 | 1,36 | | 3,42 |
Температура отгона, °C | | IBP - GRP4 | | 125 | 1,40 | | 3,51 |
r - D86auto | | R - D86auto | 130 | 1,43 | | 3,61 |
145 | 2,61 | | 7,98 | 135 | 1,47 | | 3,70 |
150 | 2,70 | | 8,25 | 140 | 1,51 | | 3,80 |
155 | 2,79 | | 8,53 | 145 | 1,55 | | 3,89 |
160 | 2,88 | | 8,80 | 150 | 1,58 | | 3,99 |
165 | 2,97 | | 9,08 | 155 | 1,62 | | 4,08 |
170 | 3,06 | | 9,35 | 160 | 1,66 | | 4,18 |
175 | 3,15 | | 9,63 | 165 | 1,70 | | 4,27 |
180 | 3,24 | | 9,90 | 170 | 1,73 | | 4,37 |
185 | 3,33 | | 10,18 | 175 | 1,77 | | 4,46 |
190 | 3,42 | | 10,45 | 180 | 1,81 | | 4,56 |
195 | 3,51 | | 10,73 | 185 | 1,85 | | 4,65 |
200 | 3,60 | | 11,00 | 190 | 1,89 | | 4,75 |
205 | 3,69 | | 11,28 | 195 | 1,92 | | 4,84 |
210 | 3,78 | | 11,55 | 200 | 1,96 | | 4,94 |
215 | 3,87 | | 11,83 | 205 | 2,00 | | 5,03 |
220 | 3,96 | | 12,10 | 210 | 2,04 | | 5,13 |
Температура начала кипения 10%, °C | | E10 - NOT4 | | 215 | 2,07 | | 5,22 |
r - D86auto | | R - D86auto | 220 | 2,11 | | 5,32 |
35 | 1,33 | | 3,20 | 225 | 2,15 | | 5,41 |
40 | 1,33 | | 3,20 | 230 | 2,19 | | 5,51 |
45 | 1,33 | | 3,20 | 235 | 2,23 | | 5,60 |
50 | 1,33 | | 3,20 | 240 | 2,26 | | 5,70 |
55 | 1,33 | | 3,20 | 245 | 2,30 | | 5,79 |
60 | 1,33 | | 3,20 | Температура отгона 90%, °C | r - D86auto | T90 - GRP4 | |
65 | 1,33 | | 3,20 | | R - D86auto |
70 | 1,33 | | 3,20 | 180 | 0,74 | | 2,70 |
75 | 1,33 | | 3,20 | 185 | 0,76 | | 2,78 |
80 | 1,33 | | 3,20 | 190 | 0,78 | | 2,85 |
85 | 1,33 | | 3,20 | 195 | 0,80 | | 2,93 |
90 | 1,33 | | 3,20 | 200 | 0,82 | | 3,00 |
95 | 1,33 | | 3,20 | 205 | 0,84 | | 3,08 |
Температура отгона 10%, °C | | T10 - GRP4 | | 210 | 0,86 | | 3,15 |
r - D86auto | | R - D86auto | 215 | 0,88 | | 3,23 |
160 | 1,50 | | 3,52 | 220 | 0,90 | | 3,30 |
165 | 1,55 | | 3,63 | 225 | 0,92 | | 3,38 |
170 | 1,60 | | 3,74 | 230 | 0,94 | | 3,45 |
175 | 1,65 | | 3,85 | 235 | 0,96 | | 3,53 |
180 | 1,69 | | 3,96 | 240 | 0,98 | | 3,60 |
185 | 1,74 | | 4,07 | 245 | 1,00 | | 3,68 |
190 | 1,79 | | 4,18 | 250 | 1,03 | | 3,75 |
195 | 1,83 | | 4,29 | 255 | 1,05 | | 3,83 |
200 | 1,88 | | 4,40 | 260 | 1,07 | | 3,90 |
205 | 1,93 | | 4,51 | 265 | 1,09 | | 3,98 |
210 | 1,97 | | 4,62 | 270 | 1,11 | | 4,05 |
215 | 2,02 | | 4,73 | 275 | 1,13 | | 4,13 |
220 | 2,07 | | 4,84 | 280 | 1,15 | | 4,20 |
225 | 2,12 | | 4,95 | 285 | 1,17 | | 4,28 |
230 | 2,16 | | 5,06 | 290 | 1,19 | | 4,35 |
235 | 2,21 | | 5,17 | 295 | 1,21 | | 4,43 |
240 | 2,26 | | 5,28 | 300 | 1,23 | | 4,50 |
245 | 2,30 | | 5,39 | 305 | 1,25 | | 4,58 |
250 | 2,35 | | 5,50 | 310 | 1,27 | | 4,65 |
315 | 1,29 | | 4,73 | Температура конца кипения FBP, °C | | FBP - NOT4 | |
320 | 1,31 | | 4,80 | r - D86auto | | R - D86auto |
325 | 1,33 | | 4,88 | 135 - 260 | 3,33 | | 6,78 |
330 | 1,35 | | 4,95 | Температура конца кипения FBP, °C | | FBP - GRP4 | |
335 | 1,37 | | 5,03 | r - D86auto | | R - D86auto |
340 | 1,39 | | 5,10 | 195 - 365 | 2,2 | | 7,1 |
A2 ПОДРОБНОЕ ОПИСАНИЕ АППАРАТУРЫ
A2.1 Колбы для разгонки
Колбы должны быть из термостойкого стекла, размерами и допусками, представленными на рисунке A2.1, и должны соответствовать требованиям АСТМ Е 1405.
Рисунок A2.1 - Типы колб для разгонки
Рисунок A2.2 - Верхняя часть колбы
Колба A вместимостью 100 см3 может быть также изготовлена со стеклянным шлифованным соединением, диаметр которого должен быть такой же, как у колбы вместимостью 125 см3.
Примечание - Для испытаний при определении температуры конца кипения (выпаривания) целесообразно специально отбирать колбы с дном и стенками одинаковой толщины.
A2.2 Конденсатор и баня конденсатора
Типичные образцы конденсатора и бани для конденсатора представлены на
рисунках 1 и
2.
A2.2.1 Конденсатор должен быть изготовлен из бесшовной трубки некорродирующего металла, длиной (560 +/- 5) мм, наружным диаметром 14 мм и толщиной стенки от 0,8 до 0,9 мм.
Примечание - Установлено, что для этой цели пригодны латунь или нержавеющая сталь.
A2.2.2 Конденсатор необходимо установить так, чтобы отрезок трубки (393 +/- 3) мм контактировал с охлаждающей средой, причем снаружи охлаждающей бани сверху выступала часть трубки длиной (50 +/- 3) мм, а снизу - (114 +/- 3) мм.
Часть трубки, выступающей сверху, следует устанавливать под углом 75° +/- 3° к вертикали. Часть трубки внутри бани конденсатора должна быть прямой или изогнутой по любой подходящей непрерывной плавной кривой. Относительно горизонтали средний градиент наклона трубки должен составлять 15° +/- 1°, а снаружи отрезок длиной 10 см должен иметь градиент 15° +/- 3°.
Выступающая нижняя часть трубки холодильника должна быть изогнута книзу на длину 76 мм, а нижний конец срезан под острым углом.
Следует предусмотреть возможность стекания дистиллята по внутренней стенке приемного цилиндра. Это можно выполнить с использованием алонжа, прикрепленного к выпускному отверстию трубки, или можно изогнуть слегка нижнюю часть конденсатора назад для обеспечения контакта со стенкой приемного цилиндра в точке на расстоянии от 25 до 32 мм от его верха. На рисунке A2.3 представлена схема нижнего конца конденсаторной трубки.
Рисунок A2.3 - Нижний конец трубки конденсатора
A2.2.3 Объем и конструкция охлаждающей бани зависят от используемой охлаждающей среды.
Охлаждающая способность бани должна быть достаточной, чтобы поддерживать заданную температуру для требуемого режима работы конденсатора. Одну охлаждающую баню можно использовать для нескольких конденсаторных трубок.
A2.3 Металлический экран или кожух для колбы (только для ручного аппарата).
A2.3.1 Экран для газовой горелки (см.
рисунок 1).
Целью данного экрана является обеспечение безопасности оператора и легкого доступа к горелке и колбе во время проведения испытания. Типичный экран имеет высоту 480 мм, длину 280 мм и ширину 200 мм, изготовлен из листового металла толщиной 0,8 мм (22 калибр). Он должен быть обеспечен, как минимум, одним окошечком для наблюдения за температурой в конце разгонки.
A2.3.2 Экран для электронагревателя (см.
рисунок 2).
Типичный экран имеет высоту 440 мм, длину 200 мм, ширину 200 мм и изготовлен из листового металла толщиной приблизительно 0,8 мм (22 калибр), с окошечком на передней стенке. Экран должен быть обеспечен, как минимум, одним окошечком для наблюдения за температурой в конце разгонки.
A2.4 Источник тепла
A2.4.1 Газовая горелка
(рисунок 1), обеспечивающая получение первой капли от холодного пуска в течение установленного времени и в процессе всей разгонки с определенной скоростью. Необходимо предусмотреть чувствительный регулировочный кран и регулятор давления газа для обеспечения полного контроля за нагреванием.
A2.4.2 Электрический нагреватель (см.
рисунок 2) малой мощности.
Примечание - Нагреватели мощностью от 0 до 1000 Вт пригодны для этой цели.
A2.5 Подставка для колбы
A2.5.1 Тип 1
Используют подставку для колбы типа 1 вместе с газовой горелкой
(рисунок 1).
Следует применять обычную лабораторную подставку в виде кольца диаметром 100 мм или более, поддерживаемую на стойке за экраном или на платформе, регулируемой снаружи экрана.
На этом кольце или платформе монтируют твердую керамическую или изготовленную из другого термостойкого материала прокладку толщиной от 3 до 6 мм, с отверстием в центре, диаметром 76 - 100 мм, наружными линейными размерами немного меньше внутренних границ экрана.
A2.5.2 Тип 2
Используют подставку для колбы типа 2, смонтированную с электрическим нагревателем
(рисунок 2).
Установка состоит из регулируемой системы, на которой установлен электрический нагреватель, обеспечивающий необходимое расположение прокладки на подставке для колбы (A.2.6) над электрическим нагревателем. Вся установка регулируется снаружи экрана.
A2.6 Прокладка подставки для колбы
Прокладка подставки для колбы должна быть изготовлена из керамического или другого термостойкого материала, толщиной от 3 до 6 мм. Колба поддерживается твердой прокладкой, классифицированной как A, B или C на основании размера центрального отверстия, приведенного в
таблице 1. Прокладка подставки для колбы должна обеспечивать подачу тепла к колбе только через центральное отверстие и свести к минимуму нагрев колбы через другие отверстия.
Предупреждение - Материалы, содержащие асбест, не должны применяться при изготовлении прокладки подставки для колбы.
A2.7 Прокладку подставки для колбы можно слегка двигать в различных направлениях по горизонтальной поверхности, чтобы установить колбы для разгонки так, чтобы тепло к колбе подавалось только через отверстие этой прокладки.
Положение колбы обычно устанавливают, регулируя длину бокового ответвления, вставленного в конденсатор.
A2.8 Подставка для колбы вместе с прокладками должна легко перемещаться в вертикальном направлении, чтобы обеспечить непосредственный контакт прокладки с дном перегонной колбы во время разгонки и легкую сборку и удаление колбы из аппарата.
A2.9 Приемный цилиндр
Приемный цилиндр должен быть вместимостью достаточной для измерения и сбора 100 см3 продукта. Форма основания должна быть такой, чтобы пустой приемник не опрокидывался при установке на поверхность, наклоненную под углом 13°.
A2.9.1 Ручной метод
Цилиндр должен быть отградуирован с ценой деления 1 см3 и иметь градуировку до отметки 100 см3.
Конструкционные детали и допуски для мерного цилиндра представлены на
рисунке A2.4.
1 - оплавленный край; 2 - стенка; 3 - шкала
Примечание - Мерный цилиндр - вместимостью 100 см3, с ценой деления 1 см3 и погрешностью измерения +/- 1,0 см3.
Рисунок A2.4 - Мерный цилиндр вместимостью 100 см
3
A2.9.2 Автоматический метод
Цилиндр должен соответствовать спецификациям физических характеристик, указанных на
рисунке A2.4, при этом допускаются деления ниже 100 см
3 до тех пор, пока механизм слежения может работать без помех. Приемные цилиндры, применяемые в автоматических аппаратах, могут иметь металлическое основание.
A2.9.3 При необходимости приемный цилиндр во время разгонки следует погрузить в охлаждающую жидкость выше отметки 100 см3, находящуюся в охлаждающей бане, представляющей собой высокий стакан из прозрачного стекла или прозрачной пластмассы. В других случаях мерный цилиндр может быть помещен в камеру-термостат с воздушной циркуляцией.
A2.10 Цилиндр для остатка
Мерный цилиндр должен быть вместимостью 5 или 10 см3, с градуировкой мелкими делениями, равными 0,1 см3, начиная с 0,1 см3.
Верх цилиндра может быть слегка развернут, другие свойства должны соответствовать АСТМ Е 1272.
A3 ОПРЕДЕЛЕНИЕ РАСХОЖДЕНИЯ ВО ВРЕМЕНИ ЗАПАЗДЫВАНИЯ
МЕЖДУ ЭЛЕКТРОННОЙ СИСТЕМОЙ ИЗМЕРЕНИЯ ТЕМПЕРАТУРЫ
И РТУТНЫМ СТЕКЛЯННЫМ ТЕРМОМЕТРОМ
A.3.1 Время срабатывания электронного устройства для измерения температуры меньше, чем ртутного стеклянного термометра. Обычно используемое устройство для измерения температуры, состоящее из датчика и его оболочки (кожуха) или электронной системы и связанных с ней средств, или и того, и другого, сконструировано таким образом, что система измерения температуры искусственно воспроизводит запаздывание температуры ртутного стеклянного термометра.
A.3.2 Для определения расхождения во времени запаздывания между такой системой измерения температуры и ртутным стеклянным термометром анализируют, например, образцы бензина, керосина, реактивного топлива или легкого дизельного топлива, используя электронную систему измерения температуры и в соответствии с настоящим методом испытания. В большинстве случаев этот этап разгонки в стандарте выполняют на автоматической установке.
A3.2.1 Для этого испытания не пригодны простые чистые соединения, продукт с очень узкими пределами кипения или синтетические смеси из менее чем шести соединений.
A3.2.2 Наилучшие результаты получают с образцом, который является типичным для лабораторной загрузки, или используют смесь широкой фракции с пределами кипения от 5% до 95%, равными не менее 100 °C.
A3.3 Заменяют электронное устройство для измерения температуры ртутным стеклянным термометром низкого или высокого температурного диапазона в зависимости от пределов кипения образца.
A3.4 Разгонку повторяют с термометром и регистрируют вручную температуру при разном проценте отгона, как описано в
10.14.
A3.5 Для разных показаний в испытании рассчитывают значение повторяемости для наблюдаемого наклона

.
A3.6 Используя эти два устройства для измерения температуры, сравнивают полученные результаты испытания. Расхождение при любой температуре должно быть равно или быть менее повторяемости (сходимости) метода для этой температуры. Если расхождение больше, электронное устройство для измерения температуры заменяют или регулируют включенную в прибор электронику, или и то, и другое.
A4 ПРОЦЕДУРА ОПРЕДЕЛЕНИЯ ПРОЦЕНТА ВЫПАРИВАНИЯ ИЛИ ПРОЦЕНТА
ОТГОНА ПРИ ЗАДАННОМ ПОКАЗАНИИ ТЕМПЕРАТУРЫ
A4.1 Многие спецификации устанавливают конкретные проценты выпаривания или отгона при определенных значениях температуры или как максимальные, минимальные значения или диапазоны при заданных показаниях температуры. Процедуры для определения этих величин, часто обозначены как Exxx или Rxxx, где "xxx" - заданная температура.
Примечание - Основные стандарты по сертификации реформулированного бензина в условиях процедуры со сложной моделью требуют определения E 200 и E 300, как процентов выпаривания топлива при 93,3 °C (200 °F) и 148,9 °C (300 °F) соответственно. E 158, процент выпаривания при температуре разгонки 70 °C (158 °F), также применяют при описании характеристик испаряемости топлива. Другими типичными температурами являются R 200 для керосинов, R 250 и R 350 для газойлей, где R 200, R 250 и R 350 - проценты отгона топлива при 200 °C, 250 °C и 350 °C соответственно.
A4.2 Определяют барометрическое давление и рассчитывают поправку к требуемому показанию температуры, используя
уравнения 3,
4 или
5 для
t = xxx °C (или
tf = xxx °F).
A4.2.1 Ручной метод
Определяют эту поправку до 0,5 °C (1 °F).
A4.2.2 Автоматический метод
Определяют эту поправку до 0,1 °C (0,2 °F).
A4.3 Для получения xxx °C (или xxx °F) после введения поправки на барометрическое давление определяют ожидаемое показание температуры.
Для получения ожидаемого значения, если барометрическое давление выше 101,3 кПа, к измеренной температуре прибавляют абсолютное значение рассчитанной поправки. Если барометрическое давление ниже 101,3 кПа, из измеренной температуры вычитают абсолютное значение рассчитанной поправки.
A4.4 Выполняют разгонку, как указано в
разделе 10, принимая во внимание A4.5 и
A4.6.
A4.5 Ручная разгонка
A4.5.1 В диапазоне приблизительно между 10 °C ниже и 10 °C выше ожидаемого значения температуры, определенной в
A4.3, регистрируют показание температуры в интервалах 1% об.
A4.5.2 Если целью разгонки является только определение значения "Exxx" или "Rxxx", то разгонку прекращают после отбора еще не менее 2 см
3 дистиллята. В противном случае разгонку продолжают, как указано в
разделе 10, и определяют наблюдаемые потери, как указано в
11.1.
A4.5.2.1 Если целью разгонки является определение "Exxx" и разгонка была закончена после отбора ~ 2 см3 дистиллята, не достигнув установленной температуры, то дистилляту дают стечь в приемный цилиндр. Дают содержимому колбы остыть до температуры ниже 40 °C и затем сливают содержимое в приемный цилиндр. Отмечают объем продукта в приемном цилиндре с точностью до 0,5 см3 с интервалами 2 мин до повторения двух последовательных наблюдений.
A4.5.2.2 Количество отогнанного продукта в приемном мерном цилиндре есть процент отгона. Определяют количество отмечаемых потерь, вычитая из 100,0 процент отгона.
A4.6 Автоматическая разгонка
A4.6.1 В диапазоне между 10 °C ниже и 10 °C выше установленного ожидаемого значения температуры, определенного в
A4.3, собирают данные температура/объем с интервалами 0,1% об. или менее.
A4.6.2 Разгонку продолжают, как указано в
разделе 10, и определяют процент потерь согласно
11.1.
A4.7 Расчеты
Если показание процента по объему отгона (объемного % отгона) при точной температуре, рассчитанной в
A4.3, не доступно, процент отгона определяют интерполяцией между двумя соседними показаниями. Допускается линейная процедура, представленная в
11.6.1, или графическая процедура, представленная в
11.6.2. Процент отгона равен "Rxxx".
A4.7.2 Автоматический метод
Наблюдаемый объем записывают с точностью до 0,1% об. соответствующего температуре, ближайшей к ожидаемому показанию температуры. Это - процент отгона или "Rxxx".
A4.7.3 Ручной и автоматический методы
Для определения значения "Exxx" наблюдаемые потери прибавляют к проценту отгона "Rxxx", определенному в
A4.7.1 или
A4.7.2 и как указано в
уравнении 9.
A4.7.3.1 Согласно предписаниям
12.6 скорректированные потери не применяют.
Прецизионность
A4.8 Статистическое определение прецизионности объемного процента выпаривания или отгона при заданной температуре непосредственно в межлабораторной программе не выполнялось. Прецизионность объемного процента выпаривания или отгона при заданной температуре можно рассчитать на основе того, что она эквивалентна прецизионности измерения температуры, деленной на скорость изменения температуры в зависимости от объемного процента выпаривания или отгона. Этот расчет становится менее обоснованным при высоких значениях наклона.
A4.9 Рассчитывают наклон или скорость изменения температурного показания S
C (или S
F), как указано в
A4.9.1 и
уравнении A4.1, и используя значения температуры, включая установленную температуру.
Таблица A4.1
Значения для определения наклона S
C или S
F
Наклон при % отбора | ТНК (IBP) | 5 | 10 | 20 | 30 | 40 | 50 | 60 | 70 | 80 | 90 | 95 | ТКК (EP) |
TL при % отбора | 0 | 0 | 0 | 10 | 20 | 30 | 40 | 50 | 60 | 70 | 80 | 90 | 95 |
TU при % отбора | 5 | 10 | 20 | 30 | 40 | 50 | 60 | 70 | 80 | 90 | 90 | 95 | VEP |
VU - VL | 5 | 10 | 20 | 20 | 20 | 20 | 20 | 20 | 20 | 20 | 10 | 5 | VEP - 95 |
A4.9.1 Наклон или скорость изменения температуры
A4.9.1.1 Для определения прецизионности результата обычно необходимо определить наклон или скорость изменения температуры в конкретной точке. Эта переменная величина, обозначенная как SC или SF, равна изменению температуры, выраженной в градусах Цельсия или в градусах Фаренгейта соответственно, на процент отгона или выпаривания.
A4.9.1.2 Прецизионность ТНК (IBP) и ТКК (EP) не требует никакого расчета наклона.
A4.9.1.3 За исключением установленного в
A4.9.1.2, используя значения, представленные в
таблице A4.1, наклон при любой температуре во время разгонки рассчитывают по следующему уравнению
S
C (или S
F) = (
TU -
TL)/(
VU -
VL), (A4.1)
где SC или SF - наклон, °C/% об. или °F/% об.;
TU - высшая температура, °C (или °F);
TL - низшая температура, °C (или °F);
VU - % об. отгона или выпаривания, соответствующий TU;
VL - % об. отгона или выпаривания, соответствующий TL;
VEP - % об. отгона или выпаривания, соответствующий конечной температуре.
A4.9.1.4 Когда конечная температура разгонки достигла температуры 95% отгона, наклон при конечной температуре рассчитывают следующим образом
SC (или SF) = (TEP - THR)/(VEP - VHR), (A4.2)
где TEP или THR - температура, °C или °F, для отмеченного % об. отгона;
VEP или VHR - % об. отгона:
EP - конечная температура разгонки;
HR - самое высокое показание температуры достижения до конечной температуры разгонки или для 80% или 90%.
A4.9.1.5 Для значений температуры при отборе проб от 10% до 85% (см.
таблицу A4.1) наклон рассчитывают следующим образом
SC (или SF) = 0,05(TV+10 - TV-10). (A4.3)
A4.9.2 Рассчитывают повторяемость
r или воспроизводимость
R, исходя из наклона S
C (или S
F) и данных, приведенных в таблицах A4.2 -
A4.4.
Таблица A4.2
Повторяемость и воспроизводимость для группы 1
Температура выпаривания | | | | |
Ручной метод | Автоматический метод |
°C | °F | °C | °F | °C | °F | °C | °F |
IBP | 3,3 | 6 | 5,6 | 10 | 3,9 | 7 | 7,2 | 13 |
5 | 1,9 + 0,86SC | 3,4 + 0,86SF | 3,1 + 1,74SC | 5,6 + 1,74SF | 2,1 + 0,67SC | 3,8 + 0,67SF | 4,4 + 2,0SC | 7,9 + 2,0SF |
10 | 1,2 + 0,86SC | 2,2 + 0,86SF | 2,0+ 1,74SC | 3,6 + 1,74SF | 1,7+ 0,67SC | 3,0 + 0,67SF | 3,3 + 2,0SC | 6,0 + 2,0SF |
20 | 1,2 + 0,86SC | 2,2 + 0,86SF | 2,0+ 1,74SC | 3,6 + 1,74SF | 1,1 + 0,67SC | 2,0 + 0,67SF | 3,3 + 2,0SC | 6,0 + 2,0SF |
30 - 70 | 1,2 + 0,86SC | 2,2 + 0,86SF | 2,0+ 1,74SC | 3,6 + 1,74SF | 1,1 + 0,67SC | 2,0 + 0,67SF | 2,6 + 2,0SC | 4,7 + 2,0SF |
80 | 1,2 + 0,86SC | 2,2 + 0,86SF | 2,0 + 1,74SC | 3,6+ 1,74SF | 1,1 + 0,67SC | 2,0 + 0,67SF | 1,7 + 2,0SC | 3,0 + 2,0SF |
90 | 1,2 + 0,86SC | 2,2 + 0,86SF | 0,8+ 1,74SC | 1,4 + 1,74SF | 1,1 + 0,67SC | 2,0 + 0,67SF | 0,7 + 2,0SC | 1,2 + 2,0SF |
95 | 1,2+ 0,86SC | 2,2 + 0,86SF | 1,1 + 1,74SC | 1,9 + 1,74SF | 2,5 + 0,67SC | 4,5 + 0,67SF | 2,6 + 2,0SC | 4,7 + 2,0SF |
FBP | 3,9 | 7 | 7,2 | 13 | 4,4 | 8 | 8,9 | 16 |
<A> S C или S F - усредненный наклон (или скорость изменения), рассчитанный в соответствии с A4.9.1. Данные по прецизионности, представленные в настоящей таблице, получены из исследовательского отчета по испытаниям как ручным методом, так и автоматическим по АСТМ Д 86 северо-американскими лабораториями и лабораториями Нефтяного института (IP). |
Таблица A4.3
Повторяемость и воспроизводимость
для групп 2, 3 и 4 (ручной метод)
Отбор, % | | |
°C | °F | °C | °F |
IBP | 1,0 + 0,35SC | 1,9 + 0,35SF | 2,8 + 0,93SC | 5,0 + 0,93SF |
5,0% - 95% | 1,0 + 0,41SC | 1,8 + 0,41SF | 1,8 + 1,33SC | 3,3 + 1,33SF |
FBP | 0,7 + 0,36SC | 1,3 + 0,36SF | 3,1 + 0,42SC | 5,7 + 0,42SF |
% об. при температурном показании | 0,7 + 0,92/SC | 0,7 + 1,66/SF | 1,5 + 1,78/SC | 1,53 + 3,20/SF |
<A> S C или S F - усредненный наклон (или скорость изменения), рассчитанный в соответствии с A4.9.1. Настоящая таблица выведена по монограммам, представленным на рисунках 6 и 7 АСТМ Д 86-97. |
Таблица A4.4
Повторяемость и воспроизводимость
для групп 2, 3 и 4 (автоматический метод)
Отбор, % | | |
°C | °F | °C | °F |
IBP | 3,5 | 6,3 | 8,5 | 15,3 |
2% | 3,5 | 6,3 | 2,6 + 1,92SC | 4,7 + 1,92SF |
5% | 1,1 + 1,08SC | 2,0 + 1,08SF | 2,0 + 2,53SC | 3,6 + 2,53SF |
10% | 1,2 + 1,42SC | 2,2 + 1,42SF | 3,0 + 2,64SC | 5,4 + 2,64SF |
20% - 70% | 1,2 + 1,42SC | 2,2 + 1,42SF | 2,9 + 3,97SC | 5,2 + 3,97SF |
80% | 1,2 + 1,42SC | 2,2 + 1,42SF | 3,0 + 2,64SC | 5,4 + 2,64SF |
90% - 95% | 1,1 + 1,08SC | 2,0 + 1,08SF | 2,0 + 2,53SC | 3,6 + 2,53SF |
FBP | 3,5 | 6,3 | 10,5 | 18,9 |
<A> S C или S F - усредненный наклон (или скорость изменения), рассчитанный в соответствии с A4.9.1. Данные прецизионности в настоящей таблице получены из исследовательского отчета по испытаниям как ручным, так и автоматическим методом по АСТМ Д 86 северо-американскими лабораториями и лабораториями Нефтяного института (IP). |
A4.9.3 Определяют повторяемость или воспроизводимость, или и то, и другое, объемного процента выпаривания или отгона при заданной температуре используя следующие формулы:

(A4.4)

(A4.5)
где r% об. - повторяемость % об. выпаривания или отгона;
R% об. - воспроизводимость % об. выпаривания или отгона;
r - повторяемость температуры для заданной температуры при наблюдаемом проценте перегнанного продукта;
R - воспроизводимость температуры для заданной температуры при наблюдаемом проценте перегнанного продукта;
SC (SF) - скорость изменения показания температуры, °C (°F), на % об. выпаривания или отгона.
A4.9.4 Примеры по расчету повторяемости и воспроизводимости приведены в
приложении X2.
(справочные)
X1 ПРИМЕРЫ, ИЛЛЮСТРИРУЮЩИЕ РАСЧЕТЫ ДЛЯ ЗАПИСИ ДАННЫХ
X1.1 Наблюдаемые показатели разгонки, используемые в нижеприведенных примерах расчета, представлены в первых трех графах
рисунка X1.1.
Образец ID Барометрическое давление: 98,6 кПа
Дата анализа: Аналитик
Оборудование N
Примечания:
Таблица X1
Пример отчета по испытанию
Барометрическое давление | Арифметическая процедура |
| Наблюдаемое 98,6 кПа 740 мм р. ст. | Скорректированное 101,3 кПа 760 мм рт. ст. |
% отгона | °C | °F | °C | °F | % выпаривания | Tвыпаривания, °C | °F |
IBP | 25,5 | 78 | 26,2 | 79,2 | 5 | 26,7 | 80,0 |
5 | 33,0 | 91 | 33,7 | 92,7 | 10 | 34,1 | 93,4 |
10 | 39,5 | 103 | 40,3 | 104,5 | 15 | 40,7 | 105,2 |
15 | 46,0 | 115 | 46,8 | 116,2 | 20 | 47,3 | 117,1 |
20 | 54,5 | 130 | 55,3 | 131,5 | 30 | 65,7 | 150,2 |
30 | 74,0 | 165 | 74,8 | 166,7 | 40 | 84,9 | 184,9 |
40 | 93,0 | 199 | 93,9 | 201,0 | 50 | 101,9 | 215,3 |
50 | 108,0 | 226 | 108,9 | 228,0 | 60 | 116,9 | 242,4 |
60 | 123,0 | 253 | 124,0 | 255,1 | 70 | 134,1 | 273,3 |
70 | 142,0 | 288 | 143,0 | 289,4 | 80 | 156,0 | 312,8 |
80 | 166,5 | 332 | 167,6 | 333,6 | 85 | 168,4 | 335,1 |
85 | 180,5 | 357 | 181,6 | 358,9 | 90 | 182,8 | 361,0 |
90 | 200,4 | 393 | 201,6 | 394,8 | 95 | 202,4 | 396,3 |
EP | 215,0 | 419 | 216,2 | 421,1 | - | - | - |
% отгона | 94,2 | - | 95,3 | - | - | - | - |
% остатка | 1,1 | - | 1,1 | - | - | - | - |
% потерь | 4,7 | - | 3,6 | - | - | - | - |
Рисунок X1.1 - Пример отчета по испытанию
X1.1.1 Температуры, скорректированные к давлению 101,3 кПа (760 мм рт. ст.) (см.
11.3):
поправка, °C = 0,0009·(101,3 - 98,6)·(273 + tc), (X1.1)
поправка, °F = 0,00012·(760 - 740)·(460 + tf). (X1.2)
X1.1.2 Поправка потерь к давлению 101,3 кПа (см.
11.4):

(X1.3)
X1.1.3 Поправка отгона к давлению 101,3 кПа (см.
11.4):
отгон продукта с поправкой = 94,2 + (4,7 - 3,6) =
= 95,3. (X1.4)
X1.2 Показания температуры при заданных процентах выпаривания
X1.2.1 Показание температуры при 10% выпаривания (4,7% наблюдаемых потерь равно 5,3% отгона)
(11.6.1):

(X1.5)
| | ИС МЕГАНОРМ: примечание. Формула дана в соответствии с официальным текстом документа. | |

(X1.6)
X1.2.2 Показание температуры при 50% выпаривания (45,3% отгона)
(11.6.1):

(X1.7)

(X1.8)
X1.2.3 Показание температуры при 90% выпаривания (85,3% отгона)
(11.6.1):

(X1.9)

(X1.10)
X1.2.4 Показание температуры при 90% выпаривания (85,3% отгона), не скорректированное на давление 101,3 кПа
(11.6.1):

(X1.11)

(X1.12)
Примечание - Результаты, рассчитанные по данным в градусах Цельсия могут не полностью соответствовать результатам, рассчитанным по данным в градусах Фаренгейта, из-за ошибок при округлении.
X2 ПРИМЕРЫ РАСЧЕТА ПОВТОРЯЕМОСТИ И ВОСПРОИЗВОДИМОСТИ
ОБЪЕМНОГО ПРОЦЕНТА (ОТГОНА ИЛИ ВЫПАРИВАНИЯ)
ПРИ ЗАДАННОМ ПОКАЗАНИИ ТЕМПЕРАТУРЫ
X2.1 Некоторые спецификации требуют записи процента выпаривания или объемного отгона при установленной температуре.
Результаты разгонки образца группы 1, полученные на автоматическом аппарате, представлены в таблице X2.1.
Таблица X2.1
Результаты разгонки образца группы 1 автоматическим методом
Объем отгона, см3 | Температура, °C | Температура, °F | Объем, см3. Отгон при 93,3 °C (200 °F) |
10 | 84 | 183 | 18,0 |
20 | 94 | 202 | - |
30 | 103 | 217 | - |
40 | 112 | 233 | - |
Объем выпаривания, см3 | Температура, °C | Температура, °F | Объем, см3. Выпаривание при 93,3 °C (200 °F) |
10 | 83 | 182 | 18,4 |
20 | 94 | 201 | - |
30 | 103 | 217 | - |
40 | 111 | 232 | - |
X2.2 Пример расчета
X2.2.1 Для образца группы 1 с результатами разгонки, указанными в
таблице X2.1, определенными на автоматическом аппарате, воспроизводимость объема выпаривания
R, объемный процент при 93,3 °C (200 °F) определяют следующим образом.
X2.2.1.1 Сначала определяют наклон при указанной температуре
SC% = 0,1·(T(20) - T(10)) = 0,1·(94 - 83) = 1,1; (X2.1)
SF% = 0,1·(T(20) - T(10)) = 0,1·(201 - 182) = 1,9.
X2.2.2 Исходя из
таблицы A4.3, определяют значение
R, воспроизводимость при наблюдаемом проценте отгона. В этом случае отмечаемый процент отгона равен 18% и
R = 3,3 + 2,0(SC) = 3,3 + 2,0·1,1 = 5,5; (X.2.2)
R = 6,0 + 2,0(SF) = 6,0 + 2,0·1,9 = 9,8.
X2.2.3 Исходя из рассчитанного значения
R, определяют величину объема, как указано в
A4.9.

(X2.3)
X3 ТАБЛИЦЫ СКОРРЕКТИРОВАННЫХ ПОТЕРЬ НА ОСНОВЕ
ИЗМЕРЕННЫХ ПОТЕРЬ И БАРОМЕТРИЧЕСКОГО ДАВЛЕНИЯ
X3.1 Таблица X3.1 может применяться для определения скорректированных потерь, исходя из измеренных потерь и барометрического давления в килопаскалях.
Таблица X3.1
Скорректированные потери на основе наблюдаемых
потерь и барометрического давления, кПа
Барометрическое давление, кПа | | | | | | | | | | | | | | | | | | | | | | | |
| От | 76,1 | 80,9 | 84,5 | 87,3 | 89,6 | 91,5 | 93,1 | 94,1 | 95,5 | 96,4 | 97,2 | 97,9 | 98,4 | 98,9 | 99,5 | 100,0 | 100,4 | 100,8 | 101,2 | 101,5 | 102,0 | 102,4 | 102,8 | 103,2 |
| До | 80,8 | 84,4 | 87,2 | 89,5 | 91,4 | 93,0 | 94,0 | 95,4 | 96,3 | 97,1 | 97,8 | 98,3 | 98,8 | 99,4 | 99,9 | 100,3 | 100,7 | 101,1 | 101,4 | 101,9 | 102,3 | 102,7 | 103,1 | 103,5 |
Измеренные потери | скорректированные потери  |
Единицы | | | | | | | | | | | | | | | | | | | | | | | | | |
| 0 | 0,37 | 0,35 | 0,33 | 0,31 | 0,29 | 0,27 | 0,25 | 0,23 | 0,20 | 0,18 | 0,16 | 0,14 | 0,13 | 0,11 | 0,09 | 0,06 | 0,04 | 0,02 | -0,00 | -0,02 | -0,06 | -0,09 | -0,13 | -0,17 |
| 1 | 0,63 | 0,65 | 0,67 | 0,69 | 0,71 | 0,73 | 0,75 | 0,78 | 0,80 | 0,82 | 0,84 | 0,86 | 0,87 | 0,89 | 0,92 | 0,94 | 0,96 | 0,98 | 1,00 | 1,03 | 1,06 | 1,09 | 1,13 | 1,17 |
| 2 | 0,89 | 0,95 | 1,01 | 1,08 | 1,14 | 1,20 | 1,26 | 1,33 | 1,40 | 1,46 | 1,52 | 1,57 | 1,62 | 1,68 | 1,75 | 1,81 | 1,87 | 1,94 | 2,00 | 2,08 | 2,17 | 2,27 | 2,38 | 2,51 |
| 3 | 1,15 | 1,25 | 1,36 | 1,46 | 1,57 | 1,67 | 1,77 | 1,88 | 1,99 | 2,09 | 2,19 | 2,28 | 2,37 | 2,47 | 2,58 | 2,69 | 2,79 | 2,90 | 3,00 | 3,13 | 3,29 | 3,45 | 3,63 | 3,84 |
| 4 | 1,41 | 1,56 | 1,70 | 1,84 | 1,99 | 2,14 | 2,28 | 2,43 | 2,59 | 2,73 | 2,87 | 3,00 | 3,12 | 3,26 | 3,41 | 3,56 | 3,70 | 3,85 | 4,00 | 4,18 | 4,40 | 4,63 | 4,89 | 5,18 |
| 5 | 1,68 | 1,86 | 2,04 | 2,23 | 2,42 | 2,61 | 2,79 | 2,98 | 3,19 | 3,37 | 3,55 | 3,71 | 3,87 | 4,05 | 4,25 | 4,44 | 4,62 | 4,81 | 5,00 | 5,23 | 5,51 | 5,81 | 6,14 | 6,52 |
| 6 | 1,94 | 2,16 | 2,39 | 2,61 | 2,84 | 3,08 | 3,30 | 3,53 | 3,78 | 4,01 | 4,23 | 4,42 | 4,62 | 4,84 | 5,08 | 5,31 | 5,53 | 5,77 | 6,00 | 6,28 | 6,63 | 6,99 | 7,40 | 7,86 |
| 7 | 2,20 | 2,46 | 2,73 | 3,00 | 3,27 | 3,55 | 3,80 | 4,08 | 4,38 | 4,65 | 4,90 | 5,14 | 5,37 | 5,63 | 5,91 | 6,18 | 6,44 | 6,73 | 7,00 | 7,33 | 7,74 | 8,17 | 8,65 | 9,20 |
| 8 | 2,46 | 2,76 | 3,07 | 3,38 | 3,70 | 4,02 | 4,31 | 4,63 | 4,98 | 5,28 | 5,58 | 5,85 | 6,12 | 6,41 | 6,74 | 7,06 | 7,36 | 7,69 | 8,00 | 8,38 | 8,86 | 9,35 | 9,90 | 10,53 |
| 9 | 2,72 | 3,07 | 3,41 | 3,76 | 4,12 | 4,49 | 4,82 | 5,18 | 5,57 | 5,92 | 6,26 | 6,56 | 6,87 | 7,20 | 7,57 | 7,93 | 8,27 | 8,65 | 9,00 | 9,43 | 9,97 | 10,53 | 11,16 | 11,87 |
| 10 | 2,98 | 3,37 | 3,76 | 4,15 | 4,55 | 4,96 | 5,33 | 5,73 | 6,17 | 6,56 | 6,94 | 7,28 | 7,62 | 7,99 | 8,41 | 8,81 | 9,19 | 9,60 | 10,00 | 10,48 | 11,08 | 11,71 | 12,41 | 13,21 |
| 11 | 3,24 | 3,67 | 4,10 | 4,53 | 4,97 | 5,43 | 5,84 | 6,28 | 6,77 | 7,20 | 7,61 | 7,99 | 8,37 | 8,78 | 9,24 | 9,68 | 10,10 | 10,56 | 11,00 | 11,53 | 12,20 | 12,89 | 13,67 | 14,55 |
| 12 | 3,50 | 3,97 | 4,44 | 4,92 | 5,40 | 5,90 | 6,35 | 6,83 | 7,36 | 7,84 | 8,29 | 8,71 | 9,12 | 9,57 | 10,07 | 10,56 | 11,02 | 11,52 | 12,00 | 12,59 | 13,31 | 14,07 | 14,92 | 15,89 |
| 13 | 3,76 | 4,27 | 4,78 | 5,30 | 5,83 | 6,36 | 6,86 | 7,39 | 7,96 | 8,47 | 8,97 | 9,42 | 9,86 | 10,36 | 10,90 | 11,43 | 11,93 | 12,48 | 13,00 | 13,64 | 14,43 | 15,25 | 16,17 | 17,22 |
| 14 | 4,03 | 4,58 | 5,13 | 5,69 | 6,25 | 6,83 | 7,36 | 7,94 | 8,56 | 9,11 | 9,64 | 10,13 | 10,61 | 11,15 | 11,74 | 12,31 | 12,85 | 13,44 | 14,00 | 14,69 | 15,54 | 16,43 | 17,43 | 18,56 |
| 15 | 4,29 | 4,88 | 5,47 | 6,07 | 6,68 | 7,30 | 7,87 | 8,49 | 9,15 | 9,75 | 10,32 | 10,85 | 11,36 | 11,93 | 12,57 | 13,18 | 13,76 | 14,40 | 15,00 | 15,74 | 16,66 | 17,61 | 18,68 | 19,90 |
| 16 | 4,55 | 5,18 | 5,81 | 6,45 | 7,10 | 7,77 | 8,38 | 9,04 | 9,75 | 10,39 | 11,00 | 11,56 | 12,11 | 12,72 | 13,40 | 14,06 | 14,68 | 15,36 | 16,00 | 16,79 | 17,77 | 18,79 | 19,94 | 21,24 |
| 17 | 4,81 | 5,48 | 6,16 | 6,84 | 7,53 | 8,24 | 8,89 | 9,59 | 10,35 | 11,03 | 11,68 | 12,27 | 12,86 | 13,51 | 14,23 | 14,93 | 15,59 | 16,31 | 17,00 | 17,84 | 18,88 | 19,97 | 21,19 | 22,58 |
| 18 | 5,07 | 5,78 | 6,50 | 7,22 | 7,96 | 8,71 | 9,40 | 10,14 | 10,94 | 11,66 | 12,35 | 12,99 | 13,61 | 14,30 | 15,07 | 15,80 | 16,50 | 17,27 | 18,00 | 18,89 | 20,00 | 21,15 | 22,44 | 23,91 |
| 19 | 5,33 | 6,08 | 6,84 | 7,61 | 8,38 | 9,18 | 9,91 | 10,69 | 11,54 | 12,30 | 13,03 | 13,70 | 14,36 | 15,09 | 15,90 | 16,68 | 17,42 | 18,23 | 19,00 | 19,94 | 21,11 | 22,33 | 23,70 | 25,25 |
| 20 | 5,59 | 6,39 | 7,18 | 7,99 | 8,81 | 9,65 | 10,41 | 11,24 | 12,14 | 12,94 | 13,71 | 14,41 | 15,11 | 15,88 | 16,73 | 17,55 | 18,33 | 19,19 | 20,00 | 20,99 | 22,23 | 23,51 | 24,95 | 26,59 |
Десятые доли | | | | | | | | | | | | | | | | | | | | | | | | | |
| 0,0 | 0,00 | 0,00 | 0,00 | 0,00 | 0,00 | 0,00 | 0,00 | 0,00 | 0,00 | 0,00 | 0,00 | 0,00 | 0,00 | 0,00 | 0,00 | 0,00 | 0,00 | 0,00 | 0,00 | 0,00 | 0,00 | 0,00 | 0,00 | 0,00 |
| 0,1 | 0,03 | 0,03 | 0,03 | 0,04 | 0,04 | 0,05 | 0,05 | 0,06 | 0,06 | 0,06 | 0,07 | 0,07 | 0,07 | 0,08 | 0,08 | 0,09 | 0,09 | 0,10 | 0,10 | 0,11 | 0,11 | 0,12 | 0,13 | 0,13 |
| 0,2 | 0,05 | 0,06 | 0,07 | 0,08 | 0,09 | 0,09 | 0,10 | 0,11 | 0,12 | 0,13 | 0,14 | 0,14 | 0,15 | 0,16 | 0,17 | 0,17 | 0,18 | 0,19 | 0,20 | 0,21 | 0,22 | 0,24 | 0,25 | 0,27 |
| 0,3 | 0,08 | 0,09 | 0,10 | 0,12 | 0,13 | 0,14 | 0,15 | 0,17 | 0,18 | 0,19 | 0,20 | 0,21 | 0,22 | 0,24 | 0,25 | 0,26 | 0,27 | 0,29 | 0,30 | 0,32 | 0,33 | 0,35 | 0,38 | 0,40 |
| 0,4 | 0,10 | 0,12 | 0,14 | 0,15 | 0,17 | 0,19 | 0,20 | 0,22 | 0,24 | 0,26 | 0,27 | 0,29 | 0,30 | 0,32 | 0,33 | 0,35 | 0,37 | 0,38 | 0,40 | 0,42 | 0,45 | 0,47 | 0,50 | 0,54 |
| 0,5 | 0,13 | 0,15 | 0,17 | 0,19 | 0,21 | 0,23 | 0,25 | 0,28 | 0,30 | 0,32 | 0,34 | 0,36 | 0,37 | 0,39 | 0,42 | 0,44 | 0,46 | 0,48 | 0,50 | 0,53 | 0,56 | 0,59 | 0,63 | 0,67 |
| 0,6 | 0,16 | 0,18 | 021 | 0,23 | 0,26 | 0,28 | 0,31 | 0,33 | 0,36 | 0,38 | 0,41 | 0,43 | 0,45 | 0,47 | 0,50 | 0,52 | 0,55 | 0,58 | 0,60 | 0,63 | 0,67 | 0,71 | 0,73 | 0,80 |
| 0,7 | 0,16 | 0,21 | 0,24 | 0,27 | 0,30 | 0,33 | 0,36 | 0,39 | 0,42 | 0,45 | 0,47 | 0,50 | 0,52 | 0,55 | 0,58 | 0,61 | 0,64 | 0,67 | 0,70 | 0,74 | 0,78 | 0,83 | 0,88 | 0,94 |
| 0,8 | 0,21 | 0,24 | 0,27 | 0,31 | 0,34 | 0,38 | 0,41 | 0,44 | 0,48 | 0,51 | 0,54 | 0,57 | 0,60 | 0,63 | 0,67 | 0,70 | 0,73 | 0,77 | 0,80 | 0,84 | 0,89 | 0,94 | 1,00 | 1,07 |
| 0,9 | 0,24 | 0,27 | 0,31 | 0,35 | 0,38 | 0,42 | 0,46 | 0,50 | 0,54 | 0,57 | 0,61 | 0,64 | 0,67 | 0,71 | 0,75 | 0,79 | 0,82 | 0,86 | 0,90 | 0,95 | 1,00 | 1,06 | 1,13 | 1,20 |
X3.2 Таблица X3.2 может применяться для определения скорректированных потерь, исходя из измеренных потерь и барометрического давления в миллиметрах ртутного столба.
Таблица X3.2
Скорректированные потери на основе наблюдаемых потерь
и барометрического давления, мм рт. ст.
Барометрическое давление, кПа | | | | | | | | | | | | | | | | | | | | | | |
| От | 571 | 607 | 634 | 655 | 672 | 686 | 698 | 706 | 716 | 723 | 729 | 734 | 738 | 742 | 746 | 750 | 753 | 756 | 759 | 762 | 765 | 768 | 771 | 774 |
| До | 606 | 633 | 654 | 671 | 685 | 697 | 705 | 715 | 722 | 728 | 733 | 737 | 741 | 745 | 749 | 752 | 755 | 758 | 761 | 764 | 767 | 770 | 773 | 776 |
Измеренные потери | скорректированные потери  |
Единицы | | | | | | | | | | | | | | | | | | | | | | | | | |
| 0 | 0,37 | 0,35 | 0,33 | 0,31 | 0,29 | 0,27 | 0,25 | 0,23 | 0,20 | 0,18 | 0,16 | 0,14 | 0,13 | 0,11 | 0,09 | 0,07 | 0,05 | 0,02 | -0,00 | -0,03 | -0,06 | -0,09 | -0,13 | -0,17 |
| 1 | 0,63 | 0,65 | 0,67 | 0,69 | 0,71 | 0,73 | 0,75 | 0,77 | 0,80 | 0,82 | 0,84 | 0,86 | 0,87 | 0,89 | 0,91 | 0,93 | 0,95 | 0,98 | 1,00 | 1,03 | 1,06 | 1,09 | 1,13 | 1,17 |
| 2 | 0,89 | 0,95 | 1,01 | 1,07 | 1,14 | 1,20 | 1,26 | 1,32 | 1,39 | 1,45 | 1,51 | 1,57 | 1,62 | 1,68 | 1,74 | 1,80 | 1,86 | 1,93 | 2,00 | 2,08 | 2,17 | 2,27 | 2,38 | 2,50 |
| 3 | 1,15 | 1,25 | 1,36 | 1,46 | 1,56 | 1,67 | 1,77 | 1,87 | 1,99 | 2,09 | 2,19 | 2,28 | 2,36 | 2,46 | 2,57 | 2,67 | 2,77 | 2,88 | 3,00 | 3,13 | 3,28 | 3,44 | 3,63 | 3,83 |
| 4 | 1,41 | 1,55 | 1,70 | 1,84 | 1,99 | 2,14 | 2,27 | 2,42 | 2,58 | 2,72 | 2,86 | 2,99 | 3,11 | 3,25 | 3,40 | 3,54 | 3,68 | 3,83 | 4,00 | 4,19 | 4,39 | 4,62 | 4,88 | 5,17 |
| 5 | 1,67 | 1,86 | 2,04 | 2,22 | 2,41 | 2,61 | 2,78 | 2,97 | 3,18 | 3,36 | 3,54 | 3,70 | 3,86 | 4,03 | 4,23 | 4,41 | 4,59 | 4,79 | 5,00 | 5,24 | 5,50 | 5,80 | 6,13 | 6,50 |
| 6 | 1,93 | 2,16 | 2,38 | 2,61 | 2,84 | 3,07 | 3,29 | 3,52 | 3,77 | 3,99 | 4,21 | 4,41 | 4,60 | 4,82 | 5,05 | 5,28 | 5,50 | 5,74 | 6,00 | 6,29 | 6,61 | 6,97 | 7,38 | 7,84 |
| 7 | 2,19 | 2,46 | 2,72 | 2,99 | 3,26 | 3,54 | 3,79 | 4,07 | 4,36 | 4,63 | 4,88 | 5,12 | 5,35 | 5,60 | 5,88 | 6,15 | 6,41 | 6,69 | 7,00 | 7,34 | 7,72 | 8,15 | 8,63 | 9,17 |
| 8 | 2,46 | 2,76 | 3,07 | 3,37 | 3,69 | 4,01 | 4,30 | 4,62 | 4,96 | 5,27 | 5,56 | 5,83 | 6,09 | 6,38 | 6,71 | 7,02 | 7,32 | 7,64 | 8,00 | 8,40 | 8,84 | 9,33 | 9,88 | 10,50 |
| 9 | 2,72 | 3,06 | 3,41 | 3,76 | 4,11 | 4,48 | 4,81 | 5,17 | 5,55 | 5,90 | 6,23 | 6,54 | 6,84 | 7,17 | 7,54 | 7,89 | 8,23 | 8,60 | 9,00 | 9,45 | 9,95 | 10,50 | 11,13 | 11,84 |
| 10 | 2,98 | 3,36 | 3,75 | 4,14 | 4,54 | 4,94 | 5,31 | 5,71 | 6,15 | 6,54 | 6,91 | 7,25 | 7,58 | 7,95 | 8,37 | 8,76 | 9,14 | 9,55 | 10,00 | 10,50 | 11,06 | 11,68 | 12,38 | 13,17 |
| 11 | 3,24 | 3,66 | 4,09 | 4,52 | 4,96 | 5,41 | 5,82 | 6,26 | 6,74 | 7,17 | 7,58 | 7,96 | 8,33 | 8,74 | 9,19 | 9,63 | 10,05 | 10,50 | 11,00 | 11,56 | 12,17 | 12,86 | 13,63 | 14,51 |
| 12 | 3,50 | 3,96 | 4,43 | 4,91 | 5,39 | 5,88 | 6,33 | 6,81 | 7,34 | 7,81 | 8,26 | 8,67 | 9,07 | 9,52 | 10,02 | 10,50 | 10,96 | 11,46 | 12,00 | 12,61 | 13,28 | 14,03 | 14,88 | 15,84 |
| 13 | 3,76 | 4,27 | 4,78 | 5,29 | 5,81 | 6,35 | 6,83 | 7,36 | 7,93 | 8,44 | 8,93 | 9,38 | 9,82 | 10,31 | 10,85 | 11,37 | 11,87 | 12,41 | 13,00 | 13,66 | 14,39 | 15,21 | 16,13 | 17,17 |
| 14 | 4,02 | 4,57 | 5,12 | 5,67 | 6,24 | 6,82 | 7,34 | 7,91 | 8,53 | 9,08 | 9,61 | 10,09 | 10,57 | 11,09 | 11,68 | 12,24 | 12,78 | 13,36 | 14,00 | 14,71 | 15,51 | 16,39 | 17,38 | 18,51 |
| 15 | 4,28 | 4,87 | 5,46 | 6,06 | 6,66 | 7,28 | 7,85 | 8,46 | 9,12 | 9,71 | 10,28 | 10,80 | 11,31 | 11,88 | 12,51 | 13,11 | 13,68 | 14,31 | 15,00 | 15,77 | 16,62 | 17,57 | 18,63 | 19,84 |
| 16 | 4,54 | 5,17 | 5,80 | 6,44 | 7,09 | 7,75 | 8,35 | 9,01 | 9,72 | 10,35 | 10,95 | 11,51 | 12,06 | 12,66 | 13,33 | 13,98 | 14,59 | 15,27 | 16,00 | 16,82 | 17,73 | 18,74 | 19,88 | 21,18 |
| 17 | 4,80 | 5,47 | 6,14 | 6,82 | 7,51 | 8,22 | 8,86 | 9,56 | 10,31 | 10,98 | 11,63 | 12,22 | 12,80 | 13,45 | 14,16 | 14,85 | 15,50 | 16,22 | 17,00 | 17,87 | 18,84 | 19,92 | 21,13 | 22,51 |
| 18 | 5,06 | 5,77 | 6,49 | 7,21 | 7,94 | 8,69 | 9,37 | 10,11 | 10,91 | 11,62 | 12,30 | 12,93 | 13,55 | 14,23 | 14,99 | 15,72 | 16,41 | 17,17 | 18,00 | 18,93 | 19,95 | 21,10 | 22,38 | 23,84 |
| 19 | 5,32 | 6,07 | 6,83 | 7,59 | 8,36 | 9,15 | 9,88 | 10,65 | 11,50 | 12,25 | 12,98 | 13,64 | 14,29 | 15,02 | 15,82 | 16,59 | 17,32 | 18,12 | 19,01 | 19,98 | 21,06 | 22,27 | 23,64 | 25,18 |
| 20 | 5,58 | 6,37 | 7,17 | 7,97 | 8,79 | 9,62 | 10,38 | 11,20 | 12,09 | 12,89 | 13,65 | 14,35 | 15,04 | 15,80 | 16,64 | 17,46 | 18,23 | 19,08 | 20,01 | 21,03 | 22,17 | 23,45 | 24,89 | 26,51 |
Десятые доли | | | | | | | | | | | | | | | | | | | | | | | | | |
| 0,0 | 0,00 | 0,00 | 0,00 | 0,00 | 0,00 | 0,00 | 0,00 | 0,00 | 0,00 | 0,00 | 0,00 | 0,00 | 0,00 | 0,00 | 0,00 | 0,00 | 0,00 | 0,00 | 0,00 | 0,00 | 0,00 | 0,00 | 0,00 | 0,00 |
| 0,1 | 0,03 | 0,03 | 0,03 | 0,04 | 0,04 | 0,05 | 0,05 | 0,05 | 0,06 | 0,06 | 0,07 | 0,07 | 0,07 | 0,08 | 0,08 | 0,09 | 0,09 | 0,10 | 0,10 | 0,11 | 0,11 | 0,12 | 0,13 | 0,13 |
| 0,2 | 0,05 | 0,06 | 0,07 | 0,08 | 0,08 | 0,09 | 0,10 | 0,11 | 0,12 | 0,13 | 0,13 | 0,14 | 0,15 | 0,16 | 0,17 | 0,17 | 0,18 | 0,19 | 0,20 | 0,21 | 0,22 | 0,24 | 0,25 | 0,27 |
| 0,3 | 0,08 | 0,09 | 0,10 | 0,11 | 0,13 | 0,14 | 0,15 | 0,16 | 0,18 | 0,19 | 0,20 | 0,21 | 0,22 | 0,24 | 0,25 | 0,26 | 0,27 | 0,29 | 0,30 | 0,32 | 0,33 | 0,35 | 0,38 | 0,40 |
| 0,4 | 0,10 | 0,12 | 0,14 | 0,15 | 0,17 | 0,19 | 0,20 | 0,22 | 0,24 | 0,25 | 0,27 | 0,28 | 0,30 | 0,31 | 0,33 | 0,35 | 0,36 | 0,38 | 0,40 | 0,42 | 0,44 | 0,47 | 0,50 | 0,53 |
| 0,5 | 0,13 | 0,15 | 0,17 | 0,19 | 0,21 | 0,23 | 0,25 | 0,27 | 0,30 | 0,32 | 0,34 | 0,36 | 0,37 | 0,39 | 0,41 | 0,43 | 0,45 | 0,48 | 0,50 | 0,53 | 0,56 | 0,59 | 0,63 | 0,67 |
| 0,6 | 0,16 | 0,18 | 0,21 | 0,23 | 0,25 | 0,28 | 0,30 | 0,33 | 0,36 | 0,38 | 0,40 | 0,43 | 0,45 | 0,47 | 0,50 | 0,52 | 0,55 | 0,57 | 0,60 | 0,63 | 0,67 | 0,71 | 0,75 | 0,80 |
| 0,7 | 0,18 | 0,21 | 0,24 | 0,27 | 0,30 | 0,33 | 0,35 | 0,38 | 0,42 | 0,44 | 0,47 | 0,50 | 0,52 | 0,55 | 0,58 | 0,61 | 0,64 | 0,67 | 0,70 | 0,74 | 0,78 | 0,82 | 0,88 | 0,93 |
| 0,8 | 0,21 | 0,24 | 0,27 | 0,31 | 0,34 | 0,37 | 0,41 | 0,44 | 0,48 | 0,51 | 0,54 | 0,57 | 0,60 | 0,63 | 0,66 | 0,70 | 0,73 | 0,76 | 0,80 | 0,84 | 0,89 | 0,94 | 1,00 | 1,07 |
| 0,9 | 0,23 | 0,27 | 0,31 | 0,34 | 0,38 | 0,42 | 0,46 | 0,49 | 0,54 | 0,57 | 0,61 | 0,64 | 0,67 | 0,71 | 0,75 | 0,78 | 0,82 | 0,86 | 0,90 | 0,95 | 1,00 | 1,06 | 1,13 | 1,20 |
X4 ПРОЦЕДУРА ВВЕДЕНИЯ ПОПРАВКИ НА ВЫСТУПАЮЩИЙ СТОЛБИК
РТУТНОГО СТЕКЛЯННОГО ТЕРМОМЕТРА
X4.1 Когда используют электронный или другой датчик без поправки на выступающий столбик, то в выходные данные этого датчика или связанной системы данных должны быть введены выходные данные ртутного стеклянного термометра.
Усредненные уравнения, приведенные в
X4.2 и
X4.3 и основанные на информации, представленной четырьмя изготовителями автоматического оборудования для метода испытания АСТМ Д 86, даны для применения.
X4.1.1 Уравнения, приведенные в
X4.2, имеют ограниченное применение и представлены только для информации.
Дополнительно к корректировке на выступающий столбик ртути, электронный датчик и связанную с ними систему данных также должны будут вводить поправки на запаздывание во временной характеристике, отмечаемого для ртутных стеклянных термометров.
X4.2 При применении термометра низкотемпературного диапазона поправку на выступающий столбик не следует применять при температуре ниже 20 °C. Выше этой температуры поправку рассчитывают по следующей формуле
ASTM 7C Telr = Tt - 0,000162x·(Tt - 20 °C)2. (X.4.1)
X4.3 При применении термометра высокотемпературного диапазона поправку на выступающий столбик не следует применять при температуре ниже 35 °C. Выше этой температуры поправку рассчитывают по следующей формуле
ASTM 8C Tehr = Tt - 0,000131·x(Tt - 35 °C)2, (X.4.2)
где Telr - температура с введенной поправкой для термометров низкотемпературного диапазона, °C;
Tehr - температура с введенной поправкой для термометров высокотемпературного диапазона, °C;
Tt - истинная температура, °C.
Форма отчета "Процент отгона"
Рисунок X5.1 - Форма отчета по проценту отгона
Форма отчета "Процент выпаривания"
Лаборатория:
Рисунок X5.2 - Форма отчета по проценту выпаривания
(справочное)
СВЕДЕНИЯ О СООТВЕТСТВИИ ССЫЛОЧНЫХ СТАНДАРТОВ ССЫЛОЧНЫМ
НАЦИОНАЛЬНЫМ СТАНДАРТАМ РОССИЙСКОЙ ФЕДЕРАЦИИ (И ДЕЙСТВУЮЩИМ
В ЭТОМ КАЧЕСТВЕ МЕЖГОСУДАРСТВЕННЫМ СТАНДАРТАМ)
Таблица ДА.1
Обозначение ссылочного стандарта | Степень соответствия | Обозначение и наименование соответствующего национального стандарта |
АСТМ Д 97 | - | |
АСТМ Д 323 | - | |
АСТМ Д 4057 | MOD | |
АСТМ Д 4177 | - | |
АСТМ Д 4953 | - | |
АСТМ Д 5190 | - | |
АСТМ Д 5191 | - | |
АСТМ Д 5842 | - | |
АСТМ Д 5949 | - | |
АСТМ Д 5950 | - | |
АСТМ Д 5985 | - | |
АСТМ Д 6300 | - | |
АСТМ Е 1 | - | |
АСТМ Е 77 | - | |
АСТМ Е 1272 | - | |
АСТМ Е 1405 | - | |
IP 69 | - | |
IP 123 | - | |
IP 394 | - | |
IP Стандартные методы анализа и испытания нефтепродуктов и родственных продуктов 1996 г. - Приложение A | - | |
<*> Соответствующий национальный стандарт отсутствует. До его утверждения рекомендуется использовать перевод на русский язык данного стандарта. Перевод данного стандарта находится в Федеральном информационном фонде технических регламентов и стандартов. Примечание - В настоящей таблице использовано следующее условное обозначение степени соответствия стандарта: - MOD - модифицированный стандарт. |
УДК 662.753.1:006.354 | | | |
Ключевые слова: нефтепродукты, метод дистилляции при атмосферном давлении, периодическая дистилляция, дистилляты, дистилляция, лабораторная дистилляция |