
L | B | H | b | ||||
Номин. | Пред. откл. | Номин. | Пред. откл. | Номин. | Пред. откл. | Не менее | Не более |
0,4 | +/- 0,02 | 0,20 | +/- 0,02 | 0,20 | +/- 0,02 | 0,07 | 0,14 |
0,6 | +/- 0,03 | 0,30 | +/- 0,03 | 0,30 | +/- 0,03 | 0,10 | 0,20 |
1,0 | + 0,10 - 0,05 | 0,50 | + 0,10 - 0,05 | 0,35 | +/- 0,05 | 0,10 | 0,30 |
+/- 0,15 | +/- 0,15 | 0,40 | +/- 0,10 | ||||
+/- 0,03 | 1,00 | +/- 0,03 | 1,50 | + 0,20 - 0,10 | |||
1,5 | + 0,40 - 0,20 | 1,20 | +/- 0,10 | 0,90 | +/- 0,10 | 0,20 | 0,40 |
1,6 | +/- 0,20 | 0,80 | +/- 0,15 | 0,40 | +/- 0,20 | 0,20 | 0,40 |
0,60 | 0,10 | 0,30 | |||||
+/- 0,20 | 0,80 | 0,20 | 0,40 | ||||
+ 0,30 - 0,20 | + 0,30 - 0,20 | 1,00 | |||||
2,0 | +/- 0,20 | 1,25 | +/- 0,15 | 0,40 | + 0,20 - 0,10 | 0,30 | 0,50 |
+/- 0,15 | 0,55 | + 0,10 - 0,20 | 0,20 | 0,70 | |||
0,60 | + 0,20 - 0,10 | ||||||
+/- 0,20 | +/- 0,20 | 0,80 | +/- 0,20 | ||||
+ 0,40 - 0,10 | 1,50 | + 0,30 - 0,20 | 1,4 | +/- 0,10 | |||
+ 0,70 - 0,20 | 1,80 | +/- 0,10 | 1,30 | ||||
3,2 | +/- 0,20 | 1,60 | +/- 0,15 | 0,55 | + 0,10 - 0,20 | 0,2 | 0,7 |
0,60 | +/- 0,20 | ||||||
+/- 0,20 | 0,70 | ||||||
+ 0,40 - 0,20 | + 0,40 - 0,20 | 1,00 | 0,10 | 1,00 | |||
+/- 0,40 | +/- 0,20 | 1,40 | 0,20 | 0,70 | |||
+/- 0,20 | 1,60 | 0,80 | |||||
+/- 0,20 | 2,50 | +/- 0,20 | 0,55 | +/- 0,10 | 0,20 | 0,70 | |
+ 0,40 - 0,10 | 2,50 | + 0,30 - 0,20 | 2,30 | +/- 0,20 | 1,00 | ||
4,0 | +/- 0,40 | 1,60 | +/- 0,30 | 1,60 | +/- 0,20 | 0,40 | |
2,00 | 0,07 | +/- 0,10 | 0,20 | ||||
+/- 0,30 | 2,50 | +/- 0,20 | 0,60 | +/- 0,20 | 0,40 | 0,80 | |
+ 0,50 - 0,30 | 2,70 | 1,40 | 0,50 | 1,00 | |||
2,20 | |||||||
+/- 0,40 | 2,80 | +/- 0,30 | 1,60 | 0,20 | |||
4,6 | +/- 0,20 | 3,20 | +/- 0,20 | 0,70 | +/- 0,10 | ||
5,0 | +/- 0,20 | 2,50 | +/- 0,20 | 0,55 | +/- 0,20 | 1,20 | |
0,60 | |||||||
5,5 | + 0,50 - 0,40 | 4,30 | +/- 0,20 | 1,40 | +/- 0,20 | 0,50 | |
2,10 | |||||||
2,60 | |||||||
5,6 | +/- 0,50 | 3,60 | +/- 0,40 | 2,00 | +/- 0,30 | 0,20 | |
2,20 | +/- 0,40 | ||||||
5,7 | +/- 0,40 | 5,00 | 2,00 | +/- 0,30 | |||
6,3 | +/- 0,30 | 3,20 | +/- 0,20 | 0,55 | +/- 0,20 | ||
6,4 | +/- 0,20 | 0,60 | |||||
7,1 | +/- 0,50 | 4,00 | +/- 0,40 | 3,00 | +/- 0,20 | 1,00 | 1,50 |
3,20 | +/- 0,40 | ||||||
8,0 | + 0,70 - 0,50 | 6,40 | +/- 0,20 | 1,40 | +/- 0,20 | ||
2,10 | 2,00 | ||||||
2,60 | 2,00 | ||||||
+/- 0,50 | 6,60 | +/- 0,20 | 2,20 | +/- 0,20 | 0,50 | 1,50 | |
8,5 | +/- 0,50 | 4,00 | +/- 0,40 | 3,20 | +/- 0,30 | 1,00 | 1,50 |
10,0 | + 1,50 - 0,60 | 8,00 | + 0,90 - 0,50 | 2,00 | +/- 0,30 | 0,50 | 1,50 |
+ 1,20 - 0,60 | 8,70 | +/- 0,20 | 2,30 | +/- 0,20 | 3,00 | ||
+ 1,20 - 0,60 | 8,80 | +/- 0,10 | 2,90 | +/- 0,10 | 1,00 | ||
12,0 | + 1,50 - 0,70 | 10,00 | +/- 0,10 | 2,40 | +/- 0,10 | 1,0 | 3,0 |
2,90 | |||||||
+ 1,00 - 0,06 | 4,40 | 0,5 | |||||
16,0 | + 2,00 - 0,80 | 14,00 | 1,50 - 0,70 | 5,50 | +/- 0,30 | 0,5 | 2,0 |

L | b | ||||
Не менее | Не более | Не менее | Не более | Не менее | Не более |
1,00 | 1,2 | 0,90 | 1,30 | - | 0,4 |
1,00 | 1,5 | 3,10 | 3,50 | - | 0,4 |
1,55 | 1,7 | 0,95 | 1,15 | 0,3 | 0,5 |
1,90 | 2,1 | 1,15 | 1,45 | 0,3 | 0,5 |
1,90 | 2,2 | 1,00 | 1,10 | 0,3 | 0,5 |
2,90 | 4,5 | 1,90 | 2,30 | 0,5 | 1,5 |
3,00 | 3,4 | 1,40 | 1,60 | 0,3 | 0,5 |
3,30 | 3,7 | 1,50 | 1,70 | 0,3 | 0,5 |
4,80 | 5,2 | 2,30 | 2,50 | 0,3 | 0,4 |
5,00 | 5,4 | 3,10 | 3,50 | 0,3 | 0,5 |
5,00 | 5,4 | 4,10 | 4,50 | 0,3 | 0,5 |
5,60 | 6,0 | 3,10 | 3,50 | 0,3 | 0,5 |
5,70 | 6,1 | 2,00 | 2,50 | 0,7 | 1,0 |

L | B | H | b | l | |||||
Номин. | Пред. откл. | Номин. | Пред. откл. | Номин. | Пред. откл. | Номин. | Пред. откл. | Номин. | Пред. откл. |
3,2 | +/- 0,2 | 1,6 | +/- 0,2 | 1,0; 1,2; 1,6 | +/- 0,2 | 0,8 | +/- 0,3 | 1,2 | +/- 0,10 |
+/- 0,3 | 2,5 | +/- 0,3 | 2,0 | +/- 0,1 | 0,5 | +/- 0,2 | 2,0 | ||
3,5 | +/- 0,2 | 2,8 | +/- 0,2 | 1,9 | +/- 0,2 | 0,5 | +/- 0,3 | 2,2 | |
3,6 | 1,0; 1,2; 1,6; 1,8; 2,0 | 0,7 | +/- 0,2 | 2,0 | |||||
4,5 | 3,2 | 3,2 | 0,6 | 2,6 | |||||
6,0 | +/- 0,3 | +/- 0,3 | 1,6; 1,8; 2,0; 2,5 | +/- 0,3 | 1,3 | +/- 0,3 | 2,2 | ||
6,3 | 2,0 | ||||||||
7,1 | 4,5 | 1,8; 2,0; 2,5; 2,8; 4,0 | 3,0 | ||||||
7,1 | +/- 0,5 | 6,3 | +/- 0,5 | 2,0; 2,5; 2,8; 3,2; 4,0; 5,0 | +/- 0,3 | 1,5 | +/- 0,5 | 4,0 | +/- 0,15 |
7,3 | +/- 0,3 | 4,3 | +/- 0,3 | 1,8; 2,0; 2,5; 2,8; 4,0 | +/- 0,3 | 1,3 | +/- 0,3 | 2,4 | +/- 0,10 |
10,0 | +/- 0,5 | 8,0 | +/- 0,5 | 2,5; 2,8; 3,2; 4,0; 5,0 | +/- 0,5 | 1,5 | +/- 0,5 | 5,0 | +/- 0,15 |
12,0 | 4 | +/- 0,4 | |||||||
15 | 5 | ||||||||
10 | 6 | 7 | |||||||

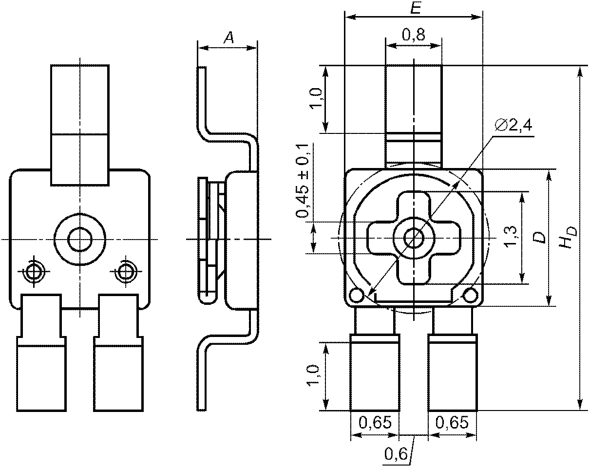
Обозначение размера | Значение размера | ||
Не менее | Номин. | Не более | |
A | 1,40 | - | 1,60 |
b | 0,35 | - | 0,48 |
b1 | 0,40 | - | 0,55 |
c | 0,37 | - | 0,44 |
D | 4,40 | - | 4,60 |
E | 2,40 | - | 2,60 |
e | - | 1,5 | - |
e1 | - | 3,0 | - |
HE | 3,75 | - | 4,25 |
LE | 0,70 | - | 1,20 |
z | 0,70 | - | 0,90 |

Обозначение размера | Значение размера | ||
Не менее | Номин. | Не более | |
A | 2,30 | - | 2,80 |
A3 | - | 0,3 | - |
b | 0,65 | - | 0,88 |
c | 0,45 | - | 0,60 |
D | 7,20 | - | 7,80 |
E | 10,50 | - | 11,10 |
e | - | 2,3 | - |
LA | 5,30 | - | 5,90 |
Lp | 1,80 | - | 2,00 |

Обозначение размера | Типоразмер | |||||
1 | 2 | |||||
Не менее | Номин. | Не более | Не менее | Номин. | Не более | |
A | 1,00 | 1,10 | 1,30 | - | - | 1,35 |
A1 | - | - | - | - | 0,10 | - |
A2 | 1,00 | 1,10 | 1,30 | - | - | 1,25 |
A3 | - | 0,05 | - | - | - | - |
D | - | 2,70 | - | 2,55 | 2,70 | 2,85 |
HD | - | - | 3,50 | 3,55 | 3,70 | 3,85 |
E | 1,50 | 1,60 | 1,80 | 1,40 | 1,55 | 1,70 |
b | - | 0,55 | - | 0,45 | 0,55 | 0,65 |
c | 0,16 | 0,67 | 0,26 | 0,10 | 0,55 | 0,20 |

HD | E | A | l | b | Q | ||||
Номин. | Пред. откл. | Номин. | Пред. откл. | Номин. | Пред. откл. | Номин. | Пред. откл. | Не более | Номин. |
3,2 | + 0,2 - 0,3 | 1,6 | +/- 0,2 | 1,6 | +/- 0,2 | 1,2 | +/- 0,1 | 1,9 | 0,7 |
3,5 | +/- 0,2 | 2,8 | 1,9 | 2,2 | |||||
5,8 | 4,6 | 3,2 | 1,0 | ||||||
6,0 | +/- 0,3 | 3,2 | 2,5 | ||||||
7,3 | 4,3 | +/- 0,3 | 2,8 | +/- 0,3 | 2,4 | ||||
4,0 | |||||||||

Обозначение размера | Типоразмер | ||||||||
1 | 2 | 3 | |||||||
Не менее | Номин. | Не более | Не менее | Номин. | Не более | Не менее | Номин. | Не более | |
A | 0,85 | - | 1,10 | 0,60 | - | 0,95 | 0,9 | - | 1,45 |
A1 | 0,10 | - | 0,20 | 0,00 | - | 0,10 | 0,0 | - | 0,15 |
A2 | 0,65 | - | 0,95 | 0,60 | - | 0,85 | 0,9 | - | 1,30 |
D | 2,80 | - | 3,00 | 1,40 | - | 1,80 | 2,7 | - | 3,10 |
E | 1,20 | - | 1,40 | 0,70 | - | 0,90 | 1,3 | - | 1,75 |
HE | 2,10 | - | 2,50 | 1,40 | - | 1,80 | 2,2 | - | 3,00 |
b | 0,38 | - | 0,46 | 0,15 | - | 0,30 | 0,3 | - | 0,50 |
c | 0,09 | - | 0,15 | 0,10 | - | 0,25 | 0,1 | - | 0,26 |
LA | 0,40 | - | 0,60 | - | - | - | - | - | - |
e | - | 0,95 | - | - | 0,5 | - | - | 0,95 | - |
Q1 | 0,50 | - | 0,65 | 0,10 | - | - | 0,20 | - | 1,75 |
Lp | - | - | - | 0,20 | - | 0,55 | 0,20 | - | 0,75 |
Обозначение размера | Типоразмер | ||||||||
4 | 5 | 6 | |||||||
Не менее | Номин. | Не более | Не менее | Номин. | Не более | Не менее | Номин. | Не более | |
A | - | - | 1,10 | - | - | 1,10 | - | - | 1,00 |
A1 | - | 0,10 | - | - | - | 0,10 | 0,10 | - | - |
A2 | 0,8 | - | - | - | - | - | - | - | - |
D | 1,8 | - | 2,20 | 2,8 | - | 3,00 | 1,80 | - | 2,20 |
E | 1,1 | - | 1,35 | 1,2 | - | 1,40 | 1,24 | - | 1,26 |
HE | 1,8 | - | 2,40 | - | 2,50 | 2,00 | - | 2,20 | |
b | 0,2 | - | 0,40 | 0,48 | - | 0,49 | 0,20 | - | 0,40 |
c | 0,1 | - | 0,26 | 0,09 | - | 0,15 | 0,10 | - | 0,25 |
LA | - | - | - | - | - | - | - | - | - |
e | - | 0,65 | - | - | 0,95 | - | - | 0,65 | - |
Q1 | - | - | - | - | - | - | - | 0,20 | - |
Lp | 0,10 | - | - | - | - | - | 0,10 | - | 0,30 |

Обозначение размера | Типоразмер | |||||||||||
1 | 2 | 3 | 4 | |||||||||
Не менее | Номин. | Не более | Не менее | Номин. | Не более | Не менее | Номин. | Не более | Не менее | Номин. | Не более | |
A | 0,85 | - | 1,10 | 0,80 | - | 1,10 | 0,80 | - | 1,10 | - | - | 1,10 |
A1 | 0,10 | - | 0,20 | 0,00 | - | 0,15 | 0,00 | - | 0,15 | - | - | 0,10 |
A2 | 0,65 | - | 0,95 | 0,80 | - | 1,00 | 0,80 | - | 1,00 | - | - | - |
D | 2,80 | - | 3,00 | 1,80 | 2,00 | 2,20 | 1,80 | 2,00 | 2,20 | 2,80 | - | 3,00 |
E | 1,20 | - | 1,40 | 1,15 | 1,25 | 1,35 | 1,15 | 1,25 | 1,35 | 1,20 | - | 1,40 |
HE | 2,10 | - | 2,50 | 1,80 | 2,10 | 2,40 | 1,80 | 2,10 | 2,40 | - | - | 2,50 |
b | 0,38 | - | 0,46 | 0,15 | 0,20 | 0,30 | 0,15 | 0,20 | 0,30 | 0,38 | - | 0,48 |
b1 | 0,77 | - | 0,83 | - | - | - | 0,25 | 0,30 | 0,40 | 0,78 | - | 0,88 |
c | 0,09 | - | 0,15 | 0,10 | - | 0,26 | 0,10 | - | 0,26 | 0,09 | - | 0,15 |
LA | 0,40 | - | 0,60 | - | - | - | - | - | - | - | - | - |
Q1 | 0,50 | - | 0,65 | 0,10 | - | 0,40 | 0,10 | - | 0,40 | - | - | - |
e | - | 1,9 | - | - | 1,30 | - | - | 1,30 | - | - | 1,8 | - |
e1 | - | 1,7 | - | - | 1,30 | - | - | 1,25 | - | - | 1,7 | - |
Lp | - | - | - | 0,20 | - | 0,55 | 0,20 | - | 0,55 | - | - | - |

Обозначение размера | Значение размера | ||
Не менее | Номин. | Не более | |
A | 0,80 | - | 1,10 |
A1 | 0,00 | - | 0,15 |
A2 | 0,80 | - | 1,00 |
A3 | - | 0,25 | - |
D | 1,80 | 2,00 | 2,20 |
E | 1,15 | 1,25 | 1,35 |
HE | 1,80 | 2,10 | 2,40 |
Q1 | 0,10 | - | 0,40 |
b | 0,15 | - | 0,30 |
c | 0,10 | - | 0,25 |
Lp | 0,20 | - | 0,55 |

Обозначение размера | Значение размера | ||
Не менее | Номин. | Не более | |
A1 | 0,10 | - | 0,30 |
A3 | - | 0,30 | - |
b | 0,25 | - | 0,50 |
c | 0,10 | - | 0,35 |
e | - | 1,25 | - |
Число выводов n | Значение размера | ||||||||
A | A2 | D | E | e1 | |||||
Не менее | Не более | Не менее | Не более | Не менее | Не более | Не менее | Не более | Номин. | |
8 | 1,35 | 2,00 | 1,25 | 1,90 (1,80) | 4,64 | 5,08 | 3,80 (3,7) | 4,20 | 5,72 |
14 | 8,39 | 8,89 | |||||||
16 | 9,64 | 10,16 | |||||||
16 | - | 2,00 | 1,35 | 1,75 | 9,64 | 10,00 | 4,70 | 5,00 | - |
8 | - | 2,54 | 1,60 | 2,00 | 5,00 | 5,40 | 4,45 | 4,65 | 5,72 |
14 | - | 8,80 | 9,20 | ||||||
8 | - | 5,20 | 5,60 | 5,60 | 5,80 | 7,62 | |||
14 | - | 8,80 | 9,20 | ||||||
16 | - | 10,10 | 10,50 | ||||||
18 | - | 11,25 | 11,75 | ||||||
20 | - | 12,60 | 13,00 | ||||||
20 | 2,35 | 2,65 | 2,25 | 2,45 | 12,60 | 13,00 | 7,40 | 7,60 | 9,53 |
24 | 15,20 | 15,60 | |||||||
24 | - | 3,05 | 2,40 | 2,65 | 15,20 | 15,60 | 8,60 | 8,90 | 11,43 |
28 | - | 17,70 | 18,10 | ||||||
Число выводов n | Значение размера | ||||||||
HE | LA | Lp | Q1 | z | |||||
Не менее | Не более | Не менее | Не более | Не менее | Не более | Не менее | Не более | Не более | |
8 | 5,5 | 6,7 | 0,85 | 1,25 | 0,3 | 0,6 | 0,60 | 0,85 (1,00) | 0,70 |
14 | |||||||||
16 | |||||||||
16 | 6,7 | 7,3 | - | 1,25 | 0,3 | - | 0,60 | 1,25 | 0,70 |
8 | 6,1 | 6,8 | - | 1,20 | 0,3 | 1,1 | 0,60 | 1,00 | 0,88 |
14 | |||||||||
8 | 7,4 | 8,2 | - | 1,30 | 0,6 | 1,25 | 0,60 | 1,25 | 0,90 |
14 | |||||||||
16 | |||||||||
18 | |||||||||
20 | |||||||||
20 | 10,1 | 10,7 | - | 1,65 | 0,3 | 1,40 | 1,00 | 1,10 | 0,93 |
24 | |||||||||
24 | 11,5 | 12,7 | - | 2,00 | 0,5 | 1,40 | 0,85 | 1,50 | 0,93 |
28 | |||||||||

Обозначение размера | Значение размера | ||
Не менее | Номин. | Не более | |
A | - | - | 3,700 |
A1 | 0 | 0,05 | 0,100 |
A2 | 3,00 | - | 3,400 |
A3 | - | 0,35 | - |
E | - | 11,00 | - |
HE | - | 14,20 | - |
e1 | - | 13,50 | - |
LA | - | 1,60 | - |
Lp | 0,80 | - | 1,100 |
z | - | - | 2,235 |
c | 0,23 | 0,25 | 0,32 |
Обозначение числа выводов и размера | Типоразмер | |||||||||||
1 | 2 | 3 | 4 | |||||||||
Не менее | Номин. | Не более | Не менее | Номин. | Не более | Не менее | Номин. | Не более | Не менее | Номин. | Не более | |
n | 10 | 14 | 20 | 24 | ||||||||
b | 0,40 | - | 0,53 | 0,4 | - | 0,53 | 0,40 | - | 0,53 | 0,40 | - | 0,53 |
D | 9,45 | 9,55 | 9,65 | 12,0 | 12,10 | 12,2 | 15,80 | 15,90 | 16,00 | 15,80 | 15,90 | 16,00 |
e | - | 1,27 | - | - | 1,27 | - | - | 1,27 | - | - | 1,00 | - |
Обозначение числа выводов и размера | Типоразмер | ||||||||
5 | 6 | 7 | |||||||
Не менее | Номин. | Не более | Не менее | Номин. | Не более | Не менее | Номин. | Не более | |
n | 30 | 36 | 44 | ||||||
b | 0,35 | - | 0,48 | 0,25 | - | 0,38 | 0,25 | - | 0,38 |
D | 15,80 | 15,9 | 16,00 | 15,80 | 15,90 | 16,00 | 19,60 | 19,70 | 19,80 |
e | - | 0,8 | - | - | 0,65 | - | - | 0,65 | - |

Обозначение размера | Типоразмер с шагом 0,65 | Типоразмер с шагом 0,50 | Типоразмер с шагом 0,40 | ||||||
Не менее | Номин. | Не более | Не менее | Номин. | Не более | Не менее | Номин. | Не более | |
A | - | - | 1,20 | - | - | 1,20 | - | - | 1,20 |
A1 | 0,05 | - | 0,15 | 0,05 | - | 0,15 | 0,05 | - | 0,15 |
A2 | 0,80 | 1,00 | 1,05 | 0,80 | 1,00 | 1,05 | 0,80 | 1,00 | 1,05 |
A3 | - | 0,25 | - | - | 0,25 | - | - | 0,25 | - |
b | 0,19 | - | 0,30 | 0,17 | - | 0,27 | 0,13 | - | 0,23 |
e | - | 0,65 | - | - | 0,50 | - | - | 0,40 | - |
LA | - | 1,00 | - | - | 1,00 | - | - | 1,00 | - |
Lp | 0,45 | 0,60 | 0,75 | 0,45 | 0,60 | 0,75 | 0,45 | 0,60 | 0,75 |
c | 0,09 | - | 0,20 | 0,09 | - | 0,20 | 0,09 | - | 0,20 |
Число выводов и размер | Типоразмер с шагом 0,65 | |||||||||
1 | 2 | 3 | 4 | 5 | 6 | 7 | 8 | 9 | ||
n | 8 | 14 | 16 | 20 | 24 | 28 | 24 | 28 | 30 | |
D | Не менее | 2,90 | 4,90 | 4,90 | 6,40 | 7,70 | 9,60 | 7,70 | 9,60 | 9,60 |
Номин. | 3,00 | 5,00 | 5,00 | 6,50 | 7,80 | 9,70 | 7,80 | 9,70 | 9,70 | |
Не более | 3,10 | 5,10 | 5,10 | 6,60 | 7,90 | 9,80 | 7,90 | 9,80 | 9,80 | |
E | Не менее | 4,30 | 6,00 | |||||||
Номин. | 4,40 | 6,10 | ||||||||
Не более | 4,50 | 6,20 | ||||||||
HE | Не менее | 6,00 | 7,70 | |||||||
Номин. | 6,40 | 8,10 | ||||||||
Не более | 6,80 | 8,50 | ||||||||
z | Не более | 0,62 | 0,65 | 0,32 | 0,42 | 0,42 | 0,72 | 0,42 | 0,72 | 0,40 |
Число выводов и размер | Типоразмер с шагом 0,65 | ||||||||
10 | 11 | 12 | 13 | 14 | 15 | 16 | 17 | ||
n | 32 | 36 | 38 | 40 | 28 | 32 | 36 | 40 | |
D | Не менее | 10,90 | 12,40 | 12,40 | 13,90 | 9,60 | 10,90 | 12,40 | 13,90 |
Номин. | 11,00 | 12,50 | 12,50 | 14,00 | 9,70 | 11,00 | 12,50 | 14,00 | |
Не более | 11,10 | 12,60 | 12,60 | 14,10 | 9,80 | 11,10 | 12,60 | 14,10 | |
E | Не менее | 6,00 | 7,90 | ||||||
Номин. | 6,10 | 8,00 | |||||||
Не более | 6,20 | 8,10 | |||||||
HE | Не менее | 7,70 | 9,60 | ||||||
Номин. | 8,10 | 10,00 | |||||||
Не более | 8,50 | 10,40 | |||||||
z | Не более | 0,72 | 0,82 | 0,50 | 0,92 | 0,72 | 0,72 | 0,82 | 0,92 |
Число выводов и размер | Типоразмер с шагом 0,50 | ||||||||||
18 | 19 | 20 | 21 | 22 | 23 | 24 | 25 | 26 | 27 | ||
n | 20 | 24 | 28 | 30 | 36 | 38 | 44 | 50 | 28 | 36 | |
D | Не менее | 4,90 | 6,40 | 7,70 | 7,70 | 9,60 | 9,60 | 10,90 | 12,40 | 7,70 | 9,60 |
Номин. | 5,00 | 6,50 | 7,80 | 7,80 | 9,70 | 9,70 | 11,00 | 12,50 | 7,80 | 9,70 | |
Не более | 5,10 | 6,60 | 7,90 | 7,90 | 9,80 | 9,80 | 11,10 | 12,60 | 7,90 | 9,80 | |
E | Не менее | 4,30 | 6,00 | ||||||||
Номин. | 4,40 | 6,10 | |||||||||
Не более | 4,50 | 6,20 | |||||||||
HE | Не менее | 6,00 | 7,70 | ||||||||
Номин. | 6,40 | 8,10 | |||||||||
Не более | 6,80 | 8,50 | |||||||||
z | Не более | 0,34 | 0,59 | 0,74 | 0,49 | 0,69 | 0,44 | 0,34 | 0,34 | 0,74 | 0,69 |
Число выводов и размер | Типоразмер с шагом 0,50 | |||||||||
28 | 29 | 30 | 31 | 32 | 33 | 34 | 35 | 36 | ||
n | 40 | 44 | 48 | 56 | 64 | 36 | 40 | 48 | 56 | |
D | Не менее | 10,90 | 10,90 | 12,40 | 13,90 | 16,90 | 9,60 | 10,90 | 12,40 | 13,90 |
Номин. | 11,00 | 11,00 | 12,50 | 14,00 | 17,00 | 9,70 | 11,00 | 12,50 | 14,00 | |
Не более | 11,10 | 11,10 | 12,60 | 14,10 | 17,10 | 9,80 | 11,10 | 12,60 | 14,10 | |
E | Не менее | 6,00 | 7,90 | |||||||
Номин. | 6,10 | 8,00 | ||||||||
Не более | 6,20 | 8,10 | ||||||||
HE | Не менее | 7,70 | 9,60 | |||||||
Номин. | 8,10 | 10,00 | ||||||||
Не более | 8,50 | 10,40 | ||||||||
z | Не более | 0,84 | 0,34 | 0,59 | 0,34 | 0,84 | 0,69 | 0,84 | 0,59 | 0,34 |
Число выводов и размер | Типоразмер с шагом 0,40 | ||||||||
37 | 38 | 39 | 40 | 41 | 42 | 43 | 44 | ||
n | 24 | 32 | 36 | 48 | 36 | 48 | 52 | 56 | |
D | Не менее | 4,90 | 6,40 | 7,70 | 9,60 | 7,70 | 9,60 | 10,90 | 12,40 |
Номин. | 5,00 | 6,50 | 7,80 | 9,70 | 7,80 | 9,70 | 11,00 | 12,50 | |
Не более | 5,10 | 6,60 | 7,90 | 9,80 | 7,90 | 9,80 | 11,10 | 12,60 | |
E | Не менее | 4,30 | 6,00 | ||||||
Номин. | 4,40 | 6,10 | |||||||
Не более | 4,50 | 6,20 | |||||||
HE | Не менее | 6,00 | 7,70 | ||||||
Номин. | 6,40 | 8,10 | |||||||
Не более | 6,80 | 8,50 | |||||||
z | Не более | 0,38 | 0,34 | 0,58 | 0,34 | 0,58 | 0,34 | 0,58 | 0,94 |
Число выводов и размер | Типоразмер с шагом 0,40 | ||||||||
45 | 46 | 47 | 48 | 49 | 50 | 51 | 52 | ||
n | 64 | 80 | 48 | 52 | 56 | 60 | 64 | 68 | |
D | Не менее | 13,90 | 16,90 | 9,60 | 10,90 | 12,40 | 12,40 | 13,90 | 13,90 |
Номин. | 14,00 | 17,00 | 9,70 | 11,00 | 12,50 | 12,50 | 14,00 | 14,00 | |
Не более | 14,10 | 17,10 | 9,80 | 11,10 | 12,60 | 12,60 | 14,10 | 14,10 | |
E | Не менее | 6,00 | 7,90 | ||||||
Номин. | 6,10 | 8,00 | |||||||
Не более | 6,20 | 8,10 | |||||||
HE | Не менее | 7,70 | 9,60 | ||||||
Номин. | 8,10 | 10,00 | |||||||
Не более | 8,50 | 10,40 | |||||||
z | Не более | 0,88 | 0,78 | 0,34 | 0,58 | 0,94 | 0,54 | 0,88 | 0,48 |

Обозначение размера | Значение размера | ||
Не менее | Номин. | Не более | |
A | 1,8 | - | 2,60 |
A1 | - | - | 0,30 |
A3 | - | 0,3 | - |
c | 0,1 | - | 0,25 |
Lp | 1,0 | - | 1,90 |
Q1 | Не устанавливается | ||
Число выводов | Значение размера | ||||||||||
A2 | b | e | D | E | |||||||
n | nD | nE | Не менее | Не более | Не менее | Не более | Номин. | Не менее | Не более | Не менее | Не более |
48 | 2,0 | 2,4 | 0,30 | 0,50 | 1,00 | 13,3 | 13,6 | 13,3 | 13,6 | ||
48 | 12 | 12 | 2,0 | 2,4 | 0,25 | 0,45 | 0,80 | 11,8 | 12,2 | 11,8 | 12,2 |
56 | 14 | 14 | 1,8 | 2,2 | 0,20 | 0,40 | 0,65 | 10,1 | 10,5 | 9,1 | 9,5 |
64 | 19 | 13 | 2,0 | 2,4 | 0,30 | 0,50 | 1,00 | 19,8 | 20,2 | 13,8 | 14,2 |
100 | 30 | 20 | 2,0 | 2,4 | 0,20 | 0,40 | 0,65 | 19,8 | 20,2 | 13,8 | 14,2 |
Число выводов n | Значение размера | ||||||
HD | HE | LA | ZD | ZE | |||
Не менее | Не более | Не менее | Не более | Номин. | Номин. | Номин. | |
48 | 18,8 | 19,6 | 18,8 | 19,6 | 3,1 | 1,5 | 1,50 |
48 | 16,2 | 17,5 | 16,2 | 17,5 | 2,8 | 1,9 | 1,90 |
56 | 15,1 | 15,9 | 14,1 | 14,9 | 2,9 | 1,2 | 0,75 |
64 | 24,2 | 25,2 | 18,2 | 19,2 | 2,8 | 1,2 | 2,40 |
100 | 24,2 | 25,5 | 18,2 | 19,5 | 2,8 | 0,8 | 1,00 |

Обозначение числа выводов и размера | Типоразмер | |||||||||||
1 | 2 | 3 | 4 | |||||||||
Не менее | Номин. | Не более | Не менее | Номин. | Не более | Не менее | Номин. | Не более | Не менее | Номин. | Не более | |
n | - | 32 | - | - | 40 | - | - | 32 | - | - | 40 | - |
nD | - | 8 | - | - | 10 | - | - | 8 | - | - | 10 | - |
nE | - | 8 | - | - | 10 | - | - | 8 | - | - | 10 | - |
A | - | - | 1,20 | - | - | 1,20 | - | - | 1,20 | - | - | 1,20 |
A1 | 0,05 | - | 0,15 | 0,05 | - | 0,15 | 0,05 | - | 0,15 | 0,05 | - | 0,15 |
A2 | 0,95 | - | - | 0,95 | - | - | 0,95 | - | - | 0,95 | - | - |
A3 | - | 0,25 | - | - | 0,25 | - | - | 0,25 | - | - | 0,25 | - |
b | 0,17 | - | 0,27 | 0,13 | - | 0,23 | 0,30 | - | 0,46 | 0,22 | - | 0,38 |
c | 0,09 | - | 0,20 | 0,09 | - | 0,20 | 0,11 | - | 0,23 | 0,11 | - | 0,23 |
D | - | 5,00 | - | - | 5,00 | - | - | 7,00 | - | - | 7,00 | - |
E | - | 5,00 | - | - | 5,00 | - | - | 7,00 | - | - | 7,00 | - |
e | - | 0,50 | - | - | 0,40 | - | - | 0,80 | - | - | 0,65 | - |
HD | 6,80 | - | 7,20 | 6,80 | - | 7,20 | 8,80 | - | 9,20 | 8,80 | - | 9,20 |
HE | 6,80 | - | 7,20 | 6,80 | - | 7,20 | 8,80 | - | 9,20 | 8,80 | - | 9,20 |
LA | - | 1,00 | - | - | 1,00 | - | - | 1,00 | - | - | 1,00 | - |
Lp | 0,45 | 0,60 | 0,75 | 0,45 | 0,60 | 0,75 | 0,45 | 0,60 | 0,75 | 0,45 | 0,60 | 0,75 |
zD | - | - | 0,85 | - | - | 0,80 | - | - | 0,80 | - | - | 0,68 |
zE | - | - | 0,85 | - | - | 0,80 | - | - | 0,80 | - | - | 0,68 |
Обозначение числа выводов и размера | Типоразмер | |||||||||||
5 | 6 | 7 | 8 | |||||||||
Не менее | Номин. | Не более | Не менее | Номин. | Не более | Не менее | Номин. | Не более | Не менее | Номин. | Не более | |
n | - | 48 | - | - | 64 | - | - | 36 | - | - | 44 | - |
nD | - | 12 | - | - | 16 | - | - | 9 | - | - | 11 | - |
nE | - | 12 | - | - | 16 | - | - | 9 | - | - | 11 | - |
A | - | - | 1,20 | - | - | 1,20 | - | - | 1,20 | - | - | 1,20 |
A1 | 0,05 | - | 0,15 | 0,05 | - | 0,15 | 0,05 | - | 0,15 | 0,05 | - | 0,15 |
A2 | 0,95 | - | - | 0,95 | - | - | 0,95 | - | - | 0,95 | - | - |
A3 | - | 0,25 | - | - | 0,25 | - | - | 0,25 | - | - | 0,25 | - |
b | 0,17 | - | 0,27 | 0,13 | - | 0,23 | 0,35 | - | 0,50 | 0,30 | - | 0,45 |
c | 0,09 | - | 0,20 | 0,09 | - | 0,20 | 0,11 | - | 0,23 | 0,11 | - | 0,23 |
D | - | 7,00 | - | - | 7,00 | - | - | 10,00 | - | - | 10,00 | - |
E | - | 7,00 | - | - | 7,00 | - | - | 10,00 | - | - | 10,00 | - |
e | - | 0,50 | - | - | 0,40 | - | - | 1,00 | - | - | 0,80 | - |
HD | 8,80 | - | 9,20 | 8,80 | - | 9,20 | 11,80 | - | 12,20 | 11,80 | - | 12,20 |
HE | 8,80 | - | 9,20 | 8,80 | - | 9,20 | 11,80 | - | 12,20 | 11,80 | - | 12,20 |
LA | - | 1,00 | - | - | 1,00 | - | - | 1,00 | - | - | 1,00 | - |
Lp | 0,45 | 0,60 | 0,75 | 0,45 | 0,60 | 0,75 | 0,45 | 0,60 | 0,75 | 0,45 | 0,60 | 0,75 |
zD | - | - | 0,85 | - | - | 0,60 | - | - | 1,10 | - | - | 1,10 |
zE | - | - | 0,85 | - | - | 0,60 | - | - | 1,10 | - | - | 1,10 |
Обозначение числа выводов и размера | Типоразмер | |||||||||||
9 | 10 | 11 | 12 | |||||||||
Не менее | Номин. | Не более | Не менее | Номин. | Не более | Не менее | Номин. | Не более | Не менее | Номин. | Не более | |
n | - | 52 | - | - | 64 | - | - | 80 | - | - | 44 | - |
nD | - | 13 | - | - | 16 | - | - | 20 | - | - | 11 | - |
nE | - | 13 | - | - | 16 | - | - | 20 | - | - | 11 | - |
A | - | - | 1,20 | - | - | 1,20 | - | - | 1,20 | - | - | 1,20 |
A1 | 0,05 | - | 0,15 | 0,05 | - | 0,15 | 0,05 | - | 0,15 | 0,05 | - | 0,15 |
A2 | 0,95 | - | - | 0,95 | - | - | 0,95 | - | - | 0,95 | - | - |
A3 | - | 0,25 | - | - | 0,25 | - | - | 0,25 | - | - | 0,25 | - |
b | 0,22 | - | 0,38 | 0,17 | - | 0,27 | 0,13 | - | 0,23 | 0,35 | - | 0,50 |
c | 0,11 | - | 0,23 | 0,09 | - | 0,20 | 0,09 | - | 0,20 | 0,11 | - | 0,23 |
D | - | 10,00 | - | - | 10,00 | - | - | 10,00 | - | - | 12,00 | - |
E | - | 10,00 | - | - | 10,00 | - | - | 10,00 | - | - | 12,00 | - |
e | - | 0,65 | - | - | 0,50 | - | - | 0,40 | - | - | 1,00 | - |
HD | 11,80 | - | 12,20 | 11,80 | - | 12,20 | 11,80 | - | 12,20 | 13,80 | - | 14,20 |
HE | 11,80 | - | 12,20 | 11,80 | - | 12,20 | 11,80 | - | 12,20 | 13,80 | - | 14,20 |
LA | - | 1,00 | - | - | 1,00 | - | - | 1,00 | - | - | 1,00 | - |
Lp | 0,45 | 0,60 | 0,75 | 0,45 | 0,60 | 0,75 | 0,45 | 0,60 | 0,75 | 0,45 | 0,60 | 0,75 |
zD | - | - | 1,20 | - | - | 1,35 | - | - | 1,30 | - | - | 1,10 |
zE | - | - | 1,20 | - | - | 1,35 | - | - | 1,30 | - | - | 1,10 |
Обозначение числа выводов и размера | Типоразмер | |||||||||||
13 | 14 | 15 | 16 | |||||||||
Не менее | Номин. | Не более | Не менее | Номин. | Не более | Не менее | Номин. | Не более | Не менее | Номин. | Не более | |
n | - | 52 | - | - | 64 | - | - | 80 | - | - | 100 | - |
nD | - | 13 | - | - | 16 | - | - | 20 | - | - | 25 | - |
nE | - | 13 | - | - | 16 | - | - | 20 | - | - | 25 | - |
A | - | - | 1,20 | - | - | 1,20 | - | - | 1,20 | - | - | 1,20 |
A1 | 0,05 | - | 0,15 | 0,05 | - | 0,15 | 0,05 | - | 0,15 | 0,05 | - | 0,15 |
A2 | 0,95 | - | - | 0,95 | - | - | 0,95 | - | - | 0,95 | - | - |
A3 | - | 0,25 | - | - | 0,25 | - | - | 0,25 | - | - | 0,25 | - |
b | 0,30 | - | 0,45 | 0,22 | - | 0,38 | 0,17 | - | 0,27 | 0,13 | - | 0,23 |
c | 0,11 | - | 0,23 | 0,11 | - | 0,23 | 0,09 | - | 0,20 | 0,09 | - | 0,20 |
D | - | 12,00 | - | - | 12,00 | - | - | 12,00 | - | - | 12,00 | - |
E | - | 12,00 | - | - | 12,00 | - | - | 12,00 | - | - | 12,00 | - |
e | - | 0,80 | - | - | 0,65 | - | - | 0,50 | - | - | 0,40 | - |
HD | 13,80 | - | 14,20 | 13,80 | - | 14,20 | 13,80 | - | 14,20 | 13,80 | - | 14,20 |
HE | 13,80 | - | 14,20 | 13,80 | - | 14,20 | 13,80 | - | 14,20 | 13,80 | - | 14,20 |
LA | - | 1,00 | - | - | 1,00 | - | - | 1,00 | - | - | 1,00 | - |
Lp | 0,45 | 0,60 | 0,75 | 0,45 | 0,60 | 0,75 | 0,45 | 0,60 | 0,75 | 0,45 | 0,60 | 0,75 |
zD | - | - | 1,30 | - | - | 1,22 | - | - | 1,35 | - | - | 1,30 |
zE | - | - | 1,30 | - | - | 1,22 | - | - | 1,35 | - | - | 1,30 |
Обозначение числа выводов и размера | Типоразмер | |||||||||||
17 | 18 | 19 | 20 | |||||||||
Не менее | Номин. | Не более | Не менее | Номин. | Не более | Не менее | Номин. | Не более | Не менее | Номин. | Не более | |
n | - | 52 | - | - | 64 | - | - | 80 | - | - | 100 | - |
nD | - | 13 | - | - | 16 | - | - | 20 | - | - | 25 | - |
nE | - | 13 | - | - | 16 | - | - | 20 | - | - | 25 | - |
A | - | - | 1,20 | - | - | 1,20 | - | - | 1,20 | - | - | 1,20 |
A1 | 0,05 | - | 0,15 | 0,05 | - | 0,15 | 0,05 | - | 0,15 | 0,05 | - | 0,15 |
A2 | 0,95 | - | - | 0,95 | - | - | 0,95 | - | - | 0,95 | - | - |
A3 | - | 0,25 | - | - | 0,25 | - | - | 0,25 | - | - | 0,25 | - |
b | 0,35 | - | 0,50 | 0,30 | - | 0,45 | 0,22 | - | 0,38 | 0,17 | - | 0,27 |
c | 0,11 | - | 0,23 | 0,11 | - | 0,23 | 0,11 | - | 0,23 | 0,09 | - | 0,20 |
D | - | 14,00 | - | - | 14,00 | - | - | 14,00 | - | - | 14,00 | - |
E | - | 14,00 | - | - | 14,00 | - | - | 14,00 | - | - | 14,00 | - |
e | - | 1,00 | - | - | 0,80 | - | - | 0,65 | - | - | 0,50 | - |
HD | 15,80 | - | 16,20 | 15,80 | - | 16,20 | 15,80 | - | 16,20 | 15,80 | - | 16,20 |
HE | 15,80 | - | 16,20 | 15,80 | - | 16,20 | 15,80 | - | 16,20 | 15,80 | - | 16,20 |
LA | - | 1,00 | - | - | 1,00 | - | - | 1,00 | - | - | 1,00 | - |
Lp | 0,45 | 0,60 | 0,75 | 0,45 | 0,60 | 0,75 | 0,45 | 0,60 | 0,75 | 0,45 | 0,60 | 0,75 |
zD | - | - | 1,10 | - | - | 1,12 | - | - | 0,92 | - | - | 1,10 |
zE | - | - | 1,10 | - | - | 1,12 | - | - | 0,92 | - | - | 1,10 |
Обозначение числа выводов и размера | Типоразмер | |||||||||||
21 | 22 | 23 | 24 | |||||||||
Не менее | Номин. | Не более | Не менее | Номин. | Не более | Не менее | Номин. | Не более | Не менее | Номин. | Не более | |
n | - | 120 | - | - | 112 | - | - | 114 | - | - | 176 | - |
nD | - | 30 | - | - | 28 | - | - | 36 | - | - | 44 | - |
nE | - | 30 | - | - | 28 | - | - | 36 | - | - | 44 | - |
A | - | - | 1,20 | - | - | 1,20 | - | - | 1,20 | - | - | 1,20 |
A1 | 0,05 | - | 0,15 | 0,05 | - | 0,15 | 0,05 | - | 0,15 | 0,05 | - | 0,15 |
A2 | 0,95 | - | - | 0,95 | - | - | 0,95 | - | - | 0,95 | - | - |
A3 | - | 0,25 | - | - | 0,25 | - | - | 0,25 | - | - | 0,25 | - |
b | 0,13 | - | 0,23 | 0,22 | - | 0,38 | 0,17 | - | 0,27 | 0,13 | - | 0,23 |
c | 0,09 | - | 0,20 | 0,11 | - | 0,23 | 0,09 | - | 0,20 | 0,09 | - | 0,20 |
D | - | 14,00 | - | - | 20,00 | - | - | 20,00 | - | - | 20,00 | - |
E | - | 14,00 | - | - | 20,00 | - | - | 20,00 | - | - | 20,00 | - |
e | - | 0,40 | - | - | 0,65 | - | - | 0,50 | - | - | 0,40 | - |
HD | 15,80 | - | 16,20 | 21,80 | - | 22,20 | 21,80 | - | 22,20 | 21,80 | - | 22,20 |
HE | 15,80 | - | 16,20 | 21,80 | - | 22,20 | 21,80 | - | 22,20 | 21,80 | - | 22,20 |
LA | - | 1,00 | - | - | 1,00 | - | - | 1,00 | - | - | 1,00 | - |
Lp | 0,45 | 0,60 | 0,75 | 0,45 | 0,60 | 0,75 | 0,45 | 0,60 | 0,75 | 0,45 | 0,60 | 0,75 |
zD | - | - | 1,10 | - | - | 1,12 | - | - | 0,92 | - | - | 1,10 |
zE | - | - | 1,10 | - | - | 1,12 | - | - | 0,92 | - | - | 1,10 |
Обозначение числа выводов и размера | Типоразмер | |||||||||||
25 | 26 | 27 | 28 | |||||||||
Не менее | Номин. | Не более | Не менее | Номин. | Не более | Не менее | Номин. | Не более | Не менее | Номин. | Не более | |
n | - | 176 | - | - | 216 | - | - | 100 | - | - | 128 | - |
nD | - | 44 | - | - | 54 | - | - | 30 | - | - | 38 | - |
nE | - | 44 | - | - | 54 | - | - | 20 | - | - | 26 | - |
A | - | - | 1,20 | - | - | 1,20 | - | - | 1,20 | - | - | 1,20 |
A1 | 0,05 | - | 0,15 | 0,05 | - | 0,15 | 0,05 | - | 0,15 | 0,05 | - | 0,15 |
A2 | 0,95 | - | - | 0,95 | - | - | 0,95 | - | - | 0,95 | - | - |
A3 | - | 0,25 | - | - | 0,25 | - | - | 0,25 | - | - | 0,25 | - |
b | 0,17 | - | 0,27 | 0,13 | - | 0,23 | 0,22 | - | 0,38 | 0,17 | - | 0,27 |
c | 0,09 | - | 0,20 | 0,09 | - | 0,20 | 0,11 | - | 0,23 | 0,09 | - | 0,20 |
D | - | 24,00 | - | - | 24,00 | - | - | 20,00 | - | - | 20,00 | - |
E | - | 24,00 | - | - | 24,00 | - | - | 14,00 | - | - | 14,00 | - |
e | - | 0,50 | - | - | 0,40 | - | - | 0,65 | - | - | 0,50 | - |
HD | 25,80 | - | 26,20 | 25,80 | - | 26,20 | 21,80 | - | 22,20 | 21,80 | - | 22,20 |
HE | 25,80 | - | 26,20 | 25,80 | - | 26,20 | 15,80 | - | 16,20 | 15,80 | - | 16,20 |
LA | - | 1,00 | - | - | 1,00 | - | - | 1,00 | - | - | 1,00 | - |
Lp | 0,45 | 0,60 | 0,75 | 0,45 | 0,60 | 0,75 | 0,45 | 0,60 | 0,75 | 0,45 | 0,60 | 0,75 |
zD | - | - | 1,35 | - | - | 1,50 | - | - | 0,67 | - | - | 0,85 |
zE | - | - | 1,35 | - | - | 1,50 | - | - | 0,92 | - | - | 0,85 |
Обозначение числа выводов и размера | Типоразмер | ||||||||
29 | 30 | 31 | |||||||
Не менее | Номин. | Не более | Не менее | Номин. | Не более | Не менее | Номин. | Не более | |
n | - | 20 | - | - | 24 | - | - | 32 | - |
nD | - | 5 | - | - | 6 | - | - | 8 | - |
nE | - | 5 | - | - | 6 | - | - | 8 | - |
A | - | - | 1,20 | - | - | 1,20 | - | - | 1,20 |
A1 | 0,05 | - | 0,15 | 0,05 | - | 0,15 | 0,05 | - | 0,15 |
A2 | 0,95 | 1,00 | 1,05 | 0,95 | 1,00 | 1,05 | 0,95 | 1,00 | 1,05 |
A3 | - | 0,25 | - | - | 0,25 | - | - | 0,25 | - |
b | 0,22 | - | 0,38 | 0,17 | - | 0,27 | 0,13 | - | 0,27 |
c | 0,11 | - | 0,23 | 0,09 | - | 0,20 | 0,09 | - | 0,20 |
D | - | 4,00 | - | - | 4,00 | - | - | 4,00 | - |
E | - | 4,00 | - | - | 4,00 | - | - | 4,00 | - |
e | - | 0,65 | - | - | 0,50 | - | - | 0,40 | - |
HD | 5,80 | - | 6,20 | 5,80 | - | 6,20 | 5,80 | - | 6,20 |
HE | 5,80 | - | 6,20 | 5,80 | - | 6,20 | 5,80 | - | 6,20 |
LA | - | 1,00 | - | - | 1,00 | - | - | 1,00 | - |
Lp | 0,45 | 0,60 | 0,75 | 0,45 | 0,60 | 0,75 | 0,45 | 0,60 | 0,75 |
zD | - | - | 0,80 | - | - | 2,00 | - | - | 0,70 |
zE | - | - | 0,80 | - | - | 2,00 | - | - | 0,70 |
Обозначение числа выводов и размера | Типоразмер | |||||||||||
32 | 33 | 34 | 35 | |||||||||
Не менее | Номин. | Не более | Не менее | Номин. | Не более | Не менее | Номин. | Не более | Не менее | Номин. | Не более | |
n | - | 64 | - | - | 80 | - | - | 80 | - | - | 80 | - |
nD | - | 16 | - | - | 20 | - | - | 20 | - | - | 20 | - |
nE | - | 16 | - | - | 20 | - | - | 20 | - | - | 20 | - |
A | - | - | 2,45 | - | - | 2,45 | - | - | 2,45 | - | - | 3,15 |
A1 | 0,05 | - | 0,25 | 0,05 | - | 0,25 | 0,05 | - | 0,25 | 0,05 | - | 0,25 |
A2 | 1,80 | - | - | 1,80 | - | - | 1,80 | - | - | 2,50 | - | - |
A3 | - | 0,25 | - | - | 0,25 | - | - | 0,25 | - | - | 0,25 | - |
b | 0,17 | - | 0,27 | 0,13 | - | 0,23 | 0,17 | - | 0,27 | 0,17 | - | 0,27 |
c | 0,09 | - | 0,2 | 0,09 | - | 0,2 | 0,09 | - | 0,2 | 0,09 | - | 0,2 |
D | - | 10,00 | - | - | 10,00 | - | - | 12,00 | - | - | 12,00 | - |
E | - | 10,00 | - | - | 10,00 | - | - | 12,00 | - | - | 12,00 | - |
e | - | 0,50 | - | - | 0,40 | - | - | 0,50 | - | - | 0,50 | - |
HD | 12,35 | - | 12,85 | 12,35 | - | 12,85 | 14,35 | - | 14,85 | 14,35 | - | 14,85 |
HE | 12,35 | - | 12,85 | 12,35 | - | 12,85 | 14,35 | - | 14,85 | 14,35 | - | 14,85 |
LA | - | 1,30 | - | - | 1,30 | - | - | 1,30 | - | - | 1,30 | - |
Lp | 0,45 | 0,60 | 0,75 | 0,45 | 0,60 | 0,75 | 0,45 | 0,60 | 0,75 | 0,45 | 0,60 | 0,75 |
zD | - | - | 1,35 | - | - | 1,30 | - | - | 1,35 | - | - | 1,35 |
zE | - | - | 1,35 | - | - | 1,30 | - | - | 1,35 | - | - | 1,35 |
Обозначение числа выводов и размера | Типоразмер | |||||||||||
36 | 37 | 38 | 39 | |||||||||
Не менее | Номин. | Не более | Не менее | Номин. | Не более | Не менее | Номин. | Не более | Не менее | Номин. | Не более | |
n | - | 100 | - | - | 100 | - | - | 100 | - | - | 120 | - |
nD | - | 25 | - | - | 25 | - | - | 25 | - | - | 30 | - |
nE | - | 25 | - | - | 25 | - | - | 25 | - | - | 30 | - |
A | - | - | 2,45 | - | - | 2,45 | - | - | 3,15 | - | - | 2,45 |
A1 | 0,05 | - | 0,25 | 0,05 | - | 0,25 | 0,05 | - | 0,25 | 0,05 | - | 0,25 |
A2 | 1,80 | - | - | 1,80 | - | - | 2,50 | - | - | 1,80 | - | - |
A3 | - | 0,25 | - | - | 0,25 | - | - | 0,25 | - | - | 0,25 | - |
b | 0,13 | - | 0,23 | 0,17 | - | 0,27 | 0,17 | - | 0,27 | 0,13 | - | 0,23 |
c | 0,09 | - | 0,20 | 0,09 | - | 0,20 | 0,09 | - | 0,20 | 0,09 | - | 0,20 |
D | - | 12,00 | - | - | 14,00 | - | - | 14,00 | - | - | 14,00 | - |
E | - | 12,00 | - | - | 14,00 | - | - | 14,00 | - | - | 14,00 | - |
e | - | 0,40 | - | - | 0,50 | - | - | 0,50 | - | - | 0,40 | - |
HD | 14,35 | - | 14,85 | 16,35 | - | 16,85 | 16,35 | - | 16,85 | 16,35 | - | 16,85 |
HE | 14,35 | - | 14,85 | 16,35 | - | 16,85 | 16,35 | - | 16,85 | 16,35 | - | 16,85 |
LA | - | 1,30 | - | - | 1,30 | - | - | 1,30 | - | - | 1,00 | - |
Lp | 0,45 | 0,60 | 0,75 | 0,45 | 0,60 | 0,75 | 0,45 | 0,60 | 0,75 | 0,45 | 0,60 | 0,75 |
zD | - | - | 1,30 | - | - | 1,10 | - | - | 1,10 | - | - | 1,30 |
zE | - | - | 1,30 | - | - | 1,10 | - | - | 1,10 | - | - | 1,30 |
Обозначение числа выводов и размера | Типоразмер | |||||||||||
40 | 41 | 42 | 43 | |||||||||
Не менее | Номин. | Не более | Не менее | Номин. | Не более | Не менее | Номин. | Не более | Не менее | Номин. | Не более | |
n | - | 120 | - | - | 144 | - | - | 144 | - | - | 176 | - |
nD | - | 30 | - | - | 36 | - | - | 36 | - | - | 44 | - |
nE | - | 30 | - | - | 36 | - | - | 36 | - | - | 44 | - |
A | - | - | 3,15 | - | - | 2,70 | - | - | 3,40 | - | - | 2,70 |
A1 | 0,05 | - | 0,25 | 0,25 | - | 0,50 | 0,25 | - | 0,50 | 0,25 | - | 0,50 |
A2 | 2,50 | - | - | 1,80 | - | - | 2,50 | - | - | 1,80 | - | - |
A3 | - | 0,25 | - | - | 0,25 | - | - | 0,25 | - | - | 0,25 | - |
b | 0,13 | - | 0,23 | 0,17 | - | 0,27 | 0,17 | - | 0,27 | 0,13 | - | 0,23 |
c | 0,09 | - | 0,20 | 0,09 | - | 0,20 | 0,09 | - | 0,20 | 0,09 | - | 0,20 |
D | - | 14,00 | - | - | 20,00 | - | - | 20,00 | - | - | 20,00 | - |
E | - | 14,00 | - | - | 20,00 | - | - | 20,00 | - | - | 20,00 | - |
e | - | 0,40 | - | - | 0,50 | - | - | 0,50 | - | - | 0,40 | - |
HD | 16,35 | - | 16,85 | 22,35 | - | 22,85 | 22,35 | - | 22,85 | 22,35 | - | 22,85 |
HE | 16,35 | - | 16,85 | 22,35 | - | 22,85 | 22,35 | - | 22,85 | 22,35 | - | 22,85 |
LA | - | 1,30 | - | - | 1,30 | - | - | 1,30 | - | - | 1,30 | - |
Lp | 0,45 | 0,60 | 0,75 | 0,45 | 0,60 | 0,70 | 0,45 | 0,60 | 0,70 | 0,45 | 0,60 | 0,70 |
zD | - | - | 1,30 | - | - | 1,35 | - | - | 1,35 | - | - | 1,50 |
zE | - | - | 1,30 | - | - | 1,35 | - | - | 1,35 | - | - | 1,50 |
Обозначение числа выводов и размера | Типоразмер | |||||||||||
44 | 45 | 46 | 47 | |||||||||
Не менее | Номин. | Не более | Не менее | Номин. | Не более | Не менее | Номин. | Не более | Не менее | Номин. | Не более | |
n | - | 176 | - | - | 144 | - | - | 144 | - | - | 176 | - |
nD | - | 44 | - | - | 36 | - | - | 36 | - | - | 44 | - |
nE | - | 44 | - | - | 36 | - | - | 36 | - | - | 44 | - |
A | - | - | 3,40 | - | - | 2,45 | - | - | 3,15 | - | - | 2,45 |
A1 | 0,25 | - | 0,50 | 0,05 | - | 0,25 | 0,05 | - | 0,25 | 0,05 | - | 0,25 |
A2 | 2,50 | - | - | 1,80 | - | - | 2,50 | - | - | 1,80 | - | - |
A3 | - | 0,25 | - | - | 0,25 | - | - | 0,25 | - | - | 0,25 | - |
b | 0,13 | - | 0,23 | 0,17 | - | 0,27 | 0,17 | - | 0,27 | 0,13 | - | 0,23 |
c | 0,09 | - | 0,20 | 0,09 | - | 0,20 | 0,09 | - | 0,20 | 0,09 | - | 0,20 |
D | - | 20,00 | - | - | 20,00 | - | - | 20,00 | - | - | 20,00 | - |
E | - | 20,00 | - | - | 20,00 | - | - | 20,00 | - | - | 20,00 | - |
e | - | 0,40 | - | - | 0,50 | - | - | 0,50 | - | - | 0,40 | - |
HD | 22,35 | - | 22,85 | 22,35 | - | 22,85 | 22,35 | - | 22,85 | 22,35 | - | 22,85 |
HE | 22,35 | - | 22,85 | 22,35 | - | 22,85 | 22,35 | - | 22,85 | 22,35 | - | 22,85 |
LA | - | 1,30 | - | - | 1,30 | - | - | 1,30 | - | - | 1,30 | - |
Lp | 0,45 | 0,60 | 0,75 | 0,45 | 0,60 | 0,75 | 0,45 | 0,60 | 0,75 | 0,45 | 0,60 | 0,75 |
zD | - | - | 1,50 | - | - | 1,35 | - | - | 1,35 | - | - | 1,50 |
zE | - | - | 1,50 | - | - | 1,35 | - | - | 1,35 | - | - | 1,50 |
Обозначение числа выводов и размера | Типоразмер | |||||||||||
48 | 49 | 50 | 51 | |||||||||
Не менее | Номин. | Не более | Не менее | Номин. | Не более | Не менее | Номин. | Не более | Не менее | Номин. | Не более | |
n | - | 176 | - | - | 176 | - | - | 216 | - | - | 208 | - |
nD | - | 44 | - | - | 44 | - | - | 54 | - | - | 52 | - |
nE | - | 44 | - | - | 44 | - | - | 54 | - | - | 52 | - |
A | - | - | 3,15 | - | - | 4,10 | - | - | 4,10 | - | - | 4,10 |
A1 | 0,05 | - | 0,25 | 0,25 | - | 0,50 | 0,25 | - | 0,50 | 0,25 | - | 0,50 |
A2 | 2,50 | - | - | 3,20 | - | - | 3,20 | - | - | 3,20 | - | - |
A3 | - | 0,25 | - | - | 0,25 | - | - | 0,25 | - | - | 0,25 | - |
b | 0,13 | - | 0,23 | 0,17 | - | 0,27 | 0,13 | - | 0,23 | 0,17 | - | 0,27 |
c | 0,09 | - | 0,20 | 0,09 | - | 0,20 | 0,09 | - | 0,20 | 0,09 | - | 0,20 |
D | - | 20,00 | - | - | 24,00 | - | - | 24,00 | - | - | 28,00 | - |
E | - | 20,00 | - | - | 24,00 | - | - | 24,00 | - | - | 28,00 | - |
e | - | 0,40 | - | - | 0,50 | - | - | 0,40 | - | - | 0,50 | - |
HD | 22,35 | - | 22,85 | 26,35 | - | 26,85 | 26,35 | - | 26,85 | 30,35 | - | 30,85 |
HE | 22,35 | - | 22,85 | 26,35 | - | 26,85 | 26,35 | - | 26,85 | 30,35 | - | 30,85 |
LA | - | 1,30 | - | - | 1,30 | - | - | 1,30 | - | - | 1,30 | - |
Lp | 0,45 | 0,60 | 0,75 | 0,45 | 0,60 | 0,75 | 0,45 | 0,60 | 0,75 | 0,45 | 0,60 | 0,75 |
zD | - | - | 1,50 | - | - | 1,35 | - | - | 1,50 | - | - | 1,35 |
zE | - | - | 1,50 | - | - | 1,35 | - | - | 1,50 | - | - | 1,35 |
Обозначение числа выводов и размера | Типоразмер | |||||||||||
52 | 53 | 54 | 55 | |||||||||
Не менее | Номин. | Не более | Не менее | Номин. | Не более | Не менее | Номин. | Не более | Не менее | Номин. | Не более | |
n | - | 208 | - | - | 256 | - | - | 256 | - | - | 240 | - |
nD | - | 52 | - | - | 64 | - | - | 64 | - | - | 60 | - |
nE | - | 52 | - | - | 64 | - | - | 64 | - | - | 60 | - |
A | - | - | 3,85 | - | - | 4,10 | - | - | 3,85 | - | - | 4,10 |
A1 | 0,05 | - | 0,25 | 0,25 | - | 0,50 | 0,05 | - | 0,25 | 0,25 | - | 0,50 |
A2 | 3,20 | - | - | 3,20 | - | - | 3,20 | - | - | 3,20 | - | - |
A3 | - | 0,25 | - | - | 0,25 | - | - | 0,25 | - | - | 0,25 | - |
b | 0,17 | - | 0,27 | 0,13 | - | 0,23 | 0,13 | - | 0,23 | 0,17 | - | 0,27 |
c | 0,09 | - | 0,20 | 0,09 | - | 0,20 | 0,09 | - | 0,20 | 0,09 | - | 0,20 |
D | - | 28,00 | - | - | 28,00 | - | - | 28,00 | - | - | 32,00 | - |
E | - | 28,00 | - | - | 28,00 | - | - | 28,00 | - | - | 32,00 | - |
e | - | 0,50 | - | - | 0,40 | - | - | 0,40 | - | - | 0,50 | - |
HD | 30,35 | - | 30,85 | 30,35 | - | 30,85 | 30,35 | - | 30,85 | 34,35 | - | 34,85 |
HE | 30,35 | - | 30,85 | 30,35 | - | 30,85 | 30,35 | - | 30,85 | 34,35 | - | 34,85 |
LA | - | 1,30 | - | - | 1,30 | - | - | 1,30 | - | - | 1,30 | - |
Lp | 0,45 | 0,60 | 0,75 | 0,45 | 0,60 | 0,75 | 0,45 | 0,60 | 0,75 | 0,45 | 0,60 | 0,75 |
zD | - | - | 1,35 | - | - | 1,50 | - | - | 1,50 | - | - | 1,35 |
zE | - | - | 1,35 | - | - | 1,50 | - | - | 1,50 | - | - | 1,35 |
Обозначение числа выводов и размера | Типоразмер | ||||||||
56 | 57 | 58 | |||||||
Не менее | Номин. | Не более | Не менее | Номин. | Не более | Не менее | Номин. | Не более | |
n | - | 296 | - | - | 272 | - | - | 336 | - |
nD | - | 74 | - | - | 68 | - | - | 84 | - |
nE | - | 74 | - | - | 68 | - | - | 84 | - |
A | - | - | 4,10 | - | - | 4,50 | - | - | 4,50 |
A1 | 0,25 | - | 0,50 | 0,25 | - | 0,50 | 0,25 | - | 0,50 |
A2 | 3,20 | - | - | 3,55 | - | - | 3,55 | - | - |
A3 | - | 0,25 | - | - | 0,25 | - | - | 0,25 | - |
b | 0,13 | - | 0,23 | 0,17 | - | 0,27 | 0,13 | - | 0,23 |
c | 0,09 | - | 0,20 | 0,09 | - | 0,20 | 0,09 | - | 0,20 |
D | - | 32,00 | - | - | 36,00 | - | - | 36,00 | - |
E | - | 32,00 | - | - | 36,00 | - | - | 36,00 | - |
e | - | 0,40 | - | - | 0,50 | - | - | 0,40 | - |
HD | 34,35 | - | 34,85 | 38,35 | - | 38,85 | 38,35 | - | 38,85 |
HE | 34,35 | - | 34,85 | 38,35 | - | 38,85 | 38,35 | - | 38,85 |
LA | - | 1,30 | - | - | 1,30 | - | - | 1,30 | - |
Lp | 0,45 | 0,60 | 0,75 | 0,45 | 0,60 | 0,75 | 0,45 | 0,60 | 0,75 |
zD | - | - | 1,50 | - | - | 1,35 | - | - | 1,50 |
zE | - | - | 1,50 | - | - | 1,35 | - | - | 1,50 |
Обозначение числа выводов и размера | Типоразмер | ||||||||
59 | 60 | 61 | |||||||
Не менее | Номин. | Не более | Не менее | Номин. | Не более | Не менее | Номин. | Не более | |
n | - | 304 | - | - | 376 | - | - | 128 | - |
nD | - | 76 | - | - | 94 | - | - | 39 | - |
nE | - | 76 | - | - | 94 | - | - | 25 | - |
A | - | - | 4,50 | - | - | 4,50 | - | - | 3,15 |
A1 | 0,25 | - | 0,50 | 0,25 | - | 0,50 | 0,05 | - | 0,25 |
A2 | 3,55 | - | - | 3,55 | - | - | 2,50 | - | - |
A3 | - | 0,25 | - | - | 0,40 | - | - | 0,50 | - |
b | 0,17 | - | 0,27 | 0,13 | - | 0,23 | 0,17 | - | 0,27 |
c | 0,09 | - | 0,20 | 0,09 | - | 0,20 | 0,09 | - | 0,20 |
D | - | 40,00 | - | - | 40,00 | - | - | 20,00 | - |
E | - | 40,00 | - | - | 40,00 | - | - | 14,00 | - |
e | - | 0,50 | - | - | 0,40 | - | - | 0,50 | - |
HD | 42,35 | - | 42,85 | 42,35 | - | 42,85 | 22,35 | - | 22,85 |
HE | 42,35 | - | 42,85 | 42,35 | - | 42,85 | 16,35 | - | 16,85 |
LA | - | 1,30 | - | - | 1,30 | - | - | 1,30 | - |
Lp | 0,45 | 0,60 | 0,75 | 0,45 | 0,60 | 0,75 | 0,45 | 0,60 | 0,75 |
zD | - | - | 1,35 | - | - | 1,50 | - | - | 0,06 |
zE | - | - | 1,35 | - | - | 1,50 | - | - | 1,10 |
Обозначение числа выводов и размера | Типоразмер | |||||||||||
62 | 63 | 64 | 65 | |||||||||
Не менее | Номин. | Не более | Не менее | Номин. | Не более | Не менее | Номин. | Не более | Не менее | Номин. | Не более | |
n | - | 32 | - | - | 40 | - | - | 32 | - | - | 40 | - |
nD | - | 8 | - | - | 10 | - | - | 8 | - | - | 10 | - |
nE | - | 8 | - | - | 10 | - | - | 8 | - | - | 10 | - |
A | - | - | 1,70 | - | - | 1,70 | - | - | 1,70 | - | - | 1,70 |
A1 | 0,05 | - | 0,15 | 0,05 | - | 0,15 | 0,05 | - | 0,15 | 0,05 | - | 0,15 |
A2 | 1,35 | - | - | 1,35 | - | - | 1,35 | - | - | 1,35 | - | - |
A3 | - | 0,25 | - | - | 0,25 | - | - | 0,25 | - | - | 0,25 | - |
b | 0,17 | - | 0,27 | 0,13 | - | 0,23 | 0,30 | - | 0,45 | 0,22 | - | 0,38 |
c | 0,09 | - | 0,20 | 0,09 | - | 0,20 | 0,09 | - | 0,20 | 0,09 | - | 0,20 |
D | - | 5,00 | - | - | 5,00 | - | - | 7,00 | - | - | 7,00 | - |
E | - | 5,00 | - | - | 5,00 | - | - | 7,00 | - | - | 7,00 | - |
e | - | 0,50 | - | - | 0,40 | - | - | 0,80 | - | - | 0,65 | - |
HD | - | 7,00 | - | - | 7,00 | - | - | 9,00 | - | - | 9,00 | - |
HE | - | 7,00 | - | - | 7,00 | - | - | 9,00 | - | - | 9,00 | - |
LA | - | 1,00 | - | - | 1,00 | - | - | 1,00 | - | - | 1,00 | - |
Lp | 0,45 | 0,60 | 0,75 | 0,45 | 0,60 | 0,75 | 0,45 | 0,60 | 0,75 | 0,45 | 0,60 | 0,75 |
zD | - | - | 0,85 | - | - | 0,80 | - | - | 0,80 | - | - | 0,68 |
zE | - | - | 0,85 | - | - | 0,80 | - | - | 0,80 | - | - | 0,68 |
Обозначение числа выводов и размера | Типоразмер | |||||||||||
66 | 67 | 68 | 69 | |||||||||
Не менее | Номин. | Не более | Не менее | Номин. | Не более | Не менее | Номин. | Не более | Не менее | Номин. | Не более | |
n | - | 48 | - | - | 64 | - | - | 36 | - | - | 44 | - |
nD | - | 12 | - | - | 16 | - | - | 9 | - | - | 11 | - |
nE | - | 12 | - | - | 16 | - | - | 9 | - | - | 11 | - |
A | - | - | 1,70 | - | - | 1,70 | - | - | 1,70 | - | - | 1,70 |
A1 | 0,05 | - | 0,15 | 0,05 | - | 0,15 | 0,05 | - | 0,15 | 0,05 | - | 0,15 |
A2 | 1,35 | - | - | 1,35 | - | - | 1,35 | - | - | 1,35 | - | - |
A3 | - | 0,25 | - | - | 0,25 | - | - | 0,25 | - | - | 0,25 | - |
b | 0,17 | - | 0,27 | 0,13 | - | 0,23 | 0,35 | - | 0,50 | 0,30 | - | 0,45 |
c | 0,09 | - | 0,20 | 0,09 | - | 0,20 | 0,09 | - | 0,20 | 0,09 | - | 0,20 |
D | - | 7,00 | - | - | 7,00 | - | - | 10,00 | - | - | 10,00 | - |
E | - | 7,00 | - | - | 7,00 | - | - | 10,00 | - | - | 10,00 | - |
e | - | 0,50 | - | - | 0,40 | - | - | 1,00 | - | - | 0,80 | - |
HD | - | 9,00 | - | - | 9,00 | - | - | 12,00 | - | - | 12,00 | - |
HE | - | 9,00 | - | - | 9,00 | - | - | 12,00 | - | - | 12,00 | - |
LA | - | 1,00 | - | - | 1,00 | - | - | 1,00 | - | - | 1,00 | - |
Lp | 0,45 | 0,60 | 0,75 | 0,45 | 0,60 | 0,75 | 0,45 | 0,60 | 0,75 | 0,45 | 0,60 | 0,75 |
zD | - | - | 0,85 | - | - | 0,60 | - | - | 1,10 | - | - | 1,10 |
zE | - | - | 0,85 | - | - | 0,60 | - | - | 1,10 | - | - | 1,10 |
Обозначение числа выводов и размера | Типоразмер | |||||||||||
70 | 71 | 72 | 73 | |||||||||
Не менее | Номин. | Не более | Не менее | Номин. | Не более | Не менее | Номин. | Не более | Не менее | Номин. | Не более | |
n | - | 52 | - | - | 64 | - | - | 80 | - | - | 44 | - |
nD | - | 13 | - | - | 16 | - | - | 20 | - | - | 11 | - |
nE | - | 13 | - | - | 16 | - | - | 20 | - | - | 11 | - |
A | - | - | 1,70 | - | - | 1,70 | - | - | 1,70 | - | - | 1,70 |
A1 | 0,05 | - | 0,15 | 0,05 | - | 0,15 | 0,05 | - | 0,15 | 0,05 | - | 0,15 |
A2 | 1,35 | - | - | 1,35 | - | - | 1,35 | - | - | 1,35 | - | - |
A3 | - | 0,25 | - | - | 0,25 | - | - | 0,25 | - | - | 0,25 | - |
b | 0,22 | - | 0,38 | 0,17 | - | 0,27 | 0,13 | - | 0,23 | 0,35 | - | 0,50 |
c | 0,09 | - | 0,20 | 0,09 | - | 0,20 | 0,09 | - | 0,20 | 0,09 | - | 0,20 |
D | - | 10,00 | - | - | 10,00 | - | - | 10,00 | - | - | 12,00 | - |
E | - | 10,00 | - | - | 10,00 | - | - | 10,00 | - | - | 12,00 | - |
e | - | 0,65 | - | - | 0,50 | - | - | 0,40 | - | - | 1,00 | - |
HD | - | 12,00 | - | - | 12,00 | - | - | 12,00 | - | - | 14,00 | - |
HE | - | 12,00 | - | - | 12,00 | - | - | 12,00 | - | - | 14,00 | - |
LA | - | 1,00 | - | - | 1,00 | - | - | 1,00 | - | - | 1,00 | - |
Lp | 0,45 | 0,60 | 0,75 | 0,45 | 0,60 | 0,75 | 0,45 | 0,60 | 0,75 | 0,45 | 0,60 | 0,75 |
zD | - | - | 1,20 | - | - | 1,35 | - | - | 1,30 | - | - | 1,10 |
zE | - | - | 1,20 | - | - | 1,35 | - | - | 1,30 | - | - | 1,10 |
Обозначение числа выводов и размера | Типоразмер | |||||||||||
74 | 75 | 76 | 77 | |||||||||
Не менее | Номин. | Не более | Не менее | Номин. | Не более | Не менее | Номин. | Не более | Не менее | Номин. | Не более | |
n | - | 52 | - | - | 64 | - | - | 80 | - | - | 100 | - |
nD | - | 13 | - | - | 16 | - | - | 20 | - | - | 25 | - |
nE | - | 13 | - | - | 16 | - | - | 20 | - | - | 25 | - |
A | - | - | 1,70 | - | - | 1,70 | - | - | 1,70 | - | - | 1,70 |
A1 | 0,05 | - | 0,15 | 0,05 | - | 0,15 | 0,05 | - | 0,15 | 0,05 | - | 0,15 |
A2 | 1,35 | - | - | 1,35 | - | - | 1,35 | - | - | 1,35 | - | - |
A3 | - | 0,25 | - | - | 0,25 | - | - | 0,25 | - | - | 0,25 | - |
b | 0,30 | - | 0,45 | 0,22 | - | 0,38 | 0,17 | - | 0,27 | 0,13 | - | 0,23 |
c | 0,09 | - | 0,20 | 0,09 | - | 0,20 | 0,09 | - | 0,20 | 0,09 | - | 0,20 |
D | - | 12,00 | - | - | 12,00 | - | - | 12,00 | - | - | 12,00 | - |
E | - | 12,00 | - | - | 12,00 | - | - | 12,00 | - | - | 12,00 | - |
e | - | 0,80 | - | - | 0,65 | - | - | 0,50 | - | - | 0,40 | - |
HD | - | 14,00 | - | - | 14,00 | - | - | 14,00 | - | - | 14,00 | - |
HE | - | 14,00 | - | - | 14,00 | - | - | 14,00 | - | - | 14,00 | - |
LA | - | 1,00 | - | - | 1,00 | - | - | 1,00 | - | - | 1,00 | - |
Lp | 0,45 | 0,60 | 0,75 | 0,45 | 0,60 | 0,75 | 0,45 | 0,60 | 0,75 | 0,45 | 0,60 | 0,75 |
zD | - | - | 1,30 | - | - | 1,22 | - | - | 1,35 | - | - | 1,30 |
zE | - | - | 1,30 | - | - | 1,22 | - | - | 1,35 | - | - | 1,30 |
Обозначение числа выводов и размера | Типоразмер | |||||||||||
78 | 79 | 80 | 81 | |||||||||
Не менее | Номин. | Не более | Не менее | Номин. | Не более | Не менее | Номин. | Не более | Не менее | Номин. | Не более | |
n | - | 52 | - | - | 64 | - | - | 80 | - | - | 100 | - |
nD | - | 13 | - | - | 16 | - | - | 20 | - | - | 25 | - |
nE | - | 13 | - | - | 16 | - | - | 20 | - | - | 25 | - |
A | - | - | 1,70 | - | - | 1,70 | - | - | 1,70 | - | - | 1,70 |
A1 | 0,05 | - | 0,15 | 0,05 | - | 0,15 | 0,05 | - | 0,15 | 0,05 | - | 0,15 |
A2 | 1,35 | - | - | 1,35 | - | - | 1,35 | - | - | 1,35 | - | - |
A3 | - | 0,25 | - | - | 0,25 | - | - | 0,25 | - | - | 0,25 | - |
b | 0,35 | - | 0,50 | 0,30 | - | 0,45 | 0,22 | - | 0,38 | 0,17 | - | 0,27 |
c | 0,09 | - | 0,20 | 0,09 | - | 0,20 | 0,09 | - | 0,20 | 0,09 | - | 0,20 |
D | - | 14,00 | - | - | 14,00 | - | - | 14,00 | - | - | 14,00 | - |
E | - | 14,00 | - | - | 14,00 | - | - | 14,00 | - | - | 14,00 | - |
e | - | 1,00 | - | - | 0,80 | - | - | 0,65 | - | - | 0,50 | - |
HD | - | 16,00 | - | - | 16,00 | - | - | 16,00 | - | - | 16,00 | - |
HE | - | 16,00 | - | - | 16,00 | - | - | 16,00 | - | - | 16,00 | - |
LA | - | 1,00 | - | - | 1,00 | - | - | 1,00 | - | - | 1,00 | - |
Lp | 0,45 | 0,60 | 0,75 | 0,45 | 0,60 | 0,75 | 0,45 | 0,60 | 0,75 | 0,45 | 0,60 | 0,75 |
zD | - | - | 1,10 | - | - | 1,10 | - | - | 0,92 | - | - | 1,10 |
zE | - | - | 1,10 | - | - | 1,10 | - | - | 0,92 | - | - | 1,10 |
Обозначение числа выводов и размера | Типоразмер | |||||||||||
82 | 83 | 84 | 85 | |||||||||
Не менее | Номин. | Не более | Не менее | Номин. | Не более | Не менее | Номин. | Не более | Не менее | Номин. | Не более | |
n | - | 120 | - | - | 112 | - | - | 144 | - | - | 176 | - |
nD | - | 30 | - | - | 28 | - | - | 36 | - | - | 44 | - |
nE | - | 30 | - | - | 28 | - | - | 36 | - | - | 44 | - |
A | - | - | 1,70 | - | - | 1,70 | - | - | 1,70 | - | - | 1,70 |
A1 | 0,05 | - | 0,15 | 0,05 | - | 0,15 | 0,05 | - | 0,15 | 0,05 | - | 0,15 |
A2 | 1,35 | - | - | 1,35 | - | - | 1,35 | - | - | 1,35 | - | - |
A3 | - | 0,25 | - | - | 0,25 | - | - | 0,25 | - | - | 0,25 | - |
b | 0,13 | - | 0,23 | 0,22 | - | 0,38 | 0,17 | - | 0,27 | 0,13 | - | 0,23 |
c | 0,09 | - | 0,20 | 0,09 | - | 0,20 | 0,09 | - | 0,20 | 0,09 | - | 0,20 |
D | - | 14,00 | - | - | 20,00 | - | - | 20,00 | - | - | 20,00 | - |
E | - | 14,00 | - | - | 20,00 | - | - | 20,00 | - | - | 20,00 | - |
e | - | 0,40 | - | - | 0,65 | - | - | 0,50 | - | - | 0,40 | - |
HD | - | 16,00 | - | - | 22,00 | - | - | 22,00 | - | - | 22,00 | - |
HE | - | 16,00 | - | - | 22,00 | - | - | 22,00 | - | - | 22,00 | - |
LA | - | 1,00 | - | - | 1,00 | - | - | 1,00 | - | - | 1,00 | - |
Lp | 0,45 | 0,60 | 0,75 | 0,45 | 0,60 | 0,75 | 0,45 | 0,60 | 0,75 | 0,45 | 0,60 | 0,75 |
zD | - | - | 1,30 | - | - | 1,32 | - | - | 1,35 | - | - | 1,50 |
zE | - | - | 1,30 | - | - | 1,32 | - | - | 1,35 | - | - | 1,50 |
Обозначение числа выводов и размера | Типоразмер | |||||||||||
86 | 87 | 88 | 89 | |||||||||
Не менее | Номин. | Не более | Не менее | Номин. | Не более | Не менее | Номин. | Не более | Не менее | Номин. | Не более | |
n | - | 176 | - | - | 216 | - | - | 100 | - | - | 128 | - |
nD | - | 44 | - | - | 54 | - | - | 30 | - | - | 38 | - |
nE | - | 44 | - | - | 54 | - | - | 20 | - | - | 26 | - |
A | - | - | 1,70 | - | - | 1,70 | - | - | 1,70 | - | - | 1,70 |
A1 | 0,05 | - | 0,15 | 0,05 | - | 0,15 | 0,05 | - | 0,15 | 0,05 | - | 0,15 |
A2 | 1,35 | - | - | 1,35 | - | - | 1,35 | - | - | 1,35 | - | - |
A3 | - | 0,25 | - | - | 0,25 | - | - | 0,25 | - | - | 0,25 | - |
b | 0,17 | - | 0,27 | 0,13 | - | 0,23 | 0,22 | - | 0,38 | 0,17 | - | 0,27 |
c | 0,09 | - | 0,20 | 0,09 | - | 0,20 | 0,09 | - | 0,20 | 0,09 | - | 0,20 |
D | - | 24,00 | - | - | 24,00 | - | - | 20,00 | - | - | 20,00 | - |
E | - | 24,00 | - | - | 24,00 | - | - | 14,00 | - | - | 14,00 | - |
e | - | 0,50 | - | - | 0,40 | - | - | 0,65 | - | - | 0,50 | - |
HD | - | 26,00 | - | - | 26,00 | - | - | 22,00 | - | - | 22,00 | - |
HE | - | 26,00 | - | - | 26,00 | - | - | 22,00 | - | - | 22,00 | - |
LA | - | 1,00 | - | - | 1,00 | - | - | 1,00 | - | - | 1,00 | - |
Lp | 0,45 | 0,60 | 0,75 | 0,45 | 0,60 | 0,75 | 0,45 | 0,60 | 0,75 | 0,45 | 0,60 | 0,75 |
zD | - | - | 1,35 | - | - | 1,50 | - | - | 0,67 | - | - | 0,85 |
zE | - | - | 1,35 | - | - | 1,50 | - | - | 0,92 | - | - | 0,85 |
Обозначение числа выводов и размера | Типоразмер | ||||||||
90 | 91 | 92 | |||||||
Не менее | Номин. | Не более | Не менее | Номин. | Не более | Не менее | Номин. | Не более | |
n | - | 160 | - | - | 208 | - | - | 256 | - |
nD | - | 40 | - | - | 52 | - | - | 64 | - |
nE | - | 40 | - | - | 52 | - | - | 64 | - |
A | - | - | 1,70 | - | - | 1,70 | - | - | 1,70 |
A1 | 0,05 | - | 0,15 | 0,05 | - | 0,15 | 0,05 | - | 0,15 |
A2 | 1,35 | - | - | 1,35 | - | - | 1,35 | - | - |
A3 | - | 0,25 | - | - | 0,25 | - | - | 0,25 | - |
b | 0,22 | - | 0,38 | 0,17 | - | 0,27 | 0,13 | - | 0,23 |
c | 0,09 | - | 0,20 | 0,09 | - | 0,20 | 0,09 | - | 0,20 |
D | - | 28,00 | - | - | 28,00 | - | - | 28,00 | - |
E | - | 28,00 | - | - | 28,00 | - | - | 28,00 | - |
e | - | 0,65 | - | - | 0,50 | - | - | 0,40 | - |
HD | - | 30,00 | - | - | 30,00 | - | - | 30,00 | - |
HE | - | 30,00 | - | - | 30,00 | - | - | 30,00 | - |
LA | - | 1,00 | - | - | 1,00 | - | - | 1,00 | - |
Lp | 0,45 | 0,60 | 0,75 | 0,45 | 0,60 | 0,75 | 0,45 | 0,60 | 0,75 |
zD | - | - | 1,42 | - | - | 1,35 | - | - | 1,50 |
zE | - | - | 1,42 | - | - | 1,35 | - | - | 1,50 |
Обозначение числа выводов и размера | Типоразмер | ||||||||
93 | 94 | 95 | |||||||
Не менее | Номин. | Не более | Не менее | Номин. | Не более | Не менее | Номин. | Не более | |
n | - | 20 | - | - | 24 | - | - | 32 | - |
nD | - | 5 | - | - | 6 | - | - | 8 | - |
nE | - | 5 | - | - | 6 | - | - | 8 | - |
A | - | - | 1,70 | - | - | 1,70 | - | - | 1,70 |
A1 | 0,05 | - | 0,15 | 0,05 | - | 0,15 | 0,05 | - | 0,15 |
A2 | 1,35 | - | - | 1,35 | - | - | 1,35 | - | - |
A3 | - | 0,25 | - | - | 0,25 | - | - | 0,25 | - |
b | 0,22 | - | 0,38 | 0,17 | - | 0,27 | 0,13 | - | 0,23 |
c | 0,09 | - | 0,20 | 0,09 | - | 0,20 | 0,09 | - | 0,20 |
D | - | 4,00 | - | - | 4,00 | - | - | 4,00 | - |
E | - | 4,00 | - | - | 4,00 | - | - | 4,00 | - |
e | - | 0,65 | - | - | 0,50 | - | - | 0,40 | - |
HD | - | 6,00 | - | - | 6,00 | - | - | 6,00 | - |
HE | - | 6,00 | - | - | 6,00 | - | - | 6,00 | - |
LA | - | 1,00 | - | - | 1,00 | - | - | 1,00 | - |
Lp | 0,45 | 0,60 | 0,75 | 0,45 | 0,60 | 0,75 | 0,45 | 0,60 | 0,75 |
zD | - | - | 0,80 | - | - | 2,00 | - | - | 0,70 |
zE | - | - | 0,80 | - | - | 2,00 | - | - | 0,70 |

Обозначение числа выводов и размера | Типоразмер | ||||||||
1 | 2 | 3 | |||||||
Не менее | Номин. | Не более | Не менее | Номин. | Не более | Не менее | Номин. | Не более | |
n | - | 44 | - | - | 50 | - | - | 70 | - |
A | 3,25 | 3,50 | 3,75 | 3,25 | 3,50 | 3,75 | 3,25 | 3,50 | 3,75 |
A1 | 0,64 | 0,90 | - | 0,64 | 0,90 | - | 0,64 | 0,90 | - |
A2 | 2,05 | - | - | 2,05 | - | - | 2,05 | - | - |
A3 | - | 0,50 | - | - | 0,50 | - | - | 0,50 | - |
b | 0,25 | - | 0,40 | 0,25 | - | 0,40 | 0,25 | - | 0,40 |
c | 0,15 | - | 0,25 | 0,15 | - | 0,25 | 0,15 | - | 0,25 |
D | 18,25 | - | 18,80 | 20,40 | - | 21,40 | 28,45 | - | 29,00 |
E | 10,00 | 10,15 | 10,30 | 10,00 | 10,15 | 10,30 | 10,00 | 10,15 | 10,30 |
e | - | 0,80 | - | - | 0,80 | - | - | 0,80 | - |
e1 | - | 9,40 | - | - | 9,40 | - | - | 9,40 | - |
HE | 11,05 | 11,20 | 11,30 | 11,05 | 11,20 | 11,30 | 11,05 | 11,20 | 11,30 |
Lp | 1,45 | - | 1,75 | 1,45 | - | 1,75 | 1,45 | - | 1,75 |

Обозначение размера | Значение размера | ||
Не менее | Номин. | Не более | |
A1 | 0,10 | - | 0,50 |
A3 | - | 0,30 | - |
b | 0,30 | - | 0,55 |
c | 0,15 | - | 0,30 |
e | - | 1,25 | - |
Lp | 1,00 | - | 1,20 |
Число выводов | Значение размера | |||||||||
A | A2 | D | E | |||||||
n | nD | nE | Не менее | Не более | Не менее | Не более | Не менее | Не более | Не менее | Не более |
16 | 4 | 4 | 3,2 | 3,7 | 2,3 | 2,8 | 7,7 | 7,9 | 7,7 | 7,9 |
16 | 4 | 4 | 4,1 | 4,6 | 3,1 | 3,9 | 7,7 | 7,9 | 7,7 | 7,9 |
18 | 5 | 4 | 3,2 | 3,7 | 2,3 | 2,8 | 10,7 | 10,9 | 7,1 | 7,3 |
18 | 5 | 4 | 3,2 | 3,7 | 2,3 | 2,8 | 12,3 | 12,5 | 7,2 | 7,4 |
20 | 5 | 5 | 3,2 | 3,7 | 2,3 | 2,8 | 8,9 | 9,1 | 8,9 | 9,1 |
20 | 5 | 5 | 4,1 | 4,6 | 3,1 | 3,9 | 8,9 | 9,1 | 8,9 | 9,1 |
22 | 7 | 4 | 3,2 | 3,7 | 2,3 | 2,8 | 12,3 | 12,5 | 7,2 | 7,4 |
24 | 6 | 6 | 3,2 | 3,7 | 2,3 | 2,8 | 9,5 | 9,7 | 9,5 | 9,7 |
24 | 6 | 6 | 4,1 | 4,6 | 3,1 | 3,9 | 9,5 | 9,7 | 9,5 | 9,7 |
28 | 9 | 5 | 3,2 | 3,7 | 2,3 | 2,8 | 13,9 | 14,1 | 8,8 | 9,0 |
28 | 7 | 7 | 3,2 | 3,7 | 2,3 | 2,8 | 11,4 | 11,6 | 11,4 | 11,6 |
28 | 7 | 7 | 4,1 | 4,6 | 3,1 | 3,9 | 11,4 | 11,6 | 11,4 | 11,6 |
32 | 9 | 7 | 3,2 | 3,7 | 2,3 | 2,8 | 13,9 | 14,1 | 11,3 | 11,5 |
44 | 11 | 11 | 4,1 | 4,6 | 3,1 | 3,9 | 16,5 | 16,7 | 16,5 | 16,7 |
52 | 13 | 13 | 4,1 | 5,1 | 3,1 | 3,9 | 19,0 | 19,2 | 19,0 | 19,2 |
68 | 17 | 17 | 4,1 | 5,1 | 3,1 | 3,9 | 24,1 | 24,3 | 24,1 | 24,3 |
84 | 21 | 21 | 4,1 | 5,1 | 3,1 | 3,9 | 29,2 | 29,4 | 29,2 | 29,4 |
100 | 25 | 25 | 4,1 | 5,1 | 3,1 | 3,9 | 34,3 | 34,5 | 34,3 | 34,5 |
124 | 31 | 31 | 4,1 | 5,1 | 3,1 | 3,9 | 41,9 | 42,1 | 41,9 | 42,1 |
156 | 39 | 39 | 4,1 | 5,1 | 3,1 | 3,9 | 51,8 | 52,3 | 51,8 | 52,3 |
Число выводов n | Значение размера | |||||||
HD | HE | e1 | e2 | zD | zE | |||
Не менее | Не более | Не менее | Не более | Номин. | Номин. | Не более | Не более | |
16 | 8,5 | 8,8 | 8,5 | 8,8 | 7,20 | 7,20 | 2,15 | 2,15 |
16 | 8,5 | 8,8 | 8,5 | 8,8 | 7,20 | 7,20 | 2,15 | 2,15 |
18 | 11,6 | 11,9 | 8,0 | 8,3 | 6,50 | 10,00 | 3,80 | 1,90 |
18 | 13,3 | 13,6 | 8,1 | 8,4 | 6,50 | 11,60 | 3,80 | 1,90 |
20 | 9,7 | 10,0 | 9,7 | 10,0 | 8,13 | 8,13 | 2,15 | 2,15 |
20 | 9,7 | 10,0 | 9,7 | 10,0 | 8,13 | 8,13 | 2,15 | 2,15 |
22 | 13,3 | 13,6 | 8,1 | 8,4 | 6,50 | 11,60 | 2,50 | 1,90 |
24 | 10,1 | 10,4 | 10,1 | 10,4 | 9,10 | 9,10 | 2,15 | 2,15 |
24 | 10,1 | 10,4 | 10,1 | 10,4 | 9,60 | 9,60 | 2,15 | 2,15 |
28 | 14,9 | 15,2 | 9,8 | 10,1 | 8,20 | 13,30 | 2,00 | 2,00 |
28 | 12,2 | 12,5 | 12,2 | 12,5 | 10,67 | 10,67 | 2,15 | 2,15 |
28 | 12,2 | 12,5 | 12,2 | 12,5 | 10,67 | 10,67 | 2,15 | 2,15 |
32 | 14,9 | 15,2 | 9,8 | 10,1 | 10,70 | 13,30 | 2,00 | 2,00 |
44 | 17,4 | 17,7 | 17,4 | 17,7 | 15,75 | 15,75 | 2,15 | 2,15 |
52 | 19,90 | 20,20 | 19,90 | 20,20 | 18,29 | 18,29 | 2,15 | 2,15 |
68 | 25,00 | 25,30 | 25,00 | 25,30 | 23,37 | 23,37 | 2,15 | 2,15 |
84 | 30,10 | 30,40 | 30,10 | 30,40 | 28,50 | 28,50 | 2,15 | 2,15 |
100 | 35,20 | 35,50 | 35,20 | 35,50 | 33,53 | 33,53 | 2,15 | 2,15 |
124 | 42,80 | 43,10 | 42,80 | 43,10 | 41,15 | 41,15 | 2,15 | 2,15 |
156 | 52,58 | 53,59 | 52,58 | 53,59 | 51,05 | 51,05 | 2,15 | 2,15 |

Обозначение числа выводов и размера | Типоразмер | |||||||||||
1 | 2 | 3 | 4 | |||||||||
Не менее | Номин. | Не более | Не менее | Номин. | Не более | Не менее | Номин. | Не более | Не менее | Номин. | Не более | |
n | - | 16 | - | - | 24 | - | - | 16 | - | - | 20 | - |
nD | - | 4 | - | - | 6 | - | - | 4 | - | - | 5 | - |
nE | - | 4 | - | - | 6 | - | - | 4 | - | - | 5 | - |
A | - | - | 2,50 | - | - | 2,50 | - | - | 2,50 | - | - | 2,50 |
A2 | 0,45 | - | 2,50 | 0,45 | - | 2,50 | 0,45 | - | 2,50 | 0,45 | - | 2,50 |
b | 0,55 | - | 0,70 | 0,55 | - | 0,70 | 0,40 | - | 0,60 | 0,40 | - | 0,60 |
D | - | 7,62 | - | - | 10,16 | - | - | 5,97 | - | - | 8,38 | - |
E | - | 7,62 | - | - | 10,16 | - | - | 5,97 | - | - | 8,38 | - |
e | - | 1,27 | - | - | 1,27 | - | - | 1,02 | - | - | 1,02 | - |
l | 1,15 | - | 1,40 | 1,15 | - | 1,40 | 0,80 | - | 1,20 | 0,80 | - | 1,20 |
zD | 1,55 | - | 3,05 | 1,55 | - | 3,05 | 1,30 | - | 2,40 | 1,30 | - | 2,40 |
zE | 1,55 | - | 3,05 | 1,55 | - | 3,05 | 1,30 | - | 2,40 | 1,30 | - | 2,40 |
Обозначение числа выводов и размера | Типоразмер | |||||||||||
5 | 6 | 7 | 8 | |||||||||
Не менее | Номин. | Не более | Не менее | Номин. | Не более | Не менее | Номин. | Не более | Не менее | Номин. | Не более | |
n | - | 24 | - | - | 32 | 40 | - | - | 48 | - | ||
nD | - | 6 | - | - | 8 | - | - | 10 | - | - | 12 | - |
nE | - | 6 | - | - | 8 | - | - | 10 | - | - | 12 | - |
A | - | - | 2,50 | - | - | 2,50 | - | - | 2,50 | - | - | 2,50 |
A2 | 0,45 | - | 2,50 | 0,45 | - | 2,50 | 0,45 | - | 2,50 | 0,45 | - | 2,50 |
b | 0,40 | - | 0,60 | 0,40 | - | 0,60 | 0,40 | - | 0,60 | 0,40 | - | 0,60 |
D | - | 8,89 | - | - | 10,67 | - | - | 12,19 | - | - | 14,22 | - |
E | - | 8,89 | - | - | 10,67 | - | - | 12,19 | - | - | 14,22 | - |
e | - | 1,02 | - | - | 1,02 | - | - | 1,02 | - | - | 1,02 | - |
l | 0,80 | - | 1,20 | 0,80 | - | 1,20 | 0,80 | - | 1,20 | 0,80 | - | 1,20 |
zD | 1,30 | - | 2,40 | 1,30 | - | 2,40 | 1,30 | - | 2,40 | 1,30 | - | 2,40 |
zE | 1,30 | - | 2,40 | 1,30 | - | 2,40 | 1,30 | - | 2,40 | 1,30 | - | 2,40 |
Обозначение числа выводов и размера | Типоразмер | ||||||||
9 | 10 | 11 | |||||||
Не менее | Номин. | Не более | Не менее | Номин. | Не более | Не менее | Номин. | Не более | |
n | - | 64 | - | - | 84 | - | - | 96 | - |
nD | - | 16 | - | - | 21 | - | - | 24 | - |
nE | - | 16 | - | - | 21 | - | - | 24 | - |
A | - | - | 3,00 | - | - | 3,00 | - | - | 3,00 |
A2 | 0,45 | - | 2,50 | 0,45 | - | 2,50 | 0,45 | - | 2,50 |
b | 0,40 | - | 0,60 | 0,40 | - | 0,60 | 0,40 | - | 0,60 |
D | - | 18,29 | - | - | 23,37 | - | - | 26,42 | - |
E | - | 18,29 | - | - | 23,37 | - | - | 26,42 | - |
e | - | 1,02 | - | - | 1,02 | - | - | 1,02 | - |
l | 0,80 | - | 1,20 | 0,80 | - | 1,20 | 0,80 | - | 1,20 |
zD | 1,30 | - | 2,40 | 1,30 | - | 2,40 | 1,30 | - | 2,40 |
zE | 1,30 | - | 2,40 | 1,30 | - | 2,40 | 1,30 | - | 2,40 |

Обозначение числа выводов и размера | Типоразмер | |||||||||||
1 | 2 | 3 | 4 | |||||||||
Не менее | Номин. | Не более | Не менее | Номин. | Не более | Не менее | Номин. | Не более | Не менее | Номин. | Не более | |
n | - | 18 | - | - | 18 | - | - | 20 | - | - | 22 | - |
nD | - | 4 | - | - | 4 | - | - | 4 | - | - | 4 | - |
nE | - | 5 | - | - | 5 | - | - | 6 | - | - | 7 | - |
A | - | - | 3,0 | - | - | 3,0 | - | - | 3,0 | - | - | 3,0 |
A2 | 0,45 | - | 2,5 | 0,45 | - | 2,5 | 0,45 | - | 2,5 | 0,45 | - | 2,5 |
b | 0,50 | - | 0,7 | 0,50 | - | 0,7 | 0,50 | - | 0,7 | 0,50 | - | 0,7 |
D | - | 7,24 | - | - | 7,24 | - | - | 7,24 | - | - | 7,37 | - |
E | - | 8,89 | - | - | 10,80 | - | - | 10,80 | - | - | 12,45 | - |
e | - | 1,27 | - | - | 1,27 | - | - | 1,27 | - | - | 1,27 | - |
l | 1,15 | - | 1,4 | 1,15 | - | 1,4 | 1,15 | - | 1,4 | 1,15 | - | 1,4 |
zD | 1,55 | - | 3,05 | 1,55 | - | 3,05 | 1,55 | - | 3,05 | 1,55 | - | 3,05 |
zE | 1,55 | - | 3,05 | 1,55 | - | 3,05 | 1,55 | - | 3,05 | 1,55 | - | 3,05 |
Обозначение числа выводов и размера | Типоразмер | |||||||||||
5 | 6 | 7 | 8 | |||||||||
Не менее | Номин. | Не более | Не менее | Номин. | Не более | Не менее | Номин. | Не более | Не менее | Номин. | Не более | |
n | - | 24 | - | - | 28 | - | - | 32 | - | - | 36 | - |
nD | - | 4 | - | - | 5 | - | - | 5 | - | - | 7 | - |
nE | - | 8 | - | - | 9 | - | - | 11 | - | - | 11 | - |
A | - | - | 3,0 | - | - | 3,0 | - | - | 3,0 | - | - | 3,0 |
A2 | 0,45 | - | 2,5 | 0,45 | - | 2,5 | 0,45 | - | 2,5 | 0,45 | - | 2,5 |
b | 0,50 | - | 0,7 | 0,50 | - | 0,7 | 0,50 | - | 0,7 | 0,50 | - | 0,7 |
D | - | 7,37 | - | - | 8,89 | - | - | 8,89 | - | - | 11,43 | - |
E | - | 12,45 | - | - | 13,97 | - | - | 16,51 | - | - | 16,51 | - |
e | - | 1,27 | - | - | 1,27 | - | - | 1,27 | - | - | 1,27 | - |
l | 1,15 | - | 1,4 | 1,15 | - | 1,4 | 1,15 | - | 1,4 | 1,15 | - | 1,4 |
zD | 1,55 | - | 3,05 | 1,55 | - | 3,05 | 1,55 | - | 3,05 | 1,55 | - | 3,05 |
zE | 1,55 | - | 3,05 | 1,55 | - | 3,05 | 1,55 | - | 3,05 | 1,55 | - | 3,05 |

Обозначение числа выводов и размера | Типоразмер | |||||||||||
1 | 2 | 3 | 4 | |||||||||
Не менее | Номин. | Не более | Не менее | Номин. | Не более | Не менее | Номин. | Не более | Не менее | Номин. | Не более | |
n | - | 48 | - | - | 48 | - | - | 48 | - | - | 48 | - |
A | - | - | 1,20 | - | - | 1,20 | - | - | 1,20 | - | - | 1,20 |
A1 | 0,15 | - | 0,30 | 0,30 | - | 0,45 | 0,25 | - | 0,45 | 0,20 | - | 0,35 |
0,25 | - | 0,35 | 0,45 | - | 0,55 | 0,40 | - | 0,50 | 0,35 | - | 0,45 | |
D | 6,70 | 7,000 | 7,30 | 5,70 | 6,0 | 6,30 | 5,70 | 6,0 | 6,30 | 5,70 | 6,0 | 6,30 |
E | 8,20 | 8,500 | 8,80 | 7,70 | 8,0 | 8,30 | 7,70 | 8,0 | 8,30 | 7,70 | 8,0 | 8,30 |
e | - | 0,750 | - | - | 0,8 | - | - | 0,8 | - | - | 0,8 | - |
zD | - | 1,625 | - | - | 1,2 | - | - | 1,2 | - | - | 1,2 | - |
zE | - | 1,625 | - | - | 1,2 | - | - | 1,2 | - | - | 1,2 | - |
SD | - | 0,375 | - | - | 0,4 | - | - | 0,4 | - | - | 0,4 | - |
SE | - | 0,375 | - | - | 0,4 | - | - | 0,4 | - | - | 0,4 | - |
Обозначение числа выводов и размера | Типоразмер | |||||||||||
5 | 6 | 7 | 8 | |||||||||
Не менее | Номин. | Не более | Не менее | Номин. | Не более | Не менее | Номин. | Не более | Не менее | Номин. | Не более | |
n | - | 32 | - | - | 72 | - | - | 72 | - | - | 72 | - |
A | - | - | 1,20 | - | - | 1,70 | - | - | 1,70 | - | - | 1,70 |
A1 | 0,25 | - | 0,45 | 0,25 | - | 0,48 | 0,25 | - | 0,48 | 0,25 | - | 0,48 |
0,40 | - | 0,50 | 0,40 | - | 0,50 | 0,40 | - | 0,50 | 0,40 | - | 0,50 | |
D | 5,70 | 6,0 | 6,30 | 7,70 | 8,0 | 8,30 | 8,70 | 9,0 | 9,30 | 8,70 | 9,0 | 9,30 |
E | 7,70 | 8,0 | 8,30 | 10,70 | 11,0 | 11,30 | 10,70 | 11,0 | 11,30 | 11,70 | 12,0 | 12,30 |
e | - | 0,8 | - | - | 0,8 | - | - | 0,8 | - | - | 0,8 | - |
zD | - | 1,0 | - | - | 0,4 | - | - | 0,9 | - | - | 0,9 | - |
zE | - | 1,2 | - | - | 1,1 | - | - | 1,1 | - | - | 1,6 | - |
SD | - | 0,4 | - | - | 0,4 | - | - | 0,4 | - | - | 0,4 | - |
SE | - | 1,2 | - | - | 0,4 | - | - | 0,4 | - | - | 0,4 | - |
Обозначение числа выводов и размера | Типоразмер | |||||||||||
9 | 10 | 11 | 12 | |||||||||
Не менее | Номин. | Не более | Не менее | Номин. | Не более | Не менее | Номин. | Не более | Не менее | Номин. | Не более | |
n | - | 77 | - | - | 60 | - | - | 90 | - | - | 48 | - |
A | - | - | 1,70 | - | - | 1,20 | - | - | 1,20 | - | - | 1,20 |
A1 | 0,25 | - | 0,48 | 0,30 | - | 0,45 | 0,30 | - | 0,45 | 0,25 | - | 0,35 |
0,40 | - | 0,50 | 0,45 | - | 0,55 | 0,45 | - | 0,55 | 0,40 | - | 0,50 | |
D | 8,70 | 9,0 | 9,30 | 7,70 | 8,0 | 8,30 | 9,70 | 10,0 | 10,30 | 5,70 | 6,0 | 6,30 |
E | 13,70 | 14,0 | 14,30 | 14,70 | 15,0 | 15,30 | 12,70 | 13,0 | 13,30 | 8,70 | 9,0 | 9,30 |
e | - | 0,8 | - | - | 0,8 | - | - | 0,8 | - | - | 0,8 | - |
zD | - | 0,9 | - | - | 2,0 | - | - | 2,2 | - | - | 1,0 | - |
zE | - | 1,8 | - | - | 1,9 | - | - | 0,9 | - | - | 1,7 | - |
SD | - | 0,4 | - | - | 1,2 | - | - | 1,2 | - | - | 0,4 | - |
SE | - | 0,4 | - | - | 0,0 | - | - | 0,0 | - | - | 0,4 | - |
Обозначение числа выводов и размера | Типоразмер | |||||||||||
13 | 14 | 15 | 16 | |||||||||
Не менее | Номин. | Не более | Не менее | Номин. | Не более | Не менее | Номин. | Не более | Не менее | Номин. | Не более | |
n | - | 48 | - | - | 60 | - | - | 90 | - | - | 64 | - |
A | - | - | 1,20 | - | - | 1,20 | - | - | 1,20 | - | - | 1,20 |
A1 | 0,25 | - | 0,35 | 0,25 | - | 0,35 | 0,25 | - | 0,35 | 0,25 | - | 0,35 |
0,40 | - | 0,50 | 0,40 | - | 0,50 | 0,40 | - | 0,50 | 0,40 | - | 0,50 | |
D | 7,70 | 8,0 | 8,30 | 7,70 | 8,0 | 8,30 | 10,70 | 11,0 | 11,30 | 7,70 | 8,0 | 8,30 |
E | 8,70 | 9,0 | 9,30 | 15,70 | 16,0 | 16,30 | 12,70 | 13,0 | 13,30 | 13,70 | 14,0 | 14,30 |
e | - | 0,8 | - | - | 0,8 | - | - | 0,8 | - | - | 0,8 | - |
zD | - | 2,0 | - | - | 1,2 | - | - | 2,3 | - | - | 1,2 | - |
zE | - | 1,7 | - | - | 2,4 | - | - | 0,9 | - | - | 2,6 | - |
SD | - | 0,4 | - | - | 2,0 | - | - | 1,6 | - | - | 0,4 | - |
SE | - | 0,4 | - | - | 0,0 | - | - | 0,0 | - | - | 0,4 | - |
Обозначение числа выводов и размера | Типоразмер | |||||||||||
17 | 18 | 19 | 20 | |||||||||
Не менее | Номин. | Не более | Не менее | Номин. | Не более | Не менее | Номин. | Не более | Не менее | Номин. | Не более | |
n | - | 66 | - | - | 64 | - | - | 144 | - | - | 60 | - |
A | - | - | 1,20 | - | - | 1,20 | - | - | 1,20 | - | - | 1,20 |
A1 | 0,25 | - | 0,35 | 0,25 | - | 0,35 | 0,25 | - | 0,35 | 0,25 | - | 0,35 |
0,40 | - | 0,50 | 0,40 | - | 0,50 | 0,40 | - | 0,50 | 0,40 | - | 0,50 | |
D | 7,70 | 8,0 | 8,30 | 8,70 | 9,00 | 9,30 | 12,70 | 13,0 | 13,30 | 8,70 | 9,0 | 9,30 |
E | 11,70 | 12,0 | 12,30 | 11,20 | 11,50 | 11,80 | 14,70 | 15,0 | 15,30 | 15,70 | 16,0 | 16,30 |
e | - | 0,8 | - | - | 0,80 | - | - | 0,8 | - | - | 0,8 | - |
zD | - | 1,2 | - | - | 1,70 | - | - | 1,7 | - | - | 2,1 | - |
zE | - | 1,6 | - | - | 1,35 | - | - | 2,7 | - | - | 2,4 | - |
SD | - | 0,4 | - | - | 0,4 | - | - | 0,0 | - | - | 1,6 | - |
SE | - | 0,4 | - | - | 0,4 | - | - | 0,0 | - | - | 0,0 | - |
Обозначение числа выводов и размера | Типоразмер | |||||||||||
21 | 22 | 23 | 24 | |||||||||
Не менее | Номин. | Не более | Не менее | Номин. | Не более | Не менее | Номин. | Не более | Не менее | Номин. | Не более | |
n | - | 56 | - | - | 48 | - | - | 195 | - | - | 234 | - |
A | - | - | 1,40 | - | - | 1,20 | - | - | 1,20 | - | - | 1,20 |
A1 | 0,25 | - | 0,35 | 0,25 | - | 0,35 | 0,25 | - | 0,35 | 0,25 | - | 0,35 |
0,40 | - | 0,50 | 0,40 | - | 0,50 | 0,40 | - | 0,50 | 0,40 | - | 0,50 | |
D | 11,20 | 11,50 | 11,80 | 6,70 | 7,0 | 7,30 | 12,70 | 13,0 | 13,30 | 12,70 | 13,0 | 13,30 |
E | 13,70 | 14,00 | 14,30 | 11,70 | 12,0 | 12,30 | 14,70 | 15,0 | 15,30 | 14,70 | 15,0 | 15,30 |
e | - | 0,80 | - | - | 0,8 | - | - | 0,8 | - | - | 0,8 | - |
zD | - | 2,55 | - | - | 1,5 | - | - | 1,7 | - | - | 1,7 | - |
zE | - | 3,00 | - | - | 3,2 | - | - | 1,9 | - | - | 0,7 | - |
SD | - | 1,6 | - | - | 0,4 | - | - | 0,0 | - | - | 0,0 | - |
SE | - | 0,0 | - | - | 0,4 | - | - | 0,0 | - | - | 0,4 | - |
Обозначение числа выводов и размера | Типоразмер | ||||||||
25 | 26 | 27 | |||||||
Не менее | Номин. | Не более | Не менее | Номин. | Не более | Не менее | Номин. | Не более | |
n | - | 80 | - | - | 90 | - | - | 67 | - |
A | - | - | 1,40 | - | - | 1,20 | - | - | 1,20 |
A1 | 0,25 | - | 0,35 | 0,25 | - | 0,35 | 0,25 | - | 0,35 |
0,40 | - | 0,50 | 0,40 | - | 0,50 | 0,40 | - | 0,50 | |
D | 8,70 | 9,0 | 9,30 | 10,70 | 11,0 | 11,30 | 8,70 | 9,00 | 9,30 |
E | 15,70 | 16,0 | 16,30 | 12,70 | 13,0 | 13,30 | 11,20 | 11,50 | 11,80 |
e | - | 0,80 | - | - | 0,8 | - | - | 0,80 | - |
zD | - | 1,3 | - | - | 2,7 | - | - | 1,70 | - |
zE | - | 2,4 | - | - | 0,9 | - | - | 1,35 | - |
SD | - | 1,6 | - | - | 2,0 | - | - | 0,40 | - |
SE | - | 0,0 | - | - | 0,0 | - | - | 0,40 | - |

Обозначение числа выводов и размера | Типоразмер | |||||||||||
1 | 2 | 3 | 4 | |||||||||
Не менее | Номин. | Не более | Не менее | Номин. | Не более | Не менее | Номин. | Не более | Не менее | Номин. | Не более | |
n | - | 63 | - | - | 80 | - | - | 120 | - | - | 143 | - |
nD | - | 8 | - | - | 9 | - | - | 11 | - | - | 12 | - |
nE | - | 8 | - | - | 9 | - | - | 11 | - | - | 12 | - |
A | - | - | 1,0 | - | - | 1,0 | - | - | 1,0 | - | - | 1,0 |
A1 | - | - | 0,1 | - | - | 0,1 | - | - | 0,1 | - | - | 0,1 |
0,4 | 0,5 | 0,6 | 0,4 | 0,5 | 0,6 | 0,4 | 0,5 | 0,6 | 0,4 | 0,5 | 0,6 | |
D | - | 7,0 | - | - | 8,0 | - | - | 9,0 | - | - | 10,0 | - |
E | - | 7,0 | - | - | 8,0 | - | - | 9,0 | - | - | 10,0 | - |
e | - | 0,8 | - | - | 0,8 | - | - | 0,8 | - | - | 0,8 | - |
zD | - | 0,7 | - | - | 0,8 | - | - | 0,5 | - | - | 0,6 | - |
zE | - | 0,7 | - | - | 0,8 | - | - | 0,5 | - | - | 0,6 | - |
SD | - | 0,4 | - | - | 0,0 | - | - | 0,0 | - | - | 0,4 | - |
SE | - | 0,4 | - | - | 0,0 | - | - | 0,0 | - | - | 0,4 | - |
Обозначение числа выводов и размера | Типоразмер | |||||||||||
5 | 6 | 7 | 8 | |||||||||
Не менее | Номин. | Не более | Не менее | Номин. | Не более | Не менее | Номин. | Не более | Не менее | Номин. | Не более | |
n | - | 168 | - | - | 195 | - | - | 255 | - | - | 288 | - |
nD | - | 13 | - | - | 14 | - | - | 16 | - | - | 17 | - |
nE | - | 13 | - | - | 14 | - | - | 16 | - | - | 17 | - |
A | - | - | 1,0 | - | - | 1,0 | - | - | 1,0 | - | - | 1,0 |
A1 | - | - | 0,1 | - | - | 0,1 | - | - | 0,1 | - | - | 0,1 |
0,4 | 0,5 | 0,6 | 0,4 | 0,5 | 0,6 | 0,4 | 0,5 | 0,6 | 0,4 | 0,5 | 0,6 | |
D | - | 11,0 | - | - | 12,0 | - | - | 13,0 | - | - | 14,0 | - |
E | - | 11,0 | - | - | 12,0 | - | - | 13,0 | - | - | 14,0 | - |
e | - | 0,8 | - | - | 0,8 | - | - | 0,8 | - | - | 0,8 | - |
zD | - | 0,7 | - | - | 0,8 | - | - | 0,5 | - | - | 0,6 | - |
zE | - | 0,7 | - | - | 0,8 | - | - | 0,5 | - | - | 0,6 | - |
SD | - | 0,0 | - | - | 0,4 | - | - | 0,4 | - | - | 0,0 | - |
SE | - | 0,0 | - | - | 0,4 | - | - | 0,4 | - | - | 0,0 | - |
Обозначение числа выводов и размера | Типоразмер | |||||||||||
9 | 10 | 11 | 12 | |||||||||
Не менее | Номин. | Не более | Не менее | Номин. | Не более | Не менее | Номин. | Не более | Не менее | Номин. | Не более | |
n | - | 48 | - | - | 63 | - | - | 80 | - | - | 99 | - |
nD | - | 7 | - | - | 8 | - | - | 9 | - | - | 10 | - |
nE | - | 7 | - | - | 8 | - | - | 9 | - | - | 10 | - |
A | - | - | 1,0 | - | - | 1,0 | - | - | 1,0 | - | - | 1,0 |
A1 | - | - | 0,1 | - | - | 0,1 | - | - | 0,1 | - | - | 0,1 |
0,5 | 0,6 | 0,7 | 0,5 | 0,6 | 0,7 | 0,5 | 0,6 | 0,7 | 0,5 | 0,6 | 0,7 | |
D | - | 7,0 | - | - | 8,0 | - | - | 9,0 | - | - | 10,0 | - |
E | - | 7,0 | - | - | 8,0 | - | - | 9,0 | - | - | 10,0 | - |
e | - | 1,0 | - | - | 1,0 | - | - | 1,0 | - | - | 1,0 | - |
zD | - | 0,5 | - | - | 0,5 | - | - | 0,5 | - | - | 0,5 | - |
zE | - | 0,5 | - | - | 0,5 | - | - | 0,5 | - | - | 0,5 | - |
SD | - | 0,0 | - | - | 0,5 | - | - | 0,0 | - | - | 0,5 | - |
SE | - | 0,0 | - | - | 0,5 | - | - | 0,0 | - | - | 0,5 | - |
Обозначение числа выводов и размера | Типоразмер | |||||||||||
13 | 14 | 15 | 16 | |||||||||
Не менее | Номин. | Не более | Не менее | Номин. | Не более | Не менее | Номин. | Не более | Не менее | Номин. | Не более | |
n | - | 120 | - | - | 143 | - | - | 168 | - | - | 195 | - |
nD | - | 11 | - | - | 12 | - | - | 13 | - | - | 14 | - |
nE | - | 11 | - | - | 12 | - | - | 13 | - | - | 14 | - |
A | - | - | 1,0 | - | - | 1,0 | - | - | 1,0 | - | - | 1,0 |
A1 | - | - | 0,1 | - | - | 0,1 | - | - | 0,1 | - | - | 0,1 |
0,5 | 0,6 | 0,7 | 0,5 | 0,6 | 0,7 | 0,5 | 0,6 | 0,7 | 0,5 | 0,6 | 0,7 | |
D | - | 11,0 | - | - | 12,0 | - | - | 13,0 | - | - | 14,0 | - |
E | - | 11,0 | - | - | 12,0 | - | - | 13,0 | - | - | 14,0 | - |
e | - | 1,0 | - | - | 1,0 | - | - | 1,0 | - | - | 1,0 | - |
zD | - | 0,5 | - | - | 0,5 | - | - | 0,5 | - | - | 0,5 | - |
zE | - | 0,5 | - | - | 0,5 | - | - | 0,5 | - | - | 0,5 | - |
SD | - | 0,0 | - | - | 0,5 | - | - | 0,0 | - | - | 0,5 | - |
SE | - | 0,0 | - | - | 0,5 | - | - | 0,0 | - | - | 0,5 | - |




HD, не более | D, не более | HE, не более | E, не более | A, не более | b, не более |
5,4 | 2,2 | - | 2,1 | 0,9 | 0,8 <*>; 0,55 |
- | 3,6 | 4,2 | - | 3,3 | 0,75 |
- | 3,9 | 4,70 | - | 1,8 | 0,75 |
- | 4,5 | 4,50 | - | 1,5 | 0,80 |
- | 4,5 | 5,20 | - | 3,3 | 0,75 |
- | 7,2 | 7,60 | - | 2,3 | 1,50 |



HD, не более | E, не более | A, не более |
4,5 | 11,1 | 7,10 |
4,9 | 7,3 | 3,55 |
6,7 | 7,1 | 5,10 |
6,7 | 8,9 | 4,90 |
7,0 | 4,5 | 3,45 |
7,0 | 11,1 | 7,10 |
9,5 | 11,1 | 7,10 |
12,0 | 11,1 | 7,10 |

HD | Пред. откл. | E | Пред. откл. | A | Пред. откл. | b, не менее |
2,0 | +/- 0,2 | 1,5 | +/- 0,2 | 1,7 | +/- 0,1 | 0,5 |
3,2 | +/- 0,3 | 1,6 | +/- 0,2 | 1,8 | +/- 0,2 | 0,7 |
3,2 | +/- 0,3 | 2,5 | +/- 0,2 | 2,0 | +/- 0,2 | 0,6 |
4,5 | +/- 0,3 | 3,2 | +/- 0,2 | 2,6 | +/- 0,2 | 1,0 |

HD, не более | E, не более | A, не более |
3,2 | 2,5 | 2,0 |
10,4 | 10,4 | 4,8 |
Марка материала | Обозначение документа |
Клей ВК-9 | ОСТ 107.460007.009 [1] |
Клей КЖТ-2 | ЫУ0.028.112 ТУ [2] |
Клей КЖТ-8 | ЫУ0.028.112 ТУ [2] |
Клей ТК-200 | ТУ 6-01-1241-80 [3] |
Клей БФ-2 | |
Клей Фотогерм-508А | ТУ 6-10-65-90 [4] |
ОСТ 107.460007.009 | Клеи для изделий радиоэлектронной промышленности и средств связи. Руководство по выбору | |
ЫУ0.028.112 ТУ | Клеи марок КЖТ | |
ТУ 6-01-1241-80 | Клей цианкрилатный ТК-200 | |
ТУ 6-10-65-90 | Фотоотверждаемая композиция "Фотогерм-508А" |
УДК 621.38:006.354 | ОКС 31.020 | Э20 |
Ключевые слова: изделия электронной техники, поверхностный монтаж, печатные платы, конструктивная совместимость, основные размеры и формы изделий | ||