Главная // Актуальные документы // ГОСТ Р (Государственный стандарт)
СПРАВКА
Источник публикации
М.: Стандартинформ, 2014
Примечание к документу
Документ введен в действие с 01.09.2013.
Название документа
"ГОСТ Р ИСО/ТС 10303-1057-2012. Национальный стандарт Российской Федерации. Системы автоматизации производства и их интеграция. Представление данных об изделии и обмен этими данными. Часть 1057. Прикладной модуль. Применяемость"
(утв. и введен в действие Приказом Росстандарта от 13.11.2012 N 743-ст)

"ГОСТ Р ИСО/ТС 10303-1057-2012. Национальный стандарт Российской Федерации. Системы автоматизации производства и их интеграция. Представление данных об изделии и обмен этими данными. Часть 1057. Прикладной модуль. Применяемость"
(утв. и введен в действие Приказом Росстандарта от 13.11.2012 N 743-ст)


Содержание


Утвержден и введен в действие
Приказом Федерального
агентства по техническому
регулированию и метрологии
от 13 ноября 2012 г. N 743-ст
НАЦИОНАЛЬНЫЙ СТАНДАРТ РОССИЙСКОЙ ФЕДЕРАЦИИ
СИСТЕМЫ АВТОМАТИЗАЦИИ ПРОИЗВОДСТВА И ИХ ИНТЕГРАЦИЯ
ПРЕДСТАВЛЕНИЕ ДАННЫХ ОБ ИЗДЕЛИИ И ОБМЕН ЭТИМИ ДАННЫМИ
ЧАСТЬ 1057
ПРИКЛАДНОЙ МОДУЛЬ.
ПРИМЕНЯЕМОСТЬ
Industrial automation systems and integration.
Product data representation and exchange. Part 1057.
Application module. Effectivity
ISO/TS 10303-1057:2004
Industrial automation systems and integration - Product
data representation and exchange - Part 1057: Application
module: Effectivity
(IDT)
ГОСТ Р ИСО/ТС 10303-1057-2012
Группа П87
ОКС 25.040.40
ОКСТУ 4002
Дата введения
1 сентября 2013 года
Предисловие
1 ПОДГОТОВЛЕН Обществом с ограниченной ответственностью "Корпоративные электронные системы" на основе собственного аутентичного перевода на русский язык международного документа, указанного в пункте 4
2 ВНЕСЕН Техническим комитетом по стандартизации ТК 459 "Информационная поддержка жизненного цикла изделий"
3 УТВЕРЖДЕН И ВВЕДЕН В ДЕЙСТВИЕ Приказом Федерального агентства по техническому регулированию и метрологии от 13 ноября 2012 г. N 743-ст
4 Настоящий стандарт идентичен международному документу ИСО/ТС 10303-1057:2004 "Системы автоматизации производства и их интеграция. Представление данных об изделии и обмен этими данными. Часть 1057. Прикладной модуль. Применяемость" (ISO/TS 10303-1057:2004 "Industrial automation systems and integration - Product data representation and exchange - Part 1057: Application module: Effectivity").
При применении настоящего стандарта рекомендуется использовать вместо ссылочных международных стандартов и документов соответствующие им национальные стандарты Российской Федерации, сведения о которых приведены в дополнительном приложении ДА
5 ВВЕДЕН ВПЕРВЫЕ
Правила применения настоящего стандарта установлены в ГОСТ Р 1.0-2012 (раздел 8). Информация об изменениях к настоящему стандарту публикуется в ежегодном (по состоянию на 1 января текущего года) информационном указателе "Национальные стандарты", а официальный текст изменений и поправок - в ежемесячном информационном указателе "Национальные стандарты". В случае пересмотра (замены) или отмены настоящего стандарта соответствующее уведомление будет опубликовано в ближайшем выпуске ежемесячного информационного указателя "Национальные стандарты". Соответствующая информация, уведомление и тексты размещаются также в информационной системе общего пользования - на официальном сайте Федерального агентства по техническому регулированию и метрологии в сети Интернет (gost.ru)
Введение
Стандарты комплекса ИСО 10303 распространяются на компьютерное представление информации об изделиях и обмен данными об изделиях. Их целью является обеспечение нейтрального механизма, способного описывать изделия на всем протяжении их жизненного цикла. Этот механизм применим не только для обмена файлами в нейтральном формате, но является также основой для реализации и совместного доступа к базам данных об изделиях и организации архивирования.
Настоящий стандарт специфицирует прикладной модуль, позволяющий представлять разрешенные области применения данных о действии или данных об изделии.
В разделе 1 настоящего стандарта определены область применения данного прикладного модуля, его функциональность и используемые данные.
В разделе 3 приведены термины, примененные в настоящем стандарте, а также в других стандартах комплекса ИСО 10303.
В разделе 4 определены информационные требования прикладной предметной области на основе принятой в ней терминологии. В приложении C дано графическое представление информационных требований, именуемое прикладной эталонной моделью (ПЭМ). Структуры ресурсов интерпретированы, чтобы соответствовать информационным требованиям. Результатом данной интерпретации является интерпретированная модель модуля (ИММ). Данная интерпретация, представленная в 5.1, устанавливает соответствие между информационными требованиями и ИММ. Сокращенный листинг ИММ, представленный в 5.2, специфицирует интерфейс к ресурсам. Графическое представление сокращенного листинга ИММ приведено в приложении D.
Имя типа данных в языке EXPRESS может использоваться либо для ссылки на сам тип данных, либо на экземпляр данных этого типа. Различие в использовании обычно понятно из контекста. Если существует вероятность неоднозначного толкования, то в текст включается фраза "объектный тип данных" либо "экземпляр(ы) данных типа".
Двойные кавычки ("...") означают цитируемый текст, одинарные кавычки ('...') - значения конкретных текстовых строк.
1 Область применения
Настоящий стандарт определяет прикладной модуль "Применяемость". В область применения настоящего стандарта входят:
- обозначение разрешенной области применения;
- обозначение разрешенной области применения в виде диапазона последовательных номеров;
- обозначение разрешенной области применения в виде промежутка времени;
- обозначение разрешенной области применения в виде партии изделий;
- определение связи между двумя разрешенными областями применения.
2 Нормативные ссылки
В настоящем стандарте использованы ссылки на следующие международные стандарты и документы:
ИСО/МЭК 8824-1:1998 <1> Информационные технологии. Взаимосвязь открытых систем. Абстрактная синтаксическая нотация версии один (АСН.1). Часть 1. Спецификация основной нотации (ISO/IEC 8824-1:2002, Information technology - Abstract Syntax Notation One (ASN.1) - Part 1: Specification of basic notation)
--------------------------------
<1> Отменен. Действует ИСО/МЭК 8824-1:2008.
ИСО 10303-1:1994 Системы автоматизации производства и их интеграция. Представление данных об изделии и обмен этими данными. Часть 1. Общие представления и основополагающие принципы (ISO 10303-1:1994, Industrial automation systems and integration - Product data representation and exchange - Part 1: Overview and fundamental principles)
ИСО 10303-11:2004 Системы автоматизации производства и их интеграция. Представление данных об изделии и обмен этими данными. Часть 11. Методы описания. Справочное руководство по языку EXPRESS (ISO 10303-11:2004, Industrial automation systems and integration - Product data representation and exchange - Part 11: Description methods: The EXPRESS language reference manual)
ИСО 10303-21:2002 Системы автоматизации производства и их интеграция. Представление данных об изделии и обмен этими данными. Часть 21. Методы реализации. Кодирование открытым текстом структуры обмена (ISO 10303-21:2002, Industrial automation systems and integration - Product data representation and exchange - Part 21: Implementation methods: Clear text encoding of the exchange structure)
ИСО 10303-41:2005 Системы автоматизации производства и их интеграция. Представление данных об изделии и обмен этими данными. Часть 41. Интегрированный обобщенный ресурс. Основы описания и поддержки изделий (ISO 10303-41:2005, Industrial automation systems and integration - Product data representation and exchange - Part 41: Integrated generic resource: Fundamentals of product description and support)
ИСО 10303-202:1996 Системы автоматизации производства и их интеграция. Представление данных об изделии и обмен этими данными. Часть 202. Прикладные протоколы. Ассоциативные чертежи (ISO 10303-202:1996, Industrial automation systems and integration - Product data representation and exchange - Part 202: Application protocol: Associative draughting)
ИСО/ТС 10303-1001:2004 <2> Системы автоматизации производства и их интеграция. Представление данных об изделии и обмен этими данными. Часть 1001. Прикладной модуль. Присваивание внешнего вида (ISO/TS 10303-1001:2004, Industrial automation systems and integration - Product data representation and exchange - Part 1001: Application module: Appearance assignment)
--------------------------------
<2> Отменен. Действует ИСО/ТС 10303-1001:2010.
ИСО/ТС 10303-1017:2004 <3> Системы автоматизации производства и их интеграция. Представление данных об изделии и обмен этими данными. Часть 1017. Прикладной модуль. Идентификация изделия (ISO/TS 10303-1017:2004, Industrial automation systems and integration - Product data representation and exchange - Part 1017: Application module: Product identification)
--------------------------------
<3> Отменен. Действует ИСО/ТС 10303-1017:2010.
ИСО/ТС 10303-1054:2004 Системы автоматизации производства и их интеграция. Представление данных об изделии и обмен этими данными. Часть 1054. Прикладной модуль. Размерная величина (ISO/TS 10303-1054:2004, Industrial automation systems and integration - Product data representation and exchange - Part 1054: Application module: Value with unit)
ИСО/ТС 10303-1065:2004 Системы автоматизации производства и их интеграция. Представление данных об изделии и обмен этими данными. Часть 1065. Прикладной модуль. Временной интервал (ISO/TS 10303-1065:2004, Industrial automation systems and integration - Product data representation and exchange - Part 1065: Application module: Time interval)
3 Термины и сокращения
3.1 Термины, определенные в ИСО 10303-1
В настоящем стандарте применены следующие термины:
- приложение (application);
- прикладной объект (application object);
- прикладной протокол; ПП (application protocol; AP);
- прикладная эталонная модель; ПЭМ (application reference model; ARM);
- данные (data);
- информация (information);
- интегрированный ресурс (integrated resource);
- изделие (product);
- данные об изделии (product data).
3.2 Термин, определенный в ИСО 10303-202
В настоящем стандарте применен следующий термин:
- прикладная интерпретированная конструкция; ПИК (application interpreted construct; AIC).
3.3 Термины, определенные в ИСО/ТС 10303-1001
В настоящем стандарте применены следующие термины:
- прикладной модуль; ПМ (application module; AM);
- интерпретированная модель модуля; ИММ (module interpreted model; MIM).
3.4 Термин, определенный в ИСО/ТС 10303-1017
В настоящем стандарте применен следующий термин:
- общие ресурсы (common resources).
3.5 Сокращения
В настоящем стандарте применены следующие сокращения:
ПМ - прикладной модуль;
ПЭМ - прикладная эталонная модель;
ИММ - интерпретированная модель модуля;
URL - унифицированный указатель информационного ресурса.
4 Информационные требования
В настоящем разделе определены информационные требования к прикладному модулю "Применяемость", которые представлены в форме ПЭМ.
Примечания
1 Графическое представление информационных требований приведено в приложении C.
2 Спецификация отображения определена в 5.1. Она показывает, как информационные требования удовлетворяются при использовании общих ресурсов и конструкций, определенных в схеме ИММ или импортированных в схему ИММ прикладного модуля, описанного в настоящем стандарте.
Ниже представлен фрагмент EXPRESS-спецификации, с которого начинается описание схемы Effectivity_arm.
EXPRESS-спецификация:
*)
SCHEMA Effectivity_arm;
(*
4.1 Прикладные эталонные модели, необходимые для прикладного модуля
Далее представлены интерфейсные операторы языка EXPRESS, посредством которых задаются элементы, импортируемые из прикладных эталонных моделей других прикладных модулей.
EXPRESS-спецификация:
*)
USE FROM Time_interval_arm; -- ISO/TS 10303-1065
USE FROM Value_with_unit_arm; -- ISO/TS 10303-1054
(*
Примечания
1 Схемы, ссылки на которые даны выше, можно найти в следующих документах комплекса ИСО 10303:
Time_interval_arm
- ИСО/ТС 10303-1065;
Value_with_unit_arm
- ИСО/ТС 10303-1054.
2 Графическое представление данных схем приведено на рисунках C.1 и C.2, приложение C.
4.2 Определение объектов ПЭМ
В настоящем подразделе определены объекты ПЭМ рассматриваемого прикладного модуля. Каждый объект ПЭМ является простейшим неделимым элементом, который моделирует уникальное понятие прикладной области, и содержит атрибуты для представления объекта. Ниже приведены объекты ПЭМ и их определения.
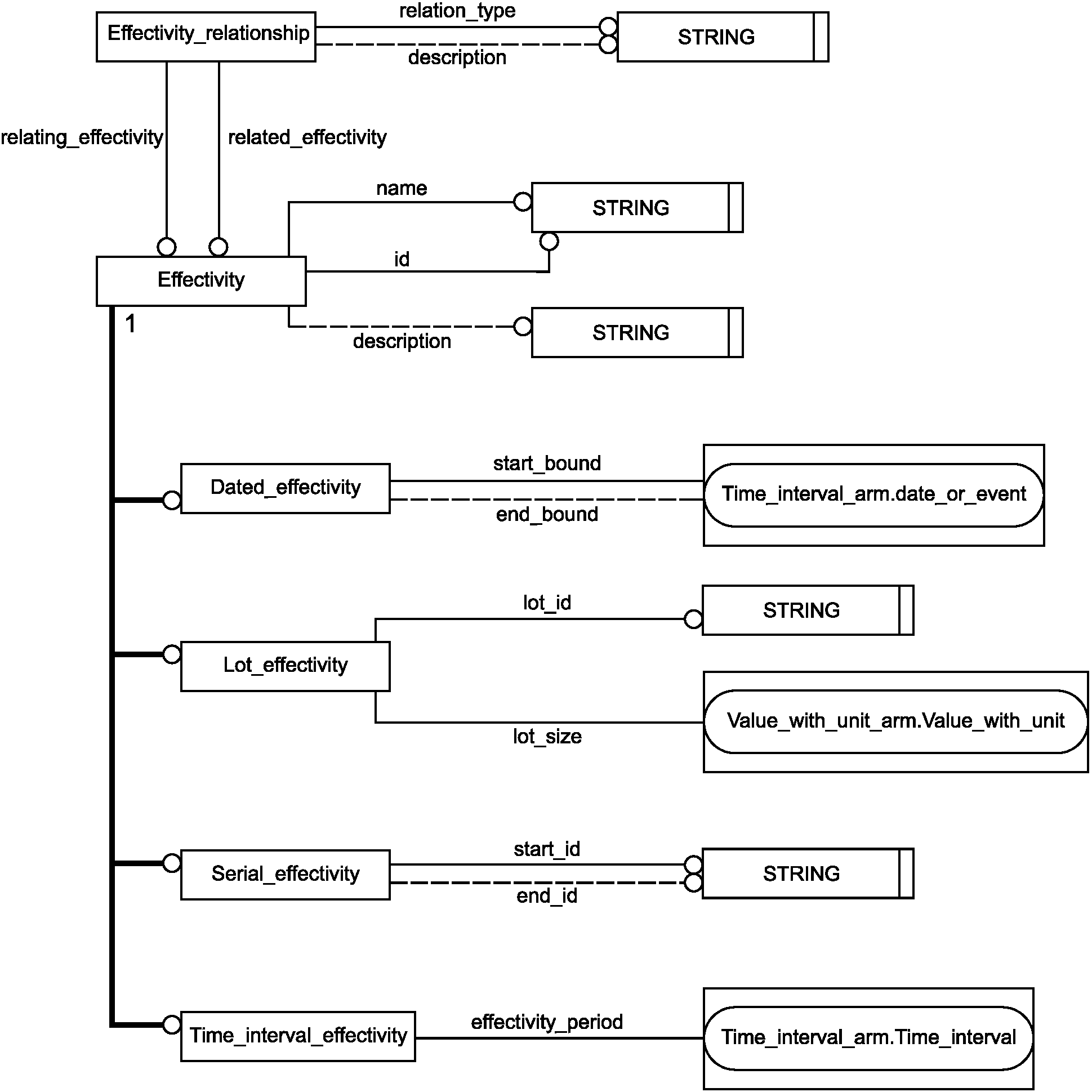
4.2.1 Объект Dated_effectivity
Объект Dated_effectivity является таким подтипом объекта Effectivity, для которого область применяемости определяется как интервал времени, ограниченный датами или событиями. Интервал может быть открытым.
Пример - События могут использоваться для ограничения заданного объектом Dated_effectivity периода на этапе планирования.
В зависимости от того, задано ли значение атрибута end_bound, действительная область времени, заданная объектом Dated_effectivity, будет:
- или периодом времени между начальными и конечными датами или событиями;
- или неограниченным периодом времени, начинающимся от начальной даты или события.
Если значением атрибута end_bound является событие, которое соответствует моменту времени, наступающему до момента времени, заданного атрибутом start_bound, то действительный период применяемости будет пустым.
EXPRESS-спецификация:
*)
ENTITY Dated_effectivity
SUBTYPE OF (Effectivity);
start_bound : date_or_event;
end_bound : OPTIONAL date_or_event;
END_ENTITY;
(*
Определения атрибутов
start_bound - дата или событие, задающие начало периода применяемости;
end_bound - дата или событие, задающие окончание периода применяемости. Значение этому атрибуту присваивать не обязательно. Если для этого атрибута значение не задано, то период применяемости не имеет окончания.
Неформальное положение
IP1: если значения обоих атрибутов заданы датами, то дата, заданная атрибутом end_bound, должна быть больше даты, заданной атрибутом start_bound.
4.2.2 Объект Effectivity
Объект Effectivity используется для установления области применяемости.
Примечание - С помощью конструкций, определения которых даны в прикладном модуле Effectivity application, экземпляры объекта могут быть применены к данным об изделии или к данным о действии любой разновидности.
EXPRESS-спецификация:
*)
ENTITY Effectivity
SUPERTYPE OF (ONEOF (Serial_effectivity,
Dated_effectivity,
Lot_effectivity,
Time_interval_effectivity));
id : STRING;
name : STRING;
description : OPTIONAL STRING;
END_ENTITY;
(*
Определения атрибутов
Id - идентификатор, позволяющий различать объекты Effectivity;
name - слова, которыми называется применяемость, представленная объектом Effectivity;
description - текст, предоставляющий дополнительную информацию о применяемости, представленной объектом Effectivity. Задавать значение этому атрибуту не обязательно.
4.2.3 Объект Effectivity_relationship
Объект Effectivity_relationship представляет отношение между двумя экземплярами объекта Effectivity, представляющими применяемости. Смысл этого отношения задается атрибутом relation_type.
EXPRESS-спецификация:
*)
ENTITY Effectivity_relationship;
relation_type : STRING;
description : OPTIONAL STRING;
relating_effectivity : Effectivity;
related_effectivity : Effectivity;
END_ENTITY;
(*
Определения атрибутов
relation_type - текст, описывающий смысл отношения.
Когда это приемлемо, должно использоваться следующее значение:
- 'constraint' (ограничение): область применения, задаваемая связываемым объектом Effectivity, должна быть включена в область применения связывающего объекта Effectivity;
description - текст, предоставляющий дополнительную информацию об отношении. Задавать значение этому атрибуту не обязательно;
relating_effectivity - первый из участвующих в отношении экземпляров объекта Effectivity;
related_effectivity - второй из участвующих в отношении экземпляров объекта Effectivity.
4.2.4 Объект Lot_effectivity
Объект Lot_effectivity является таким подтипом объекта Effectivity, для которого область применяемости определяется как заданная партия образцов.
EXPRESS-спецификация:
*)
ENTITY Lot_effectivity
SUBTYPE OF (Effectivity);
lot_id : STRING;
lot_size : Value_with_unit;
END_ENTITY;
(*
Определения атрибутов
lot_id - обозначение партии образцов;
lot_size - размер партии образцов.
4.2.5 Объект Serial_effectivity
Объект Serial_effectivity является таким подтипом объекта Effectivity, для которого область применяемости определяется как диапазон порядковых номеров, который может не иметь верхнего предела.
EXPRESS-спецификация:
*)
ENTITY Serial_effectivity
SUBTYPE OF (Effectivity);
start_id : STRING;
end_id : OPTIONAL STRING;
END_ENTITY;
(*
Определения атрибутов
start_id - первый разрешенный порядковый номер;
end_id - последний разрешенный порядковый номер. Значение этому атрибуту задавать не обязательно. Если значение атрибута не задано, то диапазон применяемых порядковых номеров не имеет верхней границы.
4.2.6 Объект Time_interval_effectivity
Объект Time_interval_effectivity является таким подтипом объекта Effectivity, для которого область применяемости определяется как интервал времени, представленный объектом Time_interval.
EXPRESS-спецификация:
*)
ENTITY Time_interval_effectivity
SUBTYPE OF (Effectivity);
effectivity_period : Time_interval;
END_ENTITY;
(*
Определение атрибута
effectivity_period - представляющий интервал времени объект Time_interval, задающий допустимую область применяемости.
*)
END_SCHEMA; -- Effectivity_arm
(*
5 Интерпретированная модель модуля
5.1 Спецификация отображения
В настоящем стандарте под термином "прикладной элемент" понимаются любой объектный тип данных, определенный в разделе 4, любой из его явных атрибутов и любое ограничение на подтипы. Термин "элемент ИММ" означает любой объектный тип данных, определенный в 5.2 или импортированный с помощью оператора USE FROM из другой EXPRESS-схемы, а также любой из их атрибутов и любое ограничение на подтипы, определенное в 5.2 либо импортированное с помощью оператора USE FROM.
В данном подразделе представлена спецификация отображения, которая определяет, как каждый прикладной элемент, описанный в разделе 4 настоящего стандарта, отображается на один или более элементов ИММ (см. 5.2).
Спецификация отображения для каждого объекта ПЭМ определена ниже в отдельном пункте. Спецификация отображения атрибута объекта для ПЭМ описывается в подпункте пункта, содержащего спецификацию отображения этого объекта. Каждая спецификация содержит не более пяти секций.
Секция "Заголовок" содержит:
- наименование рассматриваемого объекта ПЭМ или ограничение на подтипы либо
- наименование атрибута рассматриваемого объекта ПЭМ, если данный атрибут ссылается на тип, не являющийся объектным типом данных или типом SELECT, который содержит или может содержать объектные типы данных, либо
- составное выражение вида: "связь объекта <наименование объекта ПЭМ> с объектом <тип данных, на который дана ссылка>, представляющим атрибут <наименование атрибута>", если данный атрибут ссылается на тип данных, являющийся объектным типом данных или типом SELECT, который содержит или может содержать объектные типы данных.
Секция "Элемент ИММ" содержит в зависимости от рассматриваемого прикладного элемента следующие составляющие:
- наименование одного или более объектных типов данных ИММ;
- наименование атрибута объекта ИММ, представленное в виде синтаксической конструкции <наименование объекта>.<наименование атрибута>, если рассматриваемый атрибут ссылается на тип, не являющийся объектным типом данных или типом SELECT, который содержит или может содержать объектные типы данных;
- ключевое слово PATH, если рассматриваемый атрибут объекта ПЭМ ссылается на объектный тип данных или на тип SELECT, который содержит или может содержать объектные типы данных;
- ключевое слово IDENTICAL MAPPING, если оба прикладных объекта, присутствующих в прикладном утверждении, отображаются на тот же самый экземпляр объектного типа данных ИММ;
- синтаксическую конструкцию /SUPERTYPE (<наименование супертипа>)/, если рассматриваемый объект ПЭМ отображается как его супертип;
- одну или более конструкций /SUBTYPE (<наименование подтипа>)/, если отображение рассматриваемого объекта ПЭМ является объединением отображений его подтипов.
Если отображение прикладного элемента содержит более одного элемента ИММ, то каждый из этих элементов ИММ представляется в отдельной строке спецификации отображения, заключенной в круглые или квадратные скобки.
Секция "Источник" содержит:
- обозначение стандарта ИСО, в котором определен данный элемент ИММ, для тех элементов ИММ, которые определены в общих ресурсах;
- обозначение настоящего стандарта для тех элементов ИММ, которые определены в схеме ИММ настоящего стандарта.
Данная секция опускается, если в секции "Элемент ИММ" используются ключевые слова PATH или IDENTICAL MAPPING.
Секция "Правила" содержит наименования одного или более глобальных правил, которые применяются к совокупности объектных типов данных ИММ, перечисленных в секции "Элемент ИММ" или "Ссылочный путь". Если правила не применяются, то данную секцию опускают.
За ссылкой на глобальное правило может следовать ссылка на подпункт, в котором определено данное правило.
Секция "Ограничение" содержит наименование одного или более ограничений на подтипы, которые применяются к совокупности объектных типов данных ИММ, перечисленных в секции "Элемент ИММ" или "Ссылочный путь". Если ограничения на подтипы отсутствуют, то данную секцию опускают.
За ссылкой на ограничение подтипа может следовать ссылка на подпункт, в котором определено данное ограничение на подтипы.
Секция "Ссылочный путь" содержит:
- ссылочный путь к супертипам в общих ресурсах для каждого элемента ИММ, созданного в настоящем стандарте;
- спецификацию взаимосвязей между элементами ИММ, если отображение прикладного элемента требует связать экземпляры нескольких объектных типов данных ИММ. В этом случае в каждой строке ссылочного пути указывают роль элемента ИММ по отношению к ссылающемуся на него элементу ИММ или к следующему по ссылочному пути элементу ИММ.
В выражениях, определяющих ссылочные пути и ограничения между элементами ИММ, применяют следующие условные обозначения:
[] - в квадратные скобки заключают несколько элементов ИММ или частей ссылочного пути, которые требуются для обеспечения соответствия информационному требованию;
() - в круглые скобки заключают несколько элементов ИММ или частей ссылочного пути, которые являются альтернативными в рамках отображения для обеспечения соответствия информационному требованию;
{} - заключенный в фигурные скобки фрагмент ограничивает ссылочный путь для обеспечения соответствия информационному требованию;
<> - в угловые скобки заключают один или более необходимых ссылочных путей;
|| - между вертикальными линиями помещают объект супертипа;
-> - атрибут, наименование которого предшествует символу ->, ссылается на объектный или выбираемый тип данных, наименование которого следует после этого символа;
<- - атрибут объекта, наименование которого следует после символа <-, ссылается на объектный или выбираемый тип данных, наименование которого предшествует этому символу;
[i] - атрибут, наименование которого предшествует символу [i], является агрегированной структурой; ссылка дается на любой элемент данной структуры;
[n] - атрибут, наименование которого предшествует символу [n], является упорядоченной агрегированной структурой; ссылка дается на n-й элемент данной структуры;
=> - объект, наименование которого предшествует символу =>, является супертипом объекта, наименование которого следует после этого символа;
<= - объект, наименование которого предшествует символу <=, является подтипом объекта, наименование которого следует после этого символа;
= - строковый (STRING), выбираемый (SELECT) или перечисляемый (ENUMERATION) тип данных ограничен списком выбора или значением;
\ - выражение для ссылочного пути продолжается на следующей строке;
* - один или более экземпляров взаимосвязанных объектных типов данных могут быть объединены в древовидную структуру. Путь между объектом взаимосвязи и связанными с ним объектами заключают в фигурные скобки;
-- - последующий текст является комментарием или ссылкой на раздел;
*> - выбираемый (SELECT) или перечисляемый (ENUMERATION) тип данных, наименование которого предшествует символу *>, расширяется до выбираемого или перечисляемого типа данных, наименование которого следует за этим символом;
<* - выбираемый (SELECT) или перечисляемый (ENUMERATION) тип данных, наименование которого предшествует символу <*, является расширением выбираемого или перечисляемого типа данных, наименование которого следует за этим символом.
Определение и использование шаблонов отображения не поддерживаются в настоящей версии прикладных модулей, однако поддерживается использование предопределенных шаблонов /SUBTYPE/ и /SUPERTYPE/.
5.1.1 Прикладной объект Dated_effectivity
Элемент ИММ:
dated_effectivity
Источник:
ИСО 10303-41
Ссылочный путь:
dated_effectivity <= effectivity
5.1.1.1 Связь объекта Dated_effectivity с объектом Calendar_date, представляющим атрибут start_bound
Элемент ИММ:
PATH
Ссылочный путь:
dated_effectivity.effectivity_start_date -> date_time_or_event_occurrence
{date_time_or_event_occurrence = date_time_select
date_time_select = date
date => calendar_date}
5.1.1.2 Связь объекта Dated_effectivity с объектом Date_time, представляющим атрибут start_bound
Элемент ИММ:
PATH
Ссылочный путь:
dated_effectivity.effectivity_start_date -> date_time_or_event_occurrence
{date_time_or_event_occurrence = date_time_select
date_time_select = date_and_time}
5.1.1.3 Связь объекта Dated_effectivity с объектом Event, представляющим атрибут start_bound
Элемент ИММ:
PATH
Ссылочный путь:
dated_effectivity.effectivity_start_date -> date_time_or_event_occurrence
{date_time_or_event_occurrence = event_occurrence}
5.1.1.4 Связь объекта Dated_effectivity с объектом Calendar_date, представляющим атрибут end_bound
Элемент ИММ:
PATH
Ссылочный путь:
dated_effectivity.effectivity_end_date -> date_time_or_event_occurrence
{date_time_or_event_occurrence = date_time_select
date_time_select = date
date => calendar_date}
5.1.1.5 Связь объекта Dated_effectivity с объектом Date_time, представляющим атрибут end_bound
Элемент ИММ:
PATH
Ссылочный путь:
dated_effectivity.effectivity_end_date -> date_time_or_event_occurrence
{date_time_or_event_occurrence = date_time_select
date_time_select = date_and_time}
5.1.1.6 Связь объекта Dated_effectivity с объектом Event, представляющим атрибут end_bound
Элемент ИММ:
PATH
Ссылочный путь:
dated_effectivity.effectivity_end_date -> date_time_or_event_occurrence
{date_time_or_event_occurrence = event_occurrence}
5.1.2 Прикладной объект Effectivity
Элемент ИММ:
effectivity
Источник:
ИСО 10303-41
5.1.2.1 Атрибут id
Элемент ИММ:
effectivity.id
Источник:
ИСО 10303-41
5.1.2.2 Атрибут name
Элемент ИММ:
effectivity.name
Источник:
ИСО 10303-41
5.1.2.3 Атрибут description
Элемент ИММ:
effectivity.description
Источник:
ИСО 10303-41
5.1.3 Прикладной объект Effectivity_relationship
Элемент ИММ:
effectivity_relationship
Источник:
ИСО 10303-41
5.1.3.1 Атрибут relation_type
Элемент ИММ:
effectivity_relationship.name
Источник:
ИСО 10303-41
5.1.3.2 Атрибут description
Элемент ИММ:
effectivity_relationship.description
Источник:
ИСО 10303-41
5.1.3.3 Связь объекта Effectivity_relationship с объектом Effectivity, представляющим атрибут relating_effectivity
Элемент ИММ:
PATH
Ссылочный путь:
effectivity_relationship.relating_effectivity -> effectivity
5.1.4 Прикладной объект Lot_effectivity
Элемент ИММ:
lot_effectivity
Источник:
ИСО 10303-41
Ссылочный путь:
lot_effectivity <= effectivity
5.1.4.1 Атрибут lot_id
Элемент ИММ:
lot_effectivity.effectivity_lot_id
Источник:
ИСО 10303-41
5.1.4.2 Связь объекта Lot_effectivity с объектом Value_with_unit, представляющим атрибут lot_size
Элемент ИММ:
PATH
Ссылочный путь:
lot_effectivity.effectivity_lot_size -> measure_with_unit
5.1.5 Прикладной объект Serial_effectivity
Элемент ИММ:
serial_numbered_effectivity
Источник:
ИСО 10303-41
Ссылочный путь:
serial_numbered_effectivity <= effectivity
5.1.5.1 Атрибут start_id
Элемент ИММ:
serial_numbered_effectivity.effectivity_start_id
Источник:
ИСО 10303-41
5.1.5.2 Атрибут end_id
Элемент ИММ:
serial_numbered_effectivity.effectivity_end_id
Источник:
ИСО 10303-41
5.1.6 Прикладной объект Time_interval_effectivity
Элемент ИММ:
time_interval_based_effectivity
Источник:
ИСО 10303-41
Ссылочный путь:
time_interval_based_effectivity <= effectivity
5.1.6.1 Связь объекта Time_interval_effectivity с объектом Time_interval, представляющим атрибут effectivity_period
Элемент ИММ:
PATH
Ссылочный путь:
time_interval_based_effectivity.effectivity_period -> time_interval
5.2 Сокращенный листинг ИММ на языке EXPRESS
В данном подразделе определена EXPRESS-схема, полученная из таблицы отображений. В ней использованы элементы из общих ресурсов или из других прикладных модулей и определены конструкции на языке EXPRESS, относящиеся к настоящему стандарту.
В данном подразделе определена интерпретированная модель прикладного модуля "Применяемость", а также определены модификации, которым подвергаются конструкции, импортированные из общих ресурсов.
При использовании в данной схеме конструкций, определенных в общих ресурсах или в прикладных модулях, необходимо применять следующие ограничения:
- использование объекта супертипа не дает права применять любой из его подтипов, пока этот подтип не будет также импортирован в схему ИММ;
- использование выбираемого типа SELECT не дает права применять любой из перечисленных в нем типов, пока этот тип не будет также импортирован в схему ИММ.
EXPRESS-спецификация:
*)
SCHEMA Effectivity_mim;
USE FROM Time_interval_mim; -- ISO/TS 10303-1065
USE FROM Value_with_unit_mim; -- ISO/TS 10303-1054
USE FROM effectivity_schema -- ISO 10303-41
(dated_effectivity,
effectivity,
effectivity_relationship,
lot_effectivity,
serial_numbered_effectivity,
time_interval_based_effectivity);
(*
Примечания
1 Схемы, ссылки на которые даны выше, можно найти в следующих стандартах и документах комплекса ИСО 10303:
Time_interval_mim - ИСО/ТС 10303-1065;
Value_with_unit_mim - ИСО/ТС 10303-1054;
effectivity_schema - ИСО 10303-41.
2 Графическое представление данных схем приведено на рисунке D.1, приложение D.
*)
END_SCHEMA; -- Effectivity_mim
(*
Приложение A
(обязательное)
СОКРАЩЕННЫЕ НАИМЕНОВАНИЯ ОБЪЕКТОВ ИММ
Наименования объектов, использованных в настоящем стандарте, определены в стандартах, перечисленных в разделе 2.
Требования к использованию сокращенных наименований содержатся в стандартах тематической группы "Методы реализации" комплекса ИСО 10303.
Приложение B
(обязательное)
РЕГИСТРАЦИЯ ИНФОРМАЦИОННЫХ ОБЪЕКТОВ
B.1 Обозначение документа
Для однозначного обозначения информационного объекта в открытой системе настоящему стандарту присвоен следующий идентификатор объекта:
{iso standard 10303 part(1057) version(1)}
Смысл данного обозначения установлен в ИСО/МЭК 8824-1 и описан в ИСО 10303-1.
B.2 Обозначение схем
B.2.1 Обозначение схемы Effectivity_arm
Для однозначного обозначения в открытой информационной системе схеме Effectivity_arm, установленной в настоящем стандарте, присвоен следующий идентификатор объекта:
{iso standard 10303 part(1057) version(1)
schema(1) effectivity-arm(1)}
Смысл данного обозначения установлен в ИСО/МЭК 8824-1 и описан в ИСО 10303-1.
B.2.2 Обозначение схемы Effectivity_mim
Для однозначного обозначения в открытой информационной системе схеме Effectivity_mim, установленной в настоящем стандарте, присвоен следующий идентификатор объекта:
{iso standard 10303 part(1057) version(1)
schema(1) effectivity-mim (2)}
Смысл данного обозначения установлен в ИСО/МЭК 8824-1 и описан в ИСО 10303-1.
Приложение C
(справочное)
EXPRESS-G ДИАГРАММЫ ПЭМ
Диаграммы на рисунках C.1 и C.2 получены из сокращенного листинга ПЭМ на языке EXPRESS, приведенного в разделе 4. В диаграммах использована графическая нотация EXPRESS-G языка EXPRESS.
Рисунок C.1 - Представление ПЭМ на уровне схем
в формате EXPRESS-G
Рисунок C.2 - Представление ПЭМ на уровне объектов
в формате EXPRESS-G
В настоящем приложении приведены два различных представления ПЭМ для рассматриваемого прикладного модуля:
- представление на уровне схем отображает импорт конструкций, определенных в схемах ПЭМ других прикладных модулей, в схему ПЭМ рассматриваемого прикладного модуля с помощью операторов USE FROM;
- представление на уровне объектов отображает конструкции на языке EXPRESS, определенные в схеме ПЭМ данного прикладного модуля, и ссылки на импортированные конструкции, которые конкретизированы или на которые имеются ссылки в конструкциях схемы ПЭМ рассматриваемого прикладного модуля.
Примечание - Оба эти представления являются неполными. Представление на уровне схем не отображает схем ПЭМ модулей, которые импортированы косвенным образом. Представление на уровне объектов не отображает импортированных конструкций, которые не конкретизированы или на которые нет ссылок в конструкциях схемы ПЭМ рассматриваемого прикладного модуля.
Описание EXPRESS-G установлено в ИСО 10303-11, приложение D.
Приложение D
(справочное)
EXPRESS-G ДИАГРАММА ИММ
Диаграмма на рисунке D.1 получена из сокращенного листинга ИММ на языке EXPRESS, приведенного в 5.2. В диаграмме использована графическая нотация EXPRESS-G языка EXPRESS.
Рисунок D.1 - Представление ИММ на уровне схем
в формате EXPRESS-G
В настоящем приложении приведено представление ИММ прикладного модуля "Применяемость" на уровне схем, которое отображает импорт конструкций, определенных в схемах ИММ других прикладных модулей или в схемах общих ресурсов, в схему ИММ рассматриваемого прикладного модуля с помощью операторов USE FROM.
Примечание - Представление на уровне схем не отображает схемы ИММ модулей, которые импортированы косвенным образом.
Описание EXPRESS-G установлено в ИСО 10303-11, приложение D.
Приложение E
(справочное)
МАШИННО-ИНТЕРПРЕТИРУЕМЫЕ ЛИСТИНГИ
В данном приложении приведены ссылки на сайты, на которых находятся листинги наименований объектов на языке EXPRESS и соответствующих сокращенных наименований, установленных или на которые даются ссылки в настоящем стандарте. На этих же сайтах находятся листинги всех EXPRESS-схем, установленных в настоящем стандарте, без комментариев и другого поясняющего текста. Эти листинги доступны в машинно-интерпретируемой форме (см. таблицу E.1) и могут быть получены по следующим адресам URL:
сокращенные наименования: http://www.tc184-sc4.org/Short_Names/;
EXPRESS: http://www.tc184-sc4.org/EXPRESS/.
Таблица E.1
Листинги ПЭМ и ИММ на языке EXPRESS
Описание
Идентификатор
Сокращенный листинг ПЭМ на языке EXPRESS
ISO TC184/SC4/WG12 N1168
Сокращенный листинг ИММ на языке EXPRESS
ISO TC184/SC4/WG12 N1169
Если доступ к этим сайтам невозможен, необходимо обратиться в центральный секретариат ИСО или непосредственно в секретариат ИСО ТК184/ПК4 по адресу электронной почты: sc4sec@tc184-sc4.org.
Примечание - Информация, представленная в машинно-интерпретированном виде по указанным выше адресам URL, является справочной. Обязательным является текст настоящего стандарта.
Приложение ДА
(справочное)
СВЕДЕНИЯ О СООТВЕТСТВИИ ССЫЛОЧНЫХ МЕЖДУНАРОДНЫХ СТАНДАРТОВ
И ДОКУМЕНТОВ НАЦИОНАЛЬНЫМ СТАНДАРТАМ РОССИЙСКОЙ ФЕДЕРАЦИИ
Таблица ДА.1
Обозначение ссылочного международного стандарта, документа
Степень соответствия
Обозначение и наименование соответствующего национального стандарта
ИСО/МЭК 8824-1:1998
IDT
ГОСТ Р ИСО/МЭК 8824-1-2001 "Информационная технология. Абстрактная синтаксическая нотация версии один (АСН.1). Часть 1. Спецификация основной нотации"
ИСО 10303-1:1994
IDT
ГОСТ Р ИСО 10303-1-99 "Системы автоматизации производства и их интеграция. Представление данных об изделии и обмен этими данными. Часть 1. Общие представления и основополагающие принципы"
ИСО 10303-11:1994
IDT
ГОСТ Р ИСО 10303-11-2009 "Системы автоматизации производства и их интеграция. Представление данных об изделии и обмен этими данными. Часть 11. Методы описания. Справочное руководство по языку EXPRESS"
ИСО 10303-21:2002
IDT
ГОСТ Р ИСО 10303-21-2002 "Системы автоматизации производства и их интеграция. Представление данных об изделии и обмен этими данными. Часть 21. Методы реализации. Кодирование открытым текстом структуры обмена"
ИСО 10303-41:2005
IDT
ГОСТ Р ИСО 10303-41-99 "Системы автоматизации производства и их интеграция. Представление данных об изделии и обмен этими данными. Часть 41. Интегрированные обобщенные ресурсы. Основы описания и поддержки изделий"
ИСО 10303-202:1996
-
ИСО/ТС 10303-1001:2004
IDT
ГОСТ Р ИСО/ТС 10303-1001-2010 "Системы автоматизации производства и их интеграция. Представление данных об изделии и обмен этими данными. Часть 1001. Прикладной модуль. Присваивание внешнего вида"
ИСО/ТС 10303-1017:2004
IDT
ГОСТ Р ИСО/ТС 10303-1017-2010 "Системы автоматизации производства и их интеграция. Представление данных об изделии и обмен этими данными. Часть 1017. Прикладной модуль. Идентификация изделия"
ИСО/ТС 10303-1054:2004
-
ИСО/ТС 10303-1065:2004
-
<*> Соответствующий национальный стандарт отсутствует. До его утверждения рекомендуется использовать перевод на русский язык данного международного стандарта (документа). Перевод данного международного стандарта (документа) находится в Федеральном информационном фонде технических регламентов и стандартов.
Примечание - В настоящей таблице использовано следующее условное обозначение степени соответствия стандартов:
- IDT - идентичные стандарты.
УДК 656.072:681.3:006.354
ОКС 25.040.40
ОКСТУ 4002
Ключевые слова: прикладные автоматизированные системы, промышленные изделия, представление данных, обмен данными, разрешенная область применения, обозначение разрешенной области применения, связи между двумя разрешенными областями применения