Главная // Актуальные документы // ГОСТ Р (Государственный стандарт)СПРАВКА
Источник публикации
М.: Стандартинформ, 2012
Примечание к документу
Документ
введен в действие с 1 декабря 2012 года.
Название документа
"ГОСТ Р ИСО 16121-1-2011. Национальный стандарт Российской Федерации. Эргономика транспортных средств. Требования к рабочему месту водителя автобуса. Часть 1. Основные требования"
(утв. и введен в действие Приказом Росстандарта от 01.12.2011 N 668-ст)
"ГОСТ Р ИСО 16121-1-2011. Национальный стандарт Российской Федерации. Эргономика транспортных средств. Требования к рабочему месту водителя автобуса. Часть 1. Основные требования"
(утв. и введен в действие Приказом Росстандарта от 01.12.2011 N 668-ст)
Утвержден и введен в действие
по техническому регулированию
и метрологии
от 1 декабря 2011 г. N 668-ст
НАЦИОНАЛЬНЫЙ СТАНДАРТ РОССИЙСКОЙ ФЕДЕРАЦИИ
ЭРГОНОМИКА ТРАНСПОРТНЫХ СРЕДСТВ
ТРЕБОВАНИЯ К РАБОЧЕМУ МЕСТУ ВОДИТЕЛЯ АВТОБУСА
ЧАСТЬ 1
ОСНОВНЫЕ ТРЕБОВАНИЯ
Ergonomic of vehicles. Requirements for the workplace
of bus driver. Part 1. Basic requirements
ISO 16121-1:2005
Road vehicles - Ergonomic requirements for the driver's
workplace in line-service buses - Part 1: General
description, basic requirements
(IDT)
ГОСТ Р ИСО 16121-1-2011
Группа Э65
Дата введения
1 декабря 2012 года
Цели и принципы стандартизации в Российской Федерации установлены Федеральным
законом от 27 декабря 2002 г. N 184-ФЗ "О техническом регулировании", а правила применения национальных стандартов Российской Федерации -
ГОСТ Р 1.0-2004 "Стандартизация в Российской Федерации. Основные положения".
1. Подготовлен Автономной некоммерческой организацией "Научно-исследовательский центр контроля и диагностики технических систем" (АНО "НИЦ КД") на основе собственного аутентичного перевода на русский язык стандарта, указанного в пункте 4.
2. Внесен Техническим комитетом по стандартизации ТК 201 "Эргономика".
3. Утвержден и введен в действие
Приказом Федерального агентства по техническому регулированию и метрологии от 1 декабря 2011 г. N 668-ст.
4. Настоящий стандарт идентичен международному стандарту ИСО 16121-1:2005 "Транспорт дорожный. Эргономические требования к рабочему месту водителя в автобусах. Часть 1. Общее описание, основные требования" (ISO 16121-1:2005 "Road vehicles - Ergonomic requirements for the driver's workplace in line-service buses - Part 1: General description, basic requirements").
Наименование настоящего стандарта изменено относительно наименования указанного международного стандарта для приведения в соответствие с ГОСТ Р 1.5-2004
(подраздел 3.5).
При применении настоящего стандарта рекомендуется использовать вместо ссылочных международных стандартов соответствующие им национальные стандарты, сведения о которых приведены в
Приложении ДА.
5. Введен впервые.
Информация об изменениях к настоящему стандарту публикуется в ежегодно издаваемом информационном указателе "Национальные стандарты", а текст изменений и поправок - в ежемесячно издаваемых информационных указателях "Национальные стандарты". В случае пересмотра (замены) или отмены настоящего стандарта соответствующее уведомление будет опубликовано в ежемесячно издаваемом информационном указателе "Национальные стандарты". Соответствующая информация, уведомление и тексты размещаются также в информационной системе общего пользования - на официальном сайте Федерального агентства по техническому регулированию и метрологии в сети Интернет.
Низкая эргономичность рабочего места водителя автобуса, предназначенного для рейсовых городских и междугородних перевозок, приводит к увеличению физического и умственного напряжения водителя.
В настоящем стандарте приведены рекомендации для проектировщика рейсовых автобусов по разработке общей эргономической концепции рабочего места водителя. Рекомендуемые требования к рабочему месту водителя рейсового автобуса, установленные в настоящем стандарте, основаны на научных выводах исследовательского проекта "Рабочее место водителя в рейсовом автобусе", который был проведен в Германии и обобщен в рекомендациях VDV 234
[3]. В стандарте также учтены всесторонние эргономические исследования, относящиеся к конструкции улучшенного рабочего места водителя, проведенные в США, Канаде, Нидерландах, Швеции и Соединенном Королевстве (
[4] -
[8]).
Настоящий стандарт предлагает практические решения для всего диапазона роста водителей, в том числе 1,58 м (невысокая женщина) и 2,0 м (высокий мужчина). Рост включает в себя высоту подошвы обуви (30 мм).
Важно, чтобы при проектировании рабочего места водителя были учтены требования всех стандартов серии ИСО 16121 (части 1 - 4).
Следует отметить, что при наличии национальных требований в рассматриваемой области они также должны быть выполнены. В случае возникновения противоречий между национальными требованиями и требованиями стандартов серии ИСО 16121 в какой-либо специфической области национальные требования должны превалировать только в этой специфической области.
Настоящий стандарт устанавливает требования к рабочему месту водителя автобуса с низким расположением пола, в котором имеется более восьми сидений для пассажиров (кроме сиденья водителя), имеющего максимальный вес более пяти тонн и габаритную ширину более 2,30 м.
Требования настоящего стандарта направлены на обеспечение эргономичности и комфорта посадочного места водителя, способствующих сохранению здоровья водителя. Тщательный подбор размеров и установочных положений сиденья водителя, педалей и рулевого управления позволяет обеспечить водителю эргономичное рабочее положение (с углами, соответствующими приведенным диапазонам комфорта) и возможность несколько изменять свое положение.
В настоящем стандарте использованы ссылки на следующие международные стандарты:
ИСО 2575 Транспорт дорожный. Символы для элементов управления, индикаторов и сигнальных устройств (ISO 2575, Road vehicles - Symbols for controls, indicators and tell-tales)
ИСО 6549 Транспорт дорожный. Процедура определения точек H и R (ISO 6549, Road vehicles - Procedure for H- and R-point determination)
ИСО 10326-1 Вибрация механическая. Оценка вибрации сидений транспортного средства по результатам лабораторных испытаний. Часть 1. Общие требования (ISO 10326-1, Mechanical vibration - Laboratory method for evaluating vehicle seat vibration - Part 1: Basic requirements)
В настоящем стандарте применены следующие термины с соответствующими определениями:
3.1. Транспортное средство с низким расположением пола (low-floor): транспортное средство, в котором не менее 35% площади (или площади его передней части в случае сочлененного транспортного средства), отводимой для стоящих пассажиров, образует сплошную поверхность без ступенек, на которую пассажир может подняться, сделав только один шаг с поверхности земли, имеющее хотя бы одну дверь, позволяющую это сделать.
3.2. Требуемые значения (required): значения, соответствующие современному техническому уровню, применение которых позволяет достигать приемлемого уровня эргономичности конструкции.
3.3. Рекомендуемые значения (recommended): значения, характеризующие предпочтительные эргономические условия рабочего места водителя, к обеспечению которых следует стремиться при разработке транспортных средств.
3.4. Нулевая плоскость X (zero-X-plane): вертикальная плоскость, проходящая через пяточную точку водителя, перпендикулярная продольной срединной плоскости автобуса.
3.5. Нулевая плоскость Y (zero-Y-plane): срединная плоскость водителя (находящегося в позе управления), параллельная продольной срединной плоскости автобуса.
3.6. Нулевая плоскость Z (zero-Z-plane): горизонтальная плоскость, проходящая через пяточную точку водителя.
3.7. Пяточная точка водителя, ПТВ (Operator Heel Point, OHP): место касания правой пятки водителя поверхности пола или другой опоры для пятки.
3.8. Линия пяточной точки (heel point line): линия пересечения нулевой плоскости X с нулевой плоскостью Z.
4.1. Размеры
4.1.1. Исходная система координат
Все размеры на рабочем месте водителя относятся к системе координат, привязанной к водителю (см.
рисунок 1).
1 - нулевая плоскость X; 2 - нулевая плоскость Y;
3 - нулевая плоскость Z; 4 - линия ПТВ
Рисунок 1. Система координат, привязанная к водителю
Исходная система координат образована нулевой плоскостью X, нулевой плоскостью Y и нулевой плоскостью Z, перпендикулярными друг к другу.
Точка пересечения всех трех плоскостей (начало координат) соответствует ПТВ, линия пересечения нулевой плоскости X с нулевой плоскостью Z является линией пяточной точки.
Оси X, Y и Z имеют такую ориентацию, что диапазон отрицательных координат лежит перед нулевой плоскостью X, слева от нулевой плоскости Y и ниже нулевой плоскости Z, относительно направления взгляда водителя при управлении транспортным средством.
4.1.2. Допуски
Если не установлено иного, для линейных измерений считается приемлемым допуск +/- 10 мм. Этот допуск неприменим, если размеры установлены в виде диапазона значений (т.е. X = 10 - 30 мм).
4.1.3. Пяточная точка водителя
Для трех основных типов конструкции педали газа ПТВ определяют следующим образом:
- для педалей нажимного типа (см.
рисунок 2a) ПТВ - это точка пересечения поверхности пола или другой опоры для пятки с плоскостью верхней поверхности педали газа и вертикальной плоскостью, проходящей через середину педали;
- для педалей подвесного (маятникового) типа (см.
рисунок 2b) ПТВ - точка пересечения поверхности пола или другой опоры для пятки, используемой при нажатии педали с дугой окружности радиусом 200 мм и центром, расположенным в центре педали;
- для педалей нажимного типа с фиксированным упором для пятки (см.
рисунок 2c) за ПТВ следует брать точку пересечения упора для пятки с поверхностью педали и вертикальной плоскостью, проходящей через середину педали газа.
a) педаль нажимного типа без упора для пятки
b) педаль подвесного (маятникового) типа
c) педаль нажимного типа с упором для пятки
Рисунок 2. Определение пяточной точки водителя, ПТВ
Во всех случаях ПТВ должна лежать на вертикальной плоскости, проходящей через середину педали.
4.2. Рабочее место водителя, общая информация
Рекомендуется позади водителя разместить стенку.
4.2.1. Размеры рабочего места водителя
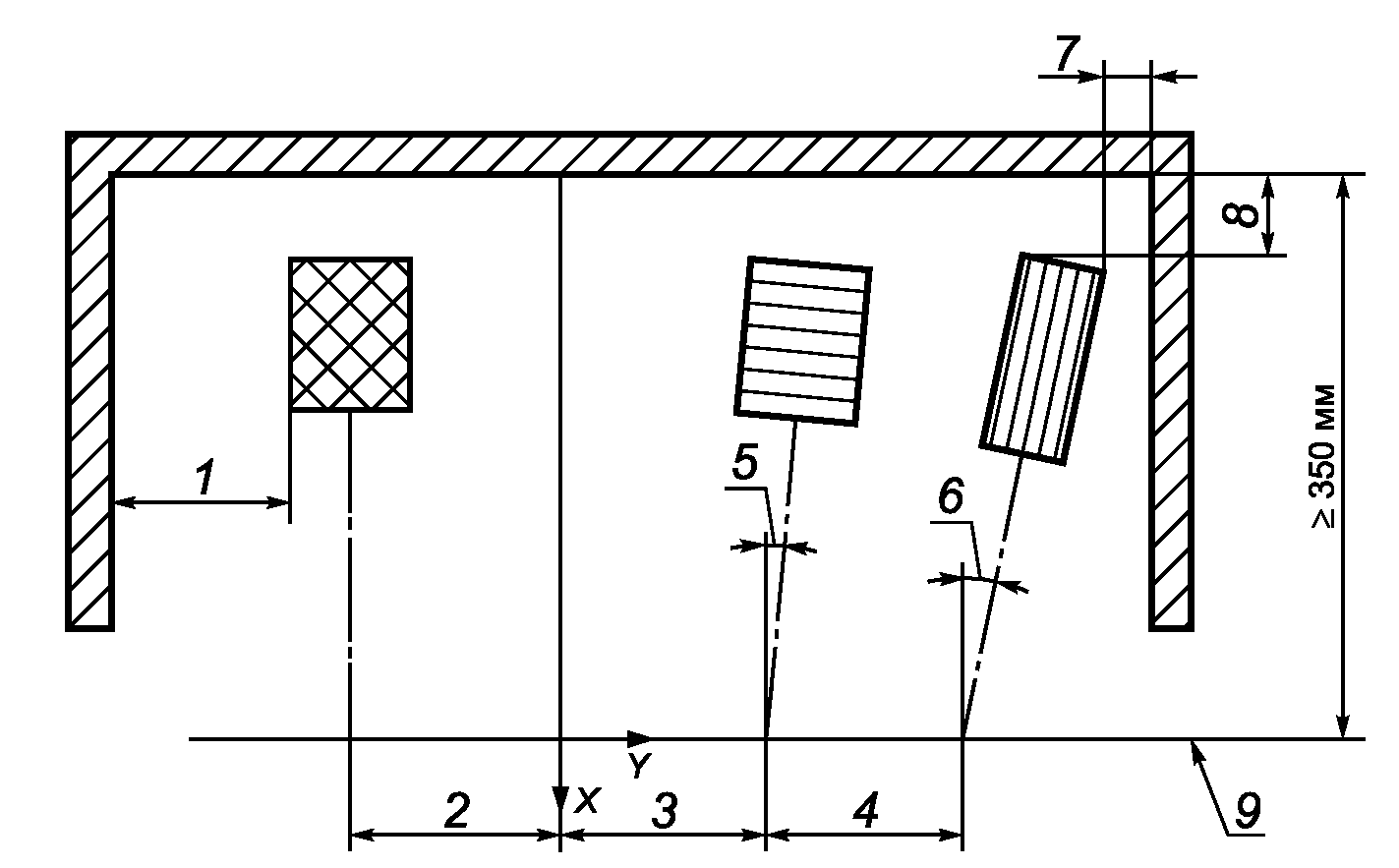
4.2.1.1. Длина рабочего места водителя
Длина рабочего места водителя (внутренний размер) должна быть такой, чтобы водитель мог произвести все регулировки (см. таблицу 1) своего рабочего места (включая регулировку поворотного механизма сиденья, если он установлен). Пространство для ног спереди от ПТВ должно быть не менее 350 мм (см.
рисунок 3).
Таблица 1
Размеры сиденья и диапазоны регулировки
Размеры в миллиметрах
Характеристика сиденья | Требуемые значения | Рекомендуемые значения | Замечания |
1. Расположение сиденья (точка H в соответствии с ИСО 6549) | - | X = 650 | |
Y = 0 |
Z = 510 |
2. Диапазон регулировки по горизонтали | >= 200 | >= 230 | >= 100 вперед и назад |
3. Диапазон регулировки по вертикали | >= 100 | >= 130 | >= 50 вверх и вниз |
| 400 - 450 | 390 - 500 регулируемая | - |
5. Ширина сиденья (общая) | >= 450 | >= 480 | - |
| 5° +/- 5° | 5° +/- 10° регулируемый | |
| >= 500 | >= 600 | - |
8. Ширина спинки сиденья (общая) | >= 475 | - | - |
9. Ширина спинки сиденья (поясничная область) | >= 270 | 300 - 340 | - |
10. Диапазон наклона спинки сиденья (от вертикали) | от + 10° до + 25° регулируемый | от 0° до 30° регулируемый | - |
11. Высота верхнего края подголовника (над подушкой сиденья) | >= 840 | - | |
| >= 120 | - | |
| >= 250 | - | |
14. Регулировка по весу для амортизации сиденья | - | 45 - 130 кг | - |
<a> Для целей настоящего стандарта точку H следует рассматривать как среднее положение в продольном направлении. Среднее положение означает середину продольного и вертикального диапазонов регулировки. |
<b> Угол является положительным, когда передний край подушки сиденья расположен выше. |
<c> При наличии подголовника. |

3 - передняя стенка; 4 - ПТВ
Рисунок 3. Кабина водителя, вид сбоку
4.2.1.2. Ширина рабочего места водителя
Ширина рабочего места водителя должна быть выбрана так, чтобы имелось достаточное расстояние до обивки кабины и достаточное пространство для ног с учетом возможности поворота сиденья. Для защиты пальцев должен быть предусмотрен зазор в 25 мм от внешних краев сиденья.
Минимальное свободное пространство

на уровне плеч должно составлять 800 мм на высоте не менее 900 мм от линии пяточной точки.
4.2.2. Доступ к рабочему месту водителя
В автобусах с низким расположением пола рабочее место водителя должно быть расположено на платформе. Рекомендуется, чтобы платформа имела высоту (200 +/- 50) мм над уровнем пола и водитель мог подняться на нее, сделав один шаг. Если высота платформы более 250 мм, то необходимо предусмотреть ступеньки с максимальной высотой 250 и минимальной высотой 125 мм.
Необходимо обеспечить свободный доступ к рабочему месту водителя с шириной прохода не менее 500 мм.
Эти требования предусмотрены для нормального прохода к рабочему месту водителя, но их не обязательно применять к дополнительным дверям аварийного выхода.
4.2.3. Место для ручной клади
На рабочем месте водителя (например, на двери кабины) должно быть предусмотрено место для сумки или других вещей водителя. Размеры места для ручной клади (длина x высота x ширина) для сумки водителя должны быть не менее 480 мм x 330 мм x 170 мм (желательно 240 мм, по возможности).
Необходимо обеспечить возможность открыть сумку и достать необходимые предметы, не выходя из кабины. Для личных вещей, которые могут понадобиться во время управления транспортным средством (например, солнечные очки), должно быть предусмотрено дополнительное легкодоступное нескользкое место.
Внутри кабины водителя должен быть предусмотрен крючок для одежды. Одежда (например, куртка), висящая на крючке, не должна мешать работе с элементами управления и уменьшать водителю обзор. Может быть предоставлена вешалка, но ее наличие не является обязательным.
Для ценных вещей должен быть предусмотрен запирающийся отсек.
4.3. Сиденье водителя
4.3.1. Расположение, размеры и диапазоны регулировки сиденья
Ось рулевого колеса должна быть расположена в нулевой плоскости y (срединной плоскости водителя). Допустимо смещение не более 25 мм.
Для возможности поддерживать безопасную для здоровья и комфортную позу должны быть предусмотрены размеры сиденья и диапазоны регулировки, указанные в столбце "Требуемые значения"
таблицы 1 (см. также
рисунок 4). Упоминаемая там точка H является точкой H, определяемой в соответствии с ИСО 6549.
Рисунок 4. Сиденье водителя
4.3.2. Регулировка сиденья
Водитель должен иметь возможность регулировать сиденье вручную (без использования инструментов) из положения сидя. Функциями регулировки должны быть: продольная регулировка сиденья и регулировка сиденья по высоте. Рекомендуется обеспечить возможность регулировки наклона спинки сиденья, наклона подушки сиденья, глубины подушки сиденья, опоры для поясницы по высоте и изогнутости, подголовника (если имеется) по высоте и наклону. Возможно использование сиденья с приводом, с памятью основных настроек.
4.3.3. Поворотный механизм сиденья (при наличии)
Если существует необходимость поворота сиденья, например, для возможности продажи водителем билетов с помощью специального оборудования, то необходимо обеспечить достаточное пространство для ног водителя. Диапазон поворота сиденья должен быть ограничен встроенными концевыми упорами. Сиденье должно автоматически блокироваться в положении вождения. Элементы управления для разблокирования сиденья должны быть легкодоступны.
4.3.4. Подвеска сиденья
Сиденье должно быть снабжено подвеской. Частота собственных колебаний этой подвески должна соответствовать частоте собственных колебаний всего транспортного средства. Система должна быть настроена таким образом, чтобы при обычной работе сохранялся коэффициент передачи менее 1.
Примечание. Для определения коэффициента передачи см. ИСО 10326-1.
4.3.5. Обивка сиденья
Сиденье должно иметь воздухопроницаемую обивку. Как вариант может быть установлено сиденье с подогревом и/или внутренней вентиляцией.
4.3.6. Инструкция по эксплуатации
Элементы управления сиденьем должны иметь четкую маркировку в соответствии с ИСО 2575, водителю должна быть предоставлена дополнительная инструкция для правильной регулировки сиденья.
4.4. Педали
4.4.1. Конструкция педалей
Педали газа и тормоза следует размещать таким образом, чтобы для смены педали во время управления достаточно было повернуть стопу, не отрывая пятки.
4.4.2. Расположение и компоновка
Необходимо, чтобы расположение, компоновка и рабочие усилия соответствовали значениям, приведенным в таблице 2 (см.
рисунок 5).
Таблица 2
Расположение и компоновка педалей
Размеры в миллиметрах
Характеристика педали | Требуемые значения | Рекомендуемые значения | Замечания |
1. | Педаль газа | - | - | - |
| Координаты пяточной точки (X, Y, Z) | | 0/250/0 | - |
| Угол поворота педали относительно нулевой плоскости Y | 8° - 15° | 12° | - |
1.3. | Нерабочее положение | 32° - 60° | 43° - 49° | |
1.4. | Рабочий угол | 20° - 30° | 20° | - |
1.5. | Рабочее усилие | 25 - 40 H | 30 - 35 H | - |
| Продольный зазор между педалью газа и кузовом в направлении Y | >= 50 | - | - |
| Продольный зазор между педалью газа и кузовом в направлении X | >= 30 | - | - |
2. | Педаль тормоза | - | - | - |
| Координаты пяточной точки (X, Y, Z) | | 0/130/0 | - |
| Угол поворота педали относительно нулевой плоскости Y | 0° - 8° | 5° | - |
2.3. | Нерабочее положение | 43° - 60° | 43° - 49° | |
2.4. | Рабочий угол | 20° - 30° | 25° | - |
2.5. | Усилие при максимальном торможении | | <= 250 H | - |
3. | Педаль сцепления (если имеется) | - | - | - |
| Расстояние от продольной оси педали до нулевой плоскости Y | от -115 до -165 | -130 | - |
3.2. | Угол поворота педали относительно нулевой плоскости Y | 0° | - | - |
3.3. | Высота центра педали над полом (Z) | 150 +/- 50 | - | - |
3.4. | Рабочий ход педали в направлении движения педали | 170 максимально | 150 | - |
3.5. | Усилие для выключения сцепления | <= 150 H | 20 - 120 H | - |
| Поперечное расстояние между сцеплением и кузовом | >= 100 | 100 - 150 | - |
<a> Педаль газа не должна быть расположена выше педали тормоза. |
<b> Максимальное усилие должно соответствовать национальным требованиям. |

9 - линия ПТВ
Рисунок 5. Компоновка ножных элементов управления
Рабочие усилия соответствуют рычагу с плечом 200 мм (расстояние от пяточной точки до центра поверхности педали).
4.4.3. Упор для левой ноги
Для опоры левой ноги необходимо предусмотреть упор, расположенный слева от рулевой колонки или слева от педали сцепления. Характеристики упора указаны в таблице 3.
Таблица 3
Расположение и компоновка упора для левой ноги
Размеры в миллиметрах
Характеристика упора | Обязательные значения | Рекомендуемые значения | Замечания |
Угол с горизонтальной плоскостью | 25° - 30° | - | - |
Длина | >= 300 | >= 350 | - |
Ширина | >= 100 | >= 150 | - |
Боковой зазор с педалью сцепления (при наличии) | 30 | - | - |
4.5. Рулевое управление
Необходимо обеспечить возможность регулировки, позволяющей изменять и блокировать положение рулевого колеса без изменения нормального положения водителя при вождении и освобождения ремня безопасности. Расположение и размер рулевого колеса должны соответствовать значениям, указанным в столбце "Требуемые значения" таблицы 4.
Таблица 4
Расположение и размер рулевого колеса
Характеристика рулевого колеса | Требуемые значения | Рекомендуемые значения | Замечания |
Положение центра рулевого колеса в плоскости рулевого колеса | - | X = 220 | |
Y = 0 +/- 25 |
Z = 770 |
|
Диаметр | <= 500 | 450 +/- 25 | |
Диапазон осевой регулировки | >= 80 | >= 110 | - |
Диапазон угловой регулировки | | | - |
<a>  - угол наклона обода рулевого колеса к горизонтали. |
<b> Минимальный диаметр определяется национальными требованиями на усилие при рулевом управлении. |
Перекладины рулевого колеса должны быть расположены таким образом, чтобы требования к приборам, расположенным в зоне А, определенные в ИСО 16121-3, были выполнены.
(справочное)
СВЕДЕНИЯ О СООТВЕТСТВИИ ССЫЛОЧНЫХ МЕЖДУНАРОДНЫХ СТАНДАРТОВ
ССЫЛОЧНЫМ НАЦИОНАЛЬНЫМ СТАНДАРТАМ РОССИЙСКОЙ ФЕДЕРАЦИИ
(И ДЕЙСТВУЮЩИМ В ЭТОМ КАЧЕСТВЕ МЕЖГОСУДАРСТВЕННЫМ
СТАНДАРТАМ)
Таблица ДА.1
Обозначение ссылочного международного стандарта | Степень соответствия | Обозначение и наименование соответствующего национального стандарта |
ИСО 2575:2010 | - | |
ИСО 6549:1980 | IDT | ГОСТ 28261-89 "Автотранспортные средства. Порядок определения положения точки H и фактического угла наклона спинки сиденья посадочных мест водителя и пассажиров" |
ИСО 10326-1:1992 | IDT | ГОСТ ИСО 10326-1-2002 "Вибрация. Оценка вибрации сидений транспортных средств по результатам лабораторных испытаний. Часть 1. Общие требования" |
<*> Соответствующий национальный стандарт отсутствует. До его утверждения рекомендуется использовать перевод на русский язык данного международного стандарта. Перевод данного международного стандарта находится в Федеральном информационном фонде технических регламентов и стандартов. |
|
Примечание. В настоящей таблице использовано следующее условное обозначение степени соответствия стандартов: |
- IDT - идентичные стандарты. |
[1] ISO 6385, Ergonomic principles in the design of work systems
<1>
[2] ISO 10075-2, Ergonomic principles related to mental workload - Part
[3] VDV 234, Driver's work place in the low-floor line-service bus,
Verband Deutscher Verkehrsbetriebe (VDV), Cologne, Germany
[4] TCRP Report 25, Bus operator workstation evaluation and design
guidelines - summary, sponsored by the Federal Transit
Administration, USA, 1997
[5] STRP Report# 6, Ergonomic study of the driver's workstation in
urban buses, Canadian Urban Transit Association
[6] NEN 5526, Nederlandse Norm, Ergonomische criteria voor het
ontwerpen de beoordeling van de buscabine, Delft 1999
[7] Swedish Road and Transport Research Institute, Drivers Cab in
Buses, Phase 3: Field tests - summary
[8] Bus Cab Ergonomics: Assessment of general layout and guidelines, by
ICE Ergonomics Ltd and Sammie CAD Ltd, UK, August 2000
--------------------------------
<1> Международному стандарту ИСО 6385:2004 соответствует стандарт
ГОСТ Р ИСО 6385-2007 Эргономика. Применение эргономических принципов при проектировании производственных систем.
<2> Международному стандарту ИСО 10075-2:1996 соответствует стандарт
ГОСТ Р ИСО 10075-2-2009 Эргономические принципы обеспечения адекватности умственной нагрузки. Часть 2. Принципы проектирования.