Главная // Актуальные документы // ГОСТ Р (Государственный стандарт)СПРАВКА
Источник публикации
М.: Стандартинформ, 2013
Примечание к документу
Документ
введен в действие с 01.06.2013.
Название документа
"ГОСТ Р ИСО 14243-3-2012. Национальный стандарт Российской Федерации. Имплантаты для хирургии. Износ тотальных протезов коленного сустава. Часть 3. Параметры нагружения и перемещения для испытательных машин с контролем перемещения и окружающих условий при испытании"
(утв. и введен в действие Приказом Росстандарта от 11.07.2012 N 172-ст)
"ГОСТ Р ИСО 14243-3-2012. Национальный стандарт Российской Федерации. Имплантаты для хирургии. Износ тотальных протезов коленного сустава. Часть 3. Параметры нагружения и перемещения для испытательных машин с контролем перемещения и окружающих условий при испытании"
(утв. и введен в действие Приказом Росстандарта от 11.07.2012 N 172-ст)
Утвержден и введен в действие
по техническому регулированию
и метрологии
от 11 июля 2012 г. N 172-ст
НАЦИОНАЛЬНЫЙ СТАНДАРТ РОССИЙСКОЙ ФЕДЕРАЦИИ
ИМПЛАНТАТЫ ДЛЯ ХИРУРГИИ
ИЗНОС ТОТАЛЬНЫХ ПРОТЕЗОВ КОЛЕННОГО СУСТАВА
ЧАСТЬ 3
ПАРАМЕТРЫ НАГРУЖЕНИЯ И ПЕРЕМЕЩЕНИЯ ДЛЯ ИСПЫТАТЕЛЬНЫХ МАШИН
С КОНТРОЛЕМ ПЕРЕМЕЩЕНИЯ И ОКРУЖАЮЩИХ УСЛОВИЙ ПРИ ИСПЫТАНИИ
Implants for surgery. Wear of total knee-joint prostheses.
Part 3. Loading and displacement parameters for wear-testing
machines with displacement control and corresponding
environmental conditions for test
ISO 14243-3:2004
Implants for surgery - Wear of total knee-joint
prostheses - Part 3: Loading and displacement parameters
for wear-testing machines with displacement control
and corresponding environmental conditions for test
(IDT)
ГОСТ Р ИСО 14243-3-2012
Дата введения
1 июня 2013 года
1 ПОДГОТОВЛЕН Обществом с ограниченной ответственностью "ЦИТОпроект" (ООО "ЦИТОпроект") на основе собственного аутентичного перевода на русский язык международного стандарта, указанного в
пункте 4
2 ВНЕСЕН Техническим комитетом по стандартизации ТК 453 "Имплантаты в хирургии"
3 УТВЕРЖДЕН И ВВЕДЕН В ДЕЙСТВИЕ
Приказом Федерального агентства по техническому регулированию и метрологии от 11 июля 2012 г. N 172-ст
4 Настоящий стандарт идентичен международному стандарту ИСО 14243-3:2004 "Имплантаты для хирургии. Износ тотальных протезов коленного сустава. Часть 3. Параметры нагружения и перемещения для испытательных машин с контролем перемещения и окружающих условий при испытании" (ISO 14243-3:2004 "Implants for surgery - Wear of total knee-joint prostheses - Part 3: Loading and displacement parameters for wear-testing machines with displacement control and corresponding environmental conditions for test").
При применении настоящего стандарта рекомендуется использовать вместо ссылочных международных стандартов соответствующие им национальные стандарты Российской Федерации, сведения о которых приведены в дополнительном
приложении ДА
5 ВВЕДЕН ВПЕРВЫЕ
Правила применения настоящего стандарта установлены в ГОСТ Р 1.0-2012 (раздел 8). Информация об изменениях к настоящему стандарту публикуется в ежегодном (по состоянию на 1 января текущего года) информационном указателе "Национальные стандарты", а официальный текст изменений и поправок - в ежемесячном информационном указателе "Национальные стандарты". В случае пересмотра (замены) или отмены настоящего стандарта соответствующее уведомление будет опубликовано в ближайшем выпуске ежемесячного информационного указателя "Национальные стандарты". Соответствующая информация, уведомление и тексты размещаются также в информационной системе общего пользования - на официальном сайте национального органа Российской Федерации по стандартизации в сети Интернет (gost.ru)
Настоящий стандарт устанавливает метод определения относительного движения между сочлененными компонентами, шаблоны для применяемой силы, скорости и длительности тестирования, конфигурацию образца и среду тестирования при испытании тотальных протезов коленного сустава на износ в аппаратах для испытания на износ с контролем осевой нагрузки, контролем углового движения сгибания/разгибания, контролем ПЗ смещения и контролем большеберцовой ротации.
Настоящий стандарт не распространяется на конструкции коленных суставов с высокой степенью сдерживания, что может привести к повреждению сочлененных компонентов на ранних этапах испытания, что не типично для клинической эксплуатации.
В настоящем стандарте использованы нормативные ссылки на следующие стандарты:
ИСО 7207-1 Имплантаты для использования в хирургии. Компоненты частичных и тотальных протезов коленного сустава. Часть 1. Классификация, определения и обозначение размеров (ISO 7207-1, Implants for surgery - Components for partial and total knee joint prostheses - Part 1: Classification, definitions and designation of dimensions)
ИСО 14243-2:2000 Имплантаты для использования в хирургии. Износ тотальных протезов коленного сустава. Часть 2. Методы измерения (ISO 14243-2:2000, Implants for surgery - Wear of total knee-joint prostheses - Part 2: Methods of measurement) <1>
--------------------------------
<1> Заменен ИСО 14243-2:2009. Для однозначного соблюдения требований настоящего стандарта, выраженных в датированных ссылках, рекомендуется использовать только данный ссылочный стандарт.
В настоящем стандарте применены термины по ИСО 14243-1, а также следующие термины с соответствующими определениями:
3.1 передне-заднее смещение (ПЗ смещение): Смещение между бедренным и большеберцовым компонентами, измеренное в направлении, перпендикулярном к осям силы и сгибания/разгибания.
Примечание - ПЗ смещение считается равным нулю, когда тотальный протез коленного сустава находится в исходном положении (см.
3.7), и считается положительным, когда большеберцовый компонент находится впереди от него, а тотальный протез коленного сустава - в исходном положении (см.
3.7).
3.2 передне-задняя сила (ПЗ сила): Сдвигающая сила, прикладываемая большеберцовым компонентом к бедренному компоненту вдоль линии действия, перпендикулярной и к большеберцовой оси, и к оси сгибания/разгибания, которая проходит через ось осевой силы.
Примечание - Сила считается положительной, когда действует в задне-переднем направлении.
3.3 осевая сила: Сила, прикладываемая большеберцовым компонентом протеза коленного сустава на бедренный компонент в направлении, параллельном большеберцовой оси.
Примечание - Сила считается положительной, когда действует в направлении снизу вверх.
3.4 ось осевой силы: Линия действия осевой силы, проведенная таким образом, чтобы проходить через точку на большеберцовом компоненте протеза коленного сустава, с офсетом (плечом) 0,07w +/- 0,01w в медиальном направлении от большеберцовой оси, где w - полная ширина большеберцового компонента, измеренная в соответствии с ИСО 7207-1.
Примечание 1 - Значение плеча 0,07w эквивалентно сдвигу 5 мм для большеберцового компонента средней ширины, т.е. 74 мм.
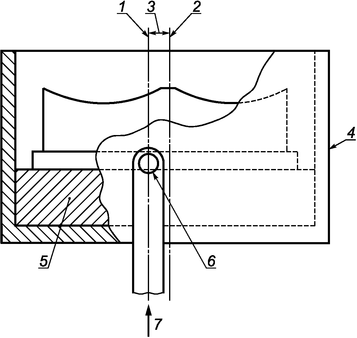
1 - ось осевой силы; 2 - большеберцовая ось; 3 - плечо
0,07w; 4 - держатель большеберцового компонента;
5 - цементируемое крепление для большеберцового компонента;
6 - осевая сила, действующая через вращающийся(еся)
шарнир(ы); 7 - сила
Рисунок 1 - Конфигурация испытуемого образца
3.5 ось сгибания/разгибания: Номинальная ось ротации бедренного компонента относительно большеберцового компонента.
Примечание 1 - Для мыщелковых и менисковых коленных суставов ось сгибания/разгибания можно оценить с учетом того, что мыщелки бедренного компонента находятся в контакте с воображаемой плоскостью, перпендикулярной к большеберцовой оси, когда бедренный компонент находится в положениях сгибания на 30° и 60°; а затем, визуализируя четыре линии (нормали контакта), перпендикулярные к воображаемой плоскости, проходящей через точки, где два бедренных мыщелка пересекали бы воображаемую плоскость под каждым из данных углов сгибания. Ось сгибания/разгибания является тогда линией, пересекающей все четыре нормали контакта.
Примечание 2 - Считается, что ось ротации бедренного компонента во время тестирования не будет точно совпадать с теоретической осью сгибания/разгибания. Совпадение оси сгибания/разгибания и оси ротации аппарата для испытания должно быть максимальным в пределах обоснованных лабораторных правил.
3.6 аппарат для проведения испытания на износ с контролем нагрузки и смещения: Аппарат для проведения испытания на износ со следующими параметрами контроля: контролем осевой нагрузки, контролем углового движения сгибания/разгибания, контролем ПЗ смещения и контролем большеберцовой ротации.
3.7
исходное положение: Угловое и линейное выравнивание большеберцового компонента относительно бедренного компонента, которое обеспечивает статическое равновесие большеберцового компонента, когда на него относительно бедренного компонента приходится нагрузка положительной осевой силы, приложенной вдоль оси осевой силы с наиболее дистальными точками на бедренной опорной поверхности, расположенными на самых нижних точках большеберцовой опорной поверхности.
Примечание 1 - Исходное положение эквивалентно положению при сгибании на 0°.
Примечание 2 - Для определения исходного положения эффект трения между большеберцовым и бедренным компонентами игнорируется.
Примечание 3 - Исходное положение может быть определено геометрическими расчетами, основанными на трехмерной форме большеберцовой и бедренной поверхностей. Для проведения этих расчетов сведения о форме большеберцовой и бедренной поверхностей могут быть взяты либо из проектных данных, либо из координатных измерений неизношенного тотального протеза коленного сустава.
Примечание 4 - При умеренно ограниченной или плоской конструкции большеберцового компонента и/или при установке большеберцового компонента с большим задним наклоном (см.
7.4) самые нижние точки на большеберцовой опорной поверхности могут перекрывать большой (плоский) диапазон передне-задних положений либо могут являться самым задним краем большеберцового компонента (отсутствие эффекта тарелки). В такой ситуации вышеуказанное определение исходного положения не применимо. В таких ситуациях следует проконсультироваться с изготовителем протеза для того, чтобы решить, какое нейтральное положение должно быть принудительно принято/установлено, а выводы в деталях изложены в отчете об испытании.
3.8
большеберцовая ось: Номинальная продольная ось большеберцовой кости, соответствующая центральной оси костномозговой полости проксимальной большеберцовой кости.
3.9 большеберцовая ротация: Ротация большеберцового компонента протеза коленного сустава вокруг оси, параллельной большеберцовой оси.
Примечание - Вращение считается равным нулю, когда тотальный протез коленного сустава находится в
исходном положении (см.
3.7). Для правостороннего протеза коленного сустава большеберцовая ротация является положительной, когда при виде сверху большеберцовый компонент поворачивается против часовой стрелки из своего положения при позиции тотального протеза коленного сустава в
исходном положении (см.
3.7).
3.10 момент большеберцовой ротации: Момент вращения, приложенный большеберцовым компонентом на бедренный компонент тотального протеза коленного сустава вокруг оси, параллельной большеберцовой оси.
Примечание - При виде сверху на большеберцовый компонент осевой момент вращения считается положительным, когда он происходит по часовой стрелке в левостороннем тотальном протезе коленного сустава и против часовой стрелки в правостороннем тотальном протезе коленного сустава.
Тотальный протез коленного сустава устанавливают в аппарат, который обеспечивает циклические изменения угла сгибания/разгибания, угла большеберцовой ротации, ПЗ смещения и осевой силы в местах соприкосновения большеберцового и бедренного компонентов, имитируя нормальную ходьбу человека. Большеберцовый компонент двигается относительно бедренного компонента под влиянием прикладываемой ротации сгибания/разгибания, большеберцовой ротации, ПЗ смещения и осевых сил. К прикладываемым действиям силы контакта/смещения относятся осевая сила, ротация сгибания/разгибания, ПЗ смещение и большеберцовая ротация. Все прикладываемые действия силы/смещения выполняются циклически с фиксированной взаимосвязью между фазами действий.
Контактирующие поверхности бедренных и большеберцовых компонентов погружены в жидкую тестовую среду, моделирующую синовиальную жидкость человека. Контрольный образец подвергается действию осевой силы в справочных целях. Тестирование проводят в контролируемой среде, имитирующей физиологические условия.
5.1 Жидкая тестовая среда: телячья сыворотка (25 +/- 2)%, разбавленная деионизированной водой (для уравновешивания).
Обычно жидкую тестовую среду фильтруют через фильтр размерами пор 2 мкм после разведения и перед использованием; массовая концентрация белка в жидкой тестовой среде не менее 17 г/л.
Для минимизации микробного загрязнения жидкую тестовую среду необходимо хранить в замороженном состоянии непосредственно до выполнения испытания. Можно добавить антимикробные реактивы (например, азид натрия). Такие реагенты могут быть потенциально опасными.
Возможно выполнение постоянного мониторинга уровня pH жидкой тестовой среды. При выполнении указанной процедуры соответствующие значения следует включать в отчет о проведенном испытании (см.
раздел 8).
Примечание - Возможно использование жидкой тестовой среды небиологического происхождения в случае, когда необходимо определить требования к эксплуатационным характеристикам, относящимся к данному методу.
5.2 Испытуемый образец: бедренный и большеберцовый компоненты
Большеберцовый компонент должен иметь суставную поверхность, прикрепленную с помощью обычного способа (например, костный цемент или механически обработанный слепок внутренней поверхности большеберцовой вставки), кроме случаев, когда это невозможно из-за физических характеристик системы имплантата. Если компонент, формирующий суставную поверхность, прикреплен к большеберцовой вставке посредством системы защелкивания, механически обработанный слепок предоставляет те же условия фиксации.
Если использование нормальной подложки или цементной фиксации не представляется возможным из-за физических особенностей системы имплантата, система поддержки большеберцового компонента должна отражать особенности нормальной конструкции и условия использования, но при этом допускать извлечение компонента для измерения степени износа (при необходимости) без их разрушения.
5.3 Контрольный образец, идентичный испытуемому образцу.
6.1 Аппарат для испытания, способный прикладывать указанные силы (см.
рисунок 2) в совокупности с соответствующими перемещениями и работать при частоте (1 +/- 0,1) Гц.
X - процент длительности цикла, %; Y - осевая сила, Н
Рисунок 2 - Контрольные параметры: изменение осевой силы
в течение цикла
6.2 Средства крепления и ограждения испытуемого образца с применением устойчивых к коррозии материалов, способных удерживать бедренный и большеберцовый компоненты, с использованием методов присоединения, сопоставимых с предполагаемой анатомической фиксацией.
Необходимо обеспечить наличие ограждения, требуемого для изоляции испытуемого образца для предотвращения загрязнения сторонними компонентами из аппарата для проведения испытания и из окружающей среды.
6.3 Средства выравнивания и позиционирования бедренного компонента испытуемого образца в исходном положении так, чтобы это же положение и ориентация могли быть воспроизведены после удаления большеберцового компонента для проведения измерения.
6.4 Средства выравнивания и позиционирования большеберцового компонента испытуемого образца в нижнем положении так, чтобы это же положение и ориентация могли быть воспроизведены после удаления большеберцового компонента для проведения измерения.
6.5 Система контроля осевой силы, способная создавать осевую силу в соответствии с циклом, указанным на
рисунке 2, и поддерживать значение данной силы с допустимым отклонением +/- 5% максимального значения и +/- 3% полной длительности цикла для фазирования. Осевая сила прикладывается вдоль оси осевой силы к большеберцовому компоненту тотального протеза коленного сустава через свободно поворачивающиеся шарниры, которые смещаются с большеберцовой оси (см.
рисунок 2 и
таблицу 1).
Примечание - Значение максимальной силы будет пересмотрено, когда будет доступно больше информации.
Таблица 1
Изменение осевой силы в течение цикла
Процент длительности цикла, % | Осевая сила, Н |
0 | 168 |
3 | 1887 |
7 | 1175 |
13 | 2600 |
25 | 838 |
45 | 2434 |
60 | 168 |
100 | 168 |
6.6 Система контроля ротации сгибания/разгибания, способная создавать движения сгибания/разгибания, как показано на
рисунке 3, и поддерживать значение данного движения с допустимым отклонением +/- 5% максимального значения и +/- 3% полной длительности цикла для фазирования. Движение сгибания/разгибания измеряют вокруг оси сгибания/разгибания как относительное угловое движение между бедренным и большеберцовым компонентами. Должно быть устройство для регулирования нулевого положения системы контроля движения таким образом, что когда прикладываемое движение сгибания/разгибания достигает нулевого угла сгибания, как показано на
рисунке 3, тотальный протез коленного сустава находится в предусмотренном полностью разогнутом состоянии.
Примечание - Для тотального протеза коленного сустава, который включает стопор положительного разгибания, может быть включено устройство для ограничения разгибательного движения, которое может создаваться при чрезмерном разгибании.
Таблица 2
Изменение угла сгибания в течение цикла
Процент длительности цикла, % | Угол сгибания, градусы |
0 | 0 |
16 | 16 |
41 | 5 |
73 | 58 |
100 | 0 |
X - процент длительности цикла, %; Y - угол сгибания
в градусах
Рисунок 3 - Контрольные параметры: изменение угла сгибания
в течение цикла
6.7 Система контроля ПЗ смещения, способная создавать ПЗ движение в соответствии с циклом, указанным на
рисунке 4, и поддерживать значение данного движения с допустимым отклонением +/- 5% максимального значения и +/- 3° полной длительности цикла для фазирования. ПЗ смещение прикладывают вдоль линии действия, перпендикулярной и к большеберцовой оси, и к оси сгибания/разгибания, которая проходит через ось осевой силы.
Таблица 3
Изменение ПЗ движения в течение цикла
Процент длительности цикла, % | ПЗ движение, мм |
0 | 0 |
17 | - 4,5 |
38 | - 0,3 |
56 | - 5,2 |
100 | 0 |
X - процент длительности цикла, %; Y - ПЗ движение, мм
Рисунок 4 - Контрольные параметры: изменение ПЗ движения
в течение цикла
6.8 Система контроля большеберцовой ротации, способная создавать большеберцовую ротацию в соответствии с циклом, указанным на
рисунке 5, и поддерживать значение данной ротации с допустимым отклонением +/- 5% максимального значения и +/- 3% полной длительности цикла для фазирования. Знаки крайних положений большеберцовой ротации не принимают во внимание для определения допустимого отклонения. Большеберцовую ротацию прикладывают вокруг оси, параллельной большеберцовой оси, а положительное направление определено в
3.8.
Таблица 4
Изменение большеберцовой ротации в течение цикла
Процент длительности цикла, % | Большеберцовая ротация, градусы |
0 | -1,6 |
2 | -1,9 |
16 | 1,2 |
40 | -1,6 |
88 | 5,7 |
100 | -1,6 |
X - процент длительности цикла, %; Y - большеберцовая
ротация, градусы
Рисунок 5 - Контрольные параметры: изменение
большеберцовой ротации в течение цикла
6.9 Система измерения ПЗ силы, способная измерять силу вдоль линии действия ПЗ движения (см.
6.7).
Данная система требуется только для установки компонентов и опциональна во время тестирования.
6.10 Система измерения момента большеберцовой ротации, способная измерять момент большеберцовой ротации вокруг той же оси, что и для приложенной большеберцовой ротации (см.
6.8). Рекомендуемая точность для системы измерения момента большеберцовой ротации составляет по меньшей мере +/- 0,3 Н·м, и должна быть предоставлена возможность измерять каждый образец по отдельности.
Данная система требуется только для установки компонентов и опциональна во время тестирования.
6.11 Система смазки, предназначенная для поддержания контактирующих поверхностей погруженными в жидкую тестовую среду.
6.12 Система температурного контроля, предназначенная для поддержания температуры жидкой тестовой среды на уровне (37 +/- 2) °C.
6.13 Система(ы) управления, предназначенная(ые) для применения цикла нагрузки, показанного на
рисунке 2. Система управления должна учитывать положения
6.2,
6.3,
6.4,
6.5,
6.11 и
6.12.
Примечание - Применение нагрузки вызовет только небольшое увеличение в поглощении жидкости по отношению к ее количеству после процесса смазки и температурного контроля. Возможно, не потребуется использовать приложенную нагрузку в контрольных образцах, если будет продемонстрировано, что для испытуемых материалов поглощение жидкости составит менее 5% вследствие ее применения.
7.1 Выполняют любые начальные измерения, необходимые для определения последующей степени износа, а также калибруют каждую испытательную установку, используя динамометрический датчик. Проводят указанную калибровку во время приложения нагрузки на других установках, если таковые имеются, в испытательном стенде.
Примечание - Методы измерения приведены в ИСО 14243-2.
7.2 После исходных измерений очищают испытуемый образец, как указано в пунктах 4.4.1 - 4.4.5 ИСО 14243-2.
7.3 Устанавливают бедренный компонент испытуемого образца в аппарат для испытаний, выравнивая таким образом, чтобы система измерения ПЗ силы и система измерения момента большеберцовой ротации показывали нулевую силу и нулевой момент вращения.
Примечание - В зависимости от конструкции аппарата для испытаний для этого может потребоваться регулирование установки бедренного компонента таким образом, чтобы ось сгибания/разгибания совпадала с действительной осью вращения сгибательного/разгибательного движения, прикладываемого аппаратом для испытаний.
7.4 Устанавливают большеберцовый компонент испытуемого образца в аппарат для испытаний, выравнивая таким образом, чтобы направление осевой силы, прикладываемой машиной, было параллельно большеберцовой оси в пределах +/- 1. Наклоняют большеберцовый компонент к большеберцовой оси под углом, рекомендованным изготовителем для клинического применения.
Если большеберцовый компонент включает в себя вставку из металла или другого материала, испытание должно быть проведено так, чтобы вставка оставалась на месте.
Примечание - Если большеберцовый компонент устанавливают в ложе из цемента, выравнивание можно обеспечить, удерживая большеберцовый компонент с помощью регулируемой временной опоры, когда цементирующий материал находится на своем месте и ему позволяют застыть.
7.5 Берут контрольный образец и повторяют шаги, указанные в
7.1 и
7.2. Для имплантатов особой конструкции из такого же материала, такой же формы и размеров можно использовать контрольные данные, полученные в ходе предыдущих испытаний.
7.6 Вводят жидкую тестовую среду, чтобы полностью погрузить контактные поверхности испытуемого и контрольного образцов. Поддерживают температуру жидкой тестовой среды на уровне (37 +/- 2) °C, измеряя ее в положении, типичном для определения температуры объема жидкости.
7.7 Запускают аппарат для испытаний и регулируют его так, чтобы нагрузки и смещения, показанные на
рисунках 2 -
5, были приложены к испытуемому образцу, а нагрузки, показанные на
рисунке 3, были приложены к контрольному образцу с допустимыми отклонениями +/- 3% максимального значения силы и +/- 5% максимальных значений углового и линейного смещений.
Примечание 1 - В
приложении A указаны детали стандартного набора тестовых параметров, эквивалентных тем, что показаны на
рисунке 1.
Примечание 2 - Для конструкций коленного сустава с высокой степенью сдерживания возможно определить подходящие значения смещения для ПЗ движения и большеберцовой ротации, используя те значения смещения, которые создают пиковые значения ПЗ силы и значения момента большеберцовой ротации (приведены в таблице 2 ИСО 14243-1).
7.8 Эксплуатируют аппарат для испытаний при частоте (1 +/- 0,1) Гц. Время появления максимальных и минимальных значений в соответствии с
рисунками 2 -
5 контролируют в пределах +/- 3% длительности цикла.
7.9 Восполняют потерю жидкости, испарившейся во время испытания, по меньшей мере ежедневно, добавляя деионизированную воду. Полностью заменяют жидкую тестовую среду через каждые 5·10
5 циклов.
7.10 Останавливают испытание для проведения измерений через 5·10
5 циклов, 1·10
6 циклов и, как минимум, через каждые 1·10
6 циклов в дальнейшем до прекращения испытания (см.
7.14).
7.11 Извлекают испытуемый и контрольный образцы и измеряют показатели износа.
7.12 После измерения показателей износа очищают испытуемый и контрольный образцы способом, подходящим для материалов конструкции, и повторно устанавливают в аппарат для испытаний.
7.13 Повторяют выполнение шагов, указанных в
7.6 -
7.12, до завершения испытаний (см.
7.14).
7.14 Продолжают выполнение испытания до наступления одного из следующего:
a) завершение 5·106 нагрузочных циклов.
Примечание - По запросу стороны, предоставившей образец, испытание может быть продолжено после этого момента;
b) разрушение или расслоение суставных поверхностей, что приводит к нарушению нормального функционирования имплантатов;
c) неспособность аппарата для испытаний поддерживать тестовые условия в установленных допустимых пределах (см.
7.6,
7.7,
7.8 и
7.9).
Отчет об испытании должен включать следующую информацию:
a) ссылку на настоящий стандарт;
b) идентификационную информацию относительно испытуемого образца, как это было заявлено стороной, представляющей образец для испытания, включая информацию о размере, материале, типе, изготовителе;
c) описание аппарата для испытания, включая число установок, тип систем, использованных для генерирования движений и сил, диапазон движений и сил, тип систем, использованных для измерения движений и сил, устройство для смазки суставных поверхностей, устройство для контроля температуры и устройство для устранения контаминирующих частиц;
d) изложение результатов, включающее в себя:
1) число примененных циклов;
2) причину прерывания испытания, если было выполнено менее 5·106 циклов;
3) описание всех поверхностей обоих компонентов, где было отмечено возникновение относительного движения;
4) описание состояния контактирующих поверхностей между вспомогательными компонентами, если компоненты имеют модульную конструкцию.
Отчет об испытании следует объединить с отчетом об измерении степени износа, составленным в соответствии с ИСО 14243-2.
9 Утилизация испытуемого образца
Ни одна из частей испытуемого либо контрольного образца не должна быть использована в клинических целях после испытания.
(справочное)
ДЕТАЛИ ПАРАМЕТРОВ НАГРУЗКИ И ПЕРЕМЕЩЕНИЯ ДЛЯ ИСПЫТАТЕЛЬНОГО
Таблица A.1
Процент длительности цикла, % | Угол сгибания/разгибания, градусы | Осевая сила, Н | ПЗ движение, мм | Большеберцовая внутренняя/наружная ротация, градусы |
0 | 0 | 167,6 | 0 | -1,57 |
1 | 0,17 | 597,5 | -0,04 | -1,87 |
2 | 0,69 | 1457,4 | -0,21 | -1,87 |
3 | 1,53 | 1887,3 | -0,49 | -1,7 |
4 | 2,65 | 1782,9 | -0,84 | -1,36 |
5 | 4 | 1530,9 | -1,32 | -0,54 |
6 | 5,53 | 1278,8 | -1,79 | -0,26 |
7 | 7,16 | 1174,6 | -2,24 | 0,01 |
8 | 8,84 | 1270,1 | -2,65 | 0,26 |
9 | 10,47 | 1530,9 | -3,03 | 0,49 |
10 | 12 | 1887,3 | -3,36 | 0,68 |
11 | 13,35 | 2243,6 | -3,65 | 0,85 |
12 | 14,47 | 2504,5 | -3,90 | 0,99 |
13 | 15,31 | 2600 | -4,11 | 1,09 |
14 | 15,83 | 2570 | -4,28 | 1,16 |
15 | 16 | 2482 | -4,41 | 1,19 |
16 | 15,96 | 2342 | -4,49 | 1,20 |
17 | 15,83 | 2159,5 | -4,53 | 1,18 |
18 | 15,61 | 1947,1 | -4,51 | 1,13 |
19 | 15,32 | 1719,1 | -4,44 | 1,05 |
20 | 14,95 | 1491,1 | -4,32 | 0,95 |
21 | 14,51 | 1278,6 | -4,15 | 0,83 |
22 | 14,01 | 1096,2 | -3,93 | 0,69 |
23 | 13,45 | 956,2 | -3,66 | 0,54 |
24 | 12,84 | 868,2 | -3,36 | 0,37 |
25 | 12,20 | 838,2 | -3,02 | 0,20 |
26 | 11,53 | 848 | -2,67 | 0,03 |
27 | 10,85 | 877,2 | -2,31 | -0,15 |
28 | 10,16 | 925,1 | -1,94 | -0,33 |
29 | 9,47 | 990,5 | -1,60 | -0,51 |
30 | 8,80 | 1071,8 | -1,28 | -0,67 |
31 | 8,16 | 1167 | -0,99 | -0,83 |
32 | 7,55 | 1273,7 | -0,74 | -0,98 |
33 | 6,99 | 1389,3 | -0,55 | -1,12 |
34 | 6,49 | 1511,1 | -0,42 | -1,24 |
35 | 6,05 | 1635,8 | -0,35 | -1,34 |
36 | 5,68 | 1760,6 | -0,35 | -1,43 |
37 | 5,39 | 1882,3 | -0,35 | -1,49 |
38 | 5,17 | 1998 | -0,35 | -1,54 |
39 | 5,04 | 2104,7 | -0,35 | -1,56 |
40 | 5 | 2199,9 | -0,35 | -1,57 |
41 | 5,13 | 2281,2 | -0,41 | -1,55 |
42 | 5,50 | 2346,6 | -0,58 | -1,51 |
43 | 6,14 | 2394,5 | -0,89 | -1,45 |
44 | 7,02 | 2423,7 | -1,29 | -1,36 |
45 | 8,13 | 2433,5 | -1,81 | -1,26 |
46 | 9,47 | 2408,8 | -2,34 | -1,14 |
47 | 11,02 | 2335,6 | -2,87 | -01,00 |
48 | 12,76 | 2217,1 | -3,37 | -0,84 |
49 | 14,69 | 2058,7 | -3,83 | -0,66 |
50 | 16,78 | 1867 | -4,22 | -0,48 |
51 | 19,01 | 1650,7 | -4,54 | -0,28 |
52 | 21,36 | 1419 | -4,80 | -0,07 |
53 | 23,80 | 1182,2 | -4,97 | 0,15 |
54 | 26,33 | 950,5 | -5,08 | 0,38 |
55 | 28,90 | 734,1 | -5,14 | 0,61 |
56 | 31,5 | 542,5 | -5,17 | 0,85 |
57 | 34,10 | 384 | -5,16 | 1,08 |
58 | 36,67 | 265,6 | -5,12 | 1,32 |
59 | 39,19 | 192,4 | -5,05 | 1,55 |
60 | 41,64 | 167,6 | -4,96 | 1,78 |
61 | 44,00 | 167,6 | -4,86 | 2,00 |
62 | 46,22 | 167,6 | -4,74 | 2,22 |
63 | 48,31 | 167,6 | -4,62 | 2,43 |
64 | 50,24 | 167,6 | -4,49 | 2,64 |
65 | 51,98 | 167,6 | -4,36 | 2,83 |
66 | 53,53 | 167,6 | -4,24 | 3,02 |
67 | 54,87 | 167,6 | -4,11 | 3,19 |
68 | 55,98 | 167,6 | -3,99 | 3,36 |
69 | 56,86 | 167,6 | -3,87 | 3,52 |
70 | 57,49 | 167,6 | -3,75 | 3,67 |
71 | 57,87 | 167,6 | -3,63 | 3,81 |
72 | 58 | 167,6 | -3,51 | 3,94 |
73 | 57,82 | 167,6 | -3,38 | 4,07 |
74 | 57,27 | 167,6 | -3,25 | 4,20 |
75 | 56,37 | 167,6 | -3,11 | 4,32 |
76 | 55,13 | 167,6 | -2,96 | 4,44 |
77 | 53,56 | 167,6 | -2,82 | 4,56 |
78 | 51,67 | 167,6 | -2,67 | 4,68 |
79 | 49,51 | 167,6 | -2,53 | 4,80 |
80 | 47,08 | 167,6 | -2,38 | 4,92 |
81 | 44,42 | 167,6 | -2,25 | 5,04 |
82 | 41,58 | 167,6 | -2,12 | 5,16 |
83 | 38,58 | 167,6 | -2,00 | 5,29 |
84 | 35,45 | 167,6 | -1,89 | 5,40 |
85 | 32,25 | 167,6 | -1,79 | 5,51 |
86 | 29 | 167,6 | -1,70 | 5,60 |
87 | 25,75 | 167,6 | -1,61 | 5,68 |
88 | 22,55 | 167,6 | -1,51 | 5,72 |
89 | 19,42 | 167,6 | -1,41 | 5,72 |
90 | 16,42 | 167,6 | -1,30 | 5,66 |
91 | 13,57 | 167,6 | -1,17 | 5,53 |
92 | 10,92 | 167,6 | -1,03 | 5,30 |
93 | 8,49 | 167,6 | -0,89 | 4,94 |
94 | 6,33 | 167,6 | -0,74 | 4,44 |
95 | 4,44 | 167,6 | -0,62 | 3,75 |
96 | 2,87 | 167,6 | -0,51 | 2,83 |
97 | 1,63 | 167,6 | -0,43 | 1,64 |
98 | 0,73 | 167,6 | -0,34 | 0,13 |
99 | 0,18 | 167,6 | 0 | -1,57 |
(справочное)
СВЕДЕНИЯ О СООТВЕТСТВИИ ССЫЛОЧНЫХ МЕЖДУНАРОДНЫХ СТАНДАРТОВ
НАЦИОНАЛЬНЫМ СТАНДАРТАМ РОССИЙСКОЙ ФЕДЕРАЦИИ
Таблица ДА.1
Обозначение ссылочного международного стандарта | Степень соответствия | Обозначение и наименование соответствующего национального стандарта |
ИСО 7207-1 | IDT | ГОСТ Р ИСО 7207-1-2005 "Имплантаты для хирургии. Бедренный и большеберцовый компоненты частичных и тотальных эндопротезов коленного сустава. Часть 1. Классификация, определения и обозначение размеров" |
ИСО 14243-2 | IDT | ГОСТ Р ИСО 14243-2-2012 "Имплантаты для хирургии. Износ тотальных протезов коленного сустава. Часть 2. Методы измерений" |
Примечание - В настоящей таблице использовано следующее условное обозначение степени соответствия стандартов: - IDT - идентичный стандарт. |
УДК 616-089.843:006.354 | | |
Ключевые слова: имплантаты, эндопротезы коленного сустава, испытательные машины, контроль смещения, контроль окружающей среды |