Главная // Актуальные документы // ГОСТ Р (Государственный стандарт)СПРАВКА
Источник публикации
М.: Стандартинформ, 2014
Примечание к документу
Документ
введен в действие с 1 января 2014 года.
Название документа
"ГОСТ Р ЕН 1678-2012. Национальный стандарт Российской Федерации. Машины и оборудование для пищевой промышленности. Машины для резки овощей. Требования по безопасности и гигиене"
(утв. и введен в действие Приказом Росстандарта от 06.09.2012 N 277-ст)
"ГОСТ Р ЕН 1678-2012. Национальный стандарт Российской Федерации. Машины и оборудование для пищевой промышленности. Машины для резки овощей. Требования по безопасности и гигиене"
(утв. и введен в действие Приказом Росстандарта от 06.09.2012 N 277-ст)
Утвержден и введен в действие
агентства по техническому
регулированию и метрологии
от 6 сентября 2012 г. N 277-ст
НАЦИОНАЛЬНЫЙ СТАНДАРТ РОССИЙСКОЙ ФЕДЕРАЦИИ
МАШИНЫ И ОБОРУДОВАНИЕ ДЛЯ ПИЩЕВОЙ ПРОМЫШЛЕННОСТИ
МАШИНЫ ДЛЯ РЕЗКИ ОВОЩЕЙ
ТРЕБОВАНИЯ ПО БЕЗОПАСНОСТИ И ГИГИЕНЕ
Food processing machinery and equipment. Vegetable
cutting machines. Safety and hygiene requirements
EN 1678:1998 + A1:2010
Food processing machinery - Vegetable cutting machines -
Safety and hygiene requirements
(IDT)
ГОСТ Р ЕН 1678-2012
Дата введения
1 января 2014 года
1. Подготовлен Закрытым акционерным обществом "Корпорация "Российское продовольственное машиностроение" (ЗАО "Корпорация "Роспродмаш") на основе аутентичного перевода на русский язык указанного в
пункте 4 стандарта, который выполнен Техническим комитетом по стандартизации ТК 27 "Машины и оборудование для пищевой и перерабатывающей промышленности, предприятий торговли и общественного питания".
2. Внесен Техническим комитетом по стандартизации ТК 27 "Машины и оборудование для пищевой и перерабатывающей промышленности, предприятий торговли и общественного питания".
3. Утвержден и введен в действие
Приказом Федерального агентства по техническому регулированию и метрологии от 6 сентября 2012 г. N 277-ст.
4. Настоящий стандарт идентичен европейскому региональному стандарту ЕН 1678:1998 "Оборудование для пищевой промышленности. Машины для резки овощей. Требования безопасности и гигиены" (EN 1678:1998 "Food processing machinery - Vegetable cutting machines - Safety and hygiene requirements"), включая изменение A1:2010.
При применении настоящего стандарта рекомендуется использовать вместо ссылочных региональных и международных стандартов соответствующие им национальные стандарты Российской Федерации и межгосударственные стандарты, сведения о которых приведены в дополнительном
Приложении ДА.
5. Введен впервые.
Правила применения настоящего стандарта установлены в ГОСТ Р 1.0-2012
(раздел 8). Информация об изменениях к настоящему стандарту публикуется в ежегодном (по состоянию на 1 января текущего года) информационном указателе "Национальные стандарты", а официальный текст изменений и поправок - в ежемесячном информационном указателе "Национальные стандарты". В случае пересмотра (замены) или отмены настоящего стандарта соответствующее уведомление будет опубликовано в ближайшем выпуске ежемесячного информационного указателя "Национальные стандарты". Соответствующая информация, уведомление и тексты размещаются также в информационной системе общего пользования - на официальном сайте Федерального агентства по техническому регулированию и метрологии в сети Интернет (gost.ru).
Настоящий стандарт в соответствии с ИСО 12100-1 относится к стандартам типа C.
Если положения настоящего стандарта типа C отличаются от тех, которые указаны в стандартах типов A и B, положения настоящего стандарта, в соответствии с которым спроектированы и изготовлены машины для резки овощей, имеют предпочтение перед положениями других стандартов.
1.1. Настоящий стандарт содержит требования безопасности и гигиены, которые необходимо соблюдать при проектировании и изготовлении передвижных машин для резки овощей, имеющих максимальную мощность менее 3 кВт.
Настоящий стандарт применяется к машинам, предназначенным для резки, измельчения в виде кубиков, стружки и т.д., а также для протирания овощей.
Как указано в
3.2.1, типы машин, относящиеся к области применения настоящего стандарта, представляют собой:
- машины с неподвижной камерой и вращающимся ножом или режущим диском (далее - рабочий орган);
- машины с вращающимся барабаном и неподвижными ножами;
- строгальные машины с возвратно-поступательным движением режущего инструмента (использующиеся преимущественно при производстве картофельных чипсов).
1.2. В настоящем стандарте рассмотрены опасности и опасные ситуации, которые при оценке степени риска признаны как существенные, возникающие в процессе эксплуатации машин для резки овощей, и приведены в
разделе 4.
В настоящем стандарте рассматриваются опасности, которые могут возникать при вводе машин в эксплуатацию, их работе, очистке, при удалении застрявших остатков пищевого продукта, загрузке, смене рабочих органов, обслуживании и снятии машин с эксплуатации.
1.3. Настоящий стандарт не применяется:
- к машинам для измельчения, смешивания и взбивания пищевых продуктов, на которые распространяется ЕН 12852
[1];
- машинам для очистки овощей, на которые распространяется ЕН 13208
[2];
- вспомогательным приспособлениям к машинам для резки и измельчения овощей с дополнительной приводной ступицей, на которые распространяется ЕН 12851
[3];
- планетарным смесителям, на которые распространяется ЕН 454
[4];
- бытовым машинам.
1.4. Настоящий стандарт применяется к машинам для резки овощей, которые спроектированы и внедрены в производство после даты его опубликования.
В настоящем стандарте использованы нормативные ссылки на следующие стандарты. Для датированных ссылок применяют только указанные издания. Для недатированных ссылок применяют самые последние издания (включая любые изменения и поправки).
ЕН 614-1:2006 Безопасность машин. Эргономические принципы проектирования. Часть 1. Термины и общие принципы (EN 614-1:2006, Safety of machinery - Ergonomic design principles - Part 1: Terminology and general)
ЕН 953:1997 Безопасность машин. Защитные ограждения. Общие требования к конструированию и изготовлению неподвижных и подвижных защитных ограждений (EN 953:1997, Safety of machinery - Guards - General requirements for design and construction of fixed and movable guards)
ЕН 1088:1995 Безопасность машин. Блокировочные устройства, связанные с защитными устройствами. Принципы конструирования и выбора (EN 1088:1995, Safety of machinery - Interlocking devices associated with guards - Principles for design and selection)
ЕН 1672-2:2005 Машины для пищевой промышленности. Общие требования к конструкции. Часть 2. Требования гигиенические (EN 1672-2:2005, Food processing machinery - Basic concepts - Part 2: Hygiene requirements)
ЕН 60204-1:2006 (МЭК 60204-1:2005) Безопасность машин. Электрооборудование машин и механизмов. Часть 1. Общие требования [EN 60204-1:2006 (IEC 60204-1:2005), Safety of machinery - Electrical equipment of machines - Part 1: General requirements]
ЕН 60529:1991 (МЭК 60529:1989) Степени защиты, обеспечиваемые оболочками (IP-код) [EN 60529:1991 (IEC 60529:1989), Degrees of protection provided by enclosures (IP Code)]
ЕН ИСО 3744:1995 (ИСО 3744:1994) Акустика. Определение уровней звуковой мощности источников шума по звуковому давлению. Технический метод в существенно свободном звуковом поле над звукоотражающей плоскостью [EN ISO 3744:1995) (ISO 3744:1994), Acoustics - Determination of sound power levels of noise sources using sound pressure - Engineering method in an essentially free field over a reflecting plane]
ЕН ИСО 4871:1996 (ИСО 4871:1996) Акустика. Декларация и верификация значений шумовых характеристик машин и оборудования [EN ISO 4871:1996 (ISO 4871:1996), Acoustics - Declaration and verification of noise emission values of machinery and equipment]
ЕН ИСО 4287:1997 (ИСО 4287:1997) Геометрические характеристики материалов (GPS). Шероховатость поверхности. Методы определения. Термины, определения и параметры шероховатости [EN ISO 4287 (ISO 4287:1997), Surface roughness - Parameters, their values and general rules for specific requirements]
ЕН ИСО 11201:1995 (ИСО 11201:1995) Акустика. Шум, излучаемый машинами и оборудованием. Измерение уровней звукового давления излучения на рабочем месте и в других контрольных точках. Технический метод в существенно свободном звуковом поле над звукоотражающей плоскостью [EN ISO 11201:1995 (ISO 11201:1995), Acoustics - Noise emitted by machinery and equipment - Measurement of emission sound pressure levels at a work station and other specified positions - Method requiring environmental corrections]
ЕН ИСО 12100-1-2003 (ИСО 12100-1:2003) Безопасность оборудования. Основные понятия, общие принципы конструирования. Часть 1: Основные термины, методика [EN ISO 12100-1:2003 (ISO 12100-1:2003), Safety of machinery - Basic concepts, general principles for the design - Part 1: Basic terminology, methodology]
ЕН ИСО 12100-2-2003 (ИСО 12100-2:2003) Безопасность оборудования. Основные понятия, общие принципы конструирования. Часть 2: Общие принципы конструирования [EN ISO 12100-2-2003 (ISO 12100-2:2003), Safety of machinery - Basic concepts, general principles for the design - Part 2: Basic terminology, methodology]
ЕН ИСО 13849-1:2008 (ИСО 13849-1:2006) Безопасность оборудования. Элементы систем управления, связанные с безопасностью. Часть 1. Общие принципы конструирования [EN ISO 13849-1:2008 (ISO 13849-1:2006), Safety of machinery - Safety related parts of control systems - Part 1: General principles for design]
ЕН ИСО 13857:2008 (ИСО 13857:2008) Безопасность оборудования. Безопасные расстояния для обеспечения защиты в опасных зонах верхних и нижних конечностей [EN ISO 13857:2008 (ISO 13857:2008), Safety of machinery - Safety distances to prevent danger zones being reached by the upper and lower limbs]
3. Термины и определения. Описание
3.1. Термины и определения
В настоящем стандарте применены термины по ЕН ИСО 12100-1, а также следующие термины с соответствующими определениями:
3.1.1. Прижимное устройство: вспомогательный загрузочный механизм, шарнирно прикрепленный к загрузочному желобу и предотвращающий доступ в опасную зону во время работы, с блокировкой для остановки машины при его откидывании с желоба.
3.1.2. Толкатель: съемный вспомогательный механизм для загрузки пищевого продукта.
3.2.1. Машины, на которые распространяется настоящий стандарт
Настоящий стандарт распространяется на машины трех типов, включая их модификации.
3.2.1.1. Машины с вращающимися режущими рабочими органами
В таких машинах вращающиеся режущие рабочие органы расположены в неподвижной камере. Пищевой продукт подается в верхнюю часть камеры обычно через загрузочную воронку с помощью прижимного устройства или толкателя (см. рисунок 1).
1 - корпус (станина); 2 - электродвигатель; 3 - выгрузочный
желоб; 4 - режущий рабочий орган; 5 - вал; 6 - толкатель
(съемный); 7 - прижимное устройство; 8 - загрузочный желоб;
9 - неподвижная пластина; 10 - выталкиватель
Рисунок 1. Машина с вращающимися режущими рабочими органами
3.2.1.2. Машины с вращающимся барабаном
В таких машинах подача пищевого продукта во вращающийся барабан осуществляется через загрузочный желоб. В результате вращения пищевой продукт удерживается на стенке барабана и контактирует с неподвижным режущим рабочим органом (см. рисунок 2).
1 - корпус (станина); 2 - электродвигатель; 3 - выгрузочный
желоб; 4 - режущий рабочий орган; 5 - вал; 6 - вращающийся
барабан; 7 - неподвижная решетка; 8 - загрузочный желоб
Рисунок 2. Машина с вращающимся барабаном
3.2.1.3. Машины с возвратно-поступательным движением режущих рабочих органов
Такие машины применяют в основном для нарезки картофельной стружки или кружков. Сырой картофель поступает через загрузочный желоб в камеру резки, имеющую неподвижные пластины и режущие рабочие органы, совершающие возвратно-поступательное движение (см. рисунок 3).
1 - корпус (станина); 2 - загрузочный желоб;
3 - выгрузочный желоб; 4 - режущий рабочий орган,
совершающий возвратно-поступательное движение;
5 - направляющие пластины; 6 - пластина,
совершающая возвратно-поступательное движение;
7 - направляющие пластины
Рисунок 3. Машина с возвратно-поступательным
движением режущих рабочих органов
Машины для резки овощей состоят из следующих узлов:
- механизм подачи пищевого продукта в машину;
- один или несколько режущих рабочих органов (режущие пластины или ножи), которые состоят из одного или более режущих лезвий, закрепленных на одном основании. Неподвижные режущие пластины могут быть установлены вместе с подвижными пластинами;
- выталкиватель;
- разгрузочный желоб;
- средства управления.
3.2.3. Способы загрузки пищевого продукта
Для подачи пищевого продукта применяют три способа загрузки.
3.2.3.1. Подача через загрузочный желоб
Продукт подается через загрузочный желоб на рабочий орган под действием силы тяжести и/или с помощью устройства загрузки.
3.2.3.2. Подача с помощью прижимного устройства
В этом случае продукт через загрузочный желоб подается на рабочий орган небольшими порциями путем нажатия на прижимное устройство.
3.2.3.3. Подача толкателем
В этом случае продукт вручную подается на рабочий орган. Ускоряет эту подачу толкатель. Обычно подача пищевого продукта осуществляется через узкий загрузочный желоб.
Часто машины с прижимным устройством оборудованы толкателем. Поэтому оператор может выбрать наиболее подходящий способ подачи пищевого продукта.
4. Перечень существенных опасностей
4.1. Общие положения
Данный раздел включает все опасности и опасные ситуации, которые могут возникнуть при эксплуатации машин, входящих в область применения настоящего стандарта, установленные при оценке рисков как существенные и требующие их исключения или снижения.
4.2. Механические опасности
4.2.1. Доступ к опасным зонам
Механические опасности возникают при контакте с режущими рабочими органами и связанными с ними вращающимися деталями.
Опасности могут возникать:
- в зоне 1: при открытом доступе к нижней части загрузочного желоба.
Опасность пореза и затягивания или захвата;
- в зоне 2: при открытом доступе при открывании машины для осмотра рабочего органа или барабана. Обычно это происходит при очистке машины или смене режущих рабочих органов.
Опасность пореза и затягивания или захвата;
- в зоне 3: при открытом доступе к рабочим органам через выгрузочный желоб.
Опасность сдавливания и затягивания или захвата;
- в зоне 4: при открытом доступе к приводному механизму.
Опасность сдавливания и затягивания или захвата.
4.2.2. Потеря устойчивости
Опасность сдавливания и удара.
4.2.3. Неправильная сборка и установка
Опасность пореза и сдавливания пальцев или рук.
4.2.4. Обслуживание, очистка и хранение режущих рабочих органов
Опасность пореза и сдавливания.
4.3. Электрические опасности
Опасность поражения электрическим током при прямом или косвенном контакте с компонентами, находящимися под напряжением.
4.4. Опасности, обусловленные несоблюдением гигиенических требований
Невозможность эффективно и тщательно очистить соприкасающиеся с продуктом и забрызганные поверхности.
Загрязнение пищевого продукта нежелательными веществами, включая остатки пищевого продукта, микроорганизмы, а также остатки моющих и дезинфицирующих средств.
4.5. Опасности, обусловленные несоблюдением эргономических требований
Несоблюдение эргономических требований может привести к ошибкам в управлении работой машины, физиологическим травмам мускульно-скелетной системы в связи с чрезмерными или повторяемыми напряжениями тела, неудобными позами и т.д.
5. Требования по безопасности и гигиене и/или меры защиты
Оборудование должно соответствовать требованиям безопасности и/или мерам защиты, указанным в данном разделе.
Кроме того, машина должна быть спроектирована в соответствии с требованиями ЕН 12100-2, касающимися существующих, но не существенных опасностей, которые не учтены в настоящем стандарте.
Примечание. Для опасностей, которые не могут быть уменьшены применением стандартов типа B, таких как ЕН 614-1, ЕН 953, ЕН 60204-1, ЕН 60529, ЕН ИСО 12100, ЕН ИСО 13849-1 и ЕН ИСО 13857, изготовитель должен провести оценку рисков для установления требований стандарта типа B, которые должны применяться. Эта специальная оценка рисков является частью общей оценки рисков машины.
5.2. Требования по обеспечению механической безопасности
Все блокирующие устройства защитных ограждений должны соответствовать ЕН 1088. Блокирующие устройства, связанные с безопасностью, и их совместимость с системами управления должны соответствовать по крайней мере категории 1 ЕН ИСО 13849-1.
Примечание. Категория 1, установленная в ЕН ИСО 13849-1, соответствует категории 1 ЕН 954-1.
5.2.2. Предотвращение доступа к опасным зонам
5.2.2.1.1. Целью технических мер защиты является предотвращение попадания отдельных частей тела оператора (или другого лица) в загрузочные проемы, что в свою очередь может привести к травмированию при контакте с рабочими органами.
5.2.2.1.2. Общие положения
Все загрузочные устройства, соответствующие трем способам загрузки пищевого продукта (загрузочный желоб, толкатель и прижимное устройство), оснащены проемами, через которые возможен доступ к режущим рабочим органам. Степень опасности зависит от размеров каждого из загрузочных устройств. Для предотвращения доступа верхних конечностей к режущим рабочим органам следует соблюдать требования, приведенные в таблице 4 ЕН ИСО 13857.
Для обеспечения соответствия особым требованиям по применению в зависимости:
- от размеров и многообразия пищевых продуктов, подлежащих обработке (овощи, фрукты и т.д.);
- высоты загрузочного и выгрузочного желобов;
- соотношения производительность/компактность;
- возможности очистки
и, принимая во внимание степень рисков, должно быть принято одно из решений, указанных в 5.2.2.1.3 и
5.2.2.1.4.
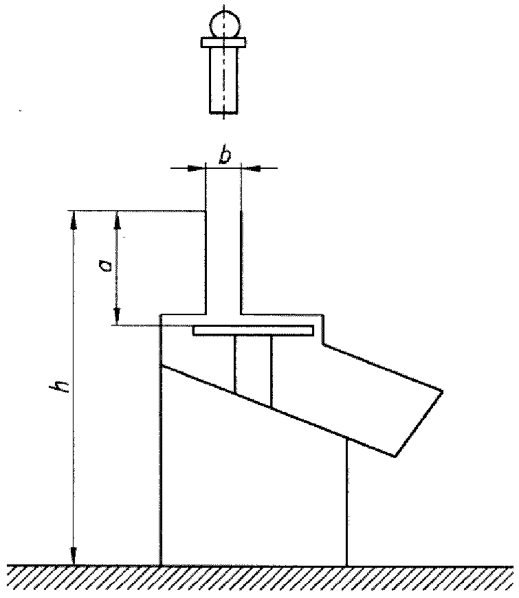
5.2.2.1.3. Подача с помощью прижимного устройства или толкателя
Размеры загрузочного желоба должны соответствовать приведенным в таблице 1.
Максимальный размер проема загрузочного желоба b | Безопасное расстояние a между кромкой загрузочного желоба и режущим рабочим органом |
при толщине среза продукта до 10 включительно | при толщине среза продукта более 10 |
<= 55 | >= 120 | >= 120 |
<= 60 | >= 130 | >= 130 |
<= 70 | >= 150 | >= 230 |
<= 80 | >= 150 | a >= 230 при h >= 1400 |
<= 80 | Прижимное устройство с блокировкой |
5.2.2.1.3.1. Во всех случаях, когда значение b составляет не более 80 мм в соответствии с
таблицей 1:
- машины с загрузочным желобом следует поставлять в комплекте с толкателем;
- если машины не предназначены для работы с толщиной среза более 10 мм, это должно быть указано в руководстве по эксплуатации.
5.2.2.1.3.2. Во всех случаях, когда значение b составляет более 80 мм, машины должны быть оборудованы прижимным защитным устройством с блокировкой, конструкция включателя которой должна обеспечивать требуемое время открытия, закрытия и останова.
В случае применения прижимного устройства машину можно перезапустить без срабатывания включателя блокировки. Для таких машин блокировка должна срабатывать в течение не более 2 с.
Время срабатывания включателя блокировки должно быть определено при работе порожней машины на максимальной скорости вращения с установкой самого тяжелого режущего рабочего органа.
Включатель блокировки должен срабатывать при условии, если зазор x между верхней частью проема и кромкой прижимного устройства соответствует положениям, изображенным на
рисунке 5:
при x <= 60 мм и при a >= 150 мм;
x <= 45 мм и при 130 <= a < 150 мм.
1 - вращательное движение;
2 - возвратно-поступательное движение
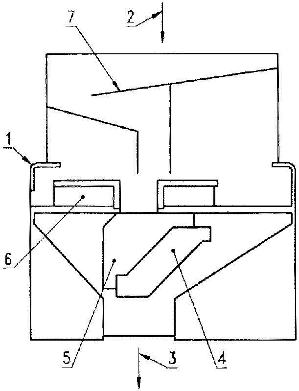
5.2.2.1.4. Конструкции загрузочного устройства
Конструкции должны соответствовать ЕН ИСО 12100-2, подраздел 5.2, и ЕН ИСО 13857, пункт 4.2.3, например (см.
рисунок 6):
- направляющие пластины;
- наклонное загрузочное устройство;
- раздвижной желоб;
- неподвижное защитное устройство в виде решетки (размеры ячеек - в соответствии с ЕН ИСО 13857, таблица 4);
- блокируемая крышка желоба;
- распределительная пластина.
a) Направляющие пластины
b) Наклонное загрузочное устройство
c) Раздвижной желоб
d) Неподвижное защитное устройство в виде решетки
e) Распределительная пластина
Если доступ осуществляется через блокирующее прижимное устройство (см.
5.2.2.1.3), блокировка должна срабатывать в течение не более 2 с.
Детали, обусловливающие повышенную механическую опасность, должны полностью останавливаться в течение 4 с после того, как крышка и/или загрузочное устройство открыты достаточно для того, чтобы сработал блокирующий включатель.
Детали, открывающие доступ к опасным режущим рабочим органам, должны быть оснащены блокирующими устройствами (см.
5.2.1). Открытие этих деталей должно приводить к остановке машины в течение 4 с.
Конструкцией машины должна быть исключена опасность. Для машин с вращающимся диском размер нижней части режущего рабочего органа или выталкивателя должен быть таким, чтобы было исключено попадание пальцев в зону действия режущего рабочего органа или другую опасную зону или чтобы, в крайнем случае, контакт пальцев был возможен только с гладкой поверхностью (см. рисунок 7).
1 - режущий рабочий орган; 2 - наклонная пластина
Рисунок 7. Вращающийся диск
Отводящий выступ должен иметь закругленный конец, чтобы исключить любую возможность захвата или затягивания пальцев в зазор между ним и корпусом машины.
Машины с вращающимся барабаном и машины с горизонтальным возвратно-поступательным движением режущих рабочих органов должны быть сконструированы таким образом, чтобы был возможен контакт только с нижней частью неподвижного режущего рабочего органа и был невозможен контакт с вращающимися барабаном или режущим рабочим органом.
Доступ к опасной зоне должен быть исключен установкой неподвижных защитных ограждений, соответствующих стандарту ЕН 953.
Машина должна быть устойчивой, если она используется по назначению в соответствии с руководством по эксплуатации.
Конструкция машины должна обеспечивать ее устойчивость при установке на нее одного дополнительного приспособления.
Машина, снабженная роликами (колесами), должна иметь по крайней мере два ролика (колеса), снабженные стопором.
5.2.4. Неправильные монтаж и наладка
Конструкция машины перед ее включением в работу должна гарантировать правильность установки съемных деталей, которые обеспечивают защиту (распределительная пластина, загрузочные воронка и желоб, прижимное устройство и выгрузочный желоб), например с помощью специальной механической конструкции, позиционного переключателя с принудительным воздействием или магнитного устройства (см.
5.2).
5.2.5. Обслуживание, очистка и хранение режущих рабочих органов
Существует риск пореза острой кромкой рабочих органов, поэтому изготовитель должен предоставить соответствующие инструкции по безопасному обслуживанию, очистке и хранению режущих рабочих органов.
5.3. Требования по обеспечению электрической безопасности
5.3.1. Общие положения
Электрооборудование, например выключатели, которое может подвергаться воздействию воды, например, во время промывки, должно иметь степень защиты IP в соответствии с ЕН 60529 и ЕН 60204-1.
Электрооборудование должно соответствовать требованиям ЕН 60204-1 и специальным требованиям
5.3, имеющим приоритет.
5.3.2. Требования безопасности, связанные с электромагнитной совместимостью
Машины должны иметь достаточную невосприимчивость к электромагнитным излучениям, обеспечивающую их безопасную работу в условиях, определенных изготовителем, и не подвергаться опасности при уровнях и типах излучений, указанных изготовителем.
Изготовитель машины должен спроектировать, установить и подключить оборудование и вспомогательные устройства с учетом рекомендаций их поставщиков.
5.3.3. Защита от поражения электрическим током
Электрическое оборудование должно соответствовать ЕН 60204-1, раздел 6.
Устройства для обнаружения и прерывания сверхтоков должны быть установлены на каждом токоведущем проводнике, находящемся под напряжением, в соответствии с ЕН 60204-1, пункт 7.2.3. На однофазных машинах такое устройство не требуется при наличии заземленного нейтрального провода.
5.3.5. Защита от повреждения заземления силовых цепей
Для оборудования, питающегося от одной фазы и имеющего заземленный нулевой провод, нет необходимости дублировать электробезопасность машины системой прерывания сверхтоков в фазовом проводнике (см. ЕН 60204-1, подпункт 9.4.3.1).
5.3.6. Устройство аварийного выключения
Машина должна быть оборудована устройством аварийного выключения (см. ЕН 60204-1, подраздел 10.7), даже если проведенная изготовителем оценка рисков не позволяет сделать заключение о том, что это устройство уменьшит уровень рисков, так как оно не сокращает время останова.
В общем случае машина не нуждается в устройстве аварийного выключения. Его отсутствие может быть заменено обычным выключателем "ВЫКЛ.", который должен быть легко доступен с рабочего места оператора.
5.3.7. Ограждение электродвигателя
Если электродвигатель имеет степень защиты менее IP23, он должен быть помещен в защитный кожух (см. ЕН 60204-1, подраздел 14.2), который гарантирует эту минимальную степень защиты.
5.4. Санитарно-гигиенические требования
5.4.1. Общие положения
Машины для резки овощей должны быть спроектированы и изготовлены в соответствии с ЕН 1672-2
[5] и
Приложением B.
На рисунках 8, 9 и
10 изображены три гигиенические зоны.

- пищевая зона;

- зона разбрызгивания;

- непищевая зона
1 - загрузочный желоб; 2 - выгрузочный желоб
5.4.2. Пищевая зона
К пищевой зоне в соответствии с ЕН 1672-2
[5] должны быть отнесены следующие детали:
- толкатель;
- прижимное устройство;
- все режущие рабочие органы, вращающиеся и измельчающие пластины;
- валы;
- выталкиватели;
- загрузочные и выгрузочные желобы;
- направляющие пластины;
- внутренние каналы.
Должна быть предоставлена специальная инструкция по очистке деталей пищевой зоны, например режущих рабочих органов, неподвижных пластин и других компонентов, которые трудно очистить (см.
7.2).
5.4.3. Зона разбрызгивания
К зоне разбрызгивания в соответствии с ЕН 1672-2
[5] должны быть отнесены следующие детали:
- некоторые детали корпуса, особенно загрузочный и выгрузочный желобы;
- стороны машины, которые могут быть забрызганы пищевым продуктом;
- рукоятки.
5.4.4. Непищевая зона
Непищевая зона должна включать в себя все остальные поверхности, не включенные в зону разбрызгивания и пищевую зону.
5.4.5. Качество поверхности
Максимальные значения шероховатости поверхности должны соответствовать требованиям, изложенным в
Приложении B.
5.4.6. Доступность для очистки
Все пищевые зоны и зоны разбрызгивания должны быть легко доступными для очистки, а там, где необходимо, - и дезинфекции.
Конструкция направляющих пластин должна обеспечивать их легкую очистку и сушку, включая нижнюю поверхность.
В пищевой зоне и зоне разбрызгивания не должно быть деталей крепежа, таких как винты, болты и заклепки, кроме тех случаев, когда это технически необходимо. В этом случае они должны легко поддаваться очистке.
5.5. Требования по обеспечению эргономической безопасности
Должны быть приведены рекомендации по эргономике, изложенные в ЕН ИСО 12100-2, подраздел 4.8, и в ЕН 614-1. Любая информация, необходимая для соблюдения эргономических требований и которой должен следовать эксплуатационник (например, высота загрузочного желоба), должна быть включена в руководство по эксплуатации.
Для машин, которые отличаются от изображенных на
рисунке 4, должны быть разработаны инструкции по монтажу, чтобы максимальная высота загрузки (по верхней кромке загрузочного желоба) составляла не более 1,4 м.
6. Проверка выполнения требований безопасности
и санитарно-гигиенических норм
Данный раздел содержит методы испытаний для проверки соответствия и выполнения требований безопасности, изложенных в
разделе 5. Все меры безопасности
раздела 5 содержат очевидные критерии приемлемости.
Проверка требований (см.
таблицу 2) может быть выполнена путем инспектирования, расчета или испытания. Проверка должна применяться к машинам, работающим в условиях полного ввода в эксплуатацию или частично демонтированным. Такой частичный демонтаж не должен искажать результаты проверки.
Методы проверки представлены в таблице 2.
Пункт | Метод проверки |
| Измерение размеров. Измерение времени останова. Проверка электрической схемы. Визуальная проверка |
| Измерение времени останова порожней машины. Проверка электрической схемы. Испытание |
| Визуальная проверка |
| Визуальная проверка |
| Установка незакрепленной порожней машины под углом 10 ° к горизонтальной поверхности. Прикладывание к рычагу или прижимному устройству усилия величиной 25 Н. При этом машина не должна опрокидываться |
| Визуальная проверка |
| Визуальная проверка |
| Проверка должна проводиться в соответствии с ЕН 60204-1, раздел 18 |
| |
| Измерение расстояний. Визуальная проверка. Испытание |
7. Информация для эксплуатационника
7.1. Общие положения
Информация для использования должна соответствовать требованиям ЕН ИСО 12100-2, раздел 6. Должно быть предоставлено руководство по эксплуатации.
7.2. Руководство по эксплуатации
Руководство по эксплуатации должно соответствовать требованиям и рекомендациям ЕН ИСО 12100-2, подраздел 6.5.
Руководство по эксплуатации должно содержать следующее:
a) информацию по устойчивости, транспортированию, обслуживанию и хранению:
- машины;
- поставляемых режущих рабочих органов с учетом рекомендаций по снижению рисков пореза и других травм;
b) информацию по вводу в эксплуатацию, в особенности:
- условий сборки и расположения в рабочем пространстве;
- о мерах безопасности, которые должны быть предприняты эксплуатационником, особенно при использовании толкателя;
- по установке (см. соответствующие требования в
5.2.2.1.3 и
5.5);
c) информацию, касающуюся непосредственно машины, в частности:
- подробное описание машины, ее наладки, крепления, защитных ограждений и/или устройств безопасности;
- полный диапазон возможного применения, для которого предназначены машины, и перечень запрещенных для обработки пищевых продуктов, например замороженных продуктов;
- массу машины и массу комплектующих, если машина поставляется в разобранном виде;
- информацию об эмиссии собственного шума машины, определенной и декларированной в соответствии с
Приложением A:
- откорректированный по шкале A уровень звукового давления эмиссии на рабочем месте оператора, если он превышает 70 дБA; если этот уровень не превышает 70 дБA этот факт также должен быть указан;
- пиковое откорректированное по шкале C значение собственного звукового давления на рабочем месте оператора, если оно превышает 63 Па (130 дБ по отношению к 20 мкПа);
- откорректированный по шкале A уровень звукового давления, излучаемого машиной, если откорректированный по шкале A уровень эмиссии звукового давления на рабочем месте оператора превышает 80 дБA.
В любом случае, если приведены значения уровней эмиссии звука, должны быть указаны соответствующие значения коэффициентов неопределенности K. Должны быть описаны условия работы машины при измерении и использованные методы измерения;
- данные об электрооборудовании и схему электрического подключения;
- для машин, относящихся к
5.3.4, изготовитель должен указать значение тока уставки устройства защиты от сверхтоков;
d) информацию о нормальных условиях эксплуатации:
- рекомендуемые размеры емкости для хранения;
- описание органов управления;
- способы и средства останова машины;
- указания по использованию комплектных защитных ограждений при нормальных условиях эксплуатации или любых других защитных устройств, которые должен предусмотреть эксплуатационник, а также соответствующие требования к подготовке;
- ограничения по использованию режущих рабочих органов определенных типов, которые могут использоваться для предотвращения доступа, если опасности были исключены на стадии проектирования (см.
5.2.2.3);
- приспособления, которые может применять эксплуатационник для обеспечения устойчивости машины в соответствии с
5.2.3;
- ограничения при очистке машины струей воды или путем погружения в воду на основании предусмотренной степени защиты IP;
- все эргономические требования, которые следует учитывать эксплуатационнику (см.
5.5);
- демонтаж рабочих органов и приспособлений (с учетом мер безопасности);
- методы очистки пищевых зон, зон разбрызгивания и непищевых зон;
- демонтаж защитных ограждений и их компонентов, включая крепеж, и соответствующий метод очистки (с учетом мер безопасности);
- специальные инструкции по очистке режущих рабочих органов, неподвижных пластин и компонентов;
e) информацию по техническому обслуживанию, которая должна включать:
- схему смазки, периодичность проведения смазочных работ и перечень смазок, которые могут использоваться;
- инструкции по безопасному отключению машины при проведении необходимого ремонта или технического обслуживания любых устройств безопасности;
- перечень используемых запасных деталей и их влияние на здоровье и безопасность операторов;
- электрическую схему;
- изготовитель должен обратить внимание оператора на опасность остаточного напряжения при обслуживании, особенно на конденсаторах;
- при необходимости - описание операций по регулировке и техническому обслуживанию, которые должен выполнить эксплуатационник, и перечень предупредительных мер по обслуживанию, которые должны соблюдаться;
f) в случае аварии или неисправности машины - перечень операций, которые должны быть выполнены при аварии или поломке машины; порядок безопасного разблокирования машины;
g) информацию, касающуюся вибрации, - значение общего уровня вибрации, которой подвергаются управляемые вручную машины, если он превышает 2,5 м/с2. Однако опыт показывает, что уровень вибрации отдельных деталей управляемых вручную машин значительно ниже 2,5 м/с2. В этом случае достаточно указания того, что значение эмиссии ниже 2,5 м/с2.
7.3. Маркировка
Машина должна быть надежно и четко маркирована с указанием как минимум следующих данных:
- наименование и полный адрес фирмы - изготовителя и, при наличии, ее полномочного представителя;
- наименование машины;
- год изготовления, т.е. год полного завершения процесса производства;
- обозначение серии или типа;
- серийный номер (при наличии);
- характеристики питания: напряжение, В; частота, Гц; мощность, Вт; символ класса безопасности II или III.
--------------------------------
<1> Для машин и связанных с ними продуктов, предназначенных для рынка Европейской экономической зоны (EEA), используется маркировка ЕС, как определено соответствующей директивой(ами), например, по оборудованию.
(обязательное)
СИСТЕМА ПРАВИЛ ОЦЕНКИ УРОВНЯ ШУМА МАШИН ДЛЯ РЕЗКИ ОВОЩЕЙ
(ВТОРАЯ СТЕПЕНЬ ТОЧНОСТИ)
A.1. Определение уровня звукового давления излучения
Для определения уровня звукового давления следует использовать ЕН ИСО 11201.
Измерения следует проводить на рабочем месте оператора, в присутствии оператора, на расстоянии 1 м от вертикальной оси машины. Положение микрофона определяют следующим образом: на высоте 1,55 м над уровнем пола на одной линии с передней стороной машины и на расстоянии (0,2 +/- 0,02) м от центра головы оператора на уровне глаз с той стороны, где наблюдается наиболее высокий уровень звукового давления.
Примечание. По данному техническому методу может ожидаться стандартное отклонение от воспроизводимости значения откорректированного по шкале A уровня звукового давления источника, который излучает шум с относительно "плоским" спектром в диапазоне частот 100 - 10000 Гц, равное или меньшее 2,5 дБ (исключая отклонение в условиях эксплуатации и при установке).
A.2. Внешние акустические условия
Условия проведения испытаний должны соответствовать ЕН ИСО 11201, раздел 6. Они должны быть квалифицированы в соответствии с ЕН ИСО 3744, приложение A.
Примечание. Для испытаний на открытой площадке допускается корректировка на условия окружающей среды

не более 0,5 дБ, которая является незначительной.
Машина при испытании должна быть расположена на звукоотражающем (акустически жестком) испытательном столе, как указано в ЕН ИСО 11201, приложение B, или на звукоотражающем полу - для машин на опорах.
Между машиной и опорной поверхностью должна быть расположена упругая прокладка, чтобы уменьшить до минимума как передачу вибрации на опору, так и влияние на источник шума. Машина должна быть расположена на этой горизонтальной поверхности на рабочей высоте, указанной изготовителем. Машина должна быть расположена на достаточном расстоянии от любой отражающей стены или потолка, или любого другого отражающего объекта.
A.3. Условия проведения испытаний
Испытания следует проводить на машине, работающей на максимальной скорости и оборудованной мелкой теркой в качестве режущего рабочего органа.
Измерение следует проводить при переработке сырого картофеля с максимальной заявленной загрузкой.
A.4. Измерения
Должен быть измерен откорректированный по шкале A усредненный во времени уровень звукового давления излучения

.
Измерительные приборы должны соответствовать ЕН ИСО 11201, раздел 5 и пункт 10.2.1.
Измерения должны быть проведены за полный рабочий цикл в течение более 15 с, при этом время остановки должно быть исключено.
A.5. Данные, подлежащие регистрации
Регистрируемая информация должна соответствовать ЕН ИСО 11201, раздел 12.
Любые отклонения от требований данных правил испытаний по шуму и ЕН ИСО 11201 должны быть зарегистрированы вместе с техническими обстоятельствами, обусловившими такие отклонения.
A.6. Протокол испытаний
Информация, указанная в протоколе испытаний, должна соответствовать ЕН ИСО 11201, раздел 13.
В протокол испытаний должна быть включена следующая информация:
- ссылка на ЕН ИСО 11201;
- описание внешних акустических условий и условий проведения испытаний;
- расположение рабочего места оператора;
- полученные значения уровня шума;
- подтверждение того, что учтены все требования данных правил испытаний по шуму или, если это не так, должны быть указаны все невыполненные требования.
В протоколе испытаний должны быть указаны отклонения от требований и представлены технические обоснования таких отклонений.
A.7. Заявление и контроль шумовых характеристик
Декларация об уровне эмиссии шума должна быть подготовлена в двухчисловой форме декларируемых значений эмиссии шума в соответствии с ЕН ИСО 4871.
Следует указывать откорректированное по шкале A значение уровня звукового давления

и соответствующий коэффициент неопределенности

согласно
7.2, перечисление c).
Ожидаемое значение коэффициента неопределенности

должно быть 2,5 дБ.
Декларация об уровне эмиссии шума должна подтверждать, что значения уровня излучения шума были получены в соответствии сданными правилами испытаний по шуму и основополагающим ЕН ИСО 11201. Если это заключение не соответствует действительности, в декларации необходимо точно указывать, какие отклонения от данных правил испытаний по шуму и/или основополагающих стандартов имели место.
В этом случае должна быть проведена повторная проверка в соответствии с ЕН ИСО 4871 при соблюдении тех же самых условий монтажа, установки и условий работы, которые были использованы при первоначальном определении значений шумовых характеристик.
(обязательное)
ПРИНЦИПЫ ПРОЕКТИРОВАНИЯ, ОБЕСПЕЧИВАЮЩИЕ
ВОЗМОЖНОСТЬ ОЧИСТКИ МАШИН ДЛЯ РЕЗКИ ОВОЩЕЙ
B.1. Термины и определения
В настоящем Приложении применены термины по ЕН 1672-2
[5], а также следующие термины с соответствующими определениями:
B.1.1. Легкоочищаемые поверхности: поверхности, спроектированные и изготовленные таким образом, чтобы обеспечить удаление загрязнений простыми способами, например промывкой вручную с помощью губки.
B.1.2. Сопряженные поверхности: поверхности, отстоящие друг от друга на расстояние не более 0,5 мм.
B.1.3. Сочлененные поверхности: поверхности, между которыми частицы продукта не застревают в мелких трещинах, что могло бы затруднить их удаление и послужить причиной возникновения опасности загрязнения.
B.2. Конструкционные материалы
B.2.1. Типы материалов
Конструкционные материалы для пищевой зоны должны соответствовать ЕН 1672-2, подраздел 5.2,
[5].
Некоторые материалы (например, пластмассы) должны быть подвергнуты общим и специальным испытаниям на миграцию в пищевой продукт.
Примечание. Европейские директивы содержат перечень материалов, пригодных для контакта с пищевыми продуктами (см. также ЕН 15623
[6]). Материалы, не указанные в европейских директивах, допустимы к использованию, если доказана их совместимость с пищевыми продуктами.
B.2.2. Характеристики поверхностей
Качество поверхности материалов должно обеспечивать легкую очистку поверхностей при соблюдении соответствующих условий. Значения шероховатости

согласно стандарту ЕН ИСО 4287 должны соответствовать значениям, приведенным в таблице B.1.
Таблица B.1
Характеристики поверхности
Размеры в микрометрах
Способ обработки | Шероховатость  . Продукты растительного происхождения |
Пищевая зона | Зона разбрызгивания |
Цельнотянутый, прокатанный, скрученный (волочение, прокатка, быстрое вращение) | <= 22 | <= 34 |
Формование - литье | <= 34 | <= 40 |
Механическая обработка | <= 22 | <= 40 |
Литье под давлением: | | |
- металлы | <= 27 | <= 40 |
- пластмассы | <= 27 | <= 40 |
Покрытие: | | |
- окраска | <= 22 | <= 34 |
- пластмассы | <= 22 | <= 34 |
- стекло | <= 22 | <= 34 |
- металл | <= 22 | <= 34 |
B.3.1. Соединение внутренних поверхностей
Места соединения должны иметь то же значение шероховатости, что и соединяемые поверхности. Они должны быть спроектированы таким образом, чтобы исключить в соответствии с ЕН 1672-2
[5] образование недоступных пространств.
B.3.1.1. Соединение внутренних поверхностей в пищевой зоне
Две поверхности должны быть соединены в соответствии со следующими требованиями:
- закругленная кромка радиусом большим, чем кривая минимального радиуса

, равного 3 мм, полученная путем:
- механической обработки (нарезание внутри массы материала);
- сгибания листового металла (изгибание и формование);
- конструирования литьем, выдавливанием и выдуванием (см. рисунок B.1.1);
Рисунок B.1.1. Пищевая зона
- либо путем сварного соединения с последующим шлифованием и полированием (см. рисунок B.1.2);
Рисунок B.1.2. Пищевая зона
- для внутреннего угла

, большего или равного 135°, не существует специальных требований к радиусу (см. рисунок B.1.3).
Рисунок B.1.3. Пищевая зона
- путем использования округлых кромок, в том числе двух округлых кромок радиусом не менее 3 мм и третьей радиусом не менее 7 мм;
- путем формирования углов 135° таким образом, чтобы расстояние

между двумя сгибами составляло не менее 7 мм.
A - поверхность A; B - поверхность B; C - поверхность C
Рисунок B.1.4. Соединение трех поверхностей в пищевой зоне
B.3.1.2. Соединение внутренних поверхностей в зоне разбрызгивания
Если две поверхности перпендикулярны, радиус закругления

должен превышать 1 мм (см. рисунок B.2.1).
Рисунок B.2.1. Соединение двух перпендикулярных
поверхностей в зоне разбрызгивания
Если внутренний угол

имеет величину от 60° до 90°, радиус закругления

должен быть не менее 3 мм (см. рисунок B.2.2).
Рисунок B.2.2. Соединение двух поверхностей
в зоне разбрызгивания
Когда две перпендикулярные поверхности соединены сварным швом, сварка должна гарантировать герметичность соединения (см. рисунок B.2.3). Допускается окончательное шлифование поверхности шва.
Рисунок B.2.3. Соединение сваркой двух перпендикулярных
поверхностей в зоне разбрызгивания
B.3.1.3. Соединение внутренних поверхностей в непищевой зоне
Специальных требований нет.
B.3.2. Соединение поверхностей встык и внахлест
Методы соединения листов металла должны учитывать расширение или сжатие, связанные с колебаниями температуры.
B.3.2.1. Соединение поверхностей встык и внахлест в пищевой зоне
B.3.2.1.1. Соединение поверхностей встык
Поверхности соединяются встык посредством:
- непрерывного сварного шва (см. рисунок B.3.1);
Рисунок B.3.1. Соединение поверхностей
сваркой встык в пищевой зоне
- либо непрерывного сварного шва с плоской лицевой поверхностью и применением накладки (см. рисунок B.3.2).
Рисунок B.3.2. Соединение поверхностей сваркой встык
с применением накладки в пищевой зоне
B.3.2.1.2. Соединение поверхностей внахлест
В случае обязательных технических ограничений (например, при наличии длинных металлических листовых деталей различной толщины) соединение листов может быть осуществлено внахлест, в этом случае соединяемые поверхности соединяются друг с другом:
- с помощью непрерывного сварного шва.
В этом случае верхняя поверхность должна перекрывать нижнюю поверхность в направлении потока жидкости. Конец перекрывания и угол сгиба должны отстоять друг от друга на расстоянии h не менее 30 мм (см. рисунок B.4.1).
Рисунок B.4.1. Пищевая зона
Если это невозможно по конструктивным соображениям, соединение должно быть выполнено в соответствии с требованиями, предъявляемыми к закругленным поверхностям пищевой зоны (см.
B.3.1.1 и рисунок B.4.2);
Рисунок B.4.2. Пищевая зона
- либо непрерывного сварного шва с плоской лицевой поверхностью и применением накладки.
Если общая толщина перекрывающей детали и стыка превышает 1 мм, толщина верхней детали должна быть уменьшена с целью снижения толщины d до значения не более 1 мм (см. рисунок B.4.3).
Рисунок B.4.3. Пищевая зона
B.3.2.2. Соединение поверхностей встык и внахлест в зоне разбрызгивания
Поверхности могут быть:
- склепанными посредством профиля, который нельзя удалить или который устанавливается до соединения (см. рисунок B.5.1);
Рисунок B.5.1. Зона разбрызгивания
- соединенными путем сварки без усиления [длина кромки

на сгибе детали, используемой для соединения, должна быть более 6 мм, а заливка соединения не должна иметь усадку s более 0,5 мм (см. рисунок B.5.2)];
Рисунок B.5.2. Зона разбрызгивания
- или соединенными с подгонкой (максимальный зазор между ними j должен быть не более 0,5 мм) с перекрыванием верхней поверхностью нижней в направлении потока продукта. Размер перекрывания

должен быть не менее 30 мм, чтобы предотвратить утечку жидкости за счет капиллярного эффекта (см. рисунок B.5.3).
Рисунок B.5.3. Зона разбрызгивания
B.3.2.3. Соединение поверхностей встык и внахлест в непищевой зоне
Особых требований нет.
B.3.3.1. Крепеж в пищевой зоне
См. ЕН 1672-2
[5], подпункт 5.3.1.3.
B.3.3.1.1. Зенкование
Если конструкция требует использования винтов с цилиндрической головкой и шестигранным углублением под ключ, устанавливаемых в отверстия опорной поверхности:
- конструкция должна соответствовать рисунку B.6, а изготовитель в руководстве по эксплуатации указывает пригодные для очистки средства (например, использование струи воды высокого давления);
Рисунок B.6. Пищевая зона
- либо отверстия в опорной поверхности должны быть заполнены уплотняющими и долговечными пробками в соответствии с требованиями, предъявляемыми к пищевой зоне.
B.3.3.1.2. Штифтовое крепление привода
Штифтовое крепление привода должны применяться только в том случае, если оно прочное и надежно смонтировано. Изготовитель может устанавливать методику контроля, чтобы гарантировать соответствие этим требованиям.
B.3.3.2. Крепеж в зоне разбрызгивания
Крепеж должен легко поддаваться очистке. Его следует выбирать из вариантов, приведенных на рисунке B.7.
Рисунок B.7
Если конструкция требует использования винтов с цилиндрической головкой и шестигранным углублением под ключ, устанавливаемых в отверстия опорной поверхности, конструкция должна соответствовать:
- принципиальной схеме, приведенной на
рисунке B.6 для пищевой зоны, согласно которой изготовитель может четко указывать в руководстве по эксплуатации требуемые условия очистки (например, использование струи воды высокого давления),
- либо отверстия в опорной поверхности должны быть заполнены уплотняющими и долговечными пробками в соответствии с требованиями, предъявляемыми к пищевой зоне.
B.3.3.3. Крепеж в непищевой зоне
Особых требований нет.
B.3.4. Ножки, опоры и станины для очистки пространства под машинами
B.3.4.1. Настольные машины
Настольные машины могут быть:
B.3.4.1.1. Переносными - это настольные машины, которые можно перемещать одному человеку (усилие, требуемое для их подъема, меньше или равно 250 Н) после демонтажа всех съемных элементов. Требования по уборке мест установки и эксплуатации отсутствуют.
B.3.4.1.2. Наклоняемыми - это настольные машины, для наклона которых требуется усилие, меньшее или равное минимальной массе перемещения. Требования по уборке мест установки и эксплуатации отсутствуют.
Однако машины должны быть укомплектованы специальными приспособлениями для их перемещения в наклонном положении, гарантирующими в этом случае устойчивость машины (подходящими ножками, средствами фиксации и т.д.), а порядок выполнения наклона должен быть четко изложен в руководстве по эксплуатации.
B.3.4.1.3. Стационарными и ненаклоняемыми - эти машины комплектуются ножками либо устанавливаются на подставке.
Для определения минимальной высоты H ножки расстояние доступа P, представленное в таблице B.2 и позволяющее очистить опорные поверхности, должно иметь значения, приведенные на
рисунке B.8.
Таблица B.2
Размеры в миллиметрах
P <= 120 | H >= 50 |
120 < P <= 500 | H >= 75 |
500 < P <= 650 | H >= 100 |
P > 650 | H >= 150 |
Рисунок B.8. Подставки для машин
Если машина не имеет ножек, она должна размещаться на рабочем столе со вставленной, сплошной и герметичной прокладкой.
В руководстве по эксплуатации должен быть описан способ установки таких машин.
B.3.4.2. Машины напольного типа
B.3.4.2.1. Стационарные машины с подставками или без подставок
Машины должны размещаться либо на полу со вставленной, сплошной и герметичной прокладкой, при этом в руководстве по эксплуатации должны быть указаны способы установки таких машин (см. рисунок B.9.), либо они должны быть укомплектованы ножками высотой H не менее 150 мм.
Рисунок B.9.1
Однако, если пространство L, которое должно очищаться, имеет глубину не более 150 мм, высота H может быть уменьшена до 100 мм, но таким образом, чтобы обеспечивать возможность доступа к поверхности (см.
рисунок B.9.2).
Если площадь одной ножки больше 1 дм2, то ножки должны рассматриваться как подставка (со вставленной герметичной прокладкой) (см.
рисунок B.9.3).
B.3.4.2.2. Передвижные машины
Ролики (колеса) рояльного типа должны быть легко доступны для очистки. Пример показан на
рисунке B.10, где значение b имеет большую ширину кожуха, перекрывающую окружность ролика (колеса).
Если b <= 25 мм, тогда a >= 3,5 мм;
Если b > 25 мм, тогда a >= 6 мм.
Рисунок B.10. Пример ролика (колеса) рояльного типа,
доступного для очистки
B.3.5. Вентиляционные отверстия
B.3.5.1. Вентиляционные отверстия в непищевой зоне
Вентиляционные отверстия должны быть расположены в непищевой зоне.
Конструкцией машины должны быть исключены любое проникновение и удержание жидкости в машине.
По возможности, напольные машины должны иметь защиту, предотвращающую проникновение грызунов во все технические зоны.
Размер отверстий должен быть не более 5 мм.
B.3.5.2. Вентиляционные отверстия в зоне разбрызгивания
При технической необходимости вентиляционные отверстия могут располагаться в зоне разбрызгивания. В этом случае они должны быть доступными для очистки.
По возможности, напольные машины должны иметь защиту, предотвращающую проникновение грызунов во все технические зоны.
Размер отверстий должен быть не более 5 мм (см. рисунок B.11).
Рисунок B.11
По возможности, изготовитель должен исключать из пищевой зоны шарнирные соединения.
Если использование шарнирных соединений в пищевой зоне технически необходимо:
- они должны легко сниматься;
- их поверхности должны быть легко доступны в случае невозможности их снятия.
Агрегаты с неподвижными деталями должны быть спроектированы так, чтобы было исключено любое проникновение. Доступ ко всем этим местам возможен, когда ширина прохода

составляет не менее двукратного значения глубины p. В любом случае эта ширина

должна быть не менее 10 мм (см. рисунок B.12).
Рисунок B.12
B.3.7.1. Панель управления в непищевой зоне
Обычно панель управления должна находиться вне пищевой зоны и всегда быть доступной для очистки.
B.3.7.2. Панель управления в зоне разбрызгивания
Если по техническим причинам панель управления невозможно разместить в непищевой зоне, различные элементы системы управления возможно размещать в зоне разбрызгивания, но они должны иметь легкоочищаемые поверхности.
Расстояние L между двумя элементами системы управления должно быть не менее:
- 20 мм (см. рисунок B.13.1);
Рисунок B.13.1
- 12,5 мм, если их высота h составляет не более 8 мм (см. рисунок B.13.2).
Рисунок B.13.2
Если указанные выше требования нельзя выполнить, органы системы управления должны быть защищены колпачками (см. рисунок B.13.3).
Рисунок B.13.3
B.4.1. Испытание материалов
Природа (происхождение, состав) материалов должна быть проверена на соответствие декларации изготовителя сертификатам поставщиков о возможности их применения в пищевой промышленности и, если возможно, отчетам об испытаниях образцов материалов на миграцию в пищевые продукты.
Если имеется подозрение, что отдельные покрытия или материалы оборудования недостаточно устойчивы к механическому (задирам, ударам, истиранию) или химическому воздействию (действие кислот или щелочей, распыление солей и т.д.), они должны быть подвергнуты лабораторной проверке производителем путем дополнительных испытаний образцов.
Характеристики поверхностей должны быть проверены в соответствии с
пунктом B.2 с использованием ругозиметра и/или путем сравнения с визуально-тактильными образцами.
B.4.2. Испытания конструкции
Испытания следует проводить в соответствии с нормативными документами на машину путем измерения размеров и допусков и, при необходимости, проведения технологических испытаний.
B.5. Информация для эксплуатационника
B.5.1. Инструкция по установке
Изготовитель должен предоставить необходимые инструкции по обеспечению доступа для очистки.
B.5.2. Руководство по эксплуатации
Изготовитель должен описать процесс очистки (например, типы моющих и чистящих средств, продолжительность их воздействия и периодичность очистки) в соответствии с видом перерабатываемого пищевого продукта и имеющимися рисками.
B.5.3. Руководство по техническому обслуживанию
Изготовитель должен представить все необходимые рекомендации для поддержания требуемого гигиенического уровня (например, ухудшение состояния поверхности, износ изолирующего слоя и некоторых деталей).
(обязательное)
ЩУПЫ ДЛЯ СПЕЦИАЛЬНЫХ ИСПЫТАНИЙ
C.1. Испытательный щуп
Для проверки того, что включатель блокировки, как указано в
5.2.2.1.3, не позволяет запустить машину до тех пор, пока расстояние x меньше заданных значений, необходимо провести проверку с помощью испытательного щупа.
Рисунок C.1
Размер x - радиус щупа - должен быть не более либо 45, либо 60 мм (см.
5.2.2.1.3), а длина испытательного щупа должна быть не менее удвоенного размера x.
C.2. Шарнирный испытательный щуп
Для проверки безопасности конструкции согласно ЕН ИСО 13857, пункт 4.2.3 (см.
5.2.2.1.4 настоящего стандарта), следует использовать испытательный щуп, изображенный на рисунке C.2.
Рисунок C.2
Каждый шарнир должен позволять поворот на 90°, а оба шарнирных соединения должны быть расположены перпендикулярно по отношению друг к другу.
(справочное)
СВЯЗЬ ДАННОГО ЕВРОПЕЙСКОГО СТАНДАРТА С ОСНОВНЫМИ
ТРЕБОВАНИЯМИ ДИРЕКТИВЫ 2006/42/ЕС
Данный европейский стандарт разработан Европейским комитетом по стандартизации (CEN) по поручению Комиссии ЕС и Европейской ассоциации свободной торговли (EFTA) и способствует выполнению основных требований Директивы Нового подхода 2006/42/ЕС.
Поскольку данный стандарт опубликован в Официальном журнале ЕС в соответствии с этой Директивой и принят в качестве национального стандарта как минимум одной страной - членом ЕС, соответствие требованиям данного стандарта в пределах области его применения является средством выполнения основных требований этой Директивы и связанных с ней регламентирующих документов Европейской ассоциации свободной торговли.
ПРЕДУПРЕЖДЕНИЕ: На продукт(ты), входящие в область применения данного стандарта, могут распространяться требования других директив ЕС.
(обязательное)
СВЕДЕНИЯ О СООТВЕТСТВИИ ССЫЛОЧНЫХ МЕЖДУНАРОДНЫХ СТАНДАРТОВ
НАЦИОНАЛЬНЫМ СТАНДАРТАМ РОССИЙСКОЙ ФЕДЕРАЦИИ (И ДЕЙСТВУЮЩИМ
В ЭТОМ КАЧЕСТВЕ МЕЖГОСУДАРСТВЕННЫМ СТАНДАРТАМ)
Таблица ДА.1
Обозначение ссылочного международного стандарта | Степень соответствия | Обозначение и наименование соответствующего национального стандарта |
ЕН 614-1-1995 | IDT | ГОСТ Р ЕН 614-1-2003 "Безопасность оборудования. Эргонометрические принципы конструирования. Часть 1. Термины, определения и общие принципы" |
ИСО 12100-1-92 | IDT | ГОСТ Р ИСО 12100-1-2007 "Безопасность машин. Основные понятия, общие принципы конструирования. Часть 1. Основные термины, методология" |
ИСО 12100-2:2003 | IDT | ГОСТ Р ИСО 12100-2-2007 "Безопасность машин. Основные понятия, общие принципы конструирования. Часть 2. Технические принципы" |
ИСО 13849-1:1999 | IDT | ГОСТ Р ИСО 13849-1-2003 "Безопасность оборудования. Элементы систем управления, связанные с безопасностью. Часть 1. Общие принципы конструирования" |
МЭК 529-89 | IDT | ГОСТ 14254-96 (МЭК 529-89) "Степени защиты, обеспечиваемые оболочками (код IP)" |
ИСО 4871-96 | MOD | ГОСТ 30691-2001 (ИСО 4871-96) "Шум машин. Заявление и контроль значений шумовых характеристик" |
ИСО 11201:1995 | IDT | ГОСТ 31172-2003 (ИСО 11201:1995) "Шум машин. Измерение уровней звукового давления излучения на рабочем месте и в других контрольных точках. Технический метод в существенно свободном звуковом поле над звукоотражающей плоскостью" |
ИСО 3744-94 | MOD | ГОСТ Р 51401-99 (ИСО 3744-94) "Шум машин. Определение уровней звуковой мощности источников шума по звуковому давлению. Технический метод в существенно свободном звуковом поле над звукоотражающей плоскостью" |
ЕН 953-97 | MOD | ГОСТ Р 51342-99 (ЕН 953-97) "Безопасность машин. Съемные защитные устройства. Общие требования по конструированию и изготовлению неподвижных и перемещаемых съемных защитных устройств" |
ЕН 1088:1995 | IDT | ГОСТ Р 51345-99 "Безопасность машин. Блокировочные устройства, связанные с защитными устройствами. Принципы конструирования и выбора" |
МЭК 60204-1:2005 | IDT | |
Примечание. В настоящей таблице использованы следующие условные обозначения степени соответствия стандартов: - IDT - идентичные стандарты; - MOD - модифицированные стандарты. |
| ЕН 12852 | Оборудование для пищевой промышленности. Пищевые процессоры и смесители. Требования безопасности и гигиены |
| ЕН 13208 | Оборудование для пищевой промышленности. Машины для чистки овощей. Требования безопасности и гигиены |
| ЕН 12851 | Оборудование для пищевой промышленности. Приспособления к машинам с дополнительной приводной ступицей, применяемым на предприятиях общественного питания. Требования безопасности и гигиены |
| ЕН 454 | Оборудование для пищевой промышленности. Планетарные смесители. Требования безопасности и гигиены |
| ЕН 1672-2 | Оборудование для пищевой промышленности. Требования безопасности и гигиены. Основные положения. Часть 2. Гигиенические требования |
| ЕН 15623 | Машины для пищевой промышленности. Обработка поверхностей. Материалы для пищевой зоны |