Главная // Актуальные документы // ГОСТ Р (Государственный стандарт)СПРАВКА
Источник публикации
М.: Стандартинформ, 2012
Примечание к документу
Отдельные положения данного документа включены в
Перечень международных и региональных (межгосударственных) стандартов, а в случае их отсутствия - национальных (государственных) стандартов, в результате применения которых на добровольной основе обеспечивается соблюдение требований технического
регламента Таможенного союза "О безопасности машин и оборудования" (ТР ТС 010/2011) (
Решение Коллегии Евразийской экономической комиссии от 09.03.2021 N 28).
Документ
введен в действие с 1 января 2013 года.
Название документа
"ГОСТ Р 54791-2011. Национальный стандарт Российской Федерации. Оборудование для газовой сварки, резки и родственных процессов. Редукторы и расходомеры для газопроводов и газовых баллонов с давлением газа до 300 бар (30 МПа)"
(утв. и введен в действие Приказом Росстандарта от 13.12.2011 N 1035-ст)
"ГОСТ Р 54791-2011. Национальный стандарт Российской Федерации. Оборудование для газовой сварки, резки и родственных процессов. Редукторы и расходомеры для газопроводов и газовых баллонов с давлением газа до 300 бар (30 МПа)"
(утв. и введен в действие Приказом Росстандарта от 13.12.2011 N 1035-ст)
Утвержден и введен в действие
агентства по техническому
регулированию и метрологии
от 13 декабря 2011 г. N 1035-ст
НАЦИОНАЛЬНЫЙ СТАНДАРТ РОССИЙСКОЙ ФЕДЕРАЦИИ
ОБОРУДОВАНИЕ ДЛЯ ГАЗОВОЙ СВАРКИ, РЕЗКИ
И РОДСТВЕННЫХ ПРОЦЕССОВ
РЕДУКТОРЫ И РАСХОДОМЕРЫ ДЛЯ ГАЗОПРОВОДОВ И ГАЗОВЫХ БАЛЛОНОВ
С ДАВЛЕНИЕМ ГАЗА ДО 300 бар (30 МПа)
Gas welding equipment used in welding, cutting and allied
processes. Pressure regulators and pressure regulators
with flow-metering devices for manifold systems
and gas cylinders up to 300 bar (30 MPa)
ISO 7291:2010
Gas welding equipment - Pressure regulators
for manifold systems used in welding, cutting
and allied processes up to 30 MPa (300 bar)
(MOD)
ISO 2503:2009
Gas welding equipment - Pressure regulators
and pressure regulators with flow-metering devices
for gas cylinders used in welding, cutting
and allied processes up to 300 bar (30 MPa)
(MOD)
ГОСТ Р 54791-2011
Дата введения
1 января 2013 года
Цели и принципы стандартизации в Российской Федерации установлены Федеральным
законом от 27 декабря 2002 г. N 184-ФЗ "О техническом регулировании", а правила применения национальных стандартов Российской Федерации -
ГОСТ Р 1.0-2004 "Стандартизация в Российской Федерации. Основные положения".
1. Подготовлен Федеральным государственным учреждением "Научно-учебный центр "Сварка и контроль" при МГТУ им. Н.Э. Баумана (ФГУ "НУЦСК" при МГТУ им. Н.Э. Баумана), Национальным агентством контроля и сварки (НАКС), Открытым акционерным обществом "ВНИИАвтогенмаш" (ОАО "ВНИИАвтогенмаш", г. Москва) на основе собственного аутентичного перевода на русский язык стандарта, указанного в
пункте 4.
2. Внесен Техническим комитетом по стандартизации ТК 364 "Сварка и родственные процессы".
3. Утвержден и введен в действие
Приказом Федерального агентства по техническому регулированию и метрологии от 13 декабря 2011 г. N 1035-ст.
4. Настоящий стандарт является модифицированным по отношению к стандартам ИСО 7291:2010 "Оборудование для газовой сварки. Редукторы для систем трубопроводов, применяемые в сварке, резке и родственных процессах при давлении до 30 МПа (300 бар)" (ISO 7291:2010 "Gas welding equipment - Pressure regulators for manifold systems used in welding, cutting and allied processes up to 30 MPa (300 bar)") и ИСО 2503:2009 "Оборудование для газовой сварки. Редукторы и редукторы с расходомерами для газовых баллонов, применяемые в сварке, резке и родственных процессах при давлении до 300 бар (30 МПа)" (ISO 2503:2009 "Gas welding equipment - Pressure regulators and pressure regulators with flow-metering devices for gas cylinders used in welding, cutting and allied processes up to 300 bar (30 MPa)"). Объединение указанных стандартов в настоящем стандарте обусловлено наличием повторяющихся описаний, требований и методов испытаний редукторов. Объединенный стандарт позволяет уменьшить его текстовой объем и обеспечивает удобство пользования.
5. Введен впервые.
Информация об изменениях к настоящему стандарту публикуется в ежегодно издаваемом информационном указателе "Национальные стандарты", а текст изменений и поправок - в ежемесячно издаваемых информационных указателях "Национальные стандарты". В случае пересмотра (замены) или отмены настоящего стандарта соответствующее уведомление будет опубликовано в ежемесячно издаваемом информационном указателе "Национальные стандарты". Соответствующая информация, уведомление и тексты размещаются также в информационной системе общего пользования - на официальном сайте Федерального агентства по техническому регулированию и метрологии в сети Интернет.
Настоящий стандарт разработан методом прямого применения с дополнениями международных стандартов ИСО 2503-2009 "Оборудование для газовой сварки. Редукторы и редукторы с расходомерами для газовых баллонов, применяемые в сварке, резке и родственных процессах при давлении до 300 бар (30 МПа)" и ИСО 7291-1999 "Оборудование для газовой сварки. Редукторы для систем трубопроводов, применяемые в сварке, резке и родственных процессах при давлении до 300 бар", отражающих потребности народного хозяйства.
Настоящий стандарт устанавливает технические требования к редукторам давления и расходомерам, устанавливаемым на газопроводах и газовых баллонах для сжатых газов и смесей при давлении до 30 МПа, растворенного ацетилена, сжиженного природного газа (СПГ), метилацетилен-пропадиеновых смесей (МАФ) и углекислого газа

, применяемых при сварке, резке и родственных процессах, а также методы их испытаний. Стандарт не распространяется на редукторы с номинальным рабочим давлением

(2 МПа).
В настоящем стандарте использованы ссылки на следующие межгосударственные стандарты:
ГОСТ Р 50379-92 (ИСО 9090-89) Герметичность оборудования и аппаратуры для газовой сварки, резки и аналогичных процессов. Допустимые скорости внешней утечки газа и метод их измерения
ГОСТ 2405-88 Манометры, вакуумметры, мановакуумметры, напоромеры, тягомеры и тягонапоромеры. Общие технические условия
ГОСТ 29090-91 (ИСО 9539-88) Материалы, используемые в оборудовании для газовой сварки, резки и аналогичных процессов. Общие требования
ГОСТ 12.2.052-81 Система стандартов безопасности труда. Оборудование, работающее с газообразным кислородом. Общие требования безопасности
Примечание. При пользовании настоящим стандартом целесообразно проверить действие ссылочных стандартов в информационной системе общего пользования - на официальном сайте Федерального агентства по техническому регулированию и метрологии в сети Интернет или по ежегодно издаваемому информационному указателю "Национальные стандарты", который опубликован по состоянию на 1 января текущего года, и по соответствующим ежемесячно издаваемым информационным указателям, опубликованным в текущем году. Если ссылочный стандарт заменен (изменен), то при пользовании настоящим стандартом следует руководствоваться заменяющим (измененным) стандартом. Если ссылочный стандарт отменен без замены, то положение, в котором дана ссылка на него, применяется в части, не затрагивающей эту ссылку.
В настоящем стандарте используются следующие термины с соответствующими определениями:
3.1. Баллонный редуктор давления (далее - баллонный редуктор): устройство для редуцирования, как правило, изменяющегося давления на входе до рабочего давления и его поддержания в максимальном приближении к постоянному уровню (см.
рисунок А.1).
3.2. Баллонный редуктор давления с расходомером (далее - редуктор с расходомером): устройство для редуцирования, как правило, изменяющегося давления на входе до рабочего давления и его поддержания в максимальном приближении к постоянному уровню, дополнительно обеспечивающее выбранный расход газа (см.
рисунок А.2).
Примечание. Как правило, это редукторы давления, снабженные устройствами регулирования и измерения расхода, не предусмотренными для демонтажа.
3.3. Редуктор давления для коллекторных систем (далее - рамповый редуктор): устройство для регулирования, как правило, колеблющегося входного давления до постоянного (насколько возможно) его значения на выходе, предназначенное для оборудования баллонных перепускных рамп.
3.4. Расходомер: устройство, измеряющее расход определенного газа или газовой смеси.
3.5. Датчик расхода: устройство, измеряющее давление и калиброванное в единицах расхода.
Примечание. Датчик не измеряет, а показывает расход, измеряя давление на входе в устройство с пропускным отверстием постоянного сечения.
3.6. Максимальное промежуточное давление,

: для редукторов с расходомерами - максимальное давление, установленное производителем и измеряемое в камере промежуточного давления после редуцирующего клапана и перед устройством регулирования и измерения расхода.
Примечание. Данное максимальное давление определяется для испытаний редукторов и превышает обычное рабочее давление расходомера.
3.7. Номинальная пропускная способность,

: для редукторов с расходомерами - пропускная способность, установленная производителем (измеряется на выходе из устройства регулирования и измерения расхода).
3.8. Истинный расход: расход, измеренный калиброванным расходомером.
Символы, используемые в настоящем стандарте, перечислены в таблице 1.
Таблица 1
Символ | Значение |
| Номинальное входное давление, указанное производителем (рекомендуемые значения приведены в таблице 3) |
| Номинальное рабочее давление, указанное производителем (рекомендуемые значения представлены в таблице 3) |
| Рабочее давление ацетилена, используемое для расчета R (см. 9.5.3.3) |
| Рабочее давление ацетилена, применяемое для расчета i (см. 9.5.5.3) |
| Максимальное промежуточное давление |
| Давление перед прибором для типовых испытаний: p3 = 2p2 + 1 бар (0,1 МПа) |
| Давление после прекращения отбора газа при пропускной способности клапана, приведенной к нормальным условиям |
| Наибольшее или наименьшее рабочее давление во время испытания на установление коэффициента неравномерности в соответствии с 6.6.1.2 |
| Давление на предохранительный клапан во время испытания на пропускную способность (см. 6.4.1) |
| Пропускная способность, приведенная к нормальным условиям (классификация устройств), см. таблицу 3 |
| Номинальная пропускная способность (редуктора с расходомером), указанная производителем |
| Максимальная пропускная способность |
| Пропускная способность предохранительного клапана |
R | Коэффициент увеличения давления после прекращения отбора газа |
i | Коэффициент неравномерности |
| Внутренняя утечка |
U | Коэффициент преобразования |
5. Конструктивные требования
5.1. Материалы
Материалы, используемые для производства рамповых и баллонных редукторов и редукторов с расходомерами, должны отвечать требованиям
ГОСТ 29090-91, для кислородных -
ГОСТ 12.2.052-81.
5.2.1. Кислородные редукторы
При конструировании и изготовлении кислородных редукторов должен быть учтен риск внутреннего возгорания при адиабатическом сжатии. При испытании на возгорание согласно
9.7.4 редукторы для кислорода не должны загораться или иметь следы горения.
Все составные части и вспомогательные детали должны быть тщательно очищены и обезжирены перед сборкой.
5.2.2. Ацетиленовые редукторы
Ацетиленовые редукторы должны быть сконструированы и изготовлены так, чтобы стабилизированное рабочее давление в баллонных редукторах не превышало 1,5 бар для всех уровней давления на входе, а рамповые - могли выдержать любой распад ацетилена. Испытания можно проводить, руководствуясь
Приложением В, или прибегнуть к другим аналогичным испытаниям.
5.2.3. Соединения
5.2.3.1. Соединение на входе баллонных редукторов
Баллонные редукторы и редукторы с расходомерами должны быть изготовлены так, чтобы их входной штуцер был совместим со штуцером расходного вентиля газового баллона и отвечал требованиям работы с используемым газом. Входное давление

, указанное производителем, не должно быть ниже максимального давления наполнения (при 15 °C), допустимого для соединения газового баллона.
5.2.3.2. Соединение на выходе баллонных редукторов
Соединения резьбовых отводов баллонных редукторов должны соответствовать национальному стандарту или нормативным требованиям страны применения и отвечать следующим требованиям:
- применение левой резьбы для горючих газов и правой - для кислорода или сжатого воздуха;
- рекомендуемая направленность отводного штуцера - вниз и в сторону от газового баллона;
- недопустимость использования изогнутых концов под шланг.
5.2.3.3. Входные и выходные соединения рамповых редукторов
Выбор входных и выходных соединений рамповых редукторов определяется производителем.
5.2.4. Фильтр
Пылевой фильтр с эффективным поперечным сопряжением с каналом нагнетания должен встраиваться в редуктор или непосредственно устанавливаться на него перед редуцирующим клапаном. Необходимо предусмотреть невозможность демонтажа фильтра без применения инструментов. Фильтр должен удерживать частицы размером не меньше 0,1 мм.
5.2.5. Запорный клапан
Редукторы могут быть оборудованы на выходе запорным клапаном. В этом случае его шток должен находиться внутри корпуса.
5.2.6. Устройство регулирования давления
Данное устройство должно быть сконструировано так, чтобы редуцирующий клапан не мог находиться в открытом положении, например в результате полного сжатия пружины (до ее минимальной длины).
Если предотвращение полного сжатия пружины зависит от размера задаточного винта, то он не должен быть демонтируемым.
Применение устройства регулировки не должно допускать достижения давления, активизирующего предохранительный клапан.
5.2.7. Клапан регулирования расхода
Баллонный редуктор с расходомером может быть оборудован клапаном регулирования расхода. Регулирующая ручка и шток должны находиться внутри корпуса, чтобы исключить их демонтаж без применения инструментов.
5.2.8. Предохранительный клапан
5.2.8.1. Общие сведения
Все редукторы, за исключением предназначенных для ацетилена или СПГ, должны быть снабжены предохранительными клапанами для снижения избыточного рабочего давления в случае сбоя в работе редуцирующего узла.
5.2.8.2. Расположение
Предохранительный клапан на рамповых редукторах устанавливают после редуцирующего.
Такой клапан может быть помещен на редуктор или прилагаться как отдельное устройство для установки на выходе из него.
Предохранительный клапан должен выпускать газ в отводную трубку, диаметр которой больше диаметра его седла.
5.2.8.3. Функционирование
Предохранительный клапан на рамповых редукторах должен быть непроницаем при давлении выше максимального, достигаемого при скорости потока, заданной для исходного давления

, плюс избыточное давление, соответствующее фактическим коэффициентам i и R.
Если давление отводимого газа составляет

, пропускная способность предохранительного клапана

должна быть по меньшей мере вдвое меньше номинальной пропускной способности редуктора

:

.
Если предохранительный клапан задействован и давление падает, он закроется, когда давление на выходе снова будет равно значению

или немного выше него.
5.2.9. Манометры давления
Для измерения давления в редукторах используются манометры по
ГОСТ 2405-88.
5.2.10. Уровень герметичности
5.2.10.1. Общие сведения
Все типы редукторов, в том числе с расходомерами, должны быть газонепроницаемыми по отношению к атмосфере.
5.2.10.2. Внешняя герметичность (утечка)
Рамповые, баллонные редукторы и редукторы с расходомерами должны быть газонепроницаемыми по отношению к внешней среде при всех обычных давлениях, предусмотренных для соответствующих газов. Скорость утечки по
ГОСТ Р 50379 не должна превышать 0,17 мл/мин (10 см3/ч).
5.2.10.3. Внутренняя герметичность (утечка) баллонных редукторов
Баллонные редукторы и редукторы с расходомерами должны обеспечивать внутреннюю газонепроницаемость (между камерами высокого и низкого давлений) при всех обычных давлениях, предусмотренных для соответствующих газов. Максимальная утечка не должна превышать 0,2 мл/мин (12 см3/ч).
5.2.10.4. Внутренняя герметичность (утечка) рамповых редукторов
Максимально допустимая внутренняя утечка

редуктора определяется номинальной пропускной способностью

(см. рисунок 1).
Рисунок 1. Уровни допустимой внутренней утечки
Для

,

и
для

,

.
Между двумя указанными парами значений допустимая утечка должна отвечать следующей формуле:

,
где

и

выражены в единицах, приведенных выше.
5.2.11. Механическая прочность
5.2.11.1. Устойчивость к внутреннему давлению
Рамповые, баллонные редукторы и редукторы с расходомерами должны быть сконструированы так, чтобы воздействие уровней давления, представленных в таблице 2, в камерах высокого и низкого давлений не вызывало устойчивой деформации и они могли выдерживать испытание, приведенное в
9.7.2.1.
Таблица 2
Уровни испытательного давления
Газ | Камера высокого давления | Камера низкого давления |
Для баллонных редукторов |
Кислород и другие сжатые газы (в том числе классы 0, 1, 2, 3, 4 и 5) | | 60 бар (6 МПа) |
Ацетилен (в том числе классы 1 и 2) | 300 бар (30 МПа) | 30 бар (3 МПа) |
СПГ и МАФ (в том числе классы 0 и 1) |
 (в том числе классы 0 и 1) | 60 бар (6 МПа) |
Для рамповых редукторов |
Кислород и другие сжатые газы,  | | 30 бар (3 МПа) |
Ацетилен |
МПС |
Кислород и другие сжатые газы,  | 60 бар (6 МПа) |
5.2.11.2. Устойчивость камеры низкого давления редуктора (безопасность)
Редукторы должны быть сконструированы так, чтобы при прямом сообщении камеры низкого давления или промежуточной камеры в двухкамерных редукторах, например с полным газовым баллоном, при открытом редуцирующем клапане и установленном на выводной штуцер запорном клапане или заглушке газ безопасно удерживался или отводился.
Все типы редукторов и редукторы с расходомерами должны выдерживать испытание, приведенное в
9.7.2.2.
6. Физические и эксплуатационные характеристики
6.1.1. Номинальное входное давление

Номинальное входное давление для баллонных редукторов (см.
таблицу 3) должно быть указано производителем.
Примечание.

приближается к давлению наполнения баллона при 15 °C.
6.1.2. Номинальное рабочее давление

для баллонных редукторов без расходомеров
Номинальное рабочее давление

для приведенной к нормальным условиям пропускной способности

указывает производитель (см. рекомендуемые значения в
таблице 3). Для ацетиленовых редукторов номинальное рабочее давление измеряется при

.
6.1.3. Рабочее давление для ацетиленовых редукторов класса 2 без расходомеров
Для ацетиленовых редукторов класса 2 рабочие давления

,

и

не должны превышать 1,5 бар.
6.2. Пропускная способность редукторов без расходомеров
6.2.1. Приведенная к нормальным условиям пропускная способность

Производительность устанавливается по приведенной к нормальным условиям пропускной способности

, измеряемой в м3/ч и отвечающей рабочему давлению

в соответствии с рекомендуемыми значениями, приведенными в
таблице 3 или указанными производителем. Производительность, которую редуктор может обеспечить при рабочем давлении

и давлении перед прибором

, выражается формулой

. (1)
Для ацетиленовых редукторов класса 2 приведенная к нормальным условиям пропускная способность

измеряется при

.
6.2.2. Максимальная пропускная способность

Максимальная пропускная способность

для используемого газа (измеряемая в м3/ч), которую редуктор, за исключением ацетиленовых, может обеспечить при рабочем давлении

(см.
рисунок 2а) для давления перед прибором

(см.
6.2.1).
Для ацетиленовых редукторов класса 2 максимальная пропускная способность

измеряется при наименьшем рабочем давлении (см. рисунок 2б).
X - расход; Y - рабочее давление
Рисунок 2. Характеристики расхода
Максимальная пропускная способность

не должна быть меньше приведенной к нормальным условиям

(см.
6.2.1).
6.3. Классификация редукторов без расходомеров
Производительность измеряется по указанным производителем приведенной к нормальным условиям пропускной способности

и номинальному рабочему давлению.
Рекомендуемые значения даны в таблице 3, но производителем могут быть представлены другие значения.
Таблица 3
Газ | Класс | Номинальное давление на входе  , бар  | Номинальное рабочее давление  , бар  | Пропускная способность баллонных редукторов, приведенная к нормальным условиям  , м3/ч |
Кислород и другие сжатые газы | 0 | | 2 | 1,5 |
1 | 4 | 5 |
2 | 6 | 15 |
3 | 10 | 30 |
4 | 12,5 | 40 |
5 | 20 | 50 |
Растворенный ацетилен | 1 | 25 | 0,8 | 1 |
2 | < 1,5 | |
МАФ | 0 | | 1,5 | 1 |
1 | 4 | 5 |
СПГ | 0 | | 1,5 | |
1 | 4 | |
| 0 | | 2 | |
1 | 4 | |
<a> Давление, соответствующее максимальному давлению наполнения баллона при 15 °C. <b> Общая рекомендация: следует избегать уровня расхода, превышающего 0,8 м3/ч, из-за ограничения средней допустимой скорости отбора газа из ацетиленового баллона. <c> Давление пара при 65 °C (значение будет меняться в зависимости от состава газовой смеси). <d> Давление пара для пропана при 70 °C. <e> В зависимости от условий окружающей среды при работе с СПГ и  может потребоваться нагреватель для достижения пропускной способности, приведенной к нормальным условиям. <f> Давление при 70 °C и коэффициенте наполнения 0,667. |
6.4. Предохранительный клапан
Уровень герметичности предохранительного клапана должен соответствовать требованиям
5.2.10 вплоть до максимального уровня давления

при закрытии после прекращения отбора газа.
Минимальная пропускная способность предохранительного клапана

(при его наличии) должна быть больше или равна приведенной к нормальным условиям пропускной способности

или номинальному расходу

(см.
таблицу 1) для давления

, выраженного формулой

или

, исключая ацетиленовые редукторы, для всех классов которых

должно составлять 3 бар.
С уменьшением давления предохранительный клапан должен закрываться при давлении больше

или

. Настройка предохранительного клапана оператором не допускается.
Предохранительный клапан должен быть установлен так, чтобы обеспечивать безопасный отвод газа и выдерживать испытание, описанное в
9.7.5.
6.4.2. Предохранительный клапан для ацетилена
Уровень герметичности предохранительного клапана должен соответствовать требованиям
5.2.10 вплоть до максимального уровня давления 1,5 бар.
6.5. Рабочий температурный диапазон
Редукторы должны быть пригодны для нормального функционирования в температурном диапазоне от -20 до +60 °C. По предложению заказчика этот диапазон может быть расширен или сужен.
6.6. Эксплуатационные характеристики
6.6.1. Редукторы без расходомеров
6.6.1.1. Коэффициент увеличения давления после прекращения отбора газа R
Данный коэффициент выражается формулой

. (2)
для ацетиленовых редукторов класса 2

, как показано на
рисунке 2б и указано в
9.5.3.3,
где

- рабочее давление при закрытии клапана, установленное через 1 мин после прекращения отбора газа, приведенного к нормальным условиям (

,

,

). Для ацетиленовых редукторов исходные значения -

и

при входном

.
Для приведенной к нормальным условиям пропускной способности

коэффициент R увеличения давления после закрытия должен быть меньше 0,3.
6.6.1.2. Коэффициент неравномерности i
Данный коэффициент, выраженный формулой

, (3)
должен находиться в пределах: -0,3 < i < +0,3,
где

- наибольшее или наименьшее значение рабочего давления (см. рисунок 3) во время испытания, при котором входное давление меняется от

до

для расхода, равного приведенной к нормальным условиям пропускной способности

в соответствии с
таблицей 1 или данными производителя.
X - давление на входе; Y - рабочее давление
Рисунок 3. Типовые динамические кривые расширения
Для ацетиленовых редукторов класса 2

, как указано в
9.5.5.3.
6.6.2. Баллонные редукторы с расходомерами
6.6.2.1. Классификация по точности
Погрешность показателей расхода газа должна оставаться в пределах, установленных согласно данным классификации, приведенным в таблице 4 (или +/- 1 л/мин - по большему из значений).
Таблица 4
Классификация по точности
Класс точности | 10 | 20 |
Максимальная погрешность показателей расхода, % | +/- 10 | +/- 20 |
Для индикаторного расхода между

и 30% от

и любого пропускного отверстия постоянного сечения погрешность индикации расхода не должна выходить за рамки указанных в
таблице 4 допустимых погрешностей соответствующего класса точности.
Редукторы с расходомерами должны выдерживать испытание, приведенное в
9.6.1.
Пример 1 - Для редуктора с расходомером класса 10 и

допустимый истинный расход при

составляет 40 +/- 4 л/мин:
- при Q = 12 л/мин (30% от

) - 12 +/- 1,2 л/мин;
- при Q = 26 л/мин (65% от

) - 26 +/- 2,6 л/мин.
Пример 2 - Для редуктора с расходомером класса 10, пропускными отверстиями постоянного сечения и индикаторными расходами 10, 20, 30 и 40 л/мин допустимый истинный расход составляет 10,00 +/- 1, 20,00 +/- 2, 30,00 +/- 3 и 40,00 +/- 4 л/мин.
6.6.2.2. Стабильность расхода
Для исходного значения

при давлении на входе

изменение истинного расхода, измеренного калиброванным измерительным устройством, не должно превышать +/- 30% при значениях входного давления между

и

.
Для редукторов с расходомерами, имеющими несколько калиброванных пропускных отверстий, требование к стабильности должно выполнять отверстие, обеспечивающее наибольший расход.
Редукторы с расходомерами должны выдерживать испытание, приведенное в
9.6.2.
На корпусе или крышке редуктора (или на несъемной табличке, закрепленной на нем) должна быть указана следующая информация в виде четких и устойчивых надписей:
- торговая марка производителя и/или дистрибьютора;
-

,

,

и

(для редукторов с расходомерами);
- газ, для которого предназначен редуктор: если полное название вписать невозможно, используют кодовые обозначения, указанные в таблице 5.
Таблица 5
Кодовые обозначения газов, применяемые
для маркировки редукторов
Вид газа | Кодовое обозначение |
Ацетилен | A |
Кислород | O |
Водород | H |
Сжатый воздух | D или Air (воздух) |
СПГ (в том числе пропан, бутан и пропилен) | P |
МАФ | Y |
Природный газ | M |
 , азот, инертный газ | N |
8. Руководство по эксплуатации
Производитель, поставщик или дистрибьютор прилагает к каждому типу редукторов, в том числе с расходомером, руководство по эксплуатации, охватывающее как минимум:
а) сферу применения;
б) диапазон удельного веса газов или газовых смесей редуктора с расходомером.
Пример - Редуктор с расходомером, который может быть использован в диапазоне от смеси аргона и углекислого газа (удельный вес 1,69) до смеси аргона и водорода (удельный вес 1,57);
в) описание типа редукторов (в том числе с расходомером) и расшифровку маркировки;
г) правильность и безопасность установки;
д) пусковые испытания перед эксплуатацией, необходимые для подтверждения правильности и безопасности установки;
е) эксплуатацию и техническое обслуживание (предназначенные для оператора);
ж) риски и меры безопасности при использовании кислорода.
9. Порядок типовых испытаний
Определение соответствия редукторов того или иного типа данному стандарту состоит из:
- испытаний;
- проверки документации.
Испытание на кислородное возгорание (см.
9.7.4) проводится после испытаний производительности и рабочих характеристик (см.
6.6.1 и
6.6.2) и перед испытанием на устойчивость к внутреннему давлению (см.
9.7.2.1).
Примечание. Испытания являются типовыми, действительны исключительно для проверки соответствия редукторов данному стандарту и не предназначены для производственных испытаний редукторов всех типов.
9.2. Испытуемые образцы и необходимая документация
Для проведения испытаний необходимы:
- пять образцов баллонных кислородных редукторов с расходомером и без него;
- три образца баллонных редукторов для других газов с расходомером и без него;
- один образец редукторов коллекторных систем;
- один комплект чертежей общего вида с перечнями материалов;
- два комплекта рабочих чертежей;
- при необходимости декларация производителя о характеристиках материалов и их пригодности для данных целей.
Испытания проводятся для всех типов редукторов (в том числе с расходомерами), соответствующих чертежам.
9.3.1. Общие характеристики испытательной установки
Все шланги испытательной установки, а также клапан, контролирующий расход, должны иметь пропускную способность, превышающую аналогичную характеристику испытуемого редуктора.
9.3.2. Испытательный газ
Испытания проводят воздухом или азотом, свободным от масел и жиров.
Испытание на возгорание в соответствии с
9.7.4 выполняют кислородом.
Во всех случаях используют газ с максимальным содержанием влаги 0,005%, соответствующим точке выпадения росы -40 °C.
9.3.3. Точность прибора измерения расхода
Погрешность измерительного прибора не должна превышать +/- 3% диапазона измерений.
9.3.4. Измерение давления
Испытательный стенд должен быть сконструирован так, чтобы давление на входе и выходе можно было регулировать. Допускается дистанционное управление оборудованием.
Источник газа для проверки номинального входного давления

и

должен быть достаточным для подачи газа в течение всего времени испытаний.
Погрешность манометров давления не должна превышать 1% их показаний.
9.4.1. Давление
Измеряемое (манометрическое) давление выражается в МПа.
Расход измеряется в кубических метрах в час (м3/ч) или литрах в минуту (л/мин) при обычных условиях с учетом соответствующего коэффициента преобразования для используемого газа (см. таблицу 6).
Таблица 6
Коэффициент преобразования U
Испытуемый газ | Коэффициент преобразования |
воздух | кислород | азот | аргон | водород | гелий | ацетилен | СПГ на примере пропана | |
Воздух | 1 | 0,950 | 1,02 | 0,851 | 3,81 | 2,695 | 1,05 | 0,800 | 0,808 |
Азот | 0,983 | 0,930 | 1 | 0,837 | 3,75 | 2,65 | 1,03 | 0,784 | 0,792 |
Коэффициент преобразования U выражается формулой

, (4)
где

- удельный вес испытуемого газа;

- удельный вес используемого газа.
9.4.3. Температура
Температура измеряется в градусах Цельсия.
9.5. Испытание производительности и рабочих характеристик рамповых и баллонных редукторов без расходомеров
9.5.1. Общие сведения
Пример испытательной установки, применяемой для измерения максимальной пропускной способности

, представлен на рисунке 4. Как вариант, редуктор может быть снабжен буферным баллоном. Давление перед прибором

(см.
6.2.1) поддерживается на постоянном уровне с помощью вспомогательного редуктора или аналогичного устройства.
1 - источник газа; 2 - вспомогательный редуктор;
3 - калиброванные манометры; 4 - контрольный регулирующий
клапан; 5 - расходомер; 6 - термометр для измерения
температуры газа; 7 - редуктор (испытуемый образец);
8 - задаточный винт; 9 - буферный баллон
Рисунок 4. Схема измерения максимальной пропускной
способности

9.5.2. Максимальная пропускная способность

9.5.2.1. Общие сведения
Максимальную пропускную способность

измеряют при входном давлении

в соответствии с 9.5.2.2 и
9.5.2.3.
9.5.2.2. Максимальная пропускная способность

, исключая ацетиленовые редукторы класса 2
Задаточный винт испытуемого образца редуктора полностью ввинчивают, а контрольный регулирующий клапан открывают. Таким образом:
- манометр на выходе показывает номинальное рабочее давление

;
- расходомер определяет максимальную пропускную способность

с учетом корректировок
5.2 и
таблицы 6, а также температуры, измеренной термометром.
9.5.2.3. Максимальная пропускная способность

для ацетиленовых редукторов класса 2
Задаточный винт испытуемого образца редуктора полностью ввинчивают, а регулирующий клапан полностью открывают. Расходомер показывает максимальную пропускную способность

(см.
рисунок 2б) с учетом корректировок
9.4.2 и
таблицы 6, а также температуры, измеренной термометром.
9.5.3. Приведенная к нормальным условиям пропускная способность

9.5.3.1. Общие сведения
Приведенную к нормальным условиям пропускную способность

получают, руководствуясь указаниями 9.5.3.2 и
9.5.3.3.
9.5.3.2. Приведенная к нормальным условиям пропускная способность

, исключая ацетиленовые редукторы класса 2
Задаточный винт испытуемого образца редуктора и контрольный регулирующий клапан настраивают для достижения рабочего давления

и

при давлении на входе

.
9.5.3.3. Приведенная к нормальным условиям пропускная способность

для ацетиленовых редукторов класса 2
Задаточный винт испытуемого образца редуктора полностью ввинчивают, а регулирующий клапан открывают для достижения

при давлении на входе

и измеряют соответствующее рабочее давление

(см.
рисунок 2б).
9.5.4. Коэффициент увеличения давления после прекращения отбора газа R
Установив редуктор на приведенную к нормальным условиям пропускную способность (см.
9.5.3), выполняют следующие действия:
- перекрывают отбор с помощью контрольного регулирующего клапана;
- спустя 1 мин фиксируют стабилизированное давление

;
- определяют значение R (см.
6.6.1.1).
9.5.5. Коэффициент неравномерности i
Для определения коэффициента неравномерности i (см.
6.6.1.2) строят динамическую кривую расширения, отражающую давление на выходе как функцию значений давления перед прибором. В ходе этих испытаний давление перед прибором изменяется от номинального входного

до давления на выходе

.
Пример испытательной установки показан на рисунке 5.
1 - вспомогательный газовый баллон; 2 - манометры
(см.
9.3.4) или аналогичное оборудование; 3 - контрольный
регулирующий клапан; 4 - расходомер; 5 - термометр
для измерения температуры газа; 6 - редуктор (испытуемый
образец); 7 - задаточный винт; 8 - основной газовый баллон
Рисунок 5. Схема испытательной установки для замеров
динамических кривых расширения
9.5.5.1. Редуктор оборудован двумя калиброванными предпочтительно записывающими <*> манометрами давления в соответствии с
9.3.4. Снабжение редуктора газом осуществляется от регулируемого источника, обеспечивающего его ровную и непрерывную подачу, например от одного или нескольких газовых баллонов. Источник газа должен подавать его для испытаний под номинальным входным давлением

. Отбор газа редуктором контролируется расходомером.
--------------------------------
<*> Или любое другое записывающее устройство, непосредственно строящее динамическую кривую расширения.
9.5.5.2. Настройки перед испытанием, исключая ацетиленовые редукторы класса 2
Задаточный винт испытуемого образца редуктора и контрольный регулирующий клапан настраивают для достижения рабочего давления

и приведенной к нормальным условиям пропускной способности

при входном давлении

.
9.5.5.3. Настройки перед испытанием для ацетиленовых редукторов класса 2
Задаточный винт испытуемого образца редуктора полностью ввинчивают, а регулирующий клапан настраивают для достижения приведенной к нормальным условиям пропускной способности

при входном давлении

. Затем измеряют результирующее рабочее давление

.
9.5.5.4. Испытания
Не меняя предыдущие настройки испытуемого редуктора, подают входное давление

. Осуществляют ровное и непрерывное снижение входного давления, например с помощью полного опорожнения газового баллона. При этом фиксируют показатели давления перед прибором и на выходе. Минимальная продолжительность испытания - 15 мин. При необходимости допускается максимальная продолжительность предварительных настроек в течение 30 с.
9.5.5.5. Результаты
В ходе данного испытания не должно наблюдаться признаков вибрации или застопоривания редуцирующего клапана редуктора, а динамическая кривая расширения должна быть плавной либо возрастающей до максимума (см.
рисунок 3а), либо падающей (см.
рисунок 3б).
Давление

для определения коэффициента неравномерности i - наибольшее или наименьшее значение рабочего давления во время испытания при изменении входного давления от

до

.
Определяют значение i (см.
6.6.1.2).
9.6. Испытание производительности и рабочих характеристик баллонных редукторов с расходомерами
9.6.1. Испытание по классу точности
Подсоединяют выходной штуцер испытуемого редуктора с расходомером к устройству измерения расхода.
При входном давлении

устанавливают исходный расход на

или при нескольких калиброванных пропускных отверстиях выбирают отверстие, обеспечивающее наибольший расход. Не меняя эту настройку, снижают входное давление от

до

.
Фиксируют индикаторный расход измерительного устройства редуктора с расходомером и истинный расход как минимум в пяти разных точках кривой снижения давления (см. рисунок 6).
1 - исходный показатель; 2 - истинный расход, измеренный
калиброванным измерительным устройством; 3 - индикаторный
расход; 4 - допустимая погрешность индикации расхода
Рисунок 6. Схема испытания по классу точности
(редуктор с расходомером класса 10)
Определяют расхождение между индикаторным и истинным расходом в процентном выражении от индикаторного.
Повторяют описанное испытание для 30 и 65% от

и проводят его для остальных пропускных отверстий постоянного сечения.
Пример испытательной установки для измерения стабильности расхода показан на рисунке 7.
1 - источник газа; 2 - редуктор, обеспечивающий стабильность
давления во время испытания с максимальной погрешностью 1%;
3 - запорный клапан; 4 - термометр; 5 - редуктор
с расходомером (испытуемый образец); 6 - контрольный клапан
регулирования расхода; 7 - манометр давления или аналогичный
датчик давления на входе; 8 - сосуд с водой;
9 - калиброванная емкость, содержащая испытательный газ;
V - измеряемый объем газа
Рисунок 7. Схема испытательной установки для измерения
стабильности расхода
9.6.2. Испытание стабильности расхода
Подсоединяют выходной штуцер испытуемого редуктора с расходомером к устройству измерения расхода.
При входном давлении

устанавливают исходный расход на

или из нескольких калиброванных пропускных отверстий выбирают обеспечивающее наибольший расход. Не меняя эту настройку, снижают входное давление от

до

.
Отмечают истинный расход как минимум в пяти разных точках кривой снижения давления (см. рисунок 8).
X - давление на входе; Y - показатели расхода;
1 - истинный расход по исходным настройкам при

и

Рисунок 8. Схема испытания стабильности расхода
Определяют изменение истинного расхода в процентном выражении от расхода, измеренного при исходных настройках.
В испытательной установке (см.
рисунок 7) увеличение объема газа V, находящегося в калиброванной емкости в течение определенного периода (30 с, 1 мин или больше) и подобранного в зависимости от возможных колебаний давления (измеряемого по перепаду водяного уровня или показаний калиброванного манометра) при нормальных условиях, определяет истинное значение расхода, выраженное в л/мин, на испытуемом приборе (пример показан на
рисунке 8).
9.7. Испытания механической прочности рамповых и баллонных редукторов и редукторов с расходомерами
9.7.1. Общие сведения
ВНИМАНИЕ! Необходимо принять меры для защиты проводящего испытания персонала.
9.7.2. Испытания на механическую устойчивость к внутреннему давлению
9.7.2.1. Испытание на устойчивость к внутреннему давлению
Для этих испытаний (см.
5.2.11.1) предохранительный клапан, диафрагму и манометры давления заменяют заглушками. Камеры низкого и высокого давлений нагнетают гидравлическим способом в течение 5 мин. После испытания следует убедиться в отсутствии устойчивой деформации (например, сравнительными измерениями).
Показатели испытательного давления приведены в
таблице 2.
9.7.2.2. Испытание на устойчивость к низкому давлению редуктора (безопасность)
Для этих испытаний (см.
5.2.11.2) редуцирующий клапан должен быть постоянно открыт. Манометры давления заменяют заглушками и перекрывают выходной канал. Устройства регулирования и измерения расхода остаются установленными при перекрытом выходном канале.
На вход в редуктор подают пневматическое давление

через клапан, который быстро открывают вручную.
Если взрыва нет, испытание можно считать успешным.
Если происходит взрыв, выброса фрагментов быть не должно. Допускается отвод газа через предохранительные клапаны при их наличии.
9.7.3. Испытания на герметичность
9.7.3.1. Внешняя утечка
Испытания на газонепроницаемость по отношению к окружающей среде проводят в соответствии с
ГОСТ Р 50379-92.
Пример аппарата, применяемого для испытания внешней газонепроницаемости, показан на рисунке 9.
(размеры в миллиметрах)
1 - градуированный баллон; 2 - калиброванный манометр;
3 - подача газа; 4 - резервуар с водой; 5 - редуктор
(испытуемый образец); 6 - раструб
Рисунок 9. Установка для испытания внешней герметичности
Газонепроницаемость узла редуцирующего клапана
Внутреннюю газонепроницаемость седла редуцирующего клапана проверяют при:
а) подаче номинального входного давления

в течение 5 мин. У настраиваемых редукторов редуцирующий клапан закрывают (задаточный винт полностью отвинчен), а выходной канал открывают. Допускается утечка газа 0,2 мл/мин (12 см3/ч). Данное испытание не распространяется на редукторы с постоянно заданным давлением;
б) закрытом выходном канале и давлении в камере низкого давления, установленном с помощью задаточного винта на значение

. Данное испытание распространяется на настраиваемые редукторы и редукторы с постоянно заданным давлением. В течение 5 мин испытательного периода давление

не должно изменяться.
9.7.5. Испытание на возгорание рамповых и баллонных редукторов и редукторов с расходомерами, предназначенных для кислорода
Три образца кислородного редуктора или редуктора с расходомером подвергают гидравлическому удару через входной канал промышленным кислородом (очистка минимум 99,5%; содержание углеводородов - не больше 0,004%). Испытательная установка должна быть снабжена оборудованием для предварительного нагрева кислорода, емкостью с кислородом и быстро открывающимся клапаном. Пример испытательного стенда представлен на рисунке 10.
1 - источник кислорода; 2 - входной вентиль;
3 - сосуд для кислорода высокого давления с устройством
предварительного нагрева (например, водяной баней,
электрическим нагревателем); 4 - быстро открывающийся
клапан; 5 - клапан для снижения выходного давления после
каждого гидравлического удара; 6 - соединительная трубка;
7 - редуктор (испытуемый образец);

- преобразователь
давления кислородного сосуда;

- преобразователь
давления выходного клапана;

- нагревательный элемент;
A - точка измерения
Рисунок 10. Стенд для испытания на возгорание
кислородных редукторов
Время, необходимое для увеличения давления от атмосферного до испытательного, должно составлять 20 - 50 мс; его измеряют в точке А перед испытанием (см.
рисунок 10).
Давление

также измеряют на расстоянии 30 - 40 мм от уплотняющей поверхности образца (см.
рисунок 10). По меньшей мере каждую секунду фиксируют ударное давление. Длина трубки, соединяющей быстро открывающийся вентиль и испытуемый редуктор, должна составлять 1000 мм, а ее внутренний диаметр - 5 мм. Ее изготовляют из устойчивого к кислороду металла, например меди, коррозионно-стойкой стали или латуни. Указанные размеры трубки важны для достижения строго определенной энергии воздействия на испытуемый редуктор. Перед началом испытания температура образцов должна быть комнатной. В каждом случае испытательное давление равно

при температуре 60 +/- 3 °C.
Каждый цикл испытаний состоит из 20 гидравлических ударов с интервалами 30 с (см. рисунок 11). Перед началом каждой последовательности температура испытуемого образца должна быть комнатной.
p - давление; t - время;

- давление на входе;
a - следующий гидравлический удар
Рисунок 11. Испытательный интервал
Каждому гидравлическому удару подвергают в течение 10 с, после чего редуктор с помощью выпускного клапана перед прибором возвращают к атмосферному давлению. Между гидравлическими ударами это давление выдерживают в течение минимум 3 с.
В ходе испытательного цикла входное давление не должно снижаться более чем на 3%.
Испытание проводят при следующих условиях:
а) для настраиваемых редукторов и редукторов с постоянно заданным давлением - редуцирующий клапан полностью открыт, выходной канал закрыт;
б) только для настраиваемых редукторов - редуцирующий клапан полностью закрыт.
В ходе испытания редуктор не должен загораться. По завершении испытаний три испытуемых образца разбирают и осматривают внутренние поверхности и детали. Не допускается наличие внутренних повреждений и следов возгорания.
9.7.6. Испытания на распад для редукторов в коллекторных системах, применяемых для ацетилена (см.
Приложение В)
9.7.7. Метод испытания предохранительного клапана
9.7.7.1. Испытание герметичности предохранительного клапана
Для ее подтверждения при всех уровнях давления предохранительный клапан должен оставаться непроницаемым в соответствии с
6.4 после прекращения расхода полным ввинчиванием задаточного винта. Данное испытание проводят по меньшей мере при входных давлениях

и

, достигая давления

согласно
6.6.1.1, и при давлении

согласно
6.6.1.2, если

выше

.
9.7.7.2. Испытание пропускной способности предохранительного клапана
Для данного испытания редуцирующий клапан полностью открывают или снимают, а выходной канал редуктора перекрывают. Через входной канал подают давление, повышая его до уровня, указанного в
6.4. При этом давлении предохранительный клапан должен быть непроницаемым.
Давление повышают до открывания предохранительного клапана, отмечая этот уровень, а затем до уровня

, указанного в
6.4.1, измеряя его в камере низкого давления. При этом давлении определяют пропускную способность

предохранительного клапана (см.
6.4). Затем давление снижают и отмечают уровень, при котором клапан закрывается (см.
6.4).
(справочное)
БАЛЛОННЫЕ РЕДУКТОРЫ
1 - задаточный винт; 2 - упорная шайба пружины;
3 - корпус; 4a - входной штуцер; 4b - гайка входного
штуцера; 5 - входной фильтр; 6 - уплотнение манометра;
7 - манометр высокого давления; 8 - колпак редуцирующего
клапана; 9 - пружина редуцирующего клапана; 10 - упорная
шайба пружины; 11 - редуцирующий клапан; 12 - колпак
предохранительного клапана; 13 - пружина предохранительного
клапана; 14 - седло предохранительного клапана;
15 - манометр низкого давления; 16 - седло редуцирующего
клапана; 17 - передаточный шток; 18 - передаточный диск;
19 - мембрана; 20 - выходное соединение; 21 - накидная
гайка; 22 - штуцер под шланг; 23 - уплотнение мембраны;
24 - редуцирующая пружина; 25 - крышка редуктора;
26 - упорная шайба редуцирующей пружины;
27 - выходной клапан
Рисунок А.1. Схема типового редуктора без расходомера
а) типовой редуктор с датчиком расхода
б) типовой редуктор с расходомером
в) типовой редуктор с пропускными отверстиями
постоянного сечения
1 - корпус; 2 - крышка редуктора; 3 - входное соединение;
4 - редуцирующая пружина; 5 - задаточный винт; 6 - манометр
высокого давления; 7 - датчик расхода; 8 - расходомер;
9 - шток клапана регулирования расхода; 10 - ручка клапана
регулирования расхода; 11 - пропускное отверстие постоянного
сечения; 12 - редуцирующий клапан; 13 - входной фильтр;
14 - выходное соединение
Рисунок А.2. Схемы типовых редукторов с расходомерами
(справочное)
ПРИНЦИП РАБОТЫ РЕДУКТОРОВ С РАСХОДОМЕРАМИ
Редукторы с расходомерами различаются по способу регулирования и измерения расхода.
Существуют три принципа контроля расхода пропускного отверстия газа:
- с регулируемым сечением при постоянном давлении перед прибором

, например в редукторе с расходомером (см.
рисунок А.2б);
- постоянным сечением при изменяющемся давлении перед прибором

, например в редукторе с датчиком расхода (см.
рисунок А.2а);
- постоянным сечением при постоянном давлении перед прибором

, например в редукторе с пропускными отверстиями постоянного сечения (см.
рисунок А.2в).
Примечание. Возможно сочетание этих принципов.
Настройка расхода газа в этих системах может осуществляться либо постепенно, либо выполнением фиксированных шагов.
В таблице Б.1 приведены примеры некоторых систем.
Таблица Б.1
Системы контроля расхода и действие
их измерительных устройств
Пропускное отверстие с изменяющимся сечением и постоянным промежуточным давлением |
Система включает: вертикальную прозрачную трубку с расширяющимся кверху поперечным сечением, в которой под напором газа поднимается поплавок и останавливается на высоте, являющейся функцией показателя расхода | | |
лопастной затвор, соединенный с пружиной обратного действия, расположенной на выходе калиброванного отверстия подачи газа; напор газа толкает лопасть и устанавливает в положение, являющееся функцией показателя расхода | | |
Пропускное отверстие с постоянным сечением и постоянным давлением перед прибором |
Система включает только калиброванное пропускное отверстие, контролирующее расход; индикация давления на входе или расхода газа через систему отсутствует | |
Пропускное отверстие с постоянным сечением и изменяющимся промежуточным давлением |
Система включает: манометр, измеряющий давление газа непосредственно перед входом в калиброванное пропускное отверстие; давление является функцией показателя расхода | |
дифференциальный манометр, измеряющий перепад давления газа при прохождении через калиброванное пропускное отверстие; перепад давления является функцией показателя расхода | |
(справочное)
ИСПЫТАНИЯ НА РАСПАД АЦЕТИЛЕНА ДЛЯ РЕДУКТОРОВ
В КОЛЛЕКТОРНЫХ СИСТЕМАХ
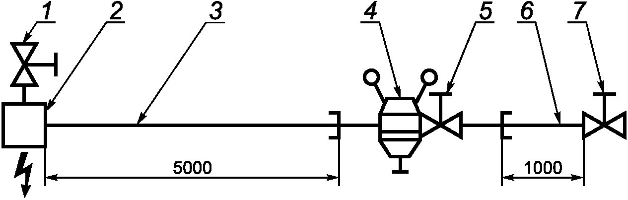
Испытанию на распад ацетилена подвергают три образца редукторов. Испытательную установку (рисунок В.1) конструируют так, чтобы она могла выдержать последствия испытания. Длина входного рукава (3) редуктора и испытуемого образца (4) должна быть 5 м, выходного рукава (6) - 1 м. Внутренний диаметр обоих рукавов равен 12 мм при условии, что диаметр седла редуктора не больше 12 мм (если более 12 мм, то диаметр рукавов должен быть 25 мм).
Размеры в миллиметрах
1 - входной вентиль; 2 - расположение источника зажигания;
3 - входной рукав; 4 - испытуемый образец редуктора;
5 - выходной вентиль редуктора (при наличии);
6 - выходной рукав; 7 - выходной вентиль
Рисунок В.1. Стенд для испытания на распад ацетилена
Температура испытуемой установки, газа и редуктора должна составлять минимум

.
Испытание проводят следующим образом.
Задаточный винт устанавливают в положение, обеспечивающее максимальное рабочее давление.
Систему подвода к редуктору наполняют ацетиленом при давлении 25 +/- 1 бар. Если на редукторе имеется выходной вентиль, он должен быть полностью открыт. Сначала закрывают выходной вентиль (7) испытательной системы, а затем - входной (1).
Газ зажигают при давлении 25 +/- 1 бар.
В ходе испытания редукторы не должны взрываться. Не допускается также выброс деталей. Допустимо разрушение внутренних составных частей редуктора.
(обязательное)
СВЕДЕНИЯ О СООТВЕТСТВИИ ССЫЛОЧНЫХ НАЦИОНАЛЬНЫХ
И МЕЖГОСУДАРСТВЕННЫХ СТАНДАРТОВ МЕЖДУНАРОДНЫМ СТАНДАРТАМ,
ИСПОЛЬЗОВАННЫМ В КАЧЕСТВЕ ССЫЛОЧНЫХ В ПРИМЕНЕННОМ
МЕЖДУНАРОДНОМ СТАНДАРТЕ
Таблица ДА.1
Обозначение ссылочного национального, межгосударственного стандарта | Степень соответствия | Обозначение и наименование ссылочного международного стандарта |
| MOD | ИСО 9090-89 "Герметичность оборудования для газовой сварки и родственных процессов" |
| MOD | ИСО 9539:1988 "Материалы, применяемые в оборудовании для газовой сварки, резки и родственных процессов" |
Примечание. В настоящей таблице использовано следующее условное обозначение степени соответствия стандартов: MOD - модифицированные стандарты. |