Главная // Актуальные документы // ГОСТ Р (Государственный стандарт)СПРАВКА
Источник публикации
М.: Стандартинформ, 2019
Примечание к документу
Документ
введен в действие с 01.01.2014.
Название документа
"ГОСТ Р МЭК 61198-2013. Национальный стандарт Российской Федерации. Масла изоляционные нефтяные. Методы определения 2-фурфурола и родственных соединений"
(утв. и введен в действие Приказом Росстандарта от 29.04.2013 N 61-ст)
"ГОСТ Р МЭК 61198-2013. Национальный стандарт Российской Федерации. Масла изоляционные нефтяные. Методы определения 2-фурфурола и родственных соединений"
(утв. и введен в действие Приказом Росстандарта от 29.04.2013 N 61-ст)
Утвержден и введен в действие
агентства по техническому
регулированию и метрологии
от 29 апреля 2013 г. N 61-ст
НАЦИОНАЛЬНЫЙ СТАНДАРТ РОССИЙСКОЙ ФЕДЕРАЦИИ
МАСЛА ИЗОЛЯЦИОННЫЕ НЕФТЯНЫЕ
МЕТОДЫ ОПРЕДЕЛЕНИЯ 2-ФУРФУРОЛА И РОДСТВЕННЫХ СОЕДИНЕНИЙ
Mineral insulating oils. Methods for the determination
of 2-furfural and related compounds
(IEC 61198:1993, IDT)
ГОСТ Р МЭК 61198-2013
Дата введения
1 января 2014 года
1 ПОДГОТОВЛЕН Федеральным государственным унитарным предприятием "Всероссийский научно-исследовательский центр стандартизации, информации и сертификации сырья, материалов и веществ" (ФГУП "ВНИЦСМВ") на основе официального перевода на русский язык англоязычной версии указанного в
пункте 4 стандарта, который выполнен ФГУП "СТАНДАРТИНФОРМ"
2 ВНЕСЕН Федеральным агентством по техническому регулированию и метрологии
3 УТВЕРЖДЕН И ВВЕДЕН В ДЕЙСТВИЕ
Приказом Федерального агентства по техническому регулированию и метрологии от 29 апреля 2013 г. N 61-ст
4 Настоящий стандарт идентичен международному стандарту МЭК 61198:1993 "Масла изоляционные нефтяные. Методы определения 2-фурфурола и родственных соединений" (IEC 61198:1993 "Mineral insulating oils - Methods for the determination of 2-furfural and related compounds", IDT).
При применении настоящего стандарта рекомендуется использовать вместо ссылочных международных стандартов соответствующие им национальные стандарты, сведения о которых приведены в дополнительном
приложении ДА
5 ВВЕДЕН ВПЕРВЫЕ
6 ПЕРЕИЗДАНИЕ. Март 2019 г.
Правила применения настоящего стандарта установлены в статье 26 Федерального закона от 29 июня 2015 г. N 162-ФЗ "О стандартизации в Российской Федерации". Информация об изменениях к настоящему стандарту публикуется в ежегодном (по состоянию на 1 января текущего года) информационном указателе "Национальные стандарты", а официальный текст изменений и поправок - в ежемесячном информационном указателе "Национальные стандарты". В случае пересмотра (замены) или отмены настоящего стандарта соответствующее уведомление будет опубликовано в ближайшем выпуске ежемесячного информационного указателя "Национальные стандарты". Соответствующая информация, уведомление и тексты размещаются также в информационной системе общего пользования - на официальном сайте Федерального агентства по техническому регулированию и метрологии в сети Интернет (www.gost.ru)
Настоящий стандарт устанавливает методы определения 2-фурфурола и родственных фурановых соединений, образующихся при разложении целлюлозной изоляции, в пробах нефтяного изоляционного масла, отобранных из электрооборудования.
2-Фурфурол и родственные фурановые соединения, растворенные в нефтяном масле, определяют методом высокоэффективной жидкостной хроматографии (ВЭЖХ). Перед испытанием производные фурана выделяют из масла методом жидкостной экстракции
(метод A) или с использованием силикагелевого картриджа
(метод B).
В настоящем стандарте использованы нормативные ссылки на следующие международные стандарты:
IEC 475:1974
<*>, Method of sampling liquid dielectrics (Метод отбора проб жидких диэлектриков)
IEC 567:1992
<**>, Guide for the sampling of gases and of oil from oil-filled electrical equipment and for the analysis of free and dissolved gases (Руководство по отбору проб газа и масла из маслонаполненного электрооборудования и для анализа свободных и растворенных газов)
--------------------------------
<*> Заменен на IEC 60475:2011.
<**> Заменен на IEC 60567:2011.
Пробы масла отбирают по МЭК 475 и МЭК 567. Пробы защищают от прямого солнечного света.
Пробы маркируют по МЭК 567.
5.1 Общее оборудование:
- лабораторная стеклянная посуда;
- химические стаканы и колбы Эрленмейера;
- мерные колбы;
- пипетки;
- аналитические весы с точностью взвешивания до 0,1 мг.
- стеклянные мерные цилиндры с пробкой вместимостью 25 см3;
- пипетка вместимостью 5 см3;
- механическое устройство для встряхивания.
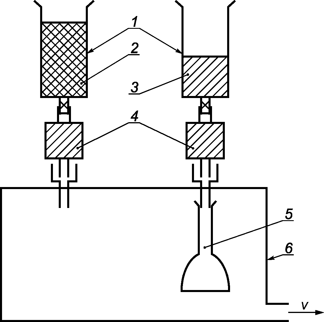
- силикагелевые картриджи, содержащие 1 г диоксида кремния, с размером частиц от 15 до 100 мкм. Подходят картриджи, имеющиеся в продаже;
- вакуумное устройство, обеспечивающее достижение легкого вакуума (насос для фильтрования или вакуумная система,
рисунок 1);
- шприц Луер Лок вместимостью 10 см3;
- мерные колбы вместимостью 2 см3.
1 - шприц; 2 - раствор масла в пентане;
3 - хроматографический элюент; 4 - силикагелевый картридж;
5 - мерная колба вместимостью 2 см3; 6 - вакуумная система;
V - присоединение к вакууму
Рисунок 1 - Пример установки для экстракции с использованием
5.4 Высокоэффективный жидкостный хроматограф (ВЭЖХ)
Высокоэффективный жидкостный хроматограф, оснащенный:
- насосной системой, подходящей не менее чем для двух растворителей;
- устройством для ввода от 10 до 20 мкл пробы и шприцем вместимостью от 50 до 250 мкл;
- колонкой с обращенной фазой с привитыми на силикагель октил- или октадецил-группировками (C8 или C18);
- предколонкой, наполненной таким же материалом, что и аналитическая колонка (при необходимости);
- УФ-детектором, обеспечивающим запись спектра в УФ-области. Рекомендуется применять УФ-детектор с диодной матрицей;
- системой сбора данных (регистратором или интегратором).
Ацетонитрил для ВЭЖХ.
Метанол для ВЭЖХ.
Вода для ВЭЖХ.
Уксусная кислота для ВЭЖХ.
н-Гептан, ч.д.а.
Анализируемые вещества, приведенные в
разделе 8, ч.д.а.
7 Обозначения и единицы измерения
Fi - коэффициент отклика детектора для каждого из анализируемых веществ.

- отклик детектора для каждого из анализируемых веществ в стандартных растворах (выражают площадью пика или его высотой).
Ri - отклик детектора для каждого из веществ, обнаруженных в пробе нефтяного изоляционного масла.

- концентрация каждого из анализируемых веществ в стандартных растворах, мг/кг.
Ci - концентрация каждого из анализируемых веществ в пробе нефтяного изоляционного масла, мг/кг.
Условия анализа должны подходить для определения следующих производных фурана:
5-гидроксиметил-2-фурфурол (5HMF);
2-фурфурилалкоголь (2FOL);
2-фурфурол (2FAL);
2-ацетофуран (2ACF);
5-метил-2-фурфурол (5MEF).
Определение фуранкарбоновых кислот методом настоящего стандарта необязательно, поскольку зачастую их трудно отличить от других органических кислот, которые могут присутствовать в пробах окислившихся нефтяных изоляционных масел.
9.1 Выделение анализируемых веществ
9.1.1 Метод A. Жидкостная экстракция
В мерный цилиндр с пробкой вместимостью 25 см3 помещают приблизительно 20 см3 пробы масла, взвешенной с точностью до 0,1 мг, пипеткой добавляют 5 см3 ацетонитрила. Полученную смесь помещают не менее чем на 2 мин в механическое устройство для встряхивания.
Оставляют смесь до полного разделения слоев растворителя и масла. Экстракт далее анализируют по
9.2.
Примечание - Время, необходимое для разделения фаз, увеличивается для масел с более высокими значениями кислотного числа.
9.1.2 Метод B. Выделение с помощью силикагелевого картриджа
Взвешивают (10,0 +/- 0,1) г пробы масла и растворяют в 10 см3 н-гептана ч.д.а. Новый силикагелевый картридж промывают 2 см3 н-пентана, элюат утилизируют. Сразу, пока силикагель влажный, пропускают раствор пробы через картридж под легким вакуумом со скоростью потока не более 3 см3/мин, затем пропускают 20 см3 н-пентана. Все элюаты утилизируют.
Картридж сушат под вакуумом не менее 5 мин.
Снимают вакуум и выделяют оставшийся материал элюентом
(9.2), применяемым на первых минутах хроматографирования, используя в качестве дозатора шприц вместимостью 10 см
3.
Собирают первые 2 см3 экстракта в мерную колбу вместимостью 2 см3.
Примечание - В
приложении А описан метод оценки эффективности силикагелевых картриджей.
9.2.1 Настраивают жидкостный хроматограф в соответствии с инструкциями изготовителя и устанавливают подходящие рабочие условия.
9.2.2 Следующие условия считаются удовлетворительными, но можно выполнить некоторую подстройку в зависимости от конкретных характеристик приборов и местных условий:
- изократические условия;
- растворитель для элюирования: вода от - 60% об. до 80% об.; метанол или ацетонитрил - от 20% об. до 40% об.;
- скорость потока: от 0,5 до 2,0 мл/мин.
Примечание - Для улучшения разделения в некоторых случаях следует использовать градиентное элюирование. Добавление небольшого количества уксусной кислоты (0,01%) также улучшает разделение большинства полярных соединений.
9.2.3 УФ-детектор должен обеспечивать измерения при следующих длинах волн:
- 220 нм - для 2-фурфурилалкоголя,
- 275 - 280 нм - для всех других соединений, приведенных в
разделе 8.
Примечание - Максимальное поглощение света происходит приблизительно при следующих длинах волн:
5-гидроксиметил-2-фурфурол - 280 нм;
2-Фурфурилалкоголь - 215 нм;
2-фурфурол - 274 нм;
2-ацетофуран - 272 нм;
5-метил-2-фурфурол - 288 нм.
Выбор указанных длин волн позволяет повысить чувствительность анализа для конкретного соединения.
9.2.4 Когда хроматограф и детектор достигают равновесного состояния, вводят аликвоту экстракта и регистрируют показания детектора. Примеры типичных хроматограмм приведены на рисунке 2.
1 - 5-гидроксиметил-2-фурфурол (5HMF);
2 - 2-фурфурилалкоголь (2FOL); 3 - 2-фурфурол (2FAL);
4 - 2-ацетофуран (2ACF); 5 - 5-метил-2-фурфурол (5MEF)
Рисунок 2 - Примеры хроматограмм, записанных на двух длинах
волн (220 и 276 нм)
Хроматограммы, приведенные на
рисунке 2, получены при следующих условиях анализа:
- колонка с обращенной фазой - C18;
- размер частиц - 5 мкм;
- длина - 250 мм;
- внутренний диаметр - 4,6 мм;
- вводимый объем - 10 мкл.
Условия ВЭЖХ: растворитель A - вода, растворитель B - метанол.
График подачи жидкостей
Время, мин | Расход, см3/мин | Растворитель, % |
00,00 - 15,00 | 0,75 | A - 60, B - 40 |
15,01 - 25,00 | 0,75 - 1,00 | A - 0, B - 100 |
25,01 - 30,00 | 1,00 | A - 60, B - 40 |
Концентрации анализируемых веществ в масле - 3 мг/кг.
9.2.5 После элюирования последнего представляющего интерес пика (5-метил-2-фурфурол для заданной колонки) переключают подвижную фазу на 100%-ный метанол или ацетонитрил и увеличивают скорость потока до вымывания всех остатков из колонки.
Для анализа экстрактов, полученных
методом A, строят калибровочную кривую, используя стандартные растворы в масле.
Для экстрактов, полученных
методом B, можно использовать стандартные растворы в масле или в хроматографическом элюенте.
10.1 Стандартные растворы в масле
10.1.1 Приготовление исходных растворов
Растворяют 0,025 г каждого из 5 соединений в 25 см3 толуола (массовая концентрация - 1000 мг/дм3).
Исходные растворы хранят в бутылях из коричневого стекла в темном месте.
Растворы заменяют новыми через три месяца.
10.1.2 Приготовление стандартных растворов
Для приготовления стандартных растворов концентрацией 0,5; 1,0; 5,0 или 10,0 мг/кг растворяют аликвоту исходного раствора во взвешенном количестве неиспользованного нефтяного изоляционного масла.
Хранят стандартные растворы в бутылях из коричневого стекла в темном месте.
Примечания
1 Используют нефтяное изоляционное масло, которое не содержит веществ, мешающих анализу.
2 Стандартные растворы быстро портятся. Предпочтительно использовать свежеприготовленные растворы.
10.2 Приготовление стандартных растворов в хроматографическом элюенте
При использовании
метода B для калибровки можно использовать более простую и быструю процедуру:
- взвешивают 0,015 г каждого из пяти соединений;
- растворяют их в 100 см3 хроматографического элюента для получения исходных растворов концентрацией примерно 150 мг/дм3;
- разбавляют исходный раствор, чтобы получить стандартные растворы концентрацией 2,5; 5; 25 и 50 мг/дм3.
Примечание - Благодаря коэффициенту концентрации, использованному в данном методе, стандартный раствор концентрацией, например, 5 мг/дм3 в смеси метанол/вода эквивалентен концентрации 1 мг/кг в масле.
10.3 Проведение испытания
Экстрагируют и анализируют стандартные растворы, приготовленные в масле
(10.1), следуя процедурам по
разделу 9.
Поочередно анализируют стандартные растворы, приготовленные в хроматографическом элюенте
(10.2), следуя процедурам, описанным в
9.2.
Для построения калибровочной кривой, которая обычно представляет собой прямую линию, проходящую через начало координат, рекомендуется использовать четыре стандартных раствора в диапазоне концентраций от 0,5 до 10,0 мг/кг. Установлено, что для ежедневной плановой работы достаточно построить график через одну точку с концентрацией 1 мг/кг и начало координат.
Каждый пик на хроматограмме идентифицируют по времени удерживания и длине волны ультрафиолетовой области спектра. Типичные УФ-спектры приведены на рисунке 3, но их вид может слегка изменяться в зависимости от конкретных приборов.
1 - 5-гидроксиметил-2-фурфурол (5HMF);
2 - 2-фурфурилалкоголь (2FOL); 3 - 2-фурфурол (2FAL);
4 - 2-ацетофуран (2ACF); 5 - 5-метил-2-фурфурол (5MEF)
Максимальное поглощение: 1 - 280 нм; 2 - 215 нм; 3 - 274 нм;
4 - 272 нм; 5 - 288 нм
Рисунок 3 - УФ спектры производных 2-фурфурола
Вычисляют коэффициент отклика
Fi для каждого анализируемого вещества: по формуле (1) - для стандартных растворов в масле; по
формуле (2) - для стандартных растворов в хроматографическом элюенте.

(1)

(2)
где

- концентрация
i-го анализируемого вещества в стандартном растворе (в масле или в хроматографическом растворителе), мг/кг или мг/л;
- отклик детектора для
i-го анализируемого вещества, площадь или высота пика.
Идентифицируют каждый пик в хроматографической пробе по времени удерживания и длине волны УФ-спектра.
Измеряют отклик детектора (площадь пика или высоту пика) для каждого идентифицированного пика и рассчитывают концентрацию в масле по следующей формуле
Ci = FiRi, (3)
где Ci - концентрация i-го анализируемого вещества в стандартном растворе в масле, мг/кг масла;
Fi - коэффициент отклика i-го анализируемого вещества;
Ri - отклик детектора для пика, соответствующего i-му анализируемому веществу.
Протокол испытаний должен содержать:
- обозначение настоящего стандарта;
- метод экстракции и тип использованной калибровки;
- идентификацию пробы;
- концентрацию каждого анализируемого вещества с точностью до 0,01 мг/кг.
Минимальная концентрация пяти анализируемых веществ, которую можно определить в неиспользованном нефтяном масле, составляет 0,05 мг/кг или менее.
В значительно окисленных пробах масла присутствуют полярные соединения, имеющие время удерживания, аналогичное анализируемым веществам, что может привести к неопределенностям при установлении базовой линии, и вышеуказанный предел обнаружения может оказаться недостигнутым.
14.1 Повторяемость (сходимость)
Расхождение результатов испытаний, полученных одним и тем же оператором с использованием одной и той же аппаратуры при постоянных рабочих условиях на идентичном испытуемом материале в течение длительного времени при нормальном и правильном выполнении метода, может превышать значения, приведенные в таблице 1, только в одном случае из двадцати.
Таблица 1
Повторяемость
Концентрация фурановых соединений, мг/кг | Повторяемость, % |
До 1,0 | 10 |
От 1,0 | 5 |
Примечание - В окислившихся маслах эти значения могут не достигаться в результате помех, создаваемых продуктами окисления.
14.2 Воспроизводимость
Расхождение между двумя единичными и независимыми результатами испытаний, полученными разными операторами, работающими в разных лабораториях, на идентичном испытуемом материале в течение длительного времени при нормальном и правильном использовании метода, может превышать значения, приведенные в таблице 2, только в одном случае из двадцати.
Таблица 2
Воспроизводимость
Концентрация фурановых соединений, мг/кг | Воспроизводимость, % |
До 1,0 | 15 |
От 1,0 | 10 |
(обязательное)
ПРОВЕРКА ЭКСТРАКЦИИ И СТЕПЕНИ ИЗВЛЕЧЕНИЯ
Метод B предполагает полное удерживание анализируемых веществ на силикагеле и полный возврат их после элюирования элюентом ВЭЖХ.
Однако следует оценивать эффективность работы для картриджей разных партий и эффективность метода для сильно окисленных масел, при испытании которых на картридже наряду с анализируемыми веществами могут оставаться более полярные соединения.
А.1 Проверка экстракции
Проверяют картридж на эффективность удерживания по методу, описанному в
9.1.2 настоящего стандарта, но элюаты
н-пентана оставляют. Пропускают элюаты через второй новый картридж, экстрагируют картридж и анализируют методом ВЭЖХ.
Хроматограмма второго экстракта должна показать отсутствие всех анализируемых веществ.
Если при анализе сильно окисленных масел на хроматограмме присутствуют анализируемые вещества, то это может быть вызвано наличием значительных количеств полярных соединений. В таком случае уменьшают количество анализируемого масла.
При сомнении в эффективности картриджей данной партии проводят проверку с использованием стандартных растворов анализируемых веществ в неиспользованном нефтяном масле.
А.2 Проверка степени извлечения
Для проверки извлечения всех анализируемых веществ, удерживаемых на картридже, с помощью элюента ВЭЖХ используют следующие процедуры.
После элюирования картриджа элюентом ВЭЖХ сушат картридж воздухом не менее 10 мин, элюируют чистым метанолом и анализируют методом ВЭЖХ.
На хроматограмме должны полностью отсутствовать все анализируемые вещества.
Положительный результат может свидетельствовать о том, что количество воды в смеси с элюентом ВЭЖХ слишком высоко или картридж не подходит для данного метода, поскольку силикагель избыточно активен.
Более быстрый метод проверки заключается в сборе последовательно двух отдельных порций по 2 см3 от одной и той же экстракции. Этот метод дает информацию только о неправильной работе силикагеля.
(справочное)
СВЕДЕНИЯ О СООТВЕТСТВИИ ССЫЛОЧНЫХ МЕЖДУНАРОДНЫХ СТАНДАРТОВ
НАЦИОНАЛЬНЫМ СТАНДАРТАМ
Таблица ДА.1
Обозначение ссылочного международного стандарта | Степень соответствия | Обозначение и наименование соответствующего национального стандарта |
IEC 60475:1974 | IDT | |
IEC 60567:1992 | - | |
<*> Соответствующий национальный стандарт отсутствует. До его принятия рекомендуется использовать перевод на русский язык данного международного стандарта. |
--------------------------------
УДК 621.315.612:006.354 | |
Ключевые слова: нефтяные изоляционные масла, 2-фурфурол, родственные соединения |