Главная // Актуальные документы // ГОСТ Р (Государственный стандарт)СПРАВКА
Источник публикации
М.: Стандартинформ, 2019
Примечание к документу
Документ
введен в действие с 01.01.2014.
Название документа
"ГОСТ Р МЭК 60814-2013. Национальный стандарт Российской Федерации. Жидкости изоляционные. Бумага и прессованный картон, пропитанные маслом. Определение содержания воды автоматическим кулонометрическим титрованием по Карлу Фишеру"
(утв. и введен в действие Приказом Росстандарта от 05.03.2013 N 4-ст)
"ГОСТ Р МЭК 60814-2013. Национальный стандарт Российской Федерации. Жидкости изоляционные. Бумага и прессованный картон, пропитанные маслом. Определение содержания воды автоматическим кулонометрическим титрованием по Карлу Фишеру"
(утв. и введен в действие Приказом Росстандарта от 05.03.2013 N 4-ст)
Утвержден и введен в действие
по техническому регулированию
и метрологии
от 5 марта 2013 г. N 4-ст
НАЦИОНАЛЬНЫЙ СТАНДАРТ РОССИЙСКОЙ ФЕДЕРАЦИИ
ЖИДКОСТИ ИЗОЛЯЦИОННЫЕ.
БУМАГА И ПРЕССОВАННЫЙ КАРТОН, ПРОПИТАННЫЕ МАСЛОМ
ОПРЕДЕЛЕНИЕ СОДЕРЖАНИЯ ВОДЫ АВТОМАТИЧЕСКИМ
КУЛОНОМЕТРИЧЕСКИМ ТИТРОВАНИЕМ ПО КАРЛУ ФИШЕРУ
Insulating liquids. Oil-impregnated paper and pressboard.
Determination of water by automatic coulometric
Karl Fisher titration
(IEC 60814:1997, IDT)
ГОСТ Р МЭК 60814-2013
Дата введения
1 января 2014 года
1 ПОДГОТОВЛЕН Федеральным государственным унитарным предприятием "Всероссийский научно-исследовательский центр стандартизации, информации и сертификации сырья, материалов и веществ" (ФГУП "ВНИЦСМВ") на основе официального перевода на русский язык англоязычной версии указанного в
пункте 4 стандарта, который выполнен ФГУП "Стандартинформ"
2 ВНЕСЕН Федеральным агентством по техническому регулированию и метрологии
3 УТВЕРЖДЕН И ВВЕДЕН В ДЕЙСТВИЕ
Приказом Федерального агентства по техническому регулированию и метрологии от 5 марта 2013 г. N 4-ст
4 Настоящий стандарт идентичен международному стандарту МЭК 60814:1997 "Изоляционные жидкости. Бумага и прессованный картон, пропитанные маслом. Определение содержания воды автоматическим кулонометрическим титрованием по Карлу Фишеру" (IEC 60814:1997 "Insulating liquids - Oil-impregnated paper and pressboard - Determination of water by automatic coulometric Karl Fisher titration", IDT).
При применении настоящего стандарта рекомендуется использовать вместо ссылочных международных стандартов соответствующие им национальные стандарты, сведения о которых приведены в дополнительном
приложении ДА
5 ВВЕДЕН ВПЕРВЫЕ
6 ПЕРЕИЗДАНИЕ. Март 2019 г.
Правила применения настоящего стандарта установлены в статье 26 Федерального закона от 29 июня 2015 г. N 162-ФЗ "О стандартизации в Российской Федерации". Информация об изменениях к настоящему стандарту публикуется в ежегодном (по состоянию на 1 января текущего года) информационном указателе "Национальные стандарты", а официальный текст изменений и поправок - в ежемесячном информационном указателе "Национальные стандарты". В случае пересмотра (замены) или отмены настоящего стандарта соответствующее уведомление будет опубликовано в ближайшем выпуске ежемесячного информационного указателя "Национальные стандарты". Соответствующая информация, уведомление и тексты размещаются также в информационной системе общего пользования - на официальном сайте Федерального агентства по техническому регулированию и метрологии в сети Интернет (www.gost.ru)
Настоящий стандарт устанавливает методы определения содержания воды в изоляционных жидкостях и пропитанных маслом бумаге и прессованном картоне (далее - целлюлозная изоляция) кулонометрическим титрованием с реактивом Карла Фишера.
Метод по
разделу 2 настоящего стандарта применим для изоляционных жидкостей с содержанием воды более 2 мг/кг, имеющих вязкость менее 100 мм
2/с при температуре 40 °C.
Метод испытания по
разделу 3 настоящего стандарта, включающий выделение воды струей азота, является предпочтительным для изоляционных жидкостей, вязкость которых выше 100 мм
2/с.
В
разделе 4 изложены методы определения содержания воды в целлюлозной изоляции в диапазоне концентраций от 0,1% масс. до 20% масс.
В настоящем стандарте использованы нормативные ссылки на следующие международные стандарты:
IEC 60475:1974 <*>, Method of sampling liquid dielectrics (Метод отбора проб жидких диэлектриков)
--------------------------------
<*> Действует IEC 60475:2011.
IEC 60567:1992 <**>, Guide for the sampling of gases and of oil from oil-filled electrical equipment and for analysis of free and dissolved gases (Руководство по отбору проб газа и масла из маслонаполненного электрооборудования и для анализа свободных и растворенных газов)
--------------------------------
<**> Действует IEC 60567:2011.
ISO 595-1:1986 <***>, Reusable all-glass or metal-and-glass syringes for medical use - Part 1: Dimensions (Шприцы медицинские стеклянные или металлостеклянные многократного применения. Часть 1. Размеры)
ISO 595-2:1987 <***>, Reusable all-glass or metal-and-glass syringes for medical use - Part 2: Design, performance requirements and tests (Шприцы медицинские стеклянные или металлостеклянные многократного применения. Часть 2. Конструкция, эксплуатационные требования и методы испытаний)
--------------------------------
<***> Отменен.
2 Прямое титрование жидкостей с низкой вязкостью
Настоящий метод применим для жидкостей с концентрацией воды выше 2 мг/кг, имеющих вязкость менее 100 мм
2/с при температуре 40 °C. Показатели прецизионности, приведенные в
2.10, применяют только для свежих жидкостей.
Примечания
1 Для жидкостей, находящихся в эксплуатации, на точность метода может влиять присутствие примесей и продуктов разложения.
2 Настоящий метод разработан специально для углеводородных и сложноэфирных жидкостей. Для других жидкостей, особенно силиконовых жидкостей, следует использовать реактивы, не содержащие метанол.
Реакции, происходящие при титровании методом Карла Фишера, являются сложными. Это, главным образом, взаимодействие воды с йодом, диоксидом серы, органическим основанием и спиртом в органическом растворителе. В состав исходного реактива Карла Фишера входят пиридин и метанол, а реакции можно записать следующим образом:

; (1)

. (2)
Возможны другие комбинации растворов основание-спирт, которые могут потребоваться для титрования некоторых изоляционных жидкостей.
При кулонометрическом титровании по Карлу Фишеру пробу перемешивают с раствором основание-спирт, содержащим ионы йода и диоксид серы. Йод образуется в ходе электролиза и вступает в реакцию с водой в соответствии с
уравнениями реакций (1) и
(2). Количество образовавшегося йода пропорционально количеству электричества, согласно закону Фарадея, в соответствии со следующим уравнением

. (3)
Один моль йода реагирует с одним молем воды стехиометрически, как показано в
уравнении (1), так что 1 мг воды эквивалентен 10,72 Кл. На основании этого принципа можно определить количество воды непосредственно по количеству электричества, требуемого для электролиза.
2.3.1 Принцип работы
Сосуд для титрования имеет конфигурацию электролитической ячейки с двумя отделениями, разделенными пористой перегородкой. Анодное отделение содержит смесь растворителя (реактива) и пробы (анодный раствор), а катодное отделение (сборка генератора) содержит безводный реактив (катодный раствор). По обе стороны пористой перегородки расположены электроды для электролиза.
Примечание - Можно использовать титраторы без пористой перегородки.
Йод, образовавшийся в ходе электролиза, как приведено в
уравнении (3), реагирует с водой по
уравнениям реакции Карла Фишера (1) и
(2). Конечную точку реакции определяют двойным платиновым электродом, погруженным в анодный раствор. В конце титрования избыток йода деполяризует двойной платиновый электрод, изменяя таким образом соотношение ток/напряжение, что используют для активации индикатора конечной точки и остановки интегратора тока.
Интегратор тока суммирует ток, использованный в процессе электролиза, рассчитывает эквивалент воды по закону Фарадея и выводит на дисплей количество воды в микрограммах.
2.3.2 Описание прибора
В имеющихся в продаже потенциометрических титраторах Карла Фишера используется патентованная схема. Следующее описание одного из подходящих видов прибора приводится только для иллюстрации.
Блок-схема автоматического титратора показана на
рисунке 1 и включает прибор и компоненты, описанные ниже.
1 - сосуд для титрования в сборе; 2 - схема детектора;
3 - схема регулирования силы тока; 4 - схема питания
(электролиз); 5 - дисплей, отображающий конечную точку
титрования; 6 - интегратор тока; 7 - электромагнитная
мешалка
Рисунок 1 - Блок-схема автоматического титратора
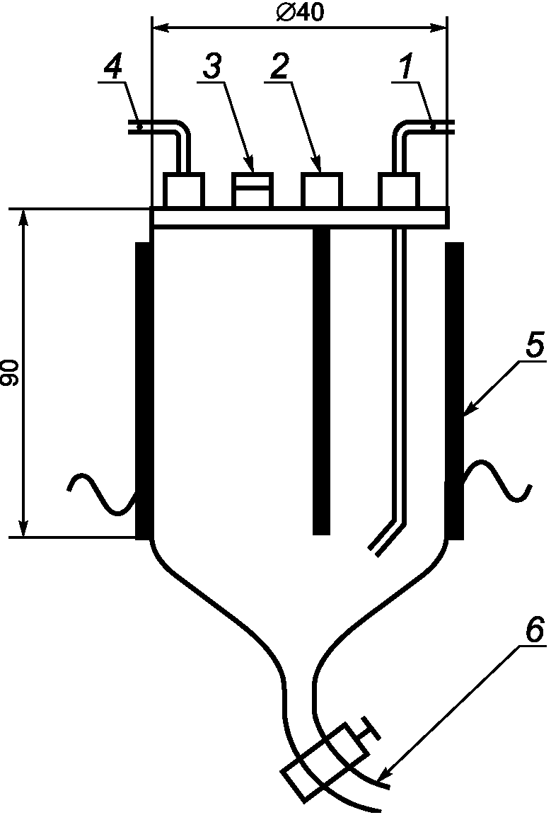
2.3.2.1 Сосуд для титрования в сборе
Пример подходящего сосуда для титрования в сборе приведен на
рисунке 2. Изменения в технологии могут существенно изменить конструкцию прибора, но при этом прибор будет соответствовать техническим требованиям настоящего стандарта. Прибор состоит из:
- стеклянного сосуда для титрования с фланцем a с ответвлением для ввода пробы b и сливным краном c (при наличии);
- фланцевой крышки из политетрафторэтилена d, соответствующей сосуду для титрования, с тремя отверстиями для электродов и осушающей трубки;
- генератора в сборе (комбинированной электролитической ячейки) e, состоящего из стеклянной трубки, закрытой с нижнего конца диафрагмой и оснащенной платиновыми электродами по обе стороны диафрагмы.
Примечание - Диафрагма может быть изготовлена из ионообменной мембраны, пористого диска, керамического фильтра или другого материала для предотвращения диффузии обоих растворов, обеспечивающего достаточную проводимость тока для электролиза;
- электродов детектора: двойного платинового электрода для измерения потенциала или тока f;
- магнитной мешалки с политетрафторэтиленовым покрытием g;
- осушающих трубок h для защиты сосуда для титрования и генераторного узла от атмосферной влаги;
- мембраны из силиконового каучука для герметизации ответвления для ввода пробы.
a - сосуд для титрования (анодное отделение);
b - ответвление для ввода пробы; c - сливной кран;
d - политетрафторэтиленовая крышка; e - генератор в сборе
(катодное отделение); f - двойной платиновый электрод
для измерения потенциала; g - магнитная мешалка
с политетрафторэтиленовым покрытием; h - осушающие трубки
Рисунок 2 - Подходящий сосуд для титрования в сборе
Рекомендуется до начала испытания нанести на мембрану перекрестную насечку для облегчения применения тупоконечных игл с нескошенным концом для ввода пробы [см.
2.4.2, перечисление d)].
Мембрану заменяют по мере необходимости для предотвращения попадания воздуха, на что указывает избыточный дрейф прибора.
2.3.2.2 Схема обнаружения
Прямой ток постоянного напряжения или переменный ток постоянной силы подают на электроды детектора (двойной платиновый измерительный электрод) так, чтобы можно было обнаружить конечную точку по изменению поляризации тока или напряжения.
2.3.2.3 Схема регулятора силы тока
Эта схема контролирует электролиз по сигналу от детектора цепи.
2.3.2.4 Источник постоянного тока
Источник питания постоянного тока для электролиза.
2.3.2.5 Индикатор конечной точки
Индикатор конечной точки показывает достижение конечной точки титрования.
2.3.2.6 Интегратор тока
Интегратор тока измеряет количество электричества, потребляемого электролитической ячейкой во время титрования, затем рассчитывает и выводит на дисплей количество воды (мкг), соответствующее этому количеству электричества.
Примечание - Некоторые приборы имеют встроенные вычислительные устройства и выводят на дисплей концентрацию воды для конкретного количества пробы.
2.3.2.7 Электромагнитная мешалка
Электромагнитная мешалка, поддерживающая постоянную скорость, достаточную для обеспечения адекватного диспергирования (содержимое сосуда для титрования обычно расслаивается, поскольку большинство изоляционных жидкостей не полностью смешивается с жидкими реактивами).
2.4 Реактивы и вспомогательные материалы
Предупреждение - Некоторые реагенты могут быть опасными для здоровья и требуют правильного обращения и утилизации.
2.4.1 Реактивы
В продаже имеются готовые реактивы, однако необходимо, чтобы реактив подходил к конкретному типу используемого прибора и испытуемой изоляционной жидкости.
Реактивы на основе метанола могут вступать во взаимодействие с изоляционными жидкостями на основе кремнийорганических соединений, мешающее проведению испытания. Аналогичные реакции могут произойти с альдегидами, некоторыми кетонами и сопряженными ненасыщенными органическими кислотами, которые могут присутствовать в продуктах разложения масел или примесях. В этих случаях рекомендуется использовать реактивы, не содержащие метанол.
Примечание - Для некоторых изоляционных жидкостей может потребоваться применение дополнительных или альтернативных растворителей.
2.4.2 Вспомогательные материалы
a) Нейтрализующий раствор. Метанол, содержащий примерно 20 мг воды/см3.
b) Осушитель, например безводный перхлорат магния или силикагель с собственным индикатором.
c) Консистентная смазка на основе политетрафторэтилена или фторированных углеводородов. Имеющиеся в продаже смазки отвечают этим требованиям.
d) Стеклянные шприцы для отмеривания и ввода пробы. Шприцы вместимостью 10 и 5 см
3 по ИСО 595-1 и ИСО 595-2 с иглами подходящего диаметра и длины. Иглы длиной 100 мм и диаметром отверстия 1 мм подходят для обычного применения. Иглы с тупым нескошенным концом являются предпочтительными для сведения к минимуму повреждения мембраны.
Готовят и собирают прибор, вводят реактивы и выполняют процедуру стабилизации в соответствии с инструкциями изготовителя.
Если отобранные пробы предназначены для дополнительных определений, сначала необходимо определить содержание воды.
2.6.1 Регулярный отбор проб
Для приемо-сдаточных испытаний используют методы отбора проб по МЭК 60475. Бутылки для отбора проб сушат в сушильном шкафу в течение 16 - 24 ч при температуре (115 +/- 5) °C.
2.6.2 Рекомендуемый метод отбора проб
Для большей точности и особенно при очень низком содержании влаги используют процедуры по МЭК 60567, раздел 4. Бутылки для отбора проб должны быть подготовлены по МЭК 60567, пункт 2.7.1. Шприцы и иглы извлекают из упаковки, сушат не менее 8 ч при температуре (115 +/- 5) °C, охлаждают в эксикаторе с безводным силикагелем и хранят в этом эксикаторе до использования.
Примечание - Применение объединенной или средней пробы не рекомендуется, т.к. может повлиять на точность определения.
2.6.3 Хранение проб
Пробы для анализа на воду не должны подвергаться воздействию прямого солнечного света. До испытания пробы хранят в темном месте не более семи дней.
a) Для проб, отобранных в бутылки: стеклянный шприц и иглу подходящего размера моют и сушат в хорошо вентилируемом сушильном шкафу при температуре (115 +/- 5) °C. Охлаждают в эксикаторе. Заполняют шприц изоляционной жидкостью, опуская конец иглы значительно ниже поверхности жидкости. Быстро закрывают бутылку с пробой после отбора. Держа шприц вертикально, иглой вверх, выпускают все воздушные пузырьки. Сливают содержимое шприца в отходы. Снова наполняют шприц и взвешивают с точностью до 0,1 г.
Для проб, отобранных в шприц: выпускают примерно 2 см3 пробы из шприца, чтобы промыть иглу, и взвешивают шприц с точностью до 0,1 г.
Объем пробы зависит от ожидаемого диапазона содержания влаги. Однако оптимальным объемом пробы считается 5 см3 для большинства типов свежих и использованных изоляционных жидкостей с содержанием воды от 2 до 100 мг/кг.
b) Настраивают прибор для начала титрования согласно инструкциям изготовителя и быстро вводят соответствующее количество пробы в сосуд для титрования через мембрану. Нельзя касаться иглой поверхности реактива. Снова взвешивают шприц и записывают массу введенной пробы
M в граммах.
Необходимо обеспечить тщательное перемешивание масла с растворителем. Скорость мешалки нельзя изменять после того, как прибор пришел в равновесие или в процессе титрования.
c) Фиксируют количество оттитрованной воды
m (мкг) по дисплею после завершения титрования.
d) Выполняют повторное определение. Промывают шприц дважды пробой масла, затем заполняют и взвешивают аналогично
перечислению a). Выполняют процедуры по
перечислениям b) и
c).
e) После выполнения нескольких определений может скопиться значительное количество изоляционной жидкости. Избыток жидкости удаляют в соответствии с инструкциями изготовителя, это относится к уровню и анодного и катодного реактивов. Проводят повторную стабилизацию аппарата.
После неоднократного удаления избытка аппарат для титрования и генерирующий электрод рекомендуется заполнить свежими растворами и повторить процедуру стабилизации.
Содержание воды, мг/кг, в изоляционной жидкости вычисляют по формуле
Содержание воды = m/M, (4)
где m - количество оттитрованной воды, мкг;
M - масса изоляционной жидкости, г.
За содержание воды в пробе изоляционной жидкости принимают среднеарифметическое значение результатов двух определений, выраженное с точностью до ближайшего целого числа в миллиграммах на килограмм.
Примечание - Показатели прецизионности рассчитаны для изоляционных жидкостей на углеводородной основе.
2.10.1 Повторяемость (сходимость)
Расхождение результатов последовательных испытаний, полученных одним и тем же оператором с использованием одной и той же аппаратуры при постоянных условиях на идентичном испытуемом материале в течение длительного времени при нормальном и правильном использовании метода, может превышать

(мг/кг) только в одном случае из двадцати, где
x - среднеарифметическое значение результатов последовательных испытаний.
2.10.2 Воспроизводимость
Расхождение двух отдельных и независимых результатов испытаний, полученных разными операторами, работающими в разных лабораториях, на идентичном испытуемом материале в течение длительного времени при нормальном и правильном использовании метода, может превышать

(мг/кг) только в одном случае из двадцати, где
x - среднеарифметическое значение результатов двух испытаний.
3 Метод выпаривания воды из жидкостей с высокой вязкостью
Настоящий метод предназначен для определения воды в неиспользованных изоляционных жидкостях, имеющих вязкость свыше 100 мм2/с при температуре 40 °C. Этот метод применяют, главным образом, для концентраций воды в изоляционных жидкостях более 2 мг/кг.
Примечание - В качестве альтернативного метода для жидкостей с высокой вязкостью можно использовать определение содержания воды методом по
разделу 2, после разбавления подходящим растворителем. Прецизионность метода будет зависеть от степени разбавления, содержания воды и вязкости выбранного растворителя.
Известное количество изоляционной жидкости нагревают в закрытом сосуде, расположенном рядом с прибором Карла Фишера. Выделенную воду количественно переносят в сосуд для титрования струей сухого газообразного азота и выполняют кулонометрическое титрование.
Блок-схема аппарата приведена на
рисунке 3 и включает следующие позиции:
- титратор: автоматический кулонометрический титратор Карла Фишера (см.
2.3);
- испаритель: стеклянный сосуд вместимостью 100 см
3 с входной трубкой для подачи азота, внутренним диаметром 1,25 мм
(рисунок 4);
- нагреватель: чистый, прозрачный электропроводный стеклянный нагреватель;
- автоматический регулятор температуры, обеспечивающий поддержание температуры с точностью +/- 2 °C;
- газ-носитель: газообразный азот технической чистоты с содержанием воды не более 10 мкл/дм3;
- осушители для газа-носителя: одна колонка с силикагелем и две колонки с пентоксидом фосфора;
- реактивы - в соответствии с
2.4.
Примечание - Если присутствуют мешающие соединения, используют подходящие реактивы для титратора, что особенно важно для прямого ввода пробы.
1 - расходомер; 2 - осушающая трубка с силикагелем;
3, 4 - осушающие трубки с пентоксидом фтора; 5 - стеклянный
сосуд испарителя с нагревателем; 6 - регулятор температуры;
7 - камера для титрования; 8 - блок управления
Рисунок 3 - Блок-схема автоматического титратора и блока
для выпаривания
1 - входная трубка для подачи азота; 2 - термопара;
3 - закрытый мембраной вход для ввода пробы; 4 - выходная
трубка для подачи выпаренной воды в токе азота;
5 - нагреватель; 6 - сливной кран
Рисунок 4 - Стеклянный сосуд испарителя с нагревателем
a) Включают и настраивают титратор Карла Фишера по процедуре
2.5.
b) Вводят объем (примерно 10 см3) исходного масла в испаритель через мембрану для ввода проб, достаточный для того, чтобы погрузить в него кончик трубки для барботирования азота. Исходное масло может представлять собой подлежащую испытанию изоляционную жидкость или любое другое смешивающееся масло, которое не взаимодействует с пробой и имеет вязкость при рабочей температуре, аналогичную вязкости анализируемого масла.
c) Устанавливают температуру испарителя (130 +/- 5) °C и дают температуре стабилизироваться. Продувают всю систему сухим азотом со скоростью от 50 до 200 см3/мин, чтобы тщательно просушить исходное масло, о чем свидетельствует низкое и стабильное показание фонового тока.
d) Включают титрование. Титруют две холостые пробы, каждая из которых приготовлена на основе исходного масла, в течение 10 мин по процедурам в соответствии с
перечислениями f) и
g). Если две холостые пробы дадут показания, отличающиеся не более чем на 5 мкг воды, фиксируют среднеарифметическое значение холостой пробы
m1. Если две холостые пробы дадут показания, отличающиеся более чем на 5 мкг воды, может потребоваться дополнительное просушивание базового масла.
e) Вводят необходимое количество изоляционной жидкости
M в сосуд испарителя с помощью шприца (минимальный внутренний диаметр иглы - 2 мм) или другого подходящего пробоотборника. Взвешивают шприц до и после ввода жидкости для получения точной массы пробы. Используют пробу массой 10 г при содержании воды более 10 мг/кг и (20 +/- 5) г - при содержании воды менее 10 мг/кг.
f) Отключают титратор выключателем на главном блоке или иным образом, останавливают титрование на 10 мин, чтобы влага, выделившаяся в испарителе, была аккумулирована в титровальной камере.
g) Через 10 мин включают титратор и титруют до конечной точки.
h) Фиксируют количество оттитрованной воды
m2 по прибору Карла Фишера.
Примечание - Если содержание воды более 50 мг/кг и/или масса пробы равна 10 г, существует вероятность неполного испарения воды. В таких случаях испытание повторяют в соответствии с
перечислениями e) -
h), используя более длительный промежуток остановки титрования и/или меньшее количество масла. На титраторах некоторых конструкций этого можно достичь, установив достаточно продолжительное время остановки титрования.
i) Для подтверждения стабильности рабочих условий следует выполнить еще одно холостое определения в течение 10 мин. Если полученное значение будет отличаться не более чем на 5 мкг от среднеарифметического значения для холостой пробы
m1, дальнейшее титрование не требуется.
j) Выполняют параллельное определение.
Для каждого отдельного определения вычисляют содержание воды, мг/кг, по формуле

, (5)
где m2 - масса воды, оттитрованной во время анализа пробы, мкг;
m1 - среднеарифметическое значение массы воды для холостой пробы, мкг;
M - масса пробы, г.
Содержание воды в пробе изоляционной жидкости фиксируют как среднеарифметическое значение результатов двух определений с точностью до ближайшего целого числа в миллиграммах на килограмм.
4 Определение воды в бумаге и прессованном картоне, пропитанных маслом
Настоящие методы применяют для определения содержания воды в пропитанных маслом бумаге и прессованном картоне (далее - целлюлозная изоляция). Используют три метода:
- в методе по
4.2 воду сначала экстрагируют метанолом, и определение выполняют на экстракте;
- в методе по
4.3 экстрагирование воды проводят непосредственно в сосуде для титрования (см.
примечание).
Примечание - Этот метод применяют только для целлюлозной изоляции толщиной примерно до 1 мм, поскольку из образца материала, пропитанного маслом, большей толщины невозможно осуществить полное экстрагирование в течение обычной продолжительности опыта;
- в методе по
4.4 образец пропитанной целлюлозной изоляции нагревают в сушильной печи, находящейся рядом с прибором Карла Фишера; образующийся водяной пар количественно переносят в сосуд для титрования струей сухого газообразного азота.
4.2 Определение воды после предварительного экстрагирования метанолом
4.2.1 Реактивы и вспомогательные материалы
Предупреждение - Некоторые реактивы могут быть опасными для здоровья и требуют правильного обращения и утилизации.
Дополнительно к реактивам и материалам, перечисленным в
2.4, требуются:
a) метанол класса ч.д.а. с содержанием воды не более 0,05%;
b) подходящий растворитель, не содержащий хлора, технической чистоты;
c) магниевая стружка.
4.2.2 Аппаратура
a) Кулонометрический титратор Карла Фишера
(2.3).
b) Аппарат для перегонки метанола.
c) Контейнер для метанола. Контейнер сушат. Дистиллированный метанол защищают от атмосферной влаги осушающей трубкой. Нижняя часть контейнера оснащена сливным краном и шаровым шарнирным соединением для присоединения трубки для экстрагирования
(рисунок 5).
d) Градуированные газонепроницаемые трубки вместимостью примерно 50 см3.
e) Металлические щипцы.
1 - нижняя часть контейнера для метанола; 2 - к вакуумному
насосу; 3 - трехходовой кран; 4 - шаровое шарнирное
соединение со шлифом S 19/9 (шарик); 5 - шаровое шарнирное
соединение со шлифом S 19/9 (чашка); 6 - верхний кран;
7 - трубка для экстрагирования вместимостью 125 см3;
8 - нижний кран; 9 - коническое соединение со шлифом 14/23
Рисунок 5 - Контейнер с метанолом и трубка
для экстрагирования
4.2.3 Подготовка оборудования
Все стеклянное оборудование и металлические щипцы тщательно моют после предыдущих опытов подходящим моющим раствором, мыльной водой или растворителем, не содержащим хлор, ополаскивают теплой водой, затем деионизированной водой и наконец метанолом. После промывания все оборудование сушат в сушильном шкафу при температуре (115 +/- 5) °C в течение ночи, затем охлаждают до комнатной температуры в эксикаторе.
4.2.4 Проведение испытаний
a) Перегоняют метанол над магниевой стружкой для снижения содержания воды до не более 200 мг/кг. Собирают дистиллированный метанол в соответствующий сухой контейнер, защищенный от атмосферной влаги осушающей трубкой, заполненной перхлоратом магния.
Определяют содержание воды в метаноле и записывают полученное значение.
b) Помещают в трубку для экстрагирования образец пропитанной маслом целлюлозной изоляции.
Примечания
1 Массу образца выбирают таким образом, чтобы количество измеряемой воды было от 1 до 4 мг.
2 Рекомендуется разрезать образец целлюлозной изоляции, если он слишком толстый для улучшения экстрагирования, избегая изменения содержания в нем влаги во время разрезания за счет паров воды в атмосфере.
c) Присоединяют экстракционную трубку к контейнеру с сухим метанолом, открывают верхний кран, соединяют с вакуумной линией на очень короткое время и, используя подходящую бюретку, вводят от 1 до 10 см
3 метанола. Перекрывают верхний кран и отсоединяют трубку.
d) Повторяют процедуру по
перечислению c) с другой трубкой, которая не содержит образец целлюлозной изоляции. Трубку используют как холостой опыт.
e) Встряхивают трубки с пробой и без пробы в течение 2 ч.
f) Включают титратор Карла Фишера в соответствии с процедурами по
2.5.
g) Присоединяют трубку с образцом целлюлозной изоляции к сосуду для титрования, переносят метанол в растворитель и титруют до конечной точки. Фиксируют массу оттитрованной воды
m2 по показаниям на дисплее титратора.
h) Повторяют процедуру по
перечислению g) с трубкой без образца (холостой опыт) и записывают показание на дисплее титратора
m1.
i) Извлекают целлюлозную изоляцию из трубки, обезжиривают растворителем, не содержащим хлора, и сушат при температуре (110 +/- 5) °C не менее 2 ч. Охлаждают образец целлюлозной изоляции в эксикаторе и затем взвешивают. Записывают массу целлюлозной изоляции M в граммах.
j) Выполняют параллельное определение.
4.2.5 Вычисления
Для каждого отдельного определения вычисляют содержание воды, % масс., по формуле

, (6)
где m2 - масса воды, измеренная при титровании экстракта образца целлюлозной изоляции, мкг;
m1 - масса воды, измеренная в холостом опыте, мкг;
M - масса образца целлюлозного материала, г.
4.2.6 Протокол испытаний
Содержание воды в образце целлюлозной изоляции выражают как среднеарифметическое значение результатов повторных определений с точностью до 0,01%. Также необходимо указать содержание воды в использованном метаноле.
4.3 Определение воды прямым титрованием
4.3.1 Реактивы и вспомогательные материалы
В дополнение к реактивам и материалам, перечисленным в
2.4, требуется подходящий растворитель, не содержащий хлора, для обезжиривания образца.
4.3.2 Аппаратура
a) Кулонометрический титратор Карла Фишера по
2.3.
b) Металлические щипцы.
4.3.3 Проведение испытаний
a) Настраивают титратор Карла Фишера, как описано в
2.5.
b) По возможности быстро вводят образец целлюлозной изоляции с помощью просушенных металлических щипцов в сосуд для титрования.
c) Отключают титратор выключателем на главном блоке или иным образом, останавливают титрование на 15 - 25 мин (точное время должно быть определено оператором) для перехода влаги из целлюлозной изоляции в растворитель. В конце экстрагирования включают титрование и титруют до конечной точки.
d) Фиксируют количество оттитрованной воды m2 по показанию на дисплее прибора Карла Фишера.
e) Выполняют холостой опыт такой же продолжительности для оценки количества влаги, попадающей в систему в процессе испытания. Записывают показание массы воды m1.
Некоторые конструкции титратора позволяют непрерывно отслеживать дрейф и автоматически вычитать его из показания воды. В таком случае выполнение холостого опыта не обязательно, однако необходимо следить за стабильностью рабочих условий в процессе титрования.
Примечание - Важно сократить до минимума продолжительность испытания, которая может быть определена оператором на основе собственного опыта и типа исследуемой пробы. При необходимости оптимальную продолжительность можно определить при повторном выполнении процедуры, используя более длительное время экстрагирования, до получения постоянных результатов. Для получения воспроизводимых результатов в серии опытов рекомендуется использовать одинаковое время экстрагирования во всей серии.
f) Извлекают целлюлозную изоляцию из сосуда для титрования, обезжиривают растворителем и сушат не менее 2 ч при температуре (110 +/- 5) °C. Охлаждают целлюлозную изоляцию в эксикаторе и затем взвешивают. Записывают массу материала M в граммах.
g) Выполняют повторное определение.
4.3.4 Вычисления
Для каждого отдельного определения вычисляют содержание воды, % масс., по формуле

, (7)
где m2 - масса воды, измеренная при титровании образца целлюлозной изоляции, мкг;
m1 - масса воды, измеренная в холостом опыте, мкг;
M - масса целлюлозной изоляции, г.
4.3.5 Протокол испытаний
Содержание воды в образце целлюлозной изоляции выражают как среднеарифметическое значение результатов повторных измерений с точностью до 0,01%. Также необходимо указать содержание воды в холостом опыте.
4.4 Определение воды методом выделения
4.4.1 Аппаратура
Блок-схема прибора показана на
рисунке 3, компоненты перечислены в
3.3.
Подходит испаритель в форме лодочки для выделения воды из твердого материала (целлюлозной изоляции) газом.
4.4.2 Проведение испытаний
a) Настраивают титратор Карла Фишера, как описано в
2.7.
b) Нагревают испаритель до соответствующей температуры (130 °C - для бумаги или картона, пропитанных маслом низкой вязкости, и 140 °C - для бумаги или картона, пропитанных вязкими маслами или соединениями).
c) Регулируют поток газа-носителя для обеспечения постоянной скорости от 50 до 100 см3/мин. Вводят конец выходной трубки для подачи газа-носителя в сосуд для титрования и дают системе стабилизироваться, о чем свидетельствует низкое и стабильное значение показаний фонового тока (дрейф).
d) Быстро вводят образец целлюлозной изоляции из колбы для хранения в сосуд испарителя. Для целлюлозной изоляции с низким содержанием влаги достаточна масса образца около 0,5 г.
e) Отключают титратор выключателем на главном блоке или иным образом, останавливают титрование на 20 мин для поглощения влаги, выделенной в испарителе, в сосуде для титрования. В конце времени выделения включают титрование и титруют до конечной точки. Считывают количество оттитрованной воды m2 с дисплея прибора Карла Фишера
Примечание - Время выделения зависит от характеристик пробы и параметров системы. Подходящим периодом в большинстве случаев считают 20 мин, но оператор должен определить оптимальные рабочие условия. Для получения воспроизводимых результатов в серии опытов используют один и тот же период выделения во всей серии.
f) Выполняют холостой опыт такой же продолжительности, чтобы оценить количество влаги, попадающей в систему в процессе испытания. Записывают показание массы воды m1.
Некоторые конструкции титратора позволяют непрерывно отслеживать дрейф и автоматически вычитать его из показания воды. В таком случае выполнение холостого опыта не обязательно, но необходимо следить за стабильностью рабочих условий в течение титрования.
g) Извлекают целлюлозную изоляцию из испарителя, промывают растворителем и сушат при температуре (110 +/- 5) °C не менее 2 ч. Охлаждают целлюлозную изоляцию в эксикаторе и затем взвешивают. Записывают массу материала M в граммах.
h) Выполняют повторное определение.
4.4.3 Вычисления
Для каждого отдельного определения рассчитывают содержание воды, % масс., по следующей формуле

, (8)
где m2 - масса воды, поглощенной в сосуде для титрования из образца, мкг;
m1 - масса воды, измеренная в холостом опыте, мкг;
M - масса целлюлозного материала, г.
4.4.4 Протокол испытаний
Содержание воды в образце целлюлозной изоляции выражают как среднеарифметическое значение результатов повторных определений с точностью до 0,01%. Также необходимо указать содержание воды в холостом опыте.
(справочное)
МЕТОДЫ ОТБОРА ОБРАЗЦОВ БУМАГИ И ПРЕССОВАННОГО КАРТОНА,
ПРОПИТАННЫХ МАСЛОМ
A.1 Общие положения
В настоящем приложении приведены некоторые процедуры методов, приемлемых для отбора образцов пропитанной маслом целлюлозной изоляции из электрооборудования, заполненного маслом. Эти методы могут служить руководством для недостаточно опытных работников и приводят основные меры предосторожности, которые необходимо соблюдать.
Метод отбора образцов зависит от типа рассматриваемой изоляции (например, в кабеле или трансформаторе). Однако в каждом отдельном случае важно избежать влагообмена между зоной изоляции, из которой берут образец, и окружающей средой. По этой причине рекомендуется отбирать образцы из части изоляции погруженной в пропитывающий материал или немедленно после извлечения из него.
При возможности рекомендуется отбирать образцы бумаги с помощью инструмента для вырезки, допускается использовать лезвие бритвы, скальпель, ножницы и т.п.
A.2 Отбор образцов от кабеля
A.2.1 Отбор части кабеля в качестве образца
Кабель поднимают в положение, в котором его будут резать; его металлическую оболочку зачищают в двух точках, расположенных на расстоянии не менее 50 см друг от друга, чтобы облегчить нагрузку на металлические концы торцевых заглушек, когда образец будет вырезан.
Первый разрез выполняют в соответствующем положении в пределах одного из зачищенных участков, используя электропилу или ручную пилу, или абразивный режущий диск, конец предполагаемого образца быстро закрывают металлической торцевой заглушкой, снабженной гайкой и ниппелем для сброса давления масла во время этой операции.
Второй разрез выполняют в пределах второго вылуженного участка на расстоянии не менее 50 см от первого разреза и повторяют процедуру установки заглушки.
Оба отрезанных конца оставшегося кабеля закрывают аналогичным образом.
При отсутствии металлических концевых заглушек можно использовать стягиваемые при нагревании или другие пластиковые заглушки, при условии что они надежно фиксируются на кабеле. В этом случае до отбора образца бумаги рекомендуется поместить образец кабеля в жестянку или другой закрытый контейнер с минимальным остаточным воздушным пространством.
A.2.2 Разрезание кабелей и отбор образцов бумаги
Часть кабеля длиной примерно 30 см отрезают, если возможно, после того как лаборатория получила образец кабеля. С этой целью образец кабеля помещают в защитную перчаточную камеру, продутую сухим азотом. Азот подают из имеющегося в продаже газового баллона, пропустив через сушильную трубку, заполненную перхлоратом магния, используемым в качестве осушителя, для снижения точки росы азота до минус 56 °C. Осушитель регулярно меняют. Образец кабеля разрезают в защитной камере.
Образцы бумаги отбирают с помощью специального инструмента для вырезки в соответствии с
A.3.2 не менее чем в двух местах, расположенных на разном расстоянии от проводника, для каждого сердечника кабеля.
Первые два или три слоя удаляют. Образцы берут от следующих пяти или шести слоев и затем от восьми слоев, наиболее близко расположенных от проводника. Образцы бумаги не отбирают вблизи концов кабеля, поскольку они могли впитать влагу в момент отбора образца кабеля. Образцы бумаги помещают в специальные колбы для хранения, которые герметично закрывают (см.
A.4).
Все эти операции выполняют по возможности быстро. Колбы, содержащие образцы бумаги, извлекают из защитной перчаточной камеры и проводят определение влаги максимально быстро согласно
разделу 4 настоящего стандарта.
A.3 Отбор образцов из трансформаторов
A.3.1 Отбор образцов бумаги и прессованного картона, пропитанных маслом, от тонкой изоляции (толщиной менее 3 мм)
Образцы отрезают с помощью острого режущего инструмента (лезвия бритвы, скальпеля или ножниц). Все манипуляции выполняют с помощью предварительно просушенных металлических инструментов. Образцы хранят в герметично закрытых колбах. Содержание воды определяют согласно
разделу 4 настоящего стандарта.
A.3.2 Отбор образцов бумаги и прессованного картона, пропитанных маслом, от толстой изоляции (толщиной более 3 мм)
Если толщина изоляции больше 3 мм, образцы отбирают с помощью специального инструмента для вырезки заготовок. Этот инструмент состоит из трубки с режущей кромкой с одного конца и поршня, расположенного внутри этой трубки. К инструменту прикреплена скобка, при вращении которой он входит в изоляцию. Получаемые таким образом бумажные диски собираются внутри трубки и остаются там, когда инструмент извлекают. Образцы бумаги выталкивают из трубки поршнем и помещают в колбу для хранения в соответствии с
A.4.
Этим режущим инструментом можно получить за один прием образцы на глубине от 2 до 3 мм, а за второй прием на глубине от 4 до 5 мм. Для получения образцов на большей глубине применяют трубки с последовательно уменьшающимся диаметром.
Определение содержания воды выполняют согласно
разделу 4 настоящего стандарта.
A.4 Хранение образцов бумаги и прессованного картона
Используют различные методы хранения целлюлозной изоляции в зависимости от того, будет ли определение воды выполняться сразу же после отбора образцов или позже. Если влагу определяют сразу же после отбора образцов, образцы бумаги помещают в колбы, промытые и просушенные в соответствии с
2.6.1 настоящего стандарта. Если определение выполняют после предварительного экстрагирования метанолом, образцы бумаги хранят непосредственно в сосуде для экстрагирования
(рисунок 5).
Если определить содержание влаги сразу после отбора образцов невозможно, образцы бумаги и прессованного картона помещают в колбы для хранения, заполненные изоляционной пропиткой, из которой извлекли образцы, или сухим маслом с содержанием влаги менее 5 мг/кг. Изоляционную пропитку получают с помощью приемов, описанных в МЭК 60567.
Сосуды для хранения промывают и сушат в соответствии с
2.6.1. Колбы должны быть по возможности небольшими для ограничения влагообмена между пропиткой и бумагой (например, для нескольких граммов бумаги берут колбу вместимостью 50 см
3).
Колбы оснащают завинчивающимися крышками с подходящими резиновыми прокладками. Оставляют небольшой объем воздуха над жидкостью для компенсации ее расширения при изменении температуры. В некоторых случаях в качестве сосудов для хранения и переноса образцов используют шприцы.
При использовании шприцев выполняют следующую процедуру:
- шприц с надетой иглой заполняют маслом, пока поршень не выдвинется из стеклянного корпуса шприца;
- закрывают конец иглы плотно подогнанным колпачком;
- вводят в шприц образец;
- снова вставляют поршень в шприц, снимают с иглы колпачок и вдавливают поршень, пока не сольется необходимый объем масла;
- снова надевают на иглу колпачок. Теперь наполненный шприц готов для транспортирования.
Для извлечения образца бумаги из шприца поступают следующим образом:
- держа шприц иглой вверх, снимают колпачок с иглы и выдвигают поршень, пока он не покажется из корпуса шприца;
- надевают на иглу колпачок;
- переворачивают шприц;
- извлекают поршень из корпуса шприца и вынимают образцы бумаги предварительно просушенными металлическими щипцами.
(справочное)
СВЕДЕНИЯ О СООТВЕТСТВИИ ССЫЛОЧНЫХ МЕЖДУНАРОДНЫХ СТАНДАРТОВ
НАЦИОНАЛЬНЫМ СТАНДАРТАМ
Таблица ДА.1
Обозначение ссылочного международного стандарта | Степень соответствия | Обозначение и наименование соответствующего национального стандарта |
IEC 60475:1974 | - | <*> |
IEC 60567:1992 | - | <*> |
ISO 595-1:1986 | NEQ | ГОСТ 22967-90 "Шприцы медицинские инъекционные многократного применения. Общие технические требования и методы испытаний" |
ISO 595-2:1987 | NEQ | ГОСТ 22967-90 "Шприцы медицинские инъекционные многократного применения. Общие технические требования и методы испытаний" |
<*> Соответствующий национальный стандарт отсутствует. До его принятия рекомендуется использовать перевод на русский язык данного международного стандарта. Примечание - В настоящей таблице использованы следующие условные обозначения степени соответствия стандартов: - NEQ - неэквивалентные стандарты. |
--------------------------------