Главная // Актуальные документы // ГОСТ Р (Государственный стандарт)СПРАВКА
Источник публикации
М.: Стандартинформ, 2015
Примечание к документу
Документ
введен в действие с 01.01.2015.
Взамен ГОСТ Р 50267.27-95 (МЭК 601-2-27-91).
Название документа
"ГОСТ Р МЭК 60601-2-27-2013. Национальный стандарт Российской Федерации. Изделия медицинские электрические. Часть 2-27. Частные требования безопасности с учетом основных функциональных характеристик к электрокардиографическим мониторам"
(утв. и введен в действие Приказом Росстандарта от 08.11.2013 N 1481-ст)
"ГОСТ Р МЭК 60601-2-27-2013. Национальный стандарт Российской Федерации. Изделия медицинские электрические. Часть 2-27. Частные требования безопасности с учетом основных функциональных характеристик к электрокардиографическим мониторам"
(утв. и введен в действие Приказом Росстандарта от 08.11.2013 N 1481-ст)
Утвержден и введен в действие
по техническому регулированию
и метрологии
от 8 ноября 2013 г. N 1481-ст
НАЦИОНАЛЬНЫЙ СТАНДАРТ РОССИЙСКОЙ ФЕДЕРАЦИИ
ИЗДЕЛИЯ МЕДИЦИНСКИЕ ЭЛЕКТРИЧЕСКИЕ
ЧАСТЬ 2-27
ЧАСТНЫЕ ТРЕБОВАНИЯ БЕЗОПАСНОСТИ С УЧЕТОМ
ОСНОВНЫХ ФУНКЦИОНАЛЬНЫХ ХАРАКТЕРИСТИК
К ЭЛЕКТРОКАРДИОГРАФИЧЕСКИМ МОНИТОРАМ
Medical electrical equipment. Part 2-27. Particular
requirements for the basic safety and essential performance
of electrocardiographic monitoring equipment
IEC 60601-2-27:2011
Medical electrical equipment - Part 2-27: Particular
requirements for the basic safety and essential performance
of electrocardiographic monitoring equipment
(IDT)
ГОСТ Р МЭК 60601-2-27-2013
Дата введения
1 января 2015 года
1 ПОДГОТОВЛЕН Закрытым акционерным обществом Независимый институт испытаний медицинской техники (ЗАО "НИИМТ") на основе собственного аутентичного перевода на русский язык международного стандарта, указанного в
пункте 4
2 ВНЕСЕН Техническим комитетом по стандартизации ТК 11 "Медицинские приборы, аппараты и оборудование"
3 УТВЕРЖДЕН И ВВЕДЕН В ДЕЙСТВИЕ
Приказом Федерального агентства по техническому регулированию и метрологии от 8 ноября 2013 г. N 1481-ст
4 Настоящий стандарт идентичен международному стандарту МЭК 60601-2-27:2011 "Изделия медицинские электрические. Часть 2-27. Частные требования безопасности с учетом основных функциональных характеристик к электрокардиографическим мониторам" (IEC 60601-2-27:2011 "Medical electrical equipment - Part 2-27: Particular requirements for the basic safety and essential performance of electrocardiographic monitoring equipment").
При применении настоящего стандарта рекомендуется использовать вместо ссылочных международных стандартов соответствующие им национальные стандарты Российской Федерации и действующие в этом качестве межгосударственные стандарты, сведения о которых приведены в дополнительном
приложении ДА
5 ВЗАМЕН ГОСТ Р 50267.27-95 (МЭК 601-2-27-91)
Правила применения настоящего стандарта установлены в ГОСТ Р 1.0-2012
(раздел 8). Информация об изменениях к настоящему стандарту публикуется в ежегодном (по состоянию на 1 января текущего года) информационном указателе "Национальные стандарты", а официальный текст изменений и поправок - в ежемесячном информационном указателе "Национальные стандарты". В случае пересмотра (замены) или отмены настоящего стандарта соответствующее уведомление будет опубликовано в ближайшем выпуске ежемесячного информационного указателя "Национальные стандарты". Соответствующая информация, уведомление и тексты размещаются также в информационной системе общего пользования - на официальном сайте Федерального агентства по техническому регулированию и метрологии в сети Интернет (www.gost.ru)
Настоящий частный стандарт рассматривает частные требования безопасности с учетом основных функциональных характеристик к электрокардиографическим мониторам. Настоящий частный стандарт конкретизирует и дополняет МЭК 60601-1:2005 "Изделия медицинские электрические. Часть 1. Общие требования безопасности с учетом основных функциональных характеристик" (далее - общий стандарт). См.
201.1.4.
Целью настоящего частного стандарта является приведение его в соответствие с третьим изданием общего стандарта.
Требования настоящего частного стандарта имеют приоритет перед требованиями общего стандарта.
Специальные руководства и обоснования наиболее важных требований настоящего частного стандарта приведены в
приложении AA. Предполагается, что знание причин, лежащих в основе этих требований, не только облегчит соответствующее применение настоящего стандарта, но и в дальнейшем ускорит любые пересмотры, необходимые из-за изменений в клинической практике или как результат развития технологий. Тем не менее,
приложение AA не формирует части требований настоящего стандарта.
Настоящий стандарт разработан в соответствии с Директивами ИСО/МЭК, часть 2.
В настоящем стандарте применены следующие шрифтовые выделения:
- требования и определения: прямой шрифт;
- технические требования к испытаниям: курсив;
- информационные материалы вне таблиц (типа примечаний, примеров и ссылок): шрифт уменьшенного размера. Аналогично выделен и нормативный текст таблиц;
- термины, определенные в пункте 3 общего стандарта и в настоящем частном стандарте, набраны прописными буквами.
В настоящем стандарте термины означают:
- "пункт" - одна из семнадцати частей стандарта, указанных в оглавлении, включая все свои подпункты; например, пункт 7 включает подпункты (пункты) 7.1, 7.2 и т.д.;
- "подпункт" - пронумерованная последовательность подпунктов пункта; например, подпункты 7.1, 7.2 и 7.2.1 являются подпунктами пункта 7.
Перед ссылкой на пункт и перед его номером в настоящем стандарте будет стоять слово "пункт", а ссылка на подпункт будет ограничиваться лишь его номером.
В настоящем стандарте союз "или" будет использоваться как включающее "или", т.е. утверждение будет истинным при любой комбинации условий.
Вербальные формы, используемые в настоящем стандарте, совпадают по форме с описанными в приложении G Директив ИСО/МЭК (часть 2).
Вспомогательные глаголы:
- "должен" означает, что соответствие требованиям или испытаниям обязательно для соответствия настоящему стандарту;
- "следует" означает, что соответствие требованиям или испытаниям рекомендовано, но не обязательно для соответствия настоящему стандарту;
- "может" используется для описания допустимых путей достижения соответствия требованиям или испытаниям.
Пометка (*) перед наименованием пункта (подпункта) или таблицы указывает, что в
приложении AA приведены рекомендации или пояснения к этим элементам текста.
Комитет решил, что содержание данной публикации остается неизменным до даты подведения результатов, отображенной на сайте МЭК "http://webstore.iec.ch" в данных, соответствующих определенной публикации. На эту дату публикация будет:
- подтверждена;
- отозвана;
- заменена на пересмотренное издание или
- дополнена.
201.1. Область применения, цель и дополнительные стандарты
Применяют пункт 1 общего стандарта <1>, за исключением следующего:
--------------------------------
<1> МЭК 60601-1:2005 "Изделия медицинские электрические. Часть 1. Общие требования безопасности с учетом основных функциональных характеристик" (далее - общий стандарт).
| | ИС МЕГАНОРМ: примечание. Нумерация пунктов дана в соответствии с официальным текстом документа. | |
201.1* Область применения
Замена:
Настоящий стандарт устанавливает частные требования БЕЗОПАСНОСТИ С УЧЕТОМ ОСНОВНЫХ ФУНКЦИОНАЛЬНЫХ ХАРАКТЕРИСТИК К ЭЛЕКТРОКАРДИОГРАФИЧЕСКИМ МОНИТОРАМ, определенным в
201.3.63 (далее - ME ИЗДЕЛИЕ). Настоящий частный стандарт распространяется на ME ИЗДЕЛИЯ, используемые в клиниках, а также за пределами клиник, например в машинах скорой помощи или на воздушном транспорте. Настоящий частный стандарт также распространяется на ЭКГ телеметрические системы, используемые в клиниках.
ME ИЗДЕЛИЯ, предназначенные для использования в экстремальных или неконтролируемых условиях за пределами клиник, например в машинах скорой помощи или на воздушном транспорте, должны соответствовать настоящему частному стандарту. Для ME ИЗДЕЛИЙ, используемых в таких условиях, могут также применяться дополнительные стандарты.
Настоящий стандарт не распространяется на электрокардиографические мониторы для домашнего использования. Тем не менее, ИЗГОТОВИТЕЛИ должны применять соответствующие пункты настоящего стандарта в соответствии с ПРЕДУСМОТРЕННЫМ ПРИМЕНЕНИЕМ.
Требования настоящего частного стандарта не распространяются на амбулаторные ("Холтеровские") мониторы, фетальные мониторы сердечных сокращений, плетизмографы и другое оборудование для записи ЭКГ.
201.1.2 Цель
Замена:
Целью настоящего частного стандарта является установление частных требований БЕЗОПАСНОСТИ С УЧЕТОМ ОСНОВНЫХ ФУНКЦИОНАЛЬНЫХ ХАРАКТЕРИСТИК К ЭЛЕКТРОКАРДИОГРАФИЧЕСКИМ МОНИТОРАМ, определенным в
201.3.63.
201.1.3 Дополнительные стандарты
Дополнение:
Настоящий частный стандарт ссылается на применяемые дополнительные стандарты, перечисленные в пункте 2 общего стандарта и
пункте 201.2 настоящего частного стандарта.
МЭК 60601-1-2:2007 и МЭК 60601-1-8:2006 применяют согласно
пунктам 202 и
208 соответственно. МЭК 60601-1-3 не применяют. Все другие опубликованные дополнительные стандарты серии МЭК 60601-1 применяют, с момента их публикации.
201.1.4 Частные стандарты
Замена:
В серии стандартов МЭК 60601 частные стандарты могут изменять, заменять или отменять требования, содержащиеся в общем стандарте и дополнительных стандартах, как необходимо для конкретного рассматриваемого ME ИЗДЕЛИЯ, и могут добавлять другие требования БЕЗОПАСНОСТИ С УЧЕТОМ ОСНОВНЫХ ФУНКЦИОНАЛЬНЫХ ХАРАКТЕРИСТИК.
Требования частного стандарта имеют приоритет перед общим стандартом.
Для краткости МЭК 60601-1 назван в настоящем частном стандарте общим стандартом. Дополнительные стандарты указывают по их номерам.
Нумерация пунктов и подпунктов настоящего частного стандарта соответствует нумерации общего стандарта с префиксом "201" (например, 201.1 в настоящем стандарте относится к содержанию пункта 1 общего стандарта), применимого дополнительного стандарта - с префиксом "20x", где "x" - это последний(е) символ(ы) номера дополнительного стандарта (например, 202.4 в настоящем частном стандарте относится к содержанию пункта 4 дополнительного стандарта МЭК 60601-1-2; 203.4 в настоящем частном стандарте относится к содержанию пункта 4 дополнительного стандарта МЭК 60601-1-3 и т.д.). Изменения текста общего стандарта определены следующими словами:
- "замена" - пункт или подпункт общего стандарта или применимого дополнительного стандарта полностью заменяется текстом настоящего частного стандарта;
- "дополнение" - текст настоящего частного стандарта дополняет требования общего стандарта или применимого дополнительного стандарта;
- "поправка" - пункт или подпункт общего стандарта или применимого дополнительного стандарта изменяется согласно указаниям в тексте настоящего частного стандарта.
Подпункты, рисунки или таблицы, которые добавлены к имеющимся в общем стандарте, пронумерованы, начиная с 201.101. Однако, учитывая, что определения в общем стандарте пронумерованы от 3.1 до 3.139, добавленные определения в настоящем стандарте нумеруют, начиная с 201.3.201. Добавленное приложение обозначено AA, добавленные пункты - aa), bb) и т.д.
Подпункты или рисунки, которые добавлены к имеющимся в дополнительном стандарте, пронумерованы, начиная с 20x, где "x" - это номер дополнительного стандарта, например, 202 для МЭК 60601-1-2, 203 - для МЭК 60601-1-3 и т.д.
Термин "настоящий стандарт" используется для совместной ссылки на общий стандарт, любые применимые дополнительные стандарты и настоящий частный стандарт.
Если нет соответствующего пункта или подпункта в настоящем частном стандарте, пункт или подпункт общего стандарта или применимого дополнительного стандарта применяют без изменений, хотя они могут быть не подходящими. Если необходимо, чтобы любая часть общего стандарта или применимого дополнительного стандарта не применялись, хотя они могут быть подходящими, в настоящем частном стандарте приведено утверждение о таком действии.
201.2. Нормативные ссылки
Применяют пункт 2 общего стандарта, за исключением следующего:
Замена:
МЭК 60601-1-2:2007 Изделия медицинские электрические. Часть 1-2. Общие требования безопасности с учетом основных функциональных характеристик. Дополнительный стандарт. Электромагнитная совместимость. Требования и испытания (IEC 60601-1-2(2007), Medical electrical equipment - Part 1-2: General requirements for basic safety and essential performance - Collateral standard: Electromagnetic compatibility - Requirements and tests)
МЭК 60601-1-8:2008 Изделия медицинские электрические. Часть 1-8. Общие требования безопасности. Дополнительный стандарт: Общие требования, испытания и инструкции по применению систем аварийной сигнализации в изделиях и системах медицинских электрических (IEC 60601-1-8(2006), Medical electrical equipment - Part 1-8: General requirements for basic safety and essential performance - Collateral standard: General requirements, tests and guidance for alarm systems in medical electrical equipment and medical electrical systems)
Дополнение:
МЭК 60601-2-2:2009 Изделия медицинские электрические. Часть 2-2. Частные требования безопасности с учетом основных функциональных характеристик к высокочастотным электрохирургическим аппаратам и принадлежностям (IEC 60601-2-2(2009), Medical electrical equipment - Part 2-2: Particular requirements for the basic safety and essential performance of high frequency surgical equipment and high frequency surgical accessories)
МЭК 60601-2-25:2011 Изделия медицинские электрические. Часть 2-25. Частные требования безопасности с учетом основных функциональных характеристик к электрокардиографам (IEC 60601-2-25(2011), Medical electrical equipment - Part 2-25: Particular requirements for the basic safety and essential performance of electrocardiographs)
МЭК 60601-2-49:2011 Изделия медицинские электрические. Часть 2-49. Частные требования безопасности с учетом основных функциональных характеристик к многофункциональным мониторам пациента (IEC 60601-2-49(2011), Medical electrical equipment - Part 2-49: Particular requirements for the basic safety and essential performance of multifunction patient monitoring equipment)
201.3. Термины и определения
Примечание - Алфавитный
указатель терминов приведен в конце стандарта.
В настоящем стандарте применены термины общего стандарта, за исключением:
Замена:
201.3.63 ЭЛЕКТРОКАРДИОГРАФИЧЕСКИЙ (ЭКГ) МОНИТОР, ME ИЗДЕЛИЕ (ELECTROCARDIOGRAPHIC (ECG) MONITORING EQUIPMENT, ME EQUIPMENT): Устройство, включающее ЭЛЕКТРОДЫ, ПРОВОДА ОТВЕДЕНИЙ и средства соединения, предназначенное для контролирования и/или записи потенциалов сердечной деятельности одного ПАЦИЕНТА и отображения полученных данных.
Примечание - Телеметрические передатчики и приемники ЭКГ совместно с дисплеем для отображения данных одного ПАЦИЕНТА составляют ME ИЗДЕЛИЕ. Телеметрия ЭКГ обычно используется для отображения данных ПАЦИЕНТА на расстоянии. На таких применяемых дисплеях часто одновременно отображаются данные нескольких ПАЦИЕНТОВ, однако изображения данных каждого ПАЦИЕНТА логически отделены.
Дополнительные определения:
201.3.201 ПОДАВЛЕНИЕ СИНФАЗНОГО СИГНАЛА [COMMON MODE REJECTION (CMR)]: Способность ME ИЗДЕЛИЯ, включая КАБЕЛЬ и ЭЛЕКТРОДЫ ПАЦИЕНТА, высокочастотные фильтры, цепи защиты, входные усилители и т.д., отделять сигналы, различающиеся на входах усилителя (дифференциальный сигнал) от сигналов, одинаковых на входах усилителя (синфазный сигнал), при асимметрии импедансов ЭЛЕКТРОДА.
201.3.202 ЭЛЕКТРОД (ELECTRODE): Чувствительный элемент, находящийся в контакте с определенной частью тела для обнаружения электрической активности сердца.
201.3.203 ЭЛЕКТРОКАРДИОГРАММА (ЭКГ), (ELECTROCARDIOGRAM): Графическое представление сигнала одного или более ОТВЕДЕНИЙ во времени.
201.3.204 КОЭФФИЦИЕНТ УСИЛЕНИЯ (GAIN): Отношение амплитуды выходного сигнала к амплитуде входного сигнала.
Примечание - КОЭФФИЦИЕНТ УСИЛЕНИЯ выражается в мм/мВ.
201.3.205 ИНДИКАТОР КОЭФФИЦИЕНТА УСИЛЕНИЯ (GAIN INDICATOR): Графическое отображение на ПОСТОЯННОМ ИЗОБРАЖЕНИИ или НЕПОСТОЯННОМ ИЗОБРАЖЕНИИ, позволяющее клиническому ОПЕРАТОРУ визуально оценить амплитуду входного сигнала ЭКГ.
201.3.206 ОТВЕДЕНИЕ (LEAD): Напряжение между электродами.
201.3.207 ПЕРЕКЛЮЧАТЕЛЬ ОТВЕДЕНИЙ (LEAD SELECTOR): Устройство для выбора конкретного отведения.
201.3.208 ПРОВОД ОТВЕДЕНИЯ (LEAD WIRE): Электрический провод, соединяющий ЭЛЕКТРОД либо с КАБЕЛЕМ пациента, либо с ME ИЗДЕЛИЕМ.
201.3.209 НЕЙТРАЛЬНЫЙ ЭЛЕКТРОД (NEUTRAL ELECTRODE): Опорная точка для дифференциальных усилителей и/или цепей ПОДАВЛЕНИЯ помех, не предназначенная для вычисления любого отведения.
Примечание - НЕЙТРАЛЬНЫЙ ЭЛЕКТРОД иногда называют ОПОРНЫМ ЭЛЕКТРОДОМ.
201.3.210 ШУМ (NOISE): Нежелательный сигнал любой частоты, присутствующий на ЭЛЕКТРОКАРДИОГРАММЕ.
201.3.211 НЕПОСТОЯННОЕ ИЗОБРАЖЕНИЕ (NON-PERMANENT DISPLAY): Непостоянное представление ЭЛЕКТРОКАРДИОГРАММЫ (ЭКГ).
Примечание - Примером НЕПОСТОЯННОГО ИЗОБРАЖЕНИЯ является LCD монитор с движущимся (бегущая строка) или иным временным представлением сигнала ЭКГ.
201.3.212 КАБЕЛЬ ПАЦИЕНТА (PATIENT CABLE): Многопроводный кабель, используемый для соединения ПРОВОДОВ ОТВЕДЕНИЯ и ME ИЗДЕЛИЯ.
201.3.213 ПОСТОЯННОЕ ИЗОБРАЖЕНИЕ (PERMANENT DISPLAY): Постоянное представление ЭЛЕКТРОКАРДИОГРАММЫ (ЭКГ).
Примечание - Примером ПОСТОЯННОГО ИЗОБРАЖЕНИЯ является распечатка ЭКГ на твердом носителе.
Применяют пункт 4 общего стандарта, за исключением следующего:
201.4.3 ОСНОВНЫЕ ФУНКЦИОНАЛЬНЫЕ ХАРАКТЕРИСТИКИ
Дополнение:
201.4.3.10 * Дополнительные требования к ОСНОВНЫМ ФУНКЦИОНАЛЬНЫМ ХАРАКТЕРИСТИКАМ
Дополнительные требования к ОСНОВНЫМ ФУНКЦИОНАЛЬНЫМ ХАРАКТЕРИСТИКАМ ЭЛЕКТРОКАРДИОГРАФИЧЕСКОГО МОНИТОРА приведены в подпунктах, перечисленных в таблице 201.101.
Таблица 201.101
Требования к ОСНОВНЫМ ФУНКЦИОНАЛЬНЫМ ХАРАКТЕРИСТИКАМ
Требование | Подпункт |
Защита от разряда дефибриллятора | |
Прерывание питания/ПИТАЮЩЕЙ СЕТИ ME ИЗДЕЛИЯ | |
Защита от разряда батареи | |
ОСНОВНЫЕ ФУНКЦИОНАЛЬНЫЕ ХАРАКТЕРИСТИКИ ME ИЗДЕЛИЯ | |
Взаимодействие с электрохирургическими аппаратами | |
Время срабатывания сигнализации ДЛЯ УСЛОВИЙ СРАБАТЫВАНИЯ СИГНАЛИЗАЦИИ по пульсу | |
ТЕХНИЧЕСКИЕ УСЛОВИЯ СРАБАТЫВАНИЯ СИГНАЛИЗАЦИИ, показывающие, что ME ИЗДЕЛИЕ находится в нерабочем состоянии | |
201.5. Общие требования к испытаниям ME ИЗДЕЛИЯ
Применяют пункт 5 общего стандарта, за исключением следующего:
201.5.4 Прочие условия испытаний
Дополнение:
Если не определено иное, испытания должны проводиться с ПРИНАДЛЕЖНОСТЯМИ и записывающими материалами, определенными ИЗГОТОВИТЕЛЕМ.
Для ME ИЗДЕЛИЯ с ВНУТРЕННИМ ИСТОЧНИКОМ ПИТАНИЯ, если на результаты испытания влияет напряжение ВНУТРЕННЕГО ИСТОЧНИКА ПИТАНИЯ, испытания должны проводиться с использованием наименее благоприятного напряжения ВНУТРЕННЕГО ИСТОЧНИКА ПИТАНИЯ, определенное ИЗГОТОВИТЕЛЕМ. Если необходимо для проведения испытания, могут использоваться внешние батареи или источник постоянного напряжения для обеспечения необходимого испытательного напряжения.
Значения, используемые в испытательных цепях, если не определено иное, должны иметь точность не хуже, чем указано ниже:
- резисторы: +/- 1%;
- конденсаторы: +/- 10%;
- катушки индуктивности: +/- 10%;
- испытательные напряжения: +/- 1%.
201.5.8* Последовательность испытаний
Дополнение:
201.6. Классификация ME ИЗДЕЛИЙ И ME СИСТЕМ
Применяют пункт 6 общего стандарта, за исключением следующего:
201.6.2* Защита от поражения электрическим током
Заменить последний абзац:
РАБОЧИЕ ЧАСТИ должны классифицироваться как РАБОЧИЕ ЧАСТИ ТИПА CF (см. 7.2.10 и 8.3 общего стандарта). РАБОЧИЕ ЧАСТИ должны классифицироваться как РАБОЧИЕ ЧАСТИ С ЗАЩИТОЙ ОТ ДЕФИБРИЛЛЯЦИИ (см. 8.5.5 общего стандарта).
201.6.6 Режим работы
Заменить последний абзац:
ME ИЗДЕЛИЕ должно классифицироваться как оборудование ПРОДОЛЖИТЕЛЬНОГО РЕЖИМА РАБОТЫ (см. 7.2.11 общего стандарта).
201.7. Идентификация, маркировка и документация ME ИЗДЕЛИЙ
Применяют пункт 7 общего стандарта, за исключением следующего:
201.7.2.4 Маркировка ПРИНАДЛЕЖНОСТЕЙ
Дополнение:
201.7.2.4.101 Маркировка ПРОВОДОВ ОТВЕДЕНИЙ
Для того чтобы минимизировать вероятность неверного соединения, КАБЕЛЬ ПАЦИЕНТА в месте соединения с ПРОВОДАМИ ОТВЕДЕНИЯ должен быть постоянно маркирован, по крайней мере одним идентификатором (идентификатором ЭЛЕКТРОДА и/или цветовым кодированием), определенным в таблице 201.102. Оба конца отсоединяемых ПРОВОДОВ ОТВЕДЕНИЯ должны быть постоянно маркированы одинаковыми идентификаторами.
Таблица 201.102
ЭЛЕКТРОДЫ И НЕЙТРАЛЬНЫЕ ЭЛЕКТРОДЫ, ИХ ПОЛОЖЕНИЕ,
идентификация и цвет
Система ОТВЕДЕНИЙ | Код 1 (обычно европейский) | Код 2 (обычно американский) | Позиция электродов на поверхности тела |
Идентификатор ЭЛЕКТРОДА | Цветовой код ЭЛЕКТРОДА | Идентификатор ЭЛЕКТРОДА | Цветовой код ЭЛЕКТРОДА |
Конечности | R | Красный | RA | Белый | Правая рука |
L | Желтый | LA | Черный | Левая рука |
F | Зеленый | LL | Красный | Левая нога |
Грудные по Вильсону | C | Белый | V | Коричневый | Единственный перемещаемый грудной электрод |
C1 | Белый/красный | V1 | Коричневый/красный | Четвертое межреберье у правого края грудины |
C2 | Белый/желтый | V2 | Коричневый/желтый | Четвертое межреберье у левого края грудины |
C3 | Белый/зеленый | V3 | Коричневый/зеленый | Пятое ребро между C2 и C4 |
C4 | Белый/коричневый | V4 | Коричневый/синий | Пятое межреберье по левой срединно-ключичной линии |
C5 | Белый/черный | V5 | Коричневый/оранжевый | По левой передней подмышечной линии на уровне C4 по горизонтали |
C6 | Белый/фиолетовый | V6 | Коричневый/фиолетовый | По левой среднеподмышечной линии на уровне C4 по горизонтали |
По Франку | I | Голубой/красный | I | Оранжевый/красный | По правой среднеподмышечной линии <a> |
E | Голубой/желтый | E | Оранжевый/желтый | На передней срединной линии <a> |
C | Голубой/зеленый | C | Оранжевый/зеленый | Между передней срединной линией и левой среднеподмышечной линией под углом 45° |
A | Голубой/коричневый | A | Оранжевый/коричневый | По левой среднеподмышечной линии <a> |
M | Голубой/черный | M | Оранжевый/черный | По задней срединной линии <a> |
H | Голубой/фиолетовый | H | Оранжевый/фиолетовый | Сзади шеи |
F | Зеленый | F | Красный | На левой ноге |
N или RF | Черный | RL | Зеленый | Правая нога (НЕЙТРАЛЬНЫЙ ЭЛЕКТРОД) |
<a> Расположение на уровне желудочков, если известно, или в противном случае - в пятом межреберье. |
201.7.9.2.9 Порядок работы
Дополнение:
201.7.9.2.9.101 Дополнительные инструкции по эксплуатации
a) Инструкция по эксплуатации должна включать следующее:
1) ПРЕДУСМОТРЕННОЕ ПРИМЕНЕНИЕ, включая условия эксплуатации;
2) предупреждение, что проводящие части ЭЛЕКТРОДОВ и связанные соединители РАБОЧИХ ЧАСТЕЙ, включая НЕЙТРАЛЬНЫЕ ЭЛЕКТРОДЫ, не должны контактировать с любыми другими проводящими частями, включая землю;
3) инструкции по подсоединению ПРОВОДА ВЫРАВНИВАНИЯ ПОТЕНЦИАЛОВ, если применимо;
4)* принимаемые меры предосторожности при использовании на ПАЦИЕНТЕ дефибриллятора; описание того, как разряд дефибриллятора влияет на ME ИЗДЕЛИЕ; предупреждение, что защита от дефибриллятора требует использования ПРИНАДЛЕЖНОСТЕЙ, определенных ИЗГОТОВИТЕЛЕМ, включая ЭЛЕКТРОДЫ, ПРОВОДА ОТВЕДЕНИЙ И КАБЕЛИ ПАЦИЕНТА. Должна быть приведена спецификация (или артикул) таких ПРИНАДЛЕЖНОСТЕЙ (см.
201.8.5.5.1);
5) указания клиническому ОПЕРАТОРУ, касающиеся того, включает ли ME ИЗДЕЛИЕ средства защиты ПАЦИЕНТА от ожогов при использовании ВЫСОКОЧАСТОТНОГО (ВЧ) ЭЛЕКТРОХИРУРГИЧЕСКОГО АППАРАТА. Указания должны касаться расположения ЭЛЕКТРОДОВ и проводов отведений и т.д. для снижения опасности ожога в случае дефектов соединений нейтрального электрода ВЫСОКОЧАСТОТНОГО ЭЛЕКТРОХИРУРГИЧЕСКОГО АППАРАТА.
Примечание - "Нейтральный электрод": здесь имеется в виду термин, определенный в МЭК 60601-2-2, 201.3.227;
6) рекомендации по выбору и использованию определенных КАБЕЛЕЙ ПАЦИЕНТА И ПРОВОДОВ ОТВЕДЕНИЙ; выбору и использованию ЭЛЕКТРОДОВ;
7)* советы, касающиеся проверок ME ИЗДЕЛИЯ И ПРИНАДЛЕЖНОСТЕЙ, ежедневных (проводимых клиническим ОПЕРАТОРОМ) и плановых (проводимых сервисной службой). Необходимо сделать акцент на том, как врачи могут проверить визуальные и звуковые СИГНАЛЫ ОПАСНОСТИ;
8) объяснение ТЕХНИЧЕСКИХ УСЛОВИЙ СРАБАТЫВАНИЯ СИГНАЛИЗАЦИИ (см.
208.6.8.101);
9) объяснение того, как на отображаемое значение частоты сердечных сокращений может повлиять работа кардиостимулятора и/или наличие аритмий;
10) исходные настройки (например, УСТАНОВКИ СИГНАЛИЗАЦИИ, режимов и фильтров);
11) процедуры, допускающие состояние инактивации СИГНАЛОВ ОПАСНОСТИ (СИГНАЛИЗАЦИЯ ПРИОСТАНОВЛЕНА, ЗВУКОВАЯ СИГНАЛИЗАЦИЯ ПРИОСТАНОВЛЕНА, СИГНАЛИЗАЦИЯ ОТКЛЮЧЕНА, ЗВУКОВАЯ СИГНАЛИЗАЦИЯ ОТКЛЮЧЕНА), и функции ПЕРЕЗАПУСКА СИГНАЛИЗАЦИИ, управляемые дистанционно (см.
208.6.11.101), если предусмотрены;
12) методы обнаружения простых ошибок при поиске неисправностей, с помощью которых клинический ОПЕРАТОР может выявить проблему в случае некорректной работы ME ИЗДЕЛИЯ.
Примечание - Это относится к несложным затруднениям, но не к техническим неисправностям;
13) значения амплитуды, длительности импульса и выбросов импульсов кардиостимулятора, подавляемые ME ИЗДЕЛИЕМ (см.
201.12.1.101.13);
14) последующая работа ME ИЗДЕЛИЯ после прерывания в ПИТАЮЩЕЙ СЕТИ в течение более, чем 30 с (см.
201.11.8);
15) описание того, как отключить СИГНАЛЫ ОПАСНОСТИ для ТЕХНИЧЕСКИХ УСЛОВИЙ СРАБАТЫВАНИЯ СИГНАЛИЗАЦИИ, если ПРОВОДА ОТВЕДЕНИЙ или модули специально отсоединяются клиническим ОПЕРАТОРОМ;
16) советы по предпочтительным НАСТРОЙКАМ СИГНАЛИЗАЦИИ и конфигурации СИСТЕМЫ СИГНАЛИЗАЦИИ, если ее предполагаемое использование включает контроль ПАЦИЕНТА, не требующий постоянного внимания ОПЕРАТОРА.
b) Должны быть указаны следующие функциональные характеристики.
1) Контроль дыхания, отключения отведений и активное ПОДАВЛЕНИЕ ШУМА.
Для ME ИЗДЕЛИЯ, разработанного с возможностью специального приложения тока к ПАЦИЕНТУ с целью контроля дыхания и/или контроля отключения отведений и/или активного ПОДАВЛЕНИЯ ШУМА, ИЗГОТОВИТЕЛЬ должен приводить характеристики сигнала(ов) (в виде напряжения, тока, частоты или других электрических параметров), прикладываемого(ых) к ПАЦИЕНТУ.
2) Возможности ПОДАВЛЕНИЯ высокого
T-зубца.
Должна быть приведена максимальная амплитуда
T-зубца, которая может быть подавлена в соответствии с
201.12.1.101.17.
3) Усреднение частоты сердечных сокращений.
Должен быть приведен тип усреднения, проводимого для вычисления числа сердечных сокращений в минуту и, если применимо, частота обновления отображаемых значений.
4) Точность измерения частоты сердечных сокращений и реакция на нерегулярный ритм.
Должны быть указаны отображаемые частоты сердечных сокращений после периода стабилизации ME ИЗДЕЛИЯ в 20 с, для четырех типов перемежающихся ЭКГ комплексов A1 - A4, показанных на
рисунке 201.101.
5) Время реакции измерения частоты сердечных сокращений на изменение частоты сердечных сокращений.
Должно быть указано максимальное время, округленное до секунд и включающее время обновления ME ИЗДЕЛИЯ, необходимое для отображения устройством для измерения частоты сердечных сокращений новой частоты сердечных сокращений, ступенчато изменившейся с 80 до 120 мин-1 и ступенчато уменьшившейся с 80 до 40 мин-1. Время реакции измеряется с момента первого QRS комплекса новой частоты сердечных сокращений до момента времени, когда устройство для измерения частоты сердечных сокращений впервые показывает значение, равное 37% показаний частоты сердечных сокращений при 80 мин-1 плюс - (a) для ступенчатого увеличения, 63% установившихся показаний при 120 мин-1 или более, и - (b) для ступенчатого уменьшения, 63% установившихся показаний при 40 мин-1 или менее.
6) Время срабатывания сигнализации при тахикардии.
Должно быть указано время срабатывания сигнализации при двух сигналах желудочковой тахикардии B1 и B2, показанных на
рисунке 201.101, следующих за нормальной частотой сердечных сокращений в 80 мин
-1 с верхним ПРЕДЕЛОМ СРАБАТЫВАНИЯ СИГНАЛИЗАЦИИ, установленным максимально близко к 100 мин-
1, и НИЖНИМ ПРЕДЕЛОМ СРАБАТЫВАНИЯ СИГНАЛИЗАЦИИ, установленным максимально близко к 60 мин
-1. Также необходимо указать, если в ME ИЗДЕЛИИ не срабатывает сигнализация для любого из этих сигналов. Кроме того, необходимо указать время срабатывания сигнализации для данных сигналов с уменьшенной и увеличенной в два раза амплитудой.
7) Предупреждающая этикетка о ПОДАВЛЕНИИ импульсов кардиостимуляторов.
В инструкции по эксплуатации должно быть приведено следующее или аналогичное предупреждение: "ВНИМАНИЕ - ПАЦИЕНТЫ С КАРДИОСТИМУЛЯТОРОМ. Устройство для измерения частоты сердечных сокращений может продолжать считать частоту импульсов кардиостимулятора при возникновении остановки сердца или некоторых видов аритмий. Не следует полностью полагаться на СИГНАЛЫ ОПАСНОСТИ устройства для измерения частоты сердечных сокращений. Пациентов с кардиостимулятором следует держать под постоянным контролем. См. данную инструкцию на предмет возможностей ПОДАВЛЕНИЯ импульсов кардиостимулятора данного инструмента" (см.
201.12.1.101.13).
8) Описание визуальных и звуковых СИГНАЛОВ ОПАСНОСТИ.
ИЗГОТОВИТЕЛЬ должен указывать место, где СИГНАЛЫ ОПАСНОСТИ демонстрируются (т.е. центральная станция, у кровати или и там, и там), цвет, размер и модуляцию (мигание), а также частоту или другие характеристики звуковых сигналов.
9) ME ИЗДЕЛИЕ С ВНУТРЕННИМ ИСТОЧНИКОМ ПИТАНИЯ.
Должно быть указано минимальное время работы ME ИЗДЕЛИЯ, предполагая, что батарея новая и полностью заряжена. Если используются перезаряжаемые батареи, ИЗГОТОВИТЕЛЬ должен указывать время зарядки батареи с разряженного состояния до 90% зарядки при НОРМАЛЬНОЙ ЭКСПЛУАТАЦИИ и обслуживании батарей, если применимо. Должны быть даны специальные советы по тому, как определить, что батарея нуждается в замене. Кроме того, также должны быть описаны индикатор по
201.15.4.4.101 и процедуры зарядки батареи.
10) Дополнительный выход.
Должно быть описано, как корректно подсоединять другие устройства к дополнительному выходу ЭКГ сигнала, если он предусмотрен. ИЗГОТОВИТЕЛЬ также должен описать частотный диапазон, коэффициент усиления и временную задержку на передачу для всех дополнительных выходов. ИЗГОТОВИТЕЛЬ также должен описать, как импульсы имплантируемого кардиостимулятора представлены на дополнительном выходе (их включение или отсутствие, и суммируются ли усиленные импульсы кардиостимулятора с сигналом экг).
11) Отключение ПОДАВЛЕНИЯ импульсов кардиостимулятора.
Если предусмотрены доступные клиническому ОПЕРАТОРУ органы управления, позволяющие отключить возможность ME ИЗДЕЛИЯ подавлять импульсы кардиостимулятора, должны быть описаны выбор режима и указано, влияет ли данный режим ПОДАВЛЕНИЯ импульсов кардиостимулятора (см.
201.12.1.101.12 и
201.12.1.101.13) на измерение частоты сердечных сокращений.
Должны быть указаны доступные временные развертки ПОСТОЯННОГО И НЕПОСТОЯННОГО ИЗОБРАЖЕНИЯ на ME ИЗДЕЛИИ.
Желудочковая бигеминия: общая продолжительность двойного
комплекса - 1500 мс; частота сердечных сокращений -
80 мин-1, если считать все комплексы QRS, и 40 мин-1,
если считать только больший R-зубец или S-зубец
Медленно сменяющаяся желудочковая бигеминия: частота
сердечных сокращений - 60 мин-1, если считать все комплексы
QRS, и 30 мин-1, если считать только больший комплекс
Быстро сменяющаяся желудочковая бигеминия: частота сердечных
сокращений - 120 мин-1, если считать все комплексы QRS
Двунаправленные систолы: частота сердечных сокращений -
90 мин-1, если считать все комплексы QRS, и 45 мин-1,
если считать только больший комплекс
Желудочковая тахикардия: размах 1 мВ и частота
сердечных сокращений 206 мин-1
Желудочковая тахикардия: размах 2 мВ и частота
сердечных сокращений 195 мин-1
Примечание - Эти испытательные образцы ЭКГ (A1 - B2) с определенной шкалой амплитуд и времени доступны на http://www.physionet.org. Коэффициент усиления или регулятор усиления могут регулироваться для каждого сигнала.
Рисунок 201.101 - Сигналы с переменными
QRS
комплексами и желудочковой тахикардией для испытания
способности распознавания в соответствии
201.8. Защита от опасностей поражения электрическим током
Применяют пункт 8 общего стандарта, за исключением следующего:
201.8.3* Классификация РАБОЧИХ ЧАСТЕЙ
Замена перечислений a), b) и c):
РАБОЧАЯ ЧАСТЬ должна быть РАБОЧЕЙ ЧАСТЬЮ ТИПА CF.
201.8.5.2.3* Отведения ПАЦИЕНТА
Соединители ПРОВОДОВ ОТВЕДЕНИЙ для любого отсоединяемого ЭЛЕКТРОДА при отделении от ЭЛЕКТРОДА должны иметь воздушный зазор между ножками соединителя и поверхностью, по крайней мере, 0,5 мм.
Соответствие проверяют осмотром.
201.8.5.5 РАБОЧАЯ ЧАСТЬ С ЗАЩИТОЙ ОТ РАЗРЯДА ДЕФИБРИЛЛЯТОРА
201.8.5.5.1* Защита от разряда дефибриллятора
Дополнение:
Для ME ИЗДЕЛИЯ должна быть предусмотрена защита от влияния дефибрилляции.
При испытании на дефибрилляцию ME ИЗДЕЛИЕ работает с использованием КАБЕЛЕЙ ПАЦИЕНТА, определенных ИЗГОТОВИТЕЛЕМ.
Следующие требования и испытания применяют в дополнение к требованиям и испытаниям, определенным в 8.5.5.1 общего стандарта.
Синфазное испытание
Дополнение:
В течение 5 с после воздействия напряжения дефибрилляции ME ИЗДЕЛИЕ должно восстановить нормальную работу в предшествующем режиме работы, не утратив никаких настроек ОПЕРАТОРА или сохраненных данных, и продолжать выполнять свою предусмотренную функцию, как определено в настоящем частном стандарте.
Для ME ИЗДЕЛИЯ КЛАССА I прикладывают испытательное напряжение между всеми ПРОВОДАМИ ОТВЕДЕНИЙ, включая НЕЙТРАЛЬНЫЙ ЭЛЕКТРОД, соединенными вместе, и ЗАЖИМОМ ЗАЩИТНОГО ЗАЗЕМЛЕНИЯ. При данном испытании ME ИЗДЕЛИЕ включено.
В случае ME ИЗДЕЛИЯ КЛАССА II и ME ИЗДЕЛИЯ с ВНУТРЕННИМ ИСТОЧНИКОМ ПИТАНИЯ испытательное напряжение прикладывают между всеми ПРОВОДАМИ ОТВЕДЕНИЙ, включая НЕЙТРАЛЬНЫЙ ЭЛЕКТРОД, соединенными вместе, и ЗАЖИМОМ ЗАЩИТНОГО ЗАЗЕМЛЕНИЯ и/или металлической фольгой, находящейся в тесном контакте с корпусом. При данном испытании ME ИЗДЕЛИЕ включено.
ME ИЗДЕЛИЕ с ВНУТРЕННИМ ИСТОЧНИКОМ ПИТАНИЯ, заряжаемым от СЕТИ, испытывают с и без подсоединения к сети, если ME ИЗДЕЛИЕ может работать при подключении к СЕТИ.
Устанавливают КОЭФФИЦИЕНТ УСИЛЕНИЯ ME ИЗДЕЛИЯ так, чтобы синусоидальный сигнал с размахом 5 мВ приводил к максимальному отклонению на дисплее, без ограничения. При закрытом переключателе S2 и открытом переключателе S3 регулируют генератор синусоидального сигнала с частотой 10 Гц так, чтобы он давал выходной сигнал с размахом 5 мВ. Открывают переключатель S2 и закрывают переключатель S3.
Соединяют переключатель S1 с позицией A и заряжают емкость C. Примерно через 10 с соединяют переключатель S1 с позицией B. Оставляют его в позиции B на 200 мс +/- 50%. Позволяют начаться восстановлению, открыв переключатель S1 для снятия остаточного напряжения с ME ИЗДЕЛИЯ.
Одновременно закрывают переключатель S2 и открывают переключатель S3. В течение 5 с проверяют, что записываемый испытательный сигнал составляет не менее 80% от выхода до воздействия.
Повторяют приведенное выше испытание с обратной полярностью источника высокого напряжения. Повторяют испытания с положительной и отрицательной полярностями пять раз.
ME ИЗДЕЛИЕ должно восстанавливать нормальную работу в предшествующем режиме работы, не утратив никаких настроек ОПЕРАТОРА или сохраненных данных, и должно продолжать выполнять свое ПРЕДУСМОТРЕННОЕ ПРИМЕНЕНИЕ, как определено в настоящем частном стандарте.
Дифференциальное испытание
В течение 5 с после воздействия напряжения дефибрилляции ME ИЗДЕЛИЕ должно восстановить нормальную работу в предшествующем режиме работы, не утратив никаких настроек ОПЕРАТОРА или сохраненных данных, и продолжать выполнять свою предусмотренную функцию, как определено в настоящем частном стандарте.
ME ИЗДЕЛИЕ С ВНУТРЕННИМ ИСТОЧНИКОМ ПИТАНИЯ, заряжаемым от ПИТАЮЩЕЙ СЕТИ, испытывают с и без подсоединения к ПИТАЮЩЕЙ СЕТИ, если ME ИЗДЕЛИЕ может работать при подключении к ПИТАЮЩЕЙ СЕТИ.
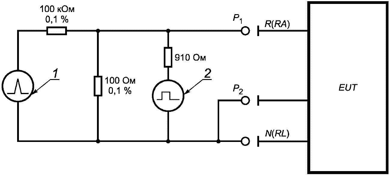
Соответствие проверяют следующим испытанием:
ME ИЗДЕЛИЕ подсоединяют к испытательной схеме, показанной на рисунке 201.102. Испытательное напряжение прикладывают к каждому ПРОВОДУ ОТВЕДЕНИЯ по очереди со всеми остальными ПРОВОДАМИ ОТВЕДЕНИЙ, замкнутыми на землю. В начале испытание проводится приложением испытательного напряжения между ПРОВОДОМ ОТВЕДЕНИЯ L (LA) и всеми остальными, соединенными с ПРОВОДОМ ОТВЕДЕНИЯ N (RL). При данном испытании ME ИЗДЕЛИЕ включено.
Устанавливают КОЭФФИЦИЕНТ УСИЛЕНИЯ так, чтобы сигнал 5 мВ приводил к максимальному отклонению на дисплее, без ограничения. При закрытом переключателе S2 регулируют генератор синусоидального сигнала частотой 10 Гц так, чтобы он давал выходной сигнал с размахом 5 мВ. Открывают переключатель S2.
Соединяют переключатель S1 с позицией A и заряжают емкость C. Примерно через 10 с соединяют переключатель S1 с позицией B. Оставляют его в позиции B на 200 мс +/- 50%.
Открывают переключатель S1 для снятия остаточного напряжения с ME ИЗДЕЛИЯ и позволяют начаться восстановлению.
Одновременно закрывают переключатель S2. В течение 5 с проверяют, что записываемый испытательный сигнал составляет не менее 80% от выхода до воздействия.
Повторяют испытание с любым другим ПРОВОДОМ ОТВЕДЕНИЯ в соответствии с таблицей 201.103 со всеми остальными ПРОВОДАМИ ОТВЕДЕНИЙ, соединенными с ПРОВОДОМ ОТВЕДЕНИЯ N (RL). Если указано более одного испытания, разряд проводят с интервалом в 20 с.
Таблица 201.103
Защита от влияния дефибрилляции (условия испытания)
| P1 | P2 | Настройки отведения | Число испытаний |
ПЯТЬ ПРОВОДОВ ОТВЕДЕНИЙ | L (LA) | R, F, N, C (RA, LL, RL, V) | I | 1 |
R (RA) | F, L, N, C (LL, LA, RL, V) | II | 1 |
F (LL) | L, R, N, C (LA, RA, RL, V) | III | 1 |
N (RL) | L, R, F, C (LA, RA, LL, V) | Вспомогательные | 1 |
C (V) | L, R, F, N (LA, RA, LL, RL) | V | 1 |
ТРИ ПРОВОДА ОТВЕДЕНИЙ | L (LA) | R, F или N (RA, LL или RL) | I | 2 |
R (RA) | L, F или N (LA, LL или RL) | I | 2 |
F (LL) или N (RL) | R, L (RA, LA) | II или вспомогательные | 2 |
ДВА ПРОВОДА ОТВЕДЕНИЙ | L (LA) | R (RA) | I | 1 |
Примечание - Столбец "Число испытаний" в
таблице 201.103 применяется только в испытаниях на защиту от дефибрилляции. Для других испытаний число испытаний равно одному.
G - генератор синусоидального сигнала с размахом 20 В
и частотой 10 Гц; V1 - источник высокого напряжения 5 кВ
постоянного тока; S1 - переключатель; максимальная нагрузка
60 А, 5 кВ; S2 - переключатель, подключающий источник
сигнала, 5 кВ; RL - сопротивление по постоянному току
катушки L; RV - сопротивление, ограничивающее ток заряда
конденсатора C; P1, P2 - точки соединения EUT (ВКЛЮЧАЯ
КАБЕЛИ ПАЦИЕНТА); EUT - испытуемое изделие
Испытания ПРОВОДЯТ С КАБЕЛЯМИ ПАЦИЕНТА И ПРОВОДАМИ ОТВЕДЕНИЙ, рекомендованными ИЗГОТОВИТЕЛЕМ.
Рисунок 201.102 - Испытание защиты от влияния дефибрилляции
(дифференциальный режим)
G - генератор синусоидального сигнала с размахом 20 В
и частотой 10 Гц; V1 - источник высокого напряжения 5 кВ
постоянного тока; F - фольга, моделирующая емкость
для ИЗДЕЛИЙ КЛАССА II; S1 - переключатель: максимальная
нагрузка 60 А, 5 кВ; S2 - переключатель, подключающий
источник сигнала, 5 кВ; S3 - переключатель, соединяющий
источник сигнала с проводом отведения; RL - сопротивление
по постоянному току катушки L; RV - сопротивление,
ограничивающее ток заряда конденсатора C; P1 - точка
соединения EUT (включая КАБЕЛИ ПАЦИЕНТА); P2 - точка
соединения с ЗАЖИМОМ РАБОЧЕГО ЗАЗЕМЛЕНИЯ и/или металлической
фольги, контактирующей с КОРПУСОМ; EUT - испытуемое изделие
Испытания проводят с КАБЕЛЯМИ ПАЦИЕНТА и ПРОВОДАМИ ОТВЕДЕНИЙ, рекомендованными ИЗГОТОВИТЕЛЕМ.
Рисунок 201.103 - Испытание защиты от влияния дефибрилляции
201.8.5.5.2 Испытание снижения уровня энергии
Заменить рисунок 11 на рисунок 201.104:
1 - оборудование для измерения энергии; V1 - источник
высокого напряжения 5 кВ постоянного тока; S -
переключатель: максимальная нагрузка 60 А, 5 кВ; RL -
сопротивление по постоянному току катушки L; RV -
сопротивление, ограничивающее ток заряда конденсатора C;
E, F - точки соединения с оборудованием для испытания
энергии; C, D - точки соединения EUT (включая КАБЕЛИ
ПАЦИЕНТА); EUT - испытуемое изделие
Оборудованием для измерения энергии может быть устройство для испытания дефибриллятора.
Испытания проводят с КАБЕЛЯМИ ПАЦИЕНТА и ПРОВОДАМИ ОТВЕДЕНИЙ, рекомендованными ИЗГОТОВИТЕЛЕМ.
Рисунок 201.104 - Приложение испытательного напряжения
между проводами отведений для испытания энергии,
доставляемой дефибриллятором
201.9. Защита от МЕХАНИЧЕСКИХ ОПАСНОСТЕЙ, создаваемых ME ИЗДЕЛИЯМИ и ME СИСТЕМАМИ
Применяют пункт 9 общего стандарта.
201.10. Защита от ОПАСНОСТЕЙ воздействия нежелательного или чрезмерного излучения
Применяют пункт 10 общего стандарта.
201.11. Защита от чрезмерных температур и других ОПАСНОСТЕЙ
Применяют пункт 11 общего стандарта, за исключением следующего:
201.11.6.5 *Проникание воды или твердых частиц в ME ИЗДЕЛИЯ и ME СИСТЕМЫ
Дополнение:
ПЕРЕНОСНОЕ/ТРАНСПОРТИРУЕМОЕ ME ИЗДЕЛИЯ или части ME ИЗДЕЛИЯ, которые могут быть отделены с сохранением функционального назначения, должны быть разработаны таким образом, чтобы в случае разбрызгивания жидкости (случайного увлажнения) не возникало ОПАСНЫХ СИТУАЦИЙ из-за попадания жидкости внутрь.
ME ИЗДЕЛИЕ должно соответствовать требованиям к электрической прочности изоляции, определенным в 8.8.3 общего стандарта ME ИЗДЕЛИЯ и требованиям настоящего частного стандарта.
Соответствие проверяют следующим испытанием:
Помещают ПЕРЕНОСНОЕ/ТРАНСПОРТИРУЕМОЕ ME ИЗДЕЛИЕ или части ME ИЗДЕЛИЯ в наименее благоприятную позицию при НОРМАЛЬНОЙ ЭКСПЛУАТАЦИИ. Подвергают ME ИЗДЕЛИЕ в течение 30 с воздействию искусственных осадков со скоростью 3 мм/мин, падающих вертикально с высоты, превышающей верхнюю поверхность ME ИЗДЕЛИЯ на 0,5 м.
Испытательная аппаратура приведена в МЭК 60529, рисунок 3.
Могут быть использованы прерывающие устройства для регулирования продолжительности испытания.
Сразу после 30 с воздействия с КОРПУСА удаляют всю видимую влагу.
Сразу после испытания, приведенного выше, проверяют (осмотром), что любая вода, проникшая в ME ИЗДЕЛИЕ, не может оказать негативное влияние на ОСНОВНУЮ БЕЗОПАСНОСТЬ ME ИЗДЕЛИЯ. Проверяют, что ME ИЗДЕЛИЕ показывает соответствие в соответствующих испытаниях на электрическую прочность изоляции (см. 8.8.3 общего стандарта) и не приводит к ОПАСНЫМ СИТУАЦИЯМ.
После данного испытания проверяют, что ME ИЗДЕЛИЕ соответствует требованиям настоящего частного стандарта.
201.11.8* Прерывание питания/ПИТАЮЩЕЙ СЕТИ ME ИЗДЕЛИЯ
Дополнение:
При прерывании ПОДАЧИ ПИТАНИЯ ME ИЗДЕЛИЯ на 30 с или менее, не должно возникать изменений настроек ОПЕРАТОРА, включая режим работы, и все сохраненные данные ПАЦИЕНТА должны оставаться доступными.
Примечание - ME ИЗДЕЛИЕ не должно работать во время прерывания ПОДАЧИ ПИТАНИЯ.
Соответствие проверяют контролем режима работы ME ИЗДЕЛИЯ, настроек ОПЕРАТОРА и сохраненных данных при прерывании ПОДАЧИ ПИТАНИЯ на период от 25 до 30 с, полученном отсоединением ШНУРА ПИТАНИЯ.
Если ПОДАЧА ПИТАНИЯ прерывается более чем на 30 с, последующая работа должна соответствовать одному из следующих вариантов:
- возврат к исходным настройкам ИЗГОТОВИТЕЛЯ;
- возврат к предыдущим исходным настройкам ОТВЕТСТВЕННОЙ ОРГАНИЗАЦИИ или
- возврат к последним использованным настройкам.
Примечание - Могут быть предусмотрены средства, позволяющие ОПЕРАТОРУ выбрать один или более одного из приведенных выше вариантов.
Соответствие проверяют функциональными испытаниями.
Если ME ИЗДЕЛИЕ включает ВНУТРЕННИЙ ИСТОЧНИК ПИТАНИЯ и прерывается ПОДАЧА ПИТАНИЯ ОТ СЕТИ, ME ИЗДЕЛИЕ должно продолжать нормальную работу за счет автоматического переключения на работу от ВНУТРЕННЕГО ИСТОЧНИКА ПИТАНИЯ, и режим работы, все настройки ОПЕРАТОРА и сохраненные данные не должны измениться. Для поддержания соответствия ME ИЗДЕЛИЯ настоящему стандарту могут быть предприняты меры по сохранению питания.
Переход работы ME ИЗДЕЛИЯ на ВНУТРЕННИЙ ИСТОЧНИК ПИТАНИЯ должен визуально отображаться.
Соответствие проверяют прерыванием ПОДАЧИ ПИТАНИЯ и контролем того, что настройки ОПЕРАТОРА и сохраненные данные не изменяются, продолжается нормальная работы и визуальная индикация отображает, что ME ИЗДЕЛИЕ работает от ВНУТРЕННЕГО ИСТОЧНИКА ПИТАНИЯ. Переключатель "ВКЛ.-ВЫКЛ." должен оставаться в положении "ВКЛ.".
Дополнение:
201.11.8.101* Защита от разряда батареи
ME ИЗДЕЛИЕ при работе от ВНУТРЕННЕГО ИСТОЧНИКА ПИТАНИЯ не должно вызывать ОПАСНЫХ СИТУАЦИЙ для ПАЦИЕНТА, если состояние разряда ВНУТРЕННЕГО ИСТОЧНИКА ПИТАНИЯ не может поддерживать НОРМАЛЬНУЮ ЭКСПЛУАТАЦИЮ ME ИЗДЕЛИЯ. ME ИЗДЕЛИЕ должно обеспечивать ТЕХНИЧЕСКИЕ УСЛОВИЯ СРАБАТЫВАНИЯ СИГНАЛИЗАЦИИ для информирования клинического ОПЕРАТОРА о состоянии разрядки и должно отключать электропитание контролируемым образом, как приведено ниже:
a) ME ИЗДЕЛИЕ должно обеспечивать ТЕХНИЧЕСКИЕ УСЛОВИЯ СРАБАТЫВАНИЯ СИГНАЛИЗАЦИИ по крайней мере за 5 мин до того момента, как ME ИЗДЕЛИЕ перестанет функционировать в соответствии со спецификацией ИЗГОТОВИТЕЛЯ при питании от ВНУТРЕННЕГО ИСТОЧНИКА ПИТАНИЯ.
Соответствие проверяют функциональными испытаниями.
b) Если уровень разряда любого ВНУТРЕННЕГО ИСТОЧНИКА ПИТАНИЯ таков, что ME ИЗДЕЛИЕ не может функционировать в соответствии со спецификацией ИЗГОТОВИТЕЛЯ, ME ИЗДЕЛИЕ должно выключить питание таким способом, который не вызовет ОПАСНЫХ СИТУАЦИЙ для ПАЦИЕНТА.
Соответствие проверяют работой ME ИЗДЕЛИЯ от ВНУТРЕННЕГО ИСТОЧНИКА ПИТАНИЯ и функциональными испытаниями.
201.12. Точность органов управления и измерительных приборов и защита от опасных значений выходных характеристик
Применяют пункт 12 общего стандарта, за исключением следующего:
201.12.1* Точность органов управления и измерительных приборов
Дополнение:
201.12.1.101* ОСНОВНЫЕ ФУНКЦИОНАЛЬНЫЕ ХАРАКТЕРИСТИКИ ME ИЗДЕЛИЯ
201.12.1.101.1 Точность воспроизведения сигнала
Входной сигнал в диапазоне от минус 5 до плюс 5 мВ со скоростью нарастания/спада до 125 мВ/с должен воспроизводиться с погрешностью в пределах +/- 20% номинального выходного значения или +/- 100 мкВ, в зависимости от того, что больше.
Соответствие проверяют, используя испытательную схему, показанную на рисунке 201.105.
Открывают переключатель S1, закрывают переключатели S и S2 и устанавливают переключатель S4 в положение B. Подсоединяют генератор сигнала так, чтобы он подавал треугольный сигнал частотой 2 Гц между любым из ПРОВОДОВ ОТВЕДЕНИЯ и всеми другими ПРОВОДАМИ ОТВЕДЕНИЯ, соединенными с ПРОВОДОМ ОТВЕДЕНИЯ N (RL) (P2), как определено в таблице 201.103. Устанавливают коэффициент усиления 10 мм/мВ и скорость развертки 25 мм/с. Регулируют генератор сигнала так, чтобы он обеспечивал выход с размахом, который соответствует 100% размаху выхода НА НЕПОСТОЯННОМ или ПОСТОЯННОМ ИЗОБРАЖЕНИИ (если предусмотрено). Уменьшают выход генератора сигнала в 2, 5 и 10 раз. Отображаемый выход должен быть линейным в пределах +/- 20% или +/- 100 мкВ максимального отображаемого выходного сигнала.
Повторяют эти действия для каждого ПРОВОДА ОТВЕДЕНИЯ и НЕПОСТОЯННЫХ и ПОСТОЯННЫХ ИЗОБРАЖЕНИЙ, если предусмотрены, до тех пор, пока не будут перебраны все комбинации испытуемых ПРОВОДОВ ОТВЕДЕНИЙ и отображающих устройств, как определено в таблице 201.103.
Соединяют генератор сигнала между любым из ПРОВОДОВ ОТВЕДЕНИЯ и всеми другими ПРОВОДАМИ ОТВЕДЕНИЯ, соединенными с ПРОВОДОМ ОТВЕДЕНИЯ N (RL) (P2). Регулируют генератор сигнала таким образом, чтобы он обеспечивал синусоидальный сигнал размахом 2 мВ и частотой 20 Гц. Устанавливают коэффициент усиления 10 мм/мВ и скорость развертки 25 мм/с. Проверяют, что выходной сигнал полностью виден и результирующий размах находится между 16 и 24 мм.
1 - кабель пациента; 2 - генератор сигнала, выходное
сопротивление менее 1 кОм и линейность +/- 1%; 3 - источник
постоянного напряжения смещения (300 мВ); 4 - экран;
R1,2 - делитель входного напряжения; S1 - переключатель,
закорачивает сопротивление источника сигнала;
S2 - переключатель, закорачивает разбаланс, вызванный
сопротивлением кожи; S3 - переключатель, изменяет
полярность источника постоянного напряжения смещения;
S4 - переключатель, подсоединяет/рассоединяет источник
постоянного напряжения смещения; S - переключатель,
подсоединяет/рассоединяет источник сигнала; P1, P2, P6 -
точки соединения с ПРОВОДАМИ ОТВЕДЕНИЙ; P3, P4 - входной
сигнал ЭКГ; P5 - генератор сигнала, выходной сигнал;
EUT - испытуемое изделие
Экран вокруг всей испытательной схемы минимизирует наводки СЕТЕВОГО НАПРЯЖЕНИЯ.
Рисунок иллюстрирует основную испытательную схему для:
-
201.12.1.101.2 (входной динамический диапазон и дифференциальное смещение напряжения);
| | ИС МЕГАНОРМ: примечание. В официальном тексте документа, видимо, допущена опечатка: имеется в виду подпункт 201.12.1.101.8. | |
-
201.12.1.101.15 (диапазон частот сердечных сокращений, точность и диапазон определения QRS
Рисунок 201.105 - Основная испытательная схема
201.12.1.101.2 Входной динамический диапазон и дифференциальное напряжение смещения
При постоянном дифференциальном смещении в диапазоне от минус 300 до плюс 300 мВ и дифференциальном напряжении входного сигнала в диапазоне от минус 5 до плюс 5 мВ, которое меняется со скоростью до 320 мВ/с при приложении в любому проводу отведения амплитуда выходного сигнала, зависящая от времени, не должна измениться более чем на +/- 10% во всем определенном диапазоне постоянного смещения.
Соответствие проверяют, используя испытательную схему, приведенную на рисунке 201.105.
Открывают переключатель S1, закрывают переключатель S и S2, и устанавливают S4 в положение B. Прилагают треугольный или синусоидальный сигнал частотой 16 Гц между любым из ПРОВОДОВ ОТВЕДЕНИЯ и всеми другими ПРОВОДАМИ ОТВЕДЕНИЯ, соединенными с проводом отведения N (RL) (P2), как определено в таблице 201.103. Устанавливают коэффициент усиления 10 мм/мВ и скорость развертки 25 мм/с. Регулируют генератор сигнала так, чтобы он обеспечивал входной сигнал, образующий выходную амплитуду, равную 80% высоты максимального отображаемого значения. Записывают амплитуду данного выходного сигнала.
Устанавливают S4 в положение A для приложения постоянного напряжения смещения плюс 300 мВ. Измеряют амплитуду времязависимого выходного сигнала. Проверяют, что отличие этой амплитуды находится в пределах +/- 10% ранее записанной амплитуды во всем определенном диапазоне постоянного напряжения смещения. Повторяют данное испытание для постоянного напряжения смещения минус 300 мВ, изменив положение переключателя S3.
Повторяют испытание для каждого ПРОВОДА ОТВЕДЕНИЯ, пока не будут перебраны все комбинации испытуемых ПРОВОДОВ ОТВЕДЕНИЙ, определенных в таблице 201.102.
Повторяют испытание для каждого НЕПОСТОЯННОГО ИЗОБРАЖЕНИЯ и ПОСТОЯННОГО ИЗОБРАЖЕНИЯ.
201.12.1.101.3 * Входной импеданс
Входной импеданс должен быть равен не менее 2,5 МОм в диапазоне постоянного дифференциального смещения +/- 300 мВ. Данное требование не применяется к входам, используемым для измерения кроме ЭКГ (например, респираторным).
Соответствие проверяют, используя испытательную схему, приведенную на рисунке 201.105.
Открывают переключатель S1, закрывают переключатели S и S2 и устанавливают переключатель S4 в положение B. Соединяют генератор синусоидального сигнала между любым из испытуемых отведений (P1 и P2) и всеми другими ПРОВОДАМИ ОТВЕДЕНИЯ, соединенными с ПРОВОДОМ ОТВЕДЕНИЯ N (RL) (P6), как определено в таблице 201.103. Устанавливают коэффициент усиления 10 мм/мВ и скорость развертки 25 мм/с. Регулируют генератор сигнала так, чтобы он обеспечивал синусоидальный сигнал размахом 80% высоты максимального отображаемого значения на любом дисплее при частоте 0,67 Гц. Записывают отображаемую выходную амплитуду для данного коэффициента усиления на постоянном и непостоянном испытываемом дисплее. Открывают переключатель S2 и устанавливают переключатель S4 в положение A. Прилагают постоянное напряжение смещения плюс 300 мВ. Измеренная амплитуда сигнала не должна уменьшаться более чем на 20% на выходном дисплее. Повторяют данное испытание для постоянного напряжения смещения минус 300 мВ. Для постоянного напряжения смещения плюс 300 мВ и минус 300 мВ повторяют испытания для частоты 40 Гц.
Повторяют испытание, приведенное выше, для каждого ПРОВОДА ОТВЕДЕНИЯ, пока не будут перебраны все комбинации испытуемых ПРОВОДОВ ОТВЕДЕНИЙ, определенных в таблице 201.103.
201.12.1.101.4 * Входной шум
Сигнал шума, вызванного усилителем ЭКГ и КАБЕЛЕМ ПАЦИЕНТА, приведенный к входу, не должен превышать 30 мкВ по размаху за период по крайней мере 10 с. Любые режекторные фильтры частоты питающей сети, если они предусмотрены, должны быть включены.
Соответствие проверяют, используя испытательную схему, показанную на рисунке 201.105.
При проведении следующего испытания должен быть использован КАБЕЛЬ(И) ПАЦИЕНТА, определенный(ые) изготовителем:
a) Подключают последовательно с каждым проводом отведения КАБЕЛЯ ПАЦИЕНТА сопротивление 51 кОм параллельно с емкостью 47 нФ, как показано на рисунке 201.107; для данного испытания все переключатели S1 - Sn открыты, а генератор сигнала G и емкость C1 не подключены.
b) Для ME ИЗДЕЛИЯ с установленным максимальным КОЭФФИЦИЕНТОМ УСИЛЕНИЯ, с наибольшим диапазоном частот и с отключенными переключаемыми фильтрами проверяют, что размах шума, приведенного к входу, на ПОСТОЯННОМ и НЕПОСТОЯННОМ ИЗОБРАЖЕНИЯХ не превышает 30 мкВ за период по крайней мере 10 с для каждого положения ПЕРЕКЛЮЧАТЕЛЯ ОТВЕДЕНИЙ.
c) Повторяют это испытание еще девять раз. Проверяют, что предел 30 мкВ не превышается по крайней мере для девяти из 10 испытаний. Все 10 испытаний должны быть проведены за период, не превышающий 30 мин. Во время данных испытаний должны контролироваться КАБЕЛИ ПАЦИЕНТА/ПРОВОДА ОТВЕДЕНИЙ. Между испытаниями КАБЕЛЬ ПАЦИЕНТА не должен отключаться.
201.12.1.101.5 Перекрестные помехи в многоканальных схемах
Если входной сигнал, ограниченный по амплитуде и скорости согласно
201.12.1.101.2, прикладывается между выбранным ОТВЕДЕНИЕМ многоканального ME ИЗДЕЛИЯ и всеми другими ПРОВОДАМИ ОТВЕДЕНИЯ, соединенными с ПРОВОДОМ ОТВЕДЕНИЯ N (RL), нежелательный выход на неиспользуемых ОТВЕДЕНИЯХ не должен превышать 5% прикладываемого входного сигнала.
Для ME ИЗДЕЛИЯ со стандартными ОТВЕДЕНИЯМИ и/или ОТВЕДЕНИЯМИ Франка соответствие проверяют, используя испытательную схему, показанную на рисунке 201.105.
a) Открывают переключатель S1, закрывают переключатели S и S2 и устанавливают S4 в положение B. Соединяют ПРОВОДА ОТВЕДЕНИЙ F (LL), V1 (C1) и, если предусмотрено, ОТВЕДЕНИЕ Франка (E) с P1. Соединяют все другие ПРОВОДА ОТВЕДЕНИЙ через P2 с ПРОВОДОМ ОТВЕДЕНИЯ N (RL) (см. таблицу 201.102) через параллельно соединенную комбинацию сопротивления 51 кОм и емкости 47 нФ.
b) Устанавливают коэффициент усиления 10 мм/мВ и скорость развертки 25 мм/с. Настраивают ME ИЗДЕЛИЕ так, чтобы оно отображало ОТВЕДЕНИЯ I, II и III.
Примечание - Если ME ИЗДЕЛИЕ обеспечивает одновременное отображение менее трех каналов, испытание проводят последовательно для каждого из перечисленных ОТВЕДЕНИЙ.
c) С помощью генератора сигнала прилагают треугольный сигнал размахом 2,5 мВ и частотой 30 Гц между P1 и P2. Записывают отображаемые выходные сигналы ОТВЕДЕНИЯ I или ОТВЕДЕНИЙ Франка X и Y. Проверяют, что полученные значения менее 1,25 мм (5% входного сигнала 2,5 мВ).
d) Соединяют ПРОВОД ОТВЕДЕНИЯ F (LL) с P2 и ПРОВОД ОТВЕДЕНИЯ R (RA) с P1. Все остальные ПРОВОДА ОТВЕДЕНИЙ должны оставаться подсоединенными, как определено в перечислении a). Записывают отображаемые выходные сигналы ОТВЕДЕНИЯ I или ОТВЕДЕНИЙ Франка X и Y. Проверяют, что полученные значения менее 1,25 мм.
e) Соединяют ПРОВОД ОТВЕДЕНИЯ R (RA) с P2 и ПРОВОД ОТВЕДЕНИЯ L (LA) с P1. Все остальные ПРОВОДА ОТВЕДЕНИЙ должны оставаться подсоединенными, как определено в перечислении a). Записывают отображаемые выходные сигналы ОТВЕДЕНИЯ I или ОТВЕДЕНИЙ Франка X и Y. Проверяют, что полученные значения менее 1,25 мм.
| | ИС МЕГАНОРМ: примечание. Нумерация пунктов дана в соответствии с официальным текстом документа. | |
d) Соединяют только ПРОВОД ОТВЕДЕНИЯ C1 (V1) с P1, а все остальные ПРОВОДА ОТВЕДЕНИЙ через P2 с ПРОВОДОМ ОТВЕДЕНИЯ N (RL) через параллельно соединенную комбинацию сопротивления 51 кОм и емкости 47 нФ. Записывают отображаемые выходные сигналы со всех ОТВЕДЕНИЙ. Проверяют, что полученные значения [отображаемый выходной сигнал с каждого ОТВЕДЕНИЯ, за исключением ОТВЕДЕНИЯ C1 (V1)], менее 1,25 мм.
g) Повторяют действия по перечислению f) для ПРОВОДОВ ОТВЕДЕНИЙ C2 (V2) - C6 (V6), соединенных последовательно с P1 и всех остальных ПРОВОДОВ ОТВЕДЕНИЙ, соединенных с P2. Записывают отображаемые выходные сигналы со всех ОТВЕДЕНИЙ. Проверяют, что полученные значения (отображаемый выходной сигнал с каждого ОТВЕДЕНИЯ, за исключением ОТВЕДЕНИЙ, связанных с ПРОВОДАМИ ОТВЕДЕНИЯ, соединенными с P1) менее 1,25 мм.
h) Повторяют действия по перечислению f) для всех других ПРОВОДОВ ОТВЕДЕНИЙ.
i) Для ОТВЕДЕНИЙ Франка, соединяют только ПРОВОДА ОТВЕДЕНИЙ Франка A и F с P1 и все остальные ПРОВОДА ОТВЕДЕНИЙ с P2. ОТВЕДЕНИЯ Франка X и Z должны иметь выходной сигнал менее 1,25 мм (5% входного сигнала 2,5 мВ).
Для ME ИЗДЕЛИЯ с другими ОТВЕДЕНИЯМИ соединение отдельных ПРОВОДОВ ОТВЕДЕНИЯ с P1 и всех других ПРОВОДОВ ОТВЕДЕНИЯ с P2 перед заданием предела перекрестных помех в многоканальных схемах должно учитывать участие определенного ПРОВОДА ОТВЕДЕНИЯ более, чем в одном ОТВЕДЕНИИ.
201.12.1.101.6 Контроль и стабильность КОЭФФИЦИЕНТА УСИЛЕНИЯ
ME ИЗДЕЛИЕ, имеющее ПОСТОЯННЫЕ и НЕПОСТОЯННЫЕ ИЗОБРАЖЕНИЯ, должно обеспечивать по крайней мере одну фиксированную настройку КОЭФФИЦИЕНТА УСИЛЕНИЯ (10 +/- 1,0) мм/мВ. Кроме того, может быть предусмотрен непрерывно изменяемый КОЭФФИЦИЕНТ УСИЛЕНИЯ, если этот режим четко отображается на всех предусмотренных изображениях.
Соответствие проверяют, используя испытательную схему, показанную на рисунке 201.105, и линейку или калибры с точностью в пределах 0,2 мм.
Открывают переключатель S1, закрывают переключатели S, S2 и устанавливают переключатель S4 в положение B. Соединяют ПРОВОДА ОТВЕДЕНИЙ R (RA) с P1, L (LA) с P2 и все другие ПРОВОДА ОТВЕДЕНИЙ с P6. С помощью генератора сигнала прилагают синусоидальный сигнал с размахом 1 мВ и частотой 10 Гц между ПРОВОДАМИ ОТВЕДЕНИЙ R (RA) и L (LA).
Для ПОСТОЯННЫХ ИЗОБРАЖЕНИЙ настройки КОЭФФИЦИЕНТА УСИЛЕНИЯ на 10 мм/мВ должны приводить к амплитуде отображаемого сигнала (10 +/- 1,0) мм. Регулируют амплитуду входного сигнала, если отображаемый сигнал слишком большой или слишком маленький для измерения. Измеряют амплитуду отображаемого сигнала для всех используемых фиксированных настроек КОЭФФИЦИЕНТА УСИЛЕНИЯ. Проверяют, что отображаемая амплитуда сигнала находится в пределах 10% выбранных настроек КОЭФФИЦИЕНТА УСИЛЕНИЯ.
Для НЕПОСТОЯННЫХ ИЗОБРАЖЕНИЙ повторяют данное испытание для всех используемых фиксированных настроек коэффициента усиления. Измеряют амплитуду отображаемого сигнала. Проверяют, что полученные значения находятся в пределах 10% выбранных настроек КОЭФФИЦИЕНТА УСИЛЕНИЯ.
Изменение КОЭФФИЦИЕНТА УСИЛЕНИЯ через одну минуту после подачи питания на ME ИЗДЕЛИЕ не должно превышать 0,66% в минуту. Общее изменение КОЭФФИЦИЕНТА УСИЛЕНИЯ не должно превышать +/- 10% для периодов в 1, 5, 30 и 60 мин.
Соответствие проверяют, используя испытательную схему, показанную на рисунке 201.105, и линейку или калибры с точностью в пределах 0,2 мм.
После стабилизации внешней температуры включают ME ИЗДЕЛИЕ. Устанавливают КОЭФФИЦИЕНТ УСИЛЕНИЯ 10 мм/мВ и скорость развертки 25 мм/с. Прилагают сигнал размахом 1 мВ и частотой 10 Гц. Измеряют амплитуду отображаемого выходного сигнала через 1, 5, 30 и 60 мин. Проверяют, что амплитуда отображаемого выходного сигнала меняется менее чем на +/- 1 мм между любыми измерениями или на 0,66% в минуту. Могут быть использованы другие фиксированные настройки КОЭФФИЦИЕНТА УСИЛЕНИЯ для определения стабильности коэффициента усиления на НЕПОСТОЯННОМ ИЗОБРАЖЕНИИ. В данном случае проверяют, что амплитуда отображаемого выходного сигнала меняется менее чем на +/- 1 мм, умноженный на коэффициент ("выбранный фиксированный коэффициент усиления разделить на 10 мм/мВ") между любыми измерениями или на 0,66% в минуту.
201.12.1.101.7 Скорость развертки
| | ИС МЕГАНОРМ: примечание. В официальном тексте документа, видимо, допущена опечатка: имеется в виду подпункт 201.12.1.101.16, а не 201.12.101.16. | |
ME ИЗДЕЛИЕ с ПОСТОЯННЫМИ ИЗОБРАЖЕНИЯМИ должно обеспечивать по крайней мере одну скорость развертки 25 мм/с +/- 10%. ME ИЗДЕЛИЕ с НЕПОСТОЯННЫМИ ИЗОБРАЖЕНИЯМИ должно обеспечивать по крайней мере одну скорость развертки, которая маркируется как 25 мм/с, и разрешающую способность, как определено в
201.12.101.16 при настройках коэффициента усиления на 10 мм/мВ.
Могут быть предусмотрены другие скорости развертки. ИЗГОТОВИТЕЛЬ должен указывать все доступные скорости развертки [см.
201.7.9.2.9.101, перечисление b) 12)]. Точность скорости развертки для любых настроек не должна меняться более чем на +/- 10% во всем диапазоне канала ЭКГ.
Соответствие проверяют, используя испытательную схему, показанную на рисунке 201.105, и линейку или калибры с точностью в пределах 0,2 мм.
Подсоединяют генератор сигнала между ПРОВОДАМИ ОТВЕДЕНИЯ R (RA) и всеми другими проводами отведения, соединенными с ПРОВОДОМ ОТВЕДЕНИЯ N (RL). Устанавливают коэффициент усиления 10 мм/мВ и скорость развертки 25 мм/с. Прилагают треугольный или синусоидальный сигнал размахом 0,5 мВ и частотой 25 Гц +/- 1%.
Для ПОСТОЯННЫХ ИЗОБРАЖЕНИЙ распечатывают запись, содержащую по крайней мере 6 с прикладываемого сигнала с данной скоростью развертки. Проигнорировав сигнал в интервале 1 с, измеряют расстояние между любыми 25 удачными пиками. Данное расстояние должно быть (25 +/- 2,5) мм. Повторяют измерения по крайней мере три раза на различных частях записи и проверяют, что эти измерения остаются в пределах (25 +/- 2,5) мм.
Для НЕПОСТОЯННЫХ ИЗОБРАЖЕНИЙ измеряют ширину (в мм) части дисплея, отображающей сигнал на высоте средней точки по вертикали данного сигнала. Используя либо фотографию изображения, либо захват изображения с дисплея, подсчитывают число верхних или нижних пиков на данном изображении/фотографии. Разделяют измеренную ширину канала сигнала (в мм) на число пиков (данного сигнала 25 Гц). Данное полученное значение должно быть в пределах (1 +/- 0,1) мм.
Другие доступные скорости развертки проверяют визуальным осмотром.
201.12.1.101.8* Частотные и импульсные характеристики
Частотные и импульсные характеристики ME ИЗДЕЛИЯ должны соответствовать следующим требованиям:
a) Частотные характеристики
ME ИЗДЕЛИЕ должно соответствовать, по крайней мере, следующим требованиям к частотным характеристикам (частотному диапазону): от 0,67 до 40 Гц при испытании с входными сигналами из методов
A и
B. Для метода
A амплитуда выходного сигнала при 0,67 и 40 Гц должна быть в пределах от 71% до 110% амплитуды выходного сигнала, полученного для синусоидального входного сигнала частотой 5 Гц. Для метода
B, амплитуда выходного сигнала, полученная для сигнала, показанного на
рисунке 201.106, с шириной основания 20 мс, должна быть в пределах от 75% до 100% амплитуды выходного сигнала, полученного с шириной основания 200 мс.
Соответствие проверяют, используя испытательную схему, показанную на рисунке 201.105, и методы A и B. Убеждаются, что узкополосный фильтр частоты сети, если он предусмотрен, отключен для данного испытания.
Если в ME ИЗДЕЛИИ предусмотрен дополнительный выбор частотного диапазона ЭКГ или настройки фильтра, испытывают соответствующим образом все настройки, определенные ИЗГОТОВИТЕЛЕМ.
Метод A: Открывают переключатель S1, закрывают переключатели S и S2 и устанавливают S4 в положение B. Устанавливают КОЭФФИЦИЕНТ УСИЛЕНИЯ 10 мм/мВ и скорость развертки 25 мм/с. С помощью генератора сигнала прилагают синусоидальный сигнал размахом 1 мВ и частотой 5 Гц между ПРОВОДОМ ОТВЕДЕНИЯ R (RA) и всеми другими ПРОВОДАМИ ОТВЕДЕНИЙ, соединенными с ПРОВОДОМ ОТВЕДЕНИЯ N (RL). Записывают амплитуду отображаемого выходного сигнала в ОТВЕДЕНИИ II для данного КОЭФФИЦИЕНТА УСИЛЕНИЯ на испытываемом ПОСТОЯННОМ и НЕПОСТОЯННОМ ИЗОБРАЖЕНИИ. Проверяют, что амплитуда выходного сигнала частотой 0,67 и 40 Гц остается в пределах от 71% до 110% по сравнению с амплитудой для 5 Гц.
Метод B: Закрывают переключатели S и S2 и устанавливают S4 в положение B. Устанавливают КОЭФФИЦИЕНТ УСИЛЕНИЯ 10 мм/мВ и скорость развертки 25 мм/с. С помощью генератора сигнала прилагают сигнал, показанный на рисунке 201.106, с шириной основания (200 +/- 20) мс между ПРОВОДОМ ОТВЕДЕНИЯ F (LL) и всеми другими ПРОВОДАМИ ОТВЕДЕНИЙ, соединенными с ПРОВОДОМ ОТВЕДЕНИЯ N (RL). Регулируют входной сигнал так, чтобы на выходе получалась амплитуда, равная (20 +/- 0,5) мм в ОТВЕДЕНИИ II. Затем, не меняя входную амплитуду, изменяют ширину основания на (20 +/- 1) мс. Частота следования импульсов, выбранная для получения наиболее нерегулярных паттернов успешных выходных пиков, может быть 1 Гц или менее.
Для каждых 10 последовательных циклов определяют положение точки с максимальной амплитудой (M). Определяют положение точки (P), которая лежит посередине между пиками последовательных циклов. Каждую пиковую амплитуду вычисляют как разницу между амплитудой M и значением базовой линии P, предшествующим M. Эта амплитуда должна быть в пределах от 75% до 100% (от 15 до 20 мм) от пиковой амплитуды, записанной для треугольного импульса с основанием 200 мс.
b) Импульсные характеристики
Протяженный низкочастотный ответ не должен приводить ни к смещению более чем на 0,1 мВ RTI, ни к наклону, превышающему 0,3 мВ/с сразу после окончания импульса на выходе при приложении входного импульса 0,3 мВ·с (3 мВ за 100 мс).
Соответствие проверяют, используя испытательную схему, показанную на рисунке 201.105, и линейку или калибры с точностью в пределах 0,2 мм.
Открывают переключатель S1, закрывают переключатели S и S2 и устанавливают переключатель S4 в положение B. Устанавливают КОЭФФИЦИЕНТ УСИЛЕНИЯ 10 мм/мВ и скорость развертки 25 мм/с. Прилагают входной импульс амплитудой 3 мВ и продолжительностью 100 мс между ПРОВОДОМ ОТВЕДЕНИЯ R (RA) и всеми другими ПРОВОДАМИ ОТВЕДЕНИЙ, соединенными с ПРОВОДОМ ОТВЕДЕНИЯ N (RL). Проверяют, что базовая линия после импульса смещается не более чем на 0,1 мВ относительно базовой линии до импульса и что наклон базовой линии не превышает 0,3 мВ/с после окончания импульса. Если прикладываемый импульс запускает устройство для распознавания импульсов кардиостимулятора, может использоваться модифицированный импульс меньшей амплитуды и большей продолжительности, но площадью по-прежнему 0,3 мВс.
Tbw - 20 или 200 мс
Рисунок 201.106 - Высокочастотные характеристики
201.12.1.101.9 ИНДИКАТОР КОЭФФИЦИЕНТА УСИЛЕНИЯ
Должен быть предусмотрен ИНДИКАТОР КОЭФФИЦИЕНТА УСИЛЕНИЯ, показывающий амплитуду входного напряжения 1 мВ для каждых настроек КОЭФФИЦИЕНТА УСИЛЕНИЯ на ПОСТОЯННОМ и НЕПОСТОЯННОМ ИЗОБРАЖЕНИЯХ. Отклонение амплитуды на выходе на дисплей должно быть в пределах +/- 10% при приложении входного сигнала (1,00 +/- 0,01) мВ на соответствующее отведение. Это должно выполняться для всех ОТВЕДЕНИЙ. Настройки коэффициента усиления альтернативно могут быть представлены в виде численных значений, выраженных в мм/мВ. ME ИЗДЕЛИЯ, для которых предусмотрен только один фиксированный коэффициент усиления, не включаются в требование обеспечения ИНДИКАТОР КОЭФФИЦИЕНТА УСИЛЕНИЯ.
Примечание - Примерами ИНДИКАТОРА КОЭФФИЦИЕНТА УСИЛЕНИЯ являются вертикальная отметка или горизонтальная линия (линия сетки, пунктирная линия), показывающая амплитуду входного сигнала 1 мВ.
Если ИНДИКАТОР КОЭФФИЦИЕНТА УСИЛЕНИЯ для 1 мВ превышает высоту канала, ИНДИКАТОР КОЭФФИЦИЕНТА УСИЛЕНИЯ может быть масштабирован.
Соответствие проверяют, используя испытательную схему, показанную на рисунке 201.105, испытательный сигнал, показанный на рисунке 201.106, и линейку или калибры с точностью в пределах 0,2 мм.
Открывают переключатель S1, закрывают переключатели S и S2 и устанавливают S4 в положение B. Устанавливают КОЭФФИЦИЕНТ УСИЛЕНИЯ 10 мм/мВ и скорость развертки 25 мм/с. С помощью генератора сигнала прилагают треугольный или синусоидальный сигнал размахом (1,00 +/- 0,01) мВ и частотой 25 Гц между ПРОВОДОМ ОТВЕДЕНИЯ R (RA) и всеми другими ПРОВОДАМИ ОТВЕДЕНИЙ, соединенными с ПРОВОДОМ ОТВЕДЕНИЯ N (RL). Записывают амплитуду индикатора коэффициента усиления и проверяют, что она находится в пределах 10% отображаемого выходного сигнала. Повторяют испытания для всех отведений и минимальных и максимальных настроек коэффициента усиления.
201.12.1.101.10 * ПОДАВЛЕНИЕ синфазного сигнала
Постоянный сигнал со среднеквадратической амплитудой 10 В сетевой частоты с емкостью источника 200 пФ, подсоединенный между землей и всеми ПРОВОДАМИ ОТВЕДЕНИЙ, соединенными вместе, не должен приводить к появлению выходного сигнала размахом более 10 мм при настройке коэффициента усиления 10 мм/мВ на время более 15 с. Последовательно с каждым ЭЛЕКТРОДОМ необходимо подключить сопротивление 51 кОм, соединенное параллельно с емкостью 47 нФ. Должен быть использован КАБЕЛЬ ПАЦИЕНТА, определенный ИЗГОТОВИТЕЛЕМ.
Соответствие проверяют, используя испытательную схему, показанную на рисунке 201.107, и линейку или калибры с точностью в пределах 0,2 мм. Испытания проводятся на сетевых частотах 50 и 60 Гц.
a) Регулируют Ct так, чтобы она обеспечивала напряжение 10 В сетевой частоты в точке B, при неподключенном КАБЕЛЕ ПАЦИЕНТА (переключатель S0 открыт). Синфазное напряжение, прикладываемое к ME ИЗДЕЛИЮ, достигает 10 В. Убеждаются, что для данного испытания узкополосный фильтр линейной частоты (если предусмотрен) отключен, даже если это требует специального программного обеспечения или специальных методов доступа к управлению данным фильтром.
b) Закрывают переключатели S0 и S2 - Sn, и устанавливают переключатель SDC в положение B. Устанавливают КОЭФФИЦИЕНТ УСИЛЕНИЯ 10 мм/мВ и скорость развертки 25 мм/с. Измеряют выходную амплитуду за период не менее 15 с при данных настройках КОЭФФИЦИЕНТА УСИЛЕНИЯ. Затем открывают переключатель S2 и закрывают остальные переключатели. Повторяют измерение амплитуды. Продолжают до тех пор, пока не будут выполнены измерения для всех ПРОВОДОВ ОТВЕДЕНИЙ.
c) Повторяют испытание со смещением постоянного напряжения плюс 300 мВ и минус 300 мВ, подключенным последовательно с сопротивлением разбаланса, переключив переключатель SDC в положение A, также проводят испытания с переключателем SP, находящимся в обоих положениях.
Полученные значения не должны превышать по размаху 10 мм. Убеждаются, что для данного испытания узкополосный фильтр линейной частоты (если предусмотрен) отключен, даже если это требует специального программного обеспечения или специальных методов доступа к управлению данным фильтром.
На рисунке 201.107 C1 и Ct моделируют емкость между ПАЦИЕНТОМ и землей. Внутренний экран снижает захват нежелательных внешних сигналов. Так как емкость Cx между внутренним и внешним экраном влияет как на емкость источника, так и на синфазное напряжение, емкость увеличивается подстроечным конденсатором до 100 пФ, что равно емкости генератора C1. Выход генератора увеличивается до 20 В, обеспечивая тем самым 10 В синфазного напряжения в точке B с сопротивлением источника, равным 200 пкФ при неподключенном к испытательному контуру КАБЕЛЕ ПАЦИЕНТА. Экран КАБЕЛЯ ПАЦИЕНТА не должен быть подключен.
1 - генератор сигнала 20 В на сетевой частоте;
2 - КАБЕЛЬ ПАЦИЕНТА; 3 - источник смещения постоянного
напряжения, сопротивление <= 1 кОм; 4 - внутренний экран;
5 - внешний экран; B - точка синфазного сигнала; S1 - Sn -
переключатели, контур вызова разбаланса, состоящий из C
и R; C - 47 нФ; R - 51 кОм; EUT - испытуемое изделие
Рисунок 201.107 - Испытательная схема ПОДАВЛЕНИЯ
201.12.1.101.11 Сброс базовой линии
Должны быть предусмотрены средства восстановления ME ИЗДЕЛИЯ до нормальных рабочих условий в течение 3 с после приложения избыточного напряжения размахом 1 В и частотой 50 или 60 Гц в течение по крайней мере 1 с.
Соответствие проверяют следующим испытанием:
a) подсоединяют ME ИЗДЕЛИЕ к испытательной схеме, показанной на рисунке 201.105, с закрытыми переключателями S, S1 и S2; S4 в положении B, и контуру генератора, показанному на рисунке 201.108 с закрытым переключателем S и открытым переключателем S1; регулируют синусоидальный генератор V1 для получения сигнала размахом 1 мВ и частотой 10 Гц между выбранными ПРОВОДАМИ ОТВЕДЕНИЯ;
b) выбирают любое доступное отведение и соответствующую комбинацию проводов отведения и посредством открытия переключателя S и закрытия переключателя S1 (см. рисунок 201.108) прилагают избыточное напряжение размахом 1 В и частотой 50 или 60 Гц по крайней мере на 1 с;
c) закрывают переключатель S и открывают переключатель S1 (см. рисунок 201.108) и проверяют, что 10 Гц сигнал четко виден через 3 с после закрытия переключателя на V2 и остается видимым.
V1 - генератор синусоидального сигнала размахом 1 мВ и
частотой 10 Гц; V2 - генератор сигнала с размахом 1 В
сетевой частоты 50 или 60 Гц; C - 47 нФ; R - 51 кОм
201.12.1.101.12 * Возможность отображения импульсов кардиостимулятора
ME ИЗДЕЛИЕ должно иметь возможность отображения ЭКГ сигнала в присутствии импульсов кардиостимулятора с амплитудами от +/- 2 до +/- 700 мВ и продолжительностью от 0,5 до 2,0 мс. Импульсы кардиостимулятора должны быть видны на дисплее с амплитудой не менее 0,2 мВ, приведенной ко входу (reffered to input, RTI). Альтернативно, положение импульсов кардиостимулятора может отображаться с помощью специально вставляемых отметок импульса кардиостимулятора. Если на способность дисплея отображать импульсы кардиостимулятора могут влиять режимы ПАЦИЕНТА, такие как неонатальный, режим работы или настройки фильтра, должно быть проверено положение этих вставляемых отметок кардиостимуляции в данном режиме.
Соединяют ПРОВОД ОТВЕДЕНИЯ R (RA) с P1 и все другие ПРОВОДА ОТВЕДЕНИЙ с P2. Устанавливают КОЭФФИЦИЕНТ УСИЛЕНИЯ 10 мм/мВ и скорость развертки 25 мм/с. С помощью генератора импульса кардиостимулятора (2) прилагают сигнал, показанный на рисунке 201.109. Симулятор QRS (1) для данного испытания отключают. Регулируют амплитуду ap импульса кардиостимулятора до уровня (700 +/- 70) мВ. Регулируют частоту импульсов кардиостимулятора до уровня 1,5 Гц. Регулируют ширину импульса dp до уровня (2 +/- 0,2) мс. Проверяют, что на дисплее отображаются импульсы кардиостимулятора с амплитудой по крайней мере 0,2 мВ RTI или что положения импульсов кардиостимулятора могут отображаться добавлением отметок импульсов стимуляции.
Регулируют ширину импульса dp до уровня (0,5 +/- 0,05) мс и повторяют испытание.
Изменяют амплитуду ap импульса кардиостимулятора до уровня (2 +/- 0,02) мВ и повторяют испытания, приведенные выше.
Повторяют испытания для всех ПРОВОДОВ ОТВЕДЕНИЙ и соответствующих позиций устройства выбора отведения, как определено в таблице 201.103. Повторяют испытание для всех режимов, которые могут влиять на способность отображения импульсов кардиостимулятора или специального добавления отметок импульсов кардиостимулятора.
a) - импульс кардиостимулятора без выброса на фронте
импульса; b) - импульс кардиостимулятора с выбросом
на фронте импульса (связанный по переменному току, площадь
App = Aus); ap - амплитуда (меняется от 2 мВ до 700 мВ);
ao - выброс на фронте импульса; dp - ширина импульса
(меняется от 0,1 до 2,0 мс); to - постоянная времени
выброса на фронте импульса (от 4 до 100 мс)
Время роста и падения импульса кардиостимулятора не должно превышать 10% dp или 100 мкс.
Рисунок 201.109 - Импульс кардиостимулятора
201.12.1.101.13 Подавление импульсов кардиостимулятора
Должно быть указано [см.
201.7.9.2.9.101, перечисление b) 7)], может ли ME ИЗДЕЛИЕ подавлять все импульсы кардиостимулятора, имеющие амплитуду (
ap) от +/- 2 до +/- 700 мВ и ширину импульса от 0,1 до 2,0 мс. Если ME ИЗДЕЛИЕ не может эффективно подавлять импульсы кардиостимулятора в данном диапазоне, необходимо указать диапазон амплитуд и ширин импульсов, которые ME ИЗДЕЛИЕ может подавлять. Способность ME ИЗДЕЛИЯ подавлять импульсы кардиостимулятора должна быть указана:
a) для одиночного импульса кардиостимулятора, имеющего форму, показанную на
рисунке 201.109;
b) импульса кардиостимулятора с нормальным стимулирующим
QRS и
T-зубцом (см.
рисунок 201.111) и
c) импульса кардиостимулятора с неэффективным стимулирующим
QRS-комплексом (см.
рисунок 201.112).
Также должна быть указана способность подавления импульсов кардиостимулятора, указанных в
перечислениях a),
b) и
c), если импульс стимуляции предсердий предшествуют импульсу стимуляции желудочков с идентичной амплитудой и продолжительностью с расстоянием между импульсами от 150 до 200 мс.
Если предусмотрены средства отключения возможности ME ИЗДЕЛИЯ подавлять импульсы кардиостимулятора, должна отображаться визуальная индикация для информирования клинического ОПЕРАТОРА о том, что ПОДАВЛЕНИЕ импульсов кардиостимулятора отключено.
Прикладываемые испытательные сигналы, показанные на
рисунке 201.109, должны быть следующими:
- метод A - испытательный сигнал a) для импульса кардиостимулятора без выброса на фронте импульса: выброс на фронте импульса (
ao) должен быть менее 5% амплитуды кардиостимулятора (0,05
ap на
рисунке 201.109) и установленное время выброса на фронте импульса должно быть менее 5 мкс; время роста и падения должно составлять 10% ширины импульса, но не более 100 мкс. Нарастающий фронт импульса кардиостимулятора должен возникать в интервале между 10 мс и 40 мс до начала
QRS-комплекса, как указано на
рисунке 201.111;
- метод B - испытательный сигнал b) для импульса кардиостимулятора с выбросом на фронте импульса: такой же сигнал, как определен в качестве испытательного сигнала для метода A, но выброс на фронте импульса (ao) должен иметь временную постоянную перезарядки (to) от 4 до 100 мс.
Соединяют ПРОВОД ОТВЕДЕНИЯ R (RA) с положением P1 и все другие ПРОВОДА ОТВЕДЕНИЙ с положением P2.
Если спецификации ИЗГОТОВИТЕЛЯ ME ИЗДЕЛИЯ определяют отличные от приведенных в настоящем стандарте диапазоны (амплитуда от +/- 2 до +/- 700 мВ, продолжительность от 0,1 до 2 мс и выброс на фронте импульса от 4 до 100 мс, как определено для метода A и метода B), проводят следующие испытания, используя амплитуду, продолжительность и выброс на фронте импульса, определенные ИЗГОТОВИТЕЛЕМ.
a) Прилагают сигнал, показанный на рисунках 201.109 - 201.111, ко входу ME ИЗДЕЛИЯ с амплитудой QRS (a) на рисунке 201.113, установленной на 1 мВ, продолжительностью QRS (d) 100 мс и для рисунка 201.110 амплитудой T-зубца (aT) 0,2 мВ, продолжительностью T-зубца (dT) 180 мс, интервалом QT (dQT) 350 мс, и интервалом R-R 1 с. Устанавливают амплитуду импульса кардиостимулятора на плюс 2 мВ. Регулируют ширину импульса (dp) до 2 мс.
b) Управление КОЭФФИЦИЕНТОМ УСИЛЕНИЯ, если предусмотрено, может быть использовано только на данном этапе испытаний.
c) Проверяют, что отображаемая частота сердечных сокращений согласуется со значениями, приведенными ИЗГОТОВИТЕЛЕМ.
d) Удаляют сигналы QRS и T-зубца и проверяют, что отображаемая частота сердечных сокращений согласуется со значениями, приведенными ИЗГОТОВИТЕЛЕМ.
e) Повторяют действия по перечислениям a), c) и d) для амплитуд импульса кардиостимулятора (ap) минус 2 мВ, +/- 100, +/- 300, +/- 500, +/- 700 мВ.
f) Прилагают сигнал, показанный на рисунке 201.112, ко входу ME ИЗДЕЛИЯ с теми же параметрам, как и в перечислении a), за исключением того, что частоту сердечных сокращений устанавливают равной 30 мин-1, частоту стимуляции 80 мин-1 (во время данного испытания частота сердечных сокращений должна быть такой, чтобы импульсы кардиостимулятора асинхронно перемещались по сигналу ЭКГ).
g) Прилагают импульс амплитудой и продолжительностью, равными импульсу для желудочковой кардиостимуляции, но предшествующий последнему на 150 мс, и повторяют действия по перечислениям a) - f) с наличием обоих импульсов кардиостимулятора.
h) Повторяют действия по перечислению g), используя интервал между импульсами кардиостимулятора 250 мс вместо 150 мс.
| | ИС МЕГАНОРМ: примечание. Нумерация пунктов дана в соответствии с официальным текстом документа. | |
j) Проверяют, что отображаемая частота сердечных сокращений согласуется со значениями, приведенными ИЗГОТОВИТЕЛЕМ.
e) Повторяют действия по перечислениям f) - h) для ap минус 2 мВ, +/- 100, +/- 300, +/- 500, +/- 700 мВ.
k) Повторяют всю последовательность испытаний для импульсов кардиостимулятора, имеющих параметры, описанные для испытательного сигнала (b). Амплитуда выброса на фронте импульса (ao) может быть установлена на основании либо метода A (от 0,025ap до 0,25ap, но не более 2 мВ независимо от временной постоянной), метода B (apdp/to), или и того, и другого.
Примечание - Для метода B емкостная связь может вызвать отклонение основного импульса на значение, равное амплитуде выброса на фронте импульса. Также при A - V последовательности импульсов выброс на фронте желудочкового импульса может включать некоторые остаточные значения от неустойчивого выброса на фронте импульса желудочкового импульса.
m) Если ME ИЗДЕЛИЕ ведет себя по-разному в приведенных выше испытаниях при различным режимах ПАЦИЕНТА (особенно в неонатальном режиме), повторяют данные испытания для всех режимов ПАЦИЕНТА.
Если предусмотрены средства отключения возможности подавления импульса дефибриллятора, активируют эти средства и проверяют дисплей на предмет визуальной индикации того, что подавление импульса дефибриллятора отключено.
ar - амплитуда QR-сегмента; as - амплитуда обратного выброса
RS; aT - амплитуда T-зубца; d - длительность QRS; dT -
длительность T-зубца; dQT - длительность QT-сегмента
Рисунок 201.110 - Испытательные сигналы
Рисунок 201.111 - Нормальный стимулирующий ритм
Рисунок 201.112 - Неэффективная стимуляция (частота
сердечных сокращений 30 мин-1, частота импульсов
Рисунок 201.113 - Моделируемый QRS-комплекс
1 - симулятор QRS; выходное сопротивление менее 1 кОм
и линейность +/- 1%; размах 1 В, 40 Гц; 2 - генератор
импульса кардиостимулятора; амплитуда импульса 2,5 В,
продолжительность 2 мс и частота 1,7 Гц;
EUT - испытуемое изделие
Рисунок 201.114 - Испытательная схема кардиостимулятора
201.12.1.101.14 Импульс синхронизации для разряда дефибриллятора
Если на СИГНАЛЬНЫЙ ВЫХОД доступна подача импульса для синхронизации разряда дефибрилляции, временной интервал от R-зубца до начала импульса синхронизации не должен превышать 35 мс. Характеристики импульса: амплитуда, продолжительность, форма и выходное сопротивление должны быть указаны в ЭКСПЛУАТАЦИОННЫХ ДОКУМЕНТАХ.
Открывают переключатель S1, закрывают переключатели S и S2 и устанавливают переключатель S4 в положение B. Соединяют генератор показанного на рисунке 201.113 сигнала с ПРОВОДАМИ ОТВЕДЕНИЯ R(RA). Соединяют все другие ПРОВОДА ОТВЕДЕНИЯ с ПРОВОДОМ ОТВЕДЕНИЯ N (RL). Регулируют генератор сигнала для получения частоты 1 Гц. Прилагают последовательно амплитуды (a) QRS 0,5, 2,0 и 5,0 мВ. Для каждой амплитуды (a) устанавливают продолжительность QRS d 70, 100, 120 мс и 40 мс для неонатального/педиатрического
ME ИЗДЕЛИЯ.
Проверяют, что передний фронт импульса синхронизации возникает не позднее 35 мс после пика R-зубца входного сигнала.
201.12.1.101.15 Диапазон измерения частот сердечных сокращений, точность и диапазон определения
QRS
ME ИЗДЕЛИЕ должно быть оборудовано средствами определения частоты сердечных сокращений.
Диапазон отображаемых частот сердечных сокращений должен быть, по крайней мере, от 30 до 200 мин-1 для использования у взрослых и от 30 до 250 мин-1 для неонатального и педиатрического использования. Точность определения частоты сердечных сокращений должна быть в пределах +/- 10% или +5 мин-1 в зависимости от того, что больше. Входной сигнал ЭКГ с частотой, ниже определенного нижнего предела диапазона отображаемых частот, не должен показывать частоту сердечных сокращений больше данного нижнего предела. Входной сигнал ЭКГ с частотой, выше определенного верхнего предела диапазона отображаемых частот вплоть до 300 мин-1 для взрослых и 350 мин-1 для неонатального и педиатрического использования, не должен определять частоту сердечных сокращений ниже указанных верхних пределов.
Минимальный диапазон распознаваемых амплитуд
QRS (
a на
рисунке 201.113) должен быть от 0,5 до 5 мВ для продолжительности
QRS от 70 до 120 мс (40 и 120 мс для неонатального/педиатрического ME ИЗДЕЛИЯ). Для ME ИЗДЕЛИЯ, установленного для взрослых ПАЦИЕНТОВ, устройство для измерения частоты сердечных сокращений не должно реагировать на ЭКГ сигналы, имеющие амплитуду
QRS 0,15 мВ или ниже, или продолжительность 10 мс или меньше с амплитудой 1 мВ. Реакция на один или на оба типа сигналов допускается для ME ИЗДЕЛИЯ, установленного для неонатальных/педиатрических ПАЦИЕНТОВ.
Открывают переключатель S1, закрывают переключатели S и S2 и устанавливают переключатель S4 в положение B. С помощью генератора сигнала прилагают сигнал, показанный на рисунке 201.113, к ПРОВОДАМ ОТВЕДЕНИЯ R(RA) с амплитудой (a) 1 мВ. Для использования у взрослых устанавливают продолжительность QRS (d) от 70 до 120 мс. Для неонатального и педиатрического использования устанавливают продолжительность QRS (d) от 40 до 120 мс. Соединяют все другие ПРОВОДА ОТВЕДЕНИЯ с ПРОВОДОМ ОТВЕДЕНИЯ N (RL). Устанавливают КОЭФФИЦИЕНТ УСИЛЕНИЯ 10 мм/мВ и скорость развертки 25 мм/с.
Медленно меняют частоту сердечных сокращений входного сигнала от нуля до 30 мин-1, делая паузу каждые 10 мин-1 для обеспечения возможности стабилизации отображаемой частоты сердечных сокращений. Отображаемая частота сердечных сокращений для значений в пределах определенного диапазона отображаемых значений должна быть в пределах +/- 5 мин-1. Для входного сигнала частотой ниже определенного нижнего предела отображаемая частота сердечных сокращений не должна превышать определенного нижнего предела.
Прилагают сигнал с частотой 300 мин-1, затем сигнал частотой, равной половине суммы 300 мин-1 и определенного максимального предела. Для неонатального/педиатрического использования эти частоты должны быть 350 мин-1 и половина суммы 350 мин-1 и определенного максимального предела. Отображаемая частота сердечных сокращений не должна превышать определенного верхнего предела отображаемых значений.
Требования к точности:
Меняют частоту сердечных сокращений входного сигнала от нуля до 200 мин-1 для использования у взрослых и до 250 мин-1 для неонатального и педиатрического использования. Используют промежуточные частоты входного сигнала 30, 60, 120 и 180 мин-1. Отображаемая частота сердечных сокращений должна быть в пределах +/- 10% или +/- 5 мин-1, в зависимости от того, что больше, относительно частоты сердечных сокращений входного сигнала.
Повторяют испытание с амплитудами (a) входного сигнала, показанного на рисунке 201.113, 0,5, 2,0 и 5,0 мВ. Для каждой амплитуды (a) устанавливают продолжительность QRS (d) 70, 100, 120 мс для использования взрослых. Для неонатального и педиатрического использования устанавливают продолжительность QRS (d) 40, 80 и 120 мс.
Повторяют испытания в режиме при использовании у взрослых с амплитудой QRS 0,15 мВ, а потом продолжительностью QRS 10 мс и амплитудой QRS 1 мВ.
Должны быть выполнены требования к точности, приведенные выше. В режиме при использовании у взрослых ME ИЗДЕЛИЕ не должно считать частоту сердечных сокращений при амплитуде QRS 0,15 мВ и при продолжительности QRS 10 мс и амплитуде QRS 1 мВ.
Прилагают синусоидальное напряжение размахом 100 мкВ сетевой частоты последовательно с генератором сигнала, показанным на рисунке 201.105. Устанавливают амплитуды (a) сигнала, показанного на рисунке 201.113 1 мВ, и его продолжительность (d) 100 мс частотой повторения 80 мин-1. Убеждаются, что узкополосной фильтр частоты сети, если он предусмотрен, в данном испытании включен. Меняют частоту входного сигнала, как описано выше. Отображаемая частота должна соответствовать требованиям к точности.
201.12.1.101.16* Изображение канала. Высота и пропорции
На выходном дисплее ME ИЗДЕЛИЯ должен помещаться сигнал ЭКГ, определенный в
201.12.1.101.2, а также дисплей должен соответствовать следующим дополнительным требованиям.
a) Высота изображения канала. ME ИЗДЕЛИЕ должно включать средства для отображения ЭКГ сигнала, соответствующие следующим требованиям.
Для ПОСТОЯННЫХ ИЗОБРАЖЕНИЙ, в пределах вертикального пространства не менее 20 мм на один канал ЭКГ.
Для НЕПОСТОЯННЫХ ИЗОБРАЖЕНИЙ, в пределах вертикального пространства не менее:
- 10 мм на канал ЭКГ для ME ИЗДЕЛИЯ, ПРЕДУСМОТРЕННОЕ ПРИМЕНЕНИЕ которого включает мониторинг в процессе транспортирования или ношение на ПАЦИЕНТЕ;
- 30 мм на канал ЭКГ для ME ИЗДЕЛИЯ с любым другим ПРЕДУСМОТРЕННЫМ ПРИМЕНЕНИЕМ.
Может быть предусмотрен выбор другой высоты канала.
Соответствие проверяют следующим образом:
Прилагают испытательный синусоидальный или треугольный сигнал любой частоты от 1 до 40 Гц. Регулируют входную амплитуду для получения выходного отклонения, покрывающего ожидаемую полную высоту канала в области выходного дисплея для испытуемого ЭКГ канала. Проверяют, что амплитуда не менее значения, приведенного выше в зависимости от ПРЕДУСМОТРЕННОГО ПРИМЕНЕНИЯ для данного типа ПОСТОЯННОГО ИЗОБРАЖЕНИЯ или НЕПОСТОЯННОГО ИЗОБРАЖЕНИЯ.
b) Соотношение длины и высоты. Соотношение длины и высоты ПОСТОЯННОГО ИЗОБРАЖЕНИЯ или НЕПОСТОЯННОГО ИЗОБРАЖЕНИЯ должно быть (0,4 +/- 0,08) с/мВ, если соотношение длины и высоты определяется как соотношение между вертикальным коэффициентом усиления (в мм/мВ) и скоростью развертки (в мм/с). Для ME ИЗДЕЛИЯ, для которого предусмотрено несколько различных соотношений длины и высоты или регулируемое соотношение, соотношение (0,4 +/- 0,08) с/мВ должно быть среди предусмотренных (при 10 мм/мВ и 25 мм/с соотношение длины и высоты составляет 0,4).
Соответствие проверяют следующим образом:
Прилагают испытательный синусоидальный или треугольный сигнал частотой 1,0 Гц. Измеряют амплитуду отображаемого сигнала (A) в мм размаха. Измеряют длину (B) в мм на дисплее для полного цикла сигнала. Соотношение A/B должно быть 0,4 +/- 0,08.
201.12.1.101.17 Возможность ПОДАВЛЕНИЯ высокого
T-зубца
Должна быть указана максимальная амплитуда
T-зубца (
aT), для которой отображение частоты сердечных сокращений находится в пределах ошибок, определенных в
201.12.1.101.15. Если максимальная амплитуда
T-зубца (
aT), которая может быть подавлена, зависит от выбранной полосы частот, также указывают отдельно максимальные подавляемые амплитуды
T-зубца для каждой полосы частот.
Используют испытательный сигнал QRS (см. рисунок 201.110) с амплитудой (a) 1 мВ и продолжительностью (d) 100 мс, с частотой сердечных сокращений 80 мин-1, продолжительностью T-зубца (положительная часть синусоидального сигнала) (dT) 180 мс и интервалом QT (dQT) 350 мс. Дают ME ИЗДЕЛИЮ стабилизироваться в течение по крайней мере 20 с перед испытанием.
201.12.3 Системы сигнализации
Дополнение:
ME ИЗДЕЛИЕ должно быть оборудовано СИСТЕМОЙ СИГНАЛИЗАЦИИ, как определено в
пункте 208 настоящего частного стандарта.
201.12.4 Защита от опасного выхода
201.12.4.101.1 Индикация на ПОСТОЯННЫХ ИЗОБРАЖЕНИЯХ и НЕПОСТОЯННЫХ ИЗОБРАЖЕНИЯХ
Настройки, выполняемые клиническим ОПЕРАТОРОМ, касающиеся ЭКГ, которые могут повлиять на интерпретацию ЭКГ сигнала, должны быть указаны на ПОСТОЯННЫХ ИЗОБРАЖЕНИЯХ и НЕПОСТОЯННЫХ ИЗОБРАЖЕНИЯХ. Должны быть указаны, по крайней мере, следующие настройки:
a) любые настройки фильтров;
b) выбранное ОТВЕДЕНИЕ (ОТВЕДЕНИЯ);
d) скорость развертки (только на ПОСТОЯННЫХ ИЗОБРАЖЕНИЯХ).
Примечание - экг сигнал, представляемый на ПОСТОЯННЫХ ИЗОБРАЖЕНИЯХ, выводится на сетке (см. МЭК 60601-2-25, подпункт 201.12.4.109.4.5).
201.13. ОПАСНЫЕ СИТУАЦИИ и условия нарушения
Применяют пункт 13 общего стандарта.
201.14. Программируемые электрические медицинские системы (PEMS)
Применяют пункт 14 общего стандарта.
201.15. Конструкция ME ИЗДЕЛИЯ
Применяют пункт 15 общего стандарта, за исключением следующего:
201.15.3.4 Испытание на падение
Дополнение:
201.15.3.4.101 * ЭЛЕКТРОДЫ и КАБЕЛИ ПАЦИЕНТА
ЭЛЕКТРОДЫ и КАБЕЛИ ПАЦИЕНТА, содержащие электронные компоненты, не должны представлять опасных ситуаций и должны продолжать работать нормально после свободного падения с высоты около 1 м на твердую поверхность
Испытания могут не проводиться, если исследование конструкции и принципиальной схемы показало, что не возникает ОПАСНЫХ СИТУАЦИЙ и что не нарушается нормальная работа.
Соответствие проверяют следующим испытанием:
Позволяют испытательному образцу свободно упасть по одному разу с каждого из трех различных начальных положений с высоты 1 м на доску из твердых пород дерева толщиной 50 мм (например, древесина твердостью более 700 кг/м3), которая лежит на твердой основе (бетонный блок).
После данного испытания не должно появиться доступных частей с ТОКАМИ УТЕЧКИ, превышающими определенные значения при проверке испытательным щупом. Трещины, невидимые невооруженным глазом, поверхностные трещины в укрепленных волокнами литых деталях и аналогичные должны игнорироваться. После данного испытания должны выполняться все требования настоящего частного стандарта и ME ИЗДЕЛИЕ должно нормально функционировать.
201.15.4.4 Индикаторы
Дополнение:
201.15.4.4.101 Индикатор работы батареи и состояния батареи
ME ИЗДЕЛИЕ должно визуально отображать, когда оно работает от ВНУТРЕННЕГО ИСТОЧНИКА ПИТАНИЯ, если оно не является оборудованием только с ВНУТРЕННИМ ИСТОЧНИКОМ ПИТАНИЯ.
ME ИЗДЕЛИЕ С ВНУТРЕННИМ ИСТОЧНИКОМ ПИТАНИЯ должно визуально отображать оставшуюся емкость батареи при работе от ВНУТРЕННЕГО ИСТОЧНИКА ПИТАНИЯ.
Соответствие проверяют осмотром и измерениями.
Применяют пункт 16 общего стандарта.
201.17. Электромагнитная совместимость ME ИЗДЕЛИЙ и ME СИСТЕМ
Применяют пункт 17 общего стандарта, за исключением следующего:
См. пункт 202.
202. Электромагнитная совместимость. Требования и испытания
Применяют МЭК 60601-1-2, за исключением следующего:
202.5.2.2.2 Требования, применяемые к ME ИЗДЕЛИЯМ и ME СИСТЕМАМ, отличным от определенных для использования только в защищенных областях
Дополнение:
ЭЛЕКТРОКАРДИОГРАФИЧЕСКИЙ МОНИТОР и его ПРИНАДЛЕЖНОСТИ не должны считаться ЖИЗНЕОБЕСПЕЧИВАЮЩИМ ME ИЗДЕЛИЕМ.
202.6 ЭЛЕКТРОМАГНИТНАЯ СОВМЕСТИМОСТЬ
202.6.1 Помехоэмиссия
202.6.1.1.2 Испытания
Замена:
ME ИЗДЕЛИЕ должно быть испытано с КАБЕЛЯМИ ПАЦИЕНТА, определенными ИЗГОТОВИТЕЛЯМИ, со всеми кабелями СИГНАЛЬНЫХ ВХОДОВ/ВЫХОДОВ (SIP/SOP), подсоединенными к ME ИЗДЕЛИЮ (см. рисунок 202.101); расстояние между открытым концом кабелей SIP/SOP и полом (заземленной поверхностью) должно быть равно или более 40 см. Если ИЗГОТОВИТЕЛЬ определяет КАБЕЛИ ПАЦИЕНТА различной длины, для каждой длины должен быть испытан только один характерный образец.
RC сеть (Cp, Rp) и металлическую пластину (7) (см. рисунок 202.101) во время испытания на излучение не используют.
Размеры в метрах
1 - сетевой кабель; 2 - кабель СИГНАЛЬНОГО ВХОДА/ВЫХОДА
(SIP/SOP); 3 - стол, изготовленный из изолирующего
материала; 4 - испытуемое ME ИЗДЕЛИЕ; 5 - КАБЕЛЬ ПАЦИЕНТА;
6 - нагрузка, моделирующая ПАЦИЕНТА (51 кОм параллельно
с 47 нФ); 7 - металлическая пластина; Cp, - 220 пФ;
Rp - 510 Ом; Cp, соединенное параллельно с Rp, моделирует
тело пациента; RC сеть (Cp, Rp), нагрузка, моделирующая
пациента (6) и металлическая пластина (7) не должны
использоваться во время испытаний на излучение
Рисунок 202.101 - Схема испытаний для испытаний
на ИЗЛУЧЕНИЕ, кондуктивное ИЗЛУЧЕНИЕ и устойчивость
202.6.2 ПОМЕХОУСТОЙЧИВОСТЬ
202.6.2.1.10 Критерии соответствия
Дополнение:
ME ИЗДЕЛИЕ должно соответствовать требованиям МЭК 60601-1-2, подпункт 6.2.1.10, и точность распознавания частоты сердечных сокращений должна быть +/- 10% или +/- 5 мин
-1, в зависимости от того, что больше (см.
201.12.1.101.15) за исключением
202.6.2.2.1 и
202.6.2.101 настоящего частного стандарта.
202.6.2.2 Электростатические разряды (electrostatic discharge, ESD)
Дополнение:
ME ИЗДЕЛИЕ может показывать временное УХУДШЕНИЕ ХАРАКТЕРИСТИК во время разряда. В течение 10 с ME ИЗДЕЛИЕ должно восстановить нормальную работу в предыдущем рабочем режиме без потери настроек ОПЕРАТОРА или сохраненных данных и должно продолжить выполнять свою предполагаемую функцию и поддерживать ОСНОВНЫЕ ФУНКЦИОНАЛЬНЫЕ ХАРАКТЕРИСТИКИ (см.
202.6.2.1.10).
202.6.2.3 Излучение радиочастотных электромагнитных полей
202.6.2.3.1 Требования
Дополнение к перечисление a):
Применяют ИСПЫТАТЕЛЬНЫЙ УРОВЕНЬ УСТОЙЧИВОСТИ 3 В/м.
Дополнение:
aa) Все кабели СИГНАЛЬНОГО ВХОДА/ВЫХОДА (SIP/SOP) и ШНУРЫ ПОДАЧИ ПИТАНИЯ располагают, главным образом, как показано на рисунке 202.102. Поддерживают расстояние равное или более 40 см между кабелями SIP/SOP и полом (заземленной поверхностью).
bb) Выполняют испытания, используя входной сигнал, показанный на рисунке 201.113, амплитудой (a) 1 мВ, продолжительностью (d) 100 мс и частотой сердечных сокращений 100 мин-1.
Размеры в метрах
1 - сетевой кабель; 2 - кабель СИГНАЛЬНОГО ВХОДА/ВЫХОДА;
3 - стол, изготовленный из изолирующего материала;
4 - испытуемое ME ИЗДЕЛИЕ; 5 - КАБЕЛЬ ПАЦИЕНТА; 6 -
нагрузка, моделирующая ПАЦИЕНТА (51 кОм параллельно
с 47 нФ); 7 - устройство для моделирования ЭКГ
(экранированное и, если необходимо, включающее фильтр
нижних частот, если подвержено воздействию радиочастот)
Рисунок 202.102 - Установка для испытаний УСТОЙЧИВОСТИ
202.6.2.4 Быстрые переходные электрические режимы и всплески
202.6.2.4.1 Требования
Дополнение:
При воздействии быстрых переходных электрических режимов и всплесков через ШНУР ПОДАЧИ ПИТАНИЯ ME ИЗДЕЛИЕ должно продолжать отображать частоту сердечных сокращений. Точность отображаемой частоты сердечных сокращений должна быть +/- 10% или +/- 5 мин
-1 в зависимости от того, что больше (см.
201.12.1.101.15).
Испытание КАБЕЛЕЙ ПАЦИЕНТА и соединяющих кабелей, определенных как имеющие длину более 3 м, может показать временное ухудшение характеристик во время воздействия быстрых переходных электрических режимов и всплесков. В течение 10 с ME ИЗДЕЛИЕ должно восстановить нормальную работу в предыдущем рабочем режиме без потери настроек ОПЕРАТОРА или сохраненных данных и должно продолжить отображать частоту сердечных сокращений. Точность отображаемой частоты сердечных сокращений должна быть +/- 10% или +/- 5 мин
-1 в зависимости от того, что больше (см.
201.12.1.101.15).
202.6.2.4.2 Испытания
Дополнение:
aa) располагают ME ИЗДЕЛИЕ на (0,8 +/- 0,08) м выше опорной заземленной поверхности;
bb) используют шнур питания, поставляемый с ME ИЗДЕЛИЕМ, предназначенный для соединения ME ИЗДЕЛИЯ и выхода EFT/B генератора;
cc) выполняют испытания, используя входной сигнал, показанный на рисунке 201.113, амплитудой (a) 1 мВ, продолжительностью (d) 100 мс и частотой сердечных сокращений 100 мин-1.
202.6.2.6 Нарушение проводимости, вызванное радиочастотными полями
202.6.2.6.1 Требования
Дополнение:
aa) при воздействии кондуктивного радиочастотного напряжения через ШНУР ПОДАЧИ ПИТАНИЯ ME ИЗДЕЛИЕ должно продолжать выполнять свою предполагаемую функцию, как описано в
202.6.2.1.10;
bb)* КАБЕЛИ ПАЦИЕНТА исключены из данного требования.
202.6.2.6.2 Испытания
Дополнение:
aa) Подпункт 6.2.6.2, перечисления c) и e), МЭК 606061-1-2 не применяют.
Дополнение:
202.6.2.101* Влияние электрохирургического оборудования
Телеметрические ЭКГ системы не включены в данное испытание.
Должны быть предусмотрены средства для защиты от некорректной работы, вызванной электрохирургическим оборудованием. Проводят испытание, описанное ниже, используя КАБЕЛИ ПАЦИЕНТА, ПРОВОДА ОТВЕДЕНИЙ, ПРИНАДЛЕЖНОСТИ или настройки, рекомендованные ИЗГОТОВИТЕЛЕМ.
Если ME ИЗДЕЛИЕ используется совместно с ВЧ ЭЛЕКТРОХИРУРГИЧЕСКИМ АППАРАТОМ, оно должно возвращаться к предыдущему режиму работы в течение 10 с после воздействия полей, созданных ВЧ ЭЛЕКТРОХИРУРГИЧЕСКИМ АППАРАТОМ, без потери любых сохраненных данных.
Используют ВЧ ЭЛЕКТРОХИРУРГИЧЕСКИЙ АППАРАТ, соответствующий МЭК 60601-2-2 и имеющий минимальную мощность в режиме резания 300 Вт, минимальную мощность в режиме коагуляции 100 Вт и рабочую частоту 400 кГц +/- 10%.
a) Испытание в режиме резания:
Устанавливают выходную мощность ВЧ ЭЛЕКТРОХИРУРГИЧЕСКОГО АППАРАТА на 300 Вт.
Прикасаются металлическим контактом/заготовкой в испытательной установке (см. рисунки 202.103 и 201.104) к АКТИВНОМУ ЭЛЕКТРОДУ и медленно удаляют электрод для получения дуги.
Проверяют, что в течение 10 с базовая линия ЭКГ возвращается к своему нормальному положению, а ME ИЗДЕЛИЕ возвращается к предыдущему рабочему режиму без потери сохраненных данных.
Повторяют процедуру пять раз.
b) Испытание в режиме коагуляции:
Повторяют испытания как указано в перечислении a), за исключением установки выходной мощности в 100 Вт.
Испытание в режиме распыляемой коагуляции исключено из данного требования.
Примечание - Отчет об испытаниях должен определять используемый ВЧ ЭЛЕКТРОХИРУРГИЧЕСКИЙ АППАРАТ.
1 - ВЧ ЭЛЕКТРОХИРУРГИЧЕСКИЙ АППАРАТ; 2 - металлическая
пластина; 3 - АКТИВНЫЙ ЭЛЕКТРОД ВЧ ЭЛЕКТРОХИРУРГИЧЕСКОГО
АППАРАТА; 4 - металлическая пластина/НЕЙТРАЛЬНЫЙ ЭЛЕКТРОД
(N) ВЧ ЭЛЕКТРОХИРУРГИЧЕСКОГО АППАРАТА; 5 - цепь связи; 6 -
КАБЕЛЬ ПАЦИЕНТА; 7 - ME ИЗДЕЛИЕ; Rp - 500 Ом, 200 Вт (с
низкой индуктивностью, менее 5 мГн, моделирует сопротивление
пациента); Cq - 47 нФ (для минимизации влияния разных типов
конструкции ВЧ ЭЛЕКТРОХИРУРГИЧЕСКОГО АППАРАТА); Rs - 51 кОм
Rs, Cs моделирует сопротивление кожи; Cs - 47 нФ
(для минимизации влияния разных типов конструкции ВЧ
ЭЛЕКТРОХИРУРГИЧЕСКОГО АППАРАТА); R, L, F, C, N - провода
Рисунок 202.103 - Испытательная схема для определения
Размеры в метрах
1 - ВЧ ЭЛЕКТРОХИРУРГИЧЕСКИЙ АППАРАТ; 2 - металлическая
пластина; 3 - АКТИВНЫЙ ЭЛЕКТРОД ВЧ ЭЛЕКТРОХИРУРГИЧЕСКОГО
АППАРАТА; 4 - НЕЙТРАЛЬНЫЙ ЭЛЕКТРОД ВЧ ЭЛЕКТРОХИРУРГИЧЕСКОГО
АППАРАТА; 5 - цепь связи: испытательная схема -
ПАЦИЕНТА; 7 - испытуемое ME ИЗДЕЛИЕ; 8 - СЕТЬ; 9 - стол,
изготовленный из изоляционного материала; 10 - соединение
с ПРОВОДНИКОМ ЗАЩИТНОГО ЗАЗЕМЛЕНИЯ для заземления
Рисунок 202.104 - Испытательная установка для определения
208. Общие требования, испытания и руководящие указания по применению систем сигнализации медицинских электрических изделий и медицинских электрических систем
Применяют МЭК 60601-1-8, за исключением следующего (см. также диаграммы сигнализации в
приложении BB):
208.6 СИСТЕМЫ СИГНАЛИЗАЦИИ
208.6.1 УСЛОВИЯ СРАБАТЫВАНИЯ СИГНАЛИЗАЦИИ
208.6.1.2 Приоритет УСЛОВИЙ СРАБАТЫВАНИЯ СИГНАЛИЗАЦИИ
Дополнение:
ME ИЗДЕЛИЕ, включающее в своем ПРЕДУСМОТРЕННОМ ПРИМЕНЕНИИ контроль ПАЦИЕНТА, который не предусматривает при НОРМАЛЬНОЙ ЭКСПЛУАТАЦИИ постоянного присутствия клинического ОПЕРАТОРА, должно использовать УСЛОВИЯ СРАБАТЫВАНИЯ СИГНАЛИЗАЦИИ, которые могут привести к незначительным повреждениям и отложить наступление потенциального ВРЕДА, как УСЛОВИЯ СРАБАТЫВАНИЯ СИГНАЛИЗАЦИИ НИЗКОГО ПРИОРИТЕТА (см.
таблицу 208.101).
В ЭКСПЛУАТАЦИОННЫХ ДОКУМЕНТАХ должно быть описано, как ОТВЕТСТВЕННАЯ ОРГАНИЗАЦИЯ может запустить или отключить звуковые СИГНАЛЫ ОПАСНОСТИ для УСЛОВИЙ СРАБАТЫВАНИЯ СИГНАЛИЗАЦИИ НИЗКОГО ПРИОРИТЕТА. Применяются требования МЭК 60601-1-8, подпункт 6.7.
Примечание - Данная адаптация таблицы 1 МЭК 60601-1-8 связана с необходимостью включения дополнительных конструктивных возможностей данного ME ИЗДЕЛИЯ. Данные возможности необходимы, когда ОТВЕТСТВЕННАЯ ОРГАНИЗАЦИЯ нуждается в звуковых СИГНАЛАХ ОПАСНОСТИ для УСЛОВИЙ СРАБАТЫВАНИЯ СИГНАЛИЗАЦИИ НИЗКОГО ПРИОРИТЕТА, как в случаях блоков интенсивной терапии, где не используется централизованный контроль.
Таблица 208.101 является модификацией таблицы 1 - приоритеты УСЛОВИЙ СРАБАТЫВАНИЯ СИГНАЛИЗАЦИИ для ME ИЗДЕЛИЯ, которое включает в своем ПРЕДУСМОТРЕННОМ ПРИМЕНЕНИИ контроль ПАЦИЕНТА, не требующий при НОРМАЛЬНОЙ ЭКСПЛУАТАЦИИ постоянного присутствия клинического ОПЕРАТОРА.
Таблица 208.101
Приоритеты УСЛОВИЙ СРАБАТЫВАНИЯ СИГНАЛИЗАЦИИ для ME ИЗДЕЛИЯ,
которое включает в своем ПРЕДУСМОТРЕННОМ ПРИМЕНЕНИИ контроль
ПАЦИЕНТА, не требующий при НОРМАЛЬНОЙ ЭКСПЛУАТАЦИИ
постоянного присутствия клинического ОПЕРАТОРА
Возможный результат отказа, связанного с причиной условий срабатывания сигнализации | Наступление потенциального вреда <a> |
| | |
Смерть или необратимые повреждения | | ВЫСОКИЙ ПРИОРИТЕТ | СРЕДНИЙ ПРИОРИТЕТ |
Обратимые повреждения | ВЫСОКИЙ ПРИОРИТЕТ | СРЕДНИЙ ПРИОРИТЕТ | Низкий ПРИОРИТЕТ |
Незначительные повреждения или дискомфорт | СРЕДНИЙ ПРИОРИТЕТ | Низкий ПРИОРИТЕТ | Низкий ПРИОРИТЕТ |
<a> Наступление потенциального вреда относится к тому моменту, когда повреждение наступает, а не когда оно проявляется. <b> Вероятность развития события в течение периода времени, обычно недостаточного для корректировочных действий, осуществляемых вручную. <c> Вероятность развития события в течение периода времени, обычно достаточного для корректировочных действий, осуществляемых вручную. <d> Вероятность развития события в течение неопределенного времени, большего чем время, определенное как быстрое. <e> Если практически применимо, ME ИЗДЕЛИЕ с терапевтической функцией, должно включать автоматические механизмы безопасности, препятствующие немедленной смерти или необратимому повреждению, вызванным ME ИЗДЕЛИЕМ. См. также применимые частные стандарты. |
208.6.3.3 Звуковые сигналы ОПАСНОСТИ
208.6.3.3.1 Характеристики ЗВУКОВЫХ СИГНАЛОВ ОПАСНОСТИ
Дополнение:
Для ME ИЗДЕЛИЯ, которое включает в своем ПРЕДУСМОТРЕННОМ ПРИМЕНЕНИИ контроль ПАЦИЕНТА, не требующий при НОРМАЛЬНОЙ ЭКСПЛУАТАЦИИ постоянного присутствия клинического ОПЕРАТОРА:
- звуковые СИГНАЛЫ ОПАСНОСТИ должны сообщать об УСЛОВИЯХ СРАБАТЫВАНИЯ СИГНАЛИЗАЦИИ НИЗКОГО ПРИОРИТЕТА (удалить сноску "d" из таблицы 3 МЭК 606061-1-8);
- заменить "> 15 с или не повторяться" на "от 2,5 с до 30 с" в колонке "сигналы ОПАСНОСТИ НИЗКОГО ПРИОРИТЕТА" таблицы 3 МЭК 60601-1-8;
- звуковые СИГНАЛЫ ОПАСНОСТИ должны сообщать о ТЕХНИЧЕСКИХ УСЛОВИЯХ СРАБАТЫВАНИЯ СИГНАЛИЗАЦИИ.
Таблица 208.102 является модификацией таблицы 3 - Характеристики импульсов звуковых СИГНАЛОВ ОПАСНОСТИ для ME ИЗДЕЛИЯ, которое включает в своем ПРЕДУСМОТРЕННОМ ПРИМЕНЕНИИ контроль ПАЦИЕНТА, не требующий при НОРМАЛЬНОЙ ЭКСПЛУАТАЦИИ постоянного присутствия клинического ОПЕРАТОРА.
Таблица 208.102
Характеристики импульсов звуковых СИГНАЛОВ ОПАСНОСТИ для ME
ИЗДЕЛИЯ, которое включает в своем ПРЕДУСМОТРЕННОМ ПРИМЕНЕНИИ
контроль ПАЦИЕНТА, не требующий при НОРМАЛЬНОЙ ЭКСПЛУАТАЦИИ
постоянного присутствия клинического ОПЕРАТОРА
Характеристика | СИГНАЛ ОПАСНОСТИ ВЫСОКОГО ПРИОРИТЕТА | СИГНАЛ ОПАСНОСТИ СРЕДНЕГО ПРИОРИТЕТА | СИГНАЛ ОПАСНОСТИ НИЗКОГО ПРИОРИТЕТА |
Число импульсов в пачке <a>, <e> | 10 | 3 | 1 или 2 |
| | | |
между первым и вторым импульсами | x | y | y |
между вторым и третьим импульсами | x | y | Не применимо |
между третьим и четвертым импульсами | 2x + td | Не применимо | Не применимо |
между четвертым и пятым импульсами | x | Не применимо | Не применимо |
между пятым и шестым импульсами | От 0,35 до 1,30 с | Не применимо | Не применимо |
между шестым и седьмым импульсами | x | Не применимо | Не применимо |
между седьмым и восьмым импульсами | x | Не применимо | Не применимо |
между восьмым и девятым импульсами | 2x + td | Не применимо | Не применимо |
между девятым и десятым импульсами | x | Не применимо | Не применимо |
Интервал между пачками <b>, <c> ( tb) | От 2,5 до 15,0 с | От 2,5 до 30,0 с | От > 15 до 60 с |
Разница амплитуд двух любых импульсов | Максимум 10 дБ | Максимум 10 дБ | Максимум 10 дБ |
x - значение от 50 до 125 мс. y - значение от 125 до 250 мс. Отклонения x и y в пределах ПАЧКИ должны быть +/- 5%. td + y для СРЕДНЕГО ПРИОРИТЕТА должно быть более или равно td + x для ВЫСОКОГО ПРИОРИТЕТА. |
<a> См. также МЭК 60601-1-8, таблица 4, на предмет характеристик ИМПУЛЬСА. <b> Если в частном стандарте на специальное ME ИЗДЕЛИЕ не определено иное. <c> Приветствуется использование изготовителями более длинного ИНТЕРВАЛА МЕЖДУ ПАЧКАМИ в соответствии с АНАЛИЗОМ РИСКА. Приветствуется рассмотрение авторами частных стандартов максимальных применимых ИНТЕРВАЛОВ МЕЖДУ ПАЧКАМИ звуковых СИГНАЛОВ ОПАСНОСТИ для специальных применений СИСТЕМ СИГНАЛИЗАЦИИ. Однако, длинный ИНТЕРВАЛ МЕЖДУ ПАЧКАМИ при некоторых условиях может негативно влиять на возможность корректного своевременного распознавания источника УСЛОВИЙ СРАБАТЫВАНИЯ СИГНАЛИЗАЦИИ. <d> Вероятность развития события в течение неопределенного времени, большего чем время, определенное как быстрое. <e> Несмотря на инактивацию клиническим ОПЕРАТОРОМ, звуковые СИГНАЛЫ ОПАСНОСТИ СРЕДНЕГО и НИЗКОГО ПРИОРИТЕТОВ должны завершить, по крайней мере, одну ПАЧКУ, а звуковые СИГНАЛЫ ОПАСНОСТИ ВЫСОКОГО ПРИОРИТЕТА должны завершить, по крайней мере, половину одной ПАЧКИ. |
В ЭКСПЛУАТАЦИОННЫХ ДОКУМЕНТАХ должно быть описано, как ОТВЕТСТВЕННАЯ ОРГАНИЗАЦИЯ может запустить или отключить звуковые СИГНАЛЫ ОПАСНОСТИ для УСЛОВИЙ СРАБАТЫВАНИЯ СИГНАЛИЗАЦИИ НИЗКОГО ПРИОРИТЕТА и может ограничить доступ к управлению ИНТЕРВАЛАМИ МЕЖДУ ПАЧКАМИ для всех звуковых СИГНАЛОВ ОПАСНОСТИ. Применяются требования МЭК 60601-1-8, подпункт 6.7.
Примечание - Данная адаптация таблицы 3 МЭК 60601-1-8 связана с необходимостью включения дополнительных конструктивных возможностей данного ME ИЗДЕЛИЯ. Данные возможности необходимы, когда ОТВЕТСТВЕННАЯ ОРГАНИЗАЦИЯ нуждается в звуковых СИГНАЛАХ ОПАСНОСТИ для УСЛОВИЙ СРАБАТЫВАНИЯ СИГНАЛИЗАЦИИ НИЗКОГО ПРИОРИТЕТА, как в случаях блоков интенсивной терапии, где не используется централизованный контроль.
Должен применяться менеджмент риска для определения максимального интервала между ПАЧКАМИ для звуковых СИГНАЛОВ ОПАСНОСТИ, связанных с УСЛОВИЯМИ СРАБАТЫВАНИЯ СИГНАЛИЗАЦИИ ВЫСОКОГО, СРЕДНЕГО и НИЗКОГО ПРИОРИТЕТОВ.
Соответствие проверяют осмотром файла менеджмента риска.
208.6.3.3.2 Громкость звуковых сигналов ОПАСНОСТИ и информационных сигналов
Дополнение:
208.6.3.3.2.101* Громкость сигналов ОПАСНОСТИ, снижаемых до нуля
Если клинический ОПЕРАТОР снижает громкость СИГНАЛОВ ОПАСНОСТИ до нуля (отсутствует звуковое давление), должно отображаться состояние инактивации СИГНАЛОВ ОПАСНОСТИ - ЗВУК ОТКЛЮЧЕН, за исключением случаев, когда ME ИЗДЕЛИЕ является частью РАСПРЕДЕЛЕННОЙ СИСТЕМЫ СИГНАЛИЗАЦИИ, в которой СИГНАЛЫ ОПАСНОСТИ повторяются на удаленных компонентах РАСПРЕДЕЛЕННОЙ СИСТЕМЫ СИГНАЛИЗАЦИИ.
Соответствие проверяют функциональными испытаниями.
208.6.4.2* Задержка при использовании РАСПРЕДЕЛЕННОЙ СИСТЕМЫ СИГНАЛИЗАЦИИ
Дополнение:
Задержка ГЕНЕРИРОВАНИЯ СИГНАЛА ОПАСНОСТИ при ФИЗИОЛОГИЧЕСКИХ УСЛОВИЯХ СРАБАТЫВАНИЯ СИГНАЛИЗАЦИИ и ТЕХНИЧЕСКИХ УСЛОВИЯХ СРАБАТЫВАНИЯ СИГНАЛИЗАЦИИ на удаленных компонентах РАСПРЕДЕЛЕННОЙ СИСТЕМЫ СИГНАЛИЗАЦИИ должна быть ограничена так, чтобы не происходило не приемлемой задержки лечения ПАЦИЕНТА. Для определения максимального приемлемого времени задержки СИГНАЛА ОПАСНОСТИ перед представлением СИГНАЛОВ ОПАСНОСТИ на удаленных компонентах РАСПРЕДЕЛЕННОЙ СИСТЕМЫ СИГНАЛИЗАЦИИ применяется МЕНЕДЖМЕНТ РИСКА.
Соответствие проверяют рассмотрением ФАЙЛА МЕНЕДЖМЕНТА РИСКА.
208.6.6 Пределы срабатывания сигнализации
208.6.6.2 Регулируемые ПРЕДЕЛЫ СРАБАТЫВАНИЯ СИГНАЛИЗАЦИИ
Дополнение:
208.6.6.2.101 Регулируемые ПРЕДЕЛЫ СРАБАТЫВАНИЯ СИГНАЛИЗАЦИИ диапазона частот сердечных сокращений
ME ИЗДЕЛИЕ должно быть оборудовано средствами регулирования верхнего и нижнего ПРЕДЕЛОВ СРАБАТЫВАНИЯ СИГНАЛИЗАЦИИ частоты сердечных сокращений. Для взрослых ПАЦИЕНТОВ настройки верхнего ПРЕДЕЛА СРАБАТЫВАНИЯ СИГНАЛИЗАЦИИ должны регулироваться, по крайней мере, в диапазоне от 100 до 200 мин-1, а настройки нижнего ПРЕДЕЛА СРАБАТЫВАНИЯ СИГНАЛИЗАЦИИ должны регулироваться, по крайней мере, в диапазоне от 30 до 100 мин-1. Для новорожденных ПАЦИЕНТОВ и детей настройки верхнего ПРЕДЕЛА СРАБАТЫВАНИЯ СИГНАЛИЗАЦИИ должны регулироваться, по крайней мере, в диапазоне от 100 до 250 мин-1, а настройки НИЖНЕГО ПРЕДЕЛА СРАБАТЫВАНИЯ СИГНАЛИЗАЦИИ должны регулироваться, по крайней мере, в диапазоне от 30 до 150 мин-1.
Соответствие проверяют осмотром.
208.6.6.2.102 Разрешение настроек ПРЕДЕЛОВ СРАБАТЫВАНИЯ СИГНАЛИЗАЦИИ
ПРЕДЕЛЫ СРАБАТЫВАНИЯ СИГНАЛИЗАЦИИ должны регулироваться с шагом, не превышающим +/- 5 мин-1.
Соответствие проверяют осмотром.
208.6.6.2.103 Время срабатывания сигнализации при УСЛОВИЯХ СРАБАТЫВАНИЯ СИГНАЛИЗАЦИИ для частоты сердечных сокращений
ЗАДЕРЖКА ГЕНЕРИРОВАНИЯ СИГНАЛА СИГНАЛИЗАЦИИ при остановке сердца (асистолии) не должна превышать 10 с.
Сумма ЗАДЕРЖКИ ФОРМИРОВАНИЯ УСЛОВИЙ СРАБАТЫВАНИЯ СИГНАЛИЗАЦИИ и ЗАДЕРЖКИ ГЕНЕРИРОВАНИЯ СИГНАЛА ОПАСНОСТИ для СИГНАЛОВ ОПАСНОСТИ при УСЛОВИЯХ СРАБАТЫВАНИЯ СИГНАЛИЗАЦИИ при низкой частоте сердечных сокращений и высокой частоте сердечных сокращений не должна превышать 10 с.
Соответствие проверяют следующими испытаниями:
Для всех испытаний используется модель ЭКГ сигнала амплитудой QRS 1 мВ и продолжительностью QRS 70 мс. Отклонение входной частоты сердечных сокращений от номинального значения не должно превышать 5%.
УСЛОВИЯ СРАБАТЫВАНИЯ СИГНАЛИЗАЦИИ при низкой частоте сердечных сокращений: Устанавливают частоту сердечных сокращений на 80 мин-1, а нижний ПРЕДЕЛ СРАБАТЫВАНИЯ СИГНАЛИЗАЦИИ на 60 мин-1. Ступенчато изменяют частоту сердечных сокращений с 80 на 40 мин-1. Измеряют время между изменением частоты сердечных сокращений и моментом, когда СИГНАЛ ОПАСНОСТИ покажет достижение нижнего предела УСЛОВИЙ СРАБАТЫВАНИЯ СИГНАЛИЗАЦИИ.
УСЛОВИЯ СРАБАТЫВАНИЯ СИГНАЛИЗАЦИИ при высокой частоте сердечных сокращений: Устанавливают частоту сердечных сокращений на 80 мин-1, а верхний ПРЕДЕЛ СРАБАТЫВАНИЯ СИГНАЛИЗАЦИИ на 100 мин-1. Ступенчато изменяют частоту сердечных сокращений с 80 на 120 мин-1. Измеряют время между изменением частоты сердечных сокращений и моментом, когда СИГНАЛ ОПАСНОСТИ покажет достижение верхнего предела УСЛОВИЙ СРАБАТЫВАНИЯ СИГНАЛИЗАЦИИ.
Остановка сердца: Устанавливают частоту сердечных сокращений на 80 мин-1, а нижний ПРЕДЕЛ СРАБАТЫВАНИЯ СИГНАЛИЗАЦИИ на 60 мин-1. Ступенчато изменяют частоту сердечных сокращений с 80 на 0 мин-1. Измеряют время между изменением частоты сердечных сокращений и моментом, когда СИГНАЛ ОПАСНОСТИ покажет наличие УСЛОВИЙ СРАБАТЫВАНИЯ СИГНАЛИЗАЦИИ при остановке сердца.
208.6.6.2.104 ТЕХНИЧЕСКИЕ УСЛОВИЯ СРАБАТЫВАНИЯ СИГНАЛИЗАЦИИ, показывающие нерабочее состояние ME ИЗДЕЛИЯ
ME ИЗДЕЛИЕ должно быть снабжено средствами отображения в течение 10 с того, что ME ИЗДЕЛИЕ находится в нерабочем состоянии из-за перегрузки или намокания каких-либо частей усилителя ЭКГ или из-за отсоединения ПРОВОДОВ ОТВЕДЕНИЙ ЭКГ.
Соответствие проверяют следующим испытанием, используя испытательную схему, показанную на рисунке 201.105:
Устанавливают КОЭФФИЦИЕНТ УСИЛЕНИЯ 10 мм/мВ и скорость развертки 25 мм/с. Закрывают переключатели S, S2 и устанавливают переключатель S4 в положение B. Подсоединяют генератор сигнала между ПРОВОДОМ ОТВЕДЕНИЯ R (RA) и всеми другими ПРОВОДАМИ ОТВЕДЕНИЙ, соединенными с ПРОВОДОМ ОТВЕДЕНИЯ N (RL). Последовательно с генератором сигнала подсоединяют источник постоянного напряжения, способный обеспечивать выход минус 5 В и плюс 5 В.
Регулируют генератор сигнала так, чтобы он обеспечивал сигнал частотой 10 Гц. Накладывают сигнал 10 Гц на постоянное напряжение, меняющееся от минус 5 В до плюс 5 В.
Начиная с нуля, увеличивают постоянное напряжение со скоростью примерно 1 В/с с 0 В до плюс 5 В, а затем до минус 5 В, используя любые возможности разблокирования ME ИЗДЕЛИЯ для восстановления записи.
Если сигнал частотой 10 Гц невидим в течение 10 с амплитудой, по крайней мере, 0,5 мВ, приведенной ко входу, проверяют, что ТЕХНИЧЕСКИЕ УСЛОВИЯ СРАБАТЫВАНИЯ СИГНАЛИЗАЦИИ показывают, что ME ИЗДЕЛИЕ находится в нерабочем состоянии.
Отсоединяют все провода отведений. Проверяют, что в течение 10 с ТЕХНИЧЕСКИЕ УСЛОВИЯ СРАБАТЫВАНИЯ СИГНАЛИЗАЦИИ показывают, что ME ИЗДЕЛИЕ находится в нерабочем состоянии.
208.6.6.2.105 Распределение приоритетов УСЛОВИЙ СРАБАТЫВАНИЯ СИГНАЛИЗАЦИИ
СИГНАЛЫ ОПАСНОСТИ для УСЛОВИЙ СРАБАТЫВАНИЯ СИГНАЛИЗАЦИИ, относящихся к частоте сердечных сокращений, должны иметь, по крайней мере, СРЕДНИЙ ПРИОРИТЕТ. ФИЗИОЛОГИЧЕСКИЕ УСЛОВИЯ СРАБАТЫВАНИЯ СИГНАЛИЗАЦИИ при остановке сердца (асистолии), желудочковой тахикардии и желудочковой фибрилляции должны иметь ВЫСОКИЙ ПРИОРИТЕТ. Приоритеты других ФИЗИОЛОГИЧЕСКИХ УСЛОВИЙ СРАБАТЫВАНИЯ СИГНАЛИЗАЦИИ в таких ситуациях, как аритмии (VPC, желудочковая бигеминия или нерегулярный ритм сердца и т.д.), или если эти ситуации могут относиться к информационным сигналам, должны определяться в процессе МЕНЕДЖМЕНТА РИСКА.
Соответствие проверяют осмотром и функциональными испытаниями.
208.6.8 Состояние инактивации сигнала ОПАСНОСТИ
Дополнение:
208.6.8.101* ТЕХНИЧЕСКИЕ УСЛОВИЯ СРАБАТЫВАНИЯ СИГНАЛИЗАЦИИ
Инактивация СИГНАЛОВ ОПАСНОСТИ (ОСТАНОВКА СИГНАЛИЗАЦИИ и ОТКЛЮЧЕНИЕ СИГНАЛИЗАЦИИ):
a) не должна инактивировать визуальные СИГНАЛЫ ОПАСНОСТИ ТЕХНИЧЕСКИХ УСЛОВИЙ СРАБАТЫВАНИЯ СИГНАЛИЗАЦИИ, которые определяют специальные УСЛОВИЯ СРАБАТЫВАНИЯ СИГНАЛИЗАЦИИ, и их приоритетов на расстоянии 1 м от ME ИЗДЕЛИЯ;
b) может инактивировать визуальные СИГНАЛЫ ОПАСНОСТИ, определенные в МЭК 60601-1-8, подпункт 6.3.2.2, перечисление b).
В случае ТЕХНИЧЕСКИХ УСЛОВИЙ СРАБАТЫВАНИЯ СИГНАЛИЗАЦИИ любое измеренное значение(я) параметра(ов) должно отображаться таким образом, чтобы клинический ОПЕРАТОР мог определить валидность измеренного значения(й).
Примечание - При ТЕХНИЧЕСКИХ УСЛОВИЯХ СРАБАТЫВАНИЯ СИГНАЛИЗАЦИИ может быть невозможно с помощью физиологических параметров определить ФИЗИОЛОГИЧЕСКИЕ УСЛОВИЯ СРАБАТЫВАНИЯ СИГНАЛИЗАЦИИ.
Если ПРОВОДА ОТВЕДЕНИЙ, КАБЕЛЬ ПАЦИЕНТА или модули целенаправленно отсоединяются клиническим ОПЕРАТОРОМ как определено ИЗГОТОВИТЕЛЕМ, СБРОС СИГНАЛИЗАЦИИ может использоваться для отключения визуальных СИГНАЛОВ ОПАСНОСТИ этих ТЕХНИЧЕСКИХ УСЛОВИЙ СРАБАТЫВАНИЯ СИГНАЛИЗАЦИИ. Эти средства должны быть приведены в инструкции по эксплуатации (см.
201.7.9.2.9.101, перечисление a) 14).
Соответствие проверяют осмотром и функциональными испытаниями.
208.6.9* СБРОС СИГНАЛИЗАЦИИ
Замена:
Должны быть предусмотрены средства активации клиническим ОПЕРАТОРОМ СБРОСА СИГНАЛИЗАЦИИ для СИГНАЛОВ ОПАСНОСТИ.
После активации функции СБРОСА СИГНАЛИЗАЦИИ:
a) звуковые СИГНАЛЫ ОПАСНОСТИ ФИЗИОЛОГИЧЕСКИХ УСЛОВИЙ СРАБАТЫВАНИЯ СИГНАЛИЗАЦИИ должны затухать, позволяя СИСТЕМЕ СИГНАЛИЗАЦИИ реагировать на последующие УСЛОВИЯ СРАБАТЫВАНИЯ СИГНАЛИЗАЦИИ.
| | ИС МЕГАНОРМ: примечание. В официальном тексте документа, видимо, допущена опечатка: имеется в виду перечисление a) 14) подпункта 201.7.9.2.9.101, а не перечисление 14). | |
c) визуальные СИГНАЛЫ ОПАСНОСТИ для существующих УСЛОВИЙ СРАБАТЫВАНИЯ СИГНАЛИЗАЦИИ должны длиться так долго, сколько существуют УСЛОВИЯ СРАБАТЫВАНИЯ СИГНАЛИЗАЦИИ;
d) СИСТЕМА СИГНАЛИЗАЦИИ должна активироваться незамедлительно так, чтобы она могла реагировать на последующие УСЛОВИЯ СРАБАТЫВАНИЯ СИГНАЛИЗАЦИИ;
e) визуальные СИГНАЛЫ ОПАСНОСТИ ТЕХНИЧЕСКИХ УСЛОВИЙ СРАБАТЫВАНИЯ СИГНАЛИЗАЦИИ не должны затухать при существующих ТЕХНИЧЕСКИХ УСЛОВИЯХ СРАБАТЫВАНИЯ СИГНАЛИЗАЦИИ.
Средства управления сбросом сигнализации должны быть маркированы символом МЭК 60417-5309 (2002-10) (см. МЭК 60601-1-8, таблица C.1, символ 2, и/или текстовой строкой маркировки 5 по таблице C.2).
Соответствие проверяют осмотром.
208.6.10* СИГНАЛИЗАЦИЯ С АВТОМАТИЧЕСКИМ И НЕАВТОМАТИЧЕСКИМ ОТКЛЮЧЕНИЕМ СИГНАЛА
Дополнение к первому абзацу:
Для ME ИЗДЕЛИЯ, которое поддерживает комбинацию СИГНАЛОВ ОПАСНОСТИ С АВТОМАТИЧЕСКИМ И НЕАВТОМАТИЧЕСКИМ ОТКЛЮЧЕНИЕМ СИГНАЛА должны быть предусмотрены средства, позволяющие ОТВЕТСТВЕННОЙ ОРГАНИЗАЦИИ задавать для ME ИЗДЕЛИЯ все СИГНАЛЫ ОПАСНОСТИ С АВТОМАТИЧЕСКИМ ОТКЛЮЧЕНИЕМ СИГНАЛА и все СИГНАЛЫ ОПАСНОСТИ С НЕАВТОМАТИЧЕСКИМ ОТКЛЮЧЕНИЕМ СИГНАЛА для ФИЗИОЛОГИЧЕСКИХ УСЛОВИЙ СРАБАТЫВАНИЯ СИГНАЛИЗАЦИИ и ограничивать ОТВЕТСТВЕННОЙ ОРГАНИЗАЦИИ доступ к данной настройке.
Примечание - Данное требование обеспечивает возможность создания дополнительной конфигурации при использовании в блоках интенсивной терапии, где ОТВЕТСТВЕННАЯ ОРГАНИЗАЦИЯ нуждается в СИГНАЛИЗАЦИИ С НЕАВТОМАТИЧЕСКИМ ОТКЛЮЧЕНИЕМ для всех УСЛОВИЙ СРАБАТЫВАНИЯ СИГНАЛИЗАЦИИ.
Соответствие проверяют функциональными испытаниями.
208.6.10.101* СИГНАЛИЗАЦИЯ С АВТОМАТИЧЕСКИМ ОТКЛЮЧЕНИЕМ СИГНАЛА для ТЕХНИЧЕСКИХ УСЛОВИЙ СРАБАТЫВАНИЯ СИГНАЛИЗАЦИИ
СИГНАЛИЗАЦИЯ С АВТОМАТИЧЕСКИМ ОТКЛЮЧЕНИЕМ СИГНАЛА должна быть связана с ТЕХНИЧЕСКИМИ УСЛОВИЯМИ СРАБАТЫВАНИЯ СИГНАЛИЗАЦИИ.
208.6.11 РАСПРЕДЕЛЕННАЯ СИСТЕМА СИГНАЛИЗАЦИИ
208.6.11.2.2* Отказ дистанционной передачи УСЛОВИЙ СРАБАТЫВАНИЯ СИГНАЛИЗАЦИИ
Заменить перечисление b):
b) инициировать сообщения о ТЕХНИЧЕСКИХ УСЛОВИЯХ СРАБАТЫВАНИЯ СИГНАЛИЗАЦИИ во всех неисправных частях РАСПРЕДЕЛЕННОЙ СИСТЕМЫ СИГНАЛИЗАЦИИ, которые могут вырабатывать СИГНАЛЫ ОПАСНОСТИ.
Дополнение:
Если при нахождении ME ИЗДЕЛИЯ в состоянии ОТКЛЮЧЕНИЯ ЗВУКА ME ИЗДЕЛИЕ обнаруживает в РАСПРЕДЕЛЕННОЙ СИСТЕМЕ СИГНАЛИЗАЦИИ отказ передачи, оно должно прервать состояние ОТКЛЮЧЕНИЯ ЗВУКА и инициировать ТЕХНИЧЕСКИЕ УСЛОВИЯ СРАБАТЫВАНИЯ СИГНАЛИЗАЦИИ.
Дополнительный подпункт:
208.6.11.101* Инактивация/активация СИГНАЛОВ ОПАСНОСТИ в удаленных компонентах РАСПРЕДЕЛЕННОЙ СИСТЕМЫ СИГНАЛИЗАЦИИ
Если для предполагаемой среды использование считается приемлемым на основании МЕНЕДЖМЕНТА РИСКА, ME ИЗДЕЛИЕ может быть оборудовано средствами, позволяющими клиническому ОПЕРАТОРУ активировать и инактивировать СИГНАЛЫ ОПАСНОСТИ ME ИЗДЕЛИЯ или изменять НАСТРОЙКИ ПРЕДЕЛОВ СРАБАТЫВАНИЯ СИГНАЛИЗАЦИИ удаленных компонентов РАСПРЕДЕЛЕННОЙ СИСТЕМЫ СИГНАЛИЗАЦИИ с помощью:
- разрешения любых состояний инактивации, которые задаются на ME ИЗДЕЛИИ (ОСТАНОВКА СИГНАЛИЗАЦИИ, ОСТАНОВКА ЗВУКА, ОТКЛЮЧЕНИЕ СИГНАЛИЗАЦИИ или ОТКЛЮЧЕНИЕ ЗВУКА) и активации функции СБРОСА СИГНАЛИЗАЦИИ, и
- прекращения состояния инактивации.
ME ИЗДЕЛИЕ, снабженное средствами дистанционной активации и инактивации СИГНАЛОВ ОПАСНОСТИ, должно быть также снабжено средствами настройки (разрешения или отключения) дистанционной активации/инактивации каждого предусмотренного состояния инактивации. Для предотвращения изменения данной настройки клиническим ОПЕРАТОРОМ, данные средства должны быть ограничены использованием ОТВЕТСТВЕННОЙ ОРГАНИЗАЦИЕЙ (см. МЭК 60601-1-8, подпункт 6.7).
Соответствие проверяют осмотром.
Применяются приложения общего стандарта.
(справочное)
СПЕЦИАЛЬНЫЕ РУКОВОДСТВА И ОБОСНОВАНИЕ
AA.1 Использование с дефибриллятором
Данная категория ME ИЗДЕЛИЯ часто используется для интенсивного контроля критических состояний больного и особенно часто в отделениях интенсивной терапии для больных с острой коронарной недостаточностью - ситуациях, в которых ожидается использование дефибрилляторов.
Защита от дефибриллятора требуется не только с точки зрения безопасности, но также с точки зрения обеспечения рабочих характеристик, т.к. данное ME ИЗДЕЛИЕ обеспечивает первые показания восстановления синусового ритма (см.
201.8.5.5.1).
По этой причине рабочая группа не сомневалась, что требованиями настоящего стандарта надо сделать не только защиту ME ИЗДЕЛИЯ от дефибрилляторов, но также то, что ME ИЗДЕЛИЕ должно обеспечивать разумные показания в течение короткого промежутка времени для того, чтобы показывать врачам или пользователям результаты воздействия дефибрилляции.
Подпункт 201.8.5.5.1 предусматривает видимые показания в течение 5 с после дефибрилляции, и данное требование включает восстановление ЭЛЕКТРОДОВ.
AA.2 Обоснование испытательных напряжений для дефибриллятора
AA.2.1 Общие положения
Если напряжение дефибрилляции прикладывается к грудной клетке пациента через внешние прикладываемые пластины, ткани тела ПАЦИЕНТА в области пластин и между ними становятся системой деления напряжения.
Распределение напряжения может быть примерно измерено с использованием теории трехмерного поля, с изменением локальной проводимости тканей, которая далека от равномерной.
Если ЭЛЕКТРОДЫ блоков ME ИЗДЕЛИЯ прикладываются к грудной клетке или торсу ПАЦИЕНТА рядом с пластинами дефибриллятора, напряжение, которому подвергаются данные ЭЛЕКТРОДЫ, зависит от их положения, но, обычно, меньше чем напряжение дефибриллятора с нагрузкой. К сожалению, невозможно сказать насколько оно меньше, т.к. рассматриваемые ЭЛЕКТРОДЫ могут быть размещены где угодно в пределах данной области, включая непосредственное прилегание к одной из пластин дефибриллятора. Следовательно, в целях безопасности, необходимо требовать, чтобы такие ЭЛЕКТРОДЫ и ME ИЗДЕЛИЕ, к которому они подсоединены, могли выдерживать полное напряжение дефибриллятора. Оно должно составлять напряжение без нагрузки, т.к. одна из пластин дефибриллятора может не создавать хороший контакт с ПАЦИЕНТОМ.
Только в специальных случаях, если известно, что ЭЛЕКТРОДЫ расположены либо ровно посередине между пластинами дефибриллятора (например, чреспищеводные ЭЛЕКТРОДЫ), либо электрически фактически между ними, но в удаленной точке ПАЦИЕНТА (например, ЭЭГ или урологические ЭЛЕКТРОДЫ), можно безопасно предположить, что напряжение, прикладываемое к ЭЛЕКТРОДАМ, будет меньше напряжения дефибриллятора. В таких случаях требования к безопасности ЭЛЕКТРОДОВ и ME ИЗДЕЛИЯ, к которому они подсоединены, будут заключаться в возможности выдерживать напряжение немногим более половины напряжения дефибриллятора без нагрузки.
Последний набор обстоятельств, рассматриваемый при подсоединении ЭЛЕКТРОДОВ на теле ПАЦИЕНТА в области пластин дефибриллятора, включает размещение на руке или плече ПАЦИЕНТА. В данном случае рассматривается только вопрос безопасности, т.к. нет эффекта деления напряжения, и рука или плечо становятся электрическим проводником с открытым концом, соединенным рядом с пластинами дефибриллятора. ЭЛЕКТРОДЫ и связанное ME ИЗДЕЛИЕ должны выдерживать полное напряжение дефибриллятора без нагрузки.
При данном рассмотрении, как и в требованиях настоящего частного стандарта, предполагается, что одна пластина дефибриллятора соединена с землей.
AA.2.2 Сводка
В таблице AA.1 перечислены типичные примеры расположения электродов и получаемые напряжения, которые могут наблюдаться между данными электродами во время разряда дефибриллятора. В условиях худшего случая между ЭЛЕКТРОДАМИ прикладывается полное напряжение дефибриллятора без нагрузки.
Таблица AA.1
Положения электродов и требования
к электрической устойчивости
Положение электродов | Требования к электрической устойчивости |
На или в грудной клетке, точное положение не определено | Полное напряжение дефибриллятора без нагрузки: 5 кВ |
На или в грудной клетке, или на удалении от нее, но определено, что электрически посередине между пластинами дефибриллятора | Напряжение, немного превышающее половину напряжения дефибриллятора: 3 кВ |
На удалении от грудной клетки, электрически не посередине между пластинами дефибриллятора | Полное напряжение дефибриллятора без нагрузки: 5 кВ |
AA.2.3 Специальные требования
В настоящем частном стандарте применяются первые и третьи условия из
таблицы AA.1. ЭЛЕКТРОДЫ для контроля обычно располагаются на грудной клетке ПАЦИЕНТА, плечах или спине, но также могут быть расположены на конечностях ПАЦИЕНТА. Следовательно, ME ИЗДЕЛИЕ подвергается испытательному напряжению 5 кВ.
AA.3 Руководство и обоснование специальных пунктов
Некоторые пункты второго издания МЭК 60601-2-27 были исключены, т.к. эти пункты были включены в МЭК 60601-1.
Область применения настоящего частного стандарта определена так, чтобы включать ME ИЗДЕЛИЯ, используемые наиболее часто для получения данных с тела ПАЦИЕНТА.
ME ИЗДЕЛИЕ может использоваться при внутрисердечных процедурах. Кроме того, ME ИЗДЕЛИЕ является часто встречающейся частью МНОГОФУНКЦИОНАЛЬНОГО МОНИТОРА ПАЦИЕНТА, в котором некоторые или многие другие медицинские устройства подсоединяются к одному и тому же ПАЦИЕНТУ (ME СИСТЕМА). Следовательно, удалено указание на РАБОЧИЕ ЧАСТИ ТИПА B и ТИПА BF.
ИЗГОТОВИТЕЛЬ должен указать на необходимость уделять особое внимание типу используемых ЭЛЕКТРОДОВ, т.к. некоторые ЭЛЕКТРОДЫ могут подвергаться большим потенциалам смещения, связанным с поляризацией. Время восстановления после приложения импульса дефибриллятора может существенно ухудшиться. Присасывающиеся грудные электроды, обычно используемые для записи диагностической ЭКГ, могут быть особо подвержены данному влиянию. Также должно быть приведено четкое предупреждение, что не должны использоваться ЭЛЕКТРОДЫ из разных материалов, если только ЭЛЕКТРОКАРДИОГРАФИЧЕСКИЙ МОНИТОР не поддерживает потенциалы поляризации до 1 В.
Данное требование покрывает как часто используемую (ежедневную) проверку клиническим ОПЕРАТОРОМ, так и менее часто используемую, но более обширную техническую проверку для выявления механических повреждений и повреждений кабелей и т.д.
Данное требование защищает от двух ОПАСНЫХ СИТУАЦИЙ: во-первых, не должно существовать возможности случайного соединения ПАЦИЕНТА с землей через любой ПРОВОД ОТВЕДЕНИЯ, который может отсоединиться от ЭЛЕКТРОДА; во-вторых, не должно существовать возможности случайного соединения ПАЦИЕНТА с любыми токоведущими частями или частями, находящимися под опасными напряжениями.
Это означает, что для всего ME ИЗДЕЛИЯ не допускается использование ПРОВОДОВ ОТВЕДЕНИЙ, имеющих незакрытые металлические штыревые соединители. Для соответствия требованиям настоящего частного стандарта соединители ПРОВОДОВ ОТВЕДЕНИЙ, соединяющиеся с ЭЛЕКТРОДАМИ, не должны иметь незащищенных проводящих частей или проводящих частей, которые могут контактировать с землей. Это требование выполняется, если воздушный зазор между выводом соединителя и ровной поверхностью составляет по крайней мере 0,5 мм. Минимально необходимый воздушный зазор 0,5 мм обеспечивает надежный контакт с ЭЛЕКТРОДАМИ. Данное требование не применяется к самим ЭЛЕКТРОДАМ.
Для всех других соединителей СОЕДИНЕНИЯ С ПАЦИЕНТОМ, за исключением тех частей проводов ОТВЕДЕНИЙ, которые соединяются с ЭЛЕКТРОДАМИ, применяются требования 8.5.2.3 общего стандарта.
На рисунке AA.1 проиллюстрированы требования и обоснование
201.8.5.2.3.

- проводящее соединение с ПАЦИЕНТОМ, иллюстрирующее 8.5.2.3 общего стандарта: соединители, удаленные от ПАЦИЕНТА;

- проводящее соединение с ПАЦИЕНТОМ, иллюстрирующее
201.8.5.2.3: соединители, удаленные от ME ИЗДЕЛИЯ
Пункты 1 - 4 иллюстрируют проводящие соединения к и от ПАЦИЕНТА. Без защитных средств отсоединенные проводящие соединения могут заземлить ПАЦИЕНТА.
1), 3) - проводящее соединение с ПАЦИЕНТОМ (8.5.2.3 общего стандарта) - 1 мм/1 500 В, если соединитель может быть вставлен в сетевой разъем;
2), 4) - соединение ПАЦИЕНТА с землей через рабочую часть (дополнение к
201.8.5.2.3 настоящего частного стандарта) - воздушный зазор 0,5 мм
Рисунок AA.1 - РАБОЧИЕ ЧАСТИ с несколькими
СОЕДИНЕНИЯМИ С ПАЦИЕНТОМ
Для определения того, была ли попытка дефибрилляции ПАЦИЕНТА успешной, ME ИЗДЕЛИЕ нуждается в быстром восстановлении после перегрузки усилителя, вызванной импульсом дефибрилляции. Время восстановления 5 с считается достаточным для проверки эффективности дефибрилляции.
Сопротивление, ограничивающее ток 400 Ом на испытательной схеме, показанной на рисунке 11 общего стандарта, представляет сопротивление тканей тела между одной пластиной дефибриллятора и электродом. Данное значение используется ввиду малой вероятности одновременного контакта обоих ЭЛЕКТРОДОВ дефибриллятора с ЭЛЕКТРОДАМИ ME ИЗДЕЛИЯ.
Период переключения 200 мс не является критичным в той степени, что "очень быстро" было бы адекватной заменой, но указание конкретного времени дает порядок значений.
Во время дефибрилляции используются многие различные комбинации ОТВЕДЕНИЙ, что делает вероятным воздействие напряжения дефибрилляции на любое из этих ОТВЕДЕНИЙ. Следовательно, должна быть испытана комбинация ОТВЕДЕНИЙ, приведенная в
таблице 201.103. Эти комбинации гарантируют, что испытывается каждый ЭЛЕКТРОД, и включают отведения, которые наиболее вероятно подвергаются воздействию электрода(ов), соединенного(ых) с точкой
C.
Для ЭЛЕКТРОДОВ некоторых типов разряд дефибриллятора через ПАЦИЕНТА может привести к большому постоянному напряжению смещения, которое может отключить усилитель ME ИЗДЕЛИЯ. В то время как дисплей может восстановиться, усилитель ЭКГ может оставаться в нерабочем состоянии в течение некоторого времени. (Требования
208.6.6.2.104 обращают внимание на эту ситуацию). Наблюдаемая остановка сердца может привести к некорректному лечению. Это можно минимизировать подходящим выбором ЭЛЕКТРОДОВ (см. также
AA.1 и
AA.2).
ME ИЗДЕЛИЕ небольшого размера и мелкие части ME ИЗДЕЛИЯ могут быть закреплены на стойке для капельницы или использоваться рядом с ПАЦИЕНТОМ. Такое близкое к ПАЦИЕНТУ использование делает вероятным случайное намокание ME ИЗДЕЛИЯ при НОРМАЛЬНОЙ ЭКСПЛУАТАЦИИ. После намокания при НОРМАЛЬНОЙ ЭКСПЛУАТАЦИИ ME ИЗДЕЛИЕ должно продолжать обеспечивать ОСНОВНУЮ БЕЗОПАСНОСТЬ С УЧЕТОМ ОСНОВНЫХ ФУНКЦИОНАЛЬНЫХ ХАРАКТЕРИСТИК для продолжения контроля за ПАЦИЕНТОМ.
Прерывание ПОДАЧИ ПИТАНИЯ на срок менее 30 с обычно вызвано переключением на аварийный источник питания. Такое прерывание питания считается НОРМАЛЬНОЙ ЭКСПЛУАТАЦИЕЙ и, следовательно, не должно приводить к ОПАСНОСТИ для ПАЦИЕНТА. После восстановления питания ME ИЗДЕЛИЕ должно восстановить тот же режим работы и все настройки ОПЕРАТОРА, а также данные ПАЦИЕНТА, которые использовались перед прерыванием ПОДАЧИ ПИТАНИЯ. Примерами типичных сохраненных данных, которые могут влиять на безопасность ПАЦИЕНТА, являются рабочий режим, НАСТРОЙКИ СИГНАЛИЗАЦИИ (громкость звукового СИГНАЛА ОПАСНОСТИ, ПРЕДЕЛЫ СРАБАТЫВАНИЯ СИГНАЛИЗАЦИИ, ОТКЛЮЧЕНИЕ СИГНАЛИЗАЦИИ и т.д.), данные тренда и ПОДАВЛЕНИЕ импульсов кардиостимулятора, если выбраны ОПЕРАТОРОМ. В отличие от этих настроек, мгновенная частота сердечных сокращений или отображаемый сигнал ЭКГ не относятся к сохраненным данным.
Разряженная батарея может быть смоделирована с использованием лабораторного регулируемого источника питания, установленного на нижнее напряжение и набор сопротивлений, представляющих увеличенное сопротивление батареи, наблюдаемое обычно в данных условиях. Значения сопротивлений должны быть определены экспериментально.
Более чем 25 лет назад Ассоциация по продвижению медицинских инструментов (Association for the Advancement of Medical Instrumentation, AAMI) опубликовала EC 13, первый стандарт, который включал требования к безопасности и рабочим характеристикам ЭЛЕКТРОКАРДИОГРАФИЧЕСКОГО МОНИТОРА. В то время все ЭЛЕКТРОКАРДИОГРАФИЧЕСКИЕ МОНИТОРЫ крепились к стене и имели встроенные дисплеи. Эти две характеристики ключевым образом повлияли на некоторые требования к основным функциональным характеристикам, касающимся того, как отображается сигнал ЭКГ.
ANSI/AAMI EC 13 был существенно пересмотрен в 1992 г. и 2002 г. Пересмотр 1992 г. добавил несколько новых требований к функциональным характеристикам. Пересмотр 2002 г. изменил требования ЕМС, добавил испытания на электрохирургические помехи и пояснил некоторые другие методы испытания. Эти пересмотры не повлияли на требования, касающиеся дисплея.
Первое издание МЭК 60601-2-27, опубликованное в 1994 г., было сфокусировано на требованиях к ЭЛЕКТРОКАРДИОГРАФИЧЕСКОМУ МОНИТОРУ, касающихся безопасности. Второе издание МЭК 60601-2-27, опубликованное в 2005 г., добавило требования, касающиеся ОСНОВНЫХ ФУНКЦИОНАЛЬНЫХ ХАРАКТЕРИСТИК ЭЛЕКТРОКАРДИОГРАФИЧЕСКОГО МОНИТОРА. Многие требования, касающиеся ОСНОВНЫХ ФУНКЦИОНАЛЬНЫХ ХАРАКТЕРИСТИК, из второго издания МЭК 60601-2-27 гармонизированы с ANSI/AAMI EC 13:2002.
Некоторые требования, касающиеся воспроизведения на МОНИТОРЕ, которые были изначально в первом издании ANSI/AAMI EC 13, были изменены. Например, требования к высоте канала 30 мм обеспечивает сигнал ЭКГ достаточно большой для наблюдения с края кровати ПАЦИЕНТА. Два основных изменения на рынке сделали достаточно сложным для ЭЛЕКТРОКАРДИОГРАФИЧЕСКОГО МОНИТОРА соответствовать требованиям МЭК 60601-2-27 и ANSI/AAMI EC-13:2002:
- многие ОТВЕТСТВЕННЫЕ ОРГАНИЗАЦИИ в настоящее время требуют такой размер дисплея, который бы соответствовал их специальным нуждам. Такой ЭЛЕКТРОКАРДИОГРАФИЧЕСКИЙ МОНИТОР работает с дисплеем любого размера, а не с единственным встроенным дисплеем;
- технологии поверхностного крепления позволили, чтобы ПАЦИЕНТЫ носили на себе сетевой ЭЛЕКТРОКАРДИОГРАФИЧЕСКИЙ МОНИТОР [клинический ОПЕРАТОР только смотрит на дисплей, в то время как физически МОНИТОР размещен на ПАЦИЕНТЕ (например, расстояние наблюдения, 1 м)].
Данные требования были изменены, т.к. более ранние издания обоих стандартов на ЭЛЕКТРОКАРДИОГРАФИЧЕСКИЕ МОНИТОРЫ задавали равнозначные требования к КОЭФФИЦИЕНТУ УСИЛЕНИЯ, скорости развертки и соотношению высоты и ширины изображения сигнала. Соотношение высоты и ширины изображения сигнала ЭКГ является наиболее клинически значимым. В настоящем частном стандарте требования и испытания, касающиеся представления сигнала, были изменены для учета важности соотношения высоты и ширины изображения сигнала, тем самым отвечая на эти изменения на рынке.
Пересмотренная точность скорости развертки по
201.12.1.101.7 подтверждает, что скорость развертки ME ИЗДЕЛИЯ подходит для всех НЕПОСТОЯННЫХ ИЗОБРАЖЕНИЙ. Коэффициент увеличения по вертикали, определенный в данном пункте, используется для определения того, являются ли КОЭФФИЦИЕНТ УСИЛЕНИЯ и соотношение высоты и ширины изображения сигнала ME ИЗДЕЛИЯ клинически приемлемыми.
Следует отметить, что рабочая группа считает, что определение высоты изображения сигнала на оригинальном дисплее не достаточно, т.к. в другом подпункте требуется наличие ИНДИКАТОРА КОЭФФИЦИЕНТА УСИЛЕНИЯ (см.
201.12.1.101.9). В настоящем стандарте требуется, чтобы устройство обеспечивало настройку КОЭФФИЦИЕНТА УСИЛЕНИЯ на 10 мм/мВ. Точность данной настройки легко определить, т.к. КОЭФФИЦИЕНТ УСИЛЕНИЯ сигнала линейно зависит от приложенного коэффициента увеличения по вертикали, определенного в
201.12.1.101.7.
ME ИЗДЕЛИЕ должно корректно функционировать при наличии напряжения между кожей и электродом, которое, как известно, всегда присутствует.
Данное испытание гарантирует, что входной импеданс, по крайней мере, 2,5 МОм. Это необходимо для предотвращения чрезмерной потери амплитуды сигнала, связанной с высоким сопротивлением кожи.
Большинство новых ME ИЗДЕЛИЙ использует цифровую обработку сигнала, при которой сложно определить высокочастотные характеристики, используя аналоговый синусоидальный сигнал. Наиболее часто выбираемые на основе рассмотрения конструкции контура образцы могут быть слишком маленькими для точного воспроизведения синусоидальных сигналов. Поэтому, ME ИЗДЕЛИЕ должно соответствовать требованиям к частотным характеристикам при испытаниях как по методу A, так и по методу B.
Форма сигнала в виде равнобедренного треугольника моделирует ЭКГ сигнал более точно, чем синусоидальный сигнал. Высокочастотные характеристики ME ИЗДЕЛИЯ разумно определять на однополюсном фильтре нижних частот. Уменьшение амплитуды сигнала в виде равнобедренного треугольника при использовании фильтра нижних частот может быть 20/Wfc или 50TR/W, где W - ширина основания треугольника, fc - частота изломов и TR - длительность фронта фильтра низких частот.
Снижение амплитуды на 25% соответствует высокочастотным характеристикам ответа 40 Гц при ширине основания треугольника на входе 20 мс. Ограничение высокочастотной составляющей ответа 40 Гц основано на двух моментах. Во-первых, основная цель контроля ЭКГ - определение частоты сердечных сокращений, адекватно выполняется и без высокочастотной составляющей. Во-вторых, постоянная проблема высокочастотного шума от частот питающей линии и от мышечных артефактов снижается за счет 40 Гц полосы пропускания.
Низкочастотные характеристики были предварительно определены в терминах нижней частоты отсечки 0,05 Гц, которой достаточно для достижения точности воспроизведения
ST-сегмента даже для фильтров первого порядка с неопределенными фазовыми характеристиками. В настоящее время широко используются более сложные фильтры, которые достигают такой же точности воспроизведения
ST-сегмента и адекватного воспроизведения уклона, несмотря на то, что эти фильтры имеют большую частоту отсечки и, следовательно, обеспечивают более быстрое восстановление базовой линии. Следовательно, основываясь на рекомендации AHA 1990, требования к низкочастотным характеристикам в настоящее время установлены в терминах требований к импульсным характеристикам. Требования, определенные в
201.12.1.101.8, являются достаточными для обеспечения адекватного воспроизведения
ST-сегмента.
ME ИЗДЕЛИЕ должно в некоторой степени подавлять напряжения сетевой частоты, которые имеют емкостную связь с ПАЦИЕНТОМ. Емкость источника 200 пФ, которая достигается в испытании, моделирует сопротивление ПАЦИЕНТА на землю.
Для того чтобы проверить ПОДАВЛЕНИЕ СИНФАЗНОГО СИГНАЛА контуров ME ИЗДЕЛИЯ, необходимо отключить все узкополосные фильтры сетевой частоты. В противном случае, данное испытание, главным образом, проверит (в дифференциальном режиме) ПОДАВЛЕНИЕ данного узкополосного фильтра. Желательно достичь хорошего ПОДАВЛЕНИЯ СИНФАЗНОГО СИГНАЛА на частотах, отличных от частоты ИСТОЧНИКА ПИТАНИЯ. Некоторые современные ME ИЗДЕЛИЯ имеют узкополосные фильтры, которые работают постоянно, т.е. их нельзя отключить (например, сетевой фильтр может быть всегда включен). Несмотря на это, испытание по
201.12.1.101.10 должно проводиться со всеми отключенными сетевыми фильтрами, даже если для этого требуется специальная версия программного или аппаратного обеспечения.
Возможность отображения импульсов кардиостимулятора информирует клинического ОПЕРАТОРА о корректной работе кардиостимулятора. Идеально, чтобы эти импульсы могли быть показаны как маленькие отметки или стрелки. Реально, хвост импульса кардиостимулятора, связанный с реполяризацией, лежит в пределах той же полосы частот, что и комплекс QRS и может искажать ЭКГ. Различие в положении базовых линий до и после импульса кардиостимулятора сводит искажение к минимуму.
Требования к рабочим характеристикам устройства для измерения частоты сердечных сокращений в случаях, когда частота сердечных сокращений входного сигнала находится за пределами диапазона измерений, основаны на отчетах о случаях ошибочно низких показаний в присутствии экстремально высоких частот. Тахикардии, подлежащие лечению, при частотах до 300 мин-1 встречаются в неонатологии/педиатрии и у пациентов подросткового возраста (Venugopalan <1> et al., 2002). Такие пациенты должны быть защищены от ошибочно низких показаний частоты сердечных сокращений и соответствующих ошибок в срабатывании сигнализации).
--------------------------------
<1> Venugopalan et al., Superventricular tachycardia in children: a report of three cases, diagnosis and current management. Third GCC Conference of Faculties of Medicine on Medical Education, Sultan Qaboos University, Muscat, December 16 - 18, 2002.
Сигнал ЭКГ должен быть четко виден с заявленной предполагаемой точки наблюдения. Стандарты на процессы разработки с учетом эксплуатационной пригодности учитывают эту необходимость, даже если она непосредственно не испытывается.
Изображение канала и его пропорции являются фундаментальными характеристиками любого визуального представления сигнала ЭКГ.
В более ранних стандартах был использован термин "ширина канала", а не "высота канала". При внесении технических изменений, касающихся случайной связи требований к коэффициенту усиления, скорости развертки и соотношению длины и высоты в более ранних стандартах, комитет решил также одновременно скорректировать и этот момент.
Примечание - Оригинальный термин "ширина канала" относится к тому, как ЭКГ сигнал печатается на пишущей полосе. Если на пишущую полосу смотреть во время печати сигнала ЭКГ, амплитуда QRS комплекса идет на бумаге слева направо. Авторы более ранних стандартов использовали термин "ширина канала" для описания данной ситуации. Рассматривая вместо этого, как ЭКГ сигнал появляется на экране, было решено, что "высота канала" является более понятным термином.
ПРЕДУСМОТРЕННОЕ ПРИМЕНЕНИЕ/ПРЕДУСМОТРЕННОЕ НАЗНАЧЕНИЕ ЭЛЕКТРОКАРДИОГРАФИЧЕСКОГО МОНИТОРА однозначно определяет высоту изображения его канала. Например, ПРЕДУСМОТРЕННОЕ ПРИМЕНЕНИЕ/ПРЕДУСМОТРЕННОЕ НАЗНАЧЕНИЕ ME ИЗДЕЛИЯ, крепящегося к стене, и ME ИЗДЕЛИЯ, носимого ПАЦИЕНТОМ, требуют, чтобы ЭКГ сигнал был четко виден с предполагаемой позиции наблюдения, однако разные изделия интерпретируют данное требование по-разному, т.к. их предполагаемая точка наблюдения различается.
Высота изображения канала равная или более 30 мм для мониторов, крепящихся к стене, гарантирует, что сигнал виден с расстояния 5 - 8 м.
Высота изображения канала 10 мм является достаточной для мониторов, носимых ПАЦИЕНТОМ, которые представляют три сигнала на дисплее, составляющие 60 мм по вертикали (т.к. клинический ОПЕРАТОР наблюдает его с расстояния 1 - 2 м, а не 8 м).
Невозможно предсказать дальнейшую разработку ЭЛЕКТРОДОВ, но существует вероятность, что они могут содержать небольшое усиливающее устройство.
В связи с чувствительностью ME ИЗДЕЛИЯ данного типа не разумно ожидать, что ME ИЗДЕЛИЕ будет использоваться в средах, в которых будет индуцироваться интерференция с такими уровнями.
Не существует идеального испытательного метода для создания интерференции от электрохирургического оборудования в испытательной лаборатории, однако методы, приведенные на
рисунках 202.103 и
202.104, на практике показали, что они воспроизводимо обеспечивают результаты, сходные с показываемыми в хирургической практике. Испытания должны быть проведены в нормальном рабочем диапазоне ВЧ ЭЛЕКТРОХИРУРГИЧЕСКОГО АППАРАТА (нагрузка примерно 500 Ом).
Помехи, вызванные ВЧ ЭЛЕКТРОХИРУРГИЧЕСКИМ АППАРАТОМ, считаются НОРМАЛЬНОЙ ЭКСПЛУАТАЦИЕЙ и, следовательно, не должны приводить к ОПАСНОСТЯМ для ПАЦИЕНТА. Следовательно, через соответствующее время восстановления ME ИЗДЕЛИЕ должно восстановить нормальную работу без потери сохраненных данных. Примерами типичных сохраненных данных, которые могут оказать влияние на безопасность ПАЦИЕНТА, являются рабочий режим, НАСТРОЙКИ СИГНАЛИЗАЦИИ (громкость звукового СИГНАЛА ОПАСНОСТИ, ПРЕДЕЛЫ СРАБАТЫВАНИЯ СИГНАЛИЗАЦИИ, ОТКЛЮЧЕНИЕ СИГНАЛИЗАЦИИ и т.д.), данные тренда и ПОДАВЛЕНИЕ импульсов кардиостимулятора, если выбрано ОПЕРАТОРОМ. В отличие от этих настроек, мгновенная частота сердечных сокращений или отображаемый сигнал ЭКГ не относятся к сохраненным данным.
Наиболее критичным испытанием является приложение синфазного ВЧ напряжения, как показано на
рисунке 202.103. Емкостная связь ВЧ с функциональным заземлением может вызвать отказ восстановления ME ИЗДЕЛИЯ в течение определенного времени или полный отказ восстановления. По этой причине нет необходимости в проведении данного испытания в дифференциальном режиме ВЧ напряжения.
Телеметрические ЭКГ системы не используются в операционных. Требование защиты от влияния электрохирургического оборудования будет излишней нагрузкой для данного ME ИЗДЕЛИЯ. Следовательно, телеметрические ЭКГ системы исключены изданного испытания.
Пересечение колонки "Отложенные" и столбца "Незначительные повреждения или дискомфорт" таблицы 1 МЭК 60601-1-8 содержит "НИЗКИЙ ПРИОРИТЕТ или отсутствие СИГНАЛА ОПАСНОСТИ". Выбор "отсутствия СИГНАЛА ОПАСНОСТИ" может быть подходящим для этих УСЛОВИЙ СРАБАТЫВАНИЯ СИГНАЛИЗАЦИИ в таких средах использования, где клинический ОПЕРАТОР непрерывно следит за ПАЦИЕНТОМ во время НОРМАЛЬНОЙ ЭКСПЛУАТАЦИИ.
Такой выбор не подходит для ME ИЗДЕЛИЯ, которое не находится под постоянным контролем во время НОРМАЛЬНОЙ ЭКСПЛУАТАЦИИ, т.к. отказ эффективного обеспечения звукового СИГНАЛА ОПАСНОСТИ означает, что СИСТЕМА СИГНАЛИЗАЦИИ отключена для данных УСЛОВИЙ СРАБАТЫВАНИЯ СИГНАЛИЗАЦИИ.
Звуковые СИГНАЛЫ ОПАСНОСТИ, которые возникают лишь однажды (или не возникают, согласно таблице 1 МЭК 60601-1-8) могут подходить для УСЛОВИЙ СРАБАТЫВАНИЯ СИГНАЛИЗАЦИИ НИЗКОГО ПРИОРИТЕТА в условиях использования, где клинический ОПЕРАТОР непрерывно следит за ПАЦИЕНТОМ во время НОРМАЛЬНОЙ ЭКСПЛУАТАЦИИ.
Такой выбор не подходит для ME ИЗДЕЛИЯ, которое не находится под постоянным контролем во время НОРМАЛЬНОЙ ЭКСПЛУАТАЦИИ, т.к. отсутствие повтора звукового СИГНАЛА ОПАСНОСТИ означает, что УСЛОВИЯ СРАБАТЫВАНИЯ СИГНАЛИЗАЦИИ маловероятно будут распознаны.
Основным индикатором сигнализации, обращающим внимание клинического ОПЕРАТОРА, является звуковой СИГНАЛ ОПАСНОСТИ - особенно для ME ИЗДЕЛИЯ, которое включает в ПРЕДУСМОТРЕННОЕ ПРИМЕНЕНИЕ/ПРЕДУСМОТРЕННОЕ НАЗНАЧЕНИЕ контроль ПАЦИЕНТОВ, которые не находятся постоянно под контролем клинического ОПЕРАТОРА. Типичными средами использования, в которых ПАЦИЕНТЫ не находятся постоянно под контролем клинических специалистов являются блоки интенсивной терапии. Обычно, клинический ОПЕРАТОР осуществляет наблюдение за несколькими ПАЦИЕНТАМИ. Следовательно, нет возможности наблюдения за мониторами всех ПАЦИЕНТОВ одновременно, чтобы быть в курсе всех визуальных СИГНАЛОВ ОПАСНОСТИ, которые не связаны со звуковыми СИГНАЛАМИ ОПАСНОСТИ. В таких условиях снижение уровня звука звуковых СИГНАЛОВ ОПАСНОСТИ до нуля означает, что СИСТЕМА СИГНАЛИЗАЦИИ переходит в состояние инактивации, соответствующее отключению звука, что должно быть отображено
В таких условиях рекомендуется ограничить регулировку громкости звукового СИГНАЛА ОПАСНОСТИ минимальным давлением звука.
В РАСПРЕДЕЛЕННОЙ СИСТЕМЕ СИГНАЛИЗАЦИИ, в которой СИГНАЛЫ ОПАСНОСТИ воспроизводятся удаленными компонентами РАСПРЕДЕЛЕННОЙ СИСТЕМЫ СИГНАЛИЗАЦИИ, громкость звуковых СИГНАЛОВ ОПАСНОСТИ может быть снижена до нуля (отсутствие давления звука) в зависимости от модели использования (см.
второй абзац обоснования 208.6.4.2).
ME ИЗДЕЛИЕ с сигнализацией воспроизводит СИГНАЛЫ ОПАСНОСТИ в ответ на УСЛОВИЯ СРАБАТЫВАНИЯ СИГНАЛИЗАЦИИ, которые оно обнаруживает. Если данное ME ИЗДЕЛИЕ является частью РАСПРЕДЕЛЕННОЙ СИСТЕМЫ СИГНАЛИЗАЦИИ, РАСПРЕДЕЛЕННАЯ СИСТЕМА СИГНАЛИЗАЦИИ может генерировать СИГНАЛЫ ОПАСНОСТИ для данных УСЛОВИЙ СРАБАТЫВАНИЯ СИГНАЛИЗАЦИИ на удаленных компонентах РАСПРЕДЕЛЕННОЙ СИСТЕМЫ СИГНАЛИЗАЦИИ. Для достижения информацией, касающейся УСЛОВИЙ СРАБАТЫВАНИЯ СИГНАЛИЗАЦИИ всех компонентов РАСПРЕДЕЛЕННОЙ СИСТЕМЫ СИГНАЛИЗАЦИИ, требуется определенное время. Во многих случаях, данное время очень мало, тем не менее, специфические характеристики РАСПРЕДЕЛЕННОЙ СИСТЕМЫ СИГНАЛИЗАЦИИ могут создавать существенную задержку генерирования СИГНАЛОВ ОПАСНОСТИ на удаленных компонентах РАСПРЕДЕЛЕННОЙ СИСТЕМЫ СИГНАЛИЗАЦИИ.
Модели использования в блоках интенсивной терапии могут потребовать, чтобы удаленное оборудование работало как основное оборудование с сигнализацией (например, если на ME ИЗДЕЛИИ с сигнализацией выставлена нулевая громкость звуковых СИГНАЛОВ ОПАСНОСТИ - отсутствует давление звука). В таких средах использования общая временная задержка до момента формирования удаленными компонентами РАСПРЕДЕЛЕННОЙ СИСТЕМЫ СИГНАЛИЗАЦИИ СИГНАЛОВ ОПАСНОСТИ должна быть ограничена значениями, позволяющими врачам вовремя среагировать на ФИЗИОЛОГИЧЕСКИЕ УСЛОВИЯ СРАБАТЫВАНИЯ СИГНАЛИЗАЦИИ (такие как остановка сердца, желудочковая фибрилляция, высокое систолическое давление и т.д.).
Несоответствующая временная задержка СИГНАЛОВ ОПАСНОСТИ в РАСПРЕДЕЛЕННОЙ СИСТЕМЕ СИГНАЛИЗАЦИИ может привести к задержке в лечении ПАЦИЕНТА. Следовательно, строго рекомендуется, чтобы для определения адекватной "не превышающей" временной задержки СИГНАЛОВ ОПАСНОСТИ на удаленных компонентах РАСПРЕДЕЛЕННОЙ СИСТЕМЫ СИГНАЛИЗАЦИИ использовался МЕНЕДЖМЕНТ РИСКА.
Подпункт 208.6.6.2.104 - ТЕХНИЧЕСКИЕ УСЛОВИЯ СРАБАТЫВАНИЯ СИГНАЛИЗАЦИИ, показывающие, что ME ИЗДЕЛИЕ находится в нерабочем состоянии
ME ИЗДЕЛИЕ, находящееся в нерабочем состоянии, должно отображать на дисплее, что включено или настроено это состояние. Это может быть выполнено за счет отсутствия видимого графика.
Состояния инактивации сигнализации (СИГНАЛИЗАЦИЯ ОТКЛЮЧЕНА и СИГНАЛИЗАЦИЯ ПРИОСТАНОВЛЕНА) поддерживают функциональность, которая важна для оборудования контроля за ПАЦИЕНТОМ: в обоих состояниях инактивации сигнализации (СИГНАЛИЗАЦИЯ ОТКЛЮЧЕНА И СИГНАЛИЗАЦИЯ ПРИОСТАНОВЛЕНА) необходимо, чтобы на ЭЛЕКТРОКАРДИОГРАФИЧЕСКОМ МОНИТОРЕ отображались визуальные СИГНАЛЫ ОПАСНОСТИ при ТЕХНИЧЕСКИХ УСЛОВИЯХ СРАБАТЫВАНИЯ СИГНАЛИЗАЦИИ. Целью данных визуальных СИГНАЛОВ ОПАСНОСТИ является информирование клинического ОПЕРАТОРА даже во время состояний инактивации сигнализации (СИГНАЛИЗАЦИЯ ОТКЛЮЧЕНА и СИГНАЛИЗАЦИЯ ПРИОСТАНОВЛЕНА), что ME ИЗДЕЛИЕ (или часть ME ИЗДЕЛИЯ) не работает из-за ТЕХНИЧЕСКИХ УСЛОВИЙ СРАБАТЫВАНИЯ СИГНАЛИЗАЦИИ, таких как "отключение отведений ЭКГ", которые прерывают ЭКГ контроль за ПАЦИЕНТОМ.
ТЕХНИЧЕСКИЕ УСЛОВИЯ СРАБАТЫВАНИЯ СИГНАЛИЗАЦИИ могут оказать влияние на достоверность измеренных значений. Например, ТЕХНИЧЕСКИЕ УСЛОВИЯ СРАБАТЫВАНИЯ СИГНАЛИЗАЦИИ "отключение отведений ЭКГ" препятствуют вычислению и отображению частоты сердечных сокращений. Продолжение отображения предыдущей вычисленной частоты сердечных сокращений может привести к неверной интерпретации клиническим ОПЕРАТОРОМ, т.к. данное значение является некорректным во время ТЕХНИЧЕСКИХ УСЛОВИЙ СРАБАТЫВАНИЯ СИГНАЛИЗАЦИИ. Соответствующие средства отображения некорректной частоты сердечных сокращений могут быть отсутствием показаний или символом в области отображения частоты сердечных сокращений на дисплее.
В других случаях может оказываться влияние на допуски измеренных значений, или измерения могут быть ненадежными. В данных случаях клинический ОПЕРАТОР должен быть информирован, что отображаемое в настоящий момент значение может быть сомнительным. Отображаемое значение должно маркироваться соответствующим образом.
При активации клиническим ОПЕРАТОРОМ СБРОСА СИГНАЛИЗАЦИИ выполняются следующие действия: во-первых, останавливаются звуковые СИГНАЛЫ ОПАСНОСТИ; во-вторых, останавливаются визуальные СИГНАЛЫ ОПАСНОСТИ С НЕАВТОМАТИЧЕСКИМ ОТКЛЮЧЕНИЕМ для УСЛОВИЙ СРАБАТЫВАНИЯ СИГНАЛИЗАЦИИ, которые больше не существуют; в-третьих, не нарушаются визуальные СИГНАЛЫ ОПАСНОСТИ для СИГНАЛОВ ОПАСНОСТИ, которые по-прежнему существуют (эти сигналы продолжаются до устранения УСЛОВИЙ СРАБАТЫВАНИЯ СИГНАЛИЗАЦИИ); в-четвертых, разрешается немедленная реакция СИСТЕМЫ СИГНАЛИЗАЦИИ на последующие УСЛОВИЯ СРАБАТЫВАНИЯ СИГНАЛИЗАЦИИ. Четвертое действие "разрешение немедленной реакции СИСТЕМЫ СИГНАЛИЗАЦИИ" отличает функцию СБРОСА СИГНАЛИЗАЦИИ от состояний инактивации сигнализации - СИГНАЛИЗАЦИЯ ПРИОСТАНОВЛЕНА, ЗВУКОВАЯ СИГНАЛИЗАЦИЯ ПРИОСТАНОВЛЕНА, СИГНАЛИЗАЦИЯ ОТКЛЮЧЕНА и ЗВУКОВАЯ СИГНАЛИЗАЦИЯ ОТКЛЮЧЕНА.
В отличие от состояний инактивации сигнализации (СИГНАЛИЗАЦИЯ ПРИОСТАНОВЛЕНА, ЗВУКОВАЯ СИГНАЛИЗАЦИЯ ПРИОСТАНОВЛЕНА, СИГНАЛИЗАЦИЯ ОТКЛЮЧЕНА и ЗВУКОВАЯ СИГНАЛИЗАЦИЯ ОТКЛЮЧЕНА), которые временно или постоянно отключают СИСТЕМУ СИГНАЛИЗАЦИИ ME ИЗДЕЛИЯ, функция (действия клинического ОПЕРАТОРА) СБРОСА СИГНАЛИЗАЦИИ поддерживает СИСТЕМУ СИГНАЛИЗАЦИИ во включенном состоянии, но выполняет функции, определенные в
208.6.9, перечисления a) -
e). Эти функции останавливают звуковые СИГНАЛЫ ОПАСНОСТИ, контролируют визуальные СИГНАЛЫ ОПАСНОСТИ в зависимости от наличия или отсутствия УСЛОВИЙ СРАБАТЫВАНИЯ СИГНАЛИЗАЦИИ и, как указано выше, поддерживают СИСТЕМУ СИГНАЛИЗАЦИИ в рабочем состоянии. В результате СИСТЕМА СИГНАЛИЗАЦИИ может немедленно реагировать на последующие УСЛОВИЯ СРАБАТЫВАНИЯ СИГНАЛИЗАЦИИ, не требуя дополнительных действий клинического ОПЕРАТОРА по повторной активации СИСТЕМЫ СИГНАЛИЗАЦИИ. Это также объясняет, почему ПРИОСТАНОВКА ЗВУКА не является подходящим состоянием, т.к. не допускает соответствующего контроля за выполнением данных функций СБРОСА СИГНАЛИЗАЦИИ.
С функцией СБРОСА СИГНАЛИЗАЦИИ клинический ОПЕРАТОР подтверждает один раз срабатывание при УСЛОВИЯХ СРАБАТЫВАНИЯ СИГНАЛИЗАЦИИ и может больше не заботиться о повторной активации СИСТЕМЫ СИГНАЛИЗАЦИИ, т.к. СИСТЕМА СИГНАЛИЗАЦИИ остается во включенном состоянии. В результате функция СБРОСА СИГНАЛИЗАЦИИ предотвращает возможность того, что клинический ОПЕРАТОР может забыть повторно активировать СИСТЕМУ СИГНАЛИЗАЦИИ.
Подпункт 208.6.10 - СИГНАЛИЗАЦИЯ С АВТОМАТИЧЕСКИМ и НЕАВТОМАТИЧЕСКИМ ОТКЛЮЧЕНИЕМ СИГНАЛА
Существуют различные модели использования ME ИЗДЕЛИЯ, которое:
1) находится под постоянным контролем ОПЕРАТОРА (как в операционных) и
2) не находится под постоянным контролем ОПЕРАТОРА (как в блоках интенсивной терапии). В таких условиях использования, как блоки интенсивной терапии или реанимация, в которых ПАЦИЕНТ не находится под постоянным контролем, клинический ОПЕРАТОР обычно наблюдает за несколькими ПАЦИЕНТАМИ.
Клинические ОПЕРАТОРЫ, которые наблюдают за несколькими ПАЦИЕНТАМИ, не могут одновременно контролировать всех ПАЦИЕНТОВ. Клинический ОПЕРАТОР не может легко идентифицировать короткие УСЛОВИЯ СРАБАТЫВАНИЯ СИГНАЛИЗАЦИИ, которые возникают на ME ИЗДЕЛИИ, обеспечивающие СИГНАЛЫ ОПАСНОСТИ С НЕАВТОМАТИЧЕСКИМ ОТКЛЮЧЕНИЕМ или смесь СИГНАЛОВ С АВТОМАТИЧЕСКИМ и НЕАВТОМАТИЧЕСКИМ ОТКЛЮЧЕНИЕМ. Данная невозможность идентифицировать и быстро среагировать на важные короткие УСЛОВИЯ СРАБАТЫВАНИЯ СИГНАЛИЗАЦИИ (например, короткие тахикардии) создают для ПАЦИЕНТОВ ОПАСНЫЕ СИТУАЦИИ.
Задание для ME ИЗДЕЛИЯ возможности обеспечения только СИГНАЛОВ ОПАСНОСТИ С НЕАВТОМАТИЧЕСКИМ ОТКЛЮЧЕНИЕМ заставляет ОПЕРАТОРОВ реагировать на все УСЛОВИЯ СРАБАТЫВАНИЯ СИГНАЛИЗАЦИИ. Принципиально это хорошее предложение, но частые ложные УСЛОВИЯ СРАБАТЫВАНИЯ СИГНАЛИЗАЦИИ из-за артефактов или некорректно установленных ПРЕДЕЛОВ СРАБАТЫВАНИЯ СИГНАЛИЗАЦИИ могут привести к большой административной нагрузке на клинического ОПЕРАТОРА.
СИГНАЛЫ ОПАСНОСТИ С НЕАВТОМАТИЧЕСКИМ ОТКЛЮЧЕНИЕМ могут быть предпочтительными в РАСПРЕДЕЛЕННЫХ СИСТЕМАХ СИГНАЛИЗАЦИИ, в которых удаленное оборудование ME СИСТЕМЫ не находится под постоянным контролем клинического ОПЕРАТОРА. СИГНАЛЫ ОПАСНОСТИ С АВТОМАТИЧЕСКИМ ОТКЛЮЧЕНИЕМ могут быть предпочтительными для сред использования, в которых ME ИЗДЕЛИЕ находится под постоянным контролем клинического ОПЕРАТОРА.
Подпункт 208.6.10.101 - СИГНАЛИЗАЦИЯ С АВТОМАТИЧЕСКИМ ОТКЛЮЧЕНИЕМ СИГНАЛА для ТЕХНИЧЕСКИХ УСЛОВИЙ СРАБАТЫВАНИЯ СИГНАЛИЗАЦИИ
ТЕХНИЧЕСКИЕ УСЛОВИЯ СРАБАТЫВАНИЯ СИГНАЛИЗАЦИИ показывают, что физиологические измерения не выполнены или прерваны по техническим причинам. Такое техническое прерывание измерений может быть вызвано случайным отсоединением датчика или провода отведения. Например, ТЕХНИЧЕСКИЕ УСЛОВИЯ СРАБАТЫВАНИЯ СИГНАЛИЗАЦИИ "отключение отведений ЭКГ" препятствуют вычислению и отображению частоты сердечных сокращений. Это подразумевает, что частота сердечных сокращений не контролируется и что возможные УСЛОВИЯ СРАБАТЫВАНИЯ СИГНАЛИЗАЦИИ могут не отобразиться. Требование СИГНАЛОВ ОПАСНОСТИ С АВТОМАТИЧЕСКИМ ОТКЛЮЧЕНИЕМ ДЛЯ ТЕХНИЧЕСКИХ УСЛОВИЙ СРАБАТЫВАНИЯ СИГНАЛИЗАЦИИ означает, что данные СИГНАЛЫ ОПАСНОСТИ отображаются столько, сколько существуют УСЛОВИЯ СРАБАТЫВАНИЯ СИГНАЛИЗАЦИИ и затихают без вмешательства клинического ОПЕРАТОРА при корректировке ТЕХНИЧЕСКИХ УСЛОВИЙ СРАБАТЫВАНИЯ СИГНАЛИЗАЦИИ.
ME ИЗДЕЛИЕ как часть РАСПРЕДЕЛЕННОЙ СИСТЕМЫ СИГНАЛИЗАЦИИ очень важно для надежного срабатывания сигнализации в неконтролируемой среде использования. По этой причине ME ИЗДЕЛИЕ, которое попадает в область применения настоящего частного стандарта, должно быть разработано таким образом, чтобы оно выявляло ошибки передачи и отображало СИГНАЛЫ ОПАСНОСТИ соответствующих ТЕХНИЧЕСКИХ УСЛОВИЙ СРАБАТЫВАНИЯ СИГНАЛИЗАЦИИ. Маркирования такого ME ИЗДЕЛИЯ предупреждением, что не следует доверять СИГНАЛАМ ОПАСНОСТИ, не достаточно для снижения риска критических состояний ПАЦИЕНТОВ, на которых используется данное оборудование.
Пересмотренные требования
208.6.11.2.2 b) применяются только к ME ИЗДЕЛИЯМ, которые попадают в область применения настоящего стандарта. К ним применяется все содержимое настоящего частного стандарта. Другие компоненты или части РАСПРЕДЕЛЕННОЙ СИСТЕМЫ СИГНАЛИЗАЦИИ, такие как портативные устройства, системы индивидуального вызова или даже сотовые телефоны, не попадают в область применения настоящего частного стандарта; к этим устройствам применяют МЭК 60601-1-8.
Подпункт 208.6.11.101 - Инактивация/активация СИГНАЛОВ ОПАСНОСТИ в удаленных компонентах РАСПРЕДЕЛЕННОЙ СИСТЕМЫ СИГНАЛИЗАЦИИ
РАСПРЕДЕЛЕННАЯ СИСТЕМА СИГНАЛИЗАЦИИ дублирует СИГНАЛЫ ОПАСНОСТИ на удаленных компонентах РАСПРЕДЕЛЕННОЙ СИСТЕМЫ СИГНАЛИЗАЦИИ, таких как центральная станция. В зависимости от модели использования в области, где будут активно использоваться удаленные компоненты РАСПРЕДЕЛЕННОЙ СИСТЕМЫ СИГНАЛИЗАЦИИ, имеет смысл активировать/отключить состояния инактивации (СИГНАЛИЗАЦИЯ ПРИОСТАНОВЛЕНА, ЗВУКОВАЯ СИГНАЛИЗАЦИЯ ПРИОСТАНОВЛЕНА, СИГНАЛИЗАЦИЯ ОТКЛЮЧЕНА или ЗВУКОВАЯ СИГНАЛИЗАЦИЯ ОТКЛЮЧЕНА) (в зависимости от настроек) и активировать СБРОС СИГНАЛИЗАЦИИ на удаленных компонентах РАСПРЕДЕЛЕННОЙ СИСТЕМЫ СИГНАЛИЗАЦИИ. Как указано выше, данные рабочие характеристики дистанционного контроля зависят от модели использования в некоторых средах использования, таких как блоки интенсивной терапии. По этой причине, только ОТВЕТСТВЕННАЯ ОРГАНИЗАЦИЯ должна иметь доступ к соответствующим настройкам. Настройки, которые активируют функцию удаленной активации и завершения общего состояния инактивации (СИГНАЛИЗАЦИЯ ПРИОСТАНОВЛЕНА, ЗВУКОВАЯ СИГНАЛИЗАЦИЯ ПРИОСТАНОВЛЕНА, СИГНАЛИЗАЦИЯ ОТКЛЮЧЕНА или ЗВУКОВАЯ СИГНАЛИЗАЦИЯ ОТКЛЮЧЕНА) и удаленной активации СБРОСА СИГНАЛИЗАЦИИ, должны быть защищены. "Защищены" означает, что клинический ОПЕРАТОР ME ИЗДЕЛИЯ при НОРМАЛЬНОЙ ЭКСПЛУАТАЦИИ не может получить доступ к выбору возможности активировать или завершить состояние общей инактивации (СИГНАЛИЗАЦИЯ ПРИОСТАНОВЛЕНА, ЗВУКОВАЯ СИГНАЛИЗАЦИЯ ПРИОСТАНОВЛЕНА, СИГНАЛИЗАЦИЯ ОТКЛЮЧЕНА или ЗВУКОВАЯ СИГНАЛИЗАЦИЯ ОТКЛЮЧЕНА) и активировать СБРОС СИГНАЛИЗАЦИИ на удаленных компонентах РАСПРЕДЕЛЕННОЙ СИСТЕМЫ СИГНАЛИЗАЦИИ. Адекватные механизмы защиты приведены в подпункте 6.7 МЭК 60601-1-8.
(справочное)
ДИАГРАММЫ СИГНАЛИЗАЦИИ ПО МЭК 60601-1-8, ПУНКТ 208
Следующие диаграммы состояния сигнализации иллюстрируют звуковые и визуальные СИГНАЛЫ ОПАСНОСТИ для СИГНАЛОВ ОПАСНОСТИ С АВТОМАТИЧЕСКИМ и НЕАВТОМАТИЧЕСКИМ ОТКЛЮЧЕНИЕМ, как определено в МЭК 60601-1-8, подпункт 6.10 и
208.6.9 настоящего частного стандарта.
H - активированное состояние;
L - неактивированное состояние
Рисунок BB.101 - СИГНАЛЫ ОПАСНОСТИ С АВТОМАТИЧЕСКИМ
ОТКЛЮЧЕНИЕМ без СБРОСА СИГНАЛИЗАЦИИ
Иллюстрация СИГНАЛА ОПАСНОСТИ С АВТОМАТИЧЕСКИМ ОТКЛЮЧЕНИЕМ (см.
рисунок BB.101), как определено в МЭК 60601-1-8, подпункт 6.10: без вмешательства ОПЕРАТОРА, звуковые и визуальные СИГНАЛЫ ОПАСНОСТИ отображаются так долго, сколько длятся УСЛОВИЯ СРАБАТЫВАНИЯ СИГНАЛИЗАЦИИ. Как только УСЛОВИЯ СРАБАТЫВАНИЯ СИГНАЛИЗАЦИИ прекращаются, звуковые и визуальные СИГНАЛЫ ОПАСНОСТИ автоматически прекращаются без вмешательства ОПЕРАТОРА.
H - активированное состояние;
L - неактивированное состояние
Рисунок BB.102 - СИГНАЛЫ ОПАСНОСТИ С АВТОМАТИЧЕСКИМ
ОТКЛЮЧЕНИЕМ со СБРОСОМ СИГНАЛИЗАЦИИ
Иллюстрация СИГНАЛА ОПАСНОСТИ С НЕАВТОМАТИЧЕСКИМ ОТКЛЮЧЕНИЕМ со СБРОСОМ СИГНАЛИЗАЦИИ (см.
рисунок BB.102), как определено в МЭК 60601-1-8, подпункт 6.10, и
208.6.9 настоящего частного стандарта: Активация сброса сигнализации останавливает звуковой СИГНАЛ ОПАСНОСТИ. Как только УСЛОВИЯ СРАБАТЫВАНИЯ СИГНАЛИЗАЦИИ прекращаются, прекращается визуальный СИГНАЛ ОПАСНОСТИ.
H - активированное состояние;
L - неактивированное состояние
Рисунок BB.103 - СИГНАЛЫ ОПАСНОСТИ С НЕАВТОМАТИЧЕСКИМ
ОТКЛЮЧЕНИЕМ со СБРОСОМ СИГНАЛИЗАЦИИ
Иллюстрация СИГНАЛА ОПАСНОСТИ С НЕАВТОМАТИЧЕСКИМ ОТКЛЮЧЕНИЕМ (см.
рисунок BB.103), как определено в МЭК 60601-1-8, подпункт 6.10, и
208.6.9 настоящего частного стандарта: без вмешательства ОПЕРАТОРА, звуковые и визуальные СИГНАЛЫ ОПАСНОСТИ активируются на неограниченное время. ОПЕРАТОР должен сбросить СИГНАЛЫ ОПАСНОСТИ ФИЗИОЛОГИЧЕСКИХ УСЛОВИЙ СРАБАТЫВАНИЯ СИГНАЛИЗАЦИИ, активировав функцию СБРОСА СИГНАЛИЗАЦИИ. После активации СБРОСА СИГНАЛИЗАЦИИ поведение сигнализации сравнимо с СИГНАЛАМИ ОПАСНОСТИ С НЕАВТОМАТИЧЕСКИМ ОТКЛЮЧЕНИЕМ.
H - активированное состояние;
L - неактивированное состояние
Рисунок BB.104 - Два УСЛОВИЯ СРАБАТЫВАНИЯ СИГНАЛИЗАЦИИ
со СБРОСОМ СИГНАЛИЗАЦИИ
Иллюстрация двух УСЛОВИЙ СРАБАТЫВАНИЯ СИГНАЛИЗАЦИИ со СБРОСОМ СИГНАЛИЗАЦИИ
(рисунок BB.104), как определено в МЭК 60601-1-8, подпункт 6.10, и
208.6.9 настоящего частного стандарта: последующие УСЛОВИЯ СРАБАТЫВАНИЯ СИГНАЛИЗАЦИИ другого физиологического параметра повторно активируют звуковой СИГНАЛ ОПАСНОСТИ.
(справочное)
СВЕДЕНИЯ О СООТВЕТСТВИИ ССЫЛОЧНЫХ МЕЖДУНАРОДНЫХ СТАНДАРТОВ
НАЦИОНАЛЬНЫМ СТАНДАРТАМ РОССИЙСКОЙ ФЕДЕРАЦИИ (И ДЕЙСТВУЮЩИМ
В ЭТОМ КАЧЕСТВЕ МЕЖГОСУДАРСТВЕННЫМ СТАНДАРТАМ)
Таблица ДА.1
Обозначение ссылочного международного стандарта | Степень соответствия | Обозначение и наименование соответствующего национального, межгосударственного стандарта |
МЭК 60601-1:2005 | IDT | ГОСТ Р МЭК 60601-1-2010 "Изделия медицинские электрические. Часть 1. Общие требования безопасности с учетом основных функциональных характеристик" |
МЭК 60529:1989 | MOD | ГОСТ 14254-96 (МЭК 529-89) "Степени защиты, обеспечиваемые оболочками (код IP)" |
МЭК 60601-1-2:2007 | - | |
МЭК 60601-1-8:2008 | - | |
МЭК 60601-2-2:2009 | - | |
МЭК 60601-2-25:2011 | - | |
МЭК 60601-2-49:2011 | - | |
<*> Соответствующий национальный стандарт отсутствует. До его утверждения рекомендуется использовать перевод на русский язык данного международного стандарта. Перевод данного международного стандарта находится в Федеральном информационном фонде технических регламентов и стандартов. Примечание - В настоящей таблице использованы следующие условные обозначения степени соответствия стандартов: - IDT - идентичные стандарты; - MOD - модифицированные стандарты. |
[1] | ANSI/AAMI EC13:2002, Cardiac monitors, heart rate meters, and alarms |
[2] | PIPBERGER, HV. et al., Recommendations for standardization of leads and of specifications for instruments in electrocardiography and vectorcardiography. American Heart Association, Report of the Committee on Electrocardiography, 1975, 52, pp. 11 - 31 |
Алфавитный указатель терминов
АНАЛИЗ РИСКА | МЭК 60601-1:2005, 3.103 |
АППАРАТ ВЫСОКОЧАСТОТНЫЙ ЭЛЕКТРОХИРУРГИЧЕСКИЙ | МЭК 60601-2-2:2009, 201.3.222 |
ВХОД/ВЫХОД СИГНАЛЬНЫЙ | МЭК 60601-1:2005, 3.115 |
ДИСПЛЕЙ ПОСТОЯННЫЙ | |
ДОКУМЕНТЫ ЭКСПЛУАТАЦИОННЫЕ | МЭК 60601-1:2005, 3.4 |
EFT/B | МЭК 61000-4-4:2004, 3.9 |
ЗАДЕРЖКА ГЕНЕРИРОВАНИЯ СИГНАЛА ОПАСНОСТИ | МЭК 60601-1-8:2006, 3.10 |
ЗАДЕРЖКА УСЛОВИЙ СРАБАТЫВАНИЯ СИГНАЛИЗАЦИИ | МЭК 60601-1-8:2006, 3.2 |
ИЗГОТОВИТЕЛЬ | МЭК 60601-1:2005, 3.55 |
ИЗДЕЛИЕ ME ЖИЗНЕОБЕСПЕЧИВАЮЩЕЕ | МЭК 60601-1-2:2007, 3.18 |
ИЗДЕЛИЕ С ВНУТРЕННИМ ИСТОЧНИКОМ ПИТАНИЯ | МЭК 60601-1:2005, 3.46 |
ИЗЛУЧЕНИЕ | МЭК 60601-1-2:2007, 3.6 |
ИЗОБРАЖЕНИЕ НЕПОСТОЯННОЕ | |
ИНДИКАТОР КОЭФФИЦИЕНТА УСИЛЕНИЯ | |
ИНТЕРВАЛ МЕЖДУ ПАКЕТАМИ | МЭК 60601-1-8:2006, 3.25 |
ИСТОЧНИК ПИТАНИЯ ВНУТРЕННИЙ | МЭК 60601-1:2005, 3.45 |
КАБЕЛЬ ПАЦИЕНТА | |
КЛАСС II | МЭК 60601-1:2005, 3.14 |
КОРПУС | МЭК 60601-1:2005, 3.26 |
КОЭФФИЦИЕНТ УСИЛЕНИЯ | |
ME ИЗДЕЛИЕ (МЕДИЦИНСКОЕ ЭЛЕКТРИЧЕСКОЕ ИЗДЕЛИЕ) | МЭК 60601-1:2005, 3.63 |
ME СИСТЕМА (МЕДИЦИНСКАЯ ЭЛЕКТРИЧЕСКАЯ СИСТЕМА) | МЭК 60601-1:2005, 3.64 |
МЕНЕДЖМЕНТ РИСКА | МЭК 60601-1:2005, 3.107 |
МОНИТОР ПАЦИЕНТА МНОГОФУНКЦИОНАЛЬНЫЙ | МЭК 60601-2-49, 201.3.63 |
МОНИТОР ЭЛЕКТРОКАРДИОГРАФИЧЕСКИЙ (ЭКГ) | |
НАПРЯЖЕНИЕ СЕТИ | МЭК 60601-1:2005, 3.54 |
НАСТРОЙКИ СИГНАЛИЗАЦИИ | МЭК 60601-1-8:2006, 3.8 |
НАСТРОЙКА СИГНАЛИЗАЦИИ ПРЕДВАРИТЕЛЬНАЯ | МЭК 60601-1-8:2006, 3.6 |
ОПЕРАТОР | МЭК 60601-1:2005, 3.73 |
ОСТАНОВКА ЗВУКА | МЭК 60601-1-8:2006, 3.13 |
ОСТАНОВКА СИГНАЛИЗАЦИИ | МЭК 60601-1-8:2006, 3.5 |
ОТВЕДЕНИЕ | |
ОТКЛЮЧЕНИЕ ЗВУКА | МЭК 60601-1-8:2006, 3.12 |
ОТКЛЮЧЕНИЕ СИГНАЛИЗАЦИИ | МЭК 60601-1-8:2006, 3.4 |
ПАЦИЕНТ | МЭК 60601-1:2005, 3.76 |
ПЕРЕНОСНОЕ | МЭК 60601-1:2005, 3.85 |
ПОДАВЛЕНИЕ СИНФАЗНОГО СИГНАЛА | |
ПРЕДЕЛ СРАБАТЫВАНИЯ СИГНАЛИЗАЦИИ | МЭК 60601-1-8:2006, 3.3 |
ПРИМЕНЕНИЕ ПРЕДУСМОТРЕННОЕ/ПРЕДУСМОТРЕННОЕ НАЗНАЧЕНИЕ | МЭК 60601-1:2005, 3.44 |
ПРИНАДЛЕЖНОСТЬ | МЭК 60601-1:2005, 3.3 |
ПРИОРИТЕТ ВЫСОКИЙ | МЭК 60601-1-8:2006 3.22 |
ПРИОРИТЕТ НИЗКИЙ | МЭК 60601-1-8:2006, 3.27 |
ПРИОРИТЕТ СРЕДНИЙ | МЭК 60601-1-8:2006, 3.28 |
ПРОВОД ОТВЕДЕНИЯ | |
ПРОВОД ВЫРАВНИВАНИЯ ПОТЕНЦИАЛА | МЭК 60601-1:2005, 3.86 |
РАБОТА НЕПРЕРЫВНАЯ | МЭК 60601-1:2005, 3.18 |
РИСК | МЭК 60601-1:2005, 3.102 |
СБРОС СИГНАЛИЗАЦИИ | МЭК 60601-1-8:2006, 3.7 |
СЕТЬ ПИТАЮЩАЯ | МЭК 60601-1:2005, 3.120 |
СИГНАЛ ИНФОРМАЦИОННЫЙ | МЭК 60601-1-8:2006, 3.23 |
СИГНАЛ ОПАСНОСТИ | МЭК 60601-1-8:2006, 3.9 |
СИГНАЛ ОПАСНОСТИ С АВТОМАТИЧЕСКИМ ОТКЛЮЧЕНИЕМ | МЭК 60601-1-8:2006, 3.29 |
СИГНАЛ ОПАСНОСТИ С НЕАВТОМАТИЧЕСКИМ ОТКЛЮЧЕНИЕМ | МЭК 60601-1-8:2006, 3.26 |
СИСТЕМА СИГНАЛИЗАЦИИ | МЭК 60601-1-8:2006, 3.11 |
СИСТЕМА СИГНАЛИЗАЦИИ РАСПРЕДЕЛЕННАЯ | МЭК 60601-1-8:2006, 3.17 |
СОВМЕСТИМОСТЬ ЭЛЕКТРОМАГНИТНАЯ | МЭК 60601-1-2:2007, 3.4 |
СОЕДИНЕНИЕ С ПАЦИЕНТОМ | МЭК 60601-1:2005, 3.78 |
ТОК УТЕЧКИ | МЭК 60601-1:2005, 3.47 |
ТОК УТЕЧКИ НА ПАЦИЕНТА | МЭК 60601-1:2005, 3.80 |
ТРАНСПОРТИРУЕМОЕ | МЭК 60601-1:2005, 3.130 |
УРОВЕНЬ УСТОЙЧИВОСТИ ИСПЫТАТЕЛЬНЫЙ | МЭК 60601-1-2:2007, 3.15 |
УСЛОВИЯ СРАБАТЫВАНИЯ СИГНАЛИЗАЦИИ | МЭК 60601-1-8:2006, 3.1 |
УСЛОВИЯ СРАБАТЫВАНИЯ СИГНАЛИЗАЦИИ ТЕХНИЧЕСКИЕ | МЭК 60601-1-8:2006, 3.36 |
УСЛОВИЯ СРАБАТЫВАНИЯ СИГНАЛИЗАЦИИ ФИЗИОЛОГИЧЕСКИЕ | МЭК 60601-1-8:2006, 3.31 |
УСТРОЙСТВО ВЫБОРА ОТВЕДЕНИЯ | |
УСТОЙЧИВОСТЬ | МЭК 60601-1-2:2007, 3.13 |
УХУДШЕНИЕ ХАРАКТЕРИСТИК | МЭК 60601-1-2:2007, 3.2 |
ЧАСТЬ РАБОЧАЯ | МЭК 60601-1:2005, 3.8 |
ЧАСТЬ РАБОЧАЯ С ЗАЩИТОЙ ОТ РАЗРЯДА ДЕФИБРИЛЛЯТОРА | МЭК 60601-1:2005, 3.20 |
ЧАСТЬ РАБОЧАЯ ТИПА B | МЭК 60601-1:2005, 3.132 |
ЧАСТЬ РАБОЧАЯ ТИПА BF | МЭК 60601-1:2005, 3.133 |
ЧАСТЬ РАБОЧАЯ ТИПА CF | МЭК 60601-1:2005, 3.134 |
ШУМ | |
ФАЙЛ МЕНЕДЖМЕНТА РИСКА | МЭК 60601-1:2005, 3.108 |
ФУНКЦИОНАЛЬНЫЕ ХАРАКТЕРИСТИКИ ОСНОВНЫЕ | МЭК 60601-1:2005, 3.27 |
ЭЛЕКТРОД | |
ЭЛЕКТРОД АКТИВНЫЙ | МЭК 60601-2-2:2009, 201.3.203 |
ЭЛЕКТРОД НЕЙТРАЛЬНЫЙ | |
ЭЛЕКТРОКАРДИОГРАММА (ЭКГ) | |
ЭКСПЛУАТАЦИЯ НОРМАЛЬНАЯ | МЭК 60601-1:2005, 3.71 |