Главная // Актуальные документы // ГОСТ Р (Государственный стандарт)СПРАВКА
Источник публикации
М.: Стандартинформ, 2019
Примечание к документу
Документ
введен в действие с 01.11.2014.
Название документа
"ГОСТ Р 8.838-2013. Национальный стандарт Российской Федерации. Государственная система обеспечения единства измерений. Анализаторы паров этанола. Методика поверки"
(утв. и введен в действие Приказом Росстандарта от 10.10.2013 N 1153-ст)
"ГОСТ Р 8.838-2013. Национальный стандарт Российской Федерации. Государственная система обеспечения единства измерений. Анализаторы паров этанола. Методика поверки"
(утв. и введен в действие Приказом Росстандарта от 10.10.2013 N 1153-ст)
Утвержден и введен в действие
по техническому регулированию
и метрологии
от 10 октября 2013 г. N 1153-ст
НАЦИОНАЛЬНЫЙ СТАНДАРТ РОССИЙСКОЙ ФЕДЕРАЦИИ
ГОСУДАРСТВЕННАЯ СИСТЕМА ОБЕСПЕЧЕНИЯ ЕДИНСТВА ИЗМЕРЕНИЙ
АНАЛИЗАТОРЫ ПАРОВ ЭТАНОЛА
МЕТОДИКА ПОВЕРКИ
State system for ensuring the uniformity of measurements.
Ethanol content analyzers. Verification procedure
ГОСТ Р 8.838-2013
Дата введения
1 ноября 2014 года
1 РАЗРАБОТАН Федеральным государственным унитарным предприятием "Всероссийский научно-исследовательский институт метрологии им. Д.И. Менделеева" (ФГУП "ВНИИМ им. Д.И. Менделеева")
2 ВНЕСЕН Управлением метрологии Федерального агентства по техническому регулированию и метрологии
3 УТВЕРЖДЕН И ВВЕДЕН В ДЕЙСТВИЕ
Приказом Федерального агентства по техническому регулированию и метрологии от 10 октября 2013 г. N 1153-ст
4 ВВЕДЕН ВПЕРВЫЕ
5 ПЕРЕИЗДАНИЕ. Март 2019 г.
Правила применения настоящего стандарта установлены в статье 26 Федерального закона от 29 июня 2015 г. N 162-ФЗ "О стандартизации в Российской Федерации". Информация об изменениях к настоящему стандарту публикуется в ежегодном (по состоянию на 1 января текущего года) информационном указателе "Национальные стандарты", а официальный текст изменений и поправок - в ежемесячном информационном указателе "Национальные стандарты". В случае пересмотра (замены) или отмены настоящего стандарта соответствующее уведомление будет опубликовано в ближайшем выпуске ежемесячного информационного указателя "Национальные стандарты". Соответствующая информация, уведомление и тексты размещаются также в информационной системе общего пользования - на официальном сайте Федерального агентства по техническому регулированию и метрологии в сети Интернет (www.gost.ru)
Настоящий стандарт распространяется на анализаторы паров этанола (в том числе по
ГОСТ Р 54794), предназначенные для измерения массовой концентрации паров этанола в отобранной пробе выдыхаемого воздуха (далее - анализаторы), и устанавливает методику их первичной и периодической поверок, а также поверки в рамках метрологической экспертизы, производимой по поручению органов суда, прокуратуры, арбитражного суда и федеральных органов исполнительной власти.
Настоящий стандарт распространяется на анализаторы со следующими метрологическими характеристиками:
- нижний предел измерений массовой концентрации этанола | 0,00 мг/л; |
- верхний предел измерений массовой концентрации этанола | от 0,95 до 2,00 мг/л; |
- пределы допускаемой погрешности <1> | |
абсолютной | +/- 0,020 мг/л или более; |
относительной | +/- 10% или более. |
--------------------------------
<1> Установлены при утверждении типа анализаторов для рабочих условий эксплуатации и указаны в ЭД анализаторов.
Интервал между поверками установлен при утверждении типа анализаторов и указан в свидетельстве об утверждении типа средств измерений.
При утверждении типа анализаторов допускают разработку методик поверки, распространяющихся на конкретный тип анализаторов, не противоречащих настоящему стандарту.
В настоящем стандарте использованы нормативные ссылки на следующие стандарты:
ГОСТ 2.601 <2> Единая система конструкторской документации. Эксплуатационные документы
--------------------------------
ГОСТ 2.610 Единая система конструкторской документации. Правила выполнения эксплуатационных документов
ГОСТ 8.578 <3> Государственная система обеспечения единства измерений. Государственная поверочная схема для средств измерений содержания компонентов в газовых средах
--------------------------------
ГОСТ 12.1.005 Система стандартов безопасности труда. Общие санитарно-гигиенические требования к воздуху рабочей зоны
ГОСТ 12.2.007.0 Система стандартов безопасности труда. Изделия электротехнические. Общие требования безопасности
ГОСТ 6709 Вода дистиллированная. Технические условия
ГОСТ 9293 Азот газообразный и жидкий. Технические условия
ГОСТ 17433 Промышленная чистота. Сжатый воздух. Классы загрязненности
ГОСТ 28498 Термометры жидкостные стеклянные. Общие технические требования. Методы испытаний
ГОСТ Р 8.676 Государственная система обеспечения единства измерений. Государственная поверочная схема для средств измерений содержания этанола в газовых и жидких средах
ГОСТ Р 54794 Анализаторы паров этанола. Общие технические условия
Примечание - При пользовании настоящим стандартом целесообразно проверить действие ссылочных стандартов в информационной системе общего пользования - на официальном сайте Федерального агентства по техническому регулированию и метрологии в сети Интернет или по ежегодному информационному указателю "Национальные стандарты", который опубликован по состоянию на 1 января текущего года, и по выпускам ежемесячного информационного указателя "Национальные стандарты" за текущий год. Если заменен ссылочный стандарт, на который дана недатированная ссылка, то рекомендуется использовать действующую версию этого стандарта с учетом всех внесенных в данную версию изменений. Если заменен ссылочный стандарт, на который дана датированная ссылка, то рекомендуется использовать версию этого стандарта с указанным выше годом утверждения (принятия). Если после утверждения настоящего стандарта в ссылочный стандарт, на который дана датированная ссылка, внесено изменение, затрагивающее положение, на которое дана ссылка, то это положение рекомендуется применять без учета данного изменения. Если ссылочный стандарт отменен без замены, то положение, в котором дана ссылка на него, рекомендуется применять в части, не затрагивающей эту ссылку.
3 Термины, определения и сокращения
3.1 В настоящем стандарте применены следующие термины с соответствующими определениями:
3.1.1 корректировка показаний: Комплекс настроечных операций, направленных на обеспечение соответствия метрологических характеристик анализаторов установленным нормативам.
3.2 В настоящем стандарте применены следующие сокращения:
ГС - газовая смесь;
ПО - программное обеспечение;
ЭД - эксплуатационная документация.
Примечание - К ЭД согласно настоящему стандарту относятся: руководство по эксплуатации, паспорт, формуляр по
ГОСТ 2.601,
ГОСТ 2.610.
4.1 При проведении поверки анализаторов выполняют операции, указанные в
таблице 1 настоящего стандарта, и перечисленные в разделе "Поверка" описания типа анализаторов <1>.
--------------------------------
<1> Необходимость проведения тех или иных операций поверки, указанных в настоящем стандарте, для конкретных типов анализаторов устанавливается при проведении испытаний в целях утверждения типа средств измерений с учетом данных по метрологической надежности анализаторов согласно
[1].
Таблица 1
Наименование операции | Номер пункта методики поверки |
1 Внешний осмотр | |
2 Опробование: | |
- проверка общего функционирования | |
- проверка функционирования автоматического режима отбора пробы | |
- корректировка показаний | |
3 Подтверждение соответствия ПО | |
4 Определение метрологических характеристик: | |
- определение погрешности при температуре окружающего воздуха (20 +/- 5) °C | |
- определение погрешности при температуре окружающего воздуха, соответствующей рабочим условиям эксплуатации | |
В разделе "Проведение поверки" описания типа анализаторов операции поверки приведены, например, в следующем виде: "Поверка осуществляется по ГОСТ Р 8.838-2013 "Государственная система обеспечения единства измерений. Анализаторы паров этанола. Методика поверки" (первичная поверка до ввода в эксплуатацию по
9.1,
9.2.1,
9.2.2,
9.3,
9.4.1, первичная поверка после ремонта и периодическая поверка по
9.1,
9.2,
9.3,
9.4.2)".
Если выполнялся ремонт, замена или регулировка узлов и модулей анализаторов, обеспечивающих термокомпенсацию <2>, при первичной поверке после ремонта вместо операции по
9.4.1 настоящего стандарта выполняют операцию по
9.4.2.
--------------------------------
<2> Перечень конкретных операций по ремонту, замене или регулировке узлов и модулей анализаторов, обеспечивающих термокомпенсацию, приведен в ЭД анализаторов.
При проведении поверки анализаторов в рамках метрологической экспертизы, производимой по поручению органов суда, прокуратуры, арбитражного суда и федеральных органов исполнительной власти согласно
[2], выполняют операции по
9.1,
9.2.1,
9.2.2,
9.3,
9.4.2 настоящего стандарта.
4.2 Если при проведении той или иной операции поверки получен отрицательный результат, дальнейшую поверку прекращают.
5.1 При проведении поверки применяют средства, указанные в
таблице 2.
Таблица 2
Номер пункта методики поверки | Наименование и тип основного или вспомогательного средства поверки; обозначение нормативного документа, регламентирующего технические требования и (или) метрологические характеристики (МХ), и основные технические характеристики средства поверки |
| Барометр-анероид метеорологический БАММ-1 по [3]. Цена деления: 0,1 кПа |
Психрометр аспирационный М-34-М по [4]. Диапазон измерений от 10% до 100% |
Диапазон измерений от 0 °C до 50 °C. Цена деления: 0,1 °C |
| Ротаметр <1> РМ-0,63 ГУЗ (или РМ-1 ГУЗ; РМ-1,6 ГУЗ; РМ-2,5 ГУЗ) по ГОСТ 13045. Верхний предел измерений объемного расхода 0,63 м3/ч (1,0; 1,6; 2,5 м3/ч); пределы допускаемой относительной погрешности +/- 2,5% от верхнего предела измерений |
| Поверочный нулевой газ воздух <2> марки Б по [5] или азот газообразный особой чистоты 1-го или 2-го сорта по ГОСТ 9293 в баллоне под давлением |
Вентиль точной регулировки ВТР-1 или ВТР-1-М160. Диапазон рабочего давления от 0 до 150 кгс/см2, диаметр условного прохода 3 мм |
Трубка медицинская из поливинилхлорида, 6 x 1,5 мм |
| Рабочие эталоны <3> 1-го или 2-го разряда по ГОСТ Р 8.676 - генератор газовых смесей паров этанола в воздухе; например, генератор спирто-воздушных смесей ГСВС-МЕТА-02 по [6], генератор газовых смесей паров этанола в воздухе GUTH модель 10-4D. Пределы допускаемой относительной погрешности не более +/- 5% |
Стандартные образцы состава водных растворов этанола, например ГСО 8789-2006. Границы относительной погрешности при P = 0,95 не более +/- 1%. Метрологические характеристики приведены в таблице А.1 приложения А |
|
Ротаметр РМ-0,63 ГУЗ (или РМ-1 ГУЗ) по ГОСТ 13045. Верхний предел измерений объемного расхода 0,63 м3/ч (1,0 м3/ч); пределы допускаемой относительной погрешности +/- 2,5% от верхнего предела измерений |
Рабочие эталоны <3> 1-го или 2-го разряда по ГОСТ Р 8.676 - стандартные образцы состава газовых смесей этанол/азот в баллонах под давлением по [7], например ГСО 8364-2003, ГСО 8366-2003. Границы относительной погрешности при P = 0,95 не более +/- 4%. Метрологические характеристики приведены в таблице А.1 приложения А |
Верхний предел измерений объемного расхода 0,16 м3/ч, пределы допускаемой относительной погрешности +/- 2,5% от верхнего предела измерения |
| Камера климатическая любого типа, например ТХВ-150. Точность поддержания температуры +/- 2 °C. Диапазон поддержания температуры в камере должен обеспечивать воспроизведение значений температур, соответствующих нижнему и верхнему значению рабочих условий эксплуатации поверяемого анализатора, а габаритные размеры внутреннего объема камеры - размещение поверяемого анализатора |
<1> При выполнении операций поверки по 9.2 и 9.4 настоящего стандарта используют ротаметры, обеспечивающие измерение расхода ГС на входе в анализатор с относительной погрешностью не более 10%. <2> При проведении поверки в помещении с приточно-вытяжной вентиляцией согласно 6.1 настоящего стандарта допускается вместо воздуха или азота в баллоне под давлением применять сжатый воздух по ГОСТ 17433. <3> Отношение погрешности рабочего эталона к пределу допускаемой погрешности поверяемого анализатора должно быть не более 1:2. |
5.2 При проведении поверки допускается применять стандартные образцы состава газовых смесей этанол/азот в баллонах под давлением, приведенные в
таблице 2, если данные средства поверки указаны в разделе "Поверка" описания типа анализаторов.
Примечание - Возможность проведения поверки с помощью стандартных образцов состава газовых смесей этанол/азот в баллонах под давлением для конкретных типов анализаторов устанавливается при проведении испытаний в целях утверждения типа средств измерений согласно
ГОСТ Р 54794.
5.3 Допускают применение других средств, не приведенных в
таблице 2, метрологические характеристики которых не хуже указанных в
таблице 2.
5.4 Все средства поверки должны иметь действующие свидетельства о поверке, ГС в баллонах под давлением и стандартные образцы состава водных растворов этанола - действующие паспорта, камера климатическая - действующее свидетельство об аттестации.
6 Требования безопасности и требования к квалификации поверителей
6.1 Помещение, в котором проводят поверку, должно быть оборудовано приточно-вытяжной вентиляцией, обеспечивающей кратность воздухообмена не менее 4 в 1 час.
6.2 Концентрации вредных компонентов в воздухе рабочей зоны (помимо этанола) должны соответствовать требованиям
ГОСТ 12.1.005.
6.3 При проведении поверки должны быть соблюдены правила безопасности по
ГОСТ 12.2.007.0 и
[8].
6.4 К проведению поверки анализаторов допускают лиц, ознакомленных с
ГОСТ 8.578, ГОСТ Р 8.676 и ЭД анализаторов, имеющих квалификацию поверителя, действующий аттестат и прошедших инструктаж по технике безопасности в установленном порядке.
7.1 При проведении поверки соблюдают следующие условия:
- диапазон температуры окружающего воздуха | от 15 °C до 25 °C; |
- диапазон относительной влажности окружающего воздуха | от 30% до 80%; |
- диапазон атмосферного давления | от 84 до 106 кПа; |
- массовая концентрация этанола в окружающем воздухе <1> | не более 0,010 мг/л. |
--------------------------------
<1> Данное условие поверки считается выполненным при проведении поверки в помещении с приточно-вытяжной вентиляцией согласно
6.1 настоящего стандарта.
Примечания:
1 При проведении поверки с помощью генераторов газовых смесей паров этанола в воздухе дополнительно учитывают требования к рабочему диапазону температуры окружающего воздуха, указанному в их ЭД.
2 Если в ЭД на анализаторы рабочие условия установлены в более узком диапазоне, при поверке должны выполняться требования к рабочим условиям, приведенные в ЭД анализаторов.
7.2 При выполнении операций поверки по
9.2.3 и
9.4 настоящего стандарта не допускается поочередно подавать на поверяемый анализатор ГС от генераторов газовых смесей паров этанола в воздухе и ГС этанол/азот из баллонов под давлением (см.
таблицу 2).
7.3 При проведении поверки с помощью генераторов газовых смесей паров этанола в воздухе соблюдают следующие условия применения стандартных образцов состава водных растворов этанола:
- бутыль с раствором вскрывают непосредственно перед использованием;
- раствор используют для однократной заливки в генератор;
- раствор подлежит замене при превышении максимального количества генерируемых проб ГС без замены водного раствора этанола, указанного в ЭД генератора, или при нахождении в генераторе более 6 часов;
- после использования раствор хранению и повторному использованию не подлежит.
8.1 Подготавливают анализатор к работе в соответствии с требованиями ЭД, в том числе проверяют и при необходимости корректируют текущую дату и время, установленные в анализаторе, согласно ЭД.
Операцию по корректировке показаний, предусмотренную ЭД анализаторов, выполняют с учетом
9.2.3 настоящего стандарта.
При поверке анализаторов в рамках метрологической экспертизы операцию по корректировке показаний анализаторов выполнять запрещается.
8.2 Подготавливают к работе средства поверки в соответствии с требованиями их ЭД.
8.3 Проверяют наличие паспортов и сроков годности ГС в баллонах под давлением и стандартных образцов состава водных растворов этанола. Проверяют наличие и целостность защитных этикеток на бутылях со стандартными образцами состава водных растворов этанола.
8.4 Баллоны с ГС выдерживают в помещении, в котором проводят поверку, не менее 24 ч, поверяемый анализатор - согласно требованиям ЭД, но не менее 2 ч. Перед проведением поверки не допускается подавать на поверяемый анализатор пробы выдыхаемого воздуха или другие газовые смеси в течение не менее 1 ч.
При внешнем осмотре устанавливают соответствие анализатора следующим требованиям:
- анализатор представлен на поверку с ЭД и свидетельством о предыдущей поверке;
- отсутствуют внешние повреждения, влияющие на работоспособность и безопасность;
- органы управления, разъемы, штуцера, соединительные провода и кабели исправны;
- надписи и маркировка на корпусе анализатора четкие, соответствующие ЭД;
- в анализаторе установлены точные дата и время.
Примечание - Если при предыдущей поверке анализатора вместо оформления свидетельства о поверке был нанесен знак поверки (поверительное клеймо) в паспорт, то вместо наличия свидетельства о поверке проверяют наличие знака поверки в паспорте анализатора.
Результаты внешнего осмотра считают положительными, если анализатор соответствует перечисленным требованиям.
9.2.1 Проверка общего функционирования
9.2.1.1 Проверку общего функционирования анализатора проводят путем включения согласно ЭД, при этом анализатор выполняет автоматическую диагностику работоспособности.
9.2.1.2 Если в комплект анализатора входит принтер, то при первичной поверке до ввода в эксплуатацию проверяют функционирование принтера согласно ЭД, выполняют распечатку протокола измерения на бумажном носителе с целью оценки качества печати и проверки отображаемой информации.
Примечание - Распечатку протокола измерения с целью оценки качества печати и проверки отображаемой информации допускается выполнять после проведения измерения согласно
9.2.2.2, перечисление г).
9.2.1.3 Результаты проверки общего функционирования анализатора считают положительными, если все тесты автоматической диагностики работоспособности анализатора завершены успешно согласно ЭД, и если выполнялась операция по
9.2.1.2, установлено следующее:
- принтер анализатора работоспособен, отпечатки знаков в протоколе измерения на бумажном носителе четкие, легкочитаемые;
- информация, отображаемая в протоколе измерения на бумажном носителе, соответствует ЭД анализаторов; заводской номер анализатора, дата и время измерения указаны правильно.
9.2.2 Проверка функционирования автоматического режима отбора пробы
9.2.2.1 Проверку проводят путем последовательной подачи на анализатор воздуха из баллона под давлением с разным расходом и контроля срабатывания автоматического режима отбора пробы ГС.
Примечание - При выполнении операции поверки по 9.2.2 измерения на анализаторе выполняют в автоматическом режиме отбора пробы ГС.
9.2.2.2 Проверку выполняют в следующей последовательности.
а) Открывают баллон с воздухом и с помощью вентиля точной регулировки, контролируя по ротаметру, устанавливают значение расхода 0,8R, где R - расход анализируемой ГС в автоматическом режиме отбора пробы, установленный при утверждении типа и указанный в ЭД анализаторов, л/мин; отсоединяют ротаметр.
б) Включают анализатор согласно ЭД и после выхода анализатора на режим измерений подают на него воздух из баллона под давлением, при этом анализатор не должен выполнять автоматический отбор пробы ГС.
в) Открывают баллон с воздухом и с помощью вентиля точной регулировки, контролируя по ротаметру, устанавливают значение расхода 1,2R, л/мин; отсоединяют ротаметр.
г) Включают анализатор согласно ЭД и после выхода анализатора на режим измерений подают на него воздух из баллона под давлением, при этом анализатор должен выполнить автоматический отбор пробы ГС.
9.2.2.3 Результаты проверки функционирования автоматического режима отбора пробы ГС считают положительными, если анализатор соответствует требованиям, указанным в
9.2.2.2.
9.2.3 Корректировка показаний
9.2.3.1 Перед выполнением корректировки показаний проводят три цикла измерений путем подачи на вход анализатора ГС N 4 (
таблица А.1 приложения А) и регистрации показаний анализатора.
Измерения выполняют по
9.2.3.2 или
9.2.3.3 настоящего стандарта в зависимости от выбранного средства поверки.
9.2.3.2 Выполнение измерений с помощью генераторов газовых смесей паров этанола в воздухе
а) Собирают газовую систему согласно
рисунку Б.1 или
рисунку Б.2 приложения Б в зависимости от типа применяемого генератора. Генератор располагают так, чтобы на него не падали прямые солнечные лучи и вблизи отсутствовали источники охлаждения или нагрева. Длина соединительной трубки на выходном штуцере генератора - не более 5 см. Перед заливкой раствора в генератор проверяют отсутствие влаги и конденсата на внутренней поверхности емкостей для раствора генератора, соединительных трубок и мундштуков, при наличии влаги или конденсата необходимо просушить все элементы генератора. Подачу ГС на вход анализаторов осуществляют через мундштук, входящий в комплект анализаторов.
б) Подготавливают анализатор к измерению согласно ЭД и выполняют следующие операции:
- в меню анализатора выбирают тип ГС, соответствующий подаче ГС от генератора, в различных версиях меню может быть обозначено: "влажная", "wet" и др. (при наличии данной функции в анализаторе);
- устанавливают ручной режим отбора пробы ГС (при необходимости выполнения поверки анализатора с использованием ручного режима отбора пробы ГС).
в) В соответствии с ЭД генератора приготавливают ГС, используя соответствующий водный раствор этанола согласно
таблице А.1 приложения А.
г) Каждый цикл измерения проводят по схеме:
- включают анализатор согласно ЭД;
- после выхода анализатора на режим измерений подсоединяют его к выходному штуцеру генератора и подают ГС с выхода генератора на анализатор, при ручном режиме отбора пробы соблюдают время подачи ГС на анализатор - 5 с;
- после окончания отбора пробы отсоединяют анализатор и регистрируют показание анализатора Ci, мг/л;
- соблюдают интервал между циклами измерений: не менее 10 с.
Примечание - При применении генератора газовых смесей паров этанола в воздухе без встроенного побудителя расхода, например GUTH модель 10-4D, расход ГС на выходе генератора устанавливают от 6 до 7 л/мин при ручном отборе пробы или 1,2R, л/мин при автоматическом отборе пробы, но не более максимального значения объемного расхода ГС на выходе генератора, указанного в его ЭД. Для этого при отсоединенном анализаторе открывают баллон с воздухом и с помощью вентиля точной регулировки, контролируя по ротаметру, устанавливают расход ГС, затем отсоединяют ротаметр и подают ГС с выхода генератора на анализатор. В зависимости от устанавливаемого значения расхода ГС применяют ротаметр РМ-0,63 ГУЗ или РМ-1 ГУЗ.
д) Рассчитывают действительное значение массовой концентрации этанола в ГС на выходе генератора

, мг/л, по формуле

, (1)
где

- аттестованное значение массовой концентрации этанола в используемом стандартном образце состава водного раствора этанола, указанное в паспорте, мг/см
3.
е) При выполнении измерений с помощью генератора регистрируют количество генерируемых проб ГС без замены водного раствора этанола. При превышении максимального количества генерируемых проб ГС указанного в ЭД генератора выполняют замену стандартного образца состава водного раствора этанола.
9.2.3.3 Выполнение измерений с помощью газовых смесей в баллонах под давлением
а) Собирают газовую систему согласно
рисунку Б.3 приложения Б. Длина соединительной трубки - не более 10 см. Подачу ГС на вход анализаторов осуществляют через мундштук, входящий в комплект анализаторов.
б) Подготавливают анализатор к измерению согласно ЭД и выполняют следующие операции:
- в меню анализатора выбирают тип ГС, соответствующий подаче ГС от баллона, в различных версиях меню может быть обозначено: "сухая", "dry" и др. (при наличии данной функции в анализаторе);
- устанавливают ручной режим отбора пробы ГС (при необходимости выполнения поверки анализатора с использованием ручного режима отбора пробы ГС).
в) Каждый цикл измерения проводят по схеме:
- при отсоединенном анализаторе открывают баллон с ГС и с помощью вентиля точной регулировки, контролируя по ротаметру, устанавливают расход ГС от 1 до 2 л/мин при ручном отборе пробы (для контроля применяют ротаметр РМ-А-0,16 ГУЗ) или 1,2R л/мин при автоматическом отборе пробы (для контроля применяют ротаметр РМ-0,63 ГУЗ, РМ-1 ГУЗ или РМ-1,6 ГУЗ); отсоединяют ротаметр;
- включают анализатор согласно ЭД и после выхода анализатора на режим измерений подают ГС из баллона на анализатор, при ручном режиме отбора пробы соблюдают время подачи ГС на анализатор 5 с;
- после окончания отбора пробы отсоединяют анализатор, закрывают вентиль на баллоне с ГС и регистрируют показание анализатора Пi, мг/л.
г) Рассчитывают измеренное значение массовой концентрации этанола в i-й ГС Ci, мг/л (для всех ГС, кроме ГС N 1), по формуле

, (2)
где P - атмосферное давление, измеренное барометром, кПа.
Примечания
1 Если в ЭД анализатора указано, что при подаче на анализатор газовых смесей состава этанол/азот в баллонах под давлением используется коэффициент пересчета показаний KГС, то расчет выполняют по формуле

.
2 Если согласно ЭД в анализаторе имеется автоматическая компенсация изменения атмосферного давления, то расчет выполняют по формулам Ci = Пi или Ci = ПiKГС, если в ЭД анализатора установлен коэффициент пересчета показаний KГС.
9.2.3.4 По результатам измерений, полученным при подаче ГС N 4 согласно
9.2.3.2 или
9.2.3.3 настоящего стандарта, проверяют выполнение условия

, (3)
где

- среднее арифметическое значение массовой концентрации этанола из трех единичных результатов измерений, полученных при подаче ГС N 4, мг/л;
C
Д - действительное значение массовой концентрации этанола в ГС N 4 (при поверке с помощью генератора рассчитывается по
формуле (1), при поверке с помощью ГС в баллоне под давлением указано в паспорте), мг/л;
a - значение, численно равное пределам допускаемой абсолютной погрешности анализатора для значения массовой концентрации этанола CД (определяется, исходя из пределов допускаемой абсолютной и относительной погрешности анализаторов, установленных при утверждении типа и указанных в ЭД анализаторов), мг/л.
Если
условие (3) выполнено, анализатор допускают к выполнению корректировки показаний согласно
9.2.3.5 настоящего стандарта и дальнейшей поверки.
Если
условие (3) не выполнено, анализатор не допускают к выполнению корректировки показаний согласно
9.2.3.5 настоящего стандарта, дальнейшую поверку прекращают. В извещении о непригодности анализатора указывают причину непригодности: "Анализатор не соответствует требованиям 9.2 "Опробование" ГОСТ Р 8.838. Анализатор не допущен к выполнению корректировки показаний".
9.2.3.5 Операцию по корректировке показаний анализатора выполняют согласно его ЭД.
Примечание - Инструкция по корректировке показаний может предоставляться изготовителем или официальным поставщиком анализаторов по отдельному запросу.
Операцию по корректировке показаний анализатора не проводят, если согласно ЭД анализатора проведение корректировки показаний при эксплуатации не предусмотрено, например, если операция по корректировке показаний выполняется только изготовителем анализаторов.
Операцию по корректировке показаний анализатора допускается не выполнять, если в ЭД анализатора установлено, что корректировка показаний проводится по необходимости, и по результатам измерений, полученным при подаче ГС N 4 согласно
9.2.3.2 или
9.2.3.3 настоящего стандарта, выполнено условие
| | ИС МЕГАНОРМ: примечание. Нумерация формул дана в соответствии с официальным текстом документа. | |

, (3)
9.3 Подтверждение соответствия ПО
9.3.1 Подтверждение соответствия ПО анализаторов проводится путем проверки соответствия ПО анализаторов тому ПО анализаторов, которое было зафиксировано (внесено в банк данных Федерального информационного фонда по обеспечению единства измерений) при утверждении типа анализаторов, и обеспечения защиты ПО от несанкционированного доступа во избежание искажений результатов измерений
[9].
9.3.2 Для проверки соответствия ПО выполняют следующие операции:
- проводят визуализацию идентификационных данных ПО, установленного в анализатор, согласно ЭД (вывод на дисплей анализатора, распечатка протокола измерения и т.п.);
- сравнивают полученные данные с идентификационными данными, установленными при утверждении типа и указанными в ЭД.
9.3.3 Проверку обеспечения защиты ПО от несанкционированного доступа во избежание искажений результатов измерений выполняют согласно ЭД.
9.3.4 Результат подтверждения соответствия ПО анализаторов считают положительным, если идентификационные данные соответствуют установленным при утверждении типа и указанными в ЭД, а также выполнены требования ЭД в части защиты ПО от несанкционированного доступа.
9.4 Определение метрологических характеристик анализаторов
9.4.1 Определение погрешности при температуре окружающего воздуха (20 +/- 5) °C
9.4.1.1 Определение погрешности проводят в нескольких точках диапазона измерений (далее - точки поверки), указанных ниже, путем поочередной подачи на вход анализаторов ГС и регистрации показаний анализаторов.
Последовательность подачи ГС на вход анализаторов (
таблица А.1 приложения А):
а) ГС NN 1-2-3-4-5-1 для анализаторов с верхним пределом измерений от 0,95 до 1,20 мг/л;
б) ГС NN 1-2-3-4-6-1 для анализаторов с верхним пределом измерений свыше 1,20 до 1,60 мг/л;
в) ГС NN 1-2-3-4-5-7-1 для анализаторов с верхним пределом измерений свыше 1,60 до 2,00 мг/л.
Из указанной последовательности исключают ГС N 2 при поверке анализаторов с пределами допускаемой абсолютной погрешности +/- 0,030 мг/л или более (указаны в ЭД).
9.4.1.2 Перед выполнением измерений в меню анализатора выбирают режим "Поверка" (при наличии данного режима в анализаторе).
9.4.1.3 В каждой точке поверки проводят по три цикла измерений путем подачи на вход анализатора
i-й ГС и регистрации показаний анализатора согласно
9.2.3.2 или
9.2.3.3 настоящего стандарта (в зависимости от выбранного средства поверки).
Если при подаче на вход анализатора ГС N 1 в первом цикле измерений зарегистрированы нулевые показания, допускается для ГС N 1 второй и третий цикл измерений не выполнять.
Примечание - Если при выполнении
9.2.3 настоящего стандарта корректировка показаний анализатора не проводилась, то допускается ГС N 4 повторно не подавать. В этом случае при обработке результатов измерений согласно
разделу 10 настоящего стандарта используют результаты измерений, полученные по каждому циклу измерений при подаче ГС N 4 по
9.2.3 настоящего стандарта.
9.4.2 Определение погрешности при температуре окружающего воздуха, соответствующей рабочим условиям эксплуатации
9.4.2.1 Определение погрешности выполняют в два этапа:
- на первом этапе определяют погрешность при температуре окружающего воздуха (20 +/- 5) °C;
- на втором этапе определяют погрешность при температуре окружающего воздуха, соответствующей нижнему и верхнему значению рабочих условий эксплуатации анализатора.
9.4.2.2 Определение погрешности при температуре окружающего воздуха (20 +/- 5) °C проводят согласно
9.4.1 настоящего стандарта.
9.4.2.3 Определение погрешности при температуре окружающего воздуха, соответствующей нижнему и верхнему значению рабочих условий эксплуатации анализатора, проводят путем выдерживания анализатора в климатической камере и подачи на вход анализатора ГС N 4 (
таблица А.1 приложения А).
Измерения выполняют в следующей последовательности:
а) помещают анализатор в климатическую камеру, устанавливают в камере температуру (TВ - 2) °C, где TВ - верхнее значение температуры окружающего воздуха для рабочих условий эксплуатации анализатора, указанных в ЭД анализатора, °C; выдерживают анализатор в камере при заданной температуре не менее 2 ч;
б) проводят три цикла измерений путем подачи на вход анализатора ГС N 4 и регистрации показаний анализатора согласно
9.2.3.2 или
9.2.3.3 настоящего стандарта (в зависимости от выбранного средства поверки); анализатор (или входную трубку анализатора) достают из климатической камеры только на время подачи ГС - не более 15 с, между циклами измерений анализатор выдерживают в климатической камере не менее 5 минут;
в) помещают анализатор в климатическую камеру, устанавливают в камере температуру (Tн + 2) °C, где Tн - нижнее значение температуры окружающего воздуха для рабочих условий эксплуатации анализатора, указанных в ЭД анализатора, °C; выдерживают анализатор в камере при заданной температуре не менее 2 ч;
г) проводят три цикла измерений путем подачи на вход анализатора ГС N 4 и регистрации показаний анализатора согласно
9.2.3.2 или
9.2.3.3 настоящего стандарта (в зависимости от выбранного средства поверки); анализатор (или входную трубку анализатора) достают из климатической камеры только на время подачи ГС - не более 15 с, между циклами измерений анализатор выдерживают в климатической камере не менее 5 минут.
Примечания
1 При выходе климатической камеры на режим скорость изменения температуры воздуха в рабочем объеме камеры должна быть не более 1°/мин.
2 Время выдерживания анализатора в климатической камере может превышать 2 ч при наличии соответствующих указаний в ЭД анализатора.
10 Обработка результатов измерений
10.1 По результатам измерений, полученным по
9.4.1 и
9.4.2 настоящего стандарта, в каждой точке поверки по каждому циклу измерений рассчитывают значение абсолютной или относительной погрешности анализаторов в зависимости от того, какая погрешность нормирована для данной точки поверки.
Значение абсолютной погрешности анализатора

, мг/л, при подаче
i-й ГС рассчитывают по формуле
| | ИС МЕГАНОРМ: примечание. Нумерация формул дана в соответствии с официальным текстом документа. | |

, (3)
где Ci - измеренное значение массовой концентрации этанола при подаче i-й ГС, мг/л;

- действительное значение массовой концентрации этанола в
i-й ГС [при поверке с помощью генераторов рассчитывается по
формуле (1), при поверке с помощью ГС в баллоне под давлением указано в паспорте], мг/л.
Значение относительной погрешности анализатора

, %, при подаче
i-й ГС (для всех ГС, кроме ГС N 1) рассчитывают по формуле

. (4)
10.2 Результаты определения погрешности анализатора считают положительными, если полученные значения погрешности в каждой точке поверки по каждому циклу измерений не превышают пределов допускаемой погрешности, установленных при утверждении типа и указанных в ЭД анализаторов.
11 Оформление результатов поверки
11.1 Составляют протокол поверки по
форме, приведенной в приложении В.
11.2 При положительных результатах первичной или периодической поверки анализатор признают годным к применению и выписывают на него свидетельство о поверке установленной
формы согласно
[2].
Форма оборотной стороны свидетельства о поверке анализаторов приведена в приложении Г.
Примечание - На оборотной стороне свидетельства о поверке допускается не дублировать информацию, если она приведена на лицевой стороне свидетельства о поверке.
При первичной поверке до ввода в эксплуатацию допускается вместо оформления свидетельства о поверке наносить знак поверки (поверительное клеймо) в паспорт анализатора.
При наличии соответствующих требований в ЭД анализатора выполняют следующие операции:
- в меню анализатора редактируют и сохраняют дату поверки;
- на корпус анализатора наносят знак поверки (поверительное клеймо), место нанесения знака поверки указано в ЭД анализатора.
11.3 При отрицательных результатах первичной или периодической поверки анализатор не допускают к применению и выдают извещение о непригодности установленной
формы согласно
[2] с указанием причин непригодности.
11.4 По результатам поверки в рамках метрологической экспертизы, производимой по поручению органов суда, прокуратуры, арбитражного суда и федеральных органов исполнительной власти, составляют заключение согласно
[2].
(обязательное)
МЕТРОЛОГИЧЕСКИЕ ХАРАКТЕРИСТИКИ ГАЗОВЫХ СМЕСЕЙ,
ИСПОЛЬЗУЕМЫХ ПРИ ПОВЕРКЕ АНАЛИЗАТОРОВ
Таблица А.1
Метрологические характеристики газовых смесей,
используемых при поверке анализаторов
Номер ГС | Номинальное значение массовой концентрации этанола в ГС, подаваемых на анализатор, пределы допускаемого отклонения, мг/л | Номинальное значение массовой концентрации этанола в водных растворах этанола <1>, пределы допускаемого отклонения, мг/см 3 | Номинальное значение массовой концентрации этанола в ГС в баллонах под давлением <2>, пределы допускаемого отклонения, мг/л |
ГС N 1 | 0 | вода | воздух |
ГС N 2 | 0,050 +/- 0,005 | 0,129 +/- 0,007 | 0,050 +/- 0,005 |
ГС N 3 | 0,150 +/- 0,015 | 0,386 +/- 0,019 | 0,150 +/- 0,015 |
ГС N 4 | 0,475 +/- 0,048 | 1,22 +/- 0,06 | 0,475 +/- 0,048 |
ГС N 5 | 0,850 +/- 0,085 | 2,19 +/- 0,11 | 0,850 +/- 0,085 |
ГС N 6 | 1,10 +/- 0,11 | 2,83 +/- 0,14 | 1,10 +/- 0,11 |
ГС N 7 | 1,50 +/- 0,15 | 3,86 +/- 0,19 | 1,50 +/- 0,15 |
<1> При проведении поверки анализаторов с помощью генераторов газовых смесей паров этанола в воздухе используют стандартные образцы состава водных растворов этанола, например ГСО 8789-2006. Границы относительной погрешности при P = 0,95 не более +/- 1%. <2> При проведении поверки анализаторов с помощью стандартных образцов состава газовых смесей этанол/азот в баллонах под давлением по [7], например ГСО 8364-2003, ГСО 8366-2003. |
(рекомендуемое)
СХЕМЫ ПОДАЧИ ГАЗОВЫХ СМЕСЕЙ НА АНАЛИЗАТОРЫ
ПРИ ПРОВЕДЕНИИ ПОВЕРКИ
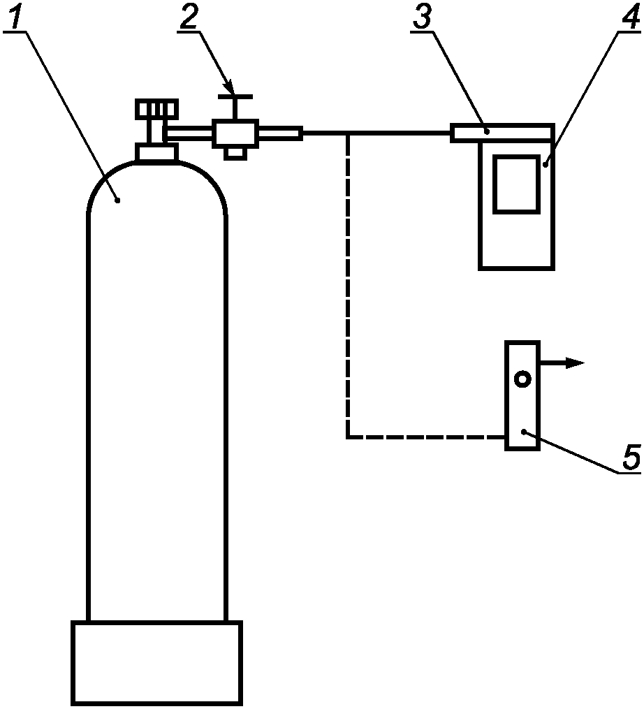
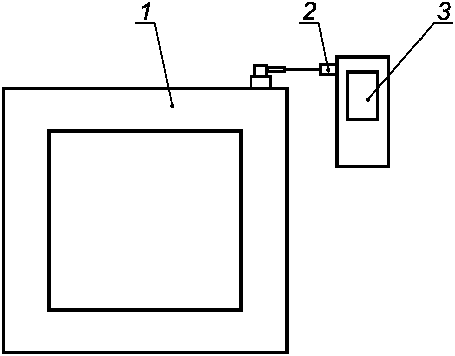
1 - генератор; 2 - мундштук из комплекта анализатора;
3 - анализатор
Рисунок Б.1 - Газовая система для подачи на анализатор
газовых смесей от генератора спирто-воздушных смесей
ГСВС-МЕТА-02
1 - баллон с азотом (воздухом); 2 - вентиль; 3 - ротаметр;
4 - генератор; 5 - мундштук из комплекта анализатора;
6 - анализатор
Рисунок Б.2 - Газовая система для подачи на анализатор
газовых смесей от генератора газовых смесей паров этанола
в воздухе GUTH модель 10-4D
1 - баллон с ГС; 2 - вентиль; 3 - мундштук из комплекта
анализатора; 4 - анализатор; 5 - ротаметр
Рисунок Б.3 - Газовая система для подачи на анализатор
газовых смесей из баллона под давлением
(рекомендуемое)
ФОРМА ПРОТОКОЛА ПОВЕРКИ АНАЛИЗАТОРОВ
ПРОТОКОЛ ПОВЕРКИ N ____________ от _______________ 1) Наименование анализатора, тип ____________________________________ 2) Заводской номер _________________________________________________ 3) Принадлежит ____________________________________________________ 4) Наименование изготовителя _______________________________________ 5) Дата выпуска ____________________________________________________ 6) Наименование нормативного документа по поверке ____________________ - генератор газовых смесей паров этанола в воздухе __________________________________________________________________ (указывают тип, заводской номер генератора, номер и дату действия свидетельства о поверке) - стандартные образцы состава водных растворов этанола __________________________________________________________________ (указывают регистрационный номер <2> и номера используемых экземпляров стандартных образцов) - стандартные образцы состава газовых смесей этанол/азот в баллонах под давлением __________________________________________________________________ (указывают регистрационный номер <2>, номера используемых баллонов, номера и сроки действия паспортов) - камера климатическая __________________________________________________________________ (указывают тип, заводской номер, номер и дату действия свидетельства об аттестации) 8) Вид поверки  (нужное подчеркнуть) 9) Условия поверки: - температура окружающего воздуха ___________________________________ - относительная влажность окружающего воздуха ________________________ - атмосферное давление _____________________________________________ 10) Результаты проведения поверки Внешний осмотр ____________________________________________________ Опробование _______________________________________________________ |
--------------------------------
<1> Указывают средства поверки, применяемые при поверке анализатора.
<2> Указывают регистрационный номер в Федеральном информационном фонде по обеспечению единства измерений РФ.
Проверка общего функционирования _____________________________________
Проверка функционирования автоматического режима отбора пробы __________
Корректировка показаний _______________________________________________
Подтверждение соответствия программного обеспечения
<1> ________________
Наименование программного обеспечения | Идентификационное наименование программного обеспечения | Номер версии (идентификационный номер) программного обеспечения | Цифровой идентификатор программного обеспечения (контрольная сумма исполняемого кода) | Алгоритм вычисления цифрового идентификатора программного обеспечения |
| | | | |
Определение метрологических характеристик
Температура окружающего воздуха, °C | Диапазон измерений, мг/л | Пределы допускаемой погрешности | Действительное значение массовой концентрации этанола в ГС, мг/л | Измеренное значение массовой концентрации этанола в ГС, мг/л | Значение погрешности, полученное при поверке |
абсолютной | относительной | абсолютной, мг/л | относительной, % |
| | | | | | | |
| | | | | | | |
| | | | | | | |
| | | | | | | |
| | | | | | | |
Вывод: ____________________________________________________________ Заключение _________________________, зав. N ________________________ (тип СИ) соответствует (не соответствует) предъявляемым требованиям и признано годным (не годным) для эксплуатации. (нужное подчеркнуть) ФИО и подпись поверителя ___________________________________________ Выдано свидетельство о поверке _________________ от __________________ (Выдано извещение о непригодности _______________ от ________________) |
--------------------------------
<1> Объем данных, указываемых в таблице, определен в ЭД анализаторов. Номер версии программного обеспечения приводится обязательно.
(обязательное)
Форма оборотной стороны свидетельства о поверке анализаторов
Поверка проведена в соответствии с ГОСТ Р 8.838.
1 Результаты внешнего осмотра _____________________________________
2 Результаты опробования __________________________________________
3 Результаты подтверждения соответствия программного обеспечения ____
4 Результаты определения метрологических характеристик
4.1 Результаты определения погрешности
<1>
Диапазон измерений, мг/л | Пределы допускаемой погрешности при температуре окружающего воздуха (20 +/- 5) °C | Максимальное значение погрешности, полученное при поверке |
абсолютной | относительной | абсолютной | относительной |
| | | | |
| | | | |
Примечание - Пределы допускаемой погрешности анализатора в рабочих условиях эксплуатации в зависимости от температуры окружающего воздуха приведены в эксплуатационной документации анализатора. |
4.2 Результаты определения погрешности при температуре, соответствующей нижнему и верхнему значению рабочих условий эксплуатации
<2>
Температура окружающего воздуха | Пределы допускаемой абсолютной/относительной погрешности | Максимальное значение абсолютной/относительной погрешности, полученное при поверке |
| | |
| | |
5 Условия поверки:
- температура окружающего воздуха _________________________________
- относительная влажность окружающего воздуха ______________________
- атмосферное давление ____________________________________________
Генератор газовых смесей паров этанола в воздухе __________________ (указывают тип и заводской номер генератора) в комплекте со стандартными образцами состава водных растворов этанола __________________________________________________________________ (указывают регистрационный номер <4>) Стандартные образцы состава газовых смесей этанол - азот в баллонах под давлением _________________________________________________________ __________________________________________________________________ (указывают регистрационный номер <2> и номера используемых баллонов) Поверитель ________________________________________________________ (Ф.И.О., подпись) Дата ______________________________________________________________ (число, месяц, год) |
--------------------------------
<1> Если согласно ЭД анализаторов пределы допускаемой погрешности в рабочих условиях эксплуатации не зависят от температуры окружающего воздуха, то в таблице вместо "Пределы допускаемой погрешности при температуре окружающего воздуха (20 +/- 5) °C" указывают "Пределы допускаемой погрешности" и
примечание к таблице не приводят.
<2> Данный пункт приводят в свидетельстве о поверке, если при определении метрологических характеристик анализатора выполняется операция по
9.4.2 настоящего стандарта.
<3> Указывают средства поверки, применяемые при поверке анализатора.
<4> Указывают регистрационный номер в Федеральном информационном фонде по обеспечению единства измерений РФ.
| | Рекомендации по межгосударственной стандартизации. Государственная система обеспечения единства измерений. Методы определения межповерочных и межкалибровочных интервалов средств измерений |
| | Государственная система обеспечения единства измерений. Порядок проведения поверки средств измерений |
| ТУ 25-11.1513-79 | Барометр-анероид метеорологический БАММ-1 |
| ГРПИ 405132.001 ТУ | Психрометры аспирационные. Технические условия |
| ТУ 6-21-5-82 | Газы поверочные нулевые. Воздух. Технические условия |
| ТУ 4381-043-21298618-2009 | Генераторы спирто-воздушных смесей ГСВС-МЕТА-02. Технические условия |
| ТУ 6-16-2956-92 | Смеси газовые поверочные - стандартные образцы состава. Технические условия |
| | Правила устройства и безопасной эксплуатации сосудов, работающих под давлением |
| | Государственная система обеспечения единства измерений. Испытания средств измерений в целях утверждения типа. Проверка обеспечения защиты программного обеспечения <2> |
--------------------------------
<2> Действуют
Р 50.2.077-2014 "Государственная система обеспечения единства измерений. Испытания средств измерений в целях утверждения типа. Проверка защиты программного обеспечения".
УДК 681.2.089:006.354 | |
Ключевые слова: анализаторы паров этанола, корректировка показаний, метрологические характеристики, погрешность, методика поверки |