Главная // Актуальные документы // ГОСТ Р (Государственный стандарт)СПРАВКА
Источник публикации
М.: Стандартинформ, 2019
Примечание к документу
Документ
введен в действие с 01.01.2015.
Название документа
"ГОСТ Р 8.828-2013. Национальный стандарт Российской Федерации. Государственная система обеспечения единства измерений. Спектральный коэффициент диффузного отражения элементов фотовольтаики и солнечных коллекторов при углах падения излучения от 5° до 85°. Методика измерений"
(утв. и введен в действие Приказом Росстандарта от 06.09.2013 N 1013-ст)
"ГОСТ Р 8.828-2013. Национальный стандарт Российской Федерации. Государственная система обеспечения единства измерений. Спектральный коэффициент диффузного отражения элементов фотовольтаики и солнечных коллекторов при углах падения излучения от 5° до 85°. Методика измерений"
(утв. и введен в действие Приказом Росстандарта от 06.09.2013 N 1013-ст)
Утвержден и введен в действие
агентства по техническому
регулированию и метрологии
от 6 сентября 2013 г. N 1013-ст
НАЦИОНАЛЬНЫЙ СТАНДАРТ РОССИЙСКОЙ ФЕДЕРАЦИИ
ГОСУДАРСТВЕННАЯ СИСТЕМА ОБЕСПЕЧЕНИЯ ЕДИНСТВА ИЗМЕРЕНИЙ
СПЕКТРАЛЬНЫЙ КОЭФФИЦИЕНТ ДИФФУЗНОГО ОТРАЖЕНИЯ ЭЛЕМЕНТОВ
ФОТОВОЛЬТАИКИ И СОЛНЕЧНЫХ КОЛЛЕКТОРОВ ПРИ УГЛАХ ПАДЕНИЯ
ИЗЛУЧЕНИЯ ОТ 5° ДО 85°
МЕТОДИКА ИЗМЕРЕНИЙ
State systems for ensuring the uniformity of measurements.
Spectral diffuse reflectance of photovoltaic elements
and solar collectors at angles of incidence
of the radiation from 5° to 85°
ГОСТ Р 8.828-2013
Дата введения
1 января 2015 года
1 ПОДГОТОВЛЕН Федеральным государственным унитарным предприятием "Всероссийский научно-исследовательский институт оптико-физических измерений" (ФГУП "ВНИИОФИ")
2 ВНЕСЕН Техническим комитетом по стандартизации ТК 206 "Эталоны и поверочные схемы", Подкомитетом ПК-10 "Оптические и оптико-физические измерения"
3 УТВЕРЖДЕН И ВВЕДЕН В ДЕЙСТВИЕ
Приказом Федерального агентства по техническому регулированию и метрологии от 6 сентября 2013 г. N 1013-ст
4 ВВЕДЕН ВПЕРВЫЕ
5 ПЕРЕИЗДАНИЕ. Март 2019 г.
Правила применения настоящего стандарта установлены в статье 26 Федерального закона от 29 июня 2015 г. N 162-ФЗ "О стандартизации в Российской Федерации". Информация об изменениях к настоящему стандарту публикуется в ежегодном (по состоянию на 1 января текущего года) информационном указателе "Национальные стандарты", а официальный текст изменений и поправок - в ежемесячном информационном указателе "Национальные стандарты". В случае пересмотра (замены) или отмены настоящего стандарта соответствующее уведомление будет опубликовано в ежемесячном информационном указателе "Национальные стандарты". Соответствующая информация, уведомление и тексты размещаются также в информационной системе общего пользования - на официальном сайте Федерального агентства по техническому регулированию и метрологии в сети Интернет (www.gost.ru)
Настоящий стандарт устанавливает методику измерений спектрального коэффициента диффузного отражения (СКДО) элементов фотовольтаики и солнечных коллекторов при углах падения излучения от 5° до 85°.
В настоящем стандарте использована нормативная ссылка на следующий стандарт:
ГОСТ Р 8.563-2009 Государственная система обеспечения единства измерений. Методики (Методы) измерений
Примечание - При пользовании настоящим стандартом целесообразно проверить действие ссылочных стандартов в информационной системе общего пользования - на официальном сайте Федерального агентства по техническому регулированию и метрологии в сети Интернет или по ежегодному информационному указателю "Национальные стандарты", который опубликован по состоянию на 1 января текущего года, и по выпускам ежемесячного информационного указателя "Национальные стандарты" за текущий год. Если заменен ссылочный стандарт, на который дана недатированная ссылка, то рекомендуется использовать действующую версию этого стандарта с учетом всех внесенных в данную версию изменений. Если заменен ссылочный стандарт, на который дана датированная ссылка, то рекомендуется использовать версию этого стандарта с указанным выше годом утверждения (принятия). Если после утверждения настоящего стандарта в ссылочный стандарт, на который дана датированная ссылка, внесено изменение, затрагивающее положение, на которое дана ссылка, то это положение рекомендуется применять без учета данного изменения. Если ссылочный стандарт отменен без замены, то положение, в котором дана ссылка на него, рекомендуется применять в части, не затрагивающей эту ссылку.
В настоящем стандарте применены следующие термины с соответствующими определениями:
3.1 зеркальное отражение излучения: Отражение излучения, которое характеризуется связью положений падающего и отраженного лучей:
- отраженный, преломленный, падающий лучи и нормаль к плоскости падения компланарны;
- угол падения равен углу отражения.
3.2 диффузно отраженное излучение: Излучение, отраженное от шероховатой поверхности, средние размеры неоднородностей (шероховатостей) которой больше длины волны падающего излучения.
3.3 смешанное отражение: Отражение, частично содержащее зеркальную (направленную) и диффузную составляющие.
3.4 зеркальная составляющая диффузно отраженного или рассеянного излучения: Часть диффузно отраженного или рассеянного излучения, распространяющаяся в узком телесном угле, ось симметрии которого совпадает с направлением зеркального отражения от поверхности.
3.5 интегрирующая сфера: Полый шар с внутренней поверхностью, окрашенной неселективной белой матовой краской, применяемый для измерений коэффициентов отражения.
4.1 Методика измерений СКДО элементов фотовольтаики и солнечных коллекторов при углах падения излучения от 5° до 85° основана на измерении соотношения энергетических параметров излучения, падающего на испытуемый (исследуемый) образец, и всего излучения, отраженного от образца.
5 Требования к аппаратуре
5.1 Для измерения СКДО элементов фотовольтаики и солнечных коллекторов при углах падения излучения от 5° до 85° применяют схему на базе монохроматора и интегрирующей сферы (приведена в
приложении А).
5.2 В качестве источника излучения в спектральном диапазоне от 200 нм до 2500 нм используют дейтериевые лампы и светоизмерительные широкодиапазонные галоидно-вольфрамовые лампы накаливания типов СИРШ 6-100 и СИРШ 8,5-200.
Примечание - Допускается применение других источников излучения, обеспечивающих измерение СКДО согласно настоящей методике.
5.3 Для обеспечения работы в спектральном диапазоне от 200 до 2500 нм в монохроматоре должны быть дифракционные решетки, имеющие 1200, 600, 300 штрихов/мм.
5.4 Для исключения высших порядков дифракции применяют фильтры, устанавливаемые перед входной щелью монохроматора.
5.5 Внутренняя поверхность интегрирующей сферы должна быть покрыта высокоотражающим диффузно рассеивающим покрытием (коэффициент отражения более 92% в спектральном диапазоне от 250 до 2500 нм).
5.6 Суммарная площадь образца и отверстий в интегрирующей сфере (для входного излучения, приемника излучения, держателя образца) не должна превышать 0,02 - 0,05 площади сферы.
5.7 В качестве приемника излучения используют:
- фотоумножитель - в спектральном диапазоне от 200 до 800 нм;
- фотодиод - в спектральном диапазоне от 400 до 1100 нм;
- фотосопротивление - в спектральном диапазоне от 1000 до 2500 нм.
Примечание - Допускается применение других приемников излучения, обеспечивающих измерение СКДО согласно настоящей методике.
6 Методика измерений СКДО элементов фотовольтаики и солнечных коллекторов при углах падения излучения от 5° до 85°
6.1 Методика измерений основана на методе измерения коэффициентов отражения образца, находящегося в центре интегрирующей сферы, в зависимости от угла падения излучения. Схема установки для выполнения измерений приведена в
приложении А.
6.2 Для измерения интенсивности отраженного от образца излучения, содержащего зеркальную и диффузную составляющие, образец, укрепленный в держателе, устанавливают в центре интегрирующей сферы, при этом посредством специального поворотного устройства обеспечивают необходимый для измерений угол падения излучения.
6.3 Входное излучение в интегрирующей сфере направляют на центральную часть образца так, чтобы при больших углах падения все излучение попадало на облучаемую поверхность образца.
6.4 Угол падения излучения на образец устанавливают лимбом поворотного устройства. Показания лимба, соответствующие углу падения 90°, определяют по минимальному размеру и максимальному контрасту тени образца, освещенного излучением в видимой области спектра. Другие углы падения устанавливают отсчетом от угла падения 90°.
6.5 Положения образца относительно падающего излучения задают поворотным устройством соответственно заданным значениям угла падения в диапазоне от 5° до 85° с заданным шагом

.
6.6 Запись измеряемых значений фототока фотодиода проводят в заданном спектральном диапазоне с заданным шагом

.
6.7 Регистрируют фототок

, пропорциональный интенсивности отраженного от образца излучения

, при заданных значениях длины волны

и угла падения излучения

.
6.8 Перемещают образец в вертикальном направлении так, чтобы входящее излучение беспрепятственно проходило от входного отверстия через центр интегрирующей сферы и падало на противоположную входному отверстию поверхность сферы.
6.9 Регистрируют фототок

, пропорциональный интенсивности падающего на образец излучения

, при заданном значении длины волны

и при заданном угле падения излучения

.
6.10 Спектральный коэффициент диффузного отражения образца

рассчитывают по формуле

(1)
где

- фототок, полученный при заданных значениях длины волны

и угла падения излучения

, пропорциональный интенсивности отраженного от образца излучения

;

,

- значения фототока, полученные в
6.7 и
6.9 в отсутствие излучения на входе интегрирующей сферы;

- фототок, полученный при заданных значениях длины волны

и угла падения излучения

, пропорциональный интенсивности падающего на образец излучения

.
6.11 Измерения последовательно проводят в спектральных диапазонах, соответствующих числу штрихов на 1 мм дифракционной решетки и областям пропускания фильтров монохроматора.
6.12 Измерение СКДО каждого образца проводят 10 раз, устанавливая для каждого измерения заново угол падения излучения на образец. Результаты измерений записывают в таблицу по форме, приведенной в
приложении Б.
6.13 Интегральный коэффициент диффузного отражения

рассчитывают согласно выражению

(2)
где

- спектральная плотность мощности излучения (Вт/нм), падающего на образец;

- спектральный коэффициент отражения;

- положения максимумов линий излучения на выходе монохроматора.
7 Условия проведения измерений
7.1 При проведении измерений соблюдают следующие условия:
- температура воздуха .... (20 +/- 5) °C;
- влажность воздуха ...... не более 80%;
- атмосферное давление ... (101,3 +/- 4,0) кПа; (760 +/- 30) мм рт. ст.
8 Обработка результатов измерений
8.1 Оценку характеристик погрешности результатов измерений проводят по
ГОСТ Р 8.563 и по
[1], неопределенности результатов измерений - по
[2].
8.2 По результатам измерений СКДО для
j-го образца рассчитывают среднее значение

по формуле

(3)
где

- измеренное значение СКДО;
n - число измерений;
j - номер образца.
8.3 Оценивают среднее квадратическое отклонение результата измерения СКДО j-го образца по формуле

(4)
где

- значение абсолютной случайной составляющей погрешности измерения СКДО.
8.4 Границы неисключенной систематической погрешности при измерении СКДО при доверительной вероятности P = 0,95 определяют по формуле

(5)
где

- значение неисключенной абсолютной систематической погрешности измерения СКДО
j-го образца;

- значение абсолютной систематической составляющей погрешности измерения СКДО;

- погрешность передачи единицы СКДО;
1,1 - коэффициент при доверительной вероятности P = 0,95.
8.5 Если

, то неисключенной систематической погрешностью пренебрегают.
Если

, то случайной погрешностью пренебрегают и погрешность измерения СКДО рассчитывают по
формуле (3).
9 Оформление результатов измерений
Результаты измерений заносят в протокол. Форма протокола измерений приведена в
приложении В.
(рекомендуемое)
УСТАНОВКИ ДЛЯ ИЗМЕРЕНИЙ СКДО ЭЛЕМЕНТОВ ФОТОВОЛЬТАИКИ
И СОЛНЕЧНЫХ КОЛЛЕКТОРОВ ПРИ УГЛАХ ПАДЕНИЯ ИЗЛУЧЕНИЯ
ОТ 5° ДО 85°
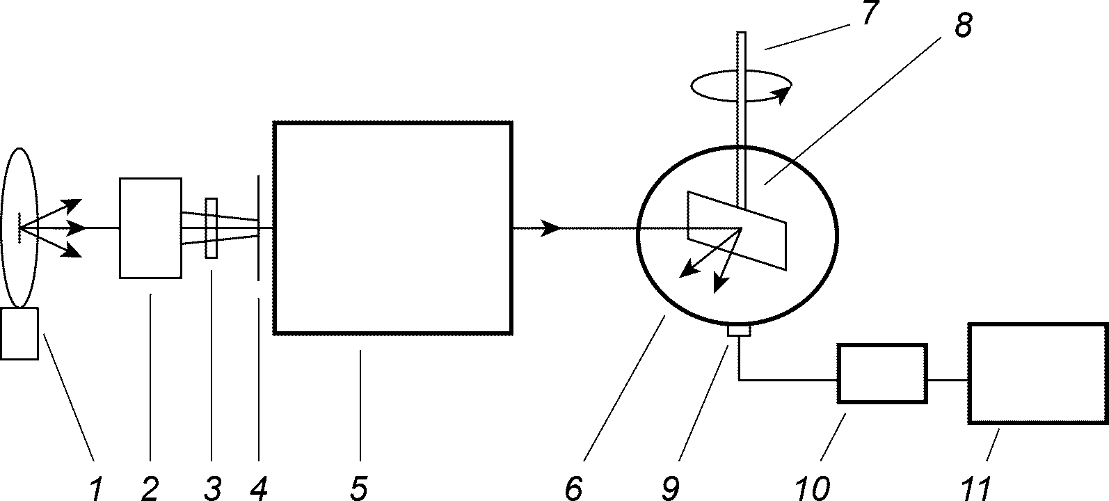
1 - лампа; 2 - конденсор; 3 - спектральный фильтр;
4 - входная щель; 5 - монохроматор; 6 - интегрирующая
сфера; 7 - держатель поворотного устройства на вертикальной
штанге; 8 - образец; 9 - фотодиод; 10 - фотоприемное
устройство; 11 - компьютер
Рисунок А.1 - Схема установки для измерений СКДО элементов
фотовольтаики и солнечных коллекторов при углах падения
излучения от 5° до 85°
Излучение лампы 1 после конденсора 2 проходит спектральный фильтр 3, выделяющий необходимый спектральный диапазон измерений, и попадает на входную щель 4 монохроматора 5. За выходной щелью монохроматора поток излучения направляют на входное отверстие интегрирующей сферы 6, имеющее форму вертикально ориентированной прямоугольной щели. В держателе поворотного устройства на вертикальной штанге 7 закреплен образец 8, расположенный в центре интегрирующей сферы. Поток излучения направляют на центральную часть исследуемого образца 8. Излучение регистрируют с применением фотодиода 9, входящего в состав фотоприемного устройства 10. Запись измеряемых значений фототока проводят на компьютере 11. Перед фотодиодом установлен экран (на рисунке не показан), закрывающий приемное окно фотодетектора от прямых лучей.
Поворотное устройство, расположенное над интегрирующей сферой, снабжено нониусом и обеспечивает поворот штанги и держателя с образцом на заданный угол.
(справочное)
ЗНАЧЕНИЯ СКДО ЭЛЕМЕНТОВ ФОТОВОЛЬТАИКИ И СОЛНЕЧНЫХ
КОЛЛЕКТОРОВ ПРИ УГЛАХ ПАДЕНИЯ ИЗЛУЧЕНИЯ ОТ 5° ДО 85°
И ПОГРЕШНОСТИ ИЗМЕРЕНИЯ
Таблица Б.1
Значения СКДО элементов фотовольтаики и солнечных
коллекторов при углах падения излучения от 5° до 85°
и погрешности измерения
Номер образца | Угол падения излучения, градус | Длина волны излучения, нм | Значение СКДО | Погрешность измерения |
| | | | |
| | | | |
| | | | |
| | | | |
| | | | |
| | | | |
| | | | |
| | | | |
| | | | |
| | | | |
| | | | |
| | | | |
| | | | |
| | | | |
| | | | |
Измеритель _____________ _____________________
подпись инициалы, фамилия
(рекомендуемое)
ФОРМА ПРОТОКОЛА ИЗМЕРЕНИЙ СКДО ЭЛЕМЕНТОВ ФОТОВОЛЬТАИКИ
И СОЛНЕЧНЫХ КОЛЛЕКТОРОВ ПРИ УГЛАХ ПАДЕНИЯ ИЗЛУЧЕНИЯ
ОТ 5° ДО 85°
Протокол измерений
от "_____" _____________ 20____ г.
1 Общие сведения об испытуемом (исследуемом) образце:
Наименование __________________________________________________________
Фирма-изготовитель, заводской номер: __________________________________
Владелец (наименование предприятия, ИНН/КПП): _________________________
2 Условия проведения измерений:
температура окружающего воздуха .... °C
относительная влажность воздуха ....%
атмосферное давление .... кПа
3 Средства измерений (тип и номер средств измерений, погрешность),
наименование методики измерений.
4 Внешний осмотр ____________________________
5 Метрологические характеристики:
Маркировка образца (порядковый номер) | Угол падения излучения, градус | Длина волны излучения, нм | Значение СКДО образца  | Среднее значение СКДО образца  , n = 10 | Систематическая составляющая основной погрешности  | Случайная составляющая основной погрешности (СКО) |
| | | | | | |
6 Абсолютная (относительная) погрешность измерения СКДО _______________
7 Результаты измерений
Измеритель _____________ _____________________
подпись инициалы, фамилия
| Рекомендации по метрологии | Государственная система обеспечения единства измерений. Результаты и характеристики погрешности измерений. Формы представления. Способы использования при испытаниях образцов продукции и контроле их параметров |
| Рекомендации по межгосударственной стандартизации | Государственная система обеспечения единства измерений. Применение "Руководства по выражению неопределенности измерений" |
УДК 535.3.089.6:006. 354 | |
Ключевые слова: излучение, отражение, спектральный коэффициент диффузного отражения, интегрирующая сфера |