Главная // Актуальные документы // ГОСТ Р (Государственный стандарт)
СПРАВКА
Источник публикации
М.: Стандартинформ, 2014
Примечание к документу
Документ введен в действие с 1 января 2014 года.
Название документа
"ГОСТ Р 55515-2013. Национальный стандарт Российской Федерации. Оборудование надувное игровое. Требования безопасности при эксплуатации"
(утв. и введен в действие Приказом Росстандарта от 26.08.2013 N 542-ст)

"ГОСТ Р 55515-2013. Национальный стандарт Российской Федерации. Оборудование надувное игровое. Требования безопасности при эксплуатации"
(утв. и введен в действие Приказом Росстандарта от 26.08.2013 N 542-ст)


Содержание


Утвержден и введен в действие
Приказом Федерального
агентства по техническому
регулированию и метрологии
от 26 августа 2013 г. N 542-ст
НАЦИОНАЛЬНЫЙ СТАНДАРТ РОССИЙСКОЙ ФЕДЕРАЦИИ
ОБОРУДОВАНИЕ НАДУВНОЕ ИГРОВОЕ
ТРЕБОВАНИЯ БЕЗОПАСНОСТИ ПРИ ЭКСПЛУАТАЦИИ
Inflatable play equipment.
Safety requirements under operation
ГОСТ Р 55515-2013
ОКС 97.200.40
Дата введения
1 января 2014 года
Предисловие
1. Разработан Закрытым акционерным обществом "Проектно-производственное предприятие "Циркон" и Учреждением реабилитации инвалидов "Завод "Воздушный замок".
2. Внесен Техническим комитетом по стандартизации ТК 427 "Аттракционы и другие устройства для развлечений".
3. Утвержден и введен в действие Приказом Федерального агентства по техническому регулированию и метрологии от 26 августа 2013 г. N 542-ст.
4. Введен впервые.
Правила применения настоящего стандарта установлены в ГОСТ Р 1.0-2012 (раздел 8). Информация об изменениях к настоящему стандарту публикуется в ежегодном (по состоянию на 1 января текущего года) информационном указателе "Национальные стандарты", а официальный текст изменений и поправок - в ежемесячном информационном указателе "Национальные стандарты". В случае пересмотра (замены) или отмены настоящего стандарта соответствующее уведомление будет опубликовано в ближайшем выпуске информационного указателя "Национальные стандарты". Соответствующая информация, уведомление и тексты размещаются также в информационной системе общего пользования - на официальном сайте национального органа Российской Федерации по стандартизации в сети Интернет (gost.ru).
Введение
Требования настоящего стандарта предназначены для снижения уровня риска причинения вреда посетителям, зрителям и персоналу надувного игрового оборудования.
1. Область применения
1.1. Настоящий стандарт распространяется на оборудование надувное игровое (далее - оборудование), разработанное и изготовленное в соответствии с требованиями ГОСТ Р 53487-2009.
1.2. Стандарт определяет мероприятия, относящиеся к рискам, связанным с использованием по назначению оборудования при его эксплуатации, и требования по их минимизации для посетителей, зрителей и персонала.
1.3. Стандарт не устанавливает требований безопасности при хранении, транспортировании и утилизации оборудования.
1.4. Стандарт не распространяется на надувные водные конструкции, домашние надувные игрушки, защитные надувные конструкции для индивидуального пользования, надувные конструкции для проведения профессиональных выставок и трюков, надувные конструкции для спасательных работ на воздушных и авиационных конструкциях, выставочные надувные украшения, декорации и аналогичные конструкции, надувные ангары.
1.5. Стандарт не учитывает опасностей, возникающих в случае:
- безнадзорного использования оборудования;
- использования оборудования не по назначению.
1.6. Стандарт не устанавливает уровни допустимого риска при эксплуатации оборудования.
1.7. Требования настоящего стандарта могут быть использованы при эксплуатации иных видов надувного оборудования, если об этом указано в эксплуатационной документации.
2. Нормативные ссылки
В настоящем стандарте использованы нормативные ссылки на следующие стандарты:
ГОСТ Р 51885-2002 (ИСО 7001-90) Знаки информационные для общественных мест
ГОСТ Р 53487-2009 Безопасность аттракционов. Оборудование надувное игровое. Требования безопасности. Методы испытаний
ГОСТ Р ЕН 1177-2006 Покрытия игровых площадок ударопоглощающие. Требования безопасности и методы испытаний
ГОСТ 2.601-2006 Единая система конструкторской документации. Эксплуатационные документы
ГОСТ 2.610-2006 Единая система конструкторской документации. Правила выполнения эксплуатационных документов.
Примечание. При пользовании настоящим стандартом целесообразно проверить действие ссылочных стандартов в информационной системе общего пользования - на официальном сайте Федерального агентства по техническому регулированию и метрологии в сети Интернет или по ежегодному информационному указателю "Национальные стандарты", который опубликован по состоянию на 1 января текущего года, и по выпускам ежемесячного информационного указателя "Национальные стандарты" за текущий год. Если заменен ссылочный стандарт, на который дана недатированная ссылка, то рекомендуется использовать действующую версию этого стандарта с учетом всех внесенных в данную версию изменений. Если заменен ссылочный стандарт, на который дана датированная ссылка, то рекомендуется использовать версию этого стандарта с указанным выше годом утверждения (принятия). Если после утверждения настоящего стандарта в ссылочный стандарт, на который дана датированная ссылка, внесено изменение, затрагивающее положение, на которое дана ссылка, то это положение рекомендуется применять без учета данного изменения. Если ссылочный стандарт отменен без замены, то положение, в котором дана ссылка на него, рекомендуется применять в части, не затрагивающей эту ссылку.
3. Термины и определения
В настоящем стандарте применены следующие термины с соответствующими определениями.
3.1. Вред: физический вред или ущерб здоровью людей или повреждение собственности или окружающей среды.
3.2. Защитная мера: мера, используемая для уменьшения риска.
3.3. Знаковые визуальные средства отображения информации: визуальные средства, отображающие информацию и выполненные в виде пиктограмм и предупреждающих знаков.
3.4. Зрители: люди, наблюдающие за работой оборудования или ожидающие доступа на него в качестве посетителей.
3.5. Оператор: подготовленное лицо из состава персонала эксплуатирующей организации, получившее удостоверение и допущенное к самостоятельной работе, отвечающее за безопасную эксплуатацию оборудования на протяжении всего времени, когда оборудование доступно для посетителей.
3.6. Остаточный риск: риск, остающийся после предпринятых защитных мер.
3.7. Персонал: штатные работники эксплуатирующей организации, уполномоченные и непосредственно участвующие в эксплуатации оборудования под руководством оператора, а также связанные с его техническим обслуживанием и ремонтом.
3.8. Практический экзамен: процедура формализованной оценки знаний и практических навыков экзаменуемого, позволяющая оценить его способность обеспечивать безопасность эксплуатации оборудования.
3.9. Процедура: последовательность действий, которые должны быть выполнены в заданном логическом порядке.
3.10.
Техническое обслуживание: комплекс операций или операция по поддержанию работоспособности или исправности изделия при использовании по назначению, ожидании, хранении и транспортировании.
[ГОСТ 18322-78, статья 1]
3.11. Удостоверение оператора: документ, выданный эксплуатантом, подтверждающий квалификацию оператора надувного игрового оборудования и его право на самостоятельную безопасную эксплуатацию соответствующего оборудования.
3.12. Установка: процедура подготовки оборудования к эксплуатации, указанная в эксплуатационной документации.
3.13. Эксплуатант: юридическое лицо или индивидуальный предприниматель, владеющее надувным оборудованием на правах собственности (на условиях аренды или ином законном основании), использующее указанное оборудование для предоставления услуг физическим лицам (посетителям), несущее ответственность за безопасность посетителей, зрителей и персонала, и выполнение требований правовой, нормативно-технической и эксплуатационной документации.
4. Общие требования безопасности
4.1. Конструкция оборудования должна соответствовать требованиям безопасности, установленным в ГОСТ Р 53487.
4.2. Эксплуатация оборудования должна обеспечивать безопасность посетителей, зрителей, персонала в течение всего периода его использования по назначению при выполнении эксплуатантом требований и рекомендаций, установленных в эксплуатационной документации.
4.3. При нормальных условиях эксплуатации должны быть исключены или минимизированы опасности и сопутствующие им риски и обеспечена защита посетителей, зрителей и персонала от:
- падения;
- протекания опасных токов через тело человека;
- изменения устойчивости оборудования;
- воздействия двигающихся и перемещающихся элементов конструкции и предметов;
- возникновения и распространения огня;
- ошибок посетителей, зрителей и персонала или нарушений ими правил эксплуатации оборудования;
- воздействия материалов и веществ;
- воздействия погодных явлений;
- возникновения нештатных ситуаций.
4.4. В эксплуатационной документации разработчик обязан проинформировать эксплуатанта об остаточных рисках, которые конструктивно не устранены, и дать рекомендации по методам безопасной эксплуатации оборудования при использовании его по назначению.
4.5. Уровень остаточного риска причинения вреда посетителям, зрителям и персоналу при эксплуатации оборудования, как при штатных, так и нештатных ситуациях должен быть минимальным.
4.6. Если, по мнению эксплуатанта, процедуры эксплуатации, рекомендованные разработчиком оборудования, не обеспечивают полного соблюдения требований безопасности, то эксплуатант может их дополнить самостоятельно, например, дополнительными требованиями к правилам для посетителей, ограничениями по эксплуатации, проверками и т.д., с учетом требований настоящего стандарта.
5. Требования к эксплуатационной документации
5.1. Эксплуатационная документация должна содержать всю необходимую информацию, позволяющую эксплуатанту обеспечивать безопасность эксплуатации оборудования.
5.2. Эксплуатационная документация, поставляемая вместе с оборудованием, должна включать паспорт, а также руководство (инструкцию) по эксплуатации, в которой должны быть приведены операции по установке, эксплуатации, техническому обслуживанию, транспортированию, ремонту, хранению и утилизации.
5.3. Эксплуатационная документация должна содержать информацию о маркировке, выполненной в соответствии с ГОСТ Р 53487 и необходимой для идентификации оборудования.
5.4. Эксплуатационная документация может быть оформлена в виде единого документа, а также содержать другие документы, необходимые для обеспечения безопасности эксплуатации оборудования.
5.5. Эксплуатационная документация должна быть выполнена в соответствии с требованиями ГОСТ 2.601 и ГОСТ 2.610, а также содержать дополнительную информацию и рекомендации в соответствии с Приложением А.
5.6. Эксплуатационная документация выполняется на русском языке, а также на государственном языке субъекта Российской Федерации или родных языках народов Российской Федерации, если это определено договором, путем аутентичного перевода текста документа с русского языка.
5.6.1. Если эксплуатационная документация поставляется в двух экземплярах, то один экземпляр выполняется на русском языке, второй - на языке субъекта Российской Федерации.
5.7. Эксплуатант должен обеспечить сохранность эксплуатационной документации на оборудование в течение всего срока его службы.
5.8. Эксплуатант должен иметь и вести внутреннюю документацию установленного образца (журналы), необходимую для подтверждения выполнения процедур эксплуатации, технического обслуживания и ремонта оборудования.
5.8.1. Форма журнала в соответствии с Приложением Б.
5.8.2. Эксплуатант должен иметь документированные процедуры по обращению, ведению и заполнению внутренней документации.
5.8.3. Эксплуатант должен обеспечить учет и хранение эксплуатационной и внутренней документации.
6. Требования к операторам
6.1. Эксплуатацию оборудования должен осуществлять работник эксплуатанта, прошедший соответствующую подготовку.
6.2. Функции, права и обязанности оператора оборудования устанавливают в должностных инструкциях и других документах эксплуатанта.
6.3. Должностную инструкцию оператора разрабатывает эксплуатант с учетом действующих нормативных документов, рекомендаций, представленных в эксплуатационной документации на оборудование, собственного опыта и требований настоящего стандарта.
6.4. Должностная инструкция оператора должна определять уровень его компетентности, необходимый для выполнения процедур эксплуатации и оказания услуг, и быть утверждена эксплуатантом.
6.5. Ученик оператора, претендующий на должность оператора оборудования, должен быть не моложе 18 лет и не иметь медицинских противопоказаний по состоянию здоровья, препятствующих работе на данном оборудовании.
6.6. Ученик оператора, претендующий на присвоение должности оператора оборудования, должен пройти подготовку, стажировку и аттестацию.
6.7. Ученик оператора, претендующий на присвоение должности оператора оборудования, должен иметь группу II по электробезопасности в соответствии с [1].
6.8. Типовой порядок организации подготовки, стажировки и аттестации - в соответствии с Приложением В.
7. Требования безопасности при установке
7.1. Общие положения
7.1.1. Оборудование должно устанавливаться и демонтироваться в соответствии с требованиями эксплуатационной документации.
7.1.2. Результаты установки и демонтажа, проверки при пробных циклах работы в режиме эксплуатации, выполненные после установки, должны быть занесены в журнал.
7.2. Требования к определению направления и скорости ветра
7.2.1. Эксплуатация оборудования имеет ограничения по скорости ветра.
7.2.2. Максимальная скорость ветра, при которой допускается эксплуатация оборудования на открытом воздухе, должна быть указана в эксплуатационной документации.
7.2.3. В случае если в эксплуатационной документации указанная информация отсутствует, рекомендуется не эксплуатировать оборудование при скорости ветра, превышающей 10 м/с.
7.2.4. Для определения направления и скорости ветра необходимо использовать анемометры, двенадцатибальную шкалу Бофорта (приложение В ГОСТ Р 53487), ветроуказатели, имеющие возможность свободно вращаться, а также иные специальные приборы и устройства.
7.3. Требования к размещению
7.3.1. При размещении оборудования необходимо обеспечить соблюдение безопасных расстояний для посетителей, зрителей и персонала, которые должны быть приведены в эксплуатационной документации.
7.3.2. Расположение оборудования не должно создавать опасные заторы в чрезвычайных ситуациях.
7.3.3. Расположение оборудования должно обеспечивать безопасный вход/выход посетителей и исключать давку в чрезвычайных ситуациях.
7.4. Требования к площадке под установку оборудования
7.4.1. Поверхность площадки под установку оборудования должна быть ровной.
7.4.2. Размеры площадки под установку оборудования и допустимый уклон поверхности в любом направлении должны соответствовать значениям, указанным в эксплуатационной документации.
7.5. Требования к ограждению (системе ограничения доступа)
7.5.1. Оборудование должно иметь ограждение (см. рис. 1) или иные средства ограничения доступа, которые могут потребоваться для организации и обеспечения:
- зон безопасности и их обозначения;
- безопасности при входе и выходе;
- порядка в очереди;
- безопасности зрителей, стоящих в очереди в ожидании посещения оборудования или наблюдающих за работой оборудования;
- безопасного прохода посетителей и персонала.
1 - расстояние не менее 1,8 м; 2 - стена батута;
3 - расстояние не менее 3,5 м; 4 - открытая сторона;
5 - проход в ограждении шириной не менее 1 м
Рисунок 1. Ограждение вокруг батута
7.5.2. Ограждение снаружи оборудования должно исключать несанкционированное проникновение посетителей и зрителей через него или под ним.
7.5.3. Рекомендации по видам ограждения для оборудования, его прочности и устойчивости должны быть приведены в эксплуатационной документации.
7.5.4. Эксплуатант может сам определять виды ограждений исходя из реальной обстановки, учитывая местные особенности, численность посетителей и зрителей, место установки и иные обстоятельства, связанные с обеспечением безопасности эксплуатации при условии, что они обеспечивают выполнение пп. 7.5.1 и 7.5.2 и удовлетворяют рекомендациям, приведенным в эксплуатационной документации.
7.5.5. Ограждение должно размещаться на таком расстоянии, чтобы исключить доступ посетителей и зрителей к:
- вентилятору, включая его проводку;
- элементам системы крепления;
- швартовочным элементам.
7.5.6. Расстояние от оборудования до ограждения необходимо выбирать с учетом максимальной высоты свободного падения и минимального расстояния от ограждения до источника опасности.
7.5.6.1. Расстояние от оборудования до ограждения должно быть указано в эксплуатационной документации.
7.5.7. В случае если в эксплуатационной документации информация о расстоянии от оборудования до ограждения отсутствует, рекомендуется указанное расстояние принимать равным не менее половины высоты, на которой расположена самая высокая платформа (половина высоты свободного падения).
7.5.8. В любом случае расстояние от ограждения до наружных стен оборудования должно быть не менее 1,8 м, а с открытой стороны - не менее 3,5 м (см. рисунок 1).
7.5.9. В ограждении должен быть предусмотрен проход для входа/выхода посетителей шириной не менее 1 м, оборудованный калиткой с запирающим устройством, например запор, крючок и т.п.
7.5.10. Рекомендуется использовать ограждения, состоящие либо из гибких элементов (например, цепочки, ленты и т.п.), рассчитанные на визуальное восприятие, либо выполненные из жестких конструкций (например, барьеры, ограждения и т.п.), физически ограничивающие доступ и способные воспринимать горизонтальные силы.
7.6. Требования к чистоте поверхности
7.6.1. Место для установки оборудования необходимо очистить от мусора, растительности и острых предметов, расположенных на поверхности или выступающих из земли.
7.6.2. В течение всего времени работы оборудования поверхность территории внутри ограждения необходимо поддерживать в чистоте, без посторонних предметов, которые могут причинить вред посетителям, зрителям, персоналу, а также ущерб оборудованию и окружающей среде.
7.7. Требования к установке оборудования
7.7.1. Перед установкой оборудование должно быть проверено.
7.7.2. Типовой процесс проверки оборудования перед установкой в соответствии с Приложением Г.
7.7.3. В процессе установки оборудования необходимо исключить доступ посторонних лиц в зону работ с помощью ограждений, визуальной информации и/или устных предупреждений.
7.8. Требования к фиксации оборудования
7.8.1. До начала эксплуатации каждый узел крепления оборудования должен быть обязательно зафиксирован.
7.8.2. Способы и особенности фиксации оборудования должны быть указаны в эксплуатационной документации.
7.8.3. Рекомендуется при использовании оборудования на открытом воздухе крепить его на земле при подходящей почве с помощью жесткого крепления (анкера, стержни), а при невозможности их использования - с помощью балластной системы.
7.8.4. Каждый элемент жесткого крепления или балластной системы должен выдерживать нагрузку не менее 1600 Н.
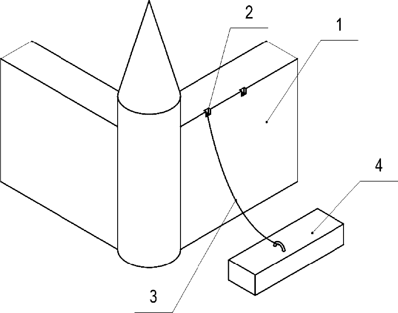
7.8.5. Направление прилагаемого усилия должно составлять угол от 30° до 45° по отношению к земле (см. рисунок 2).
1 - направление прилагаемого усилия;
2 - формы закругления головок анкеров;
3 - уровень поверхности земли
Рисунок 2. Виды анкеров и направление прилагаемого усилия
7.8.6. Анкеры следует зафиксировать в земле в направлении, обратном прилагаемому усилию.
7.8.7. Верхушки анкеров должны быть закругленными и не должны выступать из земли более чем на 25 мм.
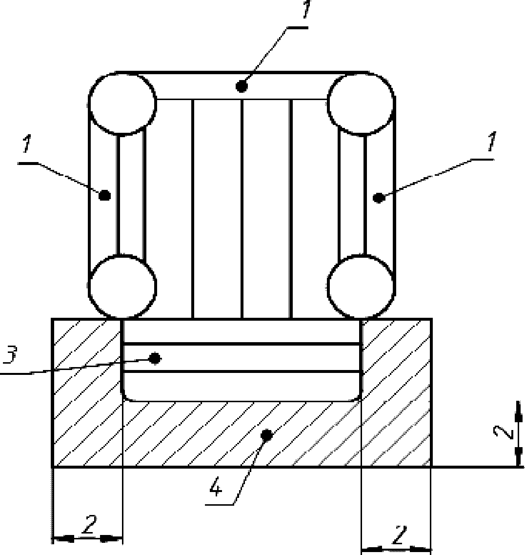
7.8.8. При фиксации оборудования в области приземления необходимо точки крепления, расположенные вдоль основания, закреплять таким образом, чтобы они располагались как можно ближе к оболочке (см. рисунок 3).
1 - сторона батута; 2 - область приземления;
3 - анкер, расположенный максимально близко к стороне
батута; 4 - уровень поверхности земли
Рисунок 3. Фиксация батута в области приземления
7.8.9. При установке и эксплуатации оборудования необходимо регулярно контролировать состояние грунта, чтобы убедиться в отсутствии ухудшения его несущей способности, особенно при неблагоприятных погодных условиях.
7.8.10. На твердых поверхностях, где нельзя использовать стержни или анкеры, оборудование может закрепляться за приспособления, уже имеющиеся на площадке, а также за мешки с песком или иные грузы, если они могут выдерживать нагрузку не менее 1600 Н без смещения.
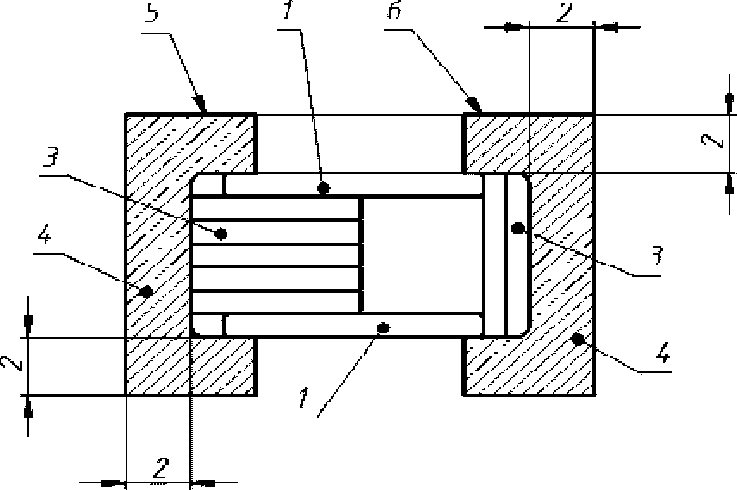
7.8.11. Каждый узел крепления, расположенный на оборудовании, соединяется с элементом жесткого крепления или балластной системы с помощью швартовочных элементов, которые должны быть натянуты и не иметь прогибов и слабины (см. рисунки 4, 5).
1 - сторона батута; 2 - узел крепления; 3 - швартовочный
элемент (условно показан с провисом); 4 - балластная система
Рисунок 4. Фиксация батута за балластную систему
1 - сторона батута; 2 - узел крепления; 3 - швартовочный
элемент (условно показан с провисом); 4 - балластная система
Рисунок 5. Фиксация батута с помощью анкеров
7.8.12. Не допускается крепление оборудования:
- за транспортные средства;
- за систему ограничения доступа, между собой (см. рисунки 6, 7);
- к одному стержню или за одну и ту же точку балластной системы двух и более швартовочных элементов, даже если они способны выдерживать нагрузку, превышающую 1600 Н (см. рисунок 8);
- за один узел крепления двух и более швартовочных элементов (см. рисунок 9);
- к опорам линий электропередач, стойкам рекламных щитов и иным предметам, не предназначенным для фиксации оборудования или не указанным в эксплуатационной документации.
1 - сторона батута; 2 - узел крепления;
3 - швартовочный элемент (условно показан с провисом);
4 - система ограничения доступа
Рисунок 6. Недопустимое крепление батута
за систему ограничения доступа
1 - первый батут; 2 - второй батут;
3 - швартовочные элементы первого батута;
4 - швартовочные элементы второго батута
Рисунок 7. Недопустимое крепление двух батутов между собой
1 - сторона батута; 2 - узлы крепления;
3 - швартовочные элементы (условно показаны с провисом);
4 - один стержень или одна точка балластной системы
Рисунок 8. Недопустимое крепление двух швартовочных
элементов батута к одному стержню
1 - сторона батута; 2 - узлы крепления;
3 - швартовочные элементы (условно показаны с провисом);
4 - стержни или точки балластной системы
Рисунок 9. Недопустимое крепление двух швартовочных
элементов батута за один узел крепления
7.9. Требования к швартовочным элементам
7.9.1. Каждый швартовочный элемент должен быть изготовлен из целого куска каната, шнура или ленты.
7.9.2. Применение составных швартовочных элементов не допускается.
7.9.3. Каждый швартовочный элемент, предназначенный для соединения с узлом крепления с разрывной нагрузкой не менее 1600 Н, должен иметь разрывную нагрузку не менее 9600 Н.
7.9.4. Концы канатов необходимо обработать или заделать способами, исключающими их расплетение.
7.9.5. Допускается концы каната из синтетических волокон оплавлять.
7.10. Требования к узлам фиксации швартовочных элементов
7.10.1. Каждый швартовочный элемент одним концом фиксируется в узле крепления оболочки, а другим - к одной из систем фиксации.
7.10.2. Для фиксации швартовочных элементов к узлам крепления оболочки и элементам системы фиксации необходимо использовать узлы, исключающие их самопроизвольное развязывание.
7.11. Требования к области приземления
7.11.1. С любой открытой стороны оборудования необходимо обеспечить длину области приземления не менее 1,2 м (см. рисунок 10).
а)
б)
а) область приземления на батуте,
б) область приземления вокруг горки
1 - стена; 2 - сторона области приземления длиной не менее
1,2 м; 3 - открытая сторона; 4 - область приземления,
где необходимо расположить маты; 5 - выход с горки;
6 - вход на горку
Рисунок 10. Область приземления
7.11.2. Поверхность области приземления должна удовлетворять требованиям ГОСТ Р ЕН 1177-2006.
7.11.3. Рекомендации по видам ударопоглощающего покрытия для оборудования должны быть приведены в эксплуатационной документации.
7.12. Требования к проверкам после установки
7.12.1. После установки оборудования администратор осуществляет контрольные проверки и оценивает:
- правильность монтажа;
- правильность установки всех элементов, имеющих отношение к безопасной эксплуатации;
- правильность расположения и фиксацию ограждения;
- чистоту поверхности вокруг оборудования;
- внешние погодные условия и их допустимость для эксплуатации оборудования;
- минимальные расстояния от ограждения;
- правильность расположения электрооборудования и отсутствие опасности дотянуться до него или споткнуться;
- правильность крепления соединительного рукава к вентилятору, устойчивость вентилятора;
- соответствие установленного вентилятора (производительность, давление) требованиям эксплуатационной документации;
- закрытие и фиксацию рукавов для выпускания воздуха;
- отсутствие износа, деформации и повреждений швартовочных элементов, петель и устройств фиксации;
- правильность крепления, натяжение и отсутствие слабины в швартовочных элементах, фиксирующих узлы крепления, расположенные вдоль основания;
- наличие ударопоглощающего покрытия и его соответствие рекомендациям, представленным в эксплуатационной документации;
- принятые меры для предотвращения доступа посторонних лиц к оборудованию с любого направления.
7.12.2. Аналогичные проверки должны выполняться ежедневно.
7.12.2.1. Результаты проверок должны быть занесены в журнал.
7.12.3. После завершения проверок оператор производит наполнение воздухом оборудования.
7.12.4. Во время наполнения оборудования воздухом (надувания) и при выпускании воздуха после завершения работы на оборудовании не должно быть посетителей.
7.12.5. Выполняется проверка натяжения швартовочных элементов, фиксирующих узлы крепления, расположенные вдоль основания, и, при необходимости, осуществляется их подтягивание, натяжение и новое крепление.
7.12.6. Производится крепление швартовочных элементов, фиксирующих узлы крепления, расположенные на стенах оболочки.
7.12.7. Производится проверка отсутствия повреждений и порывов на тканевой основе игровой площадки, основании и ограждающих стенах.
7.12.8. Производится пробный цикл работы оборудования в режиме эксплуатации без посетителей согласно эксплуатационной документации.
7.12.9. После завершения пробного цикла функционирования оборудования в режиме эксплуатации без посетителей оборудование готово к приему посетителей.
7.12.10. Допуск посетителей на оборудование разрешается только при отсутствии неисправностей и нарушений в его функционировании.
7.13. Требования к документальному оформлению процедур сборки, установки и проверок после установки оборудования
7.13.1. Результаты сборки, установки и проверок после установки оборудования должны быть занесены в журнал.
8. Требования безопасности при эксплуатации оборудования
8.1. Общие положения
8.1.1. Оборудование должно использоваться согласно назначению, предусмотренному эксплуатационной документацией.
8.1.2. Оборудование должно находиться под постоянным контролем оператора с момента начала его установки, а не только во время нахождения на нем посетителей.
8.1.3. Один оператор должен контролировать работу только одной единицы оборудования.
8.1.4. Не допускается эксплуатация оборудования:
- посторонними лицами;
- не прошедшим подготовку и неаттестованным персоналом;
- без надзора за оборудованием;
- при его использовании не по назначению;
- при наличии повреждений тканевой основы и ниточных швов оболочки;
- при наличии на тканевой основе оболочки пятен неизвестного происхождения;
- при неработающих системах выпуска воздуха;
- при отсутствии системы фиксации;
- при фиксации оборудования за транспортные средства;
- при фиксации оборудования за предметы, не обеспечивающие восприятия нагрузки 1600 Н;
- при отсутствии или повреждении даже одного швартовочного элемента или одного узла крепления;
- при использовании вентилятора с характеристиками, отличающимися от характеристик штатного вентилятора;
- при неблагоприятных погодных условиях (атмосферные осадки, ветер), которые могут повлиять на условия эксплуатации, устойчивость или безопасность посетителей и зрителей;
- при отсутствии системы ограничения доступа;
- при отсутствии необходимого расстояния от оборудования до ограждения;
- при отсутствии установленных перед входом на оборудование правил для посетителей и другой информации, необходимой для безопасной эксплуатации оборудования.
8.1.5. При эксплуатации необходимо особое внимание уделять экстремальным погодным условиям, вызванным порывистым ветром или увеличением его силы.
8.2. Требования к численности персонала
8.2.1. В эксплуатационной документации должны быть приведены рекомендации по составу и численности персонала, необходимого для безопасной эксплуатации оборудования.
8.2.2. Численность персонала должна быть достаточной для:
- минимизации рисков при эксплуатации;
- оказания помощи посетителям при входе/выходе с оборудования;
- осуществления контроля действий посетителей и зрителей;
- обеспечения эвакуации посетителей в случае возникновения такой необходимости.
8.3. Требования к экипировке персонала
8.3.1. Оператор и персонал должны быть легко узнаваемы.
8.3.2. Экипировка должна быть яркой и контрастной.
8.4. Требования к сигналам и средствам сигнализации
8.4.1. Оператор и, при необходимости, персонал должны иметь при себе эффективные средства сигнализации (например, звуковую или световую сигнализацию), посредством которых они могут привлечь внимание посетителей и зрителей.
8.4.2. Сигнал должен быть однозначным и четким.
8.4.3. Сигнал должен отличаться от других сигналов и узнаваться посетителями и зрителями.
8.4.4. Сигнал должен подаваться незамедлительно при возникновении опасности.
8.4.5. Средства сигнализации должны размещаться таким образом, чтобы процедура их применения была простой.
8.4.6. Средства сигнализации необходимо ежедневно проверять перед началом эксплуатации оборудования и содержать в работоспособном состоянии.
8.5. Требования к средствам пожаротушения
8.5.1. Оборудование должно быть оснащено первичными средствами пожаротушения.
8.5.2. Рекомендации по средствам пожаротушения должны быть приведены в эксплуатационной документации.
8.5.3. При использовании оборудования по назначению первичные средства пожаротушения должны располагаться на видном месте недалеко от оборудования.
8.5.4. Средства пожаротушения необходимо содержать в работоспособном состоянии.
8.6. Требования к средствам доврачебной медицинской помощи
8.6.1. Оборудование должно быть оснащено средствами доврачебной медицинской помощи.
8.6.2. Средства доврачебной медицинской помощи должны располагаться на видном месте.
8.6.3. Средства доврачебной медицинской помощи необходимо содержать в исправном состоянии и, при необходимости, восполнять и заменять.
8.7. Требования к информационному обеспечению
8.7.1. Требования к информации для оператора и персонала
8.7.1.1. Информация для оператора и персонала должна быть приведена в эксплуатационной документации.
8.7.1.2. Информация для оператора и персонала может быть размещена на самой оболочке.
8.7.1.2.1. Рекомендуется информацию для оператора и персонала располагать около места соединения оболочки с соединительной трубой вентилятора.
8.7.1.2.2. Информация может быть выполнена в виде символов, пиктограмм, предупреждений и надписей.
8.7.1.2.3. Указанная информация не должна отличаться от информации, представленной в эксплуатационной документации.
8.7.1.3. Информация для операторов и персонала:
- должна быть точной и хорошо понимаемой;
- используемая терминология должна быть пояснена;
- сведения, представленные в рисунках, схемах, символах, пиктограммах и т.п., не должны быть двусмысленными.
8.7.1.4. Эксплуатант может разработать дополнительные требования и указания для оператора и персонала, исходя из опыта эксплуатации аналогичного надувного оборудования.
8.7.1.5. Дополнительные требования и указания для персонала:
- не должны противоречить требованиям, изложенным в эксплуатационной документации;
- могут быть оформлены в виде инструкций, стандартов организации или в виде иной формы, принятой у эксплуатанта.
8.7.1.6. Персонал должен быть ознакомлен с указанными дополнительными требованиями и указаниями, а их копии должны находиться на рабочем месте оператора.
8.7.2. Требования к информации для посетителей
8.7.2.1. В эксплуатационной документации должны быть представлены рекомендации по правилам поведения посетителей или иная достоверная информация, необходимая для разработки правила поведения посетителей.
8.7.2.2. Правила пользования оборудованием разрабатываются эксплуатантом на основе рекомендаций или информации, изложенной в эксплуатационной документации, с учетом опыта предоставления услуг на аналогичном оборудовании.
8.7.2.3. Визуальная информация для посетителей, выполненная в виде информационной таблички, должна быть нанесена изготовителем непосредственно на оборудование со стороны входа на оборудование или установлена на мобильном стенде (или в виде таблички) возле оборудования со стороны входа.
8.7.2.4. Визуальная информация для посетителей, нанесенная изготовителем на оборудование, не должна отличаться от информации, представленной в эксплуатационной документации.
8.7.2.5. Визуальная информация для посетителей может быть также оформлена иными способами, не противоречащими законодательству Российской Федерации с учетом требований ГОСТ Р 51885.
8.7.2.6. Визуальная информация должна быть доступна для чтения посетителями и зрителями.
8.7.2.7. Визуальная информация может состоять из текста, слов или знаковых визуальных средств отображения, используемых по отдельности или вместе и служащих для передачи информации.
8.7.2.8. Визуальная информация, выполненная в виде текста, доводится до потребителя на русском языке и, по усмотрению эксплуатирующей организации, на государственных языках субъектов Российской Федерации, а также родных языках народов Российской Федерации.
8.7.2.9. Рекомендуется в визуальной информации для посетителей указывать:
- максимальную вместимость оборудования по весу или числу посетителей;
- рост, вес, возраст посетителей, допускаемых на оборудование;
- правила пользования оборудованием для посетителей;
- ограничения и запреты при пользовании оборудованием;
- сведения об эвакуации и необходимые эвакуационные знаки;
- расположение места оказания первой медицинской помощи;
- адреса и телефоны экстренных служб (службы спасения, скорой помощи);
- другую необходимую и достоверную информацию.
8.7.2.10. Информация об ограничениях, необходимых для безопасной эксплуатации, должна быть приведена в эксплуатационной документации.
8.7.2.10.1. Если в эксплуатационной документации отсутствует данная информация, то к ограничениям для посетителей рекомендуется относить:
- наличие у них электрокардиостимуляторов;
- болезни сердца;
- нарушения вестибулярного аппарата;
- слабое зрение;
- наличие любых медицинских проблем, которые могут усилиться из-за нахождения на оборудовании.
8.7.2.11. Информация о запретах должна быть приведена в эксплуатационной документации.
8.7.2.11.1. Если в эксплуатационной документации отсутствует данная информация, рекомендуется при эксплуатации оборудования не разрешать:
- прыгать на ступени или пандусе;
- приближаться, трогать и перемещать работающий вентилятор;
- находиться в обуви, в очках, в головных уборах с твердыми козырьками;
- находиться в состоянии алкогольного или наркотического опьянения;
- иметь на себе острые, твердые или опасные предметы;
- брать с собой крупные предметы (например, трости, зонтики и пр.) или животных;
- курить, есть, пить, жевать жевательную резинку;
- карабкаться и висеть на ограждающих стенах;
- телесный контакт, кувырки и толчки между посетителями;
- проявлять агрессивность в игре;
- находиться одновременно посетителям разного возраста;
- лежать на игровой площадке при нахождении на ней более одного посетителя.
8.7.2.12. Эксплуатант должен периодически проверять эффективность информационного обеспечения и, в случае необходимости, его уточнять, изменять или дополнять.
8.7.2.13. Оператор должен иметь при себе удостоверение оператора и, в случае необходимости, предъявить его контролирующим органам.
8.8. Требования к режимам работы оператора
8.8.1. Режимы работы оператора должны соответствовать требованиям [2].
8.9. Требования к организации входа/выхода посетителей
8.9.1. Процедуры эксплуатации оборудования, установленные изготовителем или эксплуатантом, должны обеспечивать регулируемый вход/выход посетителей.
8.9.2. Вход посетителя на оборудование подразумевает принятие им правил поведения, действующих в течение всего времени его нахождения на оборудовании.
8.9.3. Проход к входу/выходу на оборудование должен быть свободен от препятствий, посетителей, зрителей и прочих лиц, чтобы обеспечить оператору хороший визуальный обзор.
8.9.4. Посетители не должны загораживать вход/выход на оборудование.
8.9.5. Необходимо предусмотреть безопасные зоны ожидания для зрителей.
8.9.6. Перед запуском посетителей на оборудование персонал должен:
- убедиться, что посетители сняли:
- мешающую одежду и обувь,
- твердые, острые или опасные предметы (например, пряжки, ручки, значки, очки и прочее);
- убедиться, что рост, вес или возраст посетителей соответствуют значениям, указанным в эксплуатационной документации;
- разделить посетителей на возрастные группы;
- сопроводить каждого посетителя ростом до 110 см от входа до оборудования и обратно;
- оказать помощь каждому посетителю ростом до 110 см в подъеме на игровую площадку оборудования и спуске с нее;
- убедиться, что на оборудовании отсутствуют посетители, которые по своему росту и другим факторам не соответствуют требованиям, указанным в эксплуатационной документации;
- убедиться, что максимальное число посетителей, одновременно находящихся на оборудовании, не превышает требования эксплуатационной документации.
ИС МЕГАНОРМ: примечание.
Нумерация пунктов дана в соответствии с официальным текстом документа.
8.9.8. Если очевидно, что некоторые посетители из-за своих физических возможностей или прочих факторов могут подвергаться риску, то таких посетителей рекомендуется не допускать на оборудование.
8.9.9. После завершения сеанса персонал должен:
- обеспечить организованный выход посетителей с оборудования;
- убедиться, что все посетители покинули оборудование и на нем отсутствуют посторонние предметы.
8.9.10. Доступ посетителей к входу на оборудование должен определяться процедурами эксплуатации.
8.10. Требования к организации рабочего цикла
8.10.1. Оператор и персонал должны постоянно наблюдать за происходящим на оборудовании и не оставлять его без контроля.
8.11. Требования к действиям персонала при нештатных ситуациях
8.11.1. В процессе эксплуатации оборудования могут возникнуть нештатные ситуации, к которым относятся:
- конфликт с посетителями;
- аварийная остановка оборудования;
- причинение вреда посетителям, зрителям и персоналу;
- пожар;
- ограбление.
8.11.2. Эксплуатант должен разработать документированные процедуры и провести подготовку персонала для обеспечения четкости его работы в этих условиях.
8.12. Требования безопасности по окончании работы оборудования
8.12.1. После окончания работы оборудования рекомендуется:
- выпустить из оболочки полностью воздух, не убирая систему фиксации;
- отключить вентилятор от источника питания;
- отсоединить вентилятор от оболочки и убрать его;
- накрыть оболочку предохранительным чехлом (при необходимости) и зафиксировать его от возможных перемещений, связанных с порывами ветра.
8.13. Требования к документальному оформлению процедур эксплуатации оборудования
8.13.1. Результаты эксплуатации оборудования должны быть занесены в журнал.
9. Требования к техническому обслуживанию
9.1. Требования к техническому обслуживанию оболочки
9.1.1. Техническое обслуживание оборудования осуществляет оператор в соответствии с эксплуатационной документацией.
9.1.2. Техническое обслуживание оболочки должно предусматривать очистку загрязненных поверхностей, просушивание и удаление посторонних предметов.
9.2. Требования к техническому обслуживанию вентилятора
9.2.1. Процедуры технического обслуживания вентилятора должны быть указаны в эксплуатационной документации.
9.3. Требования к техническому обслуживанию швартовочных элементов
9.3.1. Техническое обслуживание швартовочных элементов предусматривает очистку загрязненных поверхностей, просушивание и удаление инородных предметов, а также замену поврежденных или изношенных швартовочных элементов.
9.3.2. Загрязненные поверхности очищают и моют (при необходимости) с использованием средств, применяемых для мойки оболочки, если иное не указано в эксплуатационной документации.
9.3.3. Мокрые швартовочные элементы необходимо подвесить и просушить в проветриваемом месте.
9.3.3.1. Если это невозможно сделать, швартовочные элементы раскладывают в свободном состоянии на любой сухой поверхности.
9.3.4. Не рекомендуется сушить швартовочные элементы на нагревательных устройствах.
9.3.5. Критерии оценки и способы замены поврежденных и изношенных швартовочных элементов в соответствии с Приложением Г.
9.4. Требования к документальному оформлению процедур технического обслуживания
9.4.1. Результаты технического обслуживания оборудования должны быть занесены в журнал.
10. Требования к ремонту оболочки
10.1. В процессе эксплуатации возможны различные повреждения элементов конструкции оболочки: разрушение строчек, швов, тканевой основы и лент силового каркаса.
10.2. Ремонт оболочки и постановка усилений должны выполняться в соответствии с рекомендациями, приведенными в эксплуатационной документации.
10.3. Швартовочные элементы ремонту не подлежат.
10.4. Швартовочные элементы, не прошедшие технический осмотр, подлежат замене в соответствии с разделом 7.7.
10.5. При всех видах ремонта и постановке усилений материалы, скрепляющие элементы и способы соединения материалов, должны соответствовать материалам, скрепляющим элементам и способам соединения, применяемым при изготовлении оболочки.
10.6. При ремонте не допускается изменение основных характеристик оборудования без разрешения предприятия-изготовителя, а также любых конструктивных изменений, приводящих к ухудшению безопасности оборудования.
10.7. По завершении ремонта оболочки эксплуатирующая организация должна провести оценку технического состояния.
10.8. Сведения о выполненном ремонте должны быть документированы.
10.9. Типовые процедуры при ремонте строчек, швов и тканевой основы приведены в Приложении В.
Приложение А
(обязательное)
ЭКСПЛУАТАЦИОННАЯ ДОКУМЕНТАЦИЯ
А.1. Дополнительная информация, которая должна быть представлена в Инструкции по установке:
- перечень элементов, входящих в состав оборудования;
- размеры минимального пространства для размещения оборудования;
- требования к площадке для установки оборудования;
- требования к поверхности площадки для установки оборудования;
- рекомендации по ориентации оборудования и его элементов в целях защиты от влияния природных внешних условий (солнца, ветра);
- количество вентиляторов, их тип и номинальная мощность;
- максимальное давление, на которое рассчитана оболочка;
- порядок установки, демонтажа, упаковки и транспортирования;
- необходимые обозначения, облегчающие установку (при их наличии);
- рекомендации по способам фиксации оборудования;
- методики и критерии оценки прочности фиксации оборудования;
- другая информация, необходимая для установки оборудования.
А.2. Дополнительная информация, которая должна быть представлена в Инструкции по эксплуатации:
- описания остаточных рисков и рекомендации по их минимизации;
- максимальная вместимость по весу или числу посетителей;
- рекомендации по безопасной эксплуатации оборудования;
- рекомендации по составу, количеству персонала и требования к нему;
- процедуры обслуживания и регулировки для всех компонентов оборудования;
- рекомендации по оценке изменения скорости ветра;
- перечень ограничений при эксплуатации оборудования (вес, рост, возраст и состояние здоровья посетителей);
- правила для посетителей;
- перечень ограничений и запретов для посетителей;
- рекомендации по информационному обеспечению;
- рекомендации о действиях обслуживающего персонала при чрезвычайных ситуациях и несчастных случаях;
- данные о высоте свободного падения (для выбора ударопоглощающего покрытия);
- рекомендации по ударопоглощающим покрытиям;
- перечень неисправностей при эксплуатации оборудования, включая неисправности, при которых эксплуатация не допускается;
- рекомендации по способам устранения неисправностей, включая схемы, чертежи;
- инструкции, методики и рекомендации, необходимые для проведения технического осмотра, обслуживания и ремонта оборудования, а также критерии их оценки;
- рекомендации о периодичности проведения осмотров и обслуживания с учетом используемых материалов, условий эксплуатации, уровня вандализма, срока службы оборудования и т.п.;
- рекомендации по контролю очереди;
- рекомендации по средствам пожаротушения;
- другие материалы, необходимые для безопасной эксплуатации оборудования;
- срок службы оборудования и действия эксплуатанта после его окончания (утилизация, капитальный ремонт и т.п.).
Приложение Б
(рекомендуемое)
ФОРМА ЖУРНАЛА
Надувное оборудование ____________________________________
(наименование)
ЖУРНАЛ УЧЕТА
ЭКСПЛУАТАЦИИ НАДУВНОГО ОБОРУДОВАНИЯ
Журнал начат "__" _______ 20__ г. __________________
(фамилия, подпись)
Журнал окончен "__" _______ 20__ г. __________________
(фамилия, подпись)
Общие сведения
Наименование _________________________________________________
Изготовитель _________________________________________________
Заводской N _________________________________________________
Дата изготовления _________________________________________________
Срок службы _________________________________________________
Дата ввода в эксплуатацию _________________________________________________
Владелец
Администратор/Оператор
(Фамилия, имя, отчество, паспортные данные)
Инструкция по ведению журнала
Общие положения
Настоящая инструкция устанавливает правила заполнения всех разделов журнала и обязательна для выполнения персоналом, отвечающим за ведение журнала.
Журнал ведется с момента передачи владельцу надувного оборудования изготовителем или продавцом.
Все графы журнала должны заполняться аккуратно, четко, чернилами или шариковой ручкой.
Подчистки не допускаются. Исправления заверяются подписью администратора и печатью.
Ответственным за сохранность, правильность и своевременность заполнения журнала является администратор.
В разделе журнала "Общие сведения" указываются наименование изделия, заводские номера оболочки и вентилятора (вентиляторов), наименование предприятия - изготовителя изделия и сведения о владельце, администраторе и операторе.
Если владельцем оборудования является юридическое лицо, то в графе "Владелец" указывается полное наименование организации, владеющей надувным оборудованием, его адрес, телефон. Если владельцем оборудования является физическое лицо, то в графе "Владелец" указывается полностью фамилия, имя, отчество владельца, его паспортные данные, включая адрес и телефон.
В графе "Администратор/Оператор" указываются полностью фамилия, имя, отчество администратора и оператора, их паспортные данные, включая адрес и телефон.
Учет проверок, сборки, установки и допуска
оборудования к эксплуатации
Оформляется до начала эксплуатации
Дата и время
Ежедневные проверки
Сборка и установка
Контрольные проверки
Пробный цикл функционирования
Допуск к эксплуатации
Оператор
Замечания
Оператор
Замечания
Администратор
Замечания
Оператор
Замечания
Администратор
Фамилия
Подпись
Фамилия
Подпись
Фамилия
Подпись
Фамилия
Подпись
Фамилия
Подпись
Сведения об эксплуатации
Дата
Температура окружающей среды
Скорость ветра перед началом эксплуатации, м/с
Время
Подписи
начала эксплуатации
завершения эксплуатации
Оператор
Администратор
Учет технического обслуживания оборудования
Дата
Содержание работ по техническому обслуживанию
Оператор
Администратор
Фамилия
Подпись
Фамилия
Подпись
Учет ремонта оборудования
Дата
Основание, номер документа и содержание работ по ремонту оборудования
Исполнитель
Администратор
Фамилия
Подпись
Фамилия
Подпись
Приложение В
(рекомендуемое)
ПОДГОТОВКА ОПЕРАТОРА
В.1. Введение
В.1.1. Настоящее приложение содержит рекомендации по подготовке учеников операторов надувного игрового оборудования.
В.1.2. Для организации подготовки необходимо разработать программы, вести документацию о проведении подготовки, стажировки, аттестации и подтверждении квалификации оператора.
В.1.3. Подготовка учеников оператора должна учитывать все риски, связанные с эксплуатацией, и проводиться так, чтобы им были понятны источники возникновения рисков и способы их минимизации.
В.1.4. В настоящем приложении рассматриваются основные вопросы и элементы подготовки, стажировки, аттестации и подтверждения квалификации операторов оборудования.
В.2. Порядок подготовки
В.2.1. Программа подготовки
В.2.1.1. Подготовку учеников операторов оборудования осуществляют эксплуатант или иные предприятия по специальным программам. Программа должна определять общую продолжительность, этапы и план подготовки.
В.2.1.2. Подготовка должна охватывать, по крайней мере, следующие области:
- источники опасностей, риски, связанные с эксплуатацией, и способы их минимизации;
- ограничения и запреты;
- ежедневные проверки;
- процедуры установки, эксплуатации и предоставления услуг;
- технический осмотр, обслуживание и ремонт;
- демонтаж, укладку, транспортирование и хранение;
- неисправности оборудования при эксплуатации и способы их устранения;
- процедуры контроля поведения посетителей и зрителей;
- способы разрешения конфликтных ситуаций;
- действия при нештатных ситуациях.
В.2.1.3. Эксплуатант, при необходимости, разрабатывает дополнения к программе подготовки с учетом местных особенностей и условий.
В.2.1.4. Рекомендуемая учебная литература [3, 4] приведена в библиографии.
В.2.2. Подготовка
В.2.2.1. Рекомендуется подготовку учеников операторов оборудования осуществлять в два этапа. Первый этап - теоретический курс. Второй этап - практическая часть (стажировка).
В.2.2.2. Эксплуатант определяет возможные методы подготовки, форма которых зависит от имеющихся ресурсов и поставленных целей.
В.2.2.3. Теоретические занятия могут проходить:
- по месту работы или за его пределами;
- в форме лекций, семинаров, демонстраций и практических занятий.
В.2.2.4. Практическая подготовка учеников оператора проходит путем их стажировки на оборудовании под руководством оператора, имеющего стаж работы в этой должности не менее 1 года.
В.2.2.5. В процессе стажировки ученик оператора должен получить достаточный практический опыт, чтобы продемонстрировать свою осведомленность и компетентность во всех вопросах, установленных в настоящем стандарте.
В.2.2.6. Продолжительность стажировки должна определяться на основании действующих нормативных документов, особенностей оборудования, для эксплуатации которого готовится ученик оператора, и собственного опыта.
В.2.2.7. В процессе стажировки ученик оператора должен произвести самостоятельно, по крайней мере, 5 процедур эксплуатации, включая установку и демонтаж оборудования, а также не менее 1 технического обслуживания.
В.2.2.8. Если в процессе подготовки ученик оператора не получил достаточного практического опыта и навыков, срок стажировки продлевают на 1 месяц.
В.2.2.9. Проведение подготовки должно быть документально оформлено.
В.3. Аттестация
В.3.1. Общие положения
В.3.1.1. Целью аттестации ученика оператора является документальное подтверждение того, что он обладает необходимыми знаниями и достаточным практическим опытом для самостоятельной эксплуатации оборудования.
В.3.1.2. Подтверждение квалификации операторов по истечении срока действия удостоверения и аттестацию учеников операторов осуществляет аттестационная комиссия эксплуатанта, в составе которой должны находиться квалифицированные лица, имеющие соответствующее образование и опыт работы.
В.3.1.3. Порядок аттестации должен быть документально оформлен.
В.3.1.4. Форму аттестации учеников операторов определяет эксплуатант.
В.3.1.5. Рекомендуется аттестацию учеников операторов проводить в виде экзамена.
В.3.1.6. Экзамен может представлять собой процедуру, когда ученик оператора отвечает на 20 - 30 вопросов в течение определенного времени.
В.3.1.7. Вопросы должны быть составлены и утверждены эксплуатантом.
В.3.1.8. Вопросы экзамена должны быть практического характера.
В.3.1.9. Рекомендуется вопросы составлять таким образом, чтобы можно было оценить квалификацию и умение ученика оператора самостоятельно оценивать риски, а также проводить:
- установку и демонтаж оборудования;
- безопасную эксплуатацию оборудования;
- техническое обслуживание, ремонт, хранение и транспортирование оборудования.
В.3.2. Оценка квалификации
В.3.2.1. Оценка квалификации оператора
В.3.2.2.1. Эксплуатант должен осуществлять процедуры поддержания и повышения квалификации операторов, а также регулярные проверки их работы.
В.3.2.2.2. По истечении срока действия удостоверения оператор сдает экзамен в целях подтверждения квалификации и продления срока действия удостоверения.
В.3.2.2.3. При получении оператором неудовлетворительной оценки повторный экзамен назначают через 1 месяц. В течение этого месяца оператор к самостоятельной работе не допускается.
В.3.3. Документация
В.3.3.1. Оформление протоколов
В.3.3.1.1. Эксплуатант должен иметь процедуры, обеспечивающие выдачу и учет документов, подтверждающих подготовку персонала и достигнутый им квалификационный уровень.
В.3.3.1.2. Протокол аттестации должен быть оформлен ясно, в письменной форме и содержать:
- фамилию и инициалы ученика оператора и руководителя стажировки;
- номер приказа о проведении аттестации;
- фамилии и инициалы членов аттестационной комиссии;
- номера документов об окончании теоретического и практического курсов;
- сумму баллов, набранную кандидатом при квалификационном экзамене;
- решение аттестационной комиссии;
- порядок и срок хранения протоколов;
- порядок и срок повторной аттестации.
В.3.3.1.3. К протоколу прикладывается экзаменационный лист с перечнем вопросов и ответов экзамена.
В.3.3.2. Оформление удостоверения
В.3.3.2.1. Ученикам оператора, сдавшим экзамен впервые, эксплуатант на основании решения аттестационной комиссии присваивает квалификацию оператора и оформляет удостоверение.
В.3.3.2.2. Форму удостоверения определяет эксплуатант.
В.3.3.2.3. Удостоверение оператора выдается сроком на один год.
В.3.3.2.4. Операторам, подтверждающим квалификацию и сдавшим экзамен, эксплуатант на основании решения аттестационной комиссии продлевает действие удостоверения оператора.
В.3.3.2.5. Действие удостоверения оператора продлевается на один год.
Приложение Г
(справочное)
ТИПОВОЙ ПРОЦЕСС ПРОВЕРОК ПЕРЕД НАЧАЛОМ УСТАНОВКИ
Г.1. Любое оборудование перед началом работы должно проходить ежедневную проверку, которая осуществляется визуально, путем внешнего осмотра оборудования и предусматривает также проверку функционирования оборудования перед началом эксплуатации.
Г.2. Цель ежедневной проверки - выявление на оборудовании неисправностей, повреждений, посторонних предметов, вызванных эксплуатацией оборудования, погодными воздействиями, актами вандализма или неправильным хранением, оценка их возможных последствий для безопасной эксплуатации и принятие решения о техническом состоянии оборудования и возможности его эксплуатации.
Г.3. Ежедневный технический осмотр должен проводиться в соответствии с рекомендациями, представленными в эксплуатационной документации и содержащими допустимые значения неисправностей и повреждений, а также способы их устранения.
Г.4. В случае если в эксплуатационной документации данная информация отсутствует, рекомендуется при ежедневном техническом осмотре оболочки проверить:
- целостность ткани на игровой площадке и стенах;
- отсутствие повреждений строчек:
- в соединении нервюр и верхнего полотнища игровой зоны;
- в креплениях стен к игровой площадке;
- в узлах крепления;
- отсутствие:
- ожогов и потертостей в узлах крепления;
- повреждений стыков на силовых лентах и лентах в узлах крепления;
- повреждения ограждающих сеток в стенах;
- плесени;
- масляных пятен и инородных предметов;
- иных последствий непредусмотренного воздействия на оболочку со стороны посетителей;
- иных видов повреждений;
- состояние и работу:
- системы выпуска воздуха, наличие элементов, предусматривающих закрытие и фиксацию рукавов для выпуска воздуха;
- молний (застежек).
Г.4.1. Обнаруженные неисправности и повреждения сопоставляют с описанием допустимых неисправностей и повреждений, указанных в эксплуатационной документации, и, при необходимости, устраняют способами, указанными в эксплуатационной документации.
Г.4.2. В случае, если в эксплуатационной документации отсутствуют описание допустимых неисправностей и повреждений, а также способы их устранения, то эксплуатант должен обратиться к изготовителю за рекомендациями.
Г.4.2.1. До получения рекомендаций от изготовителя и устранения неисправностей и повреждений эксплуатация оборудования запрещается.
Г.5. Швартовочные элементы осматривают на предмет видимых повреждений и проверяют:
- внешнее состояние;
- достаточность длины для фиксации оборудования;
- способ и надежность крепления швартовочных элементов к оболочке;
- отсутствие на них связок.
Г.5.1. Состояние швартовочных элементов оценивают визуально и на ощупь, пропуская их через сомкнутую ладонь и определяя изменения или отличия на ее поверхности.
Г.5.2. Если обнаруживаются изменения или отличия, то осматривают оплетку и сердечник швартовочного элемента на предмет их повреждения.
Г.5.3. Швартовочные элементы требуют замены, без учета срока их службы, в случае:
- соприкосновения с химикатами, особенно с кислотами;
- повреждения оплетки, когда виден сердечник;
- износа оплетки или если он сильно истрепан;
- видимых смещений оплетки;
- сильного деформирования (затвердения, надреза, местного ослабления или усиления);
- сильного загрязнения;
- повреждения(ий), вызванных абразивным воздействием или трением;
- истечения срока службы, рекомендованного изготовителем в инструкции (даже если швартовочный элемент не использовался).
Г.5.4. Замену швартовочных элементов необходимо производить до их разрушения.
Г.5.5. При замене необходимо отвязать швартовочный элемент от петли и на его место установить новый швартовочный элемент.
Г.5.6. Факт замены и утилизации замененного швартовочного элемента должен быть занесен в журнал.
Г.6. Системы фиксации рассматривают на предмет видимых повреждений и проверяют:
- состояние системы крепления;
- достаточность элементов системы крепления для фиксации каждого швартовочного элемента.
Г.7. Вентилятор осматривают на предмет наличия видимых повреждений и проверяют:
- отсутствие влаги на элементах вентилятора;
- отсутствие открытых электрических контактов;
- целостность сварных, винтовых и болтовых соединений;
- проверку состояния и крепления рабочего колеса;
- надежность подсоединения электрических проводов;
- отсутствие повреждений изоляции электрических проводов;
- отсутствие повреждений розеток, вилок и переключателей и их правильное заземление;
- надежность крепления защитной решетки и отсутствие ее повреждения.
Г.8. Результаты ежедневных проверок перед установкой должны быть занесены в журнал.
Приложение Д
(справочное)
ТИПОВОЙ ПРОЦЕСС РЕМОНТА ОБОЛОЧКИ
Д.1. Ремонт строчек и швов
Д.1.1. Подпоротые строчки на швах и строчки соединения деталей между собой восстанавливаются на швейном оборудовании или вручную путем прокладывания дополнительных строчек.
Д.1.1.1. Дополнительные строчки прокладывают параллельно старым следам строчек на расстоянии 1 - 3 мм от них или по старым следам.
Д.1.2. При ниточном способе соединения материалов ремонт ткани и постановка усилений оболочки должна проводиться нитками, указанными в эксплуатационной документации.
Д.1.3. Если в эксплуатационной документации информация по скрепляющим материалам отсутствует, рекомендуется для ремонта ткани и постановки усилений использовать швейные нитки из полиамидных волокон с разрывной нагрузкой не менее 88 Н.
Д.1.4. В местах, не позволяющих производить работы швейным оборудованием, восстановление строчек должно производиться вручную с частотой строчки 30 - 35 стежков на 100 мм.
Д.1.5. При восстановлении строчек неразрушенные стежки и строчки не распарывают, а удаляют только концы ниток от разрушенных стежков или строчек.
Д.1.6. Новая строчка должна выполняться с перекрытием на 20 - 40 мм в обе стороны от поврежденного участка (см. рисунок Д.1).
1 - ткань оболочки; 2 - разрушенная строчка;
3 - восстановленная строчка
Рисунок Д.1. Восстановление строчек
Д.1.7. Начало и конец строчки должны быть закреплены.
Д.1.8. В эксплуатационной документации должна быть указана допускаемая длина исправленной строчки от общей длины строчки.
Д.2. Ремонт тканевой основы
Д.2.1. Ремонт тканевой основы оболочки рекомендуется осуществлять путем постановки односторонних или двухсторонних усилений.
Д.2.1.1. Усиления должны быть выполнены из материала, аналогичного ткани оболочки.
Д.2.2. Повреждения ткани размером менее 25 мм могут быть устранены с помощью одностороннего усиления из ткани.
Д.2.2.1. Усиление должно перекрывать края разрыва не менее чем на 20 - 30 мм в каждую сторону.
Д.2.3. Усиления, накладываемые на поврежденные участки ткани размером от 25 до 100 мм, могут выполняться односторонними или двусторонними.
Д.2.3.1. Усиление должно перекрывать поврежденный участок не менее чем на 20 - 30 мм в каждую сторону.
Д.2.3.2. Способ закрепления одностороннего усиления может быть ниточным, клеевым, сварным или комбинированным.
Д.2.3.3. Рекомендуется двустороннее усиление выполнять с помощью ниточных соединений.
Д.2.3.4. Способ закрепления усиления должен быть указан в эксплуатационной документации.
Д.2.4. Рваные повреждения ткани или повреждения, размер которых превышает 100 мм, рекомендуется устранять с помощью двустороннего усиления.
Д.2.4.1. При постановке двустороннего усиления вначале закрепляется усиление с внутренней стороны.
Д.2.4.2. Для обеспечения ориентации и исключения смещения усиления при выполнении ручной строчки целесообразно его предварительно зафиксировать, например приметать по всему контуру.
Д.2.4.3. После выполнения ниточного соединения нитки приметочной строчки удаляют, а затем выполняют внешнее усиление.
Д.2.4.4. Усиление с внутренней стороны должно быть по размерам меньше усиления с внешней стороны.
Д.2.4.5. Ниточные строчки обоих усилений не должны совпадать.
Д.2.5. Схема постановки усилений - в соответствии с рисунком Д.2.
Слева - одностороннее усиление,
справа - двустороннее усиление
1 - ткань оболочки; 2 - внешнее усиление;
3 - внутреннее усиление
Рисунок Д.2. Постановка усилений на ткань оболочки
Д.2.6. Пятна неизвестного происхождения на материале вырезаются, и на вырезанные места ставится одностороннее или двустороннее усиление.
Д.3. Ремонт узлов крепления
Д.3.1. При ремонте узлов крепления, выполненных из лент, должны использоваться типы лент и параметры ниточных соединений, которые использовались при изготовлении оболочки.
Д.3.2. Виды ремонта узлов крепления в процессе эксплуатации должны быть указаны в эксплуатационной документации.
Д.3.3. При выполнении ремонта открытые концы лент перед соединением должны быть оплавлены или подогнуты на 10 мм.
Д.3.4. Строчки должны быть равномерно распределены по ширине ленты относительно ее середины.
БИБЛИОГРАФИЯ
[1]
Правила технической эксплуатации электроустановок потребителей (ПТЭЭП). Утверждены Приказом Министерства энергетики Российской Федерации от 13.01.2003 N 6.
[2]
Трудовой кодекс Российской Федерации (ТК РФ) от 30.12.2001 N 197-ФЗ.
[3]
Дьяченко В.А. Оборудование надувное игровое, 128 стр. ил., табл., Москва, 2011 г.
[4]
Дьяченко В.А. Безопасность эксплуатации надувного игрового оборудования, 88 стр., Москва, 2013 г.