Главная // Актуальные документы // ГОСТ Р (Государственный стандарт)
СПРАВКА
Источник публикации
М.: Стандартинформ, 2015
Примечание к документу
Документ введен в действие с 01.01.2016.
Название документа
"ГОСТ Р ИСО 2411-2014. Национальный стандарт Российской Федерации. Материалы текстильные. Ткани с резиновым или пластмассовым покрытием. Метод определения адгезии покрытия"
(утв. и введен в действие Приказом Росстандарта от 25.12.2014 N 2103-ст)

"ГОСТ Р ИСО 2411-2014. Национальный стандарт Российской Федерации. Материалы текстильные. Ткани с резиновым или пластмассовым покрытием. Метод определения адгезии покрытия"
(утв. и введен в действие Приказом Росстандарта от 25.12.2014 N 2103-ст)


Содержание


Утвержден и введен в действие
Приказом Федерального
агентства по техническому
регулированию и метрологии
от 25 декабря 2014 г. N 2103-ст
НАЦИОНАЛЬНЫЙ СТАНДАРТ РОССИЙСКОЙ ФЕДЕРАЦИИ
МАТЕРИАЛЫ ТЕКСТИЛЬНЫЕ
ТКАНИ С РЕЗИНОВЫМ ИЛИ ПЛАСТМАССОВЫМ ПОКРЫТИЕМ.
МЕТОД ОПРЕДЕЛЕНИЯ АДГЕЗИИ ПОКРЫТИЯ
Textiles. Rubber- or plastics-coated fabrics.
Method for determination of coating adhesion
ISO 2411:2000
Rubber- or plastics-coated fabrics - Determination
of coating adhesion
(IDT)
ГОСТ Р ИСО 2411-2014
Группа М09
ОКС 59.080.40
Дата введения
1 января 2016 года
Предисловие
1 ПОДГОТОВЛЕН Техническим комитетом по стандартизации ТК 412 "Текстиль", Открытым акционерным обществом "Всероссийский научно-исследовательский институт сертификации" (ОАО "ВНИИС") на основе собственного аутентичного перевода на русский язык международного стандарта, указанного в пункте 4
2 ВНЕСЕН Управлением технического регулирования и стандартизации Федерального агентства по техническому регулированию и метрологии
3 УТВЕРЖДЕН И ВВЕДЕН В ДЕЙСТВИЕ Приказом Федерального агентства по техническому регулированию и метрологии от 25 декабря 2014 г. N 2103-ст
4 Настоящий стандарт идентичен международному стандарту ИСО 2411:2000 "Ткани с резиновым или пластмассовым покрытием. Определение адгезии покрытия" (ISO 2411:2000 "Rubber- or plastics-coated fabrics - Determination of coating adhesion").
Наименование настоящего стандарта изменено относительно наименования указанного международного стандарта для приведения в соответствие с ГОСТ Р 1.5 (пункт 3.5).
При применении настоящего стандарта рекомендуется использовать вместо ссылочных международных стандартов соответствующие им национальные стандарты Российской Федерации, сведения о которых приведены в дополнительном приложении ДА.
5 ВВЕДЕН ВПЕРВЫЕ
Правила применения настоящего стандарта установлены в ГОСТ Р 1.0-2012 (раздел 8). Информация об изменениях к настоящему стандарту публикуется в ежегодном (по состоянию на 1 января текущего года) информационном указателе "Национальные стандарты", а официальный текст изменений и поправок - в ежемесячном информационном указателе "Национальные стандарты". В случае пересмотра (замены) или отмены настоящего стандарта соответствующее уведомление будет опубликовано в ближайшем выпуске информационного указателя "Национальные стандарты". Соответствующая информация, уведомление и тексты размещаются также в информационной системе общего пользования - на официальном сайте Федерального агентства по техническому регулированию и метрологии в сети Интернет (gost.ru)
1 Область применения
Настоящий стандарт устанавливает метод определения прочности адгезии тканей с покрытием.
2 Нормативные ссылки
В настоящем стандарте использованы нормативные ссылки на следующие международные стандарты:
ИСО 2231:1989 Ткани с резиновым и пластмассовым покрытием. Стандартные атмосферные условия для кондиционирования и испытаний (ISO 2231:1989 Rubber- or plastics-coated fabrics. Standard atmospheres for conditioning and testing)
ИСО 2286-1:1998 Прорезиненные или покрытые пластмассой ткани. Определение характеристик рулона. Часть 1. Методы определения длины, ширины и массы нетто (ISO 2286-1:1998 Rubber- or plastics-coated fabrics - Determination of roll characteristics - Part 1: Methods for determination of length, width and net mass)
ИСО 2286-2:1998 Прорезиненные или покрытые пластмассой ткани. Определение характеристик рулона. Часть 2. Методы определения общей массы на единицу площади, массы на единицу площади покрытия и массы на единицу площади подложки (ISO 2286-2:1998 Rubber- or plastics-coated fabrics - Determination of roll characteristics - Part 2: Methods for determination of total mass per unit area, mass per unit area of coating and mass per unit area of substrate)
ИСО 2286-3:1998 Прорезиненные или покрытые пластмассой ткани. Определение характеристик рулона. Часть 3. Метод определения толщины (ISO 2286-3:1998 Rubber- or plastics-coated fabrics - Determination of roll characteristics - Part 3: Methods for determination of thickness)
ИСО 5893:2002 Оборудование для испытаний резины и пластмассы. Аппаратура для испытаний растяжением, сгибанием и сдавливанием (постоянная скорость воздействия). Технические условия [ISO 5893:2002 Rubber and plastics test equipment - Tensile, flexural and compression types (constant rate of traverse). Specification)]
ИСО 7500-1:2004 Материалы металлические. Проверка одноосных испытательных машин для испытаний при статических нагрузках. Часть 1. Машины для испытания на растяжение/сжатие. Проверка и калибровка силоизмерительных систем (ISO 7500-1:2004 Metallic materials - Verification of static uniaxial testing machines - Part 1: Tension/compression testing machines. Verification and calibration of the force-measuring system)
3 Термины и определения
В настоящем стандарте применены следующие термины с соответствующими определениями:
3.1 расслоение (delamination): Частичное или полное отделение двух или более составляющих слоев ткани с покрытием. Это может быть отделение ткани от полимера или отделение внутри полимерного слоя.
3.2 шелушение покрытия (coating to fabric peel): Отделение без сохранения на подложке остатка покрывающего полимера.
3.3 частичный отрыв пленки (partial film tear): Расслоение, оставляющее участки сцепленного с подложкой покрывающего полимера.
3.4 неотделимый (inseparable): Неспособность покрытия шелушиться, поскольку оно разрушается в процессе подготовки или испытания, показывая, что прочность адгезии покрытия больше прочности полимерного покрытия.
3.5 расслоение покрытия или пленки (coating or film delamination): Расслаивание многослойного покрытия, оставляющее один или более слоев покрытия или остатки пленки на подложке.
3.6 повреждение ткани (fabric failure): Разрушение подложки в процессе испытания, показывающее, что прочность адгезии покрытия больше, чем прочность подложки.
3.7 расслоение ткани (fabric delamination): Расщепление или расслоение подложки, оставляющее сцепленными с покрытием часть слоя или целиком слоистый материал ткани.
Примечание - Примером такой ситуации является случай многослойных нетканых материалов с покрытием, когда может произойти расслоение основы нетканого материала из-за того, что прочность адгезии покрытия окажется больше, чем прочность сцепления между волокнами основы.
3.8 подложка (substrate): Текстильный компонент ткани с покрытием.
4 Приготовление образцов для испытаний
4.1 Общие вопросы
Для определения адгезии покрытия все образцы для испытаний должны быть взяты из пригодной для использования части ткани с покрытием (в соответствии с ИСО 2286-1).
Каждый образец для испытаний должен быть шириной не менее 75 мм и длиной не менее 200 мм.
Пять образцов для испытаний должны быть вырезаны по длине, расположенной в продольном направлении испытуемой ткани с покрытием, и пять образцов для испытаний по длине, расположенной в ее поперечном направлении.
В случае тканей с подложками, имеющими ворс, приготавливают 10 образцов для испытаний в продольном направлении, пять - в направлении ворса и пять - против направления ворса.
Могут быть использованы другие методы приготовления образцов. Применимость метода приготовления определяют с помощью предварительного испытания.
Примечание - Обычно толстые покрытия обрабатывают методом 1, тонкие - методом 2.
4.2 Метод приготовления 1
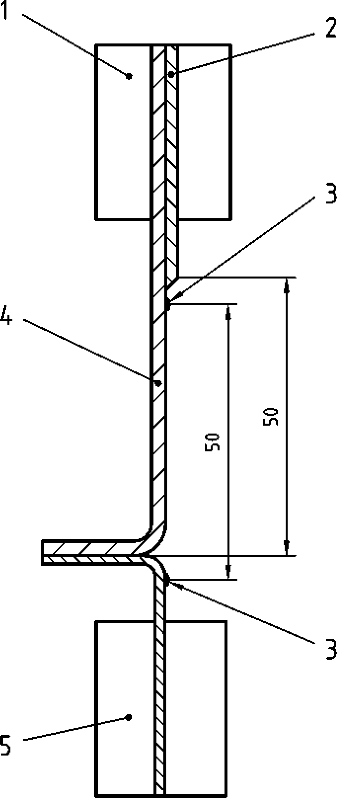
4.2.1 Когда прочность слоя покрытия превосходит силу адгезионной связи в подложке, образец для испытаний приготавливают аккуратным разрезом покрытия в направлении подложки под прямым углом к длине образца для испытаний. Начиная с этого разреза, аккуратно отделяют покрывающую пленку от подложки на расстоянии, достаточном для того, чтобы иметь возможность разместить концы образца для испытаний в зажимах испытательной аппаратуры. Подрезают ширину образца для испытаний до (50 +/- 5) мм, стараясь избежать разрушения продольных нитей подложки.
4.2.2 Кондиционируют образцы для испытаний при одном из атмосферных условий, установленных в ИСО 2231.
4.2.3 После кондиционирования помещают образец для испытаний в испытательную аппаратуру, закрепляя конец с покрытием в неподвижном зажиме, а покрывающую пленку в движущемся зажиме (см. рисунок 1).
Примечание - Когда сцепление очень сильное и невозможно отделить вручную покрывающую пленку от подложки, следует использовать метод приготовления 2, изложенный в 4.3.
1 - неподвижный зажим; 2 - покрытие; 3 - контрольные метки;
4 - подложка; 5 - подвижный зажим
Рисунок 1 - Держатель толстых покрытий
4.3 Метод приготовления 2
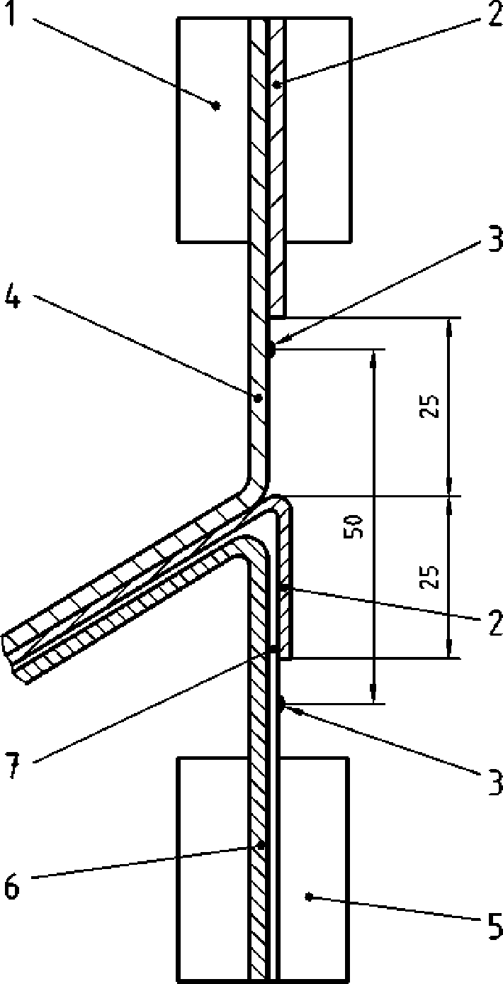
4.3.1 Когда слой покрытия недостаточно прочен, чтобы его можно было отделить от подложки в виде непрерывного участка, но когда он четко отличим от подложки и может быть вырезан отдельно, соединяют два образца для испытаний из одного и того же материала "лицом к лицу", оставляя первые 50 мм несцепленными, и оценивают систему адгезии, свойственную этому типу покрытия.
Примечание 1 - Когда покрытая поверхность обрабатывается каким-либо способом, например, силицированием (siliconising), который может ослаблять связь "покрытие-покрытие", рекомендуется, чтобы испытание адгезии проводилось до такой обработки.
Примечание 2 - Если необходимо, допускается использование хлопковой ткани миткалевого переплетения, расшлихтованной и отбеленной, чтобы обеспечить полное удаление остатков растворителя.
Примечание 3 - В качестве альтернативы при испытаниях тканей, покрытых PU (полиуретаном), может быть использован лист резины вместо одного из образцов с покрытием. Состав резиновой смеси должен быть таким, какой используют для изготовления листов с низкой жесткостью и низким растяжением.
4.3.2 Чтобы обеспечить хорошее сцепление, композитный образец для испытаний должен быть прокатан по крайней мере дважды валиком шириной 76 мм и массой 2 кг.
4.3.3 Могут быть использованы все типы связующих веществ, например, основанные на растворителях, на водной основе, реакционные горячие расплавы. Когда возможно, следует использовать адгезионную систему, согласованную между теми, кто несет ответственность за проведение испытаний, и теми, кому предназначены результаты испытаний.
4.3.4 Применяют связующее вещество строго в соответствии с рекомендациями его поставщика. Выдерживают достаточное время, чтобы соединение достигло оптимальной прочности, переворачивают непокрытую длину одного из образцов для испытаний и аккуратно отрезают от подложки по линии адгезии.
Аккуратно отделяют подложку от ее покрытия на расстоянии, достаточном для того, чтобы получить возможность закрепить концы образца для испытаний в зажимах испытательной аппаратуры. Подрезают образец для испытаний на каждом крае до ширины (50 +/- 5) мм, стараясь избежать разрушения продольных нитей подложки.
4.3.5 Кондиционируют образцы для испытаний при одном из атмосферных условий, установленных в ИСО 2231.
4.3.6 После кондиционирования помещают образец для испытаний в испытательную аппаратуру, закрепляя конец испытуемого образца в неподвижном зажиме, а нелипкий покрытый конец - в движущемся зажиме испытательной аппаратуры (см. рисунок 2).
1 - неподвижный зажим; 2 - покрытие 1; 3 - контрольные
метки; 4 - подложка 1; 5 - подвижный зажим; 6 - подложка 2;
7 - покрытие 2
Рисунок 2 - Держатель тонких покрытий и покрытий с низкой
прочностью адгезии
4.4 Определение адгезии мокрого покрытия
4.4.1 Конечное использование
Часто бывает желательно, если ткань с покрытием используется во влажной или мокрой среде, измерять прочность адгезии покрытия на мокрой ткани. Проводя такие испытания, важно, чтобы процедуры по 4.4.2 и 4.4.3 проводились до любой силиконовой отделки, поскольку установлено, что попытки удалить силикон могут существенно воздействовать на адгезию покрытия и тем самым привести к результату, вводящему в заблуждение.
4.4.2 Приготовление образцов для испытаний
Образцы для испытаний приготавливают в соответствии с 4.2 или 4.3.
Полностью погружают образцы на (1 +/- 0,1) ч в водный раствор неионного смачивающего агента концентрацией не более 0,1% (по объему) при температуре, отвечающей стандартным атмосферным условиям в соответствии с ИСО 2231, используя модуль ванны (liquor ratio) приблизительно 20:1. Если предполагается, что равновесное увлажнение не достигается в течение часа, тогда используют время погружения (6 +/- 0,25) ч или (24 +/- 0,25) ч. Это время должно быть указано в протоколе испытаний.
4.4.3 Проведение испытания
Вынимают образец для испытаний из смачивающего раствора, указанного в 4.4.2, и сразу же, не допуская высушивания, проводят испытание в соответствии с разделом 6.
5 Аппаратура
Для испытаний используют машину с постоянной скоростью перемещения (CRT), обозначенную как класс B в соответствии с ИСО 5893, или машину с постоянной скоростью растяжения (CRE), имеющую класс прецизионности 1 в соответствии с ИСО 7500-1. Машина должна быть снабжена подходящей регистрирующей системой для измерения изменения приложенной нагрузки.
Центральные точки двух зажимов машины должны быть расположены на линии натяжения, передние края должны находиться под прямыми углами к линии натяжения, и захватывающие грани обоих зажимов должны быть расположены в одной и той же плоскости. Зажимы должны быть в состоянии удерживать образец для испытаний, не допуская его проскальзывания, и спроектированы таким образом, чтобы они не перерезали или ослабляли каким-либо другим образом образец для испытаний, по ширине они не должны быть меньше ширины образца для испытаний. Грани зажимов должны быть гладкими и ровными, за исключением случаев, когда образец для испытаний, даже с прокладкой, не может удовлетворительно ими удерживаться, когда используют рельефные зажимы. Подходящие прокладочные материалы для использования с гладкими или рельефными зажимами включают бумагу, войлок, кожу, листы пластика или резины.
6 Процедура
Настраивают разрывную испытательную машину таким образом, чтобы обеспечить скорость движения зажима (100 +/- 10) мм/мин. Выбирают подходящий диапазон значений нагрузок.
Закрепляют разделенные слои подготовленного образца для испытаний в зажимах машины в центральной позиции, без неуравновешенного натяжения или чрезмерного провисания испытуемого образца, как показано на рисунке 1 или рисунке 2. На образец для испытаний наносят контрольные метки, отстоящие друг от друга на расстоянии 50 мм, как показано на рисунке 1 и рисунке 2.
Приводят подвижный зажим в движение и получают запись колебания приложенной нагрузки в процессе разделения слоев. Следят за расстоянием между контрольными точками, на ленте самописца отмечают на кривой приложенной нагрузки момент, когда разделится 20 мм ткани с покрытием. Продолжают отделение на расстоянии приблизительно 100 мм так, чтобы контрольные отметки на образце для испытаний отдалились друга от друга на расстояние не менее 200 мм по сравнению с тем положением, в котором они находились в начале испытания, т.е. ткань с покрытием должна быть разделена на участке длиной 100 мм.
7 Расчет и представление результатов
7.1 Запись колебаний приложенной нагрузки в процессе расслоения может состоять из серий идентифицируемых пиков, как показано на рисунке 3.
1 - значение средней точки; 2 - 20 мм расслоения
Рисунок 3 - Представление идентифицируемых пиков
при зафиксированных значениях нагрузки
Регистрируют значение средней точки из окончательного 80% процесса расслоения, как определено в 7.3 и на рисунке 3.
7.2 Альтернативно вид кривой колебаний нагрузки может быть менее определяемым и принимать различные формы, как показано на рисунках 4 a), 4 b) и 4 c).
1 - 20 мм расслоения; 2 - значение средней точки;
3 - направление кривой
Рисунок 4 - Представление типичной, менее определяемой
изменчивости при зафиксированных значениях нагрузки
Рисунок 4 a) - запись значения средней точки.
Рисунок 4 b) - запись минимального значения.
Рисунок 4 c) - запись минимальных и максимальных значений.
Очень важно, чтобы к протоколу была приложена копия кривых на ленте самописца.
7.3 Определение значения средней точки
Не учитывая часть кривой на ленте самописца, которая представляет первые 20 мм расслоения, определяют значение средней точки следа как значение, которое находится посредине между максимальными и минимальными точками колебания устройства записи нагрузки, как показано на рисунках 3 и 4.
Выражают это значение как значение средней точки в Н/50 мм ширины до ближайшего ньютона.
7.4 Расчет среднего результата
Рассчитывают среднее арифметическое пяти значений средней точки в продольном направлении ткани с покрытием и среднее арифметическое пяти значений средней точки в ее поперечном направлении. В случае подложки с ворсом рассчитывают два средних арифметических значения каждого из пяти полученных значений (см. 4.1).
7.5 Прочность адгезии покрытия
Если можно рассчитать значения средней точки [случаи, изображенные на рисунках 3 и 4 a)], прочность адгезии покрытия записывают для каждого испытуемого направления как средние арифметические значений средней точки, как изложено в 7.4.
Если могут быть записаны только минимальные значения [см. рисунок 4 b)], в протокол заносят отдельные результаты и среднее значение в каждом направлении. Протокол испытаний должен отражать тот факт, что прочность адгезии покрытия не определяема, поэтому приведены только минимальные значения. Очень важно, чтобы к протоколу были приложены копии кривых с ленты самописца.
В случае, изображенном на рисунке 4 c), приведены минимальные и максимальные значения для каждого образца. Среднее значение не рассчитывают. Протокол испытаний должен отражать тот факт, что прочность адгезии покрытия не определяема, поэтому приведены только максимальные и минимальные значения. Очень важно, чтобы к протоколу были приложены копии кривых с ленты самописца.
8 Протокол испытаний
Протокол испытаний должен содержать следующую информацию:
a) описание тканей с покрытием;
b) использованный метод приготовления; если испытывали мокрый образец, указывают время замачивания;
c) прочность адгезии покрытия для каждого направления или указание того, что прочность адгезии покрытия не может быть определена, поэтому приведены минимальные или максимальные и минимальные значения в соответствующих случаях (см. 7.5);
d) тип наблюдаемого разрушения (см. раздел 3);
e) скорость разъединения зажимов, если она отличается от 100 мм/мин;
f) исходное расстояние между зажимами;
g) стандартное отклонение от среднего значения, по необходимости;
h) подробности любого отклонения от стандартной процедуры испытаний;
i) в качестве приложений - копии кривых с ленты самописца.
Приложение А
(справочное)
КОММЕНТАРИИ
К ИНТЕРПРЕТАЦИИ КРИВЫХ НА ЛЕНТЕ САМОПИСЦА
Интерпретация кривых на ленте самописца, приведенная в настоящем стандарте, существенно отличается от интерпретаций, предложенных в других стандартах, и требует объяснений.
Настоящая интерпретация была выбрана, чтобы принять во внимание специфику явления, возникающего в процессе испытания на отслаивание, которая сильно отличается от специфики, проявляющейся при других испытаниях, например, испытаниях на разрыв.
Кривые с определенными пиками (рисунок 3)
В противоположность испытаниям, когда наличие определенных пиков показывает, что различные элементы последовательно разрушаются (например, последовательный разрыв нитей ткани в процессе испытания на разрыв), в испытаниях на отслаивание каждая точка следа соответствует мгновенному значению нагрузки отделения. Впадины также важны, как и пики. Поэтому представляется более реалистичным определять среднюю прочность адгезии как значение средней точки кривой, а не рассматривать только пики (используя среднее арифметическое или среднее значение).
Все кривые с менее определенными пиками трактуются таким же образом [рисунок 4 b)].
Кривые с положительным наклоном [рисунок 4 b)]
Очевидно, что понятие средней силы отделения бессмысленно. Какова бы ни была физическая интерпретация этого явления, невозможно определить силу адгезии покрытия. Тем не менее, регистрация "минимального" значения может быть весьма полезной при оценке характеристик материала.
Кривые с отрицательным наклоном [рисунок 4 c)]
И в этом случае понятие средней силы отделения для непрерывно понижающихся кривых не имеет смысла. Регистрация "максимального" и "минимального" значения может оказать некоторую помощь при оценке характеристик материала.
Приложение ДА
(справочное)
СВЕДЕНИЯ О СООТВЕТСТВИИ ССЫЛОЧНЫХ МЕЖДУНАРОДНЫХ СТАНДАРТОВ
НАЦИОНАЛЬНЫМ СТАНДАРТАМ РОССИЙСКОЙ ФЕДЕРАЦИИ
Таблица ДА.1
Обозначение ссылочного международного стандарта
Степень соответствия
Обозначение и наименование национального стандарта
ИСО 2231:1989
-
ИСО 2286-1:1998
-
ИСО 2286-2:1998
-
ИСО 2286-3:1998
-
ИСО 5893:2002
-
ИСО 7500-1:2004
-
<*> Соответствующий национальный стандарт отсутствует. До его утверждения рекомендуется использовать перевод на русский язык данного международного стандарта. Перевод данного международного стандарта находится в Федеральном информационном фонде технических регламентов и стандартов.
УДК 677.077.65:017.424.25:006.354
ОКС 59.080.40
Ключевые слова: ткань, резиновое и пластмассовое покрытие, адгезия, прочность, термин, определение, образец, подготовка, метод, аппаратура, расчет, результат, протокол