Главная // Актуальные документы // ГОСТ Р (Государственный стандарт)
СПРАВКА
Источник публикации
М.: Стандартинформ, 2015
Примечание к документу
Документ утрачивает силу с 01.08.2026. Взамен вводится в действие ГОСТ ISO 17697-2023 (Приказ Росстандарта от 02.10.2023 N 1037-ст, ИУС 1, 2024).

Документ введен в действие с 1 января 2016 года.
Название документа
"ГОСТ Р ИСО 17697-2014. Национальный стандарт Российской Федерации. Обувь. Методы испытаний верха, подкладки и вкладных стелек. Прочность швов"
(утв. и введен в действие Приказом Росстандарта от 26.11.2014 N 1921-ст)

"ГОСТ Р ИСО 17697-2014. Национальный стандарт Российской Федерации. Обувь. Методы испытаний верха, подкладки и вкладных стелек. Прочность швов"
(утв. и введен в действие Приказом Росстандарта от 26.11.2014 N 1921-ст)


Содержание


Утвержден и введен в действие
Приказом Федерального агентства
по техническому регулированию
и метрологии
от 26 ноября 2014 г. N 1921-ст
НАЦИОНАЛЬНЫЙ СТАНДАРТ РОССИЙСКОЙ ФЕДЕРАЦИИ
ОБУВЬ
МЕТОДЫ ИСПЫТАНИЙ ВЕРХА, ПОДКЛАДКИ И ВКЛАДНЫХ СТЕЛЕК
ПРОЧНОСТЬ ШВОВ
Footwear. Test methods for uppers, lining and insocks.
Seam strength
ISO 17697:2003
Footwear - Test methods for uppers, lining and insocks -
Seam strength
(IDT)
ГОСТ Р ИСО 17697-2014
ОКС 61.060
ОКП 88 0000
Дата введения
1 января 2016 года
Предисловие
1. Подготовлен Техническим комитетом по стандартизации ТК 412 "Текстиль", Открытым акционерным обществом "Всероссийский научно-исследовательский институт сертификации" (ОАО "ВНИИС") на основе собственного аутентичного перевода на русский язык международного стандарта, указанного в пункте 4.
2. Внесен Управлением технического регулирования и стандартизации Федерального агентства по техническому регулированию и метрологии.
3. Утвержден и введен в действие Приказом Федерального агентства по техническому регулированию и метрологии от 26 ноября 2014 г. N 1921-ст.
4. Настоящий стандарт идентичен международному стандарту ИСО 17697-2003 "Обувь. Методы испытаний верха обуви, подкладки и вкладных стелек. Прочность швов" (ISO 17697:2003 "Footwear - Test methods for uppers, lining and insocks - Seam strength").
В разделе "Нормативные ссылки" и тексте стандарта ссылки на международные стандарты актуализированы.
При применении настоящего стандарта рекомендуется использовать вместо ссылочных международных стандартов соответствующие им национальные стандарты Российской Федерации, сведения о которых приведены в справочном Приложении ДА.
5. Введен впервые.
Правила применения настоящего стандарта установлены в ГОСТ Р 1.0-2012 (раздел 8). Информация об изменениях к настоящему стандарту публикуется в ежегодно издаваемом информационном указателе "Национальные стандарты", а текст изменений и поправок - в ежемесячно издаваемых информационных указателях "Национальные стандарты". В случае пересмотра (замены) или отмены настоящего стандарта соответствующее уведомление будет опубликовано в ежемесячно издаваемом информационном указателе "Национальные стандарты". Соответствующая информация, уведомление и тексты размещаются также в информационной системе общего пользования - на официальном сайте Федерального агентства по техническому регулированию и метрологии в сети Интернет (gost.ru).
1. Область применения
Настоящий стандарт устанавливает методы испытаний для определения прочности швов верха, подкладки и вкладных стелек обуви для оценки ее соответствия конечному применению вне зависимости от вида материала, из которого она изготовлена.
Эти методы следующие:
- метод A: перфорация иглами. Определяют усилие, необходимое для продавливания ряда игл, пропущенных через материал верха обуви, в направлении, перпендикулярном этому ряду.
- метод B: простроченные швы. Определяют прочность на разрыв строчечных швов в материале верха обуви и подкладки. Этот метод применим к швам, вырезанным из обуви или выполненным для имитации конструкций обуви.
2. Нормативные ссылки
В настоящем стандарте используются ссылки на следующие международные стандарты:
ЕН 12222-1997 (ИСО 18454-2001) Обувь. Стандартные атмосферные условия для кондиционирования и испытаний обуви и деталей обуви (EN 12222:1997 Footwear - Standard atmospheres for conditioning and testing of footwear and components for footwear)
ЕН 13400-2001 (ИСО 17709-2004) Обувь. Место отбора, подготовка и продолжительность кондиционирования проб и образцов (EN 13400:2001 Footwear - Sampling location, preparation and duration of conditioning of samples and test pieces)
ИСО 7500-1-2004 Материалы металлические. Проверка машин для статических одноосных испытаний. Часть 1. Испытательные машины на растяжение и сжатие. Проверка и калибровка силоизмерительных систем (ISO 7500-1:2004 Metallic materials - verification of static uniaxial testing machines - Part 1: Tension/compression)
3. Термины и определения
В настоящем стандарте применены следующие термины с соответствующими определениями:
3.1. прочность шва: Прочность на разрыв строчечного шва, определенная в установленных условиях с помощью испытательной разрывной машины.
3.2. верх обуви: Материалы, образующие наружную поверхность обуви, которые присоединены к подошве в сборе и покрывают верхнюю тыльную поверхность стопы. В случае ботинок сюда также входит наружная поверхность материала, закрывающего лодыжку. Включены только видимые материалы, за исключением расположенных в основе конструкции.
3.3. полный верх обуви в сборе: Готовый верх, полностью сшитый, соединенный или наслоенный, в зависимости от рассматриваемого случая, включая срединный (центральный) материал и все подкладки наряду со всеми компонентами, такими как дополнительные подкладки, клей, мембраны, пены или упрочняющие детали, за исключением подносков и жестких задников.
Примечание. Верх обуви в сборе может быть плоским, двухмерным или образующим состроченный верх в готовом изделии.
4. Аппаратура и материалы
Применяют следующие аппаратуру и материалы:
4.1. Метод A
4.1.1. Испытательная разрывная машина со скоростью расхождения захватов (100 +/- 10) мм/мин, с диапазоном нагрузок, соответствующим испытуемым образцам (обычно менее 500 Н для материалов верха обуви), обеспечивающая измерение усилия с точностью выше 2% в соответствии с классом 2 в ИСО 7500-1.
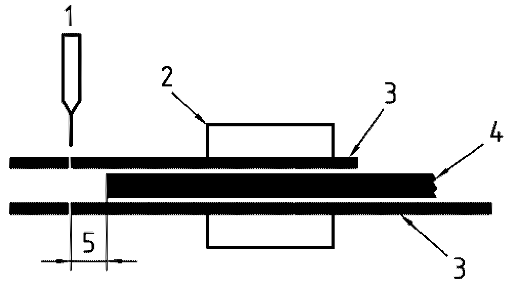
4.1.2. Направляющее приспособление для иглы, см. рисунок 1, включая следующее:
4.1.2.1. Две прямоугольные жесткие пластины, каждая минимальной шириной 30 мм и максимальной толщиной 6 мм. На каждой из двух пластин просверливают 17 отверстий диаметром (1,1 +/- 0,1) мм. Отверстия должны быть расположены на прямой линии, параллельной одному краю пластины и находящейся приблизительно в 5 мм от него. Отверстия следует располагать равномерно, чтобы центры двух крайних отверстий находились на расстоянии (26,5 +/- 0,5) мм.
1 - игла; 2 - захват; 3 - просверленная пластина;
4 - разделительная пластина; 5 - расстояние (см. 4.1.2.3)
Рисунок 1. Схематическое изображение устройства с иглой
4.1.2.2. Одну разделительную пластину такой же ширины, как и просверленные пластины, и толщины, равной (3,5 +/- 0,5) мм.
4.1.2.3. Средства крепления разделительной пластины к поверхности одной из просверленных пластин, позволяющие отрегулировать расстояние между краем разделительной пластины и геометрической осью ряда отверстий на другой пластине и установить его на уровне (3 +/- 0,1) мм и (6,0 +/- 0,2) мм.
Комбинация разделительной пластины и перфорированной пластины будет далее называться "нижней пластиной".
4.1.2.4. Средства крепления другой просверленной пластины, которая далее будет называться "верхней пластиной", к открытой поверхности разделительной пластины, чтобы отверстия на обеих просверленных пластинах располагались точно друг против друга.
Край одной из пластин, ближний к ряду отверстий, должен иметь приспособление для присоединения к захватам разрывной машины, чтобы обеспечить расположение ряда отверстий перпендикулярно оси машины.
4.1.3. Семнадцать игл, круглый кончик, 16 x 1, метрический размер 90.
4.1.4. Резак или другое режущее устройство, обеспечивающее получение Т-образных образцов размерами, соответствующими рисунку 2.
1 - 20 (радиус); 2 - линия перфораций
Рисунок 2. Образец для испытания
4.2. Метод B
4.2.1. Испытательная разрывная машина со скоростью расхождения захватов (100 +/- 10) мм/мин, с диапазоном нагрузок, соответствующим испытуемым образцам (обычно до 2 кН), обеспечивающая измерение усилия с точностью выше 2% в соответствии с классом 2 по ИСО 7500-1.
4.2.2. Небольшой ручной острый нож или ножницы для вырезания образцов.
4.2.3. Если испытанию подлежат специально выполненные для образцов швы, то для вырезания образцов используют резак, обеспечивающий получение образцов размерами [(50 +/- 2) x (50 +/- 2)] мм.
4.2.4. Швейная машина и аксессуары, если испытанию подлежат специально выполненные в качестве образцов швы.
5. Отбор образцов и кондиционирование
Метод A
5.1.1. Выдерживают обувь, неразрезанный листовой материал или верх обуви в контролируемых стандартных атмосферных условиях, установленных в ЕН 12222, в течение не менее 24 ч перед испытанием и осуществляют испытание в этих же условиях.
5.1.2. Вырезают шесть образцов размерами в соответствии с рисунком 2. Три образца необходимо вырезать так, чтобы кромка основания Т-образного образца была параллельна продольному направлению материала (для кожи - направление вдоль хребта, для некожаных материалов - направление основы (кромки) или машинное направление), а три образца - в направлении, перпендикулярном первому.
Образцы получают из полного верха обуви в сборе, если материал подкладки присоединен к материалу верха обуви.
Образцы вырезают из разных положений вдоль полной используемой ширины и длины листового материала. Для материала ткацкого переплетения таким образом обеспечивается то, что никакие два образца не будут содержать одни и те же нити основы или утка.
При вырезании образца из верха обуви не следует включать участки с отверстиями. Вырезают три образца так, чтобы кромка основания Т-образного образца была параллельна оси X верха обуви в соответствии с ЕН 13400, а три другие образца вырезают так, чтобы кромка была перпендикулярна оси X.
Может оказаться невозможным вырезать образец достаточного размера из определенных типов обуви, особенно детской, при этом размер образца уменьшать нельзя. Если невозможно вырезать образец правильного размера из готового изделия, то используют материалы, из которых оно изготовлено.
5.1.3. Маркируют продольное направление на каждом образце.
5.2. Метод B
5.2.1. Обувь, неразрезанный материал или верх обуви выдерживают в контролируемых стандартных атмосферных условиях, установленных в ЕН 12222, в течение не менее 48 ч до испытания и осуществляют испытание в этих же условиях.
5.2.2. Образцы для испытаний вырезают из верха обуви или готового изделия.
5.2.2.1. Где возможно, используют нож (см. 4.2.2) для вырезания двух прямоугольных образцов размерами [(90 +/- 10) x (50 +/- 2)] мм из верха обуви, включая материалы подкладки, чтобы шов располагался приблизительно посередине между двумя концами образца, см. рисунок 3.
Рисунок 3. Образец, вырезанный из готового изделия
5.2.2.2. Если верх обуви слишком мал для этого, то размер образца можно уменьшить, но ширина центральной части (см. 5.2.2.3 и рисунок 3) не должна быть менее 10 мм.
5.2.2.3. Выполняют разрезы на каждом образце параллельно более длинным краям из точек, отстоящих на 3 мм от шва до кромок материала, чтобы обеспечить ширину центральной части образца (25 +/- 0,5) мм и ширину двух концевых частей образца (12,5 +/- 0,5) мм (см. рисунок 3).
5.2.3. Образцы, подготовленные сшиванием:
5.2.3.1. С помощью ручного ножа или ножниц (см. 4.2.2) или резака (см. 4.2.3) вырезают образцы размером [(50 +/- 2) x (50 +/- 2)] мм из каждого материала, используемого в конструкции. Число необходимых заготовок материала зависит от конструкции шва. Конструкция может включать два элемента одинакового или разного материала верха обуви, сшиваемых вместе, а также один или несколько материалов подкладки. Упрочняющие полоски также могут быть включены. Вырезают достаточное количество деталей, чтобы подготовить три сшитых образца для каждого направления испытания. Если требуется, до сшивания материалы зачищают, выравнивают и скашивают края стыкуемых элементов.
Продольное или поперечное направление испытания устанавливают перпендикулярно шву. Количество направлений испытания зависит от конструкции верха обуви. Достаточно провести отдельные испытания в продольном и поперечном направлениях, но в некоторых случаях может потребоваться подготовка образцов с продольным и поперечным направлениями в сочетании с направлением материала, вырезанного по косой.
Для некожаных материалов образцы вырезают в разных положениях по полной используемой ширине и длине. Для материала с ткацким переплетением необходимо следить, чтобы не было двух образцов, включающих одинаковые нити основы или утка.
5.2.3.2. С помощью швейной машины (см. 4.2.4) сшивают вместе лоскуты материала квадратной формы, чтобы получить три шва для испытания в каждом испытуемом направлении. Тип шва, размер и тип иглы, нить и плотность стежков выбирают таким образом, чтобы имитировать конструкцию интересующей обуви. Если эти параметры неизвестны, можно воспользоваться таблицей 1.
Таблица 1
Руководство по конструкциям швов
Верх обуви
Подкладка
Кожа
Ткань с покрытием
Текстиль
Игла
Размер метрический (Великобритания)
100 (16)
100 (16)
100 (16)
100 (16)
тип
Узкий клин или другое острие
Круглый кончик, круглое треугольное острие или очень узкий клин
Круглый кончик, круглое треугольное острие или очень узкий клин
Как для верха обуви
Нить
тип
Полиамид, полиэфир или комбинированная нить
Полиамид, полиэфир или комбинированная нить
Полиамид, полиэфир или комбинированная нить
Полиамид, полиэфир или комбинированная нить
номер
36 или 40
36 или 40
36 или 40
36 или 40
текс
85 или 75
-
-
-
Стежков на 25 мм
от 14 до 16
от 14 до 16
от 14 до 16
от 14 до 16
Шов
тип
Внапуск или потайной
Внапуск или потайной
Внапуск или потайной
-
Припуск
2 мм
3 мм
3 мм
Как для верха обуви
Припуск на подкладку
9 мм
9 мм
9 мм
-
5.2.3.3. Выполняют разрезы на каждом образце перпендикулярно шву из точек, расположенных на расстоянии 3 мм от шва до кромок материала, чтобы получить образец с шириной центральной части, равной (25 +/- 0,5) мм, и шириной двух крайних частей (12,5 +/- 0,5) мм (см. рисунок 4).
Рисунок 4. Испытуемый образец в захватах
6. Методы испытаний
6.1. Метод A
6.1.1. Сущность метода
Прямой ряд игл продавливают через образцы Т-образной формы по толщине насквозь так, чтобы ряд игл был параллелен основанию Т и находился от него на заданном расстоянии. Затем прикладывают растягивающую нагрузку перпендикулярно ряду игл, чтобы выдернуть образец. Максимальное усилие, необходимое для этого, записывают, делят на ширину образца и получают прочность в направлении, перпендикулярном линии отверстий, проделанных иглами.
6.1.2. Проведение испытания
6.1.2.1. Регулируют направляющее устройство для иглы (см. 4.1.2), чтобы расстояние от конца разделительной пластины до геометрической оси ряда отверстий в двух других пластинах составляло:
эластичные и неплотные ткани - (6,0 +/- 0,2) мм;
все другие материалы - (3,0 +/- 0,1) мм.
6.1.2.2. Помещают по одной игле (см. 4.1.3) в каждое из семнадцати отверстий верхней пластины (см. 4.1.2.1) так, чтобы ни одно острие иглы не выступало ниже внутренней стороны этой пластины, а паз для нити каждой иглы был направлен в сторону разделительной пластины.
6.1.2.3. Один образец помещают в направляющее устройство так, чтобы основание Т упиралось в конец разделительной пластины, а центральное отверстие в рядах отверстий на пластинах (см. 4.1.2.1) находилось на одной линии с серединой ширины испытуемого образца.
6.1.2.4. Продавливают каждой из 17 игл образец насквозь таким образом, чтобы каждая игла попала в отверстие в другой пластине и вошла до упора. Необходимо убедиться, что положение образца относительно направляющего устройства осталось при этом неизменным.
6.1.2.5. Зажимают направляющее устройство в одном из захватов разрывной машины таким образом, чтобы ряды игл были перпендикулярны оси машины. Зажимают не менее 20 мм свободной длины образца в середине другого захвата.
6.1.2.6. Обнуляют измерительную систему разрывной машины и настраивают режим работы таким образом, чтобы захваты раздвигались со скоростью (100 +/- 10) мм/мин.
6.1.2.7. Записывают максимальное усилие, приложенное к захватам во время испытания, в ньютонах, с точностью до 1 ньютона, и тип разрушения образца, а именно:
a) разрыв вдоль линии игольных отверстий;
b) вытягивание нитей параллельно ряду игл;
c) сквозной разрыв от каждой иглы;
d) разрывы в стороне от игольных отверстий.
Иногда испытуемый образец может иметь разрывы сразу нескольких типов, в этом случае регистрируют все типы разрывов наряду с указанием их относительного количества.
6.1.2.8. Повторяют процедуру 6.1.2.3 - 6.1.2.7 для остальных образцов.
6.2. Метод B
6.2.1. Сущность метода
Образец, включающий строчечный шов, постепенно растягивают на разрывной машине в направлении, перпендикулярном шву, до разрыва. Определяют прочность на разрыв и тип разрыва.
6.2.2. Проведение испытания
6.2.2.1. Измеряют ширину средней части испытуемых образцов в мм с точностью до 0,5 мм и записывают значение как W.
6.2.2.2. Налаживают разрывную машину (см. 4.2.1) так, чтобы захваты находились на расстоянии приблизительно 30 мм друг от друга:
a) для образцов, вырезанных из верха обуви, который имеет подкладку, не присоединенную к обратной стороне, подкладку отрывают от внешней части, чтобы эту часть зажать в захватах разрывной машины. От самого шва подкладку не отрывают;
b) для образцов, вырезанных из верха обуви с присоединенной подкладкой, в захваты зажимают верх вместе с подкладкой.
6.2.2.3. Зажимают образец в захватах посередине; часть образца между захватами оставляют такой, чтобы шов располагался параллельно зажимающим кромкам на расстоянии 15 мм от каждого захвата.
Края образца (полосы шириной 12,5 мм) должны быть не зажаты, а свободно свешиваться (см. рисунок 4).
6.2.2.4. Включают разрывную машину при скорости расхождения захватов (100 +/- 10) мм/мин.
6.2.2.5. После разрыва образца записывают усилие в ньютонах с точностью до 1 Н, при котором произошел разрыв (разрывное усилие).
6.2.2.6. Записывают тип разрушения образца, а именно:
a) материал разорвался по шву;
b) из шва вытянуты нити;
c) разорвалась нить;
d) материал разорвался в стороне от шва.
6.2.2.7. Повторяют процедуру 6.2.2.3 - 6.2.2.5 для остальных образцов.
7. Обработка результатов
7.1. Метод A
7.1.1. Рассчитывают среднее арифметическое значение максимальных усилий, записанных в 6.1.2.7, для трех образцов, вырезанных в продольном направлении, и для трех образцов, вырезанных в поперечном направлении.
7.1.2. Для каждого направления делят среднее арифметическое значение разрывного усилия (см. 7.1.1) на ширину образца 25 мм, чтобы получить прочность, в Н/мм, в направлении, перпендикулярном геометрической оси игольных отверстий.
7.2. Метод B
7.2.1. Для каждого образца рассчитывают прочность на разрыв, в Н/мм, с точностью до 1 Н/мм, делением разрывного усилия (см. 6.2.2.5) на ширину образца, W (см. 6.2.2.1).
7.2.2. Для швов, выполненных в качестве образцов, рассчитывают среднее арифметическое значение прочности шва для каждого направления испытания (см. 5.2.3.1).
8. Протокол испытаний
Протокол испытаний должен включать следующую информацию:
8.1. Метод A
a) прочность материала в каждом направлении в соответствии с 7.1.2;
b) типы возникших разрывов в соответствии с 6.1.2.7;
c) если испытывали готовое изделие или верх обуви, описание модели обуви с коммерческим кодом обозначения модели (артикул);
d) описание материала, включая коммерческую ссылку, если известно;
e) описание материала подкладки или иного присутствующего упрочнения;
f) ссылку на метод испытания;
g) дату проведения испытания;
h) описание всех отклонений от стандартного метода.
8.2. Метод B
a) для швов, вырезанных из готового изделия, отдельные значения прочности материала, рассчитанные в соответствии с 7.2.1;
b) для швов, изготовленных в качестве образцов, среднюю прочность шва для каждого направления испытания, рассчитанную в соответствии с 7.2.2;
c) тип или типы разрыва в соответствии с 6.2.2.6;
d) если швы вырезали из готовых изделий, то общее описание конструкции шва с указанием модели обуви с коммерческим кодом обозначения модели (артикул);
e) для швов, изготовленных в качестве образцов, детали конструкции шва, включая тип шва, тип материала с коммерческой ссылкой, тип и размер нити, а также описание особенностей отделки или упрочнения деталей обуви;
f) ссылку на метод испытания;
g) дату проведения испытания;
h) описание всех отклонений от стандартного метода.
ИС МЕГАНОРМ: примечание.
Нумерация Приложения дана в соответствии с официальным текстом документа.
Приложение А
(справочное)
СВЕДЕНИЯ О СООТВЕТСТВИИ ССЫЛОЧНЫХ МЕЖДУНАРОДНЫХ СТАНДАРТОВ
НАЦИОНАЛЬНЫМ СТАНДАРТАМ РОССИЙСКОЙ ФЕДЕРАЦИИ
Таблица ДА.1
Обозначение ссылочного международного стандарта
Степень соответствия
Обозначение и наименование национального стандарта
ЕН 12222-1997
(ИСО 18454-2001)
IDT
ГОСТ Р ИСО 18454-2008 "Обувь. Стандартные атмосферные условия для проведения кондиционирования и испытаний обуви и деталей обуви"
ЕН 13400-2001
(ИСО 17709-2004)
IDT
ГОСТ Р ИСО 17709-2009 "Обувь. Место отбора проб, подготовка и время кондиционирования проб и образцов для испытаний"
ИСО 7500-1:2004
-
<*> Соответствующий национальный стандарт отсутствует.
Примечание. В настоящей таблице использованы следующие условные обозначения степени соответствия стандартов:
- IDT - идентичные стандарты.