Главная // Актуальные документы // ГОСТ Р (Государственный стандарт)СПРАВКА
Источник публикации
М.: Стандартинформ, 2015
Примечание к документу
Документ
введен в действие с 01.01.2016.
Взамен ГОСТ Р ИСО 15745-1-2010.
Название документа
"ГОСТ Р ИСО 15745-1-2014. Национальный стандарт Российской Федерации. Системы промышленной автоматизации и интеграция. Прикладная интеграционная среда открытых систем. Часть 1. Общее эталонное описание"
(утв. и введен в действие Приказом Росстандарта от 26.11.2014 N 1870-ст)
"ГОСТ Р ИСО 15745-1-2014. Национальный стандарт Российской Федерации. Системы промышленной автоматизации и интеграция. Прикладная интеграционная среда открытых систем. Часть 1. Общее эталонное описание"
(утв. и введен в действие Приказом Росстандарта от 26.11.2014 N 1870-ст)
Утвержден и введен в действие
по техническому регулированию
и метрологии
от 26 ноября 2014 г. N 1870-ст
НАЦИОНАЛЬНЫЙ СТАНДАРТ РОССИЙСКОЙ ФЕДЕРАЦИИ
СИСТЕМЫ ПРОМЫШЛЕННОЙ АВТОМАТИЗАЦИИ И ИНТЕГРАЦИЯ
ПРИКЛАДНАЯ ИНТЕГРАЦИОННАЯ СРЕДА ОТКРЫТЫХ СИСТЕМ
ЧАСТЬ 1
ОБЩЕЕ ЭТАЛОННОЕ ОПИСАНИЕ
Industrial automation systems and integration.
Open systems application integration framework.
Part 1. Generic reference description
ISO 15745-1:2003
Industrial automation systems and integration -
Open systems application integration framework -
Part 1: Generic reference description
(IDT)
ГОСТ Р ИСО 15745-1-2014
Группа Т58
Дата введения
1 января 2016 года
1. Подготовлен ООО "НИИ экономики связи и информатики "Интерэкомс" (ООО "НИИ "Интерэкомс") на основе собственного аутентичного перевода на русский язык стандарта, указанного в пункте 4.
2. Внесен Техническим комитетом по стандартизации ТК 100 "Стратегический и инновационный менеджмент".
3. Утвержден и введен в действие
Приказом Федерального агентства по техническому регулированию и метрологии от 26 ноября 2014 г. N 1870-ст.
4. Настоящий стандарт идентичен международному стандарту ИСО 15745-1:2003 "Системы промышленной автоматизации и интеграция. Прикладная интеграционная среда открытых систем. Часть 1. Общее эталонное описание (ISO 15745-1:2003 "Industrial automation systems and integration - Open systems application integration framework - Part 1: Generic reference description").
При применении настоящего стандарта рекомендуется использовать вместо ссылочных международных стандартов соответствующие им национальные стандарты Российской Федерации, сведения о которых приведены в дополнительном
Приложении ДА.
В текст настоящего стандарта включено дополнение ИСО 15745-1:2003/Amd.1:2007.
5. Взамен ГОСТ Р ИСО 15745-1-2010.
Правила применения настоящего стандарта установлены в ГОСТ Р 1.0-2012
(раздел 8). Информация об изменениях к настоящему стандарту публикуется в ежегодном (по состоянию на 1 января текущего года) информационном указателе "Национальные стандарты", а официальный текст изменений и поправок - в ежемесячном указателе "Национальные стандарты". В случае пересмотра (замены) или отмены настоящего стандарта соответствующее уведомление будет опубликовано в ближайшем выпуске ежемесячного информационного указателя "Национальные стандарты". Соответствующая информация, уведомление и тексты размещаются также в информационной системе общего пользования - на официальном сайте Федерального агентства по техническому регулированию и метрологии в сети Интернет (www.gost.ru).
Настоящий стандарт подготовлен Техническим комитетом ИСО/ТК 184 "Системы промышленной автоматизации и интеграция", подкомитетом ПК 5 "Архитектура, системы связи и интеграционные среды".
Комплекс стандартов ИСО 15745 имеет общее название "Системы промышленной автоматизации и интеграция. Прикладная интеграционная среда открытых систем" и содержит следующие части:
- часть 1 "Общее эталонное описание";
- часть 2 "Эталонное описание систем управления на основе стандарта ИСО 11898";
- часть 3 "Эталонное описание систем управления на основе стандарта МЭК 611158";
- часть 4 "Эталонное описание систем управления на основе Ethernet";
- часть 5 "Эталонное описание систем управления на основе высокоуровневого протокола управления каналом передачи данных HDLC".
Основой разработки прикладных систем являются прикладные спецификации, устанавливающие требования к функциональности и характеристикам прикладных систем. Такие спецификации обычно включают текстовые описания, чертежи, диаграммы и ссылки на другие спецификации. Многие системные интеграторы и конечные пользователи, работающие в разных секторах рынка, либо разрабатывают многочисленные аналогичные прикладные спецификации (одну для каждого проекта), либо общую прикладную спецификацию, содержащую требования для каждого проекта.
Прикладная интеграционная среда (AIF) определяет элементы и правила, облегчающие:
- систематическую организацию и представление требований к интеграции прикладных систем с помощью модели интеграции;
- разработку спецификаций интерфейсов в форме профилей интероперабельности прикладных систем (AIP) с целью обеспечения возможности выбора как соответствующих ресурсов, так и документации на встроенные прикладные системы.
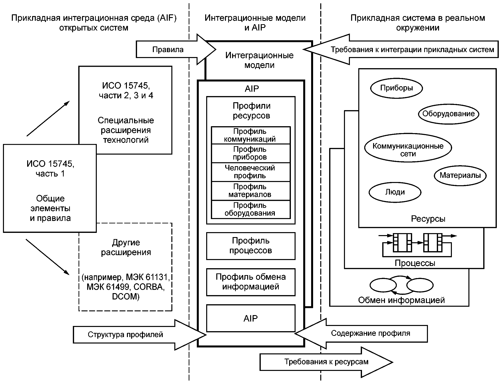
Связь между AIF, интеграционными моделями и созданными разработчиком AIP, а также прикладной системой изображена на
рисунке 1.
Рисунок 1. Область применения комплекса
стандартов ИСО 15745
Слева на рисунке 1 изображена общая AIF, определение которой приведено в настоящем стандарте и дополнено в других стандартах комплекса ИСО 15745.
В центре на рисунке 1 изображен AIP (который может содержать один или несколько AIP), состоящий из одного профиля процессов, одного или нескольких профилей ресурсов и одного или нескольких профилей обмена информацией. Основой AIP являются соответствующие интеграционные модели, устанавливающие требования к прикладным системам.
Справа на
рисунке 1 изображена прикладная система, включающая в себя:
- ресурсы (приборы, коммуникационные сети, оборудование, люди, материалы);
- процессы;
- обмен информацией.
Преимущества использования комплекса стандартов ИСО 15745 заключаются в следующем:
- конечные пользователи могут быстрее определиться со спецификациями и обеспечить соответствие необходимым требованиям для работы с открытыми системами путем использования надлежащих AIP;
- системные интеграторы сокращают время принятия решения, основанного на открытых системах, путем использования общих инструментов, основанных на AIF;
- продавцы и изготовители автоматических систем могут предоставлять и разрабатывать новую продукцию с помощью общих инструментов, основанных на AIF. Например, продавец может подтвердить, что его продукция соответствует требованиям к прикладным системам путем ссылки на профили ресурсов AIP.
Первичными пользователями настоящего стандарта могут быть разработчики AIP, использующие разные системные платформы и технологии изготовления продукции в таких областях применения, как:
- системы непрерывного управления процессами;
- системы группового управления процессами;
- системы управления машинами;
- системы дискретного управления;
- системы диагностики.
Настоящий стандарт распространяется на прикладную интеграционную среду - набор элементов и правил описания интеграционных моделей и профилей интероперабельности прикладных систем.
Стандарт устанавливает общие элементы и правила описания интеграционных моделей и профилей интероперабельности прикладных систем вместе с профилями их компонентов, включающими профили процессов, обмена информацией и ресурсов.
Примечание. Настоящий стандарт, а также ИСО 15745-2, ИСО 15745-3, ИСО 15745-4 устанавливают элементы технологий и правила описания как профилей коммуникационных сетей, так и коммуникационные аспекты профилей устройств, основанных на технологиях полевых (промышленных) шин (fieldbus technologies). Стандарты комплекса ИСО 15745 рекомендуется использовать вместе с настоящим стандартом для создания прикладной интеграционной среды для отдельных технологий полевых шин.
Настоящий стандарт распространяется на системы промышленной автоматизации, процесс сборки электронной аппаратуры, изготовление полупроводников и транспортирование материалов. Его следует использовать также в случае других работ по автоматизации и управлению, таких как автоматизация коммунальных предприятий, сельского хозяйства, внедорожных транспортных средств, медицинских учреждений и лабораторий, а также системы общественного транспорта.
В настоящем стандарте использованы нормативные ссылки на следующие документы, которые необходимо учитывать при использовании настоящего стандарта. В случае ссылок на документы, у которых указана дата утверждения, необходимо пользоваться только указанной редакцией. В случае когда дата утверждения не приведена, следует пользоваться последней редакцией ссылочных документов, включая любые поправки и изменения к ним:
ИСО/МЭК 7498-1:1994 Информационные технологии. Взаимодействие открытых систем. Базовая эталонная модель. Часть 1. Базовая модель (ISO/IEC 7498-1:1994, Information technology - Open Systems Interconnection - Basic Reference Model: The Basic Model)
ИСО/МЭК 7498-4:1989 Системы обработки информации. Взаимодействие открытых систем. Базовая эталонная модель. Часть 4. Структура управления (ISO/IEC 7498-4:1989, Information processing systems - Open Systems Interconnection - Basic Reference Model - Part 4: Management framework)
МЭК 61069-1:1991 Измерение и управление производственными процессами. Определение характеристик системы для ее оценки. Часть 1. Общие аспекты и методология (IEC 61069-1:1991, Industrial-process measurement and control - Evaluation of system properties for the purpose of system assessment - Part 1: General considerations and methodology)
REC-xml-20001006, Extensible Markup Language (XML) 1.0 Second Edition - W3C Recommendation 6 October 2000
REC-xmlschema-1-20010502, XML Schema Part 1: Structures - W3C Recommendation 2 May 2001
REC-xmlschema-2-20010502, XML Schema Part 2: Datatypes - W3C Recommendation 2 May 2001
UML V1.4, OMG - Unified Modeling Language Specification (Version 1.4, September 2001)
REC-xmldsig-core-20020212, XML-Signature - W3C Recommendation 12 February 2002
Примечание. Термины и нотация UML, примененные в настоящем стандарте, приведены в
Приложении A.
В настоящем стандарте использованы следующие термины с соответствующими определениями:
3.1. действие (action): То, что происходит в действительности.
[ИСО/МЭК 19746-2]
Примечание. Каждое рассматриваемое действие по моделированию связано, как минимум, с одним объектом (см. ИСО/МЭК 10746-2).
3.2. актер (actor): Когерентный набор ролей, которые играют пользователи прецедентов, взаимодействуя с этими прецедентами.
[UML]
Примечание. Актер играет одну роль в каждом прецеденте, с которым установлена связь.
3.3. агрегирование (aggregation): Форма ассоциации, устанавливающая отношение "часть - целое" между агрегатом и компонентной частью.
[UML]
3.4. разработчик AIP (AIP developer): Лицо или лица, использующие прикладную интеграционную среду для разработки интеграционных моделей и/или профилей.
3.5. ассоциация (association): Семантическое отношение между двумя или более классификаторами, устанавливающее связи между их экземплярами.
[UML]
3.6. базовая спецификация (base specification): Эталонный документ, содержащий информацию, предоставляемую профилем.
3.7. класс (class): Описание совокупности объектов с общими атрибутами, операциями, методами, отношениями и семантикой.
[UML]
3.8. классификатор (classificatory): Механизм, описывающий поведенческие и структурные особенности.
[UML]
Примечание. Классификатор включает в себя интерфейсы, классы, типы данных и компоненты.
3.9. профиль коммуникационных сетей (communication network profile): Представление интеграционных аспектов коммуникационных сетей, поддерживаемых сетевым прибором.
Пример. Примерами интеграционных аспектов являются типы коммуникационных объектов и соответствующие рабочие отношения (клиент - сервер и т.д.), сервисы и атрибуты типов объектов, сервисы и типы данных типов объектов, а также используемые правила кодирования.
3.10. соответствие (compliance): Отношение между двумя спецификациями A и B, возникающее в том случае, когда спецификация A устанавливает требования, которые полностью выполняются спецификацией B (то есть, когда спецификация B соответствует спецификации A).
[ИСО/МЭК 10746-1]
3.11. прибор (device): Сущность, выполняющая функции управления, приведения в действие и считывания, связанная с другими аналогичными сущностями в автоматизированной системе.
Примечание. Прибор не может выполнять функции обработки, транспортирования или хранения материалов самостоятельно (см.
3.15).
3.12. профиль приборов (устройств) (device profile): Представление интеграционных аспектов приборов.
Пример. Примерами интеграционных аспектов являются предоставляемые функции, конфигурация в сети, поведение в сети и передача данных ввода/вывода.
3.13. элемент (element): Элементарный компонент модели.
[UML]
3.14. сущность (entity): Любой рассматриваемый реальный или абстрактный предмет.
[ИСО/МЭК 10746-2]
3.15. оборудование (equipment): Сущность, являющаяся автономной или связанной с автоматизированной системой, которая выполняет функции обработки, транспортирования или хранения материалов.
Пример. Конвейер, резервуар, насос.
Примечания
1. Оборудование может включать в себя приборы (см.
3.11).
2. Оборудование не может быть напрямую подключено к коммуникационной сети; непосредственно подключены к коммуникационной сети могут быть только приборы.
3.16. профиль оборудования (equipment profile): Представление интеграционных аспектов компонентов оборудования.
Пример. Примерами интеграционных аспектов являются скорость конвейера, емкость резервуара, скорость подачи насоса.
3.17. обобщение (generalization): Таксономическое отношение между общим и более специфическим элементами.
[UML]
Примечание. Более специфический элемент полностью согласуется с общим элементом и содержит дополнительную информацию. Например, специфический элемент может использоваться в тех случаях, когда имеется общий элемент.
3.18. человеческий профиль (human profile): Представление интеграционных аспектов человека.
Пример. Примерами интеграционных аспектов являются обязанность, уровень компетентности, работоспособность.
3.19. информация (information): Любой вид знаний, имеющий отношение к предметам, фактам, концепциям и так далее, которыми обмениваются пользователи в процессе обсуждения.
[ИСО/МЭК 10746-2]
3.20. экземпляр (instance): Сущность, имеющая однозначную идентификацию, набор операций, которые могут быть применены к ней, и состояние, которое сохраняет воздействие на операции.
[UML]
3.21. интерфейс (interface): Установленный набор операций, характеризующий поведение элемента.
[UML]
3.22. материал (material): Вещество, используемое для изготовления продуктов.
Пример. Сырье, расходные материалы, катализаторы.
3.23. профиль материалов (material profile): Представление интеграционных характеристик материалов.
Пример. Примерами интеграционных характеристик материалов являются размеры, масса, плотность, срок хранения, требуемые температура и влажность воздуха при хранении, твердость, формуемость и вязкость.
3.24. сообщение (message): Спецификация передачи информации от одного экземпляра к другому с ожиданием, что действие будет выполнено.
[UML]
3.25. имя (name): Термин в установленном контексте наименования обозначающий сущность.
[ИСО/МЭК 10746-2]
3.26. объект (object): Сущность, имеющая определенные границы и идентичность, инкапсулирующая состояние и поведение.
[UML]
Примечание. Состояние представляют в виде атрибутов и отношений, поведение - в виде операций, методов и машинного состояния. Объект является экземпляром класса.
3.27. операция (operation): Услуга, которая может быть запрошена от объекта с целью воздействия на его поведение.
[UML]
3.28. профиль (profile): Набор, состоящий из одной или нескольких базовых спецификаций и подпрофилей, с указанием, при необходимости, выбранных классов, соответствующих подмножеств, опций базовых спецификаций и параметров этих спецификаций или подпрофилей, необходимых для выполнения конкретной функции, действия или отношения.
Примечание. Определение соответствует приведенному в ИСО/МЭК ТО 10000-1.
3.29. отношение (relationship): Семантическая связь между элементами моделей.
[UML]
Пример. Ассоциации и обобщения.
3.30. ресурс (resource): Прибор, коммуникационная сеть, оборудование, человек или материал, участвующие в процессе.
3.31. состояние (state): Режим или ситуация в течение срока службы объекта, когда он удовлетворяет определенному условию, выполняет некоторые действия или ожидает определенного события.
[UML]
3.32. система (system): Объект, представляющий собой единое целое или состоящий из комплектующих частей.
[ИСО/МЭК 10746-2]
Примечание. Система может рассматриваться как сущность. Компонент системы может сам быть системой. В этом случае данный компонент является подсистемой.
[ИСО/МЭК 10746-2]
3.33. шаблон <X> (<X> template): Спецификация общих характеристик набора <X>, в достаточной мере детализированных для того, чтобы набор <X> использовался для создания экземпляров.
[ИСО/МЭК 10746-2]
Примечание. <X> может характеризоваться типом.
3.34. тип (<X>) (type (<X>)): Предикат, характеризующий общий набор характеристик <X>.
[ИСО/МЭК 10746-2]
3.35. прецедент (use case): Спецификация последовательности действий, включая опции, которые система или другая сущность может выполнить, взаимодействуя с актерами системы.
[UML]
3.36. представление (view): Проекция модели, видимая в заданной перспективе или точке наблюдения, не включающая сущности, которые не относятся к этой перспективе.
[UML]
3.37. целостность (integrity): Характеристика, указывающая, что данные не были изменены, уничтожены или потеряны несанкционированно или случайно.
В настоящем стандарте использованы следующие сокращения.
4.1. Общие сокращения
AIF | - | прикладная интеграционная среда; |
AIP | - | профиль интероперабельности прикладной системы; |
ASCII | - | американский стандартный код обмена информацией; |
CORBA | - | обобщенная архитектура обработчика объектных запросов; |
DCOM | - | распределенная объектная модель компонентов; |
FDA | - | Управление США по контролю за продуктами и лекарственными препаратами; |
HMI | - | интерфейс человек - машина; |
IAS | - | промышленные автоматизированные системы; |
OSI | - | взаимодействие открытых систем; |
UML | - | унифицированный язык моделирования; |
XML | - | расширяемый язык разметки. |
4.2. Типы интерфейсов промышленных автоматизированных систем
Примечание. Подробное описание типов интерфейсов IAS приведено в
Приложении B.
API | - | интерфейс прикладной программы; |
CMI | - | интерфейс управления конфигурацией; |
CSI | - | интерфейс услуг связи; |
ESI | - | интерфейс технической поддержки; |
FSI | - | интерфейс обслуживания оборудования; |
HCI | - | интерфейс человек - компьютер; |
ISI | - | интерфейс информационных услуг; |
MTI | - | интерфейс транспортирования материалов; |
SEI | - | интерфейс безопасности и среды; |
USI | - | интерфейс коммунальных услуг. |
5. Концепция прикладной интеграционной среды
5.1. Элементы и правила
AIF устанавливает элементы и правила, которые разработчик AIP использует для разработки интеграционных моделей и профилей, необходимых для прикладных систем.
Элементами AIF, определенными в ИСО 15745, являются:
- структура и заголовок основного шаблона профилей, установленного в
7.2;
- общие шаблоны профилей, установленные в
7.3;
- шаблоны технологических профилей, установленные в ИСО 15745-2, ИСО 15745-3 и ИСО 15745-4;
Разработчик AIP может также использовать элементы, которые соответствуют требованиям комплекса стандартов ИСО 15745, например базовые спецификации, идентифицированные разработчиком AIP.
Правила AIF ограничивают разработчика AIP в отношении:
- создания интеграционных моделей (см.
раздел 6);
- разработки профилей (см.
раздел 7), включая использование основного шаблона профилей (см.
7.2), использование общих шаблонов профилей (см.
7.3), а также разработки технологических специальных профилей (см. ИСО 15745-2 - ИСО 15745-4);
- языка обмена данными профилей (см.
7.2.6).
5.2. Использование прикладной интеграционной среды для разработки профиля интероперабельности прикладной системы
5.2.1. Обзор
Прикладные системы разрабатывают на основе спецификаций прикладных систем (то есть спецификаций, описывающих функциональность и характеристики, установленные для прикладных систем). Такие спецификации обычно содержат текстовые описания, чертежи, диаграммы и ссылки на другие спецификации. Многие системные интеграторы и конечные пользователи, работающие в отдельных секторах рынка, либо разрабатывают множество аналогичных спецификаций прикладных систем (по одной для каждого проекта), либо основную спецификацию прикладных систем с вариантами для каждого проекта.
AIF сфокусирована на интеграционные аспекты прикладной системы и устанавливает элементы и правила разработки интеграционных моделей и профилей, основанных на обмене информацией и видах ресурсов прикладных систем (см.
рисунок 2). Интеграционные модели устанавливают требования к прикладным системам, а профили являются спецификациями интерфейсов, что позволяет выбрать соответствующие ресурсы и документацию "встроенных" прикладных систем.

- порядок выполнения действий;

- поток информации
Рисунок 2. Разработка профилей на основе ИСО 15745
На
рисунке 6 интеграционные модели представлены в виде диаграмм UML, а профили являются документами XML (REC-xml-20001006).
5.2.2. Интеграционные модели
Разработчик AIP создает три интеграционные модели (процессов, обмена информацией и ресурсов), являющиеся формальным представлением требований к интеграции, включенных в спецификацию прикладных систем. Каждая прикладная система может иметь собственную спецификацию, но разработчик AIP может выбрать, какая интеграционная модель наиболее подходит для конкретной прикладной системы или может быть использована для группы аналогичных прикладных систем.
Каждая интеграционная модель состоит из классов взаимодействующих объектов. Отношения (ассоциативные, иерархические) между этими абстракциями обеспечивают полное представление требований к прикладной системе. Каждая интеграционная модель разрабатывается с использованием набора визуальных представлений (то есть диаграмм UML согласно
Приложению A) классов и объектов и их статических и динамических отношений.
Интеграционная модель процессов определяет способы управления, материалы и потоки информации в прикладной системе, а также устанавливает требования как к ресурсам, так и к обмениваемой информации.
Интеграционная модель обмена информацией определяет информацию, которой обмениваются ресурсы.
Интеграционная модель ресурсов определяет ресурсы, включенные в моделируемый процесс, и интерфейсы между ними. Отдельные интеграционные модели устанавливаются для каждого типа ресурсов (приборов, коммуникационных сетей, оборудования, человека и материалов).
5.2.3. Профили
Интеграционные модели идентифицируют интерфейсы, необходимые для поддержки требований к прикладным системам, - профиль является точным представлением конкретного интерфейса. Профили могут быть представлены в краткой форме в виде ссылок на выбранные опции, идентифицированные в базовых спецификациях, что позволяет не приводить полное описание, содержащееся в базовых спецификациях. Профили являются документами XML, разработанными с использованием шаблонов профилей (см.
7.1), которые являются схемами XML (REC-xmlschema-1-20010502 и REC-xmlschema-2-20010502) (см.
7.2.6).
AIP является единственной спецификацией, рассматривающей группу профилей (профили процессов, профили обмена информацией, профили ресурсов, а также другие AIP), представляющие собой эталонные части базовых спецификаций, которые сами могут быть профилями.
Профиль процессов представляет собой запись "конечного" состояния процесса, определяемого интеграционной моделью процессов, и содержит "конечную" информацию и/или ссылки на базовые спецификации, содержащие "конечную" информацию.
Профиль обмена информацией представляет собой запись "конечного" состояния обмена информацией, определяемого интеграционной моделью обмена информацией, и содержит "конечную" информацию и/или ссылки на базовые спецификации, содержащие "конечную" информацию.
Профили ресурсов (приборы, коммуникационная сеть, оборудование, люди и материалы), устанавливающие требования к интерфейсам между ресурсами, могут быть получены из интеграционной модели ресурсов (см. "Требования к профилям" на
рисунке 2). Профили для имеющихся ресурсов разрабатывают на основе соответствующих спецификаций ресурсов (см. "Профили имеющихся ресурсов" на
рисунке 2). Сравнение этих профилей ресурсов (оба - в формате XML) позволяет разработчику AIP обеспечить соответствие каждого конкретного ресурса требованиям к интегрированию прикладных систем.
6. Типы интеграционных моделей
6.1. Интеграционная модель процессов
Интеграционная модель процессов определяет способы управления, материалы и потоки информации в прикладной системе, а также функции, этапы и действия при установке и работе данной прикладной системы.
Разработчик AIP должен создавать интеграционную модель процессов с использованием UML (см.
Приложение A). Обычно используемыми диаграммами UML являются диаграммы прецедентов, определяющие актеров, прецеденты и границу прикладной системы, диаграммы действий, определяющие поток процессов, диаграммы классов, определяющие существующие классы и отношения между ними, а также диаграммы последовательностей, определяющие взаимодействия процессов в установленной временной последовательности.
6.2. Интеграционная модель обмена информацией
Интеграционная модель обмена информацией определяет информацию, которой должны обмениваться ресурсы, вовлеченные в моделируемый процесс.
Такая информация обычно содержит:
- информацию о процессе (например, наборы команд, геометрические данные, графики или другие параметры процесса, необходимые для выполнения приложения);
- информацию о состоянии (например, отказы, отчеты о состоянии оборудования, предупреждения и информацию о качестве);
- информацию по управлению (например, команды и запросы по обслуживанию), идентифицирующую источник, адрес назначения и тип информации.
Разработчик AIP должен создавать интеграционную модель обмена информацией с использованием UML (см.
Приложение A). Обычно используемыми диаграммами UML являются диаграммы классов, определяющие существующие классы и отношения между ними, диаграммы сотрудничества, определяющие информацию, обмен которой происходит между разными объектами, а также диаграммы последовательностей действий, определяющие информацию, обмен которой происходит в установленной временной последовательности.
6.3. Интеграционная модель ресурсов
6.3.1. Общие положения
Интеграционная модель ресурсов определяет приборы, коммуникационную сеть, оборудование, людей и материалы, вовлеченные в моделируемый процесс. Интеграционная модель ресурсов также идентифицирует основные интерфейсы между этими ресурсами, что позволяет им взаимодействовать и обеспечивать необходимые функции и услуги для поддержки автоматизации и управления процессом.
Разработчик AIP должен создавать интеграционную модель ресурсов с использованием UML (см.
Приложение A). Обычно используемыми диаграммами UML являются диаграммы классов, определяющие существующие классы и отношения между ними, диаграммы сотрудничества, определяющие взаимодействия между разными ресурсами, а также диаграммы развертывания, определяющие конфигурацию аппаратных средств приборов и оборудования, программных объектов, принадлежащих к аппаратным средствам, а также людей, взаимодействующих с оборудованием и программным обеспечением.
Интеграционная модель ресурсов впоследствии может быть детализирована с помощью интеграционных моделей для описания каждого типа ресурсов. Интерфейсы, указанные в каждой интеграционной модели, определяют профиль, связанный с каждой моделью.
6.3.2. Модель интеграции устройств
Модель интеграции устройств определяет характеристики устройств, необходимые для выполнения требований к прикладным системам, которые установлены в интеграционной модели процессов и интеграционной модели обмена информацией, такие как:
- функцию(и), выполняемую(ые) прибором;
- входные и выходные данные, которыми обмениваются с устройством;
- параметры конфигурации и переменные рабочего цикла, сохраняемые прибором.
Разработчик AIP должен создавать интеграционную модель коммуникационных сетей с использованием UML (см.
Приложение A). Обычно используемыми диаграммами UML являются диаграммы классов, определяющие существующие классы и отношения между ними, и диаграммы сотрудничества, определяющие транзакции между объектами.
6.3.3. Интеграционная модель коммуникационных сетей
Интеграционная модель коммуникационных сетей определяет характеристики сетей, необходимые для выполнения требований к прикладным системам и установленные в интеграционной модели процессов и интеграционной модели обмена информацией, например:
- топологию, передающие среды, число узлов;
- типы транзакции;
- пропускную способность.
Разработчик AIP должен создавать интеграционную модель коммуникационных сетей с использованием UML (см.
Приложение A). Обычно используемыми диаграммами UML являются диаграммы классов, определяющие существующие классы и отношения между ними, и диаграммы сотрудничества, определяющие транзакции между объектами.
6.3.4. Интеграционная модель оборудования
Интеграционная модель оборудования описывает характеристики оборудования, необходимые для выполнения требований к прикладным системам, установленных в интеграционной модели процессов и интеграционной модели обмена информацией, такие как:
- скорость конвейера;
- вместимость резервуара;
- скорость подачи насоса.
Разработчик AIP должен создавать интеграционную модель коммуникационных сетей с использованием UML (см.
Приложение A). Обычно используемыми диаграммами UML являются диаграммы классов, определяющие существующие классы и отношения между ними, и диаграммы сотрудничества, определяющие транзакции между объектами.
6.3.5. Интеграционная модель людей
Интеграционная модель людей описывает характеристики персонала, необходимые для выполнения требований к прикладным системам, установленных в интеграционной модели процессов и интеграционной модели обмена информацией, такие как:
- уровень ответственности;
- уровень компетентности;
- работоспособность.
Разработчик AIP должен создавать интеграционную модель людей с использованием UML (см.
Приложение A). Обычно используемыми диаграммами UML являются диаграммы классов, определяющие существующие классы и отношения между ними, диаграммы сотрудничества, определяющие взаимодействия между людьми и другими объектами, а также диаграммы очередности действий, определяющие взаимодействия между людьми в установленной временной последовательности.
6.3.6. Интеграционная модель материалов
Интеграционная модель материалов определяет характеристики материалов, необходимые для выполнения требований к прикладным системам, установленных в интеграционной модели процессов и интеграционной модели обмена информацией, такие как:
- физические характеристики (размеры, масса, плотность и т.д.);
- характеристики хранения (срок хранения, температура и относительная влажность воздуха при хранении и т.д.);
- характеристики обработки (твердость, формуемость, вязкость и т.д.).
Разработчик AIP должен создавать интеграционную модель материалов с использованием ULM (см.
Приложение A). Обычно используемыми диаграммами UML являются диаграммы классов, определяющие существующие классы материалов и отношения между ними, диаграммы сотрудничества, определяющие взаимодействия между материалами и другими объектами, а также диаграммы кооперации, определяющие взаимодействия между материалами и другими объектами в установленной временной последовательности.
7. Шаблоны и типы профилей
7.1. Взаимосвязи шаблонов профилей
Общие шаблоны профилей являются подклассами основного шаблона профилей и имеют характеристики, аналогичные характеристикам основного шаблона профилей (см.
рисунок 3).
Рисунок 3. Диаграмма классов основного/общего
шаблонов профилей
В ИСО 15745-2 и ИСО 15745-4 установлены специальные технологические шаблоны профилей коммуникационных сетей и коммуникационные аспекты шаблонов профилей устройств, основанные на особых технологиях полевых (производственных) шин. Эти технологические шаблоны профилей имеют структуру, аналогичную структуре общего шаблона профилей коммуникационных сетей, установленной в
7.3.4.3, а также структуре общего шаблона профилей устройств, установленной в
7.3.4.2 соответственно (см. рисунок 4).
Рисунок 4. Диаграмма классов общего/технологического
специального шаблона профилей
В случае необходимости разработчики AIP могут:
- создавать собственные шаблоны профилей, принадлежащие к одному из классов общих шаблонов профилей, указанных на
рисунке 3;
- создавать собственные шаблоны профилей, принадлежащие к одному из классов технологических специальных шаблонов профилей, указанных на
рисунке 4 и определенных в ИСО 15745-2 и ИСО 15745-4;
- использовать существующие шаблоны профилей, созданные другими разработчиками AIP, относящиеся к одному из классов общих шаблонов профилей, указанных на
рисунке 3;
- использовать существующие шаблоны профилей, созданные другими разработчиками AIP, относящиеся к одному из классов технологических специальных шаблонов профилей, указанных на
рисунке 4 и определенных в ИСО 15745-2 и ИСО 15745-4.
При создании шаблонов профилей разработчики AIP могут дополнять информацию, полученную из соответствующих общих или технологических специальных шаблонов профилей, не изменяя и не удаляя весь объем информации. Разработчики AIP создают профили путем добавления специальной информации по профилям в шаблоны профилей.
7.2. Основной шаблон профилей
7.2.1. Структура
Основной шаблон профилей состоит из раздела заголовка, раздела тела и дополнительной сигнатуры целостности (см. рисунок 5).
Рисунок 5. Диаграмма класса основного шаблона профилей
7.2.2. Раздел заголовка
Раздел заголовка содержит атрибуты, указанные в таблице 1. Значения атрибутов должны быть определены разработчиком AIP при создании профилей с использованием шаблонов профилей на основе общего шаблона профилей.
Таблица 1
Атрибуты заголовка основного шаблона профилей
Атрибут | Описание |
ProfileIdentification | Идентификация профиля. Тип данных XML: строка. Пример: ABC-123-XX |
ProfileRevision | Модификация профиля. Тип данных XML: строка. Пример: 2.34 |
ProfileName | Описательное имя профиля. Тип данных XML: строка. Пример: AIP Material Handling |
ProfileSource | Идентификация разработчика AIP. Тип данных XML: строка. Пример: Profiles'R'Us |
ProfileDate | Дата выпуска данной модификации профиля в формате CCYY-MM-DD. Это поле является дополнительным. Тип данных XML: дата. Пример: 2002-10-25 |
AdditionalInformation | Положение диаграмм/дополнительной информации для профиля. Это поле является дополнительным. Тип данных XML: anyURI. Пример: http://www.profilesrus.net |
ISO15745Part | Часть ИСО 15745, которой соответствует профиль. Тип данных XML: положительное целое число. Пример: 1 (ИСО 15745-1) |
ProfileTechnology | Наименование ссылочной технологии в соответствии с ИСО 15745 (см. ISO15745Partfield). Тип данных XML: строка. Наименование каждой технологии, установленное в соответствии с ИСО 15745. Если технология ИСО 15745 неприменима, то следует использовать значение "None". Пример: None |
ProfileClassID | Идентификация класса профилей. Тип данных XML: ProfileClassID_DataType (основанный на "строке") - см. рисунок 6. Общезначимые классы профилей: AIP Процесс Обмен информацией Ресурс Прибор Коммуникационная сеть Оборудование Человек Материал Пример: AIP |
ISO15745Reference | Идентифицирует часть ИСО 15745 (см. ISO15745Part) вместе с ее изданием (см. ISO15745Edition) и технологию профилей (см. Profile Technology). Тип данных XML: ISO15745Reference_DataType - см. рисунок 6. Многократные ссылки разрешаются, например, относительно прибора с несколькими коммуникационными интерфейсами |
ISO15745Edition | Издание ссылочной части ИСО 15745. Тип данных XML positiveInteger (положительное целое число) Первая цифра указывает издание, а вторая - изменение (если оно имеется): пример 1: 1 (указывающее 1-е издание, изменение отсутствует); пример 2: 11 ((указывающее 1-е издание, 1-е изменение); пример 3: 42 (указывающее 4-е издание, 2-е изменение) |
IASInterface Type | Тип интерфейса IAS. Тип данных XML: IASInterfaceType_DataType (основанный на "строке") - см. рисунок 6. Это поле является дополнительным. Общезначимые IAS типы интерфейсов перечислены ниже и описаны в Приложении B. Разрешается любая комбинация интерфейсов, перечисленных ниже: a) типы интерфейсов IAS, определенные в ИСО/МЭК/ТР 14252 (см. B.1): CSI интерфейс коммуникационных услуг; HCI интерфейс человек - компьютер; ISI интерфейс информационных услуг; API интерфейс прикладных программ; b) типы интерфейсов IAS, определенные в ИСО 15745 (см. B.2): CMI интерфейс управления конфигурацией; ESI интерфейс технической поддержки; FSI интерфейс обслуживания оборудования; MTI интерфейс транспортировки материалов; SEI интерфейс безопасности и среды; USI интерфейс коммунальных услуг; c) типы интерфейсов IAS, определяемые пользователем (см. B.3): пример 1: ISI ESI; пример 2: CMI 37X6 |
7.2.3. Раздел тела
Отдельный шаблон профилей определяет структуру раздела тела и тип информации, которую он содержит.
7.2.4. Сигнатура целостности
Профиль может содержать дополнительный специальный элемент (сигнатуру), который позволяет проверить целостность других элементов (например, заголовка и тела) в соответствующем файле XML.
Примечание 1. Профили являются редактируемыми текстовыми файлами, использующими нотацию XML. Средства интеграции могут использовать профили из разных источников, а сигнатура целостности (элемент сигнатуры) позволяет пользователю определить, были ли внесены несанкционированные или случайные изменения, что является единственной целью проверки целостности.
Примечание 2. Проверка целостности распространяется только на документы профилей XML, а не на схемы, которые были использованы для создания этих документов профилей XML.
- соответствовать требованиям, установленным в Рекомендациях по цифровой сигнатуре XML консорциума World Wide Web (см. REC-xmldsig-core-20020212);
- иметь тип данных, аналогичный типу сигнатуры W3C;
- быть последним дочерним элементом XML корневого элемента (ISO 15745 Profile);
- принадлежать схеме, импортирующей схему "xmldsig-core-schema.xsd" с использованием пространства имен "http://www.w3.org/2000/09/xmldsig#".
Примечание 3. Описание использования сигнатуры целостности с контейнером профилей приведено в
7.4.2.
7.2.5. Типы данных, определяемые в ИСО 15745
Отдельный шаблон профилей может содержать элементы, имеющие ссылки на другие документы профилей. Такие элементы должны использовать тип данных "ProfileHandle_DataType", указанный в таблице 2.
Таблица 2
ProfileHandle_DataType
Атрибут | Описание |
ProfileHandle_DataType | Используют для определения элементов, содержащих информацию для идентификации экземпляра профиля XML. Атрибут состоит из атрибута ProfileIdentification, атрибута ProfileRevision и дополнительного атрибута ProfileLocation. Пример 1: ABC-123-XX2.34. Пример 2: ABC-123-XX2.34 http://myserver.de/abc-123-xx.xml |
ProfileIdentification | |
ProfileRevision | |
ProfileLocation | Адрес файла документа профиля. Тип данных XML: anyURI. Пример: http://myserver.de/abc-123-xx.xml |
Профили являются документами XML, которые при необходимости могут быть рассредоточены, обработаны и воспроизведены. Шаблоны профилей могут быть представлены в виде "скелетов" для схем XML. "Скелетная" схема XML (исключая информацию по пространству имен целевых объектов) для основного шаблона профилей показана на
рисунке 6.
┌──────────────────────────────────────────────────────────────────────────────────────────────────────┐
│ <?xml version="1.0" encoding="UTF-8"?> │
│ <xsd:schema xmlns:xsd="http://www.w3.org/2001/XMLSchema" │
│ xmlns:ds="http://www.w3.org/2000/09/xmldsig#"> │
│ <xsd:import namespace="http://www.w3.org/2000/09/xmldsig#" │
│ schemaLocation="xmldsig-core-schema.xsd"/> │
│ <!-- Target namespaces are not specified in this master template --> │
│ <xsd:element name="ISO15745Profile"> │
│ <xsd:complexType> │
│ <xsd:sequence> │
│ <xsd:element name="ProfileHeader" type="ProfileHeader_DataType"/> │
│ <xsd:choice> │
│ <xsd:element name="ProfileBody" type="ProfileBody_DataType"/> │
│ <!-- This "abstract type" definition format is mandatory if a profile │
│ container is used (see
7.4). │
│ If desired, this definition format can also be used without a profile container. --> │
│ <xsd:element ref="ProfileBody"/> │
│ <!-- This "legacy" definition format shall not be used if a profile │
│ container is used (see
7.4) --> │
│ </xsd:choice> │
│ <xsd:element name="Signature" type="ds:SignatureType" minOccurs="0" │
│ maxOccurs="1"/> │
│ </xsd:sequence> │
│ </xsd:complexType> │
│ </xsd:element> │
│ <xsd:annotation> │
│ <xsd:documentation>* HEADER SECTION *</xsd:documentation> │
│ </xsd:annotation> │
│ <xsd:complexType name="ProfileHeader_DataType"> │
│ <xsd:sequence> │
│ <xsd:element name="ProfileIdentification" type="xsd:string"/> │
│ <xsd:element name="ProfileRevision" type="xsd:string"/> │
│ <xsd:element name="ProfileName" type="xsd:string"/> │
│ <xsd:element name="ProfileSource" type="xsd:string"/> │
│ <xsd:element name="ProfileClassID" type="ProfileClassID_DataType"/> │
│ <xsd:element name="ProfileDate" type="xsd:date" minOccurs="0" maxOccurs="1"/> │
│ <xsd:element name="AdditionalInformation" type="xsd:anyURI" minOccurs="0" │
│ maxOccurs="1"/> │
│ <xsd:element name="ISO15745Reference" type="ISO15745Reference_DataType"/> │
│ <xsd:element name="IASInterfaceType" type="IASInterface_DataType" minOccurs="0" │
│ maxOccurs="unbounded"/> │
│ </xsd:sequence> │
│ </xsd:complexType> │
│ <xsd:annotation> │
│ <xsd:documentation>* BODY SECTION *</xsd:documentation> │
│ </xsd:annotation> │
│ <xsd:complexType name="ProfileBody_DataType" abstract="true"/> │
│ <!-- If the "abstract type" definition format is used, the profile body details shall be specified │
│ in the actual profile body data types that will be mapped to this abstract type. --> │
│ <xsd:element name="ProfileBody"> │
│ <!-- Profile body details are not specified in this master profile template. They only need to be │
│ specified here if the "legacy" definition format is used. --> │
│ </xsd:element> │
│ <xsd:annotation> │
│ <xsd:documentation>* HEADER AUXILIARY DATA TYPES *</xsd:documentation> │
│ </xsd:annotation> │
│ <xsd:simpleType name="ProfileClassID_DataType"> │
│ <xsd: restriction base="xsd:string"> │
│ <xsd:enumeration value="AIP"/> │
│ <xsd:enumeration value="Process"/> │
│ <xsd:enumeration value="InformationExchange"/> │
│ <xsd:enumeration value="Resource"/> │
│ <xsd:enumeration value="Device"/> │
│ <xsd:enumeration value="CommunicationNetwork"/> │
│ <xsd:enumeration value="Equipment"/> │
│ <xsd:enumeration value="Human"/> │
│ <xsd:enumeration value="Material"/> │
│ </xsd:restriction> │
│ </xsd:simpleType> │
│ <xsd:complexType name="ISO15745Reference_DataType"> │
│ <xsd:sequence> │
│ <xsd:element name="ISO15745Part" type="xsd:positiveInteger"/> │
│ <xsd:element name="ISO15745Edition" type="xsd:positiveInteger"/> │
│ <xsd:element name="ProfileTechnology" type="xsd:string"/> │
│ </xsd:sequence> │
│ </xsd:complexType> │
│ <xsd:simpleType name="IASInterface_DataType"> │
│ <xsd:union> │
│ <xsd:simpleType> │
│ <xsd:restriction base="xsd:string"> │
│ <xsd:enumeration value="CSI"/> │
│ <xsd:enumeration value="HCI"/> │
│ <xsd:enumeration value="ISI"/> │
│ <xsd:enumeration value="API"/> │
│ <xsd:enumeration value="CMI"/> │
│ <xsd:enumeration value="ESI"/> │
│ <xsd:enumeration value="FSI"/> │
│ <xsd:enumeration value="MTI"/> │
│ <xsd:enumeration value="SEI"/> │
│ <xsd:enumeration value="USI"/> │
│ </xsd:restriction> │
│ </xsd:simpleType> │
│ <xsd:simpleType> │
│ <xsd:restriction base="xsd:string"> │
│ <xsd:length value="4"/> │
│ </xsd:restriction> │
│ </xsd:simpleType> │
│ </xsd:union> │
│ </xsd:simpleType> │
│ <xsd:annotation> │
│ <xsd:documentation>* ISO15745 DEFINED DATA TYPES *</xsd:documentation> │
│ </xsd:annotation> │
│ <xsd:complexType name="ProfileHandle_DataType"> │
│ <xsd:sequence> │
│ <xsd:element name="ProfileIdentification" type="xsd:string"/> │
│ <xsd:element name="ProfileRevision" type="xsd:string"/> │
│ <xsd:element name="ProfileLocation" type="xsd:anyURI" minOccurs="0" maxOccurs="1"/> │
│ </xsd:sequence> │
│ </xsd: complexType> │
│ </xsd:schema> │
└──────────────────────────────────────────────────────────────────────────────────────────────────────┘
Рисунок 6. Схема XML основного шаблона профилей
Примечание 1. Определение тела профиля, использующее абстрактный тип, добавлено, в частности, для использования контейнера профилей (см.
7.4). Пример использования этой опции приведен на
рисунке 18.
Примечание 2. Использование формата определения абстрактного типа ProfileBody (ProfileBody_DataType) может быть указано в файле XML с помощью выражения <ProfileBody xsi:Type="xxx">. Использование унаследованного формата определения ProfileBody (элемента ProfileBody) может быть указано в XML с помощью выражения <ProfileBody>.
Примечание 3. Файлы XML, соответствующие ИСО 15745-1, также соответствуют схеме, приведенной на
рисунке 6.
Схема XML основного шаблона профилей, приведенная на
рисунке 6, является основой для создания всех схем XML основного шаблона профилей.
В ИСО 15745-2 - ИСО 15745-4 приведены схемы XML для некоторых технологических специальных шаблонов профилей, создаваемых на основе общего шаблона профилей коммуникационных сетей (см.
7.3.4.3) и общего шаблона профилей устройств (см.
7.3.4.2). При необходимости разработчик AIP может использовать данные технологические специальные схемы XML.
В других случаях разработчик AIP должен создавать собственные схемы XML, основанные на схеме XML основного шаблона профилей, приведенной на
рисунке 6.
Разработчики AIP должны представлять профиль в виде значимого документа XML, то есть документа XML, согласованного с требованиями спецификаций XML и соответствующего ограничениям, установленным в связанной XML-схеме.
Пример. На
рисунке 7 приведен пример раздела заголовка документа XML для AIP, основанного на схеме XML с использованием схемы XML основного шаблона профилей, приведенной на
рисунке 6, и данных примера, приведенных в
таблице 1.
┌─────────────────────────────────────────────────────────────────────────────────────┐
│ <ProfileHeader> │
│ <ProfileIdentification>ABC-123-XX</ProfileIdentification> │
│ <ProfileRevision>2.34</ProfileRevision> │
│ <ProfileName>AIP Material Handling</ProfileName> │
│ <ProfileSource>Profiles'R'Us</ProfileSource> │
│ <ProfileClassID>AIP</ProfileClassID> │
│ <ProfileDate>2002-10-25</ProfileDate> │
│ <AdditionalInformation>http://www.profilesrus.net</AdditionalInformation> │
│ <ISO15745Reference> │
│ <ISO15745Part>1</ISO15745Part> │
│ <ISO15745Edition>1</ISO15745Edition> │
│ <ProfileTechnology>None</ProfileTechnology> │
│ </ISO15745Reference> │
│ <IASInterfaceType>ISI</IASInterfaceType> │
│ <IASInterfaceType>ESI</IASInterfaceType> │
│ </ProfileHeader> │
└─────────────────────────────────────────────────────────────────────────────────────┘
Рисунок 7. Пример раздела заголовка документа XML для AIP
7.3. Общие шаблоны профилей
7.3.1. AIP
AIP состоит из одного профиля процессов, одного или нескольких профилей ресурсов и одного или нескольких профилей обмена информацией (см. рисунок 8). AIP также может включать другие AIP.
Рисунок 8. Диаграмма класса общего профиля
интероперабельности прикладных систем
Пример раздела заголовка схемы XML общего шаблона AIP приведен на
рисунке 6. Пример раздела тела схемы XML общего шаблона AIP приведен на
рисунке 9.
┌──────────────────────────────────────────────────────────────────────────────────────────────────────┐
│ <xsd:element name="ProfileBody"> │
│ <xsd:complexType> │
│ <xsd:sequence> │
│ <xsd:element name="ApplicationInteroperabilityProfileHandle" minOccurs="0" │
│ maxOccurs="unbounded" type="ProfileHandle_DataType"/> │
│ <xsd:element name="ProcessProfileHandle" type="ProfileHandle_DataType"/> │
│ <xsd:element name="InformationExchangeProfileHandle" minOccurs="1" │
│ maxOccurs="unbounded" type="ProfileHandle_DataType"/> │
│ <xsd:element name="ResourceProfileHandle" minOccurs="1" maxOccurs="unbounded" │
│ type="ProfileHandle_DataType"/> │
│ </xsd:sequence> │
│ </xsd:complexType> │
│ </xsd:element> │
└──────────────────────────────────────────────────────────────────────────────────────────────────────┘
Рисунок 9. Раздел тела схемы XML общего шаблона AIP
7.3.2. Профиль процессов
Профиль процессов является записью "встроенного" (исходного) состояния процессов, устанавливаемой интеграционной моделью процессов.
Профиль процессов представляет собой документ XML, содержащий "встроенную" информацию и/или ссылки на базовую спецификацию, содержащую "встроенную" информацию, примерами которой являются:
- связанная интеграционная модель процессов;
- инструкции оператора (например, описание лицевой панели, иерархия экранных меню HMI);
- технологические операции (например, набор команд для пивоварения, последовательность сборки двигателей, диаграммы трубопроводов и измерительной аппаратуры);
- диаграммы коммуникационных сетей (например, топологии или конфигурации сети).
Примечание. Диаграммы коммуникационных сетей могут быть также включены в профиль ресурсов;
- спецификации на проведение испытаний и результаты испытаний (например, утверждение FDA, приемочные испытания заказчика);
- программное обеспечение (например, исполняемый код, документация по программному обеспечению);
- процедуры технического обслуживания (например, технологический маршрут смазки, мониторинг вибраций);
- информация о типе продукции (например, номер модели двигателя, идентификация партии);
- информация о качестве (например, по использованию установки).
Раздел заголовка схемы XML общего шаблона профилей процессов приведен на
рисунке 6.
Примечание. Настоящий стандарт не устанавливает требований к содержанию элемента ProfileBody схемы XML общего шаблона профилей процессов.
7.3.3. Профиль обмена информацией
Профиль обмена информацией является записью "встроенного" состояния обмена информацией, устанавливаемой интеграционной моделью обмена информацией.
Профиль обмена информацией представляет собой документ XML, содержащий "встроенную" информацию и/или ссылки на основные спецификации, которые содержат "встроенную" информацию. Примерами такой информации являются:
- ссылки на форматы для типов данных (например, МЭК 61131-3, МЭК 61158-5);
- ссылки на форматы для обмена данными (например, МЭК 61158-3 - МЭК 61158-6);
- ссылки на форматы воспроизведения данных (например, используемый язык ИСО 10646);
- ссылки на форматы хранения данных (например, XML, ASCII);
- функциональные блоки (например, МЭК 61499, МЭК 61804);
- системная программа для программируемых контроллеров (например, МЭК 61131-3);
- наименование языка для определения интерфейсов (например, CORBA).
Раздел заголовка схемы XML общего шаблона профиля обмена информацией приведен на
рисунке 6.
Примечание. Настоящий стандарт не устанавливает требований к содержанию элемента ProfileBody схемы XML общего шаблона профилей обмена информацией.
7.3.4. Профиль ресурсов
7.3.4.1. Общие положения
Компоненты автоматизированной системы для специального типа прикладных систем и отношения между компонентами следует описывать с использованием профиля ресурсов, приведенного на рисунке 10. Каждая компонента профиля ресурсов должна быть разработана с использованием интерфейсов IAS между ресурсами, идентифицированными в каждой связанной модели ресурсов.
Рисунок 10. Диаграмма общего класса профиля ресурсов
Профиль ресурсов является документом XML, содержащим информацию об отношениях между компонентами профиля ресурсов. Он также может содержать общую информацию, такую как диаграммы коммуникационных сетей (например, информацию по топологии сети, конфигурации сети).
Примечание. Диаграммы коммуникационных сетей также могут быть включены в профиль процессов.
Раздел заголовка схемы XML общего шаблона профиля ресурсов приведен на
рисунке 6.
Раздел тела схемы XML общего шаблона профиля ресурсов показан на
рисунке 11.
┌──────────────────────────────────────────────────────────────────────────────────────────────────────┐
│ <xsd:element name="ProfileBody"> │
│ <xsd:complexType> │
│ <xsd:sequence> │
│ <xsd:element name="DeviceProfileHandle" minOccurs="1" maxOccurs="unbounded" │
│ type="ProfileHandle_DataType"/> │
│ <xsd:element name="CommNetworkProfileHandle" minOccurs="0" │
│ maxOccurs-"unbounded" type="ProfileHandle_DataType"/> │
│ <xsd:element name="EquipmentProfileHandle" minOccurs="0" maxOccurs="unbounded" │
│ type="ProfileHandle_DataType"/> │
│ <xsd:element name="HumanProfileHandle" minOccurs="0" maxOccurs="unbounded" │
│ type="ProfileHandle_DataType"/> │
│ <xsd:element name="MaterialProfileHandle" minOccurs="0" maxOccurs="unbounded" │
│ type="ProfileHandle_DataType"/> │
│ </xsd:sequence> │
│ </xsd:complexType> │
│ </xsd:element> │
└──────────────────────────────────────────────────────────────────────────────────────────────────────┘
Рисунок 11. Раздел тела схемы XML общего шаблона
профиля ресурсов
7.3.4.2. Профили приборов
7.3.4.2.1. Общие положения
Профили для существующих приборов разрабатывают на основе соответствующих спецификаций приборов.
Профили приборов, устанавливающие требования к интерфейсам между прибором и другими ресурсами (включая другие приборы), могут быть получены с помощью интеграционной модели приборов.
Разработчик AIP должен форматировать профиль приборов, устанавливающий требования к интерфейсам с помощью того же шаблона XML, который применялся при форматировании профиля приборов для существующих приборов; оценка этих двух профилей (оба в формате XML) позволяет определить соответствие прибора требованиям, предъявляемым к интегрированию приборов.
Если прибор соответствует требованиям к интегрированию приборов, то его можно использовать в прикладной системе. В противном случае следует использовать другой прибор либо должны быть внесены изменения в требования к интегрированию прибора (например, должна использоваться комбинация приборов), либо может быть разработан новый прибор, соответствующий требованиям, указанным выше.
Структура общего профиля приборов изображена на рисунке 12. Технологические специальные шаблоны профилей устройств, установленные в ИСО 15745-2 - ИСО 15745-4, основаны на данной структуре общего профиля приборов и могут расширять ее для согласования с унаследованными системами.
Рисунок 12. Диаграмма класса общего профиля приборов
Раздел заголовка схемы XML общего шаблона профиля приборов приведен на
рисунке 6.
Раздел тела схемы XML общего шаблона профиля приборов приведен на
рисунке 13.
┌──────────────────────────────────────────────────────────────────────────────────────────────────────┐
│ <xsd:element name="ProfileBody"> │
│ <xsd:complexType> │
│ <xsd:sequence> │
│ <xsd:element ref="DeviceIdentity" minOccurs="0" maxOccurs="1"/> │
│ <xsd:element ref="DeviceManager" minOccurs="0" maxOccurs="1"/> │
│ <xsd:element ref="DeviceFunction" minOccurs="1" maxOccurs="unbounded"/> │
│ <xsd:element ref="ApplicationProcess" minOccurs="0" maxOccurs="unbounded"/> │
│ <xsd:element name="ExternalProfileHandle" type="ProfileHandle_DataType" │
│ minOccurs="0" │
│ maxOccurs="unbounded"/> │
│ </xsd:sequence> │
│ </xsd:complexType> │
│ </xsd:element> │
└──────────────────────────────────────────────────────────────────────────────────────────────────────┘
Рисунок 13. Раздел тела схемы XML общего шаблона
профиля приборов
Примечание. Дополнительный элемент ExternalProfileHandle, приведенный на рисунке 13, позволяет обратиться к внешним данным, не являющимся XML-данными. Элементы ProfileIdentification, ProfileRevision и ProfileLocation ProfileHandle_DataType относятся к файлу внешних данных, не являющихся XML-данными. Это может быть использовано в унаследованных системах, экспортируемых в XML.
7.3.4.2.2. Идентичность приборов
Объект идентичности приборов содержит атрибуты, однозначно идентифицирующие прибор. Примерами таких атрибутов являются идентификация изготовителя, номер детали, модификация, место хранения дополнительной информации и указатель числа и типов дополнительных объектов в приборе.
7.3.4.2.3. Управление приборами
Объект управления приборами (устройствами) определяет набор атрибутов (например, модификацию объекта идентичности приборов) и услуг (например, сброс, режим конфигурирования/прогона, поиск атрибутов объекта управления приборами), используемых для мониторинга прибора, интегрированного в прикладную систему.
7.3.4.2.4. Функция приборов
Объект функции приборов описывает внутреннюю функцию прибора на основе его технологии (например, механический концевой выключатель, бесконтактный датчик, ультразвуковой датчик). Объект функции прибора отличает технологию прибора от его применения. Примерами объектов функции прибора являются аналоговый входной ток в миллиамперах и дискретное выходное напряжение в вольтах.
7.3.4.2.5. Прикладной процесс
Объект прикладного процесса представляет собой набор атрибутов и услуг, соответствующих установленным требованиям, вводимым в атрибуты, и услуги связанного профиля процессов. Следовательно, объект прикладного процесса описывает поведение прибора в соответствии с его применением независимо от технологии.
Пример. Примером объекта прикладного процесса является раздел кода прибора, который обнаруживает, подтверждает и сообщает о присутствии (или отсутствии) детали независимо от технологии используемого прибора. Инфракрасный фотоэлектрический датчик, бесконтактный емкостный переключатель или пьезоэлектрический прибор, измеряющий давление, могут соответствовать требованиям, установленным одним и тем же объектом прикладного процесса.
Простой прибор может содержать один объект прикладного процесса. Сложный прибор может состоять из одного или нескольких объектов прикладных процессов. В распределенной системе один объект прикладного процесса может охватывать ряд приборов.
7.3.4.3. Профили коммуникационных сетей
7.3.4.3.1. Общие положения
Профили коммуникационных сетей для существующих сетевых приборов разрабатывают на основе соответствующих спецификаций коммуникационных сетей.
Пример. Примерами типов приборов с профилями сетевых приборов являются программируемые контроллеры, персональные компьютеры, приводы, стартеры двигателей, блочные модули ввода/вывода, концевые выключатели и пьезоэлектрические переключатели.
Профили коммуникационных сетей, устанавливающие требования к интерфейсам между коммуникационной сетью и другими ресурсами (включая другие коммуникационные сети), могут быть определены с помощью интеграционной модели коммуникационных сетей.
Разработчик AIP должен форматировать профиль коммуникационных сетей, устанавливающий требования к интерфейсам с помощью того же шаблона XML, который применялся при форматировании профиля коммуникационных сетей для существующих приборов; оценка этих двух профилей (оба в формате XML) позволяет проверить соответствие конфигурации коммуникационных сетей требованиям, предъявляемым к интеграции коммуникационных сетей.
Если конфигурация коммуникационной сети соответствует требованиям к интеграции коммуникационных сетей, ее также можно использовать для прикладных систем. В противном случае следует либо использовать другую коммуникационную сеть, либо должны быть внесены изменения в требования к интеграции коммуникационных сетей (например, должна использоваться комбинация коммуникационных сетей), либо может быть разработана новая коммуникационная сеть, соответствующая требованиям к интеграции коммуникационных сетей.
Структура общего профиля коммуникационной сети, основанная на эталонной модели OSI, определенной в ИСО/МЭК 7498, изображена на рисунке 14. Технологические специальные шаблоны профилей коммуникационных сетей, установленные в ИСО 15745-2 - ИСО 15745-4, основаны либо на этой структуре общего профиля коммуникационных сетей, либо на эталонных внешних данных для согласования с унаследованными системами.
Рисунок 14. Диаграмма класса общего профиля
коммуникационных сетей
Раздел заголовка схемы XML общего шаблона профиля коммуникационных сетей приведен на
рисунке 6.
Раздел тела схемы XML, представляющий общий шаблон профиля коммуникационных сетей, приведен на
рисунке 15.
┌──────────────────────────────────────────────────────────────────────────────────────────────────────┐
│ <xsd:element name="ProfileBody"> │
│ <xsd:complexType> │
│ <xsd:choice> │
│ <xsd:sequence> │
│ <xsd:element ref="ApplicationLayers"/> │
│ <xsd:element ref="TransportLayers"/> │
│ <xsd:element ref="NetworkManagement" minOccurs="0" maxOccurs="1"/> │
│ </xsd:sequence> │
│ <xsd:element name="ExternalProfileHandle" type="ProfileHandle_DataType"/> │
│ </xsd:choice> │
│ </xsd:complexType> │
│ </xsd:element> │
└──────────────────────────────────────────────────────────────────────────────────────────────────────┘
Рисунок 15. Раздел тела схемы XML общего шаблона профиля
коммуникационных сетей
Примечание. Альтернативный элемент ExternalProfileHandle, приведенный на рисунке 15, позволяет обратиться к внешним данным, не являющимся XML-данными. Элементы ProfileIdentification, ProfileRevision и ProfileLocation ProfileHandle_DataType относятся к файлу внешних данных, не являющихся XML-данными. Это может быть использовано унаследованными системами, экспортируемыми в XML.
7.3.4.3.2. Прикладные уровни
Объект прикладных уровней представляет собой уровни 5 - 7 OSI ("Сессия", "Представление", "Прикладная система") согласно определению, приведенному в ИСО/МЭК 7498-1.
7.3.4.3.3. Транспортные уровни
Объект транспортных уровней представляет собой уровни 1 - 4 OSI ("Физический", "Канал передачи данных", "Сеть", "Транспорт") согласно определению, приведенному в ИСО/МЭК 7498-1.
7.3.4.3.4. Управление сетью
Объект управления сетью представляет собой следующие функциональные области управления сетью (см. ИСО/МЭК 7498-4):
- защита от ошибок и неисправностей;
- управление конфигурированием;
- управление производительностью.
Также должны быть рассмотрены следующие функции управления сетью:
- управление безопасностью (см. ИСО/МЭК 7498-4);
- надежность (см. ИСО/МЭК 61069-1).
7.3.4.4. Профиль оборудования
Профили для существующего оборудования разрабатывают на основе соответствующих спецификаций оборудования.
Профили оборудования, устанавливающие требования к интерфейсам между оборудованием и другими ресурсами (включая другое оборудование), могут быть определены с помощью интеграционной модели оборудования.
Разработчик AIP должен форматировать профиль оборудования, устанавливающий требования к интерфейсам, с помощью того же шаблона XML, который применялся при форматировании профиля для существующего оборудования; оценка этих двух профилей (оба в формате XML) позволяет проверить соответствие оборудования требованиям, предъявляемым к интеграции оборудования.
Если оборудование соответствует требованиям к интеграции оборудования, то его можно использовать в прикладной системе. В противном случае должна быть рассмотрена либо другая часть оборудования, либо в требования к интеграции оборудования должны быть внесены изменения (например, используя комбинацию оборудования), либо может быть разработано новое оборудование, соответствующее требованиям к интеграции оборудования.
Раздел заголовка схемы XML общего шаблона профиля оборудования приведен на
рисунке 6.
Примечание. Настоящий стандарт не устанавливает требований к содержанию элемента ProfileBody схемы XML общего шаблона профиля оборудования.
7.3.4.5. Человеческий профиль
Человеческие профили разрабатывают на основе соответствующих рабочих спецификаций.
Человеческие профили, представляющие требования к интерфейсам между человеком и другими ресурсами (включая других людей), могут быть определены с помощью интеграционной модели людей.
Разработчик AIP должен форматировать человеческий профиль, устанавливающий требования к интерфейсам с помощью того же шаблона XML, который применялся при форматировании человеческого профиля под конкретного сотрудника организации. Оценка этих двух профилей (оба в формате XML) позволяет проверить конкретного сотрудника на соответствие требованиям, предъявляемым к интеграции людей.
Если человек соответствует требованиям к интеграции людей, то его можно использовать для прикладной системы. В противном случае должен быть рассмотрен другой человек, либо должны быть внесены изменения в требования к интеграции людей (например, путем объединения людей для выполнения задачи), либо имеющийся человек может пройти подготовку, чтобы соответствовать требованиям к интеграции людей.
Раздел заголовка схемы XML общего шаблона человеческого профиля приведен на
рисунке 6.
Примечание. Настоящий стандарт не устанавливает требований к содержанию элемента ProfileBody схемы XML общего шаблона человеческого профиля.
7.3.4.6. Профиль материалов
Профили для существующих материалов разрабатывают на основе соответствующих спецификаций материалов.
Профили материалов, представляющие собой требования к интерфейсам между материалом и другими ресурсами (включая другие материалы), могут быть определены с помощью интеграционной модели материалов.
Пример. Примером спецификаций интерфейса, на которые может быть приведена ссылка в профиле материалов, являются спецификации обмена данными по продукции в ИСО 10303.
Разработчик AIP должен форматировать профиль материалов, представляющий собой требования к интерфейсам с помощью того же шаблона XML, который применялся при форматировании профиля материалов для существующего материала; оценка этих двух профилей (оба в формате XML) позволяет проверить соответствие материала требованиям, предъявляемым к интеграции материалов.
Если материал соответствует требованиям к интеграции материалов, его можно использовать в прикладной системе. В противном случае должен быть рассмотрен либо другой материал, либо должны быть внесены изменения в требования к интеграции материалов (например, путем комбинации разных материалов), либо может быть разработан новый материал, соответствующий требованиям к интеграции материалов.
Раздел заголовка схемы XML общего шаблона профиля материалов приведен на
рисунке 6.
Примечание. Настоящий стандарт не устанавливает требований к содержанию элемента ProfileBody схемы XML общего шаблона профиля материалов.
7.4. Контейнер с профилями
7.4.1. Структура
Для облегчения перемещения профилей программными средствами иногда может оказаться полезным скомбинировать несколько профилей в одном файле XML. Если используется такой файл XML, то он должен конструироваться, как показано на рисунке 16.
Рисунок 16. Диаграмма класса контейнера
с профилями ИСО 15745
Примечание. Объединение нескольких профилей в одном файле XML не оказывает влияния на схемы связанных профилей, которые определяются как отдельные объекты.
7.4.2. Сигнатура целостности (элемент сигнатуры)
Элемент сигнатуры, описанный в
7.2.4, может также использоваться с контейнером профилей.
Соответствующий элемент сигнатуры должен быть последним дочерним элементом корневого элемента (элемент ISO15745ProfileContainer), как представлено на
рисунке 17.
┌──────────────────────────────────────────────────────────────────────────────────────────────────────┐
│ <?xml version="1.0" encoding="UTF-8"?> │
│ <xsd:schema xmlns:xsd="http://www.w3.org/2001/XMLSchema" │
│ xmlns:ds="http://www.w3.org/2000/09/xmldsig#"> │
│ <xsd:import namespace="http://www.w3.org/2000/09/xmldsig#" │
│ schemaLocation="xmldsig-core-schema.xsd"/> │
│ │
│ <!-- Target namespaces are not specified in this master template --> │
│ <xsd:element name="ISO15745ProfileContainer"> │
│ <xsd:complexType> │
│ <xsd:sequence> │
│ <xsd:element ref="ISO15745Profile" minOccurs="1" maxOccurs="unbounded"/> │
│ <xsd:element name="Signature" type="ds:SignatureType" minOccurs="0" │
│ maxOccurs="1"/> │
│ </xsd:sequence> │
│ </xsd:complexType> │
│ </xsd:element> │
│ </xsd:schema> │
└──────────────────────────────────────────────────────────────────────────────────────────────────────┘
Рисунок 17. Схема XML шаблона контейнера профилей
Если элемент ISO15745ProfileContainer строится из отдельного элемента ISO15745Profile, основанного на профилях, которые уже включают элементы сигнатуры, то содержимое этих отдельных элементов сигнатуры должно трактоваться как и в случае любых других элементов с использованием общего процесса проверки целостности.
7.4.3. Представление XML
Элемент ISO15745ProfileContainer должен использоваться как контейнер для элементов профиля ISO15745Profile. Скелетная схема XML для шаблона контейнера профилей (см.
рисунок 17) получается из схемы XML основного шаблона профилей, показанной на
рисунке 6.
Шаблоны профилей, основанные на схеме XML шаблона контейнера профилей (см.
рисунок 17), должны определять составной (агрегированный) тип данных, получаемых из абстрактного типа данных ProfileBody_DataType, используемый как шаблон для тела профиля. Пример такого определения и его использования в файле XML показан на
рисунке 18.
┌──────────────────────────────────────────────────────────────────────────────────────────────────────┐
│ <xsd:complexType name="ProfileBody_Device_MyFieldbus"> │
│ <xsd:complexContent> │
│ <xsd:extension base="ProfileBody_DataType"> │
│ <xsd:sequence> │
│ <xsd:element ref="DeviceIdentity" minOccurs="0" maxOccurs="1"/> │
│ <xsd:element ref="DeviceManager" minOccurs="0" maxOccurs="1"/> │
│ <xsd:element ref="DeviceFunction" minOccurs="1" maxOccurs="unbounded"/> │
│ <xsd:element ref="ApplicationProcess" minOccurs="0" maxOccurs="unbounded"/> │
│ <xsd:element name="ExternalProfileHandle" type="ProfileHandle_DataType" │
│ minOccurs="0" maxOccurs="unbounded"/> │
│ </xsd:sequence> │
│ </xsd:extension> │
│ </xsd:complexContent> │
│ </xsd:complexType> │
│ │
│ Содержание профиля XML: │
│ │
│ <ProfileBody xsi:type="ProfileBody_Device_MyFieldbus"> │
│ <DeviceIdentity/> │
│ <DeviceManager/> │
│ <DeviceFunction/> │
│ <ApplicationProcess/> │
│ <ApplicationProcess/> │
│ </ProfileBody> │
└──────────────────────────────────────────────────────────────────────────────────────────────────────┘
Рисунок 18. Пример определения типа тела профилей
7.4.4. Схема имен для типов тела профилей
Имена для типов тела профилей должны иметь следующий вид (элементы имен разделяются символом подчеркивания "_"):
ProfileBody_ProfileClassID_[ProfileTechnology][_FurtherDescription], где:
- элемент ProfileBody - строка "ProfileBody";
- элемент ProfileClassID - строка, как определено в
таблице 1;
- элемент ProfileTechnology (дополнительный) - имя, связанное со ссылочной технологией, как установлено в соответствующей части ИСО 15745 (если технология ИСО 15745 неприменима, тогда поле должно быть пустым);
- элемент FurtherDescription (дополнительный) содержит дополнительную описательную информацию, которая помогает идентифицировать тип тела профилей.
Имя типа тела профилей, как минимум, должно включать один из двух дополнительных элементов (элемент ProfileTechnology или элемент FurtherDescription).
Пример 1. Имя типа элемента профиля со всеми полями: ProfileBody_Device_MyFieldbus_ DeviceProfileForMyFieldbus.
Пример 2. Имя типа тела профиля без FurtherDescription (дополнительного описания): ProfileBody_Device_MyFieldbus.
Пример 3. Имя типа тела профиля без ProfileTechnology (элемент FurtherDescription далее предшествует символу двойного подчеркивания): ProfileBody_EquipmentBottleConveyor.
Разработчики AIP должны обеспечить соответствие интеграционных моделей, шаблонов профилей и/или профилей (разработанных и/или используемых) требованиям, установленным в соответствующих частях ИСО 15745.
(справочное)
ТЕРМИНОЛОГИЯ И НОТАЦИЯ UML
A.1. Общая часть
В настоящем Приложении приведены термины и нотация UML, используемые в настоящем стандарте.
A.2. Диаграммы UML
A.2.1. Диаграмма прецедентов
Диаграмма прецедентов представляет отношения между актерами (см.
3.2) и прецедентами (см.
3.35) в системе.
A.2.2. Диаграмма классов
Диаграмма классов представляет статическую структуру системы - классы, их содержание и отношения.
A.2.3. Диаграммы поведения
A.2.3.1. Диаграмма состояний
Диаграмма состояний представляет поведение объекта - отношения между разными состояниями объекта и то, как объект реагирует на события.
A.2.3.2. Диаграмма деятельности
Диаграмма деятельности является особым случаем диаграммы состояний, в которой все или большинство переходов инициируются завершением предыдущего состояния, то есть управление потоками деятельности осуществляется путем внутренней обработки данных, что является противоположностью внешним событиям.
A.2.3.3. Диаграммы взаимодействия
A.2.3.3.1. Диаграмма последовательностей действий
Диаграмма последовательностей действий представляет взаимодействия объектов, расположенные во временной последовательности. В частности, она представляет объекты, принимающие участие во взаимодействии, и последовательность обмена сообщениями.
Примечание 1. В отличие от диаграммы сотрудничества диаграмма включает последовательность действий, а не отношения объектов.
Примечание 2. Диаграммы последовательностей действий и диаграммы сотрудничества используют одинаковую информацию, но представляют ее разными способами.
A.2.3.3.2. Диаграмма кооперации
Диаграмма кооперации представляет взаимодействия и отношения между объектами.
Примечание. В отличие от диаграммы последовательностей действий диаграмма кооперации представляет отношения между объектами, а не последовательность действий.
A.2.4. Диаграммы реализации
A.2.4.1. Диаграмма компонентов
Диаграмма компонентов представляет организации и зависимость компонентов (физических частей системы).
A.2.4.2. Диаграмма развертывания
Диаграмма развертывания представляет организацию ресурсов обработки (топологию аппаратных средств) и связь программного обеспечения с разными ресурсами.
A.3. Нотация UML
Нотацию, приведенную в таблице A.1, используют в UML, диаграммах классов (см.
раздел 7), диаграммах компонентов UML и диаграммах развертывания UML (см.
Приложение B).
Таблица A.1
Нотация UML
Обозначение | Описание |
| Класс (см. 3.7) - используют в диаграммах классов. Настоящий стандарт не распространяется на атрибуты классов и операций |
| Определяет отношение между двумя элементами модели |
| Специфический элемент (иногда называемый "ребенком" или подклассом) имеет атрибуты и операции, соответствующие общему элементу (иногда называемому "родителем" или суперклассом). Полый треугольник указывает на общий элемент |
| Агрегат состоит из частей компонентов. Полый ромб вплотную подходит к агрегированному классу |
| Зависимость. Элемент модели, находящийся в начале стрелки (клиент), зависит от элемента модели, расположенного на острие стрелки (поставщик) |
| Исключающее ИЛИ. Исключающее ИЛИ (неисключающее ИЛИ) устанавливает ограничение между одной или несколькими ассоциациями |
| Примечание. Содержит текстовую информацию |
| Компонент - используют в диаграммах компонентов. Физическая часть системы (например, системная программа), расположенная на узле |
| Узел - используют в диаграммах развертывания. Физический объект, представляющий собой ресурс обработки, обладающий как минимум памятью, а также возможностью обработки |
(справочное)
ТИПЫ ИНТЕРФЕЙСОВ ПРОМЫШЛЕННЫХ АВТОМАТИЗИРОВАННЫХ СИСТЕМ
B.1. Типы интерфейсов IAS (ИСО/МЭК ТО 14252)
Следующие типы интерфейсов IAS определены в ИСО/МЭК ТО 14252 и приведены в настоящем Приложении для информации:
- интерфейс прикладной программы; API - интерфейс между прикладным программным обеспечением и прикладной платформой, через который предоставляются все услуги;
- интерфейс услуг связи; CSI - граница, через которую предоставляется доступ к услугам по взаимодействию между внутренними объектами прикладного программного обеспечения и внешними объектами прикладной платформы;
- интерфейс человек - компьютер; HCI - граница, через которую происходит физическое взаимодействие человека и прикладной платформы;
- интерфейс информационных услуг; ISI - граница, через которую предоставляются внешние постоянные услуги по хранению информации.
B.2. Типы интерфейсов IAS (ИСО 15745)
В настоящем разделе приведены определения следующих типов интерфейсов IAS:
- интерфейс управления конфигурацией; CMI - интерфейс между автоматизированной системой и провайдером услуг по конфигурированию системы.
Пример 1. Автоматизированная система, обеспечивающая средства для динамического переконфигурирования, может использовать CMI для управления конфигурацией и соединениями системы и/или для внесения в них изменений. Например, система, поддерживающая данный тип интерфейса, может заменять компонент B на компонент C.
Рисунок B.1. Пример диаграммы компонентов CMI
- интерфейс технической поддержки; ESI - интерфейс между автоматизированной системой и внешней системой, обеспечивающей поддержку проектных работ, документацию, диагностику и функции моделирования.
Пример 2. Автоматизированная система поддержки исполнения программ, имеющая интерфейс для репозитория информации, которая документирует "установленное" или "введенное" состояние системы.
Рисунок B.2. Пример диаграммы развертывания ESI
- интерфейс обслуживания оборудования; FSI - интерфейс между автоматизированной системой и внешней системой, предоставляющей услуги (например, нагрев, вентиляцию, кондиционирование воздуха, управление допуском и безопасность) в системе.
Пример 3. Автоматизированная система имеет интерфейс системы нагрева воды.
Рисунок B.3. Пример диаграммы развертывания FSI
- интерфейс транспортирования материалов; MTI - интерфейс, через который действия по транспортированию материалов между производственной инфраструктурой и автоматизированным оборудованием могут быть абстрагированы.
Пример 4. Автоматизированная система, связанная интерфейсом с роботом, выполняющим задачу переноса детали от механического станка и размещения ее на конвейере. Интерфейс MTI может устанавливать требования, например число деталей в час, ограничения на размеры и т.д.
Рисунок B.4. Диаграммы развертывания MTI
- интерфейс безопасности и среды; SEI - интерфейс между автоматизированной системой и внешней системой, обеспечивающей услуги по управлению безопасностью и средой.
Пример 5. Автоматизированная система, связанная интерфейсом с системой ограждения по периметру, предотвращающей проникновение в опасную зону производственной системы.
Рисунок B.5. Пример диаграммы развертывания SEI
- интерфейс коммунальных услуг; USI - интерфейс, через который энергия (электрическая, механическая, энергия жидкости и т.д.) передается от источника энергии к автоматизированной системе.
Пример 6. Автоматизированная система, связанная интерфейсом с источником электроэнергии. Интерфейс USI может устанавливать требования, например к регулировке напряжения и согласованию устройств, току, времени безотказной работы и т.д.
Рисунок B.6. Пример диаграммы развертывания USI
B.3. Типы интерфейсов IAS, определяемые пользователями
Если ни один из типов интерфейсов IAS, приведенных выше, неприменим, пользователи могут определить собственные типы интерфейсов IAS вместе с алфавитно-цифровым именем, состоящим из четырех знаков.
(справочное)
СВЕДЕНИЯ О СООТВЕТСТВИИ ССЫЛОЧНЫХ МЕЖДУНАРОДНЫХ СТАНДАРТОВ
НАЦИОНАЛЬНЫМ СТАНДАРТАМ РОССИЙСКОЙ ФЕДЕРАЦИИ
Таблица ДА.1
Обозначение ссылочного международного стандарта | Степень соответствия | Обозначение и наименование соответствующего национального стандарта |
ИСО/МЭК 7498-1:1994 | IDT | ГОСТ Р ИСО/МЭК 7498-1-99 "Информационная технология. Взаимосвязь открытых систем. Базовая эталонная модель. Часть 1. Базовая модель" |
ИСО/МЭК 7498-4:1989 | IDT | ГОСТ Р ИСО/МЭК 7498-4-99 "Информационная технология. Взаимосвязь открытых систем. Базовая эталонная модель. Часть 4. Основы административного управления" |
|
|
МЭК 61069-1:1991 | IDT | ГОСТ Р МЭК 61069-1-2012 "Измерение и управление промышленным процессом. Определение свойств системы с целью ее оценки. Часть 1. Общие подходы и методология" |
Примечание. В настоящей таблице использовано следующее условное обозначение степени соответствия стандартов: - IDT - идентичные стандарты. |
[1] | ИСО 8879 | Обработка информации. Текстовые и офисные системы. Стандартный язык обобщенной разметки (SMGL) |
| (ISO 8879) | (Information processing - Text and office systems - Standard Generalized Markup Language (SGML)) |
[2] | ИСО/МЭК ТР 10000 | Информационные технологии. Основы и таксономия международных стандартизованных профилей |
| (ISO/IEC TR 10000) | (Information technology - Framework and taxonomy of International Standardized Profiles - Part 1: General principles and documentation framework) |
[3] | ИСО/МЭК 10646 (все части) | Информационные технологии. Универсальный многооктетный кодированный набор символов (UCS) |
| (ISO/IEC 10646 (all parts)) | (Information technology - Universal Multiple-Octet Coded Character Set (UCS)) |
[4] | ИСО/МЭК 10746 | Информационные технологии. Открытая распределенная обработка. Эталонная модель |
| (ISO/IEC 10746) | (Information technology - Open Distributed Processing - Reference Model: Overview) |
[5] | ИСО/МЭК ТО 14252 | Информационные технологии. Руководство для среды открытой системы POSIX |
| (ISO/IEC TR 14252) | (Information technology - Guide to the POSIX Open System Environment (OSE)) |
[6] | ИСО 15704 | Промышленные автоматизированные системы. Требования к архитектуре эталонных предприятий и методологии |
| (ISO 15704) | (Industrial automation systems - Requirements for enterprise-reference architectures and methodologies) |
[7] | МЭК 61131-3 | Контроллеры программируемые. Часть 3. Языки программирования |
| (IEC 61131-3) | (Programmable controllers - Part 3: Programming languages) |
[8] | МЭК 61158 (все части) | Передача цифровых данных для измерения и управления. Полевая шина для систем автоматического регулирования и управления технологическими процессами |
| (IEC 61158 (all parts)) | (Digital data communications for measurement and control - Fieldbus for use in industrial control systems) |
[9] | МЭК/PAS 61499 (все части) | Блоки функциональные |
| (IEC/PAS 61499 (all parts)) | (Function blocks for industrial-process measurement and control systems) |
[10] | МЭК 61804 (все части) | Блоки функциональные для управления процессами |
| (IEC 61804 (all parts)) | (Function blocks for process control) |
[11] | МЭК ТС 61915 | Комплектные распределительные устройства низковольтные. Принципы разработки приборных профилей для сетевых промышленных устройств |
| (IEC TS 61915) | (Low-voltage switchgear and controlgear - Representation of networked industrial devices) |