Главная // Актуальные документы // ГОСТ Р (Государственный стандарт)СПРАВКА
Источник публикации
М.: Стандартинформ, 2015
Примечание к документу
Документ
введен в действие с 01.12.2015.
Название документа
"ГОСТ Р ИСО 12219-1-2014. Национальный стандарт Российской Федерации. Воздух внутреннего пространства автотранспортных средств. Часть 1. Камера для испытания автотранспортного средства. Технические требования и условия испытания для определения летучих органических соединений в воздухе салона"
(утв. и введен в действие Приказом Росстандарта от 11.11.2014 N 1552-ст)
"ГОСТ Р ИСО 12219-1-2014. Национальный стандарт Российской Федерации. Воздух внутреннего пространства автотранспортных средств. Часть 1. Камера для испытания автотранспортного средства. Технические требования и условия испытания для определения летучих органических соединений в воздухе салона"
(утв. и введен в действие Приказом Росстандарта от 11.11.2014 N 1552-ст)
Утвержден и введен в действие
по техническому регулированию
и метрологии
от 11 ноября 2014 г. N 1552-ст
НАЦИОНАЛЬНЫЙ СТАНДАРТ РОССИЙСКОЙ ФЕДЕРАЦИИ
ВОЗДУХ ВНУТРЕННЕГО ПРОСТРАНСТВА АВТОТРАНСПОРТНЫХ СРЕДСТВ
ЧАСТЬ 1
КАМЕРА ДЛЯ ИСПЫТАНИЯ АВТОТРАНСПОРТНОГО СРЕДСТВА
ТЕХНИЧЕСКИЕ ТРЕБОВАНИЯ И УСЛОВИЯ ИСПЫТАНИЯ ДЛЯ ОПРЕДЕЛЕНИЯ
ЛЕТУЧИХ ОРГАНИЧЕСКИХ СОЕДИНЕНИЙ В ВОЗДУХЕ САЛОНА
Interior air of road vehicles. Part 1. Whole vehicle test
chamber. Specification and method for the determination
of volatile organic compounds in cabin interiors
ISO 12219-1:2012
Interior air of road vehicles - Part 1: Whole vehicle test
chamber - Specification and method for the determination
of volatile organic compounds in cabin interiors
(IDT)
ГОСТ Р ИСО 12219-1-2014
Дата введения
1 декабря 2015 года
1 ПОДГОТОВЛЕН Открытым акционерным обществом "Научно-исследовательский центр контроля и диагностики технических систем" (АО "НИЦ КД") на основе собственного аутентичного перевода стандарта, указанного в
пункте 4
2 ВНЕСЕН Техническим комитетом по стандартизации ТК 457 "Качество воздуха"
3 УТВЕРЖДЕН И ВВЕДЕН В ДЕЙСТВИЕ
Приказом Федерального агентства по техническому регулированию и метрологии от 11 ноября 2014 г. N 1552-ст
4 Настоящий стандарт идентичен международному стандарту ИСО 12219-1:2012 "Воздух внутреннего пространства автотранспортных средств. Часть 1. Камера для испытания автотранспортного средства. Технические требования и условия испытания для определения летучих органических соединений в воздухе салона" (ISO 12219-1:2012 "Interior air of road vehicles - Part 1: Whole vehicle test chamber - Specification and method for the determination of volatile organic compounds in cabin interiors").
При применении настоящего стандарта рекомендуется использовать вместо ссылочных международных стандартов соответствующие им национальные стандарты Российской Федерации, сведения о которых приведены в дополнительном
приложении ДА
5 ВВЕДЕН ВПЕРВЫЕ
Правила применения настоящего стандарта установлены в ГОСТ Р 1.0-2012 (раздел 8). Информация об изменениях к настоящему стандарту публикуется в ежегодном (по состоянию на 1 января текущего года) информационном указателе "Национальные стандарты", а официальный текст изменений и поправок - в ежемесячном информационном указателе "Национальные стандарты". В случае пересмотра (замены) или отмены настоящего стандарта соответствующее уведомление будет опубликовано в ближайшем выпуске информационного указателя "Национальные стандарты". Соответствующая информация, уведомление и тексты размещаются также в информационной системе общего пользования - на официальном сайте Федерального агентства по техническому регулированию и метрологии в сети Интернет (gost.ru)
Летучие органические соединения (ЛОС) широко применяются в промышленности, а также их могут выделять изделия и материалы ежедневного пользования. В последние годы изучение ЛОС связано с их отрицательным влиянием на качество воздуха замкнутых помещений. Помимо домов и рабочих мест люди длительное время проводят в своих автотранспортных средствах (АТС). В связи с этим важно определять выделение ЛОС материалами внутренней отделки салона и при необходимости снижать их содержание до приемлемого уровня. Таким образом, необходимо получить исчерпывающую и надежную информацию о качественном составе ЛОС, находящихся в воздухе салонов АТС, а также об их содержании.
В настоящем стандарте установлен метод определения качественного состава и уровней содержания ЛОС в воздухе салона автотранспортного средства при контролируемых условиях. Приведены требования к испытательной камере и протоколу испытаний. Измерения проводят в соответствии с ИСО 16000-6 для ЛОС и в соответствии с ИСО 16000-3 - для карбонильных соединений.
В тексте настоящего стандарта указаны ссылки например см.
[2],
[3] на некоторые другие методы испытаний для определения качества воздуха внутри транспортного средства, применяемые на национальном уровне. Однако при применении метода, установленного в настоящем стандарте, необходима стационарная нагревающая система, тогда как в методах, приведенных в
[2],
[3], применяют фиксированную температурную программу.
Перед установкой фиксированной плотности излучения для нагрева испытуемого АТС, были проведены проверочные испытания (см.
[1]).
Методы количественного определения содержания ЛОС установлены также в ИСО 16000-3,
[6], ИСО 16000-6,
[7],
[8],
[9],
[10],
[11], ИСО 16017-1 и
[12].
В настоящем стандарте приведено описание и установлены требования к камере для испытания автотранспортного средства (далее - испытательной камере), оборудованию для отбора проб воздуха и условия для определения летучих органических соединений (ЛОС) и карбонильных соединений в воздухе салона автотранспортного средства (АТС). Выполняют три измерения: первое (для определения ЛОС и карбонильных соединений) во время имитации условий внешней среды (режим атмосферного воздуха) при стандартных условиях при 23 °C без воздухообмена в автомобиле; второе измерение проводят только для определения формальдегида при повышенной температуре (режим парковки); и третье измерение - для определения ЛОС и карбонильных соединений, выделение которых смоделировано для периода вождения после стоянки АТС на солнце при повышенной температуре (режим вождения). Для имитации в испытательной камере усредненного солнечного излучения применяют стационарный излучатель.
Метод определения ЛОС применим для неполярных и слабополярных ЛОС в диапазоне массовой концентрации от менее чем микрограмм на кубический метр до нескольких миллиграммов на кубический метр. Используя основные положения этого метода можно также провести анализ на содержание некоторых среднелетучих органических соединений (СЛОС). Метод применяют также для подобных соединений, которые могут быть уловлены (и затем десорбированы) сорбционными трубками с

<1>, описанными в ИСО 16000-6, к ним относятся ЛОС с характеристиками летучести в диапазоне от
н-C
6 до
н-C
16.
--------------------------------
<1> Торговое наименование продукции, выпускаемой Buchem. Данная информация приведена для удобства пользователей настоящего стандарта и не является рекламой ИСО данной продукции. Допускается использовать другую продукцию, если с ее помощью можно получить аналогичные результаты.
Отбор и анализ проб воздуха для определения содержания в нем формальдегида и других карбонильных соединений проводят путем улавливания их из воздуха с помощью картриджей с нанесенным 2,4-динитрофенилгидразином (ДНФГ) и последующего анализа методом высокоэффективной жидкостной хроматографии (ВЭЖХ) с детектированием поглощения в ультрафиолетовой области спектра. Формальдегид и другие карбонильные соединения могут быть определены при массовой концентрации в диапазоне приблизительно от 1 мкг/м3 до 1 мг/м3.
Метод применяют для АТС, относящихся к пассажирским легковым автомобилям, типы которых описаны в ИСО 3833 <2>.
--------------------------------
<2> По
ГОСТ Р 52051-2003 пассажирские легковые автомобили - это категория M
1. Транспортные средства, используемые для перевозки пассажиров и имеющие, помимо места водителя, не более восьми мест для сидения.
В настоящем стандарте приведены:
a) требования к транспортированию и хранению испытуемых АТС до начала испытания;
b) условия кондиционирования помещения, в котором хранится АТС, самого АТС, а также испытательной камеры для него;
c) условия кондиционирования испытуемого АТС перед измерениями;
d) условия имитации окружающей среды (для режима атмосферного воздуха);
e) отбор проб формальдегида при повышенной температуре (для режима парковки);
f) имитация вождения после парковки испытуемого АТС на солнце (для режима вождения).
Настоящий стандарт не применяют для автобусов, домов-автофургонов и грузовых автомобилей (см. ИСО 3833).
ПРЕДУПРЕЖДЕНИЕ - Пользователь настоящего стандарта несет ответственность за разработку соответствующих мер безопасности и охраны здоровья. Следуют требованиям безопасности, установленным в национальных нормативных документах.
В настоящем стандарте использованы нормативные ссылки на следующие стандарты:
ИСО 3833:1977 Дорожные транспортные средства. Типы. Термины и определения (ISO 3833:1977, Road vehicles - Types - Terms and definitions)
ИСО 9060 Энергия солнечная. Технические характеристики и классификация средств измерений полусферического и прямого солнечного излучения (ISO 9060, Solar energy - Specification and classification of instruments for measuring hemispherical solar and direct solar radiation)
ИСО 16000-3 Воздух замкнутых помещений. Часть 3. Определение содержания формальдегида и других карбонильных соединений в воздухе внутри помещения и воздухе испытательной камеры. Метод активного отбора проб (ISO 16000-3, Indoor air - Part 3: Determination of formaldehyde and other carbonyl compounds in indoor air and test chamber air - Active sampling method)
ИСО 16000-6:2011 Воздух замкнутых помещений. Часть 6. Определение летучих органических соединений в воздухе замкнутых помещений и испытательной камеры путем активного отбора проб на сорбент Tenax TA с последующей термической десорбцией и газохроматографическим анализом с использованием МСД или МСД/ПИД (ISO 16000-6:2011, Indoor air - Part 6: Determination of volatile organic compounds in indoor and test chamber air by active sampling on

sorbent, thermal desorption and gas chromatography using MS or MS-FID)
ИСО 16017-1 Воздух атмосферный, рабочей зоны и замкнутых помещений. Отбор проб летучих органических соединений при помощи сорбционной трубки с последующей термодесорбцией и анализом методом капиллярной газовой хроматографии. Часть 1. Отбор проб методом прокачки (ISO 16017-1, Indoor, ambient and workplace air - Sampling and analysis of volatile organic compounds by sorbent tube/thermal desorption/capillary gas chromatography - Part 1: Pumped sampling)
В настоящем стандарте применены термины в соответствии с ИСО 16000-3, ИСО 16000-6, а также следующие:
3.1 фоновое содержание (background concentration): Содержание аналита в испытательной камере, когда испытуемое АТС находится внутри нее.
3.2 испытуемое автотранспортное средство; испытуемое АТС (test vehicle): Новое или с пробегом АТС, подлежащее испытанию.
Примечания
1 Испытуемое АТС может относиться только к одному из типов АТС, установленных в 3.1.1 ИСО 3833.
3.3
общие летучие органические соединения (total volatile organic compounds): Летучие органические соединения, отобранные на

, элюируемые между пиками
н-гексана и
н-гексадекана включительно, детектируемые пламенно-ионизационным детектором (ОЛОС
ПИД) или масс-спектрометрическим детектором (ОЛОС
МС) и количественно определяемые путем пересчета суммарной площади всех хроматографических пиков на толуол.
Примечание - Адаптировано из ИСО 16000-6, 3.4.
3.4
карбонильное соединение (carbonyl compound): Соединение, содержащее функциональную группу -C(=O)-, определенное в соответствии с установленной методикой.
Примечание - В настоящем стандарте применяют методику, приведенную в ИСО 16000-3.
3.5 режим атмосферного воздуха (ambient mode): Режим, при котором выполняют отбор проб ЛОС и карбонильных соединений в салоне испытуемого АТС при заданной температуре 23 °C.
Примечание - Отбор проб проводят при выключенном двигателе и нагревательных устройств в течение 30 мин.
3.6 режим парковки (parking mode): Режим, при котором выполняют отбор проб формальдегида в салоне испытуемого АТС при повышенной температуре.
Примечание - Продолжительность отбора проб 30 мин.
3.7 режим вождения или "ездовой режим" (driving mode): Режим, при котором выполняют отбор проб ЛОС и карбонильных соединений в салоне испытуемого АТС при заданных условиях при повышенной температуре, имитирующий температурные условия при вождении АТС после его парковки на солнце.
Примечание - Продолжительность отбора проб 30 мин.
3.8 линия отбора проб (sampling train): Аппаратура для отбора проб воздуха в салоне испытуемого АТС (замкнутом помещении) и в испытательной камере для улавливания ЛОС и карбонильных соединений в сорбционные трубки и картриджи при заданных условиях.
Примечание - Отбор проб формальдегида в соответствии с ИСО 16000-3, ЛОС - ИСО 16000-6.
4 Оборудование и материалы
4.1 Основное оборудование
Испытательная камера должна быть достаточно большой для размещения в ней испытуемого АТС. Она должна быть оснащена системой кондиционирования воздуха для создания заданных условий, а именно температуры (23 +/- 2) °C и относительной влажности (50 +/- 10)%. В камере должна быть установлена система, имитирующая солнечное излучение для нагрева салона испытуемого АТС под действием дозированного излучения. Установившаяся температура воздуха внутри салона зависит от его теплоизоляции и материала оконных стекол (минимальные требования установлены в
6.1) (см. также
рисунок 1).
4.2 Нагревательное устройство
Инфракрасный излучатель, галогеновый излучатель или другой излучатель (имитирующий солнечный свет) (излучение с длиной волны < 300 нм должно быть отфильтровано). Используемые нагревательные устройства должны иметь мощность, обеспечивающую создание излучения в контрольной точке измерений в середине поверхности крыши испытуемого АТС с плотностью от 350 до 450 Вт/м2, [(400 +/- 50) Вт/м2].
Нагреваемая площадь должна охватывать, по крайней мере, площадь салона испытуемого АТС и дополнительно еще 0,5 м по каждую сторону от нижней части остекления (посадочного места) (см.
рисунок 1). Нагревательные устройства устанавливают над крышей салона таким образом, чтобы излучение было направлено под углом 90° к нагреваемой поверхности. Не допускается нагрев боковых поверхностей АТС с помощью излучающих элементов. Нагреваемая площадь должна быть разделена на квадраты размером 25 см x 25 см с плотностью излучения (400 +/- 50) Вт/м
2. Требуемая плотность излучения должна достигаться непосредственно после включения ламп (в пределах нескольких минут).
Степень нагрева следует измерять в соответствии с ИСО 9060.
Следят за тем, чтобы расстояние между нагревательным устройством и поверхностью салона АТС не было слишком малым во избежание зон перегрева.
4.3 Линии отбора проб
4.3.1 Отбор проб в испытуемом автотранспортном средстве
Необходимы четыре линии отбора проб: две для параллельных измерений содержания ЛОС и две для параллельных измерений содержания карбонильных соединений внутри испытуемого АТС (по две для проверки повторяемости) (см. ИСО 16000-3 при определении карбонильных соединений и ИСО 16000-6 и ИСО 16017-1 - при определении ЛОС). Устанавливают одну линию отбора проб с коллектором для деления отбираемого потока воздуха за пределами испытуемого АТС (см.
4.3.3). Она состоит из зонда, пробоотборной трубки (подогреваемой при необходимости), сорбционной трубки для улавливания ЛОС или картриджа с ДНФГ для улавливания карбонильных соединений, газовых счетчиков и насосов (см.
4.5).
Все линии отбора проб должны быть проверены на герметичность, при этом скорость падения вакуума не должна превышать 30 кПа за 10 с. При проверке на герметичность следует заглушить зонд. Применяют и другие эквивалентные способы проверки на герметичность.
4.3.2 Отбор проб в испытательной камере
Для определения фонового содержания аналитов в испытательной камере используют четыре линии отбора проб. Они аналогичны линиям отбора проб, описанным в
4.3.1, за исключением того, что пробоотборные трубки имеют гораздо меньшую длину и не подогреваются.
Все линии отбора проб должны быть проверены на герметичность, а скорость падения вакуума не должна превышать 30 кПа за 10 с. При проверке на герметичность следует заглушить зонд. Применяют и другие эквивалентные способы проверки на герметичность.
4.3.3 Пробоотборная трубка
Система трубок, соединяющая точку отбора проб (зонд) внутри испытуемого АТС через коллектор, находящийся за пределами испытуемого АТС, с сорбционными трубками для улавливания ЛОС или картриджами с ДНФГ соответственно (см.
рисунок 1).
Пробоотборная трубка должна быть:
a) как можно короче (максимальная длина 5 м) с внутренним диаметром не менее 4 мм;
b) изготовлена из инертного материала, не выделяющего аналиты и не обладающего абсорбционными и адсорбционными свойствами [например нержавеющей стали или политетрафторэтилена (ПТФЭ) или деактивированного кварцевого стекла);
c) проверена на предмет отсутствия внутри трубок загрязнений или эффектов поглощения;
d) при необходимости снабжена устройством подогрева для предотвращения конденсации/осаждения на внутренних стенках (наилучшее решение: поддержание температуры на 20 °C выше температуры внутри испытуемого АТС).
Пробоотборная трубка должна быть протянута между дверью и дверным проемом или дверным проемом и остеклением испытуемого АТС и не должна быть пережата для обеспечения свободного течения потока воздуха.
Вторая пробоотборная трубка [система трубок, соединяющая точку отбора проб (зонд) в испытательной камере вблизи испытуемого АТС (см.
6.1 b), коллектор и сорбционные трубки для улавливания ЛОС и картриджи с ДНФГ соответственно] идентична пробоотборной трубке, описанной выше, за исключением ее подогрева. Эта вторая пробоотборная трубка необходима для контроля фонового содержания аналитов в испытательной камере.
4.4 Аналитическое оборудование и материалы
Аналитическое оборудование, используемое для определения ЛОС и карбонильных соединений или только формальдегида должно соответствовать требованиям ИСО 16000-6 (для ЛОС) или ИСО 16000-3 (для карбонильных соединений).
Следует проверить отсутствие проскока через сорбционные трубки для улавливания ЛОС и картриджи с ДНФГ. Это можно осуществить путем установки дополнительной сорбционной трубки, которую анализируют отдельно (см. ИСО 16017-1).
Новое АТС (т.е. АТС с пробегом не более 50 км и не позднее (28 +/- 5) суток после его сборки на заводе), подлежащее испытанию, должно быть произведено в ходе обычного производственного процесса. Результаты испытания зависят от качества отделки салона и цвета внешней поверхности АТС, выбранного для испытания. При официальном определении выделения ЛОС и карбонильных соединений выбирают АТС черного цвета. Если АТС черного цвета недоступно, то выбирают АТС самого темного цвета.
Тонировку стекла испытуемого АТС, сделанную вручную, следует удалить.
Испытуемое АТС следует хранить и транспортировать при условиях, исключающих попадание на него прямого солнечного излучения, в противном случае перед размещением в испытательной камере АТС следует проветрить в течение ночного времени суток при открытых дверях и окнах. Подобную подготовку проводят, если испытанию подлежат АТС, бывшие в эксплуатации. Для защиты при транспортировании не применяют восковые полировальные пасты. Перед испытанием тщательно удаляют все нанесенные пленки или лаки. Испытуемое АТС не должно подвергаться очистке (внутренней части), по крайней мере, в течение 24 ч перед началом измерений.
Метод, установленный в настоящем стандарте, может быть применен также для АТС, бывших в эксплуатации. В этом случае, вероятно, что результаты измерений не будут идентичны результатам, полученным при испытании нового АТС, ввиду их различной эксплуатации.
Собирают полноразмерную испытательную камеру (см.
приложение A), предназначенную для испытания АТС. Определяют количественный состав воздуха внутри испытуемого АТС в соответствии с унифицированной заданной программой (см.
рисунок 1). Отбор проб ЛОС и карбонильных соединений проводят в режиме атмосферного воздуха при температуре 23 °C. Затем отдельно определяют содержание формальдегида в условиях повышенной температуры в режиме парковки (см.
рисунок 3). Солнечное излучение имитируют с помощью нагревательных устройств, обеспечивающих усредненное фиксированное облучение в течение 4,5 ч, после этого отбирают третью пробу воздуха в режиме вождения.
Измеряют относительную влажность и температуру воздуха внутри испытательной камеры. Пробы воздуха для определения содержания паров ЛОС и карбонильных соединений отбирают в зоне дыхания водителя с помощью сорбционных трубок для ЛОС и картриджей с ДНФГ соответственно. Затем пробы следует проанализировать в лаборатории по ИСО 16000-6 или ИСО 16000-3 соответственно.
Кроме того пробы воздуха для определения фонового содержания паров ЛОС и карбонильных соединений отбирают в самой испытательной камере. В общей сложности необходимо отобрать восемь проб для определения ЛОС и двенадцать проб для определения карбонильных соединений [две параллельные пробы в режиме атмосферного воздуха и две параллельные пробы при повышенной температуре в режиме вождения, и по две аналогичные параллельные пробы для определения фонового содержания аналитов в испытательной камере в каждом из режимов (всего шесть) и две пробы для определения формальдегида в условиях повышенной температуры в режиме парковки].
Температура внутри салона испытуемого АТС при применении нагревательных устройств зависит от модели испытуемого АТС и влияния теплоизоляции, материала окон и т.д.
Аналитическая часть методики измерений основана на применении сорбционных трубок и последующей термодесорбции и газохроматографического анализа ЛОС (в соответствии с ИСО 16000-6) и применении картриджей с 2,4-динитрофенилгидразином (ДНФГ) для определения карбонильных соединений (в соответствии с ИСО 16000-3). В настоящем стандарте для отбора проб ЛОС предусмотрено использование сорбционных трубок с

, однако могут быть применены и другие эквивалентные сорбенты, если может быть доказано, что с их помощью могут быть получены аналогичные результаты (см. ИСО 16000-6).
6 Требования к испытательной камере, испытуемому автотранспортному средству и методам измерений
6.1 Требования к испытательной камере
Испытательную камеру, удовлетворяющую требованиям, приведенным ниже, компонуют, как показано на
рисунке 1. Должны быть выполнены следующие требования.
a) Испытательная камера должна быть достаточно большой, чтобы вместить испытуемое АТС.
b) В камере должна быть обеспечена возможность поддержания температуры (23 +/- 2) °C, а также предусмотрены системы нагрева и вентиляции (включая средства регулировки влажности) и, при необходимости, системы охлаждения. Точка отбора проб для определения фонового содержания аналитов в испытательной камере должна находиться на расстоянии не менее 1 м от боковой стороны испытуемого АТС и на высоте нижней части оконного проема передней двери.
Примечание - Для поддержания чистоты воздуха в испытательной камере может быть установлена система фильтрации.
c) Температурный режим должен соответствовать
рисунку 3.
d) Относительная влажность в испытательной камере при отборе проб в режиме атмосферного воздуха должна составлять (50 +/- 10)%.
e) Относительная влажность в испытательной камере при отборе проб в режиме парковки и вождения должна быть задокументирована.
f) Максимальное фоновое значение массовой концентрации каждого отдельного аналита не должно превышать 20 мкг/м3 и 200 мкг/м3 для ОЛОС или максимум 10% соответствующего результата измерений (в зависимости от того, что больше). Если это требование не выполняется, то источник загрязнения должен быть идентифицирован и удален или перекрыт, чтобы его можно было исключить из испытания.
g) Требуется провести отбор двух параллельных проб для определения фонового содержания ЛОС и двух параллельных проб для определения фонового содержания карбонильных соединений (одна в атмосферном режиме, другая - в режиме вождения), а также одной параллельной пробы для определения фонового содержания формальдегида (в режиме парковки).
Сорбционные трубки для улавливания ЛОС и картриджи с ДНФГ для улавливания карбонильных соединений внутри испытуемого АТС, насосы и другие устройства для отбора проб размещают в испытательной камере.
Кратность воздухообмена в испытательной камере при выполнении измерений в режиме вождения должна быть не менее двух раз в час.
h) Нагревательные устройства должны быть установлены над испытуемым АТС таким образом, чтобы тепловое излучение плотностью (400 +/- 50) Вт/м2 охватывало площадь, занимаемую кузовом вместе с участком, ограниченным расстоянием 0,5 м от каждой стороны салона.
i) Дополнительно может быть установлена тележка или стол для размещения оборудования для отбора проб (см.
рисунок 1, позиция 2).
j) Необходимы средства измерений и регистрации данных для непрерывной записи измерительных сигналов [(например для измерения температуры и влажности (см.
рисунок 1, позиция 3)].
k) Необходима дверь для въезда и выезда испытуемого АТС (см.
рисунок 1, позиция 1).
l) Должна быть (по возможности) установлена система сигнализации о превышении содержания углеводородов в воздухе для предупреждения создания взрывоопасной концентрации, согласно руководству по технике безопасности на рабочем месте.
m) Для удаления выхлопных газов за пределы помещения выхлопная труба испытуемого АТС должна быть подсоединена к выпускному трубопроводу.
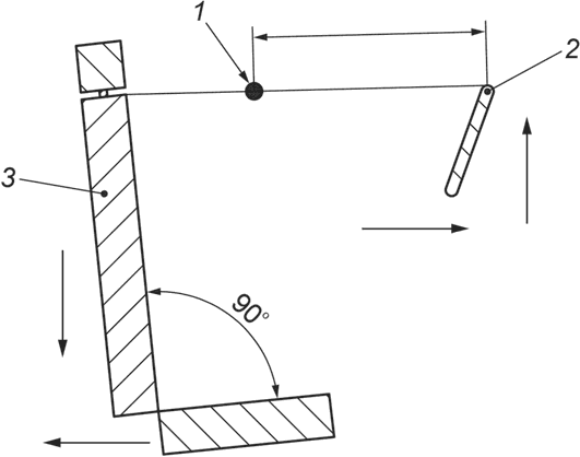
Размеры указаны в метрах
1 - вход в помещение испытательной камеры; 2 - оборудование
для отбора проб; 3 - блок контроля и регистрации данных;
4 - испытуемое АТС; 5 - исследуемая площадь; 6 - область,
охватываемая тепловым излучением нагревательного устройства
Рисунок 1 - Схема размещения компонентов испытательной
камеры и автотранспортного средства
Обеспечивают условия для поддержания температуры компонентов линии отбора проб на уровне температуры окружающего воздуха или близкой к ней и для их защиты от прямого воздействия теплового излучения нагревательных устройств испытательной камеры.
6.2 Требования к испытуемому автотранспортному средству
6.2.1 Новое АТС, подлежащее испытанию, должно быть изготовлено в ходе обычного производственного процесса. Результаты испытания зависят от качества отделки и цвета внешней поверхности выбранного испытуемого АТС. Подробное описание качества отделки салона АТС должно быть включено в протокол испытаний. Любое отклонение от идеального случая должно быть описано, а его влияние на результаты испытаний объяснено и приведено в протоколе испытаний.
6.2.2 Испытание нового АТС проводят не позднее (28 +/- 5) суток со дня его сборки. Испытуемое АТС следует хранить и транспортировать (до начала испытаний) в условиях, исключающих попадание на него прямых солнечных лучей, в тени или затененных торговых залах, как описано в
4.5. Все пленки или лаки, нанесенные для защиты при транспортировании, должны быть тщательно удалены.
6.2.3 Датчики и кабели для средств измерений температуры (вспомогательные средства) устанавливают в соответствии с
приложением B.
6.2.4 Пробоотборную трубку (с зондом на конце) при определении ЛОС и карбонильных соединений устанавливают в соответствии с
рисунками 1 и
2. Пробоотборную трубку соединяют с коллектором, расположенным за пределами испытуемого АТС. К коллектору подсоединяют четыре линии отбора проб, используемые для последовательно выполняемых следующих измерений:
a) мониторинг салона испытуемого АТС в режиме атмосферного воздуха при (23 +/- 2) °C [два измерения для определения ЛОС (параллельные) и два измерения для определения карбонильных соединений (параллельные)],
b) мониторинг салона испытуемого АТС в режиме парковки при повышенной температуре [два измерения для определения формальдегида (параллельные); необходимы только две линии отбора проб],
c) мониторинг салона испытуемого АТС в режиме вождения [два измерения для определения ЛОС (параллельные) и два для определения карбонильных соединений (параллельные)].
Размеры указаны в сантиметрах
1 - точка отбора проб; 2 - руль; 3 - кресло с подголовником
Рисунок 2 - Положение точки отбора проб воздуха
в испытуемом АТС
Пробоотборная трубка должна быть промыта ацетоном и высушена перед каждой новой серией проб для последующего испытуемого АТС для предотвращения ее загрязнения и во избежание эффектов памяти.
6.2.5 Зонд для отбора проб должен быть размещен в зоне дыхания водителя (на расстоянии 50 см от верхней части руля на одной линии с нижней частью подголовника). Для этого положение кресла (водителя, пассажира) должно быть по возможности самым низким и наиболее далеким от руля, а положение руля - наиболее далеким от кресла и максимально высоким (см.
рисунок 2).
6.2.6 Выхлопные газы двигателя удаляют через трубопровод за пределы камеры (помещения).
6.2.7 Задают условия кондиционирования, соответствующие режиму вождения (см.
7.3.6.2), во время которого происходит отбор проб ЛОС и карбонильных соединений в салоне испытуемого АТС при заданных условиях, начиная с повышенной температуры, и имитирующие запуск АТС, находящегося на парковке под открытым солнцем: двигатель и система кондиционирования воздуха включены (если последний включается автоматически) или, если отсутствует автоматическая система кондиционирования воздуха или климат контроля, то с максимальным уровнем обдува вентиляторами и выключенной системой рециркуляции; нагревательные устройства включают в соответствии с
таблицей 1.
6.2.8 Устанавливают режимы кондиционирования воздуха в АТС в соответствии с
таблицей 1.
Таблица 1
Установка режимов кондиционирования воздуха
Условие | Кондиционер воздуха автоматический | Кондиционер воздуха полуавтоматический или с ручным управлением | Кондиционер воздуха отсутствует |
Кондиционирование воздуха вкл./выкл. | Вкл. | Вкл. | - |
Переключение кондиционера между забором воздуха внутри салона и снаружи салона | Автоматическое | Циркуляция свежего воздуха | - |
Переключатель потока воздуха | Автоматический Все вентиляционные решетки в вертикальном положении полностью открыты | Режим подачи воздуха в лицо водителя Проветривание свежим воздухом при максимальном уровне обдува вентиляторами Все вентиляционные решетки в вертикальном положении полностью открыты | Проветривание свежим воздухом при максимальном уровне обдува вентиляторами Все вентиляционные решетки в вертикальном положении полностью открыты |
Температура | 23 °C | Наименьшая (или умеренная для предотвращения автоматического переключения в режим рециркуляции воздуха) | Наименьшая |
Примечание - Эти разные условия кондиционирования воздуха не обязательно будут эквивалентны, но они соответствуют требованиям потребителя и техническим характеристикам АТС. |
6.3 Требования к методам отбора проб и измерений содержания летучих органических соединений и карбонильных соединений
Для отбора проб ЛОС и карбонильных соединений и определения их содержания в воздухе салона испытуемого АТС и в испытательной камере, следует выполнять процедуры, приведенные [см. также
6.1 g)]:
a) для карбонильных соединений, включая формальдегид, - в ИСО 16000-3;
b) для ЛОС - в ИСО 16000-6.
6.4 Определение содержания аналитов в холостых пробах
Сорбционные трубки, применяемые для отбора холостых проб (для ЛОС и карбонильных соединений), должны быть из той же партии, что и трубки, применяемые при отборе проб и анализе, и их обрабатывают таким же образом (с применением всех устройств и процедур) за исключением того, что через линию отбора проб не пропускают газ (см.
7.2.4).
Холостую пробу отбирают, по крайней мере, перед каждой серией измерений (серией последовательных измерений на нескольких АТС).
Результата анализа холостой пробы не следует вычитать из результата измерений.
Результаты анализа всех холостых проб приводят с соответствующими результатами измерений.
6.4.2 Холостые лабораторные пробы
Требования к холостым лабораторным пробам для анализа методом ГХ-МС приведены в ИСО 16000-3 и ИСО 16000-6.
7.1 Общие положения
Метод испытаний состоит из трех этапов:
- установление требуемого режима кондиционирования испытательной камеры;
- установление требуемого режима кондиционирования испытуемого АТС;
- проведение отбора проб и анализа.
7.2 Предварительная подготовка и предварительное установление требуемого режима кондиционирования испытательной камеры, автотранспортного средства и отбор холостых проб
7.2.1 Предварительная подготовка
Подсоединяют испытательное оборудование к испытуемому АТС. Пропускают кабели и пробоотборную трубку для улавливания ЛОС и карбонильных соединений через дверной проем АТС таким образом, чтобы двери были закрыты и максимально сохранялась герметизация. Пробоотборный зонд размещают в АТС в соответствии с
6.2.5.
- Подсоединяют пробоотборную трубку к коллектору, и к коллектору подсоединяют линии отбора проб для измерения содержания ЛОС и карбонильных соединений за пределами АТС.
- Подсоединяют все оборудование, расположенное в испытательной камере.
Устанавливают нагревательные устройства и другие устройства, перечисленные в
6.1.
7.2.2 Предварительное установление режима кондиционирования испытательной камеры
Температура в испытательной камере при испытании в режиме атмосферного воздуха должна быть (23 +/- 2) °C. Может возникнуть необходимость в устройствах нагрева или охлаждения. В режиме атмосферного воздуха относительная влажность должна составлять (50 +/- 10)%. В испытательной камере должна быть хорошая вентиляция, а кратность воздухообмена должна быть два раза в час или больше. Материалы внутренних стенок испытательной камеры не должны выделять аналиты в таком количестве, чтобы было превышено их фоновое содержание в воздухе внутри АТС (см.
6.1 и
6.4 по). Нагревание внутренней поверхности салона и кузова АТС осуществляется нагревательными устройствами, расположенными за пределами испытуемого АТС.
7.2.3 Предварительное установление режима кондиционирования испытуемого автотранспортного средства
Основные параметры окружающей среды следующие.
Устанавливают температуру в АТС, соответствующую режиму атмосферного воздуха (23 +/- 2) °C, с помощью системы кондиционирования испытательной камеры (см.
рисунок 3). Предварительное кондиционирование АТС начинают с открытия его дверей на 1 ч. После этого двери закрывают не менее чем на 8 ч (см.
рисунок 3).
Перед началом измерений подготавливают холостые пробы (см.
6.4.1). Устанавливают одну сорбционную трубку с

для улавливания ЛОС и один картридж с ДНФГ для улавливания карбонильных соединений в линии отбора проб для измерения их фонового содержания в испытательной камере, а также одну сорбционную трубку с

и один картридж с ДНФГ для измерения их фонового содержания в самом испытуемом АТС. С пробоотборниками для отбора холостых проб обращаются так же, как и с пробоотборниками, применяемыми при реальном определении ЛОС и карбонильных соединений, за исключением того, что подача воздуха во время подсоединения холостых пробоотборников отключена. Поскольку эти пробоотборники были подсоединены в линии отбора проб, их затем следует удалить, герметично закрыть и отправить на анализ вместе с реальными пробами.
Отбирают, по крайней мере, одну холостую пробу для каждой серии измерений. Холостые лабораторные пробы для анализа методом ГХ-МС или ВЭЖХ следует отбирать в соответствии с
6.4.
7.3 Метод испытаний
7.3.1 Момент времени: 0 (см. схему на рисунке 3)
После того, как в испытательной камере установились условия: температура (23 +/- 2) °C и относительная влажность (50 +/- 10)%, а кратность воздухообмена была настроена на рекомендуемое значение, не менее двух раз в час (см.
7.2.2), можно начинать испытание. Начинают кондиционирование испытуемого АТС путем открывания всех его дверей на 1 ч. Подсоединяют линии отбора проб с установленными в них двумя сорбционными трубками для улавливания ЛОС и двумя картриджами с ДНФГ и проверяют их герметичность (см.
4.3.1). Общие сведения о числе отбираемых проб, приведены в
приложении E.
Рисунок 3 - Температурный режим и схема проведения испытаний
7.3.2 Момент времени: 1,00 ч
Продолжают кондиционирование испытательной камеры и закрывают все двери АТС, по крайней мере, на 8 ч или более (например на ночное время) и оставляют его при температуре (23 +/- 2) °C и относительной влажности (50 +/- 10)%, и кратности воздухообмена в испытательной камере не менее двух раз в час (рекомендуемое значение). Обдув испытуемого АТС не проводят.
7.3.3 Момент времени: 8,50 ч
Обдув испытуемого АТС не проводят. Перед началом отбора проб, продувают мертвый объем пробоотборной трубки. Включают насосы четырех линий отбора проб (двух для отбора проб ЛОС и двух - карбонильных соединений, работающих параллельно). Отбирают пробы газообразных органических соединений в салоне испытуемого АТС в режиме атмосферного воздуха при комнатной температуре (23 +/- 2) °C в течение 30 мин. Настраивают расход при отборе проб: для ЛОС - не более 0,1 л/мин, для карбонильных соединений - не более 1 л/мин. Далее выполняют количественный анализ в соответствии с ИСО 16000-6 (для ЛОС) и ИСО 16000-3 (для карбонильных соединений).
В это же время включают насосы четырех линий отбора проб в испытательной камере для определения фонового содержания ЛОС и карбонильных соединений (две для ЛОС и две для карбонильных соединений). Пробоотборный зонд располагают на расстоянии 1 м от впускных каналов системы вентиляции салона.
Относительную влажность и температуру следует измерять в этой же точке.
7.3.4 Момент времени: 9,00 ч
Выключают насосы линий отбора проб, снимают и регистрируют значения объема отобранных проб и отсоединяют сорбционные трубки для улавливания ЛОС и картриджи с ДНФГ, размещенные за пределами салона АТС, от линий отбора проб. Герметично закрывают сорбционные трубки или картриджи и анализируют в соответствии с ИСО 16000-6 и ИСО 16000-3.
Далее начинают испытание в режиме парковки с нагревом (см.
рисунок 3).
Следует выполнить следующие операции.
Начинают нагрев с помощью нагревательных устройств (см.
4.2). Интенсивность излучения доводят до (400 +/- 50) Вт/м
2 и поддерживают ее на этом уровне в течение 4,5 ч.
Кратность воздухообмена в испытательной камере должна быть не менее двух раз в час или больше (рекомендуемое значение).
7.3.5 Момент времени: 12,50 ч
Подсоединяют два картриджа с ДНФГ к двум линиям для отбора проб в испытуемом АТС и два - для отбора проб в испытательной камере. Перед началом работы проверяют линию отбора проб на герметичность (см.
4.3.1) и продувают мертвый объем. Включают насосы четырех линий отбора проб. Выполняют отбор проб формальдегида в салоне АТС при повышенной температуре в течение 30 мин. При определении карбонильных соединений настраивают расход при отборе проб должен быть на не более 1 л/мин. После отбора проб выполняют количественный анализ карбонильных соединений в соответствии с ИСО 16000-3.
7.3.6 Момент времени: 13,00 ч
7.3.6.1 Режим парковки
Выключают насосы для отбора проб формальдегида и отсоединяют картриджи с ДНФГ от линии отбора проб для количественного анализа в соответствии с ИСО 16000-3. Снимают и регистрируют показания средств измерений для вычисления объема проб.
Перед началом отбора проб в режиме вождения устанавливают две сорбционные трубки для улавливания ЛОС и два картриджа с ДНФГ и продувают мертвый объем пробоотборной трубки.
Открывают дверь со стороны водителя не более, чем на 60 с, включают двигатель и кондиционируют воздух в салоне (при 23 °C в случае работы системы климат-контроля или полуавтоматического или вручную управляемого кондиционера в режиме минимальной подачи воздуха; при испытании АТС, не оснащенных системами климат-контроля, - в режиме максимального обдува вентиляторами с подачей свежего воздуха (см.
таблицу 1).
В это же время включают насосы четырех линий отбора проб (двух - для отбора проб ЛОС, двух - для отбора проб карбонильных соединений, работающих параллельно). Отбор проб газообразных органических соединений в салоне испытуемого АТС проводят при повышенной температуре в течение 30 мин. Настраивают расход при отборе проб: для ЛОС - не более 0,1 л/мин, для карбонильных соединений - не более 1 л/мин. Затем выполняют количественный анализ проб в соответствии с ИСО 16000-6 (ЛОС) и ИСО 16000-3 (карбонильные соединения).
Одновременно включают насосы четырех линий отбора проб в испытательной камере для определения фонового содержания в ней ЛОС и карбонильных соединений (две линии для ЛОС, и две для карбонильных соединений).
7.3.7 Момент времени: 13,50 ч
Выключают насосы линий отбора проб, а также двигатель АТС и нагревающие устройства. Снимают и регистрируют показания средств измерений для вычисления объема проб. Сорбционные трубки с уловленными ЛОС и картриджи с ДНФГ с уловленными карбонильными соединения отсоединяют от линий отбора проб и затем проводят количественный анализ в соответствии с ИСО 16000-6 и ИСО 16000-3.
Выключают приборы непрерывного измерения температуры и влажности.
Испытание закончено.
8 Вычисление, представление результатов измерений, прецизионность и неопределенность
Вычисление и представление результатов количественного анализа выполняют в соответствии с ИСО 16000-6 и ИСО 16000-3. Прецизионность и неопределенность также должны быть определены в соответствии с требованиями ИСО 16000-6 и ИСО 16000-3. В качестве справочной информации в настоящем стандарте приведен
протокол испытаний (см. приложение C), форма которого должна быть согласована между заказчиком и испытательной лабораторией.
9 Метрологические характеристики
Пределы обнаружения и стандартные отклонения для ЛОС, установленные в ИСО 16000-6, и для карбонильных соединений, установленные в ИСО 16000-3, применимы к методу испытаний, приведенному в настоящем стандарте. Условием выполнения требований к метрологическим характеристикам является отсутствие загрязнения или эффектов оседания в линиях отбор проб. Это следует подтвердить до начала измерений и запротоколировать.
10 Обеспечение и контроль качества
Надлежащий уровень контроля качества обеспечивается соблюдением требований ИСО 16000-3 и ИСО 16000-6, если
- холостые пробы приготовляют в соответствии с
6.4;
- уровень показаний холостой пробы приемлем, если площади регистрируемых побочных хроматографических пиков не превышает 10% от площади пиков аналитов;
- эффективность десорбции ЛОС и карбонильных соединений следует проверять в соответствии с ИСО 16000-3 и ИСО 16000-6;
- эффективность улавливания может быть оценена с помощью резервных трубок или путем отбора проб меньше гарантированного объема;
- следует определять повторяемость методики отбора проб воздуха, например, путем отбора и анализа параллельных проб - коэффициент вариации не должен быть более 15% (см. ИСО 16000-3 и ИСО 16000-6);
- степень извлечения углеводородов от C6 до C16, выраженная в единицах массовой доли, должна составлять не менее 95% (см. 16000-6);
- применяемые при испытании средства измерений температуры, влажности и объемного расхода должны иметь непросроченные свидетельства об их поверке.
(справочное)
Рисунок A.1 - Пример изображения испытательной
камеры, приведенный с разрешения Ford Motor Company (США)
(справочное)
ТОЧКИ ИЗМЕРЕНИЙ ТЕМПЕРАТУРЫ ВОЗДУХА ВНУТРИ САЛОНА
АВТОТРАНСПОРТНОГО СРЕДСТВА В РЕЖИМЕ ПАРКОВКИ
Температура может быть измерена в точке отбора проб (внутри испытуемого АТС).
Может потребоваться измерение температуры в других точках салона АТС в зависимости от конкретной задачи, например на приборной панели, в верхней части испытуемого АТС, на задней панели (см.
рисунок B.1) (например, с применением платинового термометра сопротивления Pt
100).
1 - температура воздуха в салоне испытуемого АТС
(около зонда для отбора проб); 2 - температура поверхности
в верхней части испытуемого АТС (внутри); 3 - температура
поверхности, приборная панель; 4 - температура
поверхности, задняя панель (если задняя панель
отсутствует, то альтернативой является крышка багажника)
Рисунок B.1 - Пример расположения точек измерений
температуры внутри салона АТС
(справочное)
Примечание - ИСО дает пользователю настоящего стандарта право воспроизводить или другим образом использовать протокол отбора проб, приведенный на этой странице исключительно с целью реализации настоящего стандарта.
C.1 Общие положения
Заказчик | |
| |
Эксперты | |
| |
| |
| |
Телефон | |
Факс | |
Электронная почта/E-mail | |
Дата составления отчета | |
Страницы | |
Номер договора/заявки | |
| |
Наименование лаборатории |
Адрес | |
C.2 Записи по отбору проб и результаты текущих измерений
C.2.1 Протокол данных по испытуемому автотранспортному средству
Таблица C.1 - Характеристики испытуемого АТС
Документ на АТС, номер: | |
Тип АТС | |
Идентификационный номер АТС (Код VIN) | |
Начальный пробег перед испытанием, км/миль | |
Цвет АТС | |
Описание внутренней отделки салона | |
Остекление | |
Степень затененности и тип оконных стекол | |
Вместимость топливного бака, л | |
Выдвижной люк/стеклянная крыша, наличие | |
Подушка безопасности, число, расположение руля справа или слева | |
Центральный замок, наличие | |
Антиблокировочная тормозная система (АБС) и противобуксовочная система, наличие | |
Огнетушитель, наличие, | |
Объем салона | |
Пассажирское место, м3 | |
Багажник, м3 | |
Общий объем, м3 | |
Метод определения | |
Настройка элементов управления системой климат-контроля выполняется в соответствии с (наименование документа) | |
Общая информация | |
Нанесение защитного покрытия наружной поверхности | |
Снятие защитного покрытия наружной поверхности | |
Кондиционирование | |
Размещение на открытом воздухе | |
Размещение в условиях торгового зала | |
Были ли окна и двери плотно закрыты все время? | |
Испытуемое АТС было сдано для испытания (дата) | |
Испытуемое АТС въехало в камеру самостоятельно или нет | |
C.2.2 Пример записей по отбору проб летучих альдегидов и кетонов в режиме атмосферного воздуха
Таблица C.2 - Содержание летучих альдегидов и кетонов
Проба | | |
Условия отбора проб: температура воздуха в салоне АТС средства 23 °C (режим атмосферного воздуха) |
Соединение | Номер CAS | Содержание, мкг/м3 |
Формальдегид | | |
Ацетальдегид | | |
Ацетон | | |
Акролеин | | |
2-фуральдегид | | |
Пропионовый альдегид | | |
Кротоновый альдегид | | |
2-бутанон | | |
н-бутиральдегид | | |
Бензальдегид | | |
Циклогексанон | | |
Валерьяновый альдегид | | |
4-метил-2-пентанон | | |
Гексальдегид | | |
Гептальдегид | | |
Примечание -
Таблица C.2 составлена в соответствии с
3.4 и ИСО 16000-3.
C.2.3 Идентификация летучих органических соединений
Время удерживания, t | Индекс удерживания | Соединение X | Номер CAS | Содержание, мкг/м3 |
23,0 | 767 | Толуол | 108-88-3 | 162 |
28,7 | 863 | Этилбензол | 100-41-4 | 49 |
29,2 | 871 | Мета-ксилол + пара-ксилол | 108-38-3 + 106-42-3 | 67 |
30,2 | 891 | Стирол | 100-42-5 | 24 |
30,5 | 894 | о-ксилол | 95-47-6 | 29 |
33,2 | 1021 | 1,4-дихлорбензол | 104-46-7 | < 5 |
43,8 | 1400 | Тетрадекан | 629-59-4 | 15 |
54,5 | 1983 | Ди-н-бутилфталат | 84-74-2 | < 5 |
68,4 | 2565 | Ди(2-этилгексил)фталат | 117-81-7 | < 5 |
Рисунок C.1 - Хроматограмма для органических соединений
в парообразном состоянии и перечень нескольких
идентифицированных соединений. Проба воздуха в салоне АТС
отобрана при температуре 23 °C (режим атмосферного воздуха)
C.3 Протокол испытаний
Результаты измерений содержания веществ выражают в единицах массовой концентрации [например, в микрограммах на кубический метр, при стандартных условиях: температура 20 °C (или в соответствии с требованиями национальных нормативных документов), давление 101,3 кПа, сухой воздух]. Как правило, эти результаты измерений относятся только к отрезку времени отбора проб и условиям кондиционирования салона АТС. Примерная форма для представления результатов измерений приведена в
таблице C.3.
Таблица C.3 - Результаты определения содержания ОЛОС и выбранных соединений в различных режимах испытания
Условия отбора проб | Проба 1 | Проба 2 | Проба 3 | Проба 4 | Проба 5 | Проба 6 |
Испытуемое АТС, режим атмосферного воздуха | Испытательная камера, режим атмосферного воздуха | Испытуемое АТС, режим парковки | Испытательная камера, режим парковки | Испытуемое АТС, режим вождения | Испытательная камера, режим вождения |
23 °C | 23 °C | Температура в точке отбора проб x °C (необязательно) | Температура в точке отбора проб y °C (необязательно) | Температура в точке отбора проб x °C (необязательно) | Температура в точке отбора проб y °C (необязательно) |
Массовая концентрация, мкг/м3 | | |
Проба | xxx | xxx | xxx | xxx | | |
Соединение 1 | | | | | | |
Соединение 2 | | | | | | |
Сумма ОЛОС | | | | | | |
(справочное)
ВЫСОКОЛЕТУЧИЕ ОРГАНИЧЕСКИЕ СОЕДИНЕНИЯ, ЛЕТУЧИЕ ОРГАНИЧЕСКИЕ
СОЕДИНЕНИЯ И СРЕДНЕЛЕТУЧИЕ ОРГАНИЧЕСКИЕ СОЕДИНЕНИЯ
Летучие органические соединения могут быть разделены на летучие, высоколетучие и среднелетучие. Всемирная организация здравоохранения (ВОЗ) классифицирует ВЛОС, ЛОС и СЛОС на основе диапазонов температуры кипения, как показано в
таблице D.1 (см.
[4]).
Таблица D.1
Классификация ВЛОС, ЛОС и СЛОС
Описание | Обозначение | Диапазон температур кипения |
| | от, °C | до, °C |
Высоколетучие органические соединения | ВЛОС | < 0 | От 50 до 100 |
Летучие органические соединения | ЛОС | От 50 до 100 | От 240 до 260 |
Среднелетучие органические соединения | СЛОС | От 240 до 260 | От 380 до 400 |
Примечание - Температуру кипения некоторых соединений трудно или невозможно определить, поскольку они разлагаются ниже их температур кипения при атмосферном давлении. Другим критерием летучести соединений является давление насыщенного пара (см. [4]). Обычно давление насыщенного пара ЛОС при 25 °C составляет более 10 -2 кПа. Давление насыщенного пара СЛОС составляет от 10 -2 до 10 -8 кПа. Давление насыщенного пара ВЛОС обычно составляет более 15 кПа. |
(обязательное)
ОБЩИЕ СВЕДЕНИЯ О ЧИСЛЕ ОТБИРАЕМЫХ ПРОБ
В соответствии с настоящим стандартом следует отобрать не менее 24 проб.
Всегда следует отбирать параллельные пробы. Холостые пробы следует отбирать параллельно (одну сорбционную трубку временно подсоединяют к линии отбора проб для определения фонового содержания, другую - к линии отбора проб воздуха внутри салона АТС) перед отбором проб в атмосферном режиме. Пробы отбирают в трех режимах: атмосферном, парковки и вождения.
Пробы отбирают в трех точках: для получения определения холостой пробы; для определения фонового содержания; для отбора проб воздуха в салоне.
Таблица E.1
Число отбираемых проб
Режим отбора проб в соответствии с настоящим стандартом | Атмосферный режим | Атмосферный режим | Режим парковки | Режим вождения | Режим вождения |
Средство для отбора проб | | ДНФГ | ДНФГ | | ДНФГ |
Определяемые соединения | ЛОС | Карбонильные соединения | Карбонильные соединения | ЛОС | Карбонильные соединения |
Точка отбора проб | | | | | |
Испытательная камера и АТС для отбора холостой пробы | | | | | |
Испытательная камера для определения фонового содержания | 2 | 2 | 2 | 2 | 2 |
АТС | 2 | 2 | 2 | 2 | 2 |
Общее число | 6 | 6 | 4 | 4 | 4 |
<a> Холостую пробу следует отбирать, по крайней мере, перед каждой серией измерений (серией последовательных измерений на нескольких АТС). |
Примечание - При необходимости определения конкретных соединений могут быть отобраны дополнительные пробы.
Требования к холостым пробам приведены в ИСО 16000-3 и ИСО 16000-6.
(справочное)
СВЕДЕНИЯ О СООТВЕТСТВИИ ССЫЛОЧНЫХ МЕЖДУНАРОДНЫХ СТАНДАРТОВ
НАЦИОНАЛЬНЫМ СТАНДАРТАМ РОССИЙСКОЙ ФЕДЕРАЦИИ
Таблица Д.А
Обозначение ссылочного международного стандарта | Степень соответствия | Обозначение и наименование соответствующего национального стандарта |
ИСО 3833:1977 | - | |
ИСО 9060 | - | |
ИСО 16000-3 | IDT | ГОСТ Р ИСО 16000-3-2007 Воздух замкнутых помещений. Часть 3. Определение содержания формальдегида и других карбонильных соединений. Метод активного отбора проб |
ИСО 16000-6:2011 | - | |
ИСО 16017-1 | IDT | ГОСТ Р ИСО 16017-1-2007 Воздух атмосферный, рабочей зоны и замкнутых помещений. Отбор проб летучих органических соединений при помощи сорбционной трубки с последующей термодесорбцией и газохроматографическим анализом на капиллярных колонках. Часть 1. Отбор проб методом прокачки |
<*> Соответствующий национальный стандарт отсутствуют. До его утверждения рекомендуется использовать перевод на русский язык данного международного стандарта. Перевод данного международного стандарта находится в Федеральном информационном фонде технических регламентов и стандартов. Примечание - В настоящей таблице использованы следующее условное обозначение степени соответствия стандартов: - IDT - идентичные стандарты. |
| Jacobs, J.E., Polster, M.J. Measurement and analysis of volatile organic compound emissions from new vehicle interiors. Warrendale, PA: Society of Automotive Engineers, 2010. (SAE Technical Paper 2010-01-1288.) |
| JAMA Report No. 98|JASO Z125-09, Road vehicles - Interior - Measurement methods of diffused volatile organic compounds (VOC) |
| BMBF Project Fkz: 07INR27A8/07INR27B0. Entwicklung und Erprobung von Standard-Messverfahren die Bewertung des Fahrzeugeigenen Beitrages zu organischen Luftverunreinigungen in von Personenkraftwagen [Development and testing of standard measuring procedures for the evaluation of the contribution from the vehicle to organic air pollution in passenger compartments of passenger cars] |
| WHO. Indoor air quality: Organic pollutants. Copenhagen: World Health Organization, Regional Office for Europe, 1989. (EURO Reports and Studies No. 111.) |
[5] | Lewis R.G., Gordon S.M. Sampling of organic chemicals in air. In: Keith, L.H., editor. Principles of environmental sampling, 2nd edition, pp. 401 - 470. Washington, DC: American Chemical Society, 1996 |
Documents on VOCs cited informatively |
| Indoor air - Part 5: Sampling strategy for volatile organic compounds (VOCs) |
| Indoor air - Part 9: Determination of the emission of volatile organic compounds from building products and furnishing - Emission test chamber method |
| Indoor air - Part 10: Determination of the emission of volatile organic compounds from building products and furnishing - Emission test cell method |
| Indoor air - Part 11: Determination of the emission of volatile organic compounds from building products and furnishing - Sampling, storage of samples and preparation of test specimens |
| Indoor air - Part 24: Performance test for evaluating the reduction of volatile organic compound (except formaldehyde) concentrations by sorptive building materials |
| Indoor air - Part 25: Determination of the emission of semi-volatile organic compounds by building products - Micro-chamber method |
| Indoor, ambient and workplace air - Sampling and analysis of volatile organic compounds by sorbent tube/thermal desorption/capillary gas chromatography - Part 2: Diffusive sampling |
УДК 504.3:006.354 | | |
Ключевые слова: воздух, автотранспортные средства, салон, летучие органические соединения, карбонильные соединения, материалы отделочные, метод определения выделений, камера для испытания, требования, режим атмосферного воздуха, режим парковки, режим вождения |