Главная // Актуальные документы // ГОСТ Р (Государственный стандарт)СПРАВКА
Источник публикации
М.: Стандартинформ, 2019
Примечание к документу
Документ
введен в действие с 01.01.2015.
Название документа
"ГОСТ Р 56182-2014. Национальный стандарт Российской Федерации. Авиационная техника. Устройства уплотнительные с фторопластовыми манжетами, резиновыми и упругими кольцами для поршней. Конструкция, технические требования"
(утв. и введен в действие Приказом Росстандарта от 21.10.2014 N 1365-ст)
"ГОСТ Р 56182-2014. Национальный стандарт Российской Федерации. Авиационная техника. Устройства уплотнительные с фторопластовыми манжетами, резиновыми и упругими кольцами для поршней. Конструкция, технические требования"
(утв. и введен в действие Приказом Росстандарта от 21.10.2014 N 1365-ст)
Утвержден и введен в действие
по техническому регулированию
и метрологии
от 21 октября 2014 г. N 1365-ст
НАЦИОНАЛЬНЫЙ СТАНДАРТ РОССИЙСКОЙ ФЕДЕРАЦИИ
АВИАЦИОННАЯ ТЕХНИКА
УСТРОЙСТВА УПЛОТНИТЕЛЬНЫЕ С ФТОРОПЛАСТОВЫМИ МАНЖЕТАМИ,
РЕЗИНОВЫМИ И УПРУГИМИ КОЛЬЦАМИ ДЛЯ ПОРШНЕЙ
КОНСТРУКЦИЯ, ТЕХНИЧЕСКИЕ ТРЕБОВАНИЯ
Aircraft. Sealing devices with teflon cuffs, rubber and
elastic rings for pistons. Design, technical requirements
ГОСТ Р 56182-2014
Дата введения
1 января 2015 года
1 РАЗРАБОТАН Федеральным государственным унитарным предприятием "Научно-исследовательский институт стандартизации и унификации" (ФГУП "НИИСУ")
2 ВНЕСЕН Техническим комитетом по стандартизации ТК 323 "Авиационная техника"
3 УТВЕРЖДЕН И ВВЕДЕН В ДЕЙСТВИЕ
Приказом Федерального агентства по техническому регулированию и метрологии от 21 октября 2014 г. N 1365-ст
4 ВВЕДЕН ВПЕРВЫЕ
5 ПЕРЕИЗДАНИЕ. Октябрь 2019 г.
Правила применения настоящего стандарта установлены в статье 26 Федерального закона от 29 июня 2015 г. N 162-ФЗ "О стандартизации в Российской Федерации". Информация об изменениях к настоящему стандарту публикуется в ежегодном (по состоянию на 1 января текущего года) информационном указателе "Национальные стандарты", а официальный текст изменений и поправок - в ежемесячном информационном указателе "Национальные стандарты". В случае пересмотра (замены) или отмены настоящего стандарта соответствующее уведомление будет опубликовано в ближайшем выпуске ежемесячного информационного указателя "Национальные стандарты". Соответствующая информация, уведомление и тексты размещаются также в информационной системе общего пользования - на официальном сайте Федерального агентства по техническому регулированию и метрологии в сети Интернет (www.gost.ru)
Настоящий стандарт распространяется на уплотнительные устройства с фторопластовыми манжетами, резиновыми кольцами круглого сечения и упругими кольцами для поршней с возвратно-поступательным движением (в дальнейшем - уплотнительные устройства), предназначенные для применения в рулевых приводах гидравлических систем управления самолетов и вертолетов.
Стандарт устанавливает два исполнения уплотнительных устройств, предназначенных для различных условий эксплуатации.
В настоящем стандарте использованы нормативные ссылки на следующие стандарты:
ГОСТ 1789 Полосы и ленты из бериллиевой бронзы. Технические условия
ГОСТ 20734 Жидкость рабочая 7-50С-3. Технические условия
ГОСТ 23822 Устройства уплотнительные для радиальных неподвижных и радиальных подвижных соединений с повышенным сжатием колец. Конструкция и размеры
ГОСТ 23823 Устройства уплотнительные для радиальных соединений с возвратно-поступательным движением. Конструкция и размеры
Примечание - При пользовании настоящим стандартом целесообразно проверить действие ссылочных стандартов в информационной системе общего пользования - на официальном сайте Федерального агентства по техническому регулированию и метрологии в сети Интернет или по ежегодному информационному указателю "Национальные стандарты", который опубликован по состоянию на 1 января текущего года, и по выпускам ежемесячного информационного указателя "Национальные стандарты" за текущий год. Если заменен ссылочный стандарт, на который дана недатированная ссылка, то рекомендуется использовать действующую версию этого стандарта с учетом всех внесенных в данную версию изменений. Если заменен ссылочный стандарт, на который дана датированная ссылка, то рекомендуется использовать версию этого стандарта с указанным выше годом утверждения (принятия). Если после утверждения настоящего стандарта в ссылочный стандарт, на который дана датированная ссылка, внесено изменение, затрагивающее положение, на которое дана ссылка, то это положение рекомендуется применять без учета данного изменения. Если ссылочный стандарт отменен без замены, то положение, в котором дана ссылка на него, рекомендуется применять в части, не затрагивающей эту ссылку.
3 Конструкция и размеры уплотнительных устройств
3.1 Конструкция и размеры уплотнительных устройств должны соответствовать указанным на
рисунках 1 и
2 и в
таблице 1.
Исполнение 1
--------------------------------
<*> Размер для справок.
1 - фторопластовая манжета; 2 - резиновое кольцо круглого
сечения; 3 - цилиндр; 4 - поршень; А и Б - герметизируемые
полости
Исполнение 2
5 - шайба;
6 - упругое кольцо (остальное см. на
рисунке 1)
В миллиметрах
D, мм | Исполнение | Фторопластовая манжета 1 | Резиновое кольцо 2 (см. [1]) | Шайба 5 | Упругое кольцо 6 |
Количество |
1 | 1 | 2 | 2 |
Обозначение |
25 | 1 | МФ-25 | 019-024-30-1-043 - см. [1] | - | - |
28 | МФ-28 | 022-027-30-1-043 - см. [1] | - | - |
30 | МФ-30 | 024-029-30-1-043 - см. [1] | - | - |
32 | МФ-32 | 025-031-36-1-043 - см. [1] | - | - |
36 | МФ-36 | 029-035-36-1-043 - см. [1] | - | - |
40 | 1 | МФ-40 | 034-040-36-1-043 - см. [1] | - | - |
2 | Ш-40 | КУ-40 |
45 | 1 | МФ-45 | 039-045-36-1-043 - см. [1] | - | - |
2 | Ш-45 | КУ-45 |
50 | 1 | МФ-50 | 044-050-36-1-043 - см. [1] | - | - |
2 | Ш-50 | КУ-50 |
56 | 1 | МФ-56 | 047-055-46-1-043 - см. [1] | - | - |
2 | Ш-56 | КУ-56 |
60 | 1 | МФ-60 | 052-060-46-1-043 - см. [1] | - | - |
2 | Ш-60 | КУ-60 |
75 | 1 | МФ-75 | 067-075-46-1-043 - см. [1] | - | - |
2 | Ш-75 | КУ-75 |
80 | 1 | МФ-80 | 072-080-46-1-043 - см. [1] | - | - |
2 | Ш-80 | КУ-75 |
90 | 1 | МФ-90 | 082-090-46-1-043 - см. [1] | - | - |
2 | Ш-90 | КУ-90 |
100 | 1 | МФ-100 | 090-100-58-1-043 - см. [1] | - | - |
2 | Ш-100 | КУ-100 |
110 | 1 | МФ-110 | 100-110-58-1-043 - см. [1] | - | - |
2 | Ш-110 | КУ-110 |
125 | 1 | МФ-125 | 115-125-58-1-043 - см. [1] | - | - |
2 | Ш-125 | КУ-125 |
140 | 1 | МФ-140 | 130-140-58-1-043 - см. [1] | - | - |
2 | Ш-140 | КУ-140 |
3.2 Наружные диаметры фторопластовых манжет, установленных в посадочные места с резиновыми кольцами круглого сечения, должны соответствовать указанным на
рисунках 3 и
4 и в
таблице 2.
Исполнение 1
--------------------------------
<*> Размер для справок.
1 - фторопластовая манжета; 2 - резиновое кольцо круглого
сечения
Исполнение 2
3 - упругое кольцо;
4 - шайба (остальное см. на
рисунке 3)
В миллиметрах
D1 | d | d1 |
Номинальный | Предельное отклонение |
25 | 3,0 | 25 | +1,1 +0,5 |
28 | 28 |
30 | 30 |
32 | 3,6 | 32 | +1,2 +0,6 |
36 | 36 |
40 | 40 |
45 | 45 | 1,2 +0,6 |
50 | 50 |
56 | 4,6 | 56 |
60 | 60 |
75 | 75 |
80 | 80 |
90 | 90 | +1,2 +0,6 |
100 | 5,7 | 100 | +1,5 +0,6 |
110 | 110 |
125 | 125 |
140 | 140 |
3.3 Повреждение деталей уплотнительных устройств при установке их в посадочные места не допускается.
3.4 Детали уплотнительных устройств 1 и 2 должны устанавливаться в посадочные места не более одного раза.
Детали
5 и
6 (см.
рисунок 2) при монтаже следует развернуть прорезью на 180° относительно друг друга.
3.5 Перед сборкой уплотнительных устройств посадочные места необходимо смазать рабочей жидкостью.
3.6 Условия работы уплотнительных устройств должны соответствовать указанным в
таблице 3.
Условия работы | Рабочая среда |
| Жидкость 7-50С-3 по ГОСТ 20734 |
Исполнение | 1 и 2 | 2 |
Диапазон температуры рабочих сред, °C | От минус 60 до плюс 125 | От минус 60 до плюс 175 длительно и до плюс 200 кратковременно 15 мин за 100 ч |
Степень герметичности | |
Скорость перемещения штока, м/с, не более | 0,2 |
Перепад давления между полостями А и Б, МПа (кгс/см2), не более | 21 (210) | 28 (280) |
Испытательное давление, МПа (кгс/см2), не более | |
Ресурс до первого ремонта, ч | 6000 | 2000 |
Срок хранения в составе изделия, лет | 8 |
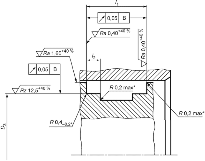
3.7 Конструкция и размеры посадочных мест уплотнительных устройств должны соответствовать указанным на
рисунках 5 и
6 и в
таблице 4.
Исполнение 1
--------------------------------
<*> Размеры обеспечиваются инструментом.
<**> Размер и шероховатость поверхности после покрытия.
| | ИС МЕГАНОРМ: примечание. Нумерация исполнения дана в соответствии с официальным текстом документа. | |
Исполнение 1
В миллиметрах
Исполнение | D = D1 | D2 | D3 | l | l1 | l2 |
Предельное отклонение |
H7/g6 | H7/f7 | H7/d11 | h8 | H11 | +/- 0,02 |
1 | - | 25 | - | 19,4 | - | 5,6 | - | - |
- | 28 | - | 22,4 | - | 5,6 | - | - |
- | 30 | - | 24,4 | - | 5,6 | - | - |
- | 32 | - | 25,2 | - | 6,6 | - | - |
- | 36 | - | 29,2 | - | 6,6 | - | - |
1 | - | 40 | - | 33,2 | - | 6,6 | - | - |
2 | - | - | 40 | 35,6 | - | 12,0 | 2,5 |
1 | - | 45 | - | 38,2 | - | 6,6 | - | - |
2 | - | - | 45 | 40,6 | - | 12,0 | 2,5 |
1 | - | 50 | - | 43,2 | - | 6,6 | - | - |
2 | - | - | 50 | 45,6 | - | 12,0 | 2,5 |
1 | - | 56 | - | 47,0 | - | 7,6 | - | - |
2 | - | - | 56 | 50,5 | - | 14,4 | 3,0 |
1 | - | 60 | - | 51,0 | - | 7,6 | - | - |
2 | - | - | 60 | 54,5 | - | 14,4 | 3,0 |
1 | - | 75 | - | 66,0 | - | 7,6 | - | - |
2 | - | - | 75 | 69,5 | - | 14,4 | 3,0 |
1 | - | 80 | - | 71,0 | - | 7,6 | - | - |
2 | - | - | 80 | 74,5 | - | 14,4 | 3,0 |
1 | 90 | - | - | 81,0 | - | 7,6 | - | - |
2 | - | - | 90 | 84,5 | - | 14,4 | 3,0 |
1 | 100 | - | - | 89,0 | - | 8,6 | - | - |
2 | - | - | 100 | 93,5 | - | 16,8 | 3,5 |
1 | 110 | - | - | 99,0 | - | 8,6 | - | - |
2 | - | - | 110 | 103,5 | - | 16,8 | 3,5 |
1 | 125 | - | - | 114,0 | - | 8,6 | - | - |
2 | - | - | 125 | 118,5 | - | 16,8 | 3,5 |
1 | 140 | - | - | 129,0 | - | 8,6 | - | - |
2 | - | - | 140 | 133,5 | - | 16,8 | 3,5 |
1 | 90 | - | - | 81,0 | - | 7,6 | - | - |
2 | - | - | 90 | 84,5 | - | 14,0 | 3,0 |
1 | 100 | - | - | 89,0 | - | 8,6 | - | - |
2 | - | - | 100 | 93,5 | - | 16,0 | 3,5 |
1 | 110 | - | - | 99,0 | - | 8,6 | - | - |
2 | - | - | 110 | 103,5 | - | 16,0 | 3,5 |
1 | 125,0 | - | - | 114,0 | - | 8,6 | - | - |
2 | - | - | 125,0 | 118,5 | - | 16,0 | 3,5 |
1 | 140,0 | - | - | 129,0 | - | 8,6 | - | - |
2 | - | - | 140,0 | 133,5 | - | 16,0 | 3,5 |
3.8 Материал поршня и детали, образующей посадочное место, - сталь конструкционная, HRC >= 28.
3.9 Монтажная фаска - по ГОСТ 23822, ГОСТ 23823.
3.10 На поверхности Г не допускаются риски, царапины, забоины и другие дефекты.
3.11 Покрытие поверхности В - Хим. Фос. окс, поверхности Г - Х48. тв.
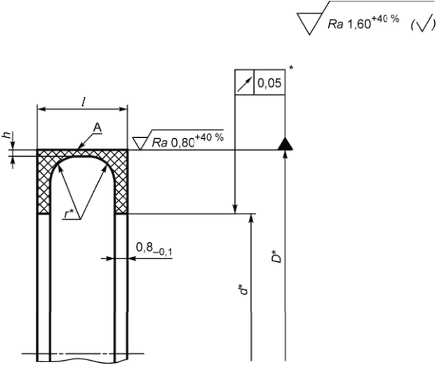
4 Конструкция и размеры фторопластовых манжет
4.1 Конструкция и размеры фторопластовых манжет должны соответствовать указанным на
рисунке 7 и в
таблице 5.
--------------------------------
<*> Размеры обеспечиваются инструментом.
В миллиметрах
Диаметр цилиндра | d | D | L | r | h | Масса 1000 шт., кг, не более |
Предельное отклонение |
H9 | H8 | H12 | + 0,2 | - 0,03 |
25 | 19,0 | 24,6 | 5,6 | 1,3 | 0,3 | 1,75 |
28 | 22,0 | 27,6 | 1,96 |
30 | 24,0 | 29,6 | 2,10 |
32 | 24,7 | 31,5 | 6,6 | 1,5 | 0,4 | 2,72 |
36 | 28,7 | 35,5 | 3,06 |
40 | 32,7 | 39,5 | 3,40 |
45 | 37,7 | 44,5 | 3,82 |
50 | 42,2 | 49,0 | 4,25 |
56 | 46,0 | 55,0 | 7,6 | 2,0 | 0,5 | 5,33 |
60 | 50,0 | 59,0 | 6,42 |
75 | 65,0 | 74,0 | 8,02 |
80 | 70,0 | 79,0 | 8,56 |
90 | 80,0 | 89,0 | 9,70 |
100 | 88,0 | 99,0 | 8,5 | 2,5 | 0,5 | 13,00 |
110 | 98,0 | 109,0 | 14,30 |
125 | 113,0 | 124,0 | 16,25 |
140 | 128,0 | 139,0 | 18,00 |
Примечание - Размер диаметра цилиндра дан для справок. |
4.2 Материал: фторопласт-4, высший сорт (см.
[5]). Заменитель - фторопласт-4А, сорт 1 (см.
[4]) из полимера марки ПН или О.
4.3 Острые кромки притупить R 0,2 мм max или любой кривой, не выходящей за пределы указанного радиуса.
4.4 На поверхности А риски, царапины, заусенцы, инородные включения и другие дефекты, обнаруживаемые визуально, не допускаются.
4.5 Контроль шероховатости поверхностей и кромок должен проводиться методом визуального сравнения с контрольным образцом, утвержденным в установленном порядке.
4.6 Маркируют обозначение и клеймят окончательную приемку на бирке на партию деталей.
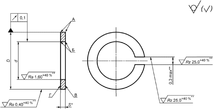
5 Конструкция и размеры шайб
5.1 Конструкция и размеры шайб должны соответствовать указанным на
рисунке 8 и в
таблице 6.
--------------------------------
<*> Размер для справок.
<**> Размер и шероховатость поверхности обеспечиваются инструментом.
В миллиметрах
Диаметр цилиндра | D | d | S | Масса 1000 шт., кг, не более |
Предельное отклонение |
f7 | D11 |
40 | 40 | 33,2 | 0,2 | 0,64 |
45 | 45 | 38,2 | 0,72 |
50 | 50 | 43,2 | 0,81 |
56 | 56 | 47,0 | 0,4 | 1,19 |
60 | 60 | 51,0 | 1,28 |
75 | 75 | 66,0 | 1,63 |
80 | 80 | 71,0 | 1,75 |
90 | 90 | 81,0 | 1,98 |
100 | 100 | 89,0 | 0,6 | 2,67 |
110 | 110 | 99,0 | 2,96 |
125 | 125 | 114,0 | 3,38 |
140 | 140 | 129,0 | 3,80 |
Примечание - Размер диаметра цилиндра дан для справок. |
5.3 Кромки А и Б - острые.
5.4 Размеры D, d и допуск биения указаны до разрезки.
5.5 На поверхностях В и Г не допускаются трещины, риски, царапины, вмятины.
Контроль качества поверхностей В и Г проводится по контрольному образцу, утвержденному в установленном порядке.
5.6 Покрытие: Хим. Пас.
5.7 Маркируют обозначение и клеймят окончательную приемку на бирке на партию деталей.
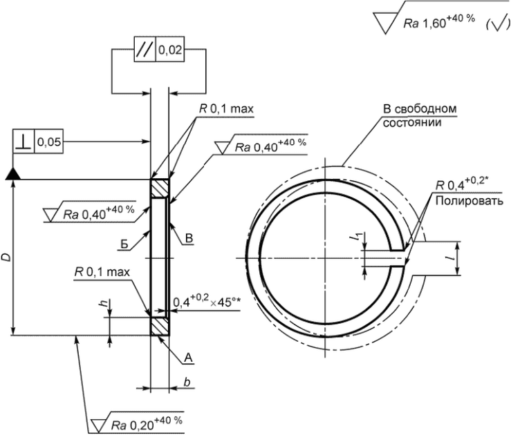
6 Конструкция и размеры упругих колец
6.1 Конструкция и размеры упругих колец должны соответствовать указанным на
рисунке 9 и в
таблице 7.
--------------------------------
<*> Размеры обеспечиваются инструментом.
В миллиметрах
Диаметр цилиндра | D | b | h | l | Масса 1000 шт., кг, не более | l1, предельное отклонение + 0,2 |
Предельное отклонение |
m6 | f9 | +/- 0,08 |
40 | 40 | 2,5 | 2,0 | 5 +/- 2 | 4,95 | 0,3 |
45 | 45 | 5,60 |
50 | 50 | 6,25 |
56 | 56 | 3,0 | 2,5 | 10,45 |
60 | 60 | 11,23 |
75 | 75 | 10 +/- 3 | 14,17 |
80 | 80 | 15,14 |
90 | 90 | 17,10 |
100 | 100 | 3,5 | 3,0 | 15 +/- 4 | 25,54 | 0,4 |
110 | 110 | 29,28 |
125 | 125 | 20 +/- 5 | 33,38 |
140 | 140 | 37,49 |
Примечание - Размер диаметра цилиндра дан для справок. |
6.2 Материал: отливка-заготовка из бронзы ВБр3 (см.
[4]).
6.3 Термообработка:

,

.
6.4 Размер D и допуск параллельности указаны до разрезки кольца.
6.5 После разрезки кольца размер D контролируют на прилегание по калибру с предельным отклонением по А. Допускается зазор между кольцом и калибром не более 0,05 мм на дуге или сумме дуг не более 90°.
6.6 Неуказанные кромки притупить R 0,3 мм max.
6.7 При обработке поверхностей А, Б и В не допускается применение абразивных доводочных материалов.
6.8 Покрытие: Хим. Пас.
6.9 Маркируют обозначение и клеймят окончательную приемку на бирке на партию деталей.
| ОСТ 1 00980-75 | Кольца резиновые уплотнительные круглого сечения. Общие технические условия |
| ОСТ 1 00128-74 | Герметичность изделий. Нормы |
| ОСТ 1 00095-73 | Гидросистемы силовые летательных аппаратов. Давления |
| ОСТ 1 90072-72 | Отливки-заготовки из алюминиево-никелевой бронзы марки ВБр3 |
| ТУ 6-05-810-88 | Заготовки из фторопласта-4 и фторопласта-4А общего назначения |
УДК 006.44:62-762:629.735:006.354 | |
Ключевые слова: авиационная техника, уплотнительные устройства, фторопластовые манжеты, резиновые и упругие кольца |