Главная // Актуальные документы // ГОСТ Р (Государственный стандарт)
СПРАВКА
Источник публикации
М.: Стандартинформ, 2016
Примечание к документу
Документ введен в действие с 1 апреля 2017 года.
Название документа
"ГОСТ Р МЭК 61131-1-2016. Национальный стандарт Российской Федерации. Контроллеры программируемые. Часть 1. Общая информация"
(утв. и введен в действие Приказом Росстандарта от 13.05.2016 N 314-ст)

"ГОСТ Р МЭК 61131-1-2016. Национальный стандарт Российской Федерации. Контроллеры программируемые. Часть 1. Общая информация"
(утв. и введен в действие Приказом Росстандарта от 13.05.2016 N 314-ст)


Содержание


Утвержден и введен в действие
Приказом Федерального агентства
по техническому регулированию
и метрологии
от 13 мая 2016 г. N 314-ст
НАЦИОНАЛЬНЫЙ СТАНДАРТ РОССИЙСКОЙ ФЕДЕРАЦИИ
КОНТРОЛЛЕРЫ ПРОГРАММИРУЕМЫЕ
ЧАСТЬ 1
ОБЩАЯ ИНФОРМАЦИЯ
Programmable controllers. Part 1. General information
(IEC 61131-1:2003, IDT)
ГОСТ Р МЭК 61131-1-2016
ОКС 35.240.50,
25.040.40
Дата введения
1 апреля 2017 года
Предисловие
1 ПОДГОТОВЛЕН Негосударственным образовательным частным учреждением "Новая Инженерная Школа" (НОЧУ "НИШ") на основе перевода на русский язык англоязычной версии указанного в пункте 4 стандарта, который выполнен Российской комиссией экспертов МЭК/ТК 65, и Федеральным государственным унитарным предприятием "Всероссийский научно-исследовательский институт стандартизации и сертификации в машиностроении" ("ВНИИНМАШ")
2 ВНЕСЕН Техническим комитетом по стандартизации ТК 306 "Измерения и управление в промышленных процессах"
3 УТВЕРЖДЕН И ВВЕДЕН В ДЕЙСТВИЕ Приказом Федерального агентства по техническому регулированию и метрологии от 13 мая 2016 г. N 314-ст
4 Настоящий стандарт идентичен международному стандарту МЭК 61131-1:2003 "Контроллеры программируемые. Часть 1. Общая информация" (IEC 61131-1:2003 "Programmable controllers - Part 1: General information", IDT).
Международный стандарт разработан Техническим комитетом МЭК ТК 65 "Измерения и управление в промышленных процессах".
При применении настоящего стандарта рекомендуется использовать вместо ссылочных международных стандартов соответствующие им межгосударственные стандарты, сведения о которых приведены в дополнительном приложении ДА
5 ВВЕДЕН ВПЕРВЫЕ
Правила применения настоящего стандарта установлены в ГОСТ Р 1.0-2012 (раздел 8). Информация об изменениях к настоящему стандарту публикуется в ежегодном (по состоянию на 1 января текущего года) информационном указателе "Национальные стандарты", а текст изменений и поправок - в ежемесячном информационном указателе "Национальные стандарты". В случае пересмотра (замены) или отмены настоящего стандарта соответствующее уведомление будет опубликовано в ежемесячном информационном указателе "Национальные стандарты". Соответствующая информация, уведомление и тексты размещаются также в информационной системе общего пользования - на официальном сайте Федерального агентства по техническому регулированию и метрологии в сети Интернет (www.gost.ru)
Введение
Настоящий стандарт является первой частью серии стандартов на программируемые контроллеры и связанные с ними периферийные устройства и должен интерпретироваться в контексте других частей серии.
В том случае, если имеются противоречия между настоящим стандартом и другими стандартами МЭК (за исключением стандартов, устанавливающих основные требования по безопасности), положения настоящего стандарта должны рассматриваться как первостепенные в области программируемых контроллеров и связанных с ними периферийных устройств.
Цели данной серии стандартов:
часть 1 - определение и идентификация основных характеристик, которые влияют на выбор и применение программируемых контроллеров (ПЛК) и связанных с ними периферийных устройств;
часть 2 - установка требований к оборудованию и соответствующим тестам ПЛК и связанных с ними периферийных устройств;
часть 3 - определение простых, но полных базовых наборов элементов программирования, применимых тестов и средств, с помощью которых изготовители могут расширять или адаптировать данные базовые наборы в собственном внедрении ПЛК для каждого из наиболее широко используемых языков программирования, основных сфер применения, синтаксических и семантических правил;
часть 4 - представление общего обзора и руководства по применению настоящего стандарта для конечных потребителей ПЛК;
часть 5 - определение характеристик обмена данными между ПЛК и другими электронными системами;
часть 6 - зарезервирована;
часть 7 - определение языка программирования для нечеткого контроля;
часть 8 - представление руководства по использованию и внедрению (имплементации) языков программирования, указанных в части 3.
1 Область применения
Настоящий стандарт распространяется на программируемые (логические) контроллеры (ПЛК) и связанные с ними периферийные устройства, например, инструментальные средства программирования и отладки (СПиО), человеко-машинные интерфейсы (ЧМИ) и т.д., предназначенные для контроля и управления машинами и производственными процессами.
ПЛК и связанные с ними периферийные устройства предназначены для использования в условиях производственной среды и могут предоставляться как открытое или закрытое оборудование. Если ПЛК или связанные с ними периферийные устройства предназначены для применения в других условиях, то к данным ПЛК и связанным с ними периферийных устройств следует дополнительно применять специальные требования, стандарты и методы установки.
Функции ПЛК могут быть реализованы на специальной платформе аппаратного и программного обеспечения, например, на компьютере общего назначения или персональном компьютере с функциями, предназначенными для производственной среды. Настоящий стандарт распространяется на средства, выполняющие функции ПЛК и/или связанные с ними периферийные устройства. Настоящий стандарт не рассматривает вопросы функциональной безопасности и другие аспекты автоматизированной системы общего назначения. ПЛК, прикладные программы и связанные с ними периферийные устройства рассматриваются, как компоненты системы управления.
В связи с тем, что ПЛК являются устройствами, состоящими из нескольких компонентов, условия обеспечения безопасности для автоматизированной системы общего назначения, включая ее установку и применение, в настоящем стандарте не рассматриваются. В настоящем стандарте рассматриваются вопросы безопасности ПЛК относительно рисков удара электрическим током и возникновения пожаров, защищенности от электрических помех и обнаружения ошибок в работе ПЛК-систем (например, использование контроля четности, диагностика самотестирования и т.п.). Информацию и руководства по обеспечению электрической изоляции см. в МЭК 60364 или применяемых национальных/местных нормативно-правовых актах.
В настоящем стандарте приведены используемые термины с соответствующими определениями и принципиальные функциональные характеристики систем с ПЛК.
2 Нормативные ссылки
В настоящем стандарте использованы нормативные ссылки на следующие стандарты. Для недатированных ссылок применяют последнее издание ссылочного документа (включая все его изменения). Для датированных ссылок применяют только указанное издание ссылочного документа.
IEC 61131-2, Programmable controllers - Part 2: Equipment requirements and tests (Программируемые контроллеры. Часть 2. Требования к оборудованию и испытания <1>)
--------------------------------
<1> Готовится к публикации.
IEC 61131-3:2003, Programmable controllers - Part 3: Programming languages (Программируемые контроллеры. Часть 3. Языки программирования)
3 Термины и определения
В настоящем стандарте применены следующие термины с соответствующими определениями:
3.1 прикладная программа или программа пользователя (application programme or user programme): Логический блок всех элементов языка программирования и логических структур, необходимых для заданной обработки сигналов, требуемой для управления машиной или процессом ПЛК-системой.
3.2 автоматизированная система (automated system): Система управления, не входящая область распространения МЭК 61131, в которую потребителем или для потребителя включены ПЛК-системы и которые также содержат другие компоненты, в том числе прикладные программы.
3.3 полевое устройство (field device): Внесенная в каталог изготовителя часть ПЛК-системы, предназначенная для предоставления интерфейсов ввода и/или вывода или предварительной/последующей обработки данных в систему с ПЛК. Удаленное полевое устройство может быть независимым от системы с ПЛК. Оно может подключаться к ПЛК с помощью полевой шины.
3.4 релейно-контактная схема или схема релейной цепи (ladder diagram or relay ladder diagram): Одна или несколько сетей контактов, катушек, графически представленных функций, функциональных блоков, элементов данных, текстовых данных и соединительных элементов, разделенные левыми и (по выбору) правыми шинами электропитания.
3.5 программируемый (логический) контроллер; ПЛК (programmable (logic) controller; PLC): Цифровая электронная система, предназначенная для применения в производственной среде, которая использует программируемую память для внутреннего хранения ориентированных на потребителя инструкций по реализации таких специальных функций, как логика, установление последовательности, согласование по времени, счет и арифметические действия для контроля посредством цифрового или аналогового ввода/вывода данных различных видов машин или процессов. Как ПЛК, так и связанные с ними периферийные устройства разрабатываются таким образом, чтобы они могли легко интегрироваться в любую промышленную систему управления с применением всех встроенных в них функций.
Примечание - Аббревиатура "ПЛК" применяется в настоящем стандарте вместо словосочетания "программируемые контроллеры", так как она широко применяется в отрасли автоматизации. Аббревиатура "ПК" может быть ошибочно расшифрована, как "персональный компьютер".
3.6 система с программируемым контроллером или ПЛК-система (programmable controller system or PLC-system): Создаваемая потребителем конфигурация, состоящая из ПЛК и соответствующих периферийных устройств, необходимых для работы автоматизированной системы. Она состоит из блоков, взаимосвязанных с помощью кабелей или штекерных разъемов при постоянной установке и с помощью кабелей и других средств при подключении переносных или мобильных периферийных устройств.
3.7 средства программирования и отладки; СПиО (programming and debugging tool; PADT): Периферийное устройство из каталога изготовителя, служащее для программирования, тестирования, ввода в эксплуатацию и устранения неисправностей приложения, программной документации и хранилища данных ПЛК-системы и может применяться в качестве ЧМИ. СПиО называются подключаемыми, если они могут быть в любое время подключены или отключены в соответствующем интерфейсе без риска для оператора и технологического процесса. Во всех других случаях СПиО называются стационарными.
3.8 станции удаленного ввода/вывода данных; СУВД (remote input/output station; RIOS): Часть ПЛК-системы из каталога изготовителя, включающая в себя интерфейсы ввода и/или вывода, которые только в рамках иерархического подчинения главному устройству обработки данных - центральному процессу (ЦП) могут выполнять операции по уплотнению/разуплотнению каналов ввода/вывода и предварительной/последующей обработки данных. Только для СУВД допускается ограниченная автономная работа, например, при таких чрезвычайных обстоятельствах, как разрыв канала обмена данными с ЦП или поломки самого ЦП, либо при выполнении операций по поиску неисправностей или технического обслуживания.
4 Функциональные характеристики
4.1 Базовая функциональная структура системы с программируемым контроллером
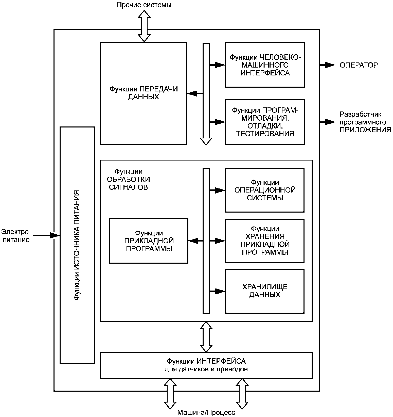
Общая структура с указанием основных функциональных компонентов системы с программируемым контроллером представлена на рисунках 1, 2 и 3. Данные функции осуществляют обмен данными между собой и обрабатывают сигналы машины/процесса, подлежащего контролю.
Рисунок 1 - Базовая функциональная структура ПЛК-системы
Рисунок 2 - Модель аппаратного обеспечения программируемого
контроллера (по МЭК 61131-5)
Условные обозначения:
Al - интерфейс/порт передачи данных для стойки локального расширения;
Ar - интерфейс/порт передачи данных для станции удаленного ввода/вывода, сети управления, промышленной шины;
Be - интерфейс/порт порт передачи данных также открыт для сторонних устройств (например, СПиО, персональный компьютер, используемый для программирования вместо);
Bi - внутренний интерфейс/порт передачи данных для периферийных устройств;
C - интерфейс/порт для цифровых и аналоговых входных сигналов;
D - интерфейс/порт для цифровых и аналоговых выходных сигналов;
E - последовательные или параллельные интерфейсы/порты передачи данных сторонним устройствам;
F - интерфейс/порт питания оборудования. К устройствам с портами F предъявляются требования по сохранению в работоспособном состоянии подключенных за ними устройств во время включения, выключения и прерывания электропитания;
G - порт защитного заземления;
H - порт для функционального заземления;
J - интерфейс/порт выхода вспомогательного питания, используемый для энергообеспечения датчиков и приводов;
K - интерфейс/порт питания входов/выходов.
Рисунок 3 - Типовая конфигурация интерфейсов/портов
ПЛК-системы (по МЭК 61131-2)
Функция ЦП заключается в хранении прикладной программы, хранении данных, операционной системы(е) и выполнении функций прикладной программы.
ЦП обрабатывает сигналы, поступающие с датчиков, а также из внутреннего хранилища данных и генерирует сигналы для приводов и внутреннего хранилища данных в соответствии с прикладной программой.
Функции интерфейса для датчиков и приводов
Интерфейс для датчиков и приводов преобразует:
- входящие сигналы и/или данные, поступающие из машины/процесса в сигналы уровня, необходимого для обработки;
- выходящие сигналы и/или данные, поступающие от функции обработки сигналов в сигналы уровня, необходимого для работы приводов и/или дисплеев.
Сигналы, входящие/выходящие из функций интерфейса, могут поступать из специальных модулей, которые выполняют предварительную обработку сигналов внешних датчиков в соответствии с определенными функциями, содержащимися в самих модулях. В число таких модулей входят модуль PID (идентификационного номера процесса), модуль нечеткого контроля, модуль быстродействующего счетчика, модуль движения и другие.
Функция передачи данных
Функция передачи данных обеспечивает обмен данными с другими системами (сторонними устройствами), например, с другими ПЛК-системами, устройствами управления роботами, компьютерами и т.д.
Функция человеко-машинного интерфейса (ЧМИ)
Функция ЧМИ обеспечивает взаимодействие между оператором, функцией обработки сигналов и машиной/процессом.
Функции программирования, отладки, тестирования и документации
Данные функции обеспечивают генерирование и загрузку прикладной программы, мониторинг и отладку, а также документацию и архивирование прикладной программы.
Функции источника питания
Функции источника питания обеспечивают преобразование и изоляцию источника питания ПЛК-системы от сетевого электропитания.
4.2 Характеристики функции центрального процессора
4.2.1 Обзор
Возможности ПЛК определяются программируемыми функциями, обзор которых представлен в таблице 1.
Для удобства восприятия программируемые функции разбиты на группы в зависимости от назначения.
Таблица 1
Обзор программируемых функций
Группа функций
Пример
Логическое управление:
- логика;
- таймеры;
- счетчики
Элементы языка программирования:
AND, OR, NOT, XOR, бистабильные элементы;
on-delay, off-delay;
отсчет вверх и/или вниз (импульсов)
Обработка сигналов/данных:
- математические функции;
Базовые арифметические действия: сложение, вычитание, умножение, деление
Расширенные арифметические действия: квадратный корень, тригонометрические функции
Сравнения: больше, меньше, равно
- обработка данных;
- обработка аналоговых данных
Выбор, форматирование, перемещение
ПИД, интеграция, фильтрация (не как стандартные элементы)
Нечеткий контроль
Функции интерфейса:
- ввод/вывод;
- прочие системы;
- ЧМИ;
- принтеры;
- массовая память
Модули аналогового, цифрового ввода/вывода
Преобразование двоично-десятичного кода
Протоколы обмена данными
Дисплей, команды
Сообщения, отчеты
Журналирование
Контроль выполнения
Периодическое выполнение, выполнение, управляемое событиями
Конфигурация системы
Проверка состояния (не как стандартные элементы)
4.2.2 Операционная система
Функция операционной системы отвечает за управление внутренними, взаимозависимыми функциями ПЛК-системы (контроль конфигурации, диагностика, управление памятью, управление выполнением прикладной программы, обмен данными с периферийными устройствами и функции интерфейса для датчиков и приводов, и т.д.).
После выключения электропитания или искажения передаваемых сигналов ПЛК-система может быть перезапущена тремя различными способами.
a) Холодный перезапуск
Перезапуск ПЛК-системы и ее прикладной программы после того, как все динамические данные (такие переменные, как образ ввода/вывода, внутренние реестры, таймеры, счетчики и т.д., а также программный контекст) переустановлены в предварительно определенное состояние. Холодный перезапуск может быть автоматическим (например, после отказа электропитания, потери данных в динамическом сегменте(ах) памяти(ей) и т.д.) или ручным (например, с помощью нажимной кнопки и т.д.).
b) Теплый перезапуск
Перезапуск после отказа электропитания с помощью запрограммированного потребителем набора остаточных данных и предварительно определенного системного контекста прикладной программы. Теплый перезапуск определяется наличием флажка состояния или другими соответствующими средствами, доступными для прикладной программы, которые указывают, что в режиме выполнения был обнаружен сбой электропитания ПЛК-системы.
c) Горячий перезапуск
Перезапуск после отказа электропитания, который имел место в пределах зависящего от процесса максимально допустимого времени для восстановления ПЛК-системы, если бы не было сбоя электропитания.
Все данные ввода/вывода и другие динамические данные, а также контекст прикладной программы восстанавливаются или остаются неизменными.
Функция горячего перезапуска требует наличия часов реального времени или таймера с отдельным электропитанием для определения времени, прошедшего после обнаружения сбоя электропитания и доступных потребителю средств программирования максимально допустимого времени для соответствующего процесса.
4.2.3 Память для хранения данных прикладной программы
Хранение прикладной программы
Хранение прикладной программы предусматривает выделение ячеек памяти для хранения серии инструкций, периодическое или управляемое событиями выполнение которых определяет последовательность работы машины или продвижения процесса. Хранение прикладной программы также может предусматривать выделение ячеек памяти для хранения первоначальных значений данных прикладной программы.
Хранение данных прикладной программы
Хранение данных прикладной программы предусматривает выделение ячеек памяти для хранения образа ввода/вывода и данных (например, наборы значений для таймеров, счетчиков, состояния сигнализации, параметров и наборов команд для машины или процесса), необходимых для выполнения прикладной программы.
Тип, емкость и использование памяти
Используются различные типы памяти: память чтения-записи (RAM), память только для чтения (ROM), программируемая постоянная память (PROM), перепрограммируемая постоянная память (EPROM/UV-PROM, EEPROM). Сохранение данных в памяти при сбое электропитания достигается выбором надлежащего типа памяти, если применимо (например, EPROM, EEPROM), или благодаря использованию аварийного средства памяти для энергозависимых типов памяти (например, батарея).
Емкость памяти определяется числом ячеек памяти в килобайтах, которое зарезервировано для хранения прикладной программы и данных прикладной программы. Параметры емкости памяти:
- емкость в минимально пригодной конфигурации;
- размер(ы) для инкрементов расширения;
- емкость(и) при максимальной конфигурации(ях).
Любая программируемая функция, применяемая прикладной программой, занимает ячейки памяти. Число необходимых ячеек, как правило, зависит от программируемых функций и типа ПЛК.
Объем памяти, необходимый для хранение данных прикладной программы, зависит от объема и формата сохраняемых данных.
4.2.4 Выполнение прикладной программы
Прикладная программа может состоять из ряда задач. Каждая задача решается последовательно. Каждая программируемая функция выполняется поочередно, пока задача не будет решена полностью. Управление инициированием задачи, периодически или при обнаружении события (условие прерывания), осуществляет операционная система.
4.3 Характеристики функции интерфейса для датчиков и приводов
a) Типы входящих/выходящих сигналов
Информация о состоянии и данные, поступающие от машины/процесса, передаются в систему ввода/вывода ПЛК в виде бинарных, цифровых, инкрементных или аналоговых сигналов. Решения и результаты, определяемые функцией обработки, передаются в машину/процесс путем использования соответствующих бинарных, цифровых, инкрементных или аналоговых сигналов. Большое разнообразие применяемых датчиков и приводов требует их адаптации к широкому диапазону входных и выходных сигналов.
b) Характеристики системы ввода/вывода
В системах ввода/вывода применяются различные способы обработки, преобразования и локализации сигналов. Работа и производительность ПЛК-системы зависят от статической/динамической оценки сигнала (обнаружения события), процедур хранения/не хранения, наличия оптоизоляции и т.д.
Системы ввода/вывода в целом демонстрируют модульную функцию, которая предусматривает конфигурирование ПЛК-системы в соответствии с потребностями машины/процесса, а также последующее расширение (вплоть до максимальной конфигурации).
Системы ввода/вывода могут быть смонтированы либо вблизи модулей обработки сигналов, либо вблизи датчиков и приводов машины/процесса отдельно от модулей обработки сигналов.
4.4 Характеристики функции передачи данных
Функция передачи данных реализуется в виде аспектов коммуникации ПЛК. Это обеспечивает работу программы и обмен данными ПЛК с внешними устройствами, другими ПЛК или устройствами автоматизированной системы.
Указанная функция обеспечивает проверку полномочий устройств, сбор данных, аварийное оповещение, выполнение программы, контроль ввода/вывода, перемещение программы, управление подключениями блока обработки сигналов ПЛК к/от внешних устройств.
Функция передачи данных, как правило, выполняется путем последовательной передачи данных по локальным сетям или каналам связи "точка-точка".
4.5 Характеристики функции человеко-машинного интерфейса (ЧМИ)
Функция ЧМИ имеет цели:
- предоставление оператору информации, необходимой для мониторинга работы машины/процесса;
- предоставление оператору возможности взаимодействия с ПЛК-системой и ее прикладной программой с целью принятия решений и внесения корректировок, выходящих за пределы прав отдельного потребителя.
4.6 Характеристики функций программирования, отладки, мониторинга, тестирования и документирования
4.6.1 Обзор
Данные функции реализуются как составная или независимая часть ПЛК и обеспечивают генерацию кода и хранение прикладной программы и данных прикладной программы в памяти(ях) ПЛК, а также извлечение указанных программ и данных из памяти(ей).
4.6.2 Язык
Для программирования приложения в МЭК 61131-3 определен набор языков.
a) Текстовые языки:
1) язык набора команд (НК) - текстовый язык программирования, использующий команды для представления прикладной программы для ПЛК-системы;
2) язык структурированного текста (СТ) - текстовый язык программирования, использующий присваивание значений, управление подпрограммами и итеративные предложения для представления прикладной программы для ПЛК-системы;
b) Графические языки:
1) графический язык программирования (ГЯП) - графический язык программирования, использующий функциональные схемы (ФС) для представления прикладной программы для ПЛК-системы;
2) язык релейных схем (РС) - графический язык программирования, использующий релейные схемы (РС) для представления прикладной программы для ПЛК-системы;
3) последовательностная функциональная схема (ПФС) - графические и текстовые обозначения для использования шагов и переходов с целью представления структуры организационной единицы программы (программного или функционального блока) для ПЛК-системы. Условия перехода и пошаговые действия могут быть представлены в подсовокупности вышеперечисленных языков.
4.6.3 Написание прикладной программы
Генерирование прикладной программы
Прикладная программа может быть введена с помощью алфавитно-цифровой или символьной клавиатуры. При использовании дисплея, управляемого с помощью меню, или графической программы прикладная программа может быть введена с помощью клавиш курсора, джойстика, мыши и т.д. Любой ввод программы или данных, как правило, проверяется на корректность и внутреннюю непротиворечивость для того, чтобы минимизировать ввод некорректных программ и данных.
Отображение прикладной программы
Во время генерирования прикладной программы все команды немедленно отображаются, оператор за оператором, сегмент за сегментом (в случае использования монитора или другого большого дисплея). Кроме того, программа, как правило, может быть распечатана целиком. Если доступно альтернативное представление элементов языка программирования, способ их отображения, как правило, определяется потребителем.
4.6.4 Запуск автоматизированной системы
a) Загрузка прикладной программы
Сгенерированная программа находится в памяти ПЛК или в памяти СПиО. В последнем случае требуется перенос программы через загрузку или ввода дискетки памяти в ПЛК перед запуском.
ИС МЕГАНОРМ: примечание.
Нумерация пунктов дана в соответствии с официальным текстом документа.
c) Доступ к памяти
Во время запуска или устранения неисправностей программы СПиО и блоку обработки предоставляется доступ к прикладной программе и данным прикладной программы с целью мониторинга, изменений и корректировки программы. Данные операции могут выполняться в оперативном режиме (т.е. во время контроля машины/процесса ПЛК-системой)
d) Адаптирование системы с программируемым контроллером
Типичные функции адаптирования ПЛК-системы к машине/процессу, подлежащие контролю:
1) функции тестирования, которые проверяют датчики и приводы, подключенные к ПЛК-системе (например, принудительная подача выходящих сигналов ПЛК-системы);
2) функции тестирования, проверяющие последовательность выполнения программы (например, установка флажков и принудительная подача входящих сигналов);
3) настройка или перенастройка переменных (например, таймеров, счетчиков и т.д.).
e) Индикация состояния автоматизированной системы
Возможность предоставления информации о состоянии машины/процесса и внутреннего состояния ПЛК-системы и ее прикладной программы облегчает запуск и отладку приложения ПЛК. Традиционными средствами являются:
1) индикация состояния вводов/выводов;
2) индикация/запись изменений состояния внешних сигналов и внутренних данных;
3) мониторинг времени сканирования/выполнения;
4) визуализация выполнения программы и обработки данных в реальном времени;
5) индикаторы состояния защиты предохранителей и защиты от коротких замыканий.
f) Тестирование прикладной программы
Функции тестирования помогают потребителю во время записи, отладки и проверки прикладной программы. Традиционные функции тестирования:
1) проверка состояния вводов/выводов, внутренних функций (таймеры, счетчики);
2) проверка последовательности выполнения программы, например, пошаговые операции, изменение времени циклов программы, команда останова;
3) моделирование функций интерфейса, например, принудительная подача входящих/выходящих сигналов обмена данными между задачами и модулями, встроенными в ПЛК-систему.
g) Изменение прикладной программы
Функции изменения предназначены для изменения, настройки и корректировки прикладных программ. Традиционными функциями являются функции поиска, замены, вставки, удаления и добавления, которые применяются к символам, командам, программным модулям и т.д.
4.6.5 Документирование
В предоставляемый пакет документации необходимо включать полное описание ПЛК-системы и приложения. Пакет документации может состоять из:
a) описания конфигурации аппаратных средств с обозначениями, примененными в проекте;
b) документации прикладной программы, состоящей из:
1) листинг программы с возможными мнемосхемами для сигналов и обрабатываемых данных;
2) таблицы перекрестных ссылок для всех обработанных данных (вводы/выводы, такие внутренние функции как сохраненные внутренние данные, таймеры, счетчики и т.д.);
3) комментариев;
4) описания изменений;
5) руководства по техобслуживанию.
4.6.6 Архивирование прикладной программы
Для обеспечения быстрого исправления и минимизации простоя потребителя может сохранить прикладную программу на таком не изменяющемся носителе, как флэш-память, PC-карта, EEPROM, EPROM, диск и т.д. Такая запись должна обновляться после каждого изменения программы для того, чтобы программа, исполняемая в ПЛК-системе, и заархивированная программа были идентичными.
4.7 Характеристики функций источника питания
Источник питания генерируют напряжение, необходимое для работы ПЛК-системы, а также, как правило, подает контрольные сигналы для надлежащей синхронизации ВКЛ/ВЫКЛ оборудования. Могут использоваться различные источники электропитания в зависимости от сетевого напряжения, потребления электроэнергии, параллельных соединений, требований к бесперебойной работе и т.д.
5 Эксплуатационная готовность и надежность
Любая автоматизированная система требует обеспечения определенного уровня готовности и надежности ее системы управления. На потребителя возлагается ответственность за обеспечение совокупного соответствия архитектуры всей автоматизированной системы, характеристик ПЛК-системы и ее прикладной программы заданным требованиям приложения (основных эксплуатационных характеристик).
a) Архитектура автоматизированной системы
Технические средства, обеспечивающие резервирование, отказоустойчивость, автоматическую проверку ошибок, а также функции диагностики машины/процесса, могут способствовать повышению уровня работоспособности автоматизированной системы.
b) Архитектура системы с программируемым контроллером
Модульная конструкция в сочетании с надлежащим внутренним самотестированием, позволяющим осуществлять быструю идентификацию неисправностей, могут повысить уровень сопровождения ПЛК-системы и, таким образом, уровень работоспособности автоматизированной системы. Также можно рассматривать специальные способы использования технических средств, обеспечивающих резервирование и отказоустойчивость.
c) Проектирование, тестирование и сопровождение прикладной программы
Прикладная программа является ключевым компонентом всей автоматизированной системы. Большинство ПЛК обеспечивают вычислительные ресурсы достаточные для реализации функций диагностики в дополнение к минимальной функции управления. Следует учитывать точность моделирования работы машины/процесса и последующей идентификации неисправных состояний.
Надлежащее тестирование прикладной программы является обязательным. Любое изменение прикладной программы предполагает соответствующее изменение в проектировании и тестировании для предотвращения снижения уровня эксплуатационной готовности и надежности. Документация программы должна соответствующим образом сопровождаться и аннотироваться.
d) Условия установки и эксплуатации
ПЛК-системы, как правило, имеют надежную конструкцию и предназначены для нормальной эксплуатации. С ужесточением условий эксплуатации снижается их уровень надежности. В этом случае условием обеспечения надежности является улучшение допустимых условий эксплуатации относительно условий нормальной эксплуатации, установленных МЭК 61131-2. Некоторые варианты применения могут потребовать специальной упаковки, охлаждения, защиты от электрических шумов и т.д. для обеспечения надежной эксплуатации.
Приложение ДА
(справочное)
СВЕДЕНИЯ О СООТВЕТСТВИИ ССЫЛОЧНЫХ МЕЖДУНАРОДНЫХ СТАНДАРТОВ
МЕЖГОСУДАРСТВЕННЫМ СТАНДАРТАМ
Таблица ДА.1
Обозначение ссылочного международного стандарта
Степень соответствия
Обозначение и наименование соответствующего межгосударственного стандарта
IEC 61131-2
IDT
ГОСТ IEC 61131-2-2012 "Контроллеры программируемые. Часть 2. Требования к оборудованию и испытания"
IEC 61131-3:2003
-
<*>
<*> Соответствующий национальный стандарт отсутствует. До его утверждения рекомендуется использовать перевод на русский язык данного международного стандарта.
Примечание - В настоящей таблице использовано следующее обозначение степени соответствия стандарта:
- IDT - идентичный стандарт.
Библиография
IEC 60050-351:1998
International Electrotechnical Vocabulary (IEV) - Part 351: Automatic control