Главная // Актуальные документы // ГОСТ Р (Государственный стандарт)
СПРАВКА
Источник публикации
М.: Стандартинформ, 2016
Примечание к документу
Документ введен в действие с 1 апреля 2017 года.
Название документа
"ГОСТ Р ИСО 19958-2016. Национальный стандарт Российской Федерации. Обувь. Методы испытаний каблуков и набоек. Прочность крепления набойки"
(утв. и введен в действие Приказом Росстандарта от 26.04.2016 N 275-ст)

"ГОСТ Р ИСО 19958-2016. Национальный стандарт Российской Федерации. Обувь. Методы испытаний каблуков и набоек. Прочность крепления набойки"
(утв. и введен в действие Приказом Росстандарта от 26.04.2016 N 275-ст)


Содержание


Утвержден и введен в действие
Приказом Федерального
агентства по техническому
регулированию и метрологии
от 26 апреля 2016 г. N 275-ст
НАЦИОНАЛЬНЫЙ СТАНДАРТ РОССИЙСКОЙ ФЕДЕРАЦИИ
ОБУВЬ
МЕТОДЫ ИСПЫТАНИЙ КАБЛУКОВ И НАБОЕК.
ПРОЧНОСТЬ КРЕПЛЕНИЯ НАБОЙКИ
Footwear. Test methods for heels and top pieces.
Top piece retention strength
(ISO 19958:2004, IDT)
ГОСТ Р ИСО 19958-2016
ОКС 61.060
Дата введения
1 апреля 2017 года
Предисловие
1 ПОДГОТОВЛЕН Техническим комитетом по стандартизации ТК 412 "Текстильная и легкая промышленность", открытым акционерным обществом "Всероссийский научно-исследовательский институт сертификации" (ОАО "ВНИИС") на основе собственного перевода на русский язык англоязычной версии стандарта, указанного в пункте 4
2 ВНЕСЕН Управлением технического регулирования и стандартизации Федерального агентства по техническому регулированию и метрологии
3 УТВЕРЖДЕН И ВВЕДЕН В ДЕЙСТВИЕ Приказом Федерального агентства по техническому регулированию и метрологии от 26 апреля 2016 г. N 275-ст
4 Настоящий стандарт идентичен международному стандарту ИСО 19958:2004 "Обувь. Методы испытаний каблуков и набоек. Прочность крепления набойки" (ISO 19958:2004 "Footwear - Test methods for heels and top pieces - Top piece retention strength", IDT).
При применении настоящего стандарта рекомендуется использовать вместо ссылочных международных стандартов соответствующие им национальные стандарты Российской Федерации, сведения о которых приведены в дополнительном приложении ДА
5 ВВЕДЕН ВПЕРВЫЕ
Правила применения настоящего стандарта установлены в ГОСТ Р 1.0-2012 (раздел 8). Информация об изменениях к настоящему стандарту публикуется в ежегодном (по состоянию на 1 января текущего года) информационном указателе "Национальные стандарты", а официальный текст изменений и поправок - в ежемесячном информационном указателе "Национальные стандарты". В случае пересмотра (замены) или отмены настоящего стандарта соответствующее уведомление будет опубликовано в ближайшем выпуске ежемесячного информационного указателя "Национальные стандарты". Соответствующая информация, уведомление и тексты размещаются также в информационной системе общего пользования - на официальном сайте Федерального агентства по техническому регулированию и метрологии в сети Интернет (www.gost.ru)
1 Область применения
Настоящий стандарт устанавливает метод измерения усилия, необходимого для отделения набойки от каблука обуви. Данный метод применим к отделенным от готовой обуви каблукам с прикрепленной набойкой, к готовым каблукам с прикрепленной набойкой и, в отдельных случаях, к каблукам без набойки. Все каблуки, за исключением прикрепленных стальными втулками усиленных удлиненных каблуков с набойками и наборных каблуков, могут быть испытаны данным методом.
2 Нормативные ссылки
В настоящем стандарте использована нормативная ссылка на следующий стандарт. Для недатированных ссылок применяют самые последние издания, включая любые изменения и поправки.
EN ISO 7500-1, Metallic materials - Verification of static uniaxial testing machines - Part 1: Tension/compression testing machines - Verification and calibration of the force-measuring system (Материалы металлические. Верификация машин для статических испытаний в условиях одноосного нагружения. Часть 1. Машины для испытания на растяжение/сжатие. Верификация и калибровка силоизмерительных систем)
3 Термины и определения
В настоящем стандарте применен следующий термин с соответствующим определением:
3.1 прочность крепления набойки (top piece retention strength): Максимальное усилие, выраженное в ньютонах, необходимое для отрыва набойки от каблука.
4 Аппаратура и инструменты
4.1 Необходимо использовать следующие аппаратуру и материалы.
4.2 Разрывная испытательная машина, соответствующая требованиям ЕН ИСО 7500-1 по классу 2 в диапазоне от 0 до 1000 Н и с постоянной скоростью нагрузки (15 +/- 5) Н/с. Измеритель постоянной скорости перемещения, для которого увеличение усилия вызывает ощутимое перемещение нагрузочного зажима (например, маятниковый прибор для определения твердости), может быть использован, если скорость перемещения устанавливают таким образом, чтобы обеспечить в процессе проведения испытания среднюю заданную скорость приложения силы. Альтернативно может быть использован измеритель постоянной скорости перемещения, в котором происходит небольшое перемещение нагрузочного зажима, если набойка прикреплена к одному зажиму измерителя с помощью одного или нескольких растягивающихся шнуров, не теряющих эластичности в диапазоне сил, используемых при испытании, и скорость перемещения регулируют до тех пор, пока не будет получена заданная скорость приложения силы.
4.3 Спиральные сверла подходящих размеров (см. 5.2.1.4 и 5.2.1.5).
4.4 Болт размером М4 или М3 для тонких каблуков, предпочтительно длиной не менее 40 мм, с небольшим металлическим кольцом или петлей, прикрепленным к его головке с помощью пайки. Однако при испытании только низких каблуков болт должен быть длиной не более 20 мм.
4.5 Стержень подходящей длины диаметром 2 мм или прочный растягивающийся шнур, например нейлоновые шнурки для обуви, в количестве не менее одного.
5 Отбор образцов и кондиционирование
5.1 Общие положения
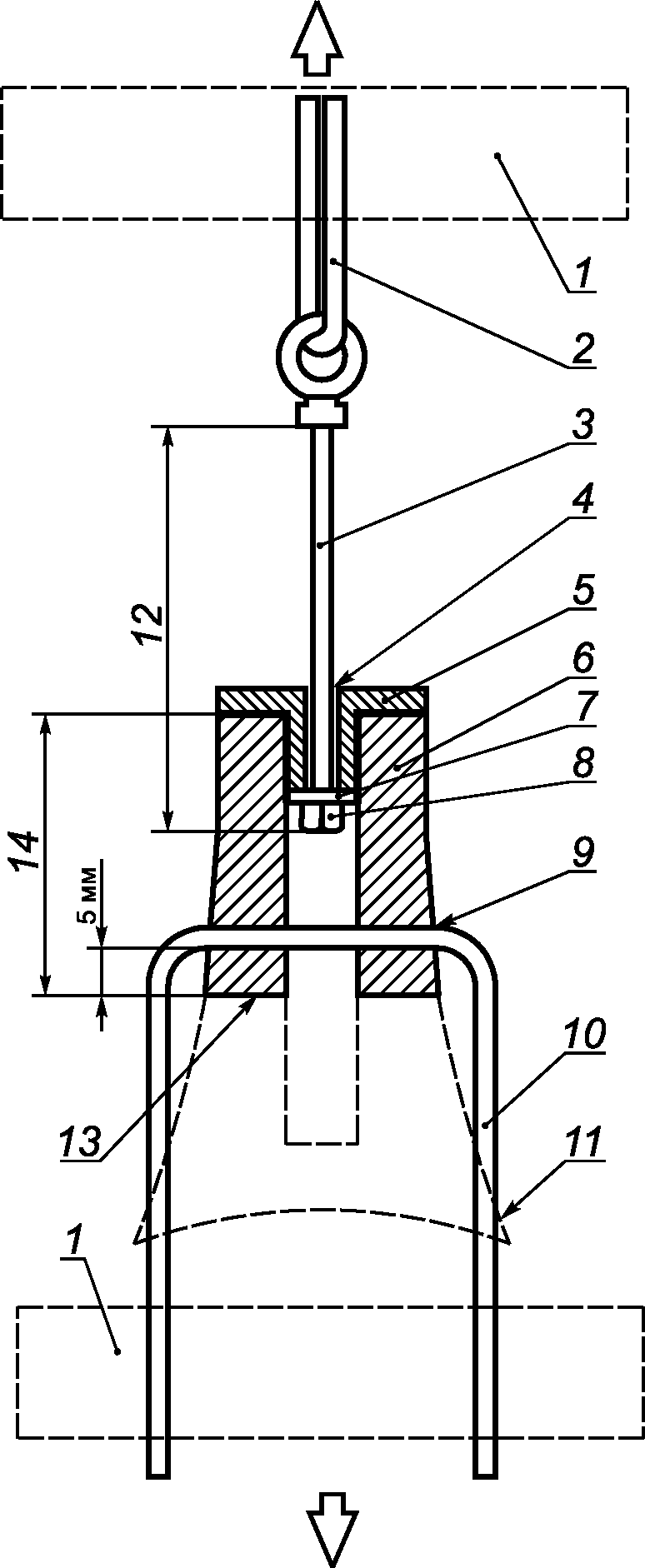
Форму образца для испытаний варьируют в зависимости от высоты каблука. Для средних и высоких каблуков удобен тип стандартных образцов, приведенный на рисунке 1, в котором каблук удерживается одним шнуром или стержнем. Для каблуков высотой менее 20 мм шнур может мешать болту, прикрепленному к верху образца. В таких случаях необходимо использовать порядок прикрепления, приведенный на рисунке 2.
1 - зажим разрывной машины; 2 - стержень к верхнему зажиму;
3 - болт; 4 - отверстие в набойке, просверленное под болт;
5 - набойка; 6 - каблук; 7 - шайба; 8 - гайка;
9 - просверленное отверстие под стержень или шнур;
10 - стержень или шнур к нижнему зажиму; 11 - часть каблука,
не требуемая для испытания; 12 - не менее 40 мм;
13 - линия отреза каблука; 14 - приблизительно 30 мм
Рисунок 1 - Испытания высоких и средних каблуков
Вид сбоку на испытуемый узел и вертикальный разрез каблука
Рисунок 2a - Вид сбоку на испытуемый узел
и вертикальный разрез каблука с набойкой
5.2 Подготовка
5.2.1 Средние и высокие каблуки
5.2.1.1 Готовый образец для испытаний приведен на рисунке 1.
5.2.1.2 Допускается испытывать каблуки и набойки, поставляемые отдельно, при условии, что набойки могут быть прикреплены в лаборатории фактически тем же методом, как и на производстве. Установку набоек необходимо осуществлять с использованием пневматического давления. Некоторые типы набоек дополнительно прикрепляют короткими штифтами, вставляемыми через отверстия, проделанные в них при изготовлении. Такие набойки могут быть установлены в лаборатории с использованием пневматического давления, но при этом должны быть применены подходящие штифты. Набойка может быть прикреплена скобками с помощью степлера, если используют такие же скобки, как на производстве.
Прикрепление набойки возможно проводить как до, так и после других стадий подготовки, изложенных в 5.2.1.3, 5.2.1.4 и 5.2.1.5.
5.2.1.3 Отрезают каблук параллельно плоскости набойки приблизительно в 30 мм от нее, чтобы получить доступ к полости и внутренней поверхности набойки или втулки каблука. Это применимо для каблука, прикрепленного к обуви, или, по согласованию, каблук может быть отсоединен путем предварительного удаления крепежных штифтов. Для относительно низких каблуков отрезанная часть может быть уменьшена до 20 мм при условии, что это обеспечит наличие достаточного пространства для болта (см. 6.2.2). Если такой способ не применим, используют процедуру для низких каблуков по 5.2. В случае каблуков, не имеющих центральной полости по всей высоте, к которым прикреплены набойки типа "Autoloc", просверливают отверстие в центре каблука в направлении от поверхности среза к полости "Autoloc" или выемке набоечной поверхности каблука. Диаметр этого отверстия должен быть не менее 10 мм.
5.2.1.4 Просверливают вертикально сквозь центр набойки достаточно большое отверстие, чтобы разместить болт (4.4) подходящего типа.
5.2.1.5 Просверливают каблук горизонтально насквозь приблизительно на 5 мм выше поверхности среза, как показано на рисунке 1, таким образом, чтобы диаметр полученного отверстия был достаточным для того, чтобы в него можно было вставить стержень или протянуть шнур (4.5).
5.2.2 Низкие каблуки
5.2.2.1 Готовые образцы для испытаний приведены на рисунке 2. В случае прикрепленного к обуви каблука его отделяют, снимая крепежные детали.
1 - пластмассовый каблук; 2 - набойка; 3 - шайба; 4 - болт
и гайка; 5 - горизонтальное отверстие, просверленное
в каблуке, с продетым шнуром; 6 - шнур; 7 - отверстия,
просверленные в набойке, с установленным болтом D;
8 - крепеж для прикрепления набойки к каблуку, используемый
при изготовлении обуви или каблука; 9 - зажим разрывной
машины; 10 - не более 2 мм; 11 - приблизительно 24 мм
Рисунок 2b - Горизонтальная проекция каблука со шнурами,
лежащими в его плоскости
Рисунок 2 - Испытание низких каблуков
5.2.2.2 Вырезают ребро или ребра в центре полости, следя за тем, чтобы при этом не повредить набойку.
5.2.2.3 Просверливают вертикально через центр набойки отверстие размерами, достаточными для размещения болта (4.4) подходящего типа.
5.2.2.4 Просверливают горизонтально два отверстия в каблуке насквозь размерами, достаточными для того, чтобы можно было вставить шнуры (4.5). Каждый из них должен быть размещен параллельно набоечной плоскости каблука, находиться приблизительно в 6 мм от границы "каблук/набойка" и приблизительно на расстоянии 12 мм от центра набойки (см. рисунок 1 и 2).
6 Метод испытаний
6.1 Сущность метода
Набойку отрывают путем постепенно возрастающей нагрузки, прикладываемой к ее центру в направлении, перпендикулярном к границе "каблук/набойка". Набойку сначала просверливают таким образом, чтобы вставить болт, который прикрепляют к одному зажиму разрывной машины, срезают каблук и просверливают в нем отверстие для прикрепления к другому зажиму. Испытывают несколько каблуков и результаты приводят отдельно, учитывая, как правило, самые низкие значения, которые наиболее важны, чем средние.
6.2 Порядок проведения испытаний
6.2.1 В случае использования разрывной испытательной машины с постоянной скоростью перемещения, проводят предварительное испытание, используя процедуру по 6.2.2 - 6.2.5 для установления скорости перемещения, обеспечивающей получение скорости приложения силы (15 +/- 5) Н/с. Машину с постоянной скоростью нагрузки просто регулируют для получения установленной скорости.
6.2.2 Вставляют болт в сквозное отверстие в набойке снаружи и закрепляют подходящими шайбой и гайкой. В случае средних и высоких каблуков наворачивают (см. рисунок 1) гайку только на конец болта таким образом, чтобы он немного выступал из гайки. Если ввернуть более глубоко, то конец болта может помешать размещению стержня или шнура в горизонтальном отверстии. Используемая шайба должна быть почти такой же большой, как полость в каблуке. Расстояние между краем шайбы и ближайшей частью внутренней поверхности должно быть не более 2 мм.
6.2.3 Закрепляют болт в верхнем зажиме разрывной испытательной машины. Подходящим способом это можно сделать с помощью петли из сварочного электрода, которую пропускают через кольцо болта и закрепляют ее концы в зажиме разрывной машины.
6.2.4 Для средних и высоких каблуков пропускают стержень или шнур через горизонтальное отверстие в каблуке и прикрепляют его концы симметрично к нижнему зажиму машины (если используют сварочный электрод, концы могут быть согнуты и закреплены в зажиме).
Для низких каблуков пропускают два шнура через два просверленных горизонтальных отверстия и закрепляют четыре конца симметрично таким образом, чтобы каблук находился в горизонтальном положении в течение испытания (для низких каблуков шнур рекомендуется как более предпочтительный по сравнению со стержнем, который трудно согнуть и закрепить при горизонтальном расположении каблука).
6.2.5 Запускают машину и регистрируют максимальное усилие в процессе отрыва набойки от каблука. Для многих низких каблуков с большими набойками будет появляться первоначальный пик усилия, соответствующий отрыву только части набойки. Регистрируют это усилие, а также наибольшее, достигаемое в момент полного отрыва набойки (в некоторых случаях первоначальное усилие может соответствовать наибольшему).
6.2.6 Повторяют испытание с другими пятью узлами "каблук/набойка", следуя той же самой процедуре.
7 Представление результатов
Для каждого отдельного узла "каблук/набойка" представляют информацию о максимальной нагрузке, требуемой для полного отрыва набойки, и первоначальной нагрузке (в случае наличия), выраженных в ньютонах. Описывают также типы и положение разрушений, соответствующих этим зарегистрированным нагрузкам.
8 Протокол испытаний
Протокол испытаний должен включать следующую информацию:
a) результаты, представленные в соответствии с требованиями раздела 7;
b) полное описание испытанных образцов, включая модель, вид, цвет, материал и т.д.;
c) ссылка на метод испытания;
d) дата испытаний.
Приложение ДА
(справочное)
СВЕДЕНИЯ О СООТВЕТСТВИИ ССЫЛОЧНЫХ МЕЖДУНАРОДНЫХ СТАНДАРТОВ
НАЦИОНАЛЬНЫМ СТАНДАРТАМ РОССИЙСКОЙ ФЕДЕРАЦИИ
Таблица ДА.1
Обозначение ссылочного международного стандарта
Степень соответствия
Обозначение и наименование соответствующего национального стандарта
EN ISO 7500-11
-
<*>
<*> Соответствующий национальный стандарт отсутствует. До его утверждения рекомендуется использовать перевод на русский язык международного стандарта ИСО 7500-1. Официальный перевод данного международного стандарта находится в Федеральном информационном фонде технических регламентов и стандартов.