Главная // Актуальные документы // ГОСТ Р (Государственный стандарт)
СПРАВКА
Источник публикации
М.: Стандартинформ, 2016
Примечание к документу
Документ введен в действие с 1 апреля 2017 года.
Название документа
"ГОСТ Р ИСО 17693-2016. Национальный стандарт Российской Федерации. Обувь. Методы испытаний верха. Устойчивость к повреждению при затяжке"
(утв. и введен в действие Приказом Росстандарта от 25.04.2016 N 268-ст)

"ГОСТ Р ИСО 17693-2016. Национальный стандарт Российской Федерации. Обувь. Методы испытаний верха. Устойчивость к повреждению при затяжке"
(утв. и введен в действие Приказом Росстандарта от 25.04.2016 N 268-ст)


Содержание


Утвержден и введен в действие
Приказом Федерального
агентства по техническому
регулированию и метрологии
от 25 апреля 2016 г. N 268-ст
НАЦИОНАЛЬНЫЙ СТАНДАРТ РОССИЙСКОЙ ФЕДЕРАЦИИ
ОБУВЬ
МЕТОДЫ ИСПЫТАНИЙ ВЕРХА. УСТОЙЧИВОСТЬ
К ПОВРЕЖДЕНИЮ ПРИ ЗАТЯЖКЕ
Footwear.
Test methods for uppers. Resistance to damage on lasting
(ISO 17693:2004, IDT)
ГОСТ Р ИСО 17693-2016
ОКС 61.060
Дата введения
1 апреля 2017 года
Предисловие
1 ПОДГОТОВЛЕН Техническим комитетом по стандартизации ТК 412 "Текстильная и легкая промышленность", открытым акционерным обществом "Всероссийский научно-исследовательский институт сертификации" (ОАО "ВНИИС") на основе собственного перевода на русский язык англоязычной версии стандарта, указанного в пункте 4
2 ВНЕСЕН Управлением технического регулирования и стандартизации Федерального агентства по техническому регулированию и метрологии
3 УТВЕРЖДЕН И ВВЕДЕН В ДЕЙСТВИЕ Приказом Федерального агентства по техническому регулированию и метрологии от 25 апреля 2016 г. N 268-ст
4 Настоящий стандарт идентичен международному стандарту ИСО 17693:2004 "Обувь. Методы испытаний верха. Устойчивость к повреждению при затяжке" (ISO 17693:2004 "Footwear - Test methods for uppers - Resistance to damage on lasting", IDT).
При применении настоящего стандарта рекомендуется использовать вместо ссылочных международных стандартов соответствующие им национальные стандарты Российской Федерации и действующие в этом качестве межгосударственные стандарты, сведения о которых приведены в дополнительном приложении ДА
5 ВВЕДЕН ВПЕРВЫЕ
Правила применения настоящего стандарта установлены в ГОСТ Р 1.0-2012 (раздел 8). Информация об изменениях к настоящему стандарту публикуется в ежегодном (по состоянию на 1 января текущего года) информационном указателе "Национальные стандарты", а официальный текст изменений и поправок - в ежемесячном информационном указателе "Национальные стандарты". В случае пересмотра (замены) или отмены настоящего стандарта соответствующее уведомление будет опубликовано в ближайшем выпуске ежемесячного информационного указателя "Национальные стандарты". Соответствующая информация, уведомление и тексты размещаются также в информационной системе общего пользования - на официальном сайте Федерального агентства по техническому регулированию и метрологии в сети Интернет (www.gost.ru)
1 Область применения
Настоящий стандарт устанавливает метод испытания для определения устойчивости верха обуви или узла деталей верха полной сборки к повреждению в процессе затяжки, независимо от материала, с целью оценки его пригодности для конечного использования.
2 Нормативные ссылки
В настоящем стандарте использованы нормативные ссылки на следующие стандарты. Для недатированных ссылок применяют самые последние издания, включая любые изменения и поправки.
EN 12222 Footwear - Standard atmospheres for conditioning and testing of footwear and components for footwear (Обувь. Стандартные атмосферные условия для кондиционирования и испытаний обуви и деталей обуви)
EN ISO 2418 Leather - Chemical, physical and mechanical and fastness tests - Sampling location (Кожа. Химические, физические, механические испытания и испытания на устойчивость. Установление места отбора проб)
3 Термины и определения
В настоящем стандарте применены следующие термины с соответствующими определениями:
3.1 устойчивость к повреждению при затяжке (resistance to damage on lasting): Способность материала растягиваться одновременно во всех направлениях (вытягиваться) без разрушения.
3.2 верх обуви (upper): Материалы, образующие наружную поверхность обуви, прикрепленные к готовой подошве и охватывающие верхнюю тыльную поверхность стопы. В случае ботинок к верху обуви относят также наружную поверхность материала, охватывающего ногу выше стопы. Включают только видимые материалы, не принимая во внимание материалы промежуточных и внутренних деталей.
3.3 узел деталей верха полной сборки (complete upper assembly): Верх обуви, полностью сшитый и собранный должным образом, включающий в себя основной материал верха и какую-либо подкладку(и) вместе со всеми деталями, такими как дополнительные подкладки, клеящие материалы, мембраны, пенистые материалы или усиления, за исключением подносков и жестких задников.
Примечание - Узел деталей верха полной сборки может быть плоским, двухмерным или затянутым на колодку в готовой обуви.
4 Аппаратура и инструменты
Следует использовать следующие аппаратуру и инструменты.
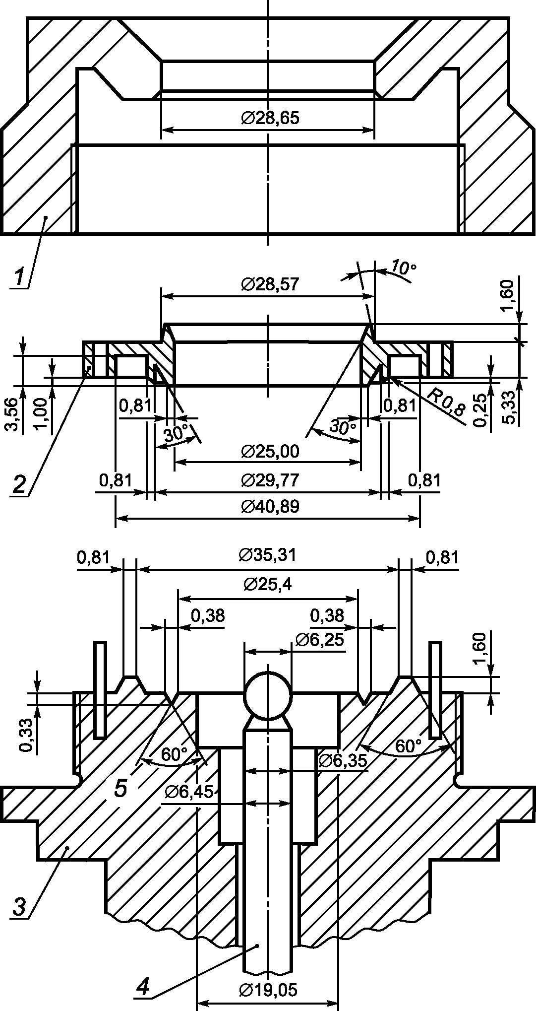
4.1 Испытательная машина (см. рисунок 1 и рисунок 2), включающая следующее:
Все размеры +/- 0,025 мм
1 - колпак; 2 - зажимное кольцо; 3 - головка (сферический
или полусферический колпак); 4 - стержень и сферический
наконечник; 5 - центральный канал головки
Рисунок 1 - Детали зажима и головки
Рисунок 2 - Сечение зажимной головки с установленным
образцом для испытаний
4.1.1 Устройство для закрепления испытуемого образца по его краю, оставляющее в центре круглую свободную область диаметром (25,0 +/- 0,5) мм. Конструкция зажимной системы машины должна обеспечивать отсутствие смещения образца в процессе испытаний. Зажимная система не должна растягивать или сжимать центральную область испытуемого образца, когда он закреплен.
4.1.2 Подвижный плунжер со сферическим наконечником диаметром (6,25 +/- 0,05) мм.
4.1.3 Устройство перемещения плунжера относительно зажима со скоростью (0,20 +/- 0,05) мм/с.
4.1.4 Устройство мониторинга растяжения (смещения плунжера от нуля) с точностью до +/- 0,05 мм.
4.1.5 Устройство мониторинга нагрузки на плунжер в пределах от 0 до 800 Н с точностью до +/- 10 Н.
4.2 Резак или другое режущее приспособление для разрезания образцов для испытаний.
5 Отбор образцов и кондиционирование
5.1 Образцы для испытаний должны быть достаточного размера, позволяющего прочно закрепить их в испытательной машине (4.1), чтобы они не смещались в процессе испытания.
В случае использования кожи по ЕН ИСО 2418 выбирают место для отбора образцов в области чепрака или пол.
Для некожаных материалов отрезают 3 образца в разных местах по полной используемой ширине и длине листового материала. Для материалов с тканой структурой это будет исключать возможность получения двух испытуемых образцов, содержащих одни и те же основные и уточные нити.
5.2 Образцы из верха обуви не должны быть вырезаны из участков, содержащих швы, отверстия или какие-либо другие элементы дизайна, что может привести к тому, что испытуемый образец не будет иметь однородную толщину по всей поверхности. Более того, не следует вырезать образцы из участков отделанного верха, которые подвергаются большим напряжениям в процессе затяжки, особенно в носочной и пяточной частях. Образцы для испытаний следует приготавливать из узла деталей верха полной сборки, если материал подкладки прочно прикреплен к материалу верха.
Может оказаться невозможным вырезать образец достаточного размера из некоторых видов обуви, особенно детской, но размер образца для испытаний не должен быть менее установленного. Если вырезать образец нужного размера из верха обуви невозможно, следует испытывать материалы, используемые для его изготовления.
5.3 Образцы до испытания помещают на 24 ч в стандартные атмосферные условия для кондиционирования, установленные по ЕН 12222 и проводят испытания в тех же атмосферных условиях.
6 Метод испытания
6.1 Сущность метода
Образец для испытаний круглой формы закрепляют вдоль его края и постепенно расправляют, надавливая на образец небольшим сферическим наконечником, прикрепленным к плунжеру. При некотором растяжении, измеряемом расстоянием, пройденным плунжером, происходит либо разрыв на поверхности материала, либо слой материала испытывает непрерывное физическое разрушение. Это растяжение регистрируют как первую точку разрушения.
При более сильном растяжении материал обычно разрывается, и это растяжение может быть также зарегистрировано. В процессе испытания смещение и нагрузку, действующую на плунжер, регистрируют, поэтому при необходимости может быть построен график зависимости силы (нагрузки) от растяжения.
6.2 Порядок проведения испытания
6.2.1 Обеспечивают, чтобы испытательная машина была установлена с центральным плунжером, отведенным к нулю, или на минимальное растяжение. Если испытательная машина имеет указатель максимальной нагрузки, его поворачивают к нулю.
6.2.2 Плотно укрепляют ровно натянутый образец в испытательной машине таким образом, чтобы сферический наконечник плунжера давил на обратную сторону образца (т.е. при испытании лицевых кож сферический наконечник должен давить на мездровую сторону).
6.2.3 Для некоторых образцов большой толщины может потребоваться очень большая зажимная сила, тогда как для тонких образцов необходима осторожность, чтобы избежать в нем разрезов.
6.2.4 Вдавливают плунжер в образец для испытаний со скоростью (0,20 +/- 0,05) мм/с.
6.2.5 Регистрируют точку первого разрушения под воздействием плунжера следующим образом:
a) когда испытывают кожи, первое разрушение обычно появляется в отделке или на лицевой стороне поверхности. Поэтому в течение испытания постоянно наблюдают состояние поверхности испытуемого образца в центре, где имеет место максимальное растяжение.
При первом признаке разрушения поверхности регистрируют нагрузку на плунжер и растяжение образца. Однако, если лицевая сторона все еще цела, продолжают испытание до тех пор, пока не возникнет ее повреждение. Регистрируют растяжение и нагрузку в этой точке.
Лакированная кожа является особым случаем, поскольку часто лицевая сторона такой кожи разрушается раньше лаковой поверхностной пленки. Поэтому требуется особое внимание при наблюдении образцов лакированной кожи. Два признака разрушения лицевой стороны - это небольшая поверхностная вмятина на лакирующей пленке над разрывом и кратковременное уменьшение нагрузки на плунжер. Если лакирующая пленка разрывается, это также рассматривают как "разрушение лицевой стороны", независимо от того, что виден или нет разрыв лицевой стороны;
b) когда испытывают некожаные материалы, например такие как ткани с покрытием, первое разрушение обычно происходит внутри материала без видимого повреждения поверхности. Поэтому в процессе испытания непрерывно наблюдают за нагрузкой на плунжер при растягивании испытуемого образца. Когда повреждение возникает внутри образца, нагрузка на плунжер либо перестает расти, либо падает, однако это может происходить кратковременно, поэтому здесь необходимо внимание. Записывают величину нагрузки и растяжение образца для испытаний в этой точке.
6.2.6 Если необходимо определить точку разрушения, то продолжают наблюдать за образцом и регистрируют растяжение и нагрузку, когда сферический наконечник проходит сквозь образец.
6.2.7 Возвращают плунжер на нулевую отметку и удаляют испытуемый образец.
6.2.8 Осматривают на верхней стороне образца следы, оставленные зажимами. Если они указывают на смещение, имевшее место в процессе испытания, например, очевидно смазаны следы зажимных колец или образовались разрывы зажатых краев, то такие результаты отбрасывают и повторяют процедуру с новым образцом для испытаний.
6.2.9 Повторяют процедуру для оставшихся образцов.
7 Представление результатов
Рассчитывают среднее арифметическое значение измерений результатов растяжения и нагрузки для трех образцов:
a) в точке первого повреждения по 6.2.5;
b) при повреждении лицевой стороны (для кож), если оно не возникло в точке первого повреждения;
c) в точке разрушения по 6.2.6.
Указывают растяжение с точностью до 0,1 мм и нагрузку с точностью до 10 Н.
8 Протокол испытаний
Протокол испытаний должен включать следующую информацию:
a) результаты, выраженные в соответствии с разделом 7;
b) если испытывали верх обуви или узел деталей верха полной сборки, описание вида испытанной обуви, включая артикулы;
c) описание материала, включая рекомендацию изготовителя, если она известна;
d) описание образца (верх или узел деталей верха полной сборки);
e) ссылка на метод испытаний;
f) дата испытаний;
g) любые отклонения от настоящего метода испытаний.
Приложение ДА
(справочное)
СВЕДЕНИЯ О СООТВЕТСТВИИ ССЫЛОЧНЫХ МЕЖДУНАРОДНЫХ СТАНДАРТОВ
НАЦИОНАЛЬНЫМ СТАНДАРТАМ РОССИЙСКОЙ ФЕДЕРАЦИИ И ДЕЙСТВУЮЩИМ
В ЭТОМ КАЧЕСТВЕ МЕЖГОСУДАРСТВЕННЫМ СТАНДАРТАМ
Таблица ДА.1
Обозначение ссылочного международного стандарта
Степень соответствия
Обозначение и наименование соответствующего национального или действующего в этом качестве межгосударственного стандарта
EN 12222
IDT
ГОСТ ISO 18454-2011/ИСО 18454:2001 "Обувь. Стандартные атмосферные условия для проведения кондиционирования и испытаний обуви и деталей обуви"
EN ISO 2418
IDT
ГОСТ ISO 2418-2013/ИСО 2418:2002 "Кожа. Химические, физические, механические испытания и испытания на устойчивость. Установление места отбора проб"
Примечание - В настоящей таблице использовано следующее условное обозначение степени соответствия стандартов:
- IDT - идентичные стандарты.