Главная // Актуальные документы // ГОСТ Р (Государственный стандарт)
СПРАВКА
Источник публикации
М.: Стандартинформ, 2015
Примечание к документу
Документ введен в действие с 1 июля 2016 года.
Название документа
"ГОСТ Р ИСО 17235-2015. Национальный стандарт Российской Федерации. Кожа. Физические и механические испытания. Метод определения мягкости"
(утв. и введен в действие Приказом Росстандарта от 30.06.2015 N 851-ст)

"ГОСТ Р ИСО 17235-2015. Национальный стандарт Российской Федерации. Кожа. Физические и механические испытания. Метод определения мягкости"
(утв. и введен в действие Приказом Росстандарта от 30.06.2015 N 851-ст)


Содержание


Утвержден и введен в действие
Приказом Федерального
агентства по техническому
регулированию и метрологии
от 30 июня 2015 г. N 851-ст
НАЦИОНАЛЬНЫЙ СТАНДАРТ РОССИЙСКОЙ ФЕДЕРАЦИИ
КОЖА
ФИЗИЧЕСКИЕ И МЕХАНИЧЕСКИЕ ИСПЫТАНИЯ.
МЕТОД ОПРЕДЕЛЕНИЯ МЯГКОСТИ
Leather. Physical and mechanical tests.
Method for determination of softness
ISO 17235:2011
Leather - Physical and mechanical tests - Determination
of softness
(IDT)
ГОСТ Р ИСО 17235-2015
Группа М19
ОКС 59.140.30
Дата введения
1 июля 2016 года
Предисловие
1 ПОДГОТОВЛЕН Техническим комитетом по стандартизации ТК 412 "Текстиль", Открытым акционерным обществом "Всероссийский научно-исследовательский институт сертификации" (ОАО "ВНИИС") на основе собственного аутентичного перевода на русский язык англоязычной версии международного стандарта, указанного в пункте 4
2 ВНЕСЕН Управлением технического регулирования и стандартизации Федерального агентства по техническому регулированию и метрологии
3 УТВЕРЖДЕН И ВВЕДЕН В ДЕЙСТВИЕ Приказом Федерального агентства по техническому регулированию и метрологии от 30 июня 2015 г. N 851-ст
4 Настоящий стандарт идентичен международному стандарту ИСО 17235:2011 "Кожа. Физические и механические испытания. Определение мягкости" (ISO 17235:2011 "Leather - Physical and mechanical tests - Determination of softness").
Наименование настоящего стандарта изменено относительно наименования указанного международного стандарта для приведения в соответствие с ГОСТ Р 1.5 (пункт 3.5).
При применении настоящего стандарта рекомендуется использовать вместо ссылочных международных стандартов соответствующие им национальные стандарты Российской Федерации, сведения о которых приведены в дополнительном приложении ДА
5 ВВЕДЕН ВПЕРВЫЕ
Правила применения настоящего стандарта установлены в ГОСТ Р 1.0-2012 (раздел 8). Информация об изменениях к настоящему стандарту публикуется в ежегодном (по состоянию на 1 января текущего года) информационном указателе "Национальные стандарты", а официальный текст изменений и поправок - в ежемесячном информационном указателе "Национальные стандарты". В случае пересмотра (замены) или отмены настоящего стандарта соответствующее уведомление будет опубликовано в ближайшем выпуске ежемесячного информационного указателя "Национальные стандарты". Соответствующая информация, уведомление и тексты размещаются также в информационной системе общего пользования - на официальном сайте Федерального агентства по техническому регулированию и метрологии в сети Интернет (www.gost.ru)
1. Область применения
Настоящий стандарт устанавливает неразрушающий метод определения мягкости кожи. Этот метод применим ко всем видам мягкой кожи, например коже верха обуви, коже для обивки, а также к изделиям и одежде из кожи.
2. Нормативные ссылки
В настоящем стандарте использованы нормативные ссылки на следующие международные стандарты:
ИСО 2418:2002 Кожа. Химические, физические и механические испытания и испытания на прочность. Определение местоположения образца (ISO 2418:2002 Leather - Chemical, physical and mechanical and fastness tests - Sampling location)
ИСО 2419:2012 Кожа. Физические и механические испытания. Подготовка образцов и кондиционирование (ISO 2419:2012 Leather - Physical and mechanical tests - Sample preparation and conditioning)
3. Принцип
Цилиндрический стержень определенной массы опускают с установленной скоростью на надежно закрепленный участок кожи. Возникающее растяжение кожи регистрируют как мягкость.
4. Аппаратура и материалы
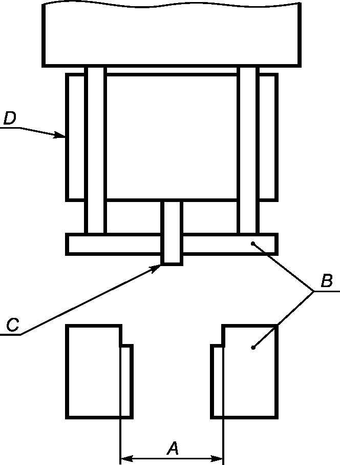
4.1 Испытательная машина, схематично изображенная на рисунке 1, включая детали, представленные в 4.1.1 - 4.1.8.
A - апертура; B - зажимы; C - цилиндрический нагрузочный
штифт; D - цилиндрическая масса
Рисунок 1 - Схема испытательной машины
4.1.1 Круговая апертура (A) диаметром (35,0 +/- 0,1) мм.
4.1.2 Металлические кольца, которые можно вставлять в апертуру A и уменьшать ее диаметр до (25,0 +/- 0,1) мм и (20,0 +/- 0,1) мм соответственно.
Примечание - Апертуры, представленные выше, более удобно обозначать по их номинальному диаметру 35, 25 и 20 мм соответственно.
4.1.3 Зажимы (B), позволяющие надежно удерживать кожу до приложения нагрузки, в процессе воздействия нагрузочного штифта и в момент достижения максимальной нагрузки и одновременно оставляющие пространство над апертурой для свободного перемещения.
4.1.4 Цилиндрический нагрузочный штифт (C) диаметром (4,9 +/- 0,1) мм и длиной (11,5 +/- 0,1) мм, жестко прикрепленный к цилиндрической массе (D). Суммарная масса нагрузочного штифта и цилиндрической массы должна составлять (530 +/- 10) г.
4.1.5 Средство направления штифтовой нагрузки, обеспечивающее воздействие нагрузочного штифта перпендикулярно к поверхности кожи и ограничивающее вертикальное перемещение нагрузочного стержня на расстояние не более (11,5 +/- 0,1) мм.
4.1.6 Средство опускания штифтовой нагрузки, обеспечивающее перемещение нагрузочного штифта на полное разрешенное расстояние (11,5 +/- 0,1) мм в течение (1,5 +/- 0,5) с.
4.1.7 Измерительный прибор с ценой деления до 0,1 мм для непосредственного измерения растяжения кожи, произошедшего под воздействием нагрузки.
4.1.8 Эффективная суммарная испытательная нагрузка складывается из суммарного веса нагрузочного штифта и цилиндрической массы (5,2 +/- 0,1) Н, дополнительной постоянной операционной нагрузки (1,2 +/- 0,2) Н и дополнительной линейно возрастающей нагрузки пружины (0,4 +/- 0,1) Н (при 5 мм отклонения пружины), в результате чего эффективная суммарная испытательная нагрузка будет находиться в пределах от 6,4 до 7,2 Н.
4.2 Плоский твердый металлический диск минимальным диаметром 60 мм.
5. Отбор проб и подготовка образцов
Кожу кондиционируют в соответствии с ИСО 2419.
Примечание - Измерения можно проводить без физического вырезания пробы из шкуры или кожи.
6. Процедура
6.1 Выбирают апертуру из набора 35, 25 или 20 мм.
Определяют толщину образца для испытаний в соответствии с ИСО 2589.
Примечание - Предполагается, что апертуры используют следующим образом:
- 35 мм - измерение более прочных кож, например кож для верха обуви;
- 25 мм - измерение кож средней мягкости, например кож для обивки и более мягких кож для верха обуви;
- 20 мм - измерение самых мягких кож, например кож для одежды.
6.2 Открывают испытательную машину и помещают металлический диск (см. 4.2) над круговой апертурой.
6.3 Поднимают нагрузочный штифт и закрывают испытательную машину, чтобы зажать металлический диск в исходном положении.
6.4 Освобождают нагрузочный штифт, ожидают устойчивых показаний измерительного прибора и устанавливают его на "ноль". Открывают испытательную машину и убирают металлический диск.
6.5 Размещают определенный по ИСО 2418 участок кожи над апертурой таким образом, чтобы кожа приняла плоскую форму. На этом участке кожа не должна иметь очевидных дефектов, таких как порезы или рубцовая ткань, и ее размеры должны быть достаточными для надежного закрепления.
6.6 Поднимают нагрузочный штифт и закрывают испытательную машину, чтобы закрепить кожу в исходной позиции.
6.7 Отпускают нагрузочный штифт, ожидают устойчивых показаний измерительного прибора и регистрируют эти показания. Открывают испытательную машину и вынимают кожу.
6.8 Осуществляют три измерения и регистрируют среднее арифметическое значение и диапазон.
7. Протокол испытаний
Протокол испытаний должен включать в себя следующую информацию:
a) ссылку на настоящий стандарт;
b) номинальную апертуру, используемую при испытаниях;
c) идентификацию испытуемых участков, индивидуальные и средние отклонения, зарегистрированные измерительным прибором для каждой использованной апертуры;
d) стандартные атмосферные условия, используемые при кондиционировании и испытаниях, как указано в ИСО 2419;
e) любые отклонения от метода, установленного в настоящем стандарте;
f) все подробности идентификации образца и любые отклонения от ИСО 2418 в части отбора проб.
Приложение А
(справочное)
ИСТОЧНИК АППАРАТУРЫ
Ниже приведен пример коммерчески доступного подходящего изделия. Эта информация дана для удобства пользователей настоящего стандарта и не является одобрением со стороны ИСО этого изделия.
Рекомендуемая аппаратура представляет собой измеритель мягкости ST 300, изготовленный, например:
- MSA Engineering Systems Ltd., 3 Assured Drive, Thurmaston, Leicester, LE4 8 BB, United Kingdom.
Приложение ДА
(справочное)
СВЕДЕНИЯ О СООТВЕТСТВИИ ССЫЛОЧНЫХ МЕЖДУНАРОДНЫХ СТАНДАРТОВ
НАЦИОНАЛЬНЫМ СТАНДАРТАМ РОССИЙСКОЙ ФЕДЕРАЦИИ
Таблица ДА.1
Обозначение ссылочного международного стандарта
Степень соответствия
Обозначение и наименование соответствующего национального стандарта
ИСО 2418:2002
-
<*>
ИСО 2419:2012
-
<*>
<*> Соответствующий национальный стандарт отсутствует. До его утверждения рекомендуется использовать перевод на русский язык данного международного стандарта. Перевод данного международного стандарта находится в Федеральном информационном фонде технических регламентов и стандартов.