Главная // Актуальные документы // ГОСТ Р (Государственный стандарт)СПРАВКА
Источник публикации
М.: Стандартинформ, 2015
Примечание к документу
Документ
введен в действие с 1 июля 2016 года.
Название документа
"ГОСТ Р ИСО 15379-1-2015. Национальный стандарт Российской Федерации. Материалы углеродные для производства алюминия. Материалы для катодных блоков. Часть 1. Определение показателя относительного удлинения в результате проникновения натрия с приложением давления"
(утв. и введен в действие Приказом Росстандарта от 08.06.2015 N 578-ст)
"ГОСТ Р ИСО 15379-1-2015. Национальный стандарт Российской Федерации. Материалы углеродные для производства алюминия. Материалы для катодных блоков. Часть 1. Определение показателя относительного удлинения в результате проникновения натрия с приложением давления"
(утв. и введен в действие Приказом Росстандарта от 08.06.2015 N 578-ст)
Утвержден и введен в действие
агентства по техническому
регулированию и метрологии
от 8 июня 2015 г. N 578-ст
НАЦИОНАЛЬНЫЙ СТАНДАРТ РОССИЙСКОЙ ФЕДЕРАЦИИ
МАТЕРИАЛЫ УГЛЕРОДНЫЕ ДЛЯ ПРОИЗВОДСТВА АЛЮМИНИЯ.
МАТЕРИАЛЫ ДЛЯ КАТОДНЫХ БЛОКОВ
ЧАСТЬ 1
ОПРЕДЕЛЕНИЕ ПОКАЗАТЕЛЯ ОТНОСИТЕЛЬНОГО УДЛИНЕНИЯ
В РЕЗУЛЬТАТЕ ПРОНИКНОВЕНИЯ НАТРИЯ С ПРИЛОЖЕНИЕМ ДАВЛЕНИЯ
Carbonaceous materials for the production of aluminium.
Cathode block materials. Part 1. Determination
of the expansion due to sodium penetration
with application of pressure
ISO 15379-1:2004
Carbonaceous materials for the production of aluminium -
Cathode block materials - Part 1: Determination
of the expansion due to sodium penetration
with application of pressure
(IDT)
ГОСТ Р ИСО 15379-1-2015
Дата введения
1 июля 2016 года
1 ПОДГОТОВЛЕН Открытым акционерным обществом "Уральский электродный институт" (ОАО "Уралэлектродин") на основе собственного аутентичного перевода на русский язык международного стандарта, указанного в пункте 4
2 ВНЕСЕН Техническим комитетом по стандартизации ТК 109 "Электродная продукция"
3 УТВЕРЖДЕН И ВВЕДЕН В ДЕЙСТВИЕ
Приказом Федерального агентства по техническому регулированию и метрологии от 8 июня 2015 г. N 578-ст
4 Настоящий стандарт идентичен международному стандарту ИСО 15379-1:2004 "Материалы углеродные для производства алюминия. Материалы для катодных блоков. Часть 1. Определение показателя относительного удлинения в результате проникновения натрия с приложением давления" (ISO 15379-1:2004 "Carbonaceous materials for the production of aluminium - Cathode block materials - Part 1: Determination of the expansion due to sodium penetration with application of pressure").
Международный стандарт разработан Техническим комитетом ISO/TC 47, Химия, подкомитет SC 7, оксид алюминия, криолит, фторид алюминия, фторид натрия, углеродные материалы для производства алюминия.
При применении настоящего стандарта рекомендуется использовать вместо ссылочных международных стандартов соответствующие им национальные стандарты Российской Федерации и межгосударственные стандарты, сведения о которых приведены в дополнительном
приложении ДА
5 ВВЕДЕН ВПЕРВЫЕ
Правила применения настоящего стандарта установлены в ГОСТ Р 1.0-2012
(раздел 8). Информация об изменениях к настоящему стандарту публикуется в ежегодном (по состоянию на 1 января текущего года) информационном указателе "Национальные стандарты", а официальный текст изменений и поправок - в ежемесячном информационном указателе "Национальные стандарты". В случае пересмотра (замены) или отмены настоящего стандарта соответствующее уведомление будет опубликовано в ближайшем выпуске ежемесячного информационного указателя "Национальные стандарты". Соответствующая информация, уведомление и тексты размещаются также в информационной системе общего пользования - на официальном сайте Федерального агентства по техническому регулированию и метрологии в сети Интернет (www.gost.ru)
Настоящий стандарт распространяется на материалы для катодных блоков, используемых при производстве алюминия, и устанавливает метод определения относительного удлинения в результате проникновения натрия с приложением давления. Значение удлинения зависит от направления отбора образцов вследствие анизотропии свойств катодных блоков.
В настоящем стандарте использованы нормативные ссылки на следующие стандарты:
ИСО 5725-2 Точность (правильность и прецизионность) методов измерений и результатов измерений. Часть 2. Основной метод определения повторяемости и воспроизводимости стандартного метода измерений [ISO 5725-2, Accuracy (trueness and precision) of measurement methods and results - Part 2: Basic method for the determination of repeatability and reproducibility of a standard measurement method]
ИСО 8007-1 Материалы углеродные для производства алюминия. Отбор проб. Общие требования. Часть 1. Блоки катодные (ISO 8007-1, Carbonaceous materials used in the production of aluminium - Sampling plans and sampling from individual units - Part 1: Cathode blocks)
АСТМ Е 220 Стандартный метод испытания для калибровки термопар методом сравнения (ASTM E 220, Standard Test Method for Calibration of Thermocouples by Comparison Techniques)
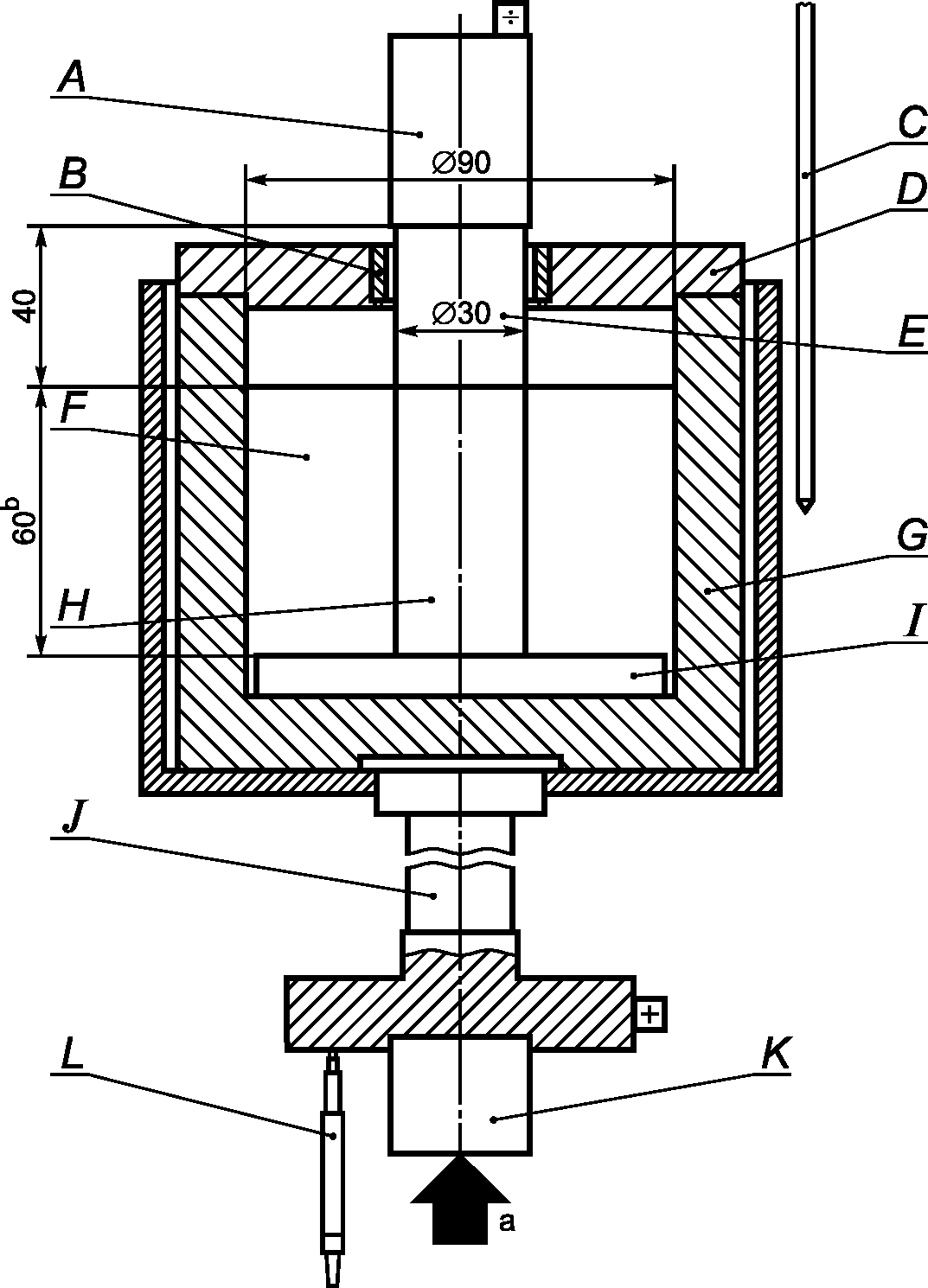
Образец помещают в лабораторную электролизную ячейку с криолитом с исходным криолитовым отношением 4,0 и с катодным углеродным образцом, помещенным в тигель, как показано на
рисунке 1. Образец находится между неподвижным упором и силовым гидроцилиндром, обеспечивающим давление 5 МПа. Печь нагревают до (980 +/- 5) °C и проводят электролиз в течение 2 ч при плотности тока 0,7 А/см
2. Удлинение измеряют экстензометром (измерителем перемещения), который устанавливают относительно базы держателя тигля.
Схема установки для измерения удлинения образцов в результате проникновения натрия с приложением давления показана на
рисунке 1. Установка включает следующее оборудование:
4.1 Печь, поддерживающая температуру 980 °C, с перепадом температур над расплавом менее 10 °C.
--------------------------------
<a> Давление.
<b> Длина исходного образца l0.
A - упор из жаростойкой стали; B - изоляционное
кольцо; C - термопара (тип K или S); D - графитовая
крышка; E - графитовый цилиндр; F - расплав криолита;
G - графитовый тигель; H - образец; I - корундовый
диск; J - опора из жаростойкой стали для тигля;
K - силовой гидроцилиндр; L - экстензометр
Рисунок 1 - Установка для измерения удлинения образца
в результате проникновения натрия с приложением давления
4.2 Устройство управления режимом печи, обеспечивающее поддержание температуры печи (980 +/- 5) °C.
4.3 Устройство для измерения температуры, включающее термопару, предпочтительно типа K или S, обеспечивающую измерение температуры с точностью +/- 5 °C при 980 °C. Термопара калибруется в соответствии с АСТМ Е 220.
4.4 Графитовый тигель внутренним диаметром 90 мм, высотой 90 мм. В электролизной ячейке тигель является анодом.
4.5 Графитовая крышка с отверстием в центре, позволяющим графитовому цилиндру перемещаться.
4.6 Изоляционное кольцо из керамического материала, выдерживающего окружающую температуру и наличие фтора в окружающей среде, служит электрической изоляцией между крышкой и графитовым цилиндром. Кольцо размещают в отверстии графитовой крышки. Диаметр кольца должен обеспечивать свободное перемещение графитового цилиндра в вертикальном направлении.
4.7 Держатель тигля из жаропрочной стали, по которому подводится анодный ток от источника питания к тиглю.
4.8 Упор из жаростойкой стали. Упор выступает в качестве фиксированной точки для измерений удлинения. Также он служит проводником катодного тока от источника питания к образцу. Материал упора должен иметь минимальную деформацию при давлении 5 МПа.
Примечание - Рекомендуется для упора использовать стали марок Sanicro 31HT <1>, X10NiCrAlTi32.20. Если используют стали других марок, следует убедиться, что при использовании в данных условиях они не деформируются.
--------------------------------
<1> Sanicro 31HT - пример подходящей марки стали, выпускаемой серийно. Эта информация дается для удобства пользователей настоящего стандарта и не предполагает одобрения этого продукта со стороны ИСО.
4.9 Корундовый диск, расположен на дне тигля для электрической изоляции между тиглем и образцом. Для установки образца в центре тигля на диске рекомендуется центровочный паз.
4.10 Графитовый цилиндр следующих размеров: диаметр - (30,0 +/- 0,1) мм, длина - (40 +/- 1) мм.
4.11 Силовой гидроцилиндр, обеспечивающий постоянное давление (5 +/- 0,1) МПа в течение всего анализа.
4.12 Экстензометр (измеритель перемещения), фиксирует удлинение в результате проникновения натрия. Диапазон измерения - 10 мм, точность измерения - 1 мкм по всему диапазону. Работает в комплекте с компьютером или регистратором данных.
4.13 Источник питания постоянного тока, обеспечивающий ток 39,6 А, плотность тока на катоде 0,7 А/см
2.
5.1 Аргон сварочного уровня качества.
5.2 Криолит (Na3AlF6), природный, с содержанием основного компонента 99,7% масс. или синтетический, с содержанием основного компонента более 97% масс.
5.3 Фтористый натрий (NaF), чистый, с содержанием основного компонента более 99% масс.
5.4 Фтористый кальций (CaF2), осажденный чистый, с содержанием основного компонента более 97% масс.
5.5 Глинозем (Al2O3), особой чистоты, с содержанием основного компонента более 98% масс.
5.6 Скорректированный криолит для электролизной ванны с криолитовым отношением 4,0 и состоящий из следующих компонентов: Na
3AlF
6 - 71,5%, NaF - 14,5%, CaF
2 - 5,0%, Al
2O
3 - 9,0%. Электролит дробят до размера частиц менее 2 мм, используя щековую дробилку. Масса криолита - 765 г.
Отбирают материал катодных блоков в соответствии с ИСО 8007-1. Изготовляют образцы следующих размеров: диаметр - (30,0 +/- 0,1) мм; длина - (60,0 +/- 0,1) мм.
Упор
(4.8) выступает в качестве фиксированной точки при измерении удлинения. Помещают корундовый диск
(4.9) на дно тигля
(4.4).
Измеряют длину образца
l0 при комнатной температуре с точностью до 0,1 мм. Устанавливают образец на корундовый диск в центре диска. Устанавливают графитовый цилиндр
(4.10) на верхней части образца.
Готовят компоненты скорректированного криолита в соответствии с
5.6 и помещают их в графитовый тигель
(4.4). Устанавливают графитовую крышку
(4.5) с изоляционным кольцом
(4.6).
Поднимают тигель силовым гидроцилиндром
(4.11), пока графитовый цилиндр не коснется упора
(4.8) внутри печи
(4.1). Устанавливают давление 5 МПа. Устанавливают термопару вблизи тигля на уровне середины высоты расплава. Устанавливают экстензометр
(4.12) относительно базы держателя тигля (см.
рисунок 1).
Нагревают печь до (980 +/- 5) °C, продувая аргоном
(5.1). Измеряют участок изменения длины образца и установки. Устанавливают начало теплового расширения пробы и установки. Положение опоры для тигля принимают за нулевой уровень для последующих измерений изменения длины

.
Подсоединяют источник питания
(4.13) к держателю тигля и упору. Проводят электролиз системы в течение 2 ч при постоянном токе 39,6 А. Обеспечивают регистрацию изменения длины

через минутные промежутки времени с использованием компьютера или регистратора данных. После прекращения электролиза ослабляют давление, но тигель держат внутри печи. Вынимают образец из ванны. Оставляют печь охладиться до комнатной температуры.
8.1 Обработка результатов
Вычисляют относительное удлинение образца по формуле

(1)
где

- относительное удлинение за время
t, %;

- измеренное изменение длины за время
t, мм;
l0 - длина исходного образца, мм.
Вычерчивают график относительного расширения

в зависимости от времени. Округляют результаты до второго десятичного знака.
8.2 Прецизионность
Прецизионность вычисляют в соответствии с ИСО 5725-2.
Повторяемость вычисляют по формуле

(2)
где

- максимальное относительное удлинение;
0,02 - в абсолютных %.
Пример - Материал A имеет максимальное относительное удлинение, равное 0,56%. Повторяемость равна
0,20·0,56 + 0,02 = 0,13, в абсолютных %.
Воспроизводимость вычисляют по формуле

(3)
Число степеней свободы, т.е. число лабораторий (например, 4), согласованное по времени с числом образцов (например, 3), равно 12.
Протокол испытаний должен содержать:
a) ссылку на настоящий стандарт;
b) все реквизиты, необходимые для идентификации образца;
c) направление образца относительно направления экструзии или вибрации;
d) результаты испытания, включая максимальное удлинение в результате проникновения натрия

в процентах и график относительного удлинения в результате проникновения натрия

в процентах в зависимости от времени
t;
e) дату проведения испытания;
f) любые особенности, отмеченные в ходе испытания;
g) подробности любых действий, не включенных в настоящий стандарт или считающихся необязательными.
(справочное)
СВЕДЕНИЯ О СООТВЕТСТВИИ ССЫЛОЧНЫХ МЕЖДУНАРОДНЫХ СТАНДАРТОВ
НАЦИОНАЛЬНЫМ СТАНДАРТАМ РОССИЙСКОЙ ФЕДЕРАЦИИ (И ДЕЙСТВУЮЩИМ
В ЭТОМ КАЧЕСТВЕ МЕЖГОСУДАРСТВЕННЫМ СТАНДАРТАМ)
Таблица ДА.1
Обозначение ссылочного стандарта | Степень соответствия | Обозначение и наименование соответствующего национального стандарта |
ИСО 5725-2:1994 | IDT | ГОСТ ИСО 5725-2-2002 "Точность (правильность и прецизионность) методов и результатов измерений" <1> |
ИСО 8007-1:1999 | MOD | ГОСТ Р 54252-2010 (ИСО 8007-1:1999) "Материалы углеродные, используемые в производстве алюминия. Отбор проб. Общие требования. Часть 1. Блоки подовые" |
АСТМ Е 220-13 | - | <*> |
<*> Соответствующий национальный стандарт отсутствует. До его утверждения рекомендуется использовать перевод на русский язык данного стандарта. Перевод данного стандарта находится в Федеральном информационном фонде технических регламентов и стандартов. Примечание - В настоящей таблице использованы следующие условные обозначения степени соответствия стандартов: - IDT - идентичные стандарты; - MOD - модифицированные стандарты. |
--------------------------------
<1> ГОСТ ИСО 5725-2002 "Точность (правильность и прецизионность) методов и результатов измерений" отменен на территории Российской Федерации, действуют ГОСТ Р ИСО 5725-1-2002 - ГОСТ Р ИСО 5725-6-2002.