Главная // Актуальные документы // ГОСТ Р (Государственный стандарт)
СПРАВКА
Источник публикации
М.: Стандартинформ, 2016
Примечание к документу
Документ введен в действие с 01.11.2016.
Название документа
"ГОСТ Р ИСО 11990-1-2015. Национальный стандарт Российской Федерации. Лазеры и оборудование, относящееся к лазерам. Определение стойкости трахеальной трубки к воздействию лазера. Часть 1. Ствол трахеальной трубки"
(утв. и введен в действие Приказом Росстандарта от 26.10.2015 N 1630-ст)

"ГОСТ Р ИСО 11990-1-2015. Национальный стандарт Российской Федерации. Лазеры и оборудование, относящееся к лазерам. Определение стойкости трахеальной трубки к воздействию лазера. Часть 1. Ствол трахеальной трубки"
(утв. и введен в действие Приказом Росстандарта от 26.10.2015 N 1630-ст)


Содержание


Утвержден и введен в действие
Приказом Федерального агентства
по техническому регулированию
и метрологии
от 26 октября 2015 г. N 1630-ст
НАЦИОНАЛЬНЫЙ СТАНДАРТ РОССИЙСКОЙ ФЕДЕРАЦИИ
ЛАЗЕРЫ И ОБОРУДОВАНИЕ, ОТНОСЯЩЕЕСЯ К ЛАЗЕРАМ
ОПРЕДЕЛЕНИЕ СТОЙКОСТИ ТРАХЕАЛЬНОЙ ТРУБКИ
К ВОЗДЕЙСТВИЮ ЛАЗЕРА
ЧАСТЬ 1
СТВОЛ ТРАХЕАЛЬНОЙ ТРУБКИ
Lasers and laser-related equipment. Determination of laser
resistance of tracheal tubes. Part 1. Tracheal tube shaft
ISO 11990-1:2011
Lasers and laser-related equipment - Determination of laser
resistance of tracheal tubes - Part 1: Tracheal tube shaft
(IDT)
ГОСТ Р ИСО 11990-1-2015
ОКС 11.040.10
31.260
Дата введения
1 ноября 2016 года
Предисловие
1 ПОДГОТОВЛЕН Открытым акционерным обществом "ТКС-оптика" совместно с рабочей группой ПК 9 "Электрооптические системы" Технического комитета ТК 296 "Оптика и оптические приборы" на основе собственного аутентичного перевода на русский язык англоязычной версии международного стандарта, указанного в пункте 4
2 ВНЕСЕН Техническим комитетом по стандартизации ТК 296 "Оптика и оптические приборы"
3 УТВЕРЖДЕН И ВВЕДЕН В ДЕЙСТВИЕ Приказом Федерального агентства по техническому регулированию и метрологии от 26 октября 2015 г. N 1630-ст
4 Настоящий стандарт идентичен международному стандарту ИСО 11990-1:2011 "Лазеры и оборудование, относящееся к лазерам. Определение стойкости трахеальной трубки к воздействию лазера. Часть 1. Ствол трахеальной трубки" (ISO 11990-1:2011 "Lasers and laser-related equipment - Determination of laser resistance of tracheal tubes - Part 1: Tracheal tube shaft", IDT).
При применении настоящего стандарта рекомендуется использовать вместо ссылочных международных стандартов соответствующие им национальные стандарты Российской Федерации, сведения о которых приведены в дополнительном приложении ДА
5 ВВЕДЕН ВПЕРВЫЕ
Правила применения настоящего стандарта установлены в ГОСТ Р 1.0-2012 (раздел 8). Информация об изменениях к настоящему стандарту публикуется в ежегодном (по состоянию на 1 января текущего года) информационном указателе "Национальные стандарты", а официальный текст изменений и поправок - в ежемесячном информационном указателе "Национальные стандарты". В случае пересмотра (замены) или отмены настоящего стандарта соответствующее уведомление будет опубликовано в ближайшем выпуске ежемесячного информационного указателя "Национальные стандарты". Соответствующая информация, уведомление и тексты размещаются также в информационной системе общего пользования - на официальном сайте Федерального агентства по техническому регулированию и метрологии в сети Интернет (www.gost.ru)
Введение
Международная организация по стандартизации (ИСО) - всемирная федерация национальных комитетов по стандартизации (комитеты - члены ИСО). Международные стандарты обычно подготавливаются техническими комитетами ИСО. Каждый комитет-член, заинтересованный темой, по которой создан технический комитет, имеет право быть представленным в данном комитете. В работе также принимают участие международные правительственные и неправительственные организации совместно с ИСО. ИСО тесно сотрудничает с Международной электротехнической комиссией (МЭК) по всем вопросам электротехнической стандартизации.
Международные стандарты подготовлены в соответствии с правилами, приведенными в Директивах ИСО/МЭК, часть 2.
Основная задача технических комитетов - подготовка международных стандартов. Проекты международных стандартов, принятые техническими комитетами, передаются комитетам-членам для голосования. Публикация в качестве международного стандарта требует одобрения, как минимум, 75% голосующих комитетов-членов.
Следует отметить, что некоторые элементы настоящего стандарта подпадают под действие патентных прав. ИСО не несет ответственности за нарушение таких патентных прав.
ИСО 11990-1 подготовлен Техническим комитетом ИСО/ТК 172 "Оптика и фотоника", подкомитетом ПК 9 "Электрооптические системы".
Настоящее первое издание ИСО 11990-1 отменяет и заменяет ИСО 11990:2003, являясь его версией с исправлениями.
ИСО 11990 состоит из следующих частей под общим наименованием "Лазеры и оборудование, относящееся к ним - Определение стойкости трахеальной трубки к воздействию лазера":
- Часть 1. Ствол трахеальной трубки.
- Часть 2. Манжеты трахеальной трубки.
Возгорание в дыхательных путях всегда представляет собой серьезную проблему. В дополнение к местному повреждению гортани может возникнуть травма нижней части дыхательных путей и паренхимальных тканей легких. Продукты возгорания могут попасть в легкие.
Процедуры, выполняемые в дыхательных путях, используют совместно трахеальную трубку и лазерное излучение: атмосфера, обогащенная кислородом, топливо и высокая мощность излучения - три составные части, сочетание которых может вызвать воспламенение. Вероятность контакта лазерного излучения с трахеальной трубкой во время процедуры осмотра дыхательных путей высока.
В начале 80-х годов прошлого века увеличение использования лазерного излучения в процедурах осмотра дыхательных путей приводило к возгораниям в дыхательных путях, и, как следствие, разработке трахеальных труб, которые были специально сконструированы устойчивыми к воспламенению и поражению лазерным излучением. К сожалению, некоторые из таких трахеальных трубок не имели устойчивого применения в условиях врачебных кабинетов, и возгорания в дыхательных путях имели место и далее. Данные инциденты привели к созданию методики испытаний, описанных в настоящем стандарте в целях оказания помощи клиническому врачу в определении стволов трахеальных трубок, которые являются наиболее устойчивыми к лазерному излучению при определенных условиях.
1 Область применения
В настоящем стандарте приведен метод проверки стойкости ствола трахеальной трубки, созданной для сопротивления возгоранию, вызванному лазером с непрерывным излучением. Метод не относится к другим компонентам системы, таким как система подачи воздуха и манжета, которые описаны в ИСО 11990-2 [3].
Примечание - В ИСО 11990-2 [3] приведен метод проверки стойкости манжеты трахеальной трубки к воздействию лазерного излучения.
Настоящий стандарт может быть использован для измерения и описания свойств материалов, продукции или модулей при воздействии высокой температуры и пламени при контролируемых лабораторных условиях. В стандарте не описывается и не оценивается угроза возгорания или риск возгорания материалов, продукции или модулей в условиях фактического клинического использования.
Однако результаты данной проверки могут быть использованы в качестве элемента оценки риска возгорания, который принимает во внимание все факторы, относящиеся к оценке опасности конкретного конечного использования.
Примечание - Прямая применяемость результата данного метода проверки в отношении клинической ситуации не была полностью установлена.
ПРЕДОСТЕРЕЖЕНИЕ - Данный метод проверки может включать в себя опасные материалы, действия и оборудование. В настоящем стандарте предоставлена рекомендация по минимизации некоторых рисков, связанных с его использованием, но не предусматривается рассмотрение всех подобных рисков. Пользователь настоящего стандарта несет ответственность за применение соответствующих принципов безопасности и охраны здоровья и определения применимости нормативных ограничений до начала работы.
2 Нормативные ссылки
В настоящем стандарте использована нормативная ссылка на следующий стандарт. В случае датированных ссылок применяется только указанное издание. В случае ссылок без даты применяется последнее издание упомянутого документа (включая любые поправки).
ИСО 11146-1 Лазеры и оборудование, относящееся к лазерам. Методы проверки диаметров лазерного луча, углов расходимости и коэффициентов распространения лазерных пучков. Часть 1. Стигматические и простые астигматические пучки (ISO 11146-1, Lasers and laser-related equipment - Test methods for laser beam widths, divergence angles and beam propagation ratios - Part 1: Stigmatic and simple astigmatic beams)
3 Термины и определения
В настоящем стандарте применены следующие термины с соответствующими определениями:
3.1 площадь поперечного сечения пучка A95 (beam cross-sectional area): Самая малая область, содержащая 95% всей мощности пучка.
[3]
3.2 диаметр пучка d95 (beam diameter): Диаметр апертуры в плоскости, перпендикулярной оси пучка, которая содержит 95% всей мощности пучка.
Примечание - Приведено из ИСО 11145 [2].
[3]
3.3 возгорание (combustion): Любой продолжительный процесс горения, который возникает в пробном образце или на нем и вызван химическим окислением с высвобождением высокой температуры.
Пример - Пламя, медленное горение, быстрое выделение дыма.
[3]
3.4 повреждение (damage): Любое изменение, кроме возгорания, которое может повлиять на безопасность пациента или эффективность функционирования трахеальной трубки в связи с возрастающим риском возгорания.
Пример - Местное нагревание, плавление, возникновение отверстий, пиролиз.
[3]
3.5 воспламенение (ignition): Возгорание, вызванное подачей мощности лазерного излучения.
[3]
3.6 стойкость к лазерному излучению (laser resistance): Степень способности материала к противодействию мощности лазерного излучения без последующего воспламенения или повреждения.
[3]
3.7 ствол (shaft): Часть трахеальной трубки между манжетой и аппаратным окончанием трубки.
4 Принцип испытания
ПРЕДУПРЕЖДЕНИЕ - Данный метод проверки может закончиться реактивным возгоранием, затрагивающим трахеальную трубку. Такое возгорание может привести к сильному выделению тепла, света и токсических газов.
Для имитации наихудших условий ствол трахеальной трубки подвергается воздействию мощности лазерного излучения с известными характеристиками в условиях наличия (98 +/- 2)% кислорода.
5 Общие требования
5.1 В настоящем стандарте описывается унифицированный метод испытания с высокой повторяемостью для измерения стойкости ствола трахеальной трубки к воздействию лазерного излучения. Большинство переменных, включенных в воспламенение трахеальной трубки с помощью лазерного луча, были зафиксированы с целью установления основания для сравнения. Данный метод тестирования для измерения может быть использован для сравнения трахеальных трубок разного типа и конструкций для защиты от воздействия лазерного излучения.
5.2 В процесс возгорания трахеальной трубки вовлечено большое количество переменных. Изменение одной переменной может повлиять на результат испытания. Необходимо проявлять осторожность, поскольку прямая применяемость результата данного метода проверки в отношении клинической ситуации не была полностью установлена.
Примечание - Данный метод может применяться для изучения результатов изменения условий проверки, однако данный фактор находится вне области применения настоящего стандарта. К примеру, различия в скорости подачи потока дыхательного газа или изменения в составе дыхательной смеси могут повлиять на стойкость ствола трахеальной трубки.
5.3 Поскольку атмосфера, обогащенная кислородом, часто преднамеренно или непреднамеренно используется в клинических ситуациях, проверка выполняется в условиях наличия (98 +/- 2)% кислорода.
5.4 Скорость подачи кислорода в режиме 1 л/мин через трубку с внутренним диаметром 6,0 мм была выбрана в качестве самых подходящих условий для воспламенения ствола и установления пламени на основании [8].
5.5 Подготовка ствола тестируемого образца должна производиться в соответствии с рекомендациями для использования, предоставленными изготовителем.
5.6 Использование пучка с поперечным сечением не круглой формы или подача мощности лазерного излучения не в непрерывном режиме может повлиять на характеристики возгорания. Также, стволы различной конструкции имеют различную устойчивость к воздействию лазерного излучения (см. [8] - [14]).
6 Требования к испытательному прибору
6.1 Требования к системе подачи газа
6.1.1 Система подачи газа подает кислород в трахеальную трубку при контролируемом уровне подачи. Система также способна к быстрому наполнению защитного корпуса азотом или другим инертным газом или к остановке подачи кислорода, или обоим действиям для тушения любого горящего материала. В данную систему (см. рисунок 1) должны быть включены измеритель расхода кислорода и регулятор любого типа, а также быстродействующий клапан перекрывания подачи инертного газа. Азот и инертный газ должны подаваться при высоком давлении и осуществлять подачу на порядок выше, чем кислород, подаваемый в трахеальную трубку.
1 - тестируемая трахеальная трубка; 2 - опора трахеальной
трубки с использованием двух хомутов; 3 - отверстие
для доступа пучка лазерного излучения; 4 - защитный корпус
(вид сбоку); 5 - крышка корпуса (может состоять из множества
элементов); 6 - стопор обратного выброса; 7 - измеритель
расхода кислорода и регулятор; 8 - регулятор давления
с входными и выходными датчиками; 9 - быстродействующий
клапан для инертного газа
Рисунок 1 - Схема типичного испытательного прибора
6.1.2 Допускаются к использованию другие типы компоновки, такие как установка клапана быстрого наполнения кислородом для быстрого очищения защитного корпуса или система наполнения инертным газом для быстрого тушения горящего материала при условии, что требования метода проверки, определенные в стандарте, не изменяются.
6.2 Требования к защитному корпусу
6.2.1 Защитный корпус контролирует среду вокруг тестируемого образца и позволяет направлять пучок лазерного излучения на тестируемый образец.
6.2.2 Защитный корпус должен иметь следующие характеристики:
a) обеспечивать прямой доступ пучка лазерного излучения ко всей длине ствола трахеальной трубки;
b) давать возможность устанавливать тестируемый образец;
c) поддерживать тестируемую среду (98 +/- 2)% кислорода вокруг трахеальной трубки;
d) выводить газ, поступающий через трубку, и все продукты горения в безопасное место;
e) быть огнеупорным и легко очищаться от сажи и осадка сгоревших трахеальных трубок;
f) быть прямоугольным по форме и иметь размеры примерно 46 x 46 x 46 см;
g) сохраняя тестируемую среду с (98 x 2)% кислорода иметь отверстия, закрытые прозрачными и несгораемыми крышками или окнами с целью:
1) наблюдения с помощью видеокамер сверху и со всех сторон корпуса; для записи требуются как минимум три видеокамеры (одна камера, расположенная над защитным корпусом и две камеры, расположенные по обеим сторонам от защитного корпуса);
2) доступа к тестируемому образцу;
3) очистки корпуса, очистки крышек и/или самих окон.
Отверстие для обеспечения доступа пучка лазерного излучения к тестируемым образцам должно быть расположено таким образом, чтобы пучок лазерного излучения был направлен перпендикулярно поверхности ствола. Заслонка или крышка, или окно должны обеспечивать доступ к тестируемому образцу;
h) быстро наполняться азотом или другим инертным газом для тушения огня внутри корпуса;
i) верх корпуса покрыт фильтрующим материалом для защиты образца и внутренности корпуса от отражений.
6.2.3 Допускается использовать другие конфигурации защитного корпуса, если требования к методу тестирования соответствуют установленным в стандарте.
6.3 Требования к устранению дыма
ПРЕДУПРЕЖДЕНИЕ - Возгорание большинства материалов, используемых в трахеальных трубках, ведет к появлению токсичных газов, таких как угарный газ, хлористый водород и цианистый водород. Кроме этого дым, возникший при таких возгораниях, содержит опасные частицы углерода, кремния, несгоревших веществ и других материалов.
6.3.1 На защитном корпусе должен быть установлен прибор для безопасного удаления дыма, возникшего в результате горения трахеальной трубки. Он должен быть разработан таким образом, чтобы минимизировать возможность втягивания огня в вытяжную систему. Размещение защитного корпуса в вытяжном устройстве, которое отводит дым в безопасное место, отвечает данному требованию.
6.3.2 Устройство для устранения дыма не должно мешать сохранению кислородной среды внутри защитного корпуса. К примеру, поток дыма в вытяжном устройстве не должен создавать тягу, которая будет вдувать или вытягивать газ из отверстия для доступа пучка лазерного излучения. Удаление дыма не должно активироваться до начала возгорания.
6.4 Требования к лазерам и системам подачи
ПРЕДУПРЕЖДЕНИЕ - Хирургические лазеры испускают излучение достаточной мощности для повреждения живых тканей или вызывают возгорание путем прямого воздействия или посредством отраженного излучения. В дополнение к другим мерам предосторожности, персонал, проводящий проверку, должен быть обучен использованию лазеров и принять меры предосторожности, соответствующие типу применяемого лазера. Данные предосторожности должны включать в себя применение защитных очков для работы с лазерами, защитную одежду и контролируемый доступ к зоне тестирования.
6.4.1 При хирургии уха, носа и горла используют различные типы лазеров, испускающие излучение в видимом и инфракрасном диапазонах. Все лазеры, которые соответствуют требованиям, перечисленным в данной процедуре проверки, пригодны к использованию в данной проверке.
6.4.2 Излучение лазеров в непрерывном режиме должно применяться с оптическими устройствами аналогичными тем, которые обычно используются для хирургических процедур. Данные устройства дают возможность направлять пучки лазерного излучения с известным и контролируемым размером на области воздействия без осуществления физического контакта. Система должна обеспечивать диаметр пучка d95 = 0,5 мм +/- 10% на поверхности тестируемого образца в соответствии с ИСО 11146-1.
Примечание - В данный метод тестирования не включены: оптоволокно без покрытия, контактные наконечники, контактное волокно или другие устройства, которые преобразуют часть лазерной мощности в тепловую энергию и используются при физическом контакте с биологической тканью. Высокая температура воздействует на материалы иначе, чем лазерная энергия, и не согласуется с данным методом.
ПРЕДУПРЕЖДЕНИЕ - Нельзя использовать охлаждающие или очищающие газы. Охлаждающие или очищающие газы используются в некоторых лазерах для обеспечения качества системы подачи. Поток этих газов может повлиять на измеренное значение стойкости к воздействию лазера, к примеру, с помощью тушения возникающего возгорания.
6.4.3 Мощность излучения, передаваемого этими системами, должна быть проверена с точностью до +/- 10%. Этого можно добиться при использовании внешнего измерителя мощности или внутренних систем калибровки.
6.5 Требования к анализатору кислорода
6.5.1 Допускается использовать любое устройство, которое может измерять концентрацию газообразного кислорода с повторяемостью в 1% от полной длины шкалы и точностью градуировки в 1% от всей длины шкалы.
6.5.2 Датчик кислорода должен быть расположен так, чтобы минимизировать возможность его возгорания в защитном корпусе.
7 Требования к материалам и реактивам
7.1 Кислород с объемным содержанием (98 +/- 2)%.
7.2 Азот или другой инертный газ (т.е. неокисляющийся, негорючий) с объемным содержанием (98 +/- 2)%.
8 Порядок подготовки тестируемого образца
8.1 В качестве тестируемого образца используют любой материал, устройство или систему, применяемую в качестве трахеальной трубки с любыми изменениями, используемыми для защиты трахеальной трубки от лазерного воздействия.
8.2 Должны использоваться пять тестовых образцов.
8.3 Каждый тестовый образец должен быть подготовлен в соответствии с инструкциями для пользователя, предоставленными изготовителем. Некоторые устройства могут потребовать особой подготовки (к примеру, увлажнение трубки, наполнение манжеты изоосмотическим раствором или водой, нагнетание с помощью инертного газа).
8.4 Тестовые образцы должны быть свободными от посторонних материалов, поскольку такие материалы могут значительно повлиять на устойчивость трахеальной трубки к воздействию лазерного излучения.
Пример - Уголь, пепел, сажа, кровь, слизь, смазочные и другие материалы.
8.5 Тестовый образец и испытательный прибор выдерживают при температуре (20 +/- 3) °C в среде, обогащенной кислородом (98 +/- 2)% в течение 10 мин до начала проверки.
Примечания
1 Процедуру проводят с целью стандартизации тестовых условий, а не имитирования клинических условий. Воспламеняемость и горючесть большинства материалов не изменяется существенно в диапазоне между комнатной температурой и температурой тела. Однако некоторые полимеры меняют способность поглощения кислорода и, таким образом, изменяют свою горючесть с температурой.
2 Некоторые материалы, такие как полимеры, поглощают кислород и могут иметь уменьшенную сопротивляемость воздействию излучения лазера, если попадают в среду кислорода на длительный промежуток времени.
9 Порядок подготовки испытательного прибора
9.1 Необходимо убедиться в том, что защитный корпус чистый (т.е. свободен от загрязняющих веществ). Крышки корпуса должны быть прозрачными, чтобы предоставить персоналу, проводящему тестирование, возможность видеть взаимодействие лазера с тестовым образцом посредством наблюдения видеокамерами.
Примечание - Загрязнение может повлиять на процедуру тестирования и оценку результатов.
9.2 Необходимо убедиться в том, что лазер находится в рабочем состоянии, его принцип работы известен и присутствует защита персонала.
9.3 Необходимо убедиться в том, что имеется достаточно кислорода в наличии для проведения проверки, а также азота или другого газа для тушения возгорания.
9.4 Должны быть в наличии другие подручные средства тушения пожара (к примеру, углекислотный огнетушитель). Вода не рекомендована, поскольку не сможет затушить некоторые материалы, сгорающие в кислороде и, при использовании, вызовет значительное загрязнение защитного корпуса и повлияет на интерпретацию результатов взаимодействия лазерного излучения с тестовым образцом. Не рекомендуется использовать воду для тушения пожара, включающего в себя электрическое оборудование, находящееся под напряжением.
10 Порядок проведения испытания
10.1 Испытание проводят при температуре (20 +/- 3) °C.
10.2 Помещают тестовый образец в защитный корпус. Подключают систему подачи газа к прибору.
10.3 Помещают крышку корпуса на верх защитного корпуса как показано на рисунке 1. Убедитесь в том, что отверстие для подачи пучка лазерного излучения останется минимальным для того, чтобы сохранять среду, обогащенную кислородом, в то же время обеспечивая доступ пучка лазерного излучения к стволу тестируемого образца. Кроме этого, тестируемый образец виден через крышку корпуса.
10.4 Убеждаются в правильности работы проветривания с помощью инертного газа.
10.5 Убеждаются в правильности работы системы удаления дыма, которая не будет влиять на концентрацию газа в защитном корпусе во время проведения теста.
10.6 Убеждаются в том, что подача кислорода в защитный корпус с данной интенсивностью и в данный промежуток времени достаточна для обеспечения среды с (98 +/- 2)% кислорода. Уровень кислорода контролируют при помощи анализатора кислорода (см. 6.5).
10.7 Устанавливают уровень подачи кислорода через тестовый образец в 1 л/мин.
10.8 Помещают лазер так, чтобы:
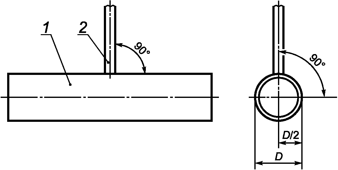
- пучок лазерного излучения был перпендикулярен поверхности ствола тестового образца (см. рисунок 2);
- диаметр пучка d95, измеренный в соответствии с ИСО 11146-1, должен быть 0,5 мм +/- 10% на поверхности тестового образца (площадь поперечного сечения пучка A95 является критическим параметром испытания).
1 - тестируемый ствол; 2 - пучок лазерного излучения
Рисунок 2 - Угол наведения пучка лазерного излучения
Боковое перемещение лазерного пятна должно быть минимизировано какой-либо формой стабилизации.
10.9 Во время выполнения тестирования проверяют правильность следующих типовых тестовых параметров:
a) точное положение пучка лазерного излучения;
b) концентрацию кислорода: (98 +/- 2)%;
c) температуру: (20 +/- 3) °C;
d) расход кислорода: 1 л/мин;
e) диаметр пучка лазерного излучения, d95: 0,5 мм +/- 10%;
f) режим работы лазера: непрерывный.
10.10 Используя непрерывный режим работы лазера с мощностью 2 Вт, направляют пучок лазерного излучения на тестовый образец в течение указанного промежутка времени от 1 до 10 с. Прекращают подачу пучка лазерного излучения при возгорании или повреждении (т.е. плавлении, образовании отверстий, протекании и т.д.) или если возникли затруднения в работе испытательного прибора. Эти данные должны быть переданы в дополнение к данным, собранным в режиме 10 с.
10.11 Увеличивая мощность лазера в разумных пределах повторяют применение пучка лазерного излучения для каждого нового уровня мощности или до того момента, пока не произойдет возгорание или повреждение, как описано в 10.10. Это приведет к необходимости либо использовать новый образец, либо, в случае, если конструкция ствола одинакова по всей окружности ствола к повороту образца (холодной, чистой и неповрежденной стороной) при каждом новом уровне мощности для определения максимальных значений мощности, при которых возгорание или повреждение не возникает. После определения максимальных значений мощности проверяют их с помощью тестовой процедуры на пяти образцах в соответствии с 8.2.
11 Требования к обработке результатов испытания
11.1 Если в указанных условиях испытания возгорание не происходит, тестовые образцы считаются стойкими к воздействию лазера до максимальной мощности.
11.2 Все повреждения тестовых образцов (к примеру, плавление, появление отверстий) должны описываться в отчете об испытании совместно с настройками лазера, которые вызвали такие изменения.
12 Требования к отчету об испытании
Данный отчет должен включать в себя следующую информацию о каждом тестовом образце:
a) тип лазера, номинальная длина волны и используемая система подачи;
b) длительность экспозиции излучением лазера, в секундах;
c) максимальная мощность лазера, в ваттах;
d) внешний диаметр тестируемого образца, в миллиметрах;
e) изготовитель трахеальной трубки и данные об изготовителе, материал ствола;
f) является ли материал ствола огнестойким;
g) длина тестируемого образца, в сантиметрах;
h) описание всех возгораний или повреждений;
i) мощность, при которой произошло возгорание или повреждение ствола, в ваттах;
j) мощность, при которой не произошло возгорания или повреждения ствола, в ваттах;
k) физическое описание (цвет, размер) пламени или полученного повреждения;
l) место, где возникло возгорание или повреждение ствола;
m) отметка о том, что проверка была выполнена в соответствии с настоящим стандартом;
n) дата и время проведения испытания;
o) название и адрес организации, проводившей испытание;
p) имя и подпись лица, производившего испытание;
q) графический отчет о результатах, показывающий соотношение мощности и длительности экспозиции излучением лазера;
r) отчет о результатах.
Приложение ДА
(справочное)
СВЕДЕНИЯ О СООТВЕТСТВИИ ССЫЛОЧНЫХ МЕЖДУНАРОДНЫХ СТАНДАРТОВ
НАЦИОНАЛЬНЫМ СТАНДАРТАМ РОССИЙСКОЙ ФЕДЕРАЦИИ
Таблица ДА.1
Обозначение ссылочного международного стандарта
Степень соответствия
Обозначение и наименование соответствующего национального стандарта
ИСО 11146-1
IDT
ГОСТ Р ИСО 11146-1-2008 "Лазеры и лазерные установки (системы). Методы измерений ширин, углов расходимости и коэффициентов распространения лазерных пучков. Часть 1. Стигматические (гомоцентрические) и слабоастигматические пучки"
Примечание - В настоящей таблице использовано следующее условное обозначение степени соответствия стандартов:
- IDT - идентичный стандарт.
Библиография
[1]
ИСО 5361, Анестезиологическое и дыхательное оборудование - Трахеальные трубки и коннекторы
[2]
ИСО 11145, Оптика и фотоника - Лазеры и оборудование, относящееся к ним - Словарь и символы
[3]
ИСО 11990-2:2010, Лазеры и оборудование, относящееся к ним - Определение стойкости трахеальных трубок к лазерному воздействию - Часть 2: Манжеты трахеальной трубки
[4]
ИСО/TR 11991, Руководство по обеспечению вентиляции в лазерной хирургии верхних дыхательных путей
[5]
ИСО 14408, Трубки трахеальные для лазерной хирургии - Требования к маркировке и сопутствующей информации
[6]
МЭК 60601-2-22, Электроаппаратура медицинская - Часть 2-22: Частные требования к безопасности при работе с хирургическим, косметическим, терапевтическим и диагностическим лазерным оборудованием
[7]
МЭК 60825-1, Безопасность лазерной аппаратуры - Часть 1: Классификация оборудования и требования
[8]
SIDEBOTHAM, G.W., WOLF, G.L., et al. Возгорание трахеальных трубок: A Flame Spread Phenomenon, in STOLTZFUS, J., and McILROY, K. eds., ASTM STP 1111 Flammability and Sensitivity of Materials in Oxygen-Enriched Atmospheres, 5, pp. 168 - 178, May 1991
[9]
ECRI, Evaluation of Laser Resistant Endotracheal Tubes, Health Devices, 19, (4), pp. 123 - 134, 1990
[10]
OSSOFF, R.H., Laser Safety in Otolaryngology - Head and Neck Surgery: Anesthetic and Educational Considerations for Laryngeal Surgery, Laryngoscope, Supplement, 48, (99), pp. 1 - 26, 1989
[11]
PASHAYAN, A.G. and GRAVENSTEIN, J.S., Helium Retards Endotracheal Tube Fires from Carbon Dioxide Lasers, Anesthesiology, 62, (3), pp. 274 - 277, 1985
[12]
SOSIS, M.B., Anesthesia for laser surgery, Problems in anesthesia, Vol. 7, Lippincott, Philadelphia PA, 1993
[13]
FOTH, H.-J., Laser resistance of endotracheal tubes I: Experimental results of a compound tube in comparison to a metallic tube, Lasers Med Sci, 13: 242 - 252, 1998
[14]
FOTH, H.-J., Laser resistance of endotracheal tubes II: Observed temperature rise and theoretical explanation, Lasers Med Sci, 14, pp. 24 - 31, 1999
[15]
BERLIEN, H.-P., The Cuff - The weak point for ignition safety of endotracheal tubes, ILSC, San Francisco, International Laser Safety Conference proceedings, 2005
УДК 537.872:006.354
ОКС 11.040.10
Ключевые слова: лазер, трахеальная трубка, пучок лазерного излучения, испытание, тестируемый образец