Главная // Актуальные документы // ГОСТ Р (Государственный стандарт)СПРАВКА
Источник публикации
М.: Стандартинформ, 2015
Примечание к документу
Документ
введен в действие с 1 июля 2016 года.
Название документа
"ГОСТ Р ЕН 15259-2015. Национальный стандарт Российской Федерации. Качество воздуха. Выбросы стационарных источников. Требования к выбору измерительных секций и мест измерений, цели и плану измерений и составлению отчета"
(утв. и введен в действие Приказом Росстандарта от 17.11.2015 N 1841-ст)
"ГОСТ Р ЕН 15259-2015. Национальный стандарт Российской Федерации. Качество воздуха. Выбросы стационарных источников. Требования к выбору измерительных секций и мест измерений, цели и плану измерений и составлению отчета"
(утв. и введен в действие Приказом Росстандарта от 17.11.2015 N 1841-ст)
Утвержден и введен в действие
по техническому регулированию
и метрологии
от 17 ноября 2015 г. N 1841-ст
НАЦИОНАЛЬНЫЙ СТАНДАРТ РОССИЙСКОЙ ФЕДЕРАЦИИ
КАЧЕСТВО ВОЗДУХА
ВЫБРОСЫ СТАЦИОНАРНЫХ ИСТОЧНИКОВ. ТРЕБОВАНИЯ
К ВЫБОРУ ИЗМЕРИТЕЛЬНЫХ СЕКЦИЙ И МЕСТ ИЗМЕРЕНИЙ,
ЦЕЛИ И ПЛАНУ ИЗМЕРЕНИЙ И СОСТАВЛЕНИЮ ОТЧЕТА
Air quality. Measurement of stationary source
emissions. Requirements for measurement sections and sites
and for the measurement objective, plan and report
EN 15259:2007
Air quality - Measurement of stationary source
emissions - Requirements for measurement sections and sites
and for the measurement objective, plan and report
(IDT)
ГОСТ Р ЕН 15259-2015
Группа Т58
Дата введения
1 июля 2016 года
1 ПОДГОТОВЛЕН Открытым акционерным обществом "Научно-исследовательский центр контроля и диагностики технических систем" (АО "НИЦ КД") на основе собственного аутентичного перевода на русский язык стандарта, указанного в
пункте 4
2 ВНЕСЕН Техническим комитетом по стандартизации ТК 457 "Качество воздуха"
3 УТВЕРЖДЕН И ВВЕДЕН В ДЕЙСТВИЕ
Приказом Федерального агентства по техническому регулированию и метрологии от 17 ноября 2015 г. N 1841-ст.
4 Настоящий стандарт идентичен европейскому региональному стандарту ЕН 15259:2007 "Качество воздуха. Выбросы стационарных источников. Требования к выбору измерительных секций и мест измерений, цели и плану измерений и составлению отчета" (EN 15259:2007 Air quality - Measurement of stationary source emissions - Requirements for measurement sections and sites and for the measurement objective, plan and report)
5 ВВЕДЕН ВПЕРВЫЕ
Правила применения настоящего стандарта установлены в ГОСТ Р 1.0-2012
(раздел 8). Информация об изменениях к настоящему стандарту публикуется в ежегодном (по состоянию на 1 января текущего года) информационном указателе "Национальные стандарты", а официальный текст изменений и поправок - в ежемесячном информационном указателе "Национальные стандарты". В случае пересмотра (замены) или отмены настоящего стандарта соответствующее уведомление будет опубликовано в ближайшем выпуске ежемесячного информационного указателя "Национальные стандарты". Соответствующая информация, уведомление и тексты размещаются также в информационной системе общего пользования - на официальном сайте национального органа Российской Федерации по стандартизации в сети Интернет (www.gost.ru)
В настоящем стандарте приведены требования:
a) к измерительным секциям и местам измерений в газоходах с отходящими газами промышленных предприятий и
b) цели измерений, планированию и отчету.
Настоящий стандарт предназначен для обеспечения получения надежных и сопоставимых результатов при применении в сочетании с референтными методами, например, разработанными СЕН/ТК 264.
Настоящий стандарт предназначен для проектировщиков предприятий, конструкторов, операторов, испытательных лабораторий, органов по аккредитации и сотрудников контролирующих органов.
Для применения настоящего стандарта необходимо четкое определение цели измерений. Измерения выбросов могут проводиться с различными целями, например:
- для оценки того, работают ли промышленные установки в соответствии с требованиями директивы Совета Европейского Союза 96/61/ЕС о комплексном предотвращении и контроле загрязнений
[1] [оценка соответствия установленным значениям предельно допустимых выбросов (ПДВ)];
- для декларирования выбросов и предоставления отчетов в реестр выбросов (например, местный, национальный и международный, например, в Европейский регистр выбросов и сбросов загрязнителей
[1],
[2]);
- при проведении приемочных испытаний (проверки гарантии);
- при наличии претензий;
- для получения разрешений на деятельность (например, при планировании внесения изменений в рабочие операции процесса или планировку предприятия);
- по истечении установленного периода времени эксплуатации предприятия для определения его состояния;
- при прерывании или нарушении рабочих операций;
- при работах по изучению вопросов техники безопасности;
- для калибровки автоматических измерительных систем непрерывного действия;
- для проверки характеристик автоматических измерительных систем непрерывного действия;
- для установления причины конкретного выброса (например, определения причины сбоев в обработке отходящих газов для поддержания гарантированного/требуемого уровня очистки);
- для прогнозирования возможных уровней выбросов при конкретных рабочих условиях, например, после внесения изменений в технологию, при нарушении или прерывании работы или в случае увеличения производительности;
- для установления производственной деятельности, затрагивающей выбросы
[3];
- для определения коэффициентов загрязнения окружающей среды отходами производства;
- для оценки доступных технологий для конкретного сектора промышленности (например, в компании, секторе или на уровне ЕС в целом)
[3].
Настоящий стандарт устанавливает требования:
а) к измерительным секциям и местам при выполнении измерений выбросов;
б) цели измерений, планированию и составлению отчета по измерениям выбросов загрязняющих воздух веществ и других вспомогательных величин в газоходах с отходящими газами промышленных предприятий.
Настоящий стандарт применяют при проведении периодических измерений с использованием ручных или автоматизированных референтных методов (РМ).
Настоящий стандарт устанавливает общие принципы, применяемые при выполнении измерений выбросов на предприятиях различного типа и для достижения различных целей измерений.
Примечание - Цель измерений устанавливает заказчик. Организация, проводящая испытания, идентифицирует цель измерений и соответствующие нормативные требования при начале планирования измерений. Если измерения осуществляют в целях контроля, то заказчик должен получить одобрение от уполномоченного органа.
Настоящий стандарт устанавливает методики отбора представительных проб отходящих газов в газоходах.
Также в стандарте приведена методика определения наилучшей из доступных точек отбора проб для установки автоматической измерительной системы для непрерывного мониторинга выбросов.
Принципы планирования и составления отчета по измерениям, описанные в настоящем стандарте, применимы для измерений диффузионных и несистематических выбросов.
В настоящем стандарте не рассмотрены вопросы безопасности конструкций газоходов и дымовых труб, а также вопросы организации рабочих площадок и безопасности персонала, проводящего работы с их использованием.
В настоящем стандарте нормативные ссылки не использованы.
В настоящем стандарте применены следующие термины с соответствующими определениями:
Примечание - Примененные в стандарте термины и определения взяты из VIM и CEN/TS 15674.
3.1 измерение (measurement): Совокупность операций, осуществляемых с целью определения значения величины.
[VIM: 1993, 2.1]
Примечание - Операции могут выполняться автоматически.
3.2 отдельное измерение (individual measurement): Измерение, выполняемое в течение определенного периода времени.
Примечание - Необходима информация о времени начала и окончания измерения, например, в случае параллельных измерений с применением референтного метода и калибруемой или аттестуемой автоматической измерительной системы.
3.3 периодическое измерение (periodic measurement): Определение значения измеряемой величины в установленные интервалы времени.
Примечание - Установленные интервалы времени могут быть регулярными (например, один раз в месяц) или нерегулярными. К измеряемым величинам может относиться количественное значение или физическое свойство выброса. Обычно измерения проводят с применением переносного оборудования в течение периода времени менее 24 ч.
3.4 измерительная сетка (grid measurement): Определение значения измеряемой величины в заданной сетке измерительных точек в измерительной плоскости.
3.5 измеряемая величина (measurand): Конкретная величина, подлежащая измерению.
[VIM: 1993, 2.6]
Примечание - Измеряемая величина - это поддающееся количественному определению свойство исследуемого отходящего газа: например, массовая концентрация определяемого компонента, температура, скорость потока, массовый расход, содержание кислорода и содержание водяного пара.
3.6 определяемый компонент (measured component): Входящее в состав отходящего газа вещество, для которого при измерении определяется значение конкретной измеряемой величины.
3.7 стандартная величина (reference quantity): Установленная физическая или химическая величина, необходимая для приведения измеряемой величины к стандартным условиям.
Примечание - Стандартными величинами являются, например, температура (Tref = 273,15 К), давление (pref = 101,325 kPa), объемная доля водяного пара (href = 0%) и объемная доля кислорода oref.
3.8 референтный метод, РМ (reference method, RM): Метод измерений, взятый за стандартный по договоренности и который дает принятое значение измеряемой величины.
Примечания
1 Референтный метод должен быть подробно описан.
2 Референтный метод может быть ручным или автоматическим.
3 Могут быть применены другие методы, если предварительно была установлена их эквивалентность референтному методу.
3.9 стандартный референтный метод, СРМ (standard reference method, SRM): Референтный метод, рекомендуемый для применения европейским или национальным законодательством.
Примечание - Стандартные референтные методы применяют, например, для калибровки и аттестации АИС и для периодических измерений с целью проверки соответствия предельным значениям.
3.10 автоматическая измерительная система, АИС (automated measuring system, AMS): Измерительная система, стационарно установленная в месте применения для непрерывного мониторинга выбросов.
Примечание - АИС должна быть прослеживаема к референтному методу.
[ЕН 14181:2004, 3.2]
3.11 место измерений (measurement site): Место в газоходе в области измерительной(ых) плоскости(ей), включающее конструкционное и техническое оборудование: например, рабочие площадки, измерительные порты, системы обеспечения электропитания.
Примечание - Место измерений также известно как место отбора проб.
3.12 измерительная секция (measurement section): Область в газоходе, включающая измерительную(ые) плоскость(и) и участки трубы до и после измерительной плоскости.
3.13 измерительная плоскость (measurement plane): Плоскость, перпендикулярная оси газохода в месте отбора проб.
Примечание - Измерительная плоскость также известна как плоскость отбора проб.
3.14 гидравлический диаметр dh (hydraulic diameter dh): Характеристический размер поперечного сечения газохода, вычисляемый по формуле:

. (1)
3.15 измерительная линия (measurement line): Линия в плоскости отбора проб, на которой расположены точки отбора проб, ограниченная внутренними стенками газохода.
Примечание - Измерительная линия также известна как линия отбора проб.
3.16 измерительная точка (measurement point): Место на измерительной плоскости, в котором отбирают пробу отходящего газа или получают результаты путем прямого измерения.
Примечание - Измерительная точка также известна как точка отбора проб.
3.17 представительная измерительная точка (representative measurement point): Измерительная точка, в которой плотность местного массового потока определяемого вещества равна плотности массового потока, усредненной для измерительной плоскости.
3.18 измерительный порт (measurement port): Отверстие в газоходе на измерительной линии, через которую обеспечивается доступ к отходящему газу.
Примечание - Измерительный порт также известен как порт отбора проб или порт доступа.
3.19 свободная зона (clearance area): Свободная от каких-либо препятствий зона рабочей площадки за пределами газохода, в которой осуществляют перемещение и работу с измерительными зондами.
3.20 цель измерений (measurement objective): Область применения программы измерений.
3.21 план измерений (measurement plan): Четко определенная методика, обеспечивающая достижение установленной цели измерений.
3.22 протокол измерений (measurement report): Отчет, предоставляемый испытательной лабораторией в соответствии с требованиями заказчика и содержащий по крайней мере информацию, требуемую в стандартах, применяемых в программе измерений, в частности в настоящем стандарте.
3.23 осмотр места (site review): Посещение персоналом испытательной лаборатории места измерений перед проведением измерений выбросов, чтобы удостовериться в том, что техническое состояние предприятия и логистика полностью и правильно были ими поняты перед началом проведения работ.
Примечание - Осмотр места обеспечивает получение информации, необходимой для определения подходящего метода измерений и разработки плана измерений.
3.24 время проведения эксперимента (timing): Время, в которое отбирают пробы или проводят измерения.
Примечание - Корректное определение времени может быть определяющим фактором для получения результата в соответствии с поставленной целью измерений.
3.25 продолжительность отбора проб (sampling duration): Период времени, в течение которого происходит отбор проб.
3.26 массовая концентрация c (mass concentration c): Отношение массы m определяемого компонента газа к объему V, вычисляемое по формуле:

. (2)
3.27 массовый расход

(mass flow rate

): Отношение массы
m определяемого компонента, проходящего через измерительную плоскость, ко времени прохождения
t, вычисляемое по формуле:

. (3)
3.28 плотность массового потока

(mass flow density,

): Отношение массового расхода

к соответствующей площади поперечного сечения газохода
a, вычисляемое по формуле:

. (4)
3.29 объемный поток пробы (sample volumetric flow): Отношение объемного потока, извлекаемого из основного потока отходящего газа для определения компонента газа.
3.30 объемный расход (volumetric flow rate): Отношение объема газа, проходящего через плоскость, ко времени прохождения.
3.31 испытательная лаборатория (testing laboratory): Лаборатория, проводящая испытания.
Примечания
1 Термин "испытательная лаборатория" может быть использован для обозначения юридического лица или технико-юридического лица либо в обоих случаях.
2 Испытательная лаборатория обеспечивает работу в стабильных условиях, в удаленных, а также временных и мобильных лабораториях.
3 Этапы пробоотбора и анализа часто имеют различное местоположение, поскольку анализ необходимо выполнять в стабильных условиях лаборатории.
3.32 заказчик (customer): Организация или лицо, которое определяет цель измерений и получает протокол измерений.
Примечание - Взято из ЕН ИСО 9000, 3.3.5.
4. Обозначения и сокращения
a - площадь поперечного сечения газохода.
A - площадь измерительной плоскости.
c - массовая концентрация.
d - диаметр газохода.
dh - гидравлический диаметр.
F - статистическое значение F-критерия.
hm - измеренное содержание водяного пара, выраженное через объемную долю.
href - стандартное содержание водяного пара, выраженное через объемную долю.
m - масса.

- массовый расход.

- плотность потока.
N - число измерений.
om - измеренное содержание кислорода, выраженное через объемную долю.
oref - стандартное содержание кислорода, выраженное через объемную долю.
P - периметр измерительной плоскости.
pm - измеренное давление.
pref - стандартное давление.
ri - отношение фактического значения измеряемой величины yi,grid, полученного с применением измерительной сетки, к значению yi,ref, полученному при референтном измерении.

- среднее значение
ri.
sgrid - стандартное отклонение, характеризующее измерения в точках измерительной сетки.
sinh - стандартное отклонение, обусловленное неоднородностью распределения параметров отходящего газа.
spos - стандартное отклонение, характеризующее разницу между измерением в точках измерительной сетки и референтным измерением.
sref - стандартное отклонение референтного измерения.
Tm - измеренная температура (абсолютная).
Tref - стандартная температура (абсолютная).
Urerm - допустимая расширенная неопределенность.
Upos - расширенная неопределенность, характеризующая разницу между измерением в точках измерительной сетки и референтным измерением.
Uref - расширенная неопределенность, характеризующая референтные измерения в фиксированной точке.
v - скорость потока газа в измерительной плоскости.
V - объем газа.

- объемный расход газа.
ygrid - результат измерений, полученный в i точке отбора проб.
yi,ref - i результат измерений, полученный в референтной точке.
АИС - автоматическая измерительная система.
РМ - референтный метод.
СРМ - стандартный референтный метод.
СКВ - селективное каталитическое восстановление.
СНКВ - селективное некаталитическое восстановление.
Достоверные и сопоставимые результаты, представительные для выбросов стационарных источников в контексте поставленной цели измерений (см.
приложение G), могут быть получены при условии, что:
a) измерительная секция и место измерений, предпочтительно спланированные на стадии проектирования предприятия, находятся в свободном доступе для отбора представительных проб;
b) цель и план измерений определены до начала проведения измерений;
c) методология отбора проб установлена в плане измерений с целью выполнения требований к цели измерений;
d) составлен отчет по измерениям, содержащий результаты измерений и включающий всю необходимую информацию, и
e) для работ привлекаются технически компетентные испытательные лаборатории.
Примечание - Требования к компетентности испытательных лабораторий установлены в ЕН ИСО/МЭК 17025 и СЕН/ТО 15675.
На рисунке 1 показаны основные этапы периодических измерений выбросов стационарных источников.
┌────────────────────────────┐
│Заказчик устанавливает цель │
┌──┤ измерений │
│ └────────────────────────────┘
┌──────────┬──────────────────────────────┼───────────────────────────────┐
│ │ V │
│ │ ┌─────────────────────────────────────────────────────┐ │
│ │ │ Анализ контракта │ │
│ │ └─────────────────────────┬───────────────────────────┘ │
│ │ V │
│ │ ┌─────────────────────────────────────────────────────┐ │
│ │ │ Определение цели измерений │ │
│ │ └─────────────────────────┬───────────────────────────┘ │
│ │ V │
│ │ ┌─────────────────────────────────────────────────────┐ │
│ │ │ Сбор информации о предприятии, рабочих условиях, │ │
│ │ │ характеристиках загрузки, краткое описание │ │
│Настоящий │ │ места измерений │ │
│ стандарт │ └─────────────────────────┬───────────────────────────┘ │
│ │ V │
│ │ ┌─────────────────────────────────────────────────────┐ │
│ │ │ Разработка плана измерений │ │
│ │ └─────────────────────────┬───────────────────────────┘ │
│ │ V │
│ │ ┌─────────────────────────────────────────────────────┐ │
│ │ │ Выбор методологии отбора проб (сетка точек отбора │ │
│ │ │ проб или представительная точка или какая-либо │ │
│ │ │ другая точка) │ │
│ │ └─────────────────────────┬───────────────────────────┘ │
│ │ V │
│ │ ┌─────────────────────────────────────────────────────┐ │
│ │ │Окончательная подготовка к измерениям, осуществляемая│ │
│ │ │ персоналом испытательной лаборатории и предприятия │ │
│ │ └─────────────────────────┬───────────────────────────┘ │
├──────────┼ ─── ─── ─── ─── ─── ─── ─── ─┼─ ─── ─── ─── ─── ─── ─── ─── ─┤
│ │ V │
│ │ ┌──────────────────────────────────────────────────────────┐ │
│ │ │ Измерения, проводимые при определении конкретных │ │
│ │ │ компонентов в соответствии с имеющимися стандартами │ │
│ │ └─────────────┬─────────────────────┬───────────────┬──────┘ │
│ │ V V V │
│ │ ┌───────────────────────────┐┌─────────────┐┌──────────────┐ │
│ │ │ Отбор проб и анализ/ ││ Измерение ││ Калибровка │ │
│ │ │количественное определение ││ объемного ││и проверка АИС│ │
│ │ │ загрязняющих веществ ││ расхода ││ в сравнении │ │
│Конкретный│ │ референтным методом ││и стандартных││ с СРМ │ │
│ стандарт │ │ с применением переносного ││ величин ││ │ │
│ │ │оборудования с ручным и/или││ ││ │ │
│ │ │автоматическим управлением ││ ││ │ │
│ │ └─────────────┬─────────────┘└──────┬──────┘└───────┬──────┘ │
│ │ V V V │
│ │ ┌──────────────────────────────────────────────────────────┐ │
│ │ │ Файл с рабочими данными, файл с данными по отбору проб, │ │
│ │ │ файл с данными по анализу/количественному определению │ │
│ │ └────────────────────────┬─────────────────────────────────┘ │
├──────────┼ ─── ─── ─── ─── ─── ─── ─┼─ ─── ─── ─── ─── ─── ─── ─── ─── ─┤
│ │ V │
│ │ ┌─────────────────────────┐ ┌───────────────────┐│
│ │ │Объединение всех данных в│<─┤ Файл с данными по ││
│ │ │одном файле по измерениям│ │ работе предприятия││
│ │ └─────────────┬───────────┘ └───────────────────┘│
│ │ V │
│Настоящий │ ┌─────────────────────┐ ┌────────────────────┐│
│ и │ │Обработка результатов│ │Проверка результатов││
│конкретный│ │ измерений и сбор │<──┤ и обоснование любых││
│стандарты │ │ дополнительной │ │ отклонений от плана││
│ │ │ информации │ │ измерений ││
│ │ └───────────┬─────────┘ └────────────────────┘│
│ │ V │
│ │ /─────────────────────\ │
│ │ │ Протокол измерений │ │
│ │ \───────────┬─────────/ │
└──────────┴──────────────────────────┼───────────────────────────────────┘
│ ┌──────────────────────────┐
│ │Заказчик получает протокол│
└───────>│ измерений │
└──────────────────────────┘
Рисунок 1 - Основные этапы периодических измерений
выбросов стационарных источников
5.2. Измерительная секция и место измерений
На предприятиях, спроектированных или адаптированных таким образом, чтобы можно было провести представительный отбор проб, имеется секция в газоходе, сконструированная так, чтобы можно было получить требуемый профиль потока, свободного от завихрений и обратных потоков, где размещается измерительная плоскость, на которой расположена сетка точек отбора проб, достаточная для получения данных по всем измеряемым и вспомогательным величинам. Место измерений должно обеспечивать доступ к плоскости отбора проб для обычного оборудования для отбора проб с помощью платформы, обеспечивающей безопасную и эффективную работу персонала.
5.3. Цель и план измерений
Цель измерений определяет объем выполняемых работ, условия работы предприятия, при которых будут проводить измерения, любую необходимую информацию о предприятии или технологическом процессе, применяемые методики работы и любые другие актуальные требования. Результаты данного предварительного исследования описывают в плане измерений. Для обеспечения того, чтобы план измерений соответствовал цели, важно оценить измерительную секцию и учесть любые отклонения от стандартной конфигурации. Измерения должны выполняться персоналом, имеющим соответствующую квалификацию, под контролем более опытного персонала. Принимая во внимание цели измерений, в некоторых случаях могут быть применены упрощенные методики, если условия работы предприятия однозначно поняты, а эти методики приемлемы в рамках цели измерений. Любые отклонения от стандартных методик, установленных в европейских региональных стандартах, должны быть оценены и задокументированы.
5.4. Методология отбора проб
Методология отбора проб обеспечивает отбор представительной пробы. Методики, приведенные в
разделе 8, выбирают для достижения заданной степени однородности распределения измеряемой величины и ее любой ожидаемой изменчивости во времени. В методиках установлены требования к определению числа и расположению точек отбора проб и продолжительности отбора проб в каждой точке.
Протокол измерений включает результаты измерений, полученные на основе необходимого числа измерений, а также описание цели и плана измерений. Также в протоколе приводят подробную информацию о базовых данных и условиях технологического процесса, необходимую для их учета при измерениях.
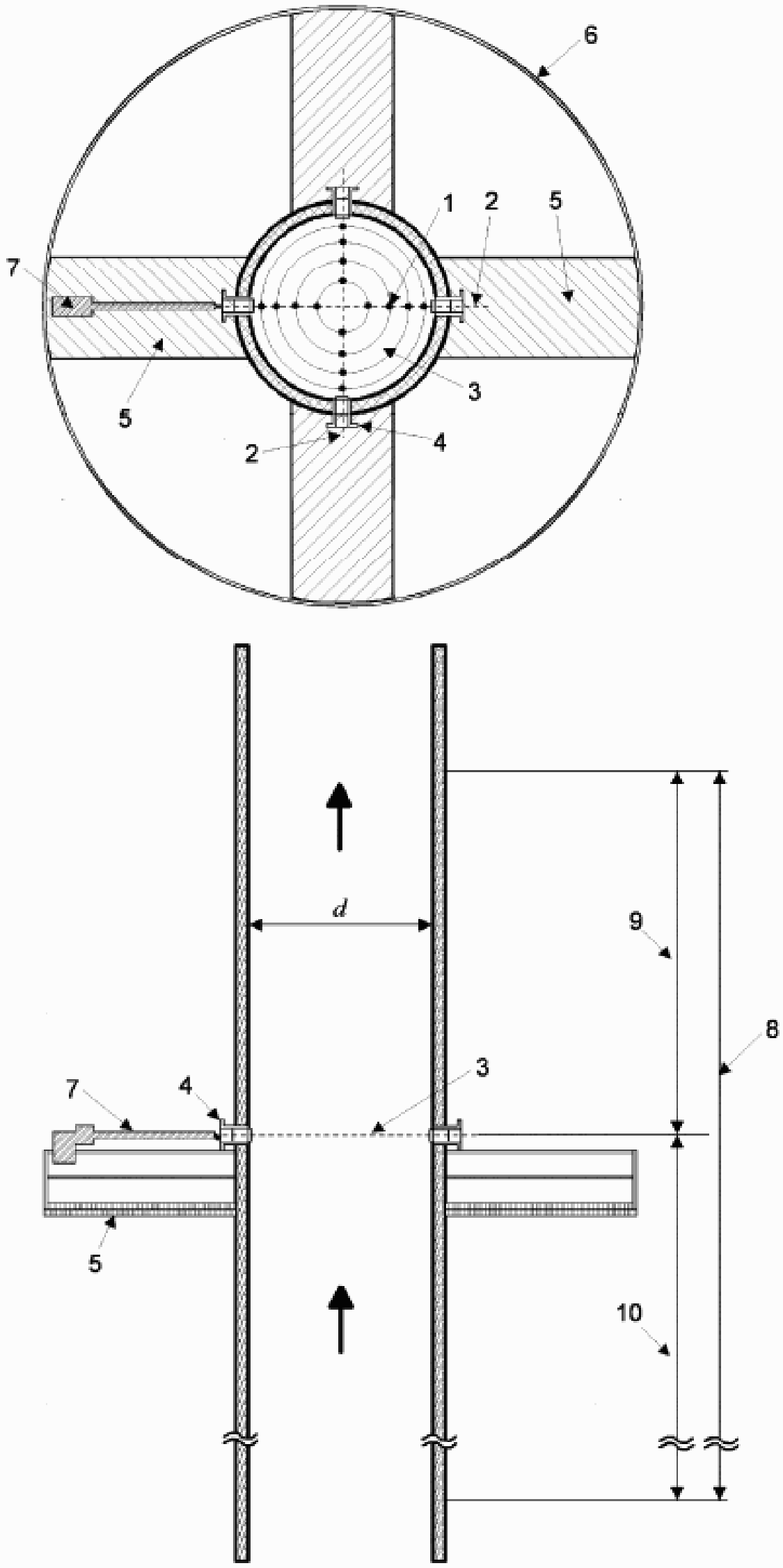
6. Измерительная секция и место измерений
Подходящие измерительные секции и места измерений необходимы для получения надежных и сопоставимых результатов измерений выбросов. Таким образом, соответствующие измерительные секции и места измерений должны быть запланированы при проектировании предприятия
[4]. Элементы, относящиеся к месту измерений и измерительной секции, показаны на рисунке 2.
1 - измерительная точка; 2 - измерительная линия;
3 - измерительная плоскость; 4 - измерительный порт;
5 - свободная зона; 6 - место измерений; 7 - линия
для ручного отбора проб; 8 - измерительная секция;
9 - участок трубы после измерительной плоскости;
10 - участок трубы до измерительной плоскости
Рисунок 2 - Иллюстрация элементов, относящихся
к месту измерений и измерительной секции
Для проведения измерений выбросов необходимо соблюдение определенного режима потока газа в измерительной плоскости, т.е. заданный и стабильный профиль потока газа без завихрений и обратных потоков, таким образом, чтобы можно было определить скорость потока и массовую концентрацию определяемого вещества в отходящем газе. Такие требования исходят из необходимости определения среднего содержания (см.
приложение G). Это единственный способ, при котором результаты разных измерений, например полученных в разных местах измерений, могут быть сопоставлены друг с другом.
Для измерения выбросов необходимы подходящие измерительные порты и рабочие площадки. Таким образом, установку измерительных портов и рабочих площадок следует принимать во внимание на стадии планирования измерительной секции.
При выборе и определении измерительных секций и мест изменений следует принимать во внимание технические требования нормативных и законодательных документов. Также следует прибегать к помощи экспертов.
Примечание - В настоящем стандарте не рассмотрены вопросы безопасности конструкций газоходов и дымовых труб, а также вопросы организации рабочих площадок и безопасности персонала, проводящего работы при использовании стандарта.
На рисунке 3 приведен пример мест установки измерительных систем в измерительной секции. В данном примере для проведения измерений различными методами используют шесть измерительных плоскостей. Для упрощения изображения рабочая площадка не показана.
a - вид сверху; b - вид спереди
A - измерительная линия, измерительная плоскость;
S - измерительный порт; S1 - референтный метод;
S2 - референтный метод; S3 - АИС для подсчета частиц пыли
(оптический элемент); S3a - АИС для подсчета частиц пыли
(отражатель); S4 - АИС для определения содержания SO2, NO
и O2; S5 - референтный метод; S6 - АИС для определения
общего содержания HCl, углерода и водяного пара;
S7 - референтный метод; S8 - АИС для измерения объемного
расхода газа (передатчик); S8a - АИС для измерения
объемного расхода газа (приемник); S9 - датчик
температуры; S9a - датчик давления
Рисунок 3 - Пример мест установки измерительных
систем в измерительной секции газохода
6.2. Измерительная секция
6.2.1 Измерительная секция и измерительная плоскость
Измерительная секция должна обеспечивать отбор проб и проведение измерений в соответствующей измерительной плоскости.
Примечания
1 Измерительная секция представляет собой область контролируемого источника выбросов (например, газохода, дымовой трубы), включающую соответствующую измерительную плоскость, и участка до и после нее.
2 Для обширных программ измерений может потребоваться несколько измерительных секций и/или несколько измерительных плоскостей в каждой измерительной секции. Требования настоящего стандарта следует выполнять для всех измерительных секций и плоскостей.
При планировании и выборе измерительной секции в соответствии с целью измерений следует рассмотреть следующие вопросы:
a) измерительная секция должна обеспечивать отбор представительных проб выбросов в измерительной плоскости для определения объемного расхода и массовой концентрации загрязнителей.
Примечание - Определяемый компонент отходящего газа тем не менее может изменяться под действием вторичных реакций (разложения или синтеза) между измерительной плоскостью и точкой выхода отходящих газов в атмосферу;
b) измерительная плоскость должна быть расположена в той секции газохода (дымовой трубы), где предполагают однородные условия течения потока и однородное содержание определяемых компонентов.
Примечания
1 Требования к однородным условиям потока обычно выполняют, если измерительная плоскость:
- по возможности максимально удалена от расположенных выше и ниже по направлению движения потока помех, которые могут вызвать изменение его направления (например, возмущения могут быть вызваны изгибами, вентиляторами или частично закрытыми задвижками),
- расположена в такой секции газохода, где длина прямолинейного участка выше по потоку от плоскости отбора проб составляет по крайней мере пять гидравлических диаметров, а ниже по потоку от нее - два гидравлических диаметра (или пять гидравлических диаметров от верха трубы; см.
A.2) и
- расположена на участке газохода с постоянной формой и площадью поперечного сечения.
2 Могут потребоваться эффективные аэродинамические устройства (например, вентиляторы, турбины, система труб) для обеспечения перемешивания газов перед их попаданием в (прямой) участок газохода, где расположена измерительная секция, с целью получения равномерного распределения содержания определяемых компонентов в измерительной плоскости, что особенно важно при отборе проб нескольких газов различного состава, образующихся в разных технологических процессах и попадающих в один и тот же газоход.
3 Перед окончательной установкой измерительного оборудования рекомендуется выполнить пробное измерение распределения скоростей по поперечному сечению потока;
c) предварительные измерения во всех точках отбора проб (см.
8.2 и
приложение D) должны подтвердить, что газовый поток в измерительной плоскости соответствует следующим требованиям:
1) угол между направлением газового потока и осью газохода составляет не более 15°.
Примечание - Рекомендуемый метод оценки отклонения направления газового потока от оси газохода приведен в ЕН 13284-1, приложение B;
2) отсутствует местный обратный поток;
3) минимальная скорость потока выше, чем предел обнаружения метода, используемого для измерения расхода (для трубок Пито перепад давлений более 5 Па);
4) отношение максимальной скорости потока к минимальной в месте отбора пробы составляет менее 3:1.
Примечание - Вышеуказанные требования обычно выполняют в секциях газохода, где длина прямолинейного участка выше по потоку от плоскости отбора проб составляет по крайней мере пять гидравлических диаметров, а ниже по потоку от нее - два гидравлических диаметра (или пять гидравлических диаметров от верха трубы). Поэтому настоятельно рекомендуется, чтобы места отбора проб выбирались в соответствии с этими условиями;
d) планировать измерительные секции предпочтительнее на вертикальном участке газохода, но не на горизонтальном.
Примечание - При высоком содержании пыли на горизонтальных участках газохода может произойти оседание частиц определенного размера. Результатом этого могут быть ошибки при измерении загрязнителей, находящихся в частицах аэрозоля, например, тяжелых металлов, полихлорированных дибензодиоксинов/полихлорированных дибензофуранов (ПХДД/ПХДФ);
e) измерительная секция должна быть расположена таким образом, чтобы можно было смонтировать рабочие площадки с соответствующим оборудованием;
f) измерительная секция должна быть четко идентифицирована и снабжена маркировкой.
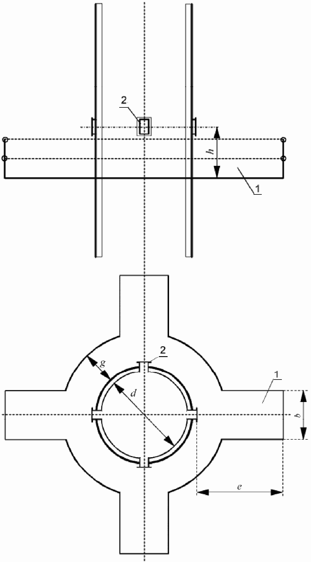
6.2.2 Измерительные порты
Измерительные порты должны обеспечивать доступ к точкам отбора проб, выбранным в соответствии с
8.2.
Если в соответствии с целью измерений необходимо измерение других величин (например, скорости и температуры потока, содержания водяного пара), должны быть предусмотрены дополнительные измерительные порты в одной измерительной плоскости или секции.
Примечания
1 Кроме этого, может потребоваться установка дополнительных измерительных портов для вспомогательного оборудования или средств измерений для непрерывного мониторинга выбросов в области измерительной плоскости.
2 Примеры схем подходящих измерительных портов приведены в
A.1.
Измерительные порты должны быть спланированы на стадии проектирования новых предприятий или во время реконструкции существующих, поскольку более поздние модификации газохода могут оказаться трудоемкими и дорогостоящими для исполнения (например, если газоход имеет защитную обшивку).
Примечания
1 Измерительные порты, схемы которых приведены в
приложении A, были оценены как подходящие. Плотно прилегающие крышки обеспечивают защиту от опасных воздействий.
2 Если расстояние между измерительным портом и противоположной внутренней стенкой газохода достаточно большое (например, более 2 м), то в зависимости от цели измерений могут быть установлены два расположенных друг напротив друга порта на одной измерительной линии, при этом рабочая площадка расширится соответствующим образом.
В прямоугольных газоходах измерительные порты следует устанавливать на длинной стороне (см.
рисунок A.6).
6.2.3 Рабочая зона и рабочая площадка
6.2.3.1 Грузоподъемность площадки
Временно и стационарно установленные площадки должны иметь грузоподъемность, обеспечивающую выполнение цели измерений.
Примечание - В отборе проб могут участвовать от двух до шести работников с оборудованием общей массой от 50 до 300 кг.
Временные рабочие площадки должны крепиться растяжками или опорами к несущей структуре газохода для предотвращения обвала или опрокидывания. Они должны быть проверены перед использованием в соответствии с требованиями техники безопасности, установленными в национальных нормативных документах.
6.2.3.2 Расположение и рабочее пространство
Рабочие площадки должны обеспечивать достаточную рабочую площадь и высоту (рабочее пространство) для удовлетворения цели измерений, т.е. для обращения с пробоотборными зондами и работы со средствами измерений. Свободная площадь рабочей площадки должна иметь соответствующие размеры. Пробоотборный зонд не должен быть загорожен, например, защитными заграждениями и другими элементами конструкции газохода.
Примечания
1 Для проведения измерений в точках измерительной сетки необходима достаточно большая рабочая зона за пределами газохода вдоль измерительных линий так, чтобы отбор проб в измерительных точках мог быть проведен с применением подходящих зондов в измерительной плоскости. Минимальная длина пробоотборного зонда зависит от внутреннего диаметра, глубины и толщины стенок газохода.
2 Достаточную ширину рабочей площадки определяют суммой внутреннего диаметра или ширины газохода и толщины стенок газохода с прибавлением 1,5 м для средств измерений с фланцевым подсоединением (см.
A.2). Если два измерительных порта установлены друг напротив друга на одной измерительной линии, достаточно соответствующим образом уменьшить ширину рабочей площадки.
3 Если направление потока отходящего газа в газоходах с круглым и прямоугольным поперечным сечением вертикальное, то над рабочей платформой должно быть оставлено рабочее пространство высотой от 1,2 до 1,5 м для доступа к измерительным линиям.
Пример - В
таблице 1 в качестве примера приведены площади рабочей платформы, необходимые для реализации следующих целей измерений:
a) небольшая измерительная плоскость и простая цель измерений (отверстие газохода: диаметр 0,2 м; измерение: общее содержание углерода);
b) приемочные испытания мусоросжигательного завода (отверстие вертикального газохода: длина 2 м (в месте измерительных портов) и ширина 1,5 м, толщина стенок газохода 0,3 м; измерения: определение содержания пыли, общего содержания углерода, хлористого водорода, фтористого водорода, диоксида серы, оксидов азота, монооксида углерода, ПХДД/ПХДФ, тяжелых металлов, кислорода, объемного расхода отходящего газа, давления отходящего газа, температуры потока, содержания диоксида углерода и водяного пара).
Таблица 1
Цель измерений | Площадь свободной зоны, м2 | Минимальная площадь, необходимая для установки средств измерений, выполнения операций и передвижения оператора, м2 | Минимальная общая площадь, м2 |
a | Не применима | 4 | 4 |
b | 6 | 12 | 18 |
6.3.1 Энергоснабжение и оборудование
В месте измерений должно быть обеспечено подсоединение электропроводов подходящей длины с изоляцией в соответствии с требованиями, установленными в национальных нормативных документах. Также могут потребоваться линии подачи сжатого воздуха, линии водоснабжения и водоотведения.
6.3.2 Обеспечение безопасности и условий окружающей среды
Место измерений должно быть оборудовано таким образом, чтобы соблюдалось соответствие требованиям безопасности, установленным в национальных нормативных документах.
Рассматривают по крайней мере следующие аспекты:
- простота и безопасность доступа к месту измерений;
- транспортные средства, например, подъемники или лифты
[18] для транспортирования средств измерений, если место измерений находится не на уровне земли;
- недопущение выбора зон вблизи источников, из которых может происходить неожиданное выделение, например, зон вблизи предохранительных клапанов, разгрузочных клапанов или мест выпуска пара;
- недопущение выбора зон повышенной опасности в инженерном и технологическом отношении;
- недопущение выбора зон со значительным избыточным давлением;
- обеспечение средств оповещения персонала, выполняющего измерения, об отказах в работе технологического оборудования, которые могут подвергнуть их опасности;
- возможность размещения рабочей площадки или места измерений на территории здания предприятия;
- средства обеспечения защиты рабочей площадки от воздействия повышенных температур и пыли;
- средства защиты, например, от воздействия неблагоприятных погодных условий и повышенных температур для обеспечения необходимых условий окружающей среды для работы персонала и применяемого оборудования.
7.1.1 Постановка цели измерений
Цель измерений должна быть сформулирована заказчиком.
В контексте общей цели измерений могут быть применены упрощенные методики для небольших и/или часто проверяемых предприятий при условии, что они будут впоследствии задокументированы в протоколе измерений.
Цель измерений должна устанавливать по крайней мере:
- собственно цель измерений;
- место измерений (см.
7.2.7);
- исследуемый технологический процесс и рабочие условия, имеющие отношение к выбросам (см.
7.2.2);
- измеряемые величины (например, массовую концентрацию загрязнителя, вспомогательные величины, массовый и объемный расход отходящего газа) и их ожидаемые значения;
- период проведения измерений (см.
7.2.9);
- требования к компетентности испытательной лаборатории.
Цель измерений также может определять применяемые методы измерений (см.
7.2.6) и требования к неопределенности измерений.
7.1.2 Идентификация и представление цели измерений
Цель измерений должна быть определена испытательной лабораторией в начале планирования измерений на основе договора с заказчиком. На данном этапе должны быть рассмотрены нормативные требования.
Следует собрать всю необходимую специфическую информацию о предприятии, которая относится к цели измерений.
Примечания
1 В зависимости от уровня сложности измерений информация о предприятии может быть получена при осмотре места измерений на предприятии во время этапа основного планирования или в случае небольших или часто проверяемых предприятий, например, по телефону.
2 Осмотр предприятия может предусматривать подготовительную встречу, например, с участием представителя испытательной лаборатории, персонала предприятия, ответственного за технический контроль, представителя уполномоченного органа при мониторинге с целью проверки соответствия, представителя от фирмы-изготовителя в случае приемочных испытаний
[5].
В частности, должно быть рассмотрено следующее:
a) необходимые нормативные документы, например, договоры, разрешительные документы, требования законодательства;
b) технические данные по предприятию, в том числе характеристики отходящего газа, рабочие условия и периоды работы (примеры приведены в
B.2.3).
Примечание - Эти данные также могут быть получены из протоколов измерений, деклараций по выбросам или других разрешительных документов;
c) методики снижения загрязнения воздуха при работе предприятия (примеры приведены в
B.2.4);
d) необходимое техническое обеспечение мест измерений, в том числе измерительной секции, измерительных портов, рабочей зоны и площадки, подача электропитания и другие службы;
e) необходимое техническое обеспечение для непрерывного мониторинга выбросов (примеры приведены в
B.2.5).
Если цель измерений включает калибровку АИС в соответствии с ЕН 14181, то также следует проверить, выполняются ли требования к калибровке АИС, в том числе требования по ее установке, и какие возможности существуют для изменения массовой концентрации компонентов отходящего газа с применением рабочего оборудования;
f) дополнительная информация.
Дополнительная информация, полученная в рамках планирования измерений, в некоторых случаях может значительно снизить объем работы по измерениям или исключить необходимость выполнения дальнейших измерений.
Примечание - Дополнительная информация может быть получена на основе:
- предыдущих измерений на аналогичном источнике выбросов при сопоставимых условиях;
- измерений выбросов на сопоставимом источнике выбросов;
- вычисления или оценки массового расхода выбросов, например, с применением данных по предприятию или его режиму работы с помощью балансовых ведомостей по отдельным веществам; и
- данных, относящихся к процессу, например, знание зависимости между температурной кривой процесса и выбросами.
На основе полученной информации цель измерений должна быть пересмотрена и при необходимости дополнена.
7.2.1 Разработка плана измерений
План измерений должен быть разработан в соответствии с целью измерений (см.
7.1).
Примечание - В тех случаях, когда измерения проводят в целях контроля, заказчику может потребоваться одобрение плана измерений со стороны уполномоченных организаций.
В частности, должно быть установлено следующее:
a) рабочие условия предприятия, в том числе описание топлива или применяемого сырья, компонентов отходящего газа и подлежащие измерению вспомогательные параметры;
b) время проведения эксперимента и описание необходимых организационных мероприятий на месте выполнения отдельных измерений и даты проведения измерений;
c) применяемые методы измерений;
d) места измерений и измерительные секции;
e) лицо, ответственное за технический контроль, необходимый и вспомогательный персонал для проведения измерений;
f) правила составления протокола измерений.
7.2.2 Условия работы предприятия
Рабочие условия на предприятии, состав отходящего газа и вспомогательные величины, подлежащие измерению, должны быть установлены в соответствии с целью измерений.
Должно быть рассмотрено влияние режима работы предприятия, сырья и систем очистки отходящего газа на предприятии на выбросы (примеры приведены в
B.1).
Примечание - Важным параметром для уточнения плана измерений является максимальная производительность предприятия. Она определяет, например:
- в случае мусоросжигательных заводов: размер и форму пространства, в котором происходит горение, число печей или число транспортирующих модулей сжигаемого материала, а также количество сжигаемого материала;
- в случае промышленных предприятий: количество применяемого сырья, которое может быть использовано в сочетании со вспомогательными добавками и максимальное количество энергии, необходимой в виде топлива или электроэнергии.
Когда измерения проводят при максимальных выбросах, такое состояние обычно фиксируют при работе предприятия в режиме максимальной производительности. Однако эту взаимосвязь нельзя применять ко всем определяемым компонентам отходящих газов. Также при оценке ожидаемых выбросов следует принимать во внимание тип и состав сырья. В зависимости от предприятия характер выбросов может также изменяться в разных направлениях, например, в случае мусоросжигательных заводов содержание монооксида углерода и монооксида азота в выбросах изменяется противоположно в зависимости от условий сжигания.
Примечания
1 Максимальный выброс характеризуется максимальным массовым расходом отходящего газа. В то же время максимальная массовая концентрация загрязнителей в выбросах необязательно будет наблюдаться при максимальном массовом расходе. Цель измерений может относиться либо к массовой концентрации, либо к массовому расходу, либо к обеим этим величинам.
2 Для определения максимального выброса рекомендуется следующее:
- провести работу с информационным материалом (например, для получения значений коэффициентов выделения);
- специалисту, проводящему измерения, провести беседы с работником предприятия и при необходимости с органами инспекции, а также посетить предприятие;
- собрать информацию о типе предприятия и соответствующем характере выбросов на основе результатов измерений, которые были проведены на исследуемом предприятии или на подобных предприятиях.
7.2.3 Число отдельных измерений
Число отдельных измерений должно быть установлено в соответствии с целью измерений.
Примечание - При проведении измерений выбросов со стабильным режимом выделения наилучшим является проведение как минимум трех измерений. Если условия выделения нестабильны, то число проб может быть увеличено для обеспечения соответствия цели измерений. Если проводят измерения для оценки соответствия в целях контроля, то число отдельных измерений может быть указано в разрешительном документе. Примеры нормативных требований приведены в документе "Руководящие указания по общим принципам мониторинга"
[3].
7.2.4 Время проведения и продолжительность отдельных измерений
Время проведения и продолжительность отдельных измерений выбросов должны быть установлены в плане измерений в соответствии с его целью.
Если имеются предписания в законодательстве о продолжительности отбора проб при проведении отдельных измерений (
[6] и
[7]), то при проведении измерений выбросов следует применять технические регламенты или другие официальные нормативные документы.
Для ручных методов, если ожидается низкое содержание определяемого компонента отходящего газа, максимально допустимую продолжительность отбора проб, установленную в методе измерений, в первую очередь следует применять для выполнения требований по отбору холостой пробы.
Время проведения и продолжительность отбора проб должны соответствовать характеру выбросов на исследуемом предприятии. Следует различать следующие случаи:
- непрерывные процессы (постоянные во времени);
- непрерывные процессы с факторами, непостоянными во времени;
- серийные процессы.
Типичные примеры времени проведения и продолжительности измерений для различных процессов приведены в
B.1.
7.2.5 Измерительные точки
Измерения выбросов твердых частиц следует всегда выполнять в точках измерительной сетки (см.
8.1).
Измерения содержания газообразных загрязнителей могут быть выполнены в одной представительной точке или в любой измерительной точке, если соблюдены соответствующие требования к распределению измеряемой величины, установленные в
8.3.
Примечание - Дополнительная информация, указанная в
7.1.2 f), может обеспечить данными об однородности.
Применяемые методы измерений следует выбирать в соответствии с целью измерений. В случае проведения измерений, предусмотренных законодательством, следует применять СРМ.
Если применяют альтернативные методы измерений, то следует обратиться к СЕН/ТО 14793.
Примечание - Руководство по выбору метода измерений приведено в СЕН/ТО 15675.
Если периодические измерения выполняют с помощью автоматизированных методов измерений, то перед применением АИС на месте должны быть аттестованы в соответствии с требованиями соответствующего стандарта.
7.2.7 Измерительная секция и место измерений
Требования к рабочим площадкам, расположению измерительных портов, обеспечению энергоснабжения, обеспечению соблюдения требований безопасности и условий окружающей среды приведены в
6.2.3.
Измерительная секция и место измерений должны быть установлены и подробно описаны в плане измерений (пример формы плана измерений приведен в
B.3).
Если все требования настоящего стандарта не могут быть выполнены, то по возможности следуют всем приведенным в стандарте основным положениям и методикам, а любые отклонения обосновывают и приводят в плане измерений.
В некоторых случаях, особенно если предприятие уже функционирует, выбор измерительной секции и места измерений ограничен. В подобных случаях измерительную секцию и место измерений располагают или модифицируют в соответствии с реальными условиями предприятия.
При планировании измерений следует учитывать индивидуальные особенности предприятия. Необходимо провести проверку выполнения требуемых условий измерений в контексте цели измерений
[8]. Должны быть найдены альтернативные решения, если в связи с условиями работы конкретного предприятия невозможно установить оптимальную измерительную секцию, которая соответствовала бы требованиям настоящего стандарта. Исходя из альтернативных решений, может быть выбрано наилучшее из всех возможных место для измерительной секции и установки оборудования для проведения измерений в заданных условиях, а также наилучшее место измерений.
Примечание - В некоторых случаях может быть необходимо:
a) измерить общий объемный расход (измерение полного потока) для измерения объемного расхода, например, в газоходах небольшого диаметра;
b) измерить массовую концентрацию и определить объемный расход путем вычисления или
c) вычислить массовую концентрацию, например по появлению насыщенного пара, и измерить объемный расход.
7.2.8 Лицо, ответственное за технический контроль и необходимый персонал
К выполнению программы измерений должен быть привлечен необходимый персонал.
Примечание - Подробные требования к персоналу, проводящему измерения выбросов, приведены в СЕН/ТС 15675.
Из перечня компетентного персонала, указанного в плане измерений, с начала измерений должен быть задействован следующий основной персонал:
a) персонал, ответственный за проведение измерений;
b) лицо, ответственное за техническое обеспечение (технический контроль);
c) персонал, уполномоченный руководством предприятия, которому вменяются обязанности по контролю условий работы предприятия во время проведения измерений.
Выбранное и указанное в плане измерений время отбора проб должно быть согласовано с рабочими сменами персонала предприятия. Ответственный персонал предприятия должен присутствовать при проведении отбора проб.
7.2.9 Планирование даты измерений
Даты проведения измерений должны быть указаны в плане измерений. Даты должны быть выбраны таким образом, чтобы:
a) была реализована цель измерений;
b) был достигнут подходящий режим технологического процесса (т.е. условия работы предприятия и установок очистки отходящего газа);
c) инфраструктура измерений была организована и являлась рабочей;
d) средства измерений и аналитические приборы были установлены и
e) присутствовали персонал и ассистенты.
7.2.10 Подготовка к измерению
7.2.10.1 Подготовительные мероприятия, проводимые работником предприятия
План измерений должен быть передан в соответствии с целью измерений всем сторонам, участвующим в процессе измерений.
Работник предприятия должен провести следующие подготовительные мероприятия перед проведением измерений:
- ко времени измерения и во время измерения реализовать установленные рабочие условия (сжигаемые материалы/сырье/загрузка);
- при их отсутствии организовать места измерений, соответствующие требованиям
6.2;
- крышки измерительных портов должны быть смазаны для облегчения их открытия персоналом испытательной лаборатории; любые чужеродные материалы, попавшие в порт или скопившиеся около него, должны быть удалены.
Примечания
1 Во время проведения измерений может потребоваться дополнительное оборудование для помощи персоналу, проводящему измерения.
2 Могут быть предоставлены раздевалка(и) и (при необходимости) рабочая комната.
3 Законодательством некоторых стран предусмотрен осмотр мест измерений компетентным лицом для подтверждения того, что конструкционная целостность места измерений подходит для проведения планируемых работ.
7.2.10.2 Подготовительные мероприятия, проводимые испытательной лабораторией
Испытательная лаборатория перед проведением измерений проводит следующие подготовительные мероприятия:
- на весь период проведения измерений подобран необходимый персонал;
- необходимое измерительное оборудование предоставлено на весь период измерений в соответствии с требованиями стандартов по отдельным измерениям;
- подготовлены необходимые фильтры и материалы для отбора проб;
- согласованы даты измерений;
- применяемые измерительные системы проверены, настроены или откалиброваны на месте.
7.2.10.3 Подготовительные мероприятия после прибытия на предприятие
После прибытия на предприятие ответственные лица от предприятия и испытательной лаборатории должны проверить, выполняются ли следующие положения, установленные в плане измерений:
a) подготовлены ли места измерений;
b) имеется ли информация о рабочих условия предприятия;
c) установлены ли АИС, если применяются.
8. Методология отбора проб
Требования к измерительной секции, приведенные в
6.2, сами по себе не обеспечивают однородности состава и физических свойств отходящего газа. Таким образом, необходимо применять методологию отбора проб, приведенную на рисунке 4.
┌───────────────────────────────────────┐ ┌────────────────────────┐
│ Твердые частицы или определяемые │ да │ Отбор проб в точках │
│ компоненты отходящего газа, связанные ├───────>│ измерительной сетки │
│ с твердыми частицами │ │ в соответствии с
8.2 │
└───────────────────┬───────────────────┘ └────────────────────────┘
V нет
┌───────────────────────────────────────┐
│ Оценка однородности измеряемой │
│ величины в соответствии с
8.3 │
└───────────────────┬───────────────────┘
V
┌───────────────────────────────────────┐ да ┌────────────────────────┐
│ Распределение измеряемой величины ├───────>│Отбор проб в любой точке│
│ однородно │ └────────────────────────┘
└───────────────────┬───────────────────┘
V нет
┌───────────────────────────────────────┐
│Вычисление расширенной неопределенности│
│ U в соответствии с
8.3 │
│ pos │
└───────────────────┬───────────────────┘
V
┌───────────────────────────────────────┐ ┌────────────────────────┐
│ Неопределенность в выбранной точке │ да │ Отбор проб в │
│ соответствует условию U <= 0,5U ├───────>│ представительной точке │
│ pos pem │ └────────────────────────┘
└───────────────────┬───────────────────┘
V нет
┌───────────────────────────────────────┐
│Отбор проб в точках измерительной сетки│
└───────────────────────────────────────┘
Рисунок 4 - Схема методологии отбора проб
При определении твердых частиц или компонентов, имеющих и твердую, и парообразную фазы (например, диоксины или металлы), всегда необходимо выполнять измерения в точках измерительной сетки в соответствии с
8.2.
При измерении массовой концентрации газообразных компонентов отходящего газа методология отбора проб зависит от однородности потока отходящего газа, которая может быть оценена в соответствии с
8.3 на основе измерения в точках измерительной сетки в соответствии с
8.2. Проба может быть отобрана в любой отдельной точке отбора проб в измерительной плоскости при условии, что однородность распределения измеряемой величины в измерительной плоскости была подтверждена в соответствии с
8.3. Проба может быть отобрана в представительной точке отбора проб на измерительной плоскости, если однородность распределения значений измеряемой величины была подтверждена в соответствии с
8.3, но без превышения значения допустимой расширенной неопределенности
Uperm, как установлено в
8.3. Во всех других случаях следует проводить измерения в точках измерительной сетки.
Примечание - Если информация о распределении значений измеряемой величины в измерительной плоскости доступна (например, исходя из предыдущих измерений или предварительных протоколов измерений), то оценку однородности повторять не нужно.
Измерения в точках измерительной сетки не всегда можно реализовать при применении автоматизированных методов. Если отбор проб автоматизированным методом ограничен одной точкой, то представительное место отбора проб должно быть выбрано в соответствии с
8.4.
8.2. Определение твердых частиц и других компонентов отходящего газа в точках измерительной сетки
При наличии пыли или любых других твердых частиц или капель воды измерения в точках измерительной сетки проводят при изокинетическом режиме отбора проб.
Если газообразные компоненты отходящего газа определяют параллельно с твердыми частицами, для отбора проб которых необходим изокинетический режим отбора, расход газа на вторичных измерительных линиях должен быть пропорционален общему расходу. Кроме того, абсорбционная или адсорбционная способность улавливающего материала для газообразных компонентов должна поддерживаться постоянной.
При определении газообразных компонентов измерение в точках измерительной сетки может быть реализовано двумя различными способами:
a) если для отбора проб применяют улавливающий материал, то выполняют следующие процедуры:
1) расход газа через улавливающий материал должен быть соотнесен с местным массовым расходом в частичной площади (отбор проб с пропорциональным массовым расходом);
2) расход не может быть настроен без уменьшения поглощающей способности системы (ручные методы с применением поглотительных емкостей) или не может быть изменен (автоматизированные методы); в этом случае пробу отбирают в каждой точке во время периода времени, пропорционального местной скорости потока;
b) если массовую концентрацию определяют напрямую в измерительных точках измерительной плоскости, например с применением автоматизированных аттестованных методов, то массовый расход пробы на частичную площадь, необходимую для вычислений, т.е. плотность массового потока, вычисляют на основе произведения местной массовой концентрации и местной скорости потока (см. приложение G,
формулу G.10).
Размер плоскости отбора проб определяет минимальное число точек отбора проб. Обычно это число возрастает с увеличением размеров газохода.
Минимальное число точек отбора проб для круглых и прямоугольных газоходов приведено в
таблицах 2 и
3 соответственно. Точки отбора проб должны быть расположены в центрах равных площадей в плоскости отбора проб (см.
приложение D).
Точки отбора проб располагают либо на расстоянии более 3% длины линии отбора проб, либо на расстоянии 5 см от внутренней стенки газохода в зависимости от того, какое из этих значений больше. Вариативность может возникнуть при выборе числа точек отбора проб больше минимального, приведенного в таблицах 2 и
3, например, при необычной форме газохода.
Таблица 2
Минимальное число точек отбора проб для круглых газоходов
Диапазон значений площади плоскости отбора проб, м2 | Диапазон значений диаметров газоходов, м | Минимальное число линий отбора проб (диаметров) | Минимальное число точек отбора проб на плоскости |
До 0,1 | До 0,35 | - | |
От 0,1 до 1,1 включ. | От 0,35 до 1,1 включ. | 2 | 4 |
Св. 1,1 до 2,0 " | Св. 1,1 до 1,6 " | 2 | 8 |
" 2,0 | " 1,6 | 2 | Как минимум 12 на 4 м 2 <b> |
<a> Использование только одной точки отбора проб может привести к появлению погрешностей, превышающих погрешности, установленные в настоящем стандарте. <b> Для газоходов большого диаметра обычно достаточно 20 точек отбора проб. |
Таблица 3
Минимальное число точек отбора проб
для прямоугольных газоходов
Диапазон значений площади плоскости отбора проб, м2 | Минимальное число делений стороны газохода <a> | Минимальное число точек отбора проб на плоскости |
До 0,1 | - | |
От 0,1 до 1,1 включ. | 2 | 4 |
Св. 1,1 до 2,0 " | 3 | 9 |
" 2,0 | Не менее 3 | Как минимум 12 на 4 м 2 <c> |
<a> Может быть необходимо другое деление, например, если длина большей стороны газохода более чем в два раза превышает длину его меньшей стороны (см. C.3). <b> Использование одной точки отбора проб может привести к появлению погрешностей, превышающих погрешности, установленные в настоящем стандарте. <c> Для газоходов большого диаметра обычно достаточно 20 точек отбора проб. |
Примечания
1 Если требования к плоскости отбора проб не могут быть выполнены, то представительный отбор проб может быть получен путем увеличения числа точек отбора проб по сравнению с указанными в
таблицах 2 и
3.
2 Если для решения некоторых вопросов необходим более высокий уровень достоверности, например при гарантии качества, приемлемости или разработке измерений, в план измерений может быть включено большее число точек отбора проб.
Если измерение в точках измерительной сетки невозможно провести из-за ограниченного числа портов для отбора проб или ограниченности доступа к ним, то проводят отбор проб на доступных линиях отбора проб. Отклонение и его обоснование должны быть задокументированы.
8.3. Определение однородности
Отходящий газ может быть признан однородным по отдельной измеряемой величине, если ее действительное значение изменяется только во времени, но не в измерительной плоскости. Методика определения однородности приведена на рисунке 5 в виде схемы.
┌─────────────────────────────┐
│ Определение точек │
│ измерительной сетки │
└──────────────┬──────────────┘
V
┌─────────────────────────────────────────────────┐
│ Установка переносной АИС для измерений выбросов │
│ в фиксированной точке и другой АИС - для │
│проведения измерений в точках измерительной сетки│
└────────────────────────┬────────────────────────┘
V
┌────────────────────────────────────┐
│ Выполняют параллельные измерения в │
│фиксированной точке и в каждой точке│
│ измерительной сетки и регистрируют │
│ значения y и y │
│ i,grid i,ref │
└──────────────────┬─────────────────┘
V
┌─────────────────────────────┐
│ _ │
│Вычисляют r , r, s и s │
│ i grid ref│
└──────────────┬──────────────┘
V
┌─────────────────────────────┐ Да
│ s <= s ├──────────────────┐
│ grid ref │ │
└──────────────┬──────────────┘ │
V нет │
┌─────────────────────────────┐ │
│ Вычисляют F-критерий │ │
└──────────────┬──────────────┘ │
V V
┌─────────────────────────────┐ Да ┌─────────────────────────┐
│ F < F ├──────>│Распределение измеряемой │
│ N-1;N-1;0,95 │ │ величины однородно │
└──────────────┬──────────────┘ └───────────┬─────────────┘
V нет V
┌─────────────────────────────┐ ┌────────────────────────┐
│ Распределение измеряемой │ │Отбор проб в любой точке│
│ величины неоднородно │ └────────────────────────┘
└──────────────┬──────────────┘
V
┌─────────────────────────────┐
│Вычисляют s и U и U │
│ pos pos perm│
└──────────────┬──────────────┘
V
┌─────────────────────────────┐ Да ┌────────────────────────┐
│ U > U ├───────>│ Отбор проб в точках │
│ pos perm │ │ измерительной сетки │
└──────────────┬──────────────┘ └────────────────────────┘
V нет
┌───────────────────────────────────┐
│ Отбор проб в одной │
│ представительной точке, в которой │
│ _ │
│ значение r наиболее близко r │
│ i │
└───────────────────────────────────┘
Рисунок 5 - Схема методики определения однородности
Однородность распределения измеряемой величины в измерительной плоскости должна быть определена путем измерений в точках измерительной сетки для тех рабочих условий измерения величины, что предусмотрены целью измерений. Поскольку измеряемая величина также изменяется во времени из-за колебаний в процессе, следует выполнять дополнительные параллельные измерения с применением независимой измерительной системы, установленной в фиксированной точке измерительной секции.
Примечания
1 Распределение параметров отходящего газа в любом случае может быть неоднородным, даже если наблюдается однородность распределения скорости потока отходящего газа.
2 Однородность может быть подтверждена для определяемой величины или для псевдопараметра, например, непрерывно измеряемое общее содержание углерода органических соединений может быть использовано в качестве псевдопараметра для определения однородности содержания толуола.
3 Однородность обычно определяют однократно. На однородность влияют определенные факторы, например, загрузка или топливо. Изменения этих факторов могут привести к необходимости повторного определения однородности.
4 Обычно однородность определяют с применением приборов с прямым отсчетом показаний.
Для определения однородности следует применять следующую методику, учитывающую изменение измеряемой величины во времени и пространстве:
a) определяют точки отбора проб на измерительной сетке в соответствии с
8.2;
b) устанавливают пробоотборный зонд измерительной системы для проведения измерений в точках измерительной сетки;
c) устанавливают пробоотборный зонд независимой измерительной системы (референтное измерение) в фиксированной точке измерительной секции;
d) настраивают расход пробы в обеих системах для получения одинакового времени отклика;
e) выполняют измерения в точках измерительной сетки и параллельные измерения в фиксированной точке измерительной секции при продолжительности отбора проб, по крайней мере в пять раз превышающей время отклика измерительной системы, но не менее 3 мин. для каждой точки отбора проб.
Примечания
1 В соответствии с ЕН ИСО 14956 время отбора проб в каждой точке должно составлять четырехкратное время отклика динамического процесса и десятикратное время отклика высокодинамического процесса.
2 Если наблюдают существенные изменения в текущем референтном значении во времени, то неоднородность невозможно отличить от эффектов, возникающих в результате изменения условий процесса. Поэтому условия процесса должны оставаться максимально стабильными во время измерений в измерительной сетке;
f) записывают для каждой точки отбора проб i текущее значение измеряемой величины в точке сетки yi,grid и yi,ref для референтного измерения;
g) вычисляют для каждой точки отбора проб i параметр ri по формуле:

; (5)
h) вычисляют:
- стандартное отклонение результатов, полученных в точках измерительной сетки sgrid, по формуле:

; (6)
- стандартное отклонение референтного измерения sref по формуле:

; (7)
- среднее значение

из параметра
ri по формуле:

. (8)
Примечание - Стандартное отклонение
sref характеризует изменения во времени, вызванные флуктуациями процесса и анализа. Стандартное отклонение
sgrid характеризует эти же изменения, а также изменения, вызванные положением в поперечном сечении газохода [см.
k)]. Если
sgrid значительно больше
sref, то отходящий газ неоднороден. Эту разницу можно определить с использованием статистического
F-критерия испытания;
i) если sgrid больше, чем sref, то вычисляют F-критерий по формуле:

. (9)
Если
F-критерий меньше, чем
FN-1;N-1;0,95 для числа точек отбора проб, приведенных в
таблице 4, или если
sgrid меньше либо равно
sref, то отходящий газ можно считать однородным и дальнейший отбор проб можно осуществлять в любой точке на измерительной плоскости вместо отбора проб во всех точках измерительной сетки.
Примечание - Стандартное отклонение sgrid обычно больше sref, так как sgrid всегда включает дополнительные вклады, обусловленные неоднородностью распределения измеряемой величины в пространстве. Если распределения в пространстве однородны и стандартные отклонения отличаются незначительно, sref может быть больше sgrid по статистическим причинам из-за ограниченного числа проб.
Если
F-критерий больше либо равен
FN-1;N-1;0,95 для числа точек отбора проб, приведенных в
таблице 4, то распределение параметров отходящего газа считают неоднородным;
j) если распределение неоднородно, то вычисляют стандартное отклонение spos для положения в поперечном сечении газохода по формуле (10) и соответствующую расширенную неопределенность Upos по формуле (11):
| | ИС МЕГАНОРМ: примечание. Формула дана в соответствии с официальным текстом документа. | |

, (10)

, (11)
где FN-1;0,95 - t-критерий Стьюдента для числа степеней свободы N-1 и доверительной вероятности 95%;
k) определяют допустимую расширенную неопределенность
Uperm, установленную для измеряемой величины, или соответствующий псевдопараметр.
Примечания
1 В некоторых директивах ЕС (
[6],
[7]) неопределенность выражена в виде половины ширины 95% доверительного интервала и как процент
P от предельного значения выбросов
E. Тогда допустимая расширенная неопределенность
Uperm и соответствующее стандартное отклонение

задаются как
Uperm =
PE и

(см. ЕН 14181). Эти неопределенности указаны в директивах ЕС для стандартных условий. Основываясь на целях измерений, может быть необходимо привести эти значения к рабочим условиям.
2 Для кислорода и углекислого газа может быть использована расширенная неопределенность Uperm, составляющая 6% диапазона измерений, а для воды - расширенная неопределенность Uperm, составляющая 30% диапазона измерений.
3 Расширенной неопределенностью U определены границы интервала [y - U; y + U] вокруг результата измерений y, в который, как ожидается, будет попадать неизвестное истинное значение с доверительной вероятностью 95%.
Последствия наблюдаемой неоднородности зависят от допустимой расширенной неопределенности Uperm.
Если неопределенность
Upos составляет менее 50% допустимой расширенной неопределенности
Uperm, то дальнейшие измерения могут быть проведены в одной измерительной точке на измерительной плоскости, поскольку вклад неопределенности, обусловленной неоднородностью, в общую неопределенность измерений параметров отходящих газов будет незначительным. Точку измерительной сетки с отношением
ri, наиболее близким к среднему значению

, считают представительной.
Если неопределенность Upos составляет более 50% допустимой расширенной неопределенности Uperm, то дальнейшие измерения проводят в точках измерительной сетки.
Однородность может быть проверена с использованием только одной измерительной системы для определения однородности пространственного распределения измеряемой величины в измерительной плоскости с помощью измерительной сетки, а затем для определения в фиксированной точке однородности распределения измеряемой величины во времени в соответствии с методикой, приведенной в
8.3. Эта упрощенная процедура подходит в том случае, если было подтверждено наличие однородности или неоднородности (
Upos > 0,5
Uperm). При подтвержденной неоднородности и
Upos <= 0,5
Uperm процедуру выполняют с двумя независимыми измерительными системами.
Примечание - Независимая измерительная система в фиксированной точке может быть стационарно установленной АИС, работающей в соответствии с ЕН 14181. В этом случае учитывают
перечисление d).
Результаты измерений, полученные в представительной точке, являются представительными только для конкретной измеряемой величины (например, массовой концентрации, плотности массового потока).
Примечание - Среднее содержание компонента отходящего газа может быть определено путем деления общей средней массовой скорости потока на среднюю объемную скорость потока в измерительной плоскости (см.
формулу G.2 приложения G).
Таблица 4
F-критерий и
t-критерий как функции числа точек отбора проб
при доверительной вероятности 95%
[9]
Номер точки отбора проб, N | F-критерий FN-1; N-1;0,95 | t-критерий tN-1;0,95 |
4 | 9,28 | 3,182 |
5 | 6,39 | 2,776 |
6 | 5,05 | 2,571 |
7 | 4,28 | 2,447 |
8 | 3,79 | 2,365 |
9 | 3,44 | 2,306 |
10 | 3,18 | 2,262 |
11 | 2,98 | 2,228 |
12 | 2,82 | 2,201 |
13 | 2,69 | 2,179 |
14 | 2,58 | 2,160 |
15 | 2,48 | 2,145 |
16 | 2,40 | 2,131 |
17 | 2,33 | 2,120 |
18 | 2,27 | 2,110 |
19 | 2,22 | 2,101 |
20 | 2,17 | 2,093 |
21 | 2,12 | 2,086 |
22 | 2,08 | 2,080 |
23 | 2,05 | 2,074 |
24 | 2,01 | 2,069 |
25 | 1,98 | 2,064 |
26 | 1,96 | 2,060 |
27 | 1,93 | 2,056 |
28 | 1,90 | 2,052 |
29 | 1,88 | 2,048 |
30 | 1,86 | 2,045 |
31 | 1,84 | 2,042 |
32 | 1,82 | 2,039 |
33 | 1,80 | 2,036 |
Примеры определения однородности отходящих газов приведены в
E.1.
Стационарные АИС обычно ограничены отбором проб в единственной точке или вдоль линии прямой видимости. Эти точки отбора проб или линии должны быть расположены таким образом, чтобы была получена представительная проба измеряемой величины. Они должны располагаться так, чтобы не мешать или не затрагивать пробоотборные зонды, используемые для выполнения измерений в точках измерительной сетки (см.
рисунок 3).
Для АИС, используемых для непрерывного контроля выбросов, необходимо, чтобы измерительная точка являлась представительной для массового расхода, плотности потока и часто также для объемной доли кислорода. Поэтому подходящие точки отбора для АИС определяют в соответствии со следующей процедурой:
a) определяют точки отбора проб для измерительной сетки в соответствии с
8.2;
b) устанавливают зонд измерительной системы для проведения измерений в точках измерительной сетки;
c) устанавливают зонд независимой измерительной системы (референтное измерение) в фиксированной точке в области измерений;
d) настраивают расход при отборе проб в обеих системах так, чтобы было получено одинаковое время отклика;
e) выполняют измерения в точках измерительной сетки и параллельные измерения в фиксированной точке в измерительной секции с продолжительностью отбора проб, по крайней мере в четыре раза превышающей время отклика измерительной системы, но не меньше 3 мин. в каждой точке отбора проб;
f) записывают для каждой точки измерительной сетки фиксируемые температуру газа Tref, скорость отходящего газа vref, объемную долю кислорода oref и массовую концентрацию cref и фиксируемые значения Tgrid, vgrid, ogrid и cgrid для измерения профиля;
g) вычисляют для каждой точки i сетки измерений Frep,i в соответствии с уравнением:

. (12)
Примечание - Выражения (21% - oref,i)/(21% - ogrid,i) и (Tref,i/Tgrid,i) используют только при изменении температуры и/или содержания кислорода в измерительной плоскости (например, в установке для сжигания отходов, на мусоросжигательных заводах).
Лучшей точкой отбора для АИС для измерения массовой концентрации является точка, где Frep,i наиболее близок к среднему значению Frep для всех точек сетки. Зонд АИС должен располагаться близко настолько, насколько это возможно.
Примечание - Остальные отклонения от представительности учитывают при калибровке АИС с применением стандартных методов в соответствии с ЕН 14181 и, следовательно, в настоящем стандарте не рассмотрены.
Пример определения подходящего расположения точки отбора проб для АИС приведен в
E.2.
Протокол измерений должен давать исчерпывающий отчет по измерениям, описанию цели измерений и плану измерений. Протокол должен быть достаточно подробным, чтобы можно было посредством вычислений перейти от конечных данных к исходным данным и условиям протекания процесса.
Примечания
1 Протокол измерений для заказчика не должен содержать всю подробную информацию, включенную в файл по измерениям или файл с рабочими данными.
2 Если измерения проводят в регулирующих целях, то компетентный орган может определить форму стандартного протокола.
Протокол измерений выбросов должен включать по крайней мере следующие пункты:
a) основные положения, включающие общее описание работы по измерениям и по полученным результатам, в том числе, например:
- ФИО оператора и адрес предприятия, где было проведено измерение,
- наименование и адрес испытательной лаборатории,
- цель измерений,
- вещество(а), определяемое(ые) в отходящих газах,
- дату отбора проб (день, месяц и год),
- неопределенности измерений,
- примененные методы измерений,
- отклонения от плана измерений и
- результат(ы) измерений, выраженный(е) в единицах системы СИ, а также приведенный(е) к заданным условиям;
b) описание проекта путем постановки цели(ей) измерений;
c) описание предприятия и обрабатываемых материалов (см. пример в
B.2);
d) идентификацию измерительной секции и места измерений;
e) идентификацию методов измерений и оборудования в соответствии с отдельными стандартами;
f) условия работы предприятия во время измерений, в том числе описание установок очистки отходящих газов
[3];
g) рекомендации по оценке и использованию исходных данных в целях проверки;
h) результаты измерений и другие данные, необходимые для интерпретации результатов измерений;
i) описание методов вычислений.
Примечание - Примером вычисления в случае измерений выбросов является приведение к определенным стандартным условиям (см.
приложение C);
j) представление результатов измерений.
Также соблюдают требования к отчетности, установленные в отдельных стандартах.
Любое отклонение от настоящего стандарта должно быть обосновано и описано в протоколе измерений.
Любое отклонение от плана измерений должно быть обосновано и описано в протоколе измерений.
При составлении протокола измерений учитывают все этапы планирования в соответствии с
разделом 7. Рекомендуется использовать готовые формы
[3] (например, в соответствии с
B.3) для планирования измерений выбросов в качестве первой части протокола измерений выбросов.
Подходящий пример формы протокола измерений выбросов приведен в
приложении F со ссылкой на
B.3.
(справочное)
ПРОЕКТ И КОНСТРУКЦИЯ МЕСТ ИЗМЕРЕНИЙ
A.1 Примеры измерительных портов
Большие прямоугольные порты, герметично закрытые с помощью крышек с уплотнительной прокладкой, могут быть легко адаптированы для проведения измерений с различными целями. В случае соответствующего большого диаметра газохода наиболее удобно располагать прямоугольные измерительные порты с закрывающими крышками длинной стороной параллельно направлению движения потока. Рекомендованная минимальная площадь поверхности порта - (100 x 250) мм, за исключением малых газоходов (диаметром менее 0,7 м), для которых размеры порта меньше
[12].
На рисунке A.1 приведен пример прямоугольного измерительного порта
[12].
a - вид спереди; b - вид сбоку
Рисунок A.1 - Пример прямоугольного измерительного порта
На рисунке A.2 приведен пример прямоугольного измерительного порта с крышкой, имеющей отверстие шириной от 150 до 300 мм. Отверстия для болтового соединения, используемые для крепления крышки с уплотнительной прокладкой, должны иметь диаметр 15 мм
[10].
Рисунок A.2 - Пример прямоугольного измерительного
порта с крышкой
Широко применяют порты круглого сечения, и в газоходах диаметром более 0,7 м рекомендуется применять порты с минимальным диаметром 125 мм.
На рисунке A.3 приведен пример круглого измерительного порта внутренним диаметром 125 мм.
1 - фланец с внутренним диаметром dstub = 125 мм;
2 - патрубок с внутренним диаметром dstub = 125 мм
и минимальной длиной lstub = 75 мм от стенки газохода
(рекомендуется 100 мм); 3 - стенка газохода
Рисунок A.3 - Пример круглого измерительного порта
с внутренним диаметром 125 мм
На рисунке A.4 приведен пример круглого измерительного порта диаметром 75 мм для газоходов небольшого диаметра. Измерительный порт может быть снабжен внутренней или внешней резьбой
[10].
1 - стенка газохода; 2 - ниппель газохода диаметром 75 мм;
3 - заглушка; 4 - пробка
Рисунок A.4 - Пример круглого измерительного
порта с внутренним диаметром 75 мм с внутренней
резьбой
(a) и наружной резьбой
(b)
Крышки с уплотнительной прокладкой для измерительных портов, изображенные на
рисунках A.1 и
A.2, могут быть заменены во время измерений панелью, имеющей измерительные порты, предназначенные для измерений определяемых компонентов отходящего газа (например, как на
рисунке A.3 или
рисунке A.4).
A.2 Пример измерительных секций и рабочих платформ
На рисунках A.5 -
A.8 приведены примеры рабочих платформ и показано размещение измерительных портов в измерительных секциях горизонтальных или вертикальных круглых и прямоугольных газоходов.
1 - рабочая платформа; 2 - измерительный порт;
3 - измерительная плоскость; 4 - направление движения
потока; b - длина рабочей зоны; dh - гидравлический диаметр
газохода; e - ширина рабочей зоны; h - минимальная
высота свободной зоны над рабочей платформой
Рисунок A.5 - Пример рабочей платформы и размещение
измерительных портов в вертикальном прямоугольном газоходе
1 - рабочая платформа; 2 - измерительный порт;
3 - измерительная плоскость; 4 - направление движения
потока; b - длина рабочей зоны; dh - гидравлический диаметр
газохода; e - ширина рабочей зоны; h - минимальная высота
свободной зоны над рабочей платформой
Рисунок A.6 - Пример рабочей платформы и размещение
измерительных портов в горизонтальном прямоугольном газоходе
1 - рабочая платформа; 2 - измерительный порт;
b - длина рабочей зоны; d - внутренний диаметр газохода;
e - ширина рабочей зоны; g - ширина прохода между рабочими
зонами; h - минимальная высота свободной зоны
над рабочей платформой
Рисунок A.7 - Пример рабочей платформы и размещение
измерительных портов в вертикальном круглом газоходе
1 - рабочая платформа; 2 - измерительный порт;
b, b', b" - длина рабочей зоны; d - внутренний диаметр
газохода; dout - наружный диаметр газохода; e - ширина
рабочей зоны; h - минимальная высота свободной
зоны над рабочей платформой
Рисунок A.8 - Пример рабочей платформы и размещение
измерительных портов в горизонтальном круглом газоходе
(справочное)
ПЛАНИРОВАНИЕ ИЗМЕРЕНИЙ
B.1 Примеры определения времени проведения измерений выбросов
B.1.1 Непрерывные процессы
Непрерывные процессы характеризуются тем, что свойства материала топлива и материалов, применяемых в ходе процесса так же, как и режим работы предприятия, являются практически постоянными в течение относительно продолжительного периода времени. Характер выбросов подобных процессов также может быть рассмотрен как существенно не изменяющийся во времени. Поэтому измерение выбросов может быть проведено в любой момент времени. Для предприятий некоторых типов, например котельных горячего водоснабжения, из-за низкой сезонной нагрузки не всегда можно наблюдать работу предприятия при полной нагрузке в течение 30 мин. В этих случаях может быть проведен отбор проб меньшей продолжительности, если усредненное за полчаса среднее значение может быть вычислено с достаточной определенностью.
Пример - К типичным непрерывным процессам относят процессы на:
- мусоросжигательных предприятиях;
- сушильных предприятиях;
- асфальтобетонных предприятиях;
- предприятиях с барабанной печью и
- предприятиях с дробильными установками и классификаторами.
B.1.2 Непрерывные процессы, претерпевающие изменения в зависимости от времени
Непрерывные процессы с факторами, изменяющимися во времени, характеризуются тем, что, несмотря на достаточно постоянную подачу материала, этапы процесса, происходящие периодически, могут повлиять на характер выбросов. Поэтому при выборе времени проведения измерений выбросов следует тщательно анализировать эти условия, чтобы учесть изменения характера выбросов во времени.
Пример - К типичным непрерывным процессам с факторами, изменяющимися во времени, относятся:
- процессы обжига при производстве кирпича (например, при загрузке тележки туннельной печи) и
- производство стекла в ваннах-печах.
B.1.3 Процессы в массе
Процессы в массе преимущественно характеризуются тем, что характер выбросов контролируется или может быть проконтролирован за счет рабочих операций, которые зависят от материала и/или периода времени. При выборе времени проведения измерений выбросов следует тщательно учитывать эти обстоятельства. Особенно в случае очень кратковременных выбросов следует выполнять проверку для выявления потенциальной возможности объединения нескольких случаев выбросов при одном отборе проб с целью обеспечения оценки рабочего состояния предприятия.
Пример - К процессам в массе относят:
- процессы в массе в химической промышленности;
- предприятия плавки цветных металлов;
- производство стали;
- спекание в гончарных печах.
B.2 Пример сбора данных и доступной информации
B.2.1 Введение
Как правило, в протокол не обязательно включать каждый пункт нижеприведенных перечней (см.
B.2.2 -
B.2.8). Гораздо важнее отметить возможные обнаруженные нехарактерные для предприятия условия. Приведенный ниже перечень может быть использован в качестве справочной информации, но не обязательно требует полного заполнения.
Общая информация может включать следующее:
a) наименование заказчика (ФИО оператора);
b) ФИО/должность контактного лица;
c) телефон, факс, адрес электронной почты;
d) дату заключения договора;
e) цель измерений;
f) список компонентов, которые должны быть определены для достижения поставленной цели измерений.
B.2.3 Данные по предприятию
Данные, характеризующие предприятие, должны содержать следующее:
a) тип исследуемого предприятия;
b) наименование/местоположение предприятия;
c) рабочая мощность/производительность;
d) номер производства/завода;
e) год постройки;
f) топливные материалы;
g) рабочие периоды и режим загрузки;
h) периоды с неблагоприятными условиями выбросов;
i) характеристики предприятия при вводе в эксплуатацию и закрытии;
j) описание процесса в массе;
k) источники выбросов;
l) номера источников (взятые из декларации по выбросам);
m) характеристические данные по вытяжным вентиляторам;
n) тип и высота дымовой трубы;
o) диаметр, форма и площадь поперечного сечения газохода;
p) необходимость рассмотрения/учета диффузионных источников выбросов.
B.2.4 Установки по снижению выбросов
Очистные установки, отличные от приведенных ниже, должны быть описаны подобным образом. Как правило, для конкретного рассматриваемого предприятия нужно указывать только одну из приведенных в
перечислениях a) -
j) установок очистки отходящего газа.
a) Электростатический осадитель
Наименование изготовителя электростатического осадителя, год выпуска, число собирающих зон (полей), эффективная площадь осаждения, время нахождения в электрическом поле, очистка от пыли (влажная/механическая), охлаждение выше по потоку (есть/нет), ввод воды выше по потоку от осадителя (есть/нет), поток через осадитель, номинальный режим работы вытяжного вентилятора, продолжительность интервалов между техническим обслуживанием, дата проведения последнего технического обслуживания.
b) Установка термического дожигания с/без теплообменником/а
Наименование изготовителя камеры термического дожигания, год выпуска, тип горелки, тип добавляемого топлива, производительность топлива, температура в реакционной камере, время нахождения в реакционной камере, номинальный режим работы вытяжного вентилятора, продолжительность интервалов между техническим обслуживанием, дата проведения последнего технического обслуживания.
c) Установка каталитического горения
Наименование изготовителя установки каталитического горения, год выпуска, тип горелки, тип топлива, производительность топлива, тип катализатора, рабочее время катализатора, температура в реакционной камере, среднее время нахождения в камере, номинальный режим работы вытяжного вентилятора, продолжительность интервалов между техническим обслуживанием, дата проведения последнего технического обслуживания.
d) Фильтр с активированным углем возобновляемый/невозобновляемый
Наименование изготовителя фильтра с активированным углем, год выпуска, содержание активированного угля, наименование изготовителя/размер частиц/тип активированного угля, высота слоя активированного угля в адсорбере, площадь слоя активированного угля в адсорбере, частота десорбции, тип десорбции, номинальный режим работы вытяжного вентилятора, перепад давлений между неочищенным/очищенным газом, продолжительность интервалов между техническим обслуживанием, дата проведения последнего технического обслуживания.
e) Установка циклонного пылеуловителя
Наименование изготовителя циклонного пылеуловителя, модель, год выпуска, число отдельных циклонов, компоновка (параллельно/последовательно), диаметр циклона, перепад давлений между неочищенным/очищенным газом, объемный поток газа, продолжительность интервалов между техническим обслуживанием, дата проведения последнего технического обслуживания.
f) Влажный осадитель
Наименование изготовителя влажного осадителя, модель, год выпуска, принцип действия влажного осадителя (например, башенный скруббер; скруббер Вентури; вихревой скруббер; ротационный скруббер; осадитель, основанный на принципе изменения давления):
1) в случае башенного скруббера:
- поток очищающей жидкости: параллельный поток, противоположно направленный поток, поперечно направленный поток,
- конструкция: без внутрикорпусных устройств, с тарелками, набивной,
- число тарелок: ситовые тарелки, колпачковые тарелки и т.д.,
- высота набивной колонки,
- тип набивки: кольца Рашига, седла, диски и
- тип очищающей жидкости;
2) в случае вихревых скрубберов:
- уровень воды и
- параметры сброса осадка;
3) в случае осадителей, работающих на принципе изменения давления:
- число осадительных элементов,
- очищающая жидкость,
- добавки,
- количество очищающей жидкости,
- поток очищающей жидкости;
4) для всех влажных осадителей:
- количество добавляемой свежей очищающей жидкости,
- частота замены очищающей жидкости,
- значение pH,
- описание 1 ступени,
- описание 2 ступени,
- температура очищающей жидкости в резервуаре,
- фиксация даты последней замены очищающей жидкости в отстойном баке,
- тип расположенного ниже по потоку каплеосадителя,
- номинальный режим работы вытяжного вентилятора,
- продолжительность интервалов между техническим обслуживанием,
- дата проведения последнего технического обслуживания.
g) Фильтр из текстильного материала
Наименование изготовителя фильтра из текстильного материала, тип фильтра, год выпуска, число камер фильтра, число трубок/мешков, площадь фильтра, производительность фильтра на единицу площади (брутто/нетто), фильтрующий материал, принцип очистки (механическая/пневматическая), частота очистки, дата последней смены материала фильтра, перепад давлений между неочищенным/очищенным газом, номинальный режим работы вытяжного вентилятора, продолжительность интервалов между техническим обслуживанием, дата проведения последнего технического обслуживания.
h) Мероприятия по снижению содержания диоксида азота
Первичные мероприятия:
- рециркуляция топливного газа, прогрессивное горение;
Вторичные мероприятия:
- СНКВ, СКВ,
- применение восстановителя.
i) Биофильтр
Наименование изготовителя биофильтра, год выпуска, глубина слоя фильтрующего материала, производительность фильтра на единицу площади, материал фильтра, температура неочищенного газа, содержание водяного пара в неочищенном газе, перепад давлений между неочищенным/очищенным газом, продолжительность интервалов между заменой фильтрующего материала, дата последней замены фильтрующего материала, продолжительность интервалов между техническим обслуживанием, дата проведения последнего технического обслуживания.
j) Осадитель, основанный на принципах конденсации и седиментации
Наименование изготовителя, год выпуска, тип конструкции, поток (противоположно направленный поток, параллельный поток, перпендикулярно направленный поток), тип охлаждающей жидкости, описание системы удаления конденсата, дефлекторы, циклы расплавления, ребристые трубки, инжекторные конденсоры, падение давления, продолжительность интервалов между техническим обслуживанием, дата проведения последнего технического обслуживания.
B.2.5 Градуировка и ежегодные контрольные испытания автоматической измерительной системы
АИС имеется/не имеется в наличии (при необходимости заполняют формы для каждого загрязнителя/компонента отходящего газа):
a) определяемый компонент/стандартная величина;
b) изготовитель устройства;
c) модель устройства:
1) настраиваемый диапазон измерений,
2) взаимосвязь настроенного диапазона измерений с допустимым пределом выбросов,
3) результаты проверки приемлемости устройства,
4) результаты проверки приемлемости настроенного диапазона измерений,
5) модель подходит для предполагаемого применения;
d) расположение точки отбора проб:
местоположение: перед или после вытяжного вентилятора;
e) тип отбора проб (точечный, линейный, сеточный):
точность установки устройств аттестована;
f) дата проведения последних ежегодных контрольных испытаний;
g) дата последней градуировки;
h) возможности воздействия на содержание определяемого вещества во время проведения сравнительных испытаний для градуировки средств измерений;
i) автоматический анализ результатов измерений:
1) наименование изготовителя ЭВМ,
2) тип ЭВМ, версия программного обеспечения,
3) результаты проверки приемлемости типа ЭВМ,
4) применение, охватывающее проверку приемлемости,
5) точность параметризации и функциональности аттестована,
6) дата проведения последних ежегодных контрольных испытаний.
B.2.6 Место измерений
К данным, характеризующим место измерений, могут относиться следующие:
a) расположение места измерений и измерительной плоскости;
b) число и размер измерительных портов;
c) размер рабочей площадки;
d) ограниченность доступа/транспортирование оборудования;
e) необходимое питание;
f) наличие рабочего стола;
g) защита от неблагоприятных погодных условий;
h) наличие вспомогательного оборудования для проведения измерений.
B.2.7 Средства измерений содержания компонентов отходящего газа и стандартных величин
Описание средств измерений содержания компонентов отходящего газа и стандартных величин и при необходимости приводят в отдельном перечне в соответствии с загрязнителями.
B.2.8 Необходимое энергоснабжение
К необходимому энергоснабжению могут относиться следующие ресурсы:
a) переменный ток с/без предохранителем/я;
b) трехфазный ток с/без предохранителем/я;
c) водоснабжение;
d) снабжение сжатым воздухом.
B.3 Пример формы для представления плана измерений
Приведенный образец формы является справочным и содержит элементы, которые могут быть использованы при составлении плана измерений. Текст, выделенный в образце формы курсивом, приведен только в справочных целях, и его не следует оставлять в готовом плане измерений.
План измерений выбросов
Наименование аккредитованной испытательной лаборатории: ...............
Регистрационный N/протокол N: ............ Дата .......................
Работник предприятия: .................................................
Местоположение: .......................................................
Тип измерений: ........................................................
Номер заказа: .........................................................
Дата приема заказа: ...................................................
Содержание: .............. страниц
.............. приложений
Цели: .................................................................
...........................................................................
...........................................................................
1 Идентификация цели измерений
1.1 Заказчик
1.2 Работник предприятия
1.3 Местоположение
В случае большого предприятия информация о местоположении должна четко описывать положение источника выбросов, например, цех C..., строение 5.
1.4 Предприятие
Информацию следует приводить в соответствии с требованиями директивы ЕС 96/61/ЕС, приложение 1.
1.5 Планируемое время проведения измерений (дата)
1.5.1 Дата последнего измерения
1.5.2 Дата следующего измерения
1.6 Причина для проведения измерений
1.7 Цели измерений
Данный пункт должен содержать подробное описание цели измерений. В случае проведения измерений с целью получения допуска или по приказу следует указывать входные данные приказа/поручения и установленные предельные значения. При проведении измерений в рамках требований европейского и/или национального законодательства следует приводить соответствующие предельные значения. Следует делать ссылки, касающиеся конкретных условий планирования измерений, например, серийная операция, процессы с переносом материала. Также следует приводить все первоначально известные о предприятии данные (например, предварительные эксперименты, работа по наладке, если это возможно с имеющимся работником).
1.8 Определяемые компоненты
1.9 Указание относительно того, был ли согласован план измерений и с кем
1.10 ФИО всех лиц, участвующих в отборе проб на месте, и число исполнителей
1.11 Участие в измерениях других лабораторий
1.12 Лицо, отвечающее за техническую компетентность (лицо, осуществляющее технический контроль)
ФИО: ..................................................................
Телефон/Факс: .........................................................
Адрес электронной почты: ..............................................
2 Описание предприятия, обрабатываемых материалов
2.1 Тип предприятия
Любое отклонение от требований директивы ЕС 96/61/ЕС, приложение 1, должно быть подробно описано.
2.2 Описание предприятия
Краткое описание предприятия и технологического процесса, с обращением особого внимания на участки предприятия, которые непосредственно связаны с выбросами загрязнителей воздуха. В сложных ситуациях следует приложить упрощенную блок-схему предприятия. Требования по описанию предприятия сформулированы в 7.1.2. Описание предприятия должно включать не только абсолютные, но и относительные цифры производительности в единицах, например, выпуска сырья и/или изделий. Следует использовать параметры, обычные для данной отрасли промышленности. По возможности цифры должны быть привязаны к рабочим блокам или соответствующему источнику выбросов. Так, следует указывать вид топлива или нагревательные материалы, применяемые на конкретных участках предприятия или рабочих блоках, поскольку в связи с 2.4, если это возможно, сделать заключения по характеристикам выбросов, например, соотношения топлив в случае смешанного сгорания.
2.3 Местоположение предприятия и описание источника выбросов
2.3.1 Местоположение
2.3.2 Источник выбросов
2.3.2.1 Высота над уровнем земли
2.3.2.2 Площадь поперечного сечения выходного отверстия
2.3.2.3 Значение широты/долготы
2.3.2.4 Конструкция строения
2.3.2.5 Специфическая привязка для национального или местного кода
Рабочая организация N: ................................................
Предприятие N: ........................................................
Для более точной идентификации необходимо более полное описание местоположения. В данном контексте заключение о виде сброса отходящего газа и значения широты/долготы приводят в любом случае.
2.4 Заключение относительно сырья, возможное, исходя из разрешительных документов
Следует приводить соответствующую информацию для того, чтобы гарантировать, что требования к рабочему режиму с максимальными выбросами или любому другому оцениваемому состоянию предприятия выполняют в отношении сырья, имеющего отношение к выбросам во время измерений.
2.5 Режим работы
Заключение о суточной и недельной продолжительности работы предприятия, а также время возможных выбросов необходимо указывать для определения общего выброса в течение длительных периодов времени.
2.5.1 Общее время работы
2.5.2 Время выбросов в соответствии с информацией, предоставленной работником предприятия
2.6 Устройство для улавливания и снижения выбросов
Описание подобных устройств должно обеспечивать оценку эффективности оборудования для очистки отходящих газов и содержать отметку о возможности сброса рассматриваемым предприятиям значительных диффузионных выбросов загрязнителей воздуха. См. также B.2.
2.6.1 Устройство для улавливания выбросов
2.6.1.1 Оборудование для улавливания выбросов
2.6.1.2 Улавливающий элемент
2.6.1.3 Данные по вентилятору
2.6.1.4 Площадь вытяжки
2.6.2 Устройство для снижения выбросов
Описание в соответствии с B.2.4.
3 Описание места измерений
3.1 Положение измерительной плоскости
Отмечают точное местоположение измерительной плоскости в системе трубопроводов с отходящими газами. Местоположение измерительной плоскости должно быть указано таким образом, чтобы из описания можно было однозначно понять, что выбор места измерений был осуществлен в соответствии с 6.2.1. Если место измерений не соответствует требованиям настоящего стандарта, то следует сделать соответствующую модификацию и указать меры, принятые для того, чтобы были получены приемлемые результаты измерений.
3.2 Диаметр газохода в измерительной плоскости или указание размеров измерительной плоскости
3.3 Число измерительных линий и положение измерительных точек в измерительной плоскости
Для отбора проб выбросов число и положение измерительных точек должны быть установлены в соответствии с
разделом 7.
3.4 Измерительные порты
Точное положение измерительных портов, а также дополнительных портов например, для измерений температуры, содержания водяного пара и др. в газоходе, должно быть указано и описано. Также может потребоваться предоставить схематический чертеж. См. также 6.2.2.
3.5 Рабочие площадки
Положение рабочей площадки, требования по свободному пространству, наличие необходимого электропитания, а также требования к безопасности и требования к условиям окружающей среды должны быть указаны и описаны. См. также 6.2.3 настоящего стандарта.
4 Методы измерений и анализа, средства измерений
Применяемые средства и методы измерений должны быть указаны и описаны. Если применяются средства и методы измерений, отличные от приведенных в настоящем списке, придерживаются аналогичной методики.
4.1 Определение пограничных условий отходящего газа
Трубки Пито в сочетании
- с микрометром, модель/тип: ..........................................
- электронным микроманометром, модель/тип: ............................
Другие точные измерители перепада давлений, модель/тип: ...............
Крыльчатый анемометр, модель/тип: .....................................
Термоанемометр, модель/тип: ...........................................
Определение путем вычислений (например, на основе количества топлива,
соотношения с воздухом, объемов замещения): ...............................
Определение на основе рабочих параметров (например, режима работы
вентилятора): .............................................................
4.1.2 Статическое давление в газоходе
U-образный манометр: ..................................................
Манометр в соответствии с
4.1.1 при условии наличия соответствующих
подсоединений: ............................................................
...........................................................................
4.1.3 Давление воздуха в месте измерений
Барометр, модель/тип: .................................................
Дата последней поверки/калибровки: ....................................
4.1.4 Температура отходящего газа
Термометр сопротивления, модель/тип: ..................................
Хром-никелевая термопара, модель/тип: .................................
Ртутный термометр: ....................................................
Другие средства измерений температуры: ................................
Необходимо отметить, что температура непрерывно определялась в измерительной точке, представительной для измерительной плоскости в течение всего отбора проб на предприятии, и была зарегистрирована регистрирующим устройством, зафиксирована устройством сбора данных и преобразована в значения, усредненные за час.
4.1.5 Содержание водяного пара в отходящем газе
Адсорбция силикагелем/хлоридом кальция/другим адсорбентом и последующее
гравиметрическое определение: .............................................
Счетчик водяного пара в газах, модель/тип: ............................
Психрометр, модель/тип: ...............................................
Индикаторные трубки: ..................................................
4.1.6 Плотность отходящего газа
Вычисленная плотность отходящего газа с учетом содержания
- кислорода (O2),
- диоксида углерода (CO2),
- атмосферного азота (содержащего 0,933% аргона, Ar),
- монооксида углерода (CO),
- других компонентов отходящего газа, таких как...,
- водяного пара в отходящем газе и
- значений температуры и давления отходящего газа в газоходе.
4.1.7 Разбавление отходящего газа
Например, в целях охлаждения.
4.2 Газообразные и парообразные выбросы
4.2.1 Автоматические измерительные методы
4.2.1.1 Определяемый компонент
4.2.1.2 Метод измерений
Ссылка на ЕН, ИСО или национальный стандарт: ..........................
Принцип измерений: ....................................................
4.2.1.3 Газоанализатор (модель/тип)
4.2.1.4 Установка диапазона измерений
4.2.1.5 Метрологические характеристики для средств измерений, не проходящих проверку приемлемости
Следует применять те средства измерений, приемлемость которых для установленной цели измерений была проверена. Если приемлемость средств измерений не проверялась, то следует отмечать нижеприведенные характеристики. Также приводят методику определения значений этих характеристик.
Влияние мешающих веществ (поперечная чувствительность): ...............
Время отклика (90% от времени): .......................................
Предел обнаружения: ...................................................
Дрейф нуля: ...........................................................
Стандартное отклонение, если применяется: .............................
Линейность: ...........................................................
4.2.1.6 Оборудование для отбора проб
Пробоотборный зонд: подогреваемый: .... °C не подогреваемый:
Фильтр твердых частиц: подогреваемый: .... °C не подогреваемый:
Линия отбора проб до системы очистки газа:
подогреваемая: .... °C не подогреваемая: длина: ...... м
Линия отбора проб после системы очистки газа:
подогреваемая: .... °C не подогреваемая: длина: ...... м
Материалы конструкций, участвующих в переносе газа: ...................
Обработка пробы газа: .................................................
Устройство охлаждения пробы газа, модель/тип: .........................
Температура, поддерживаемая на уровне: ........... °C
Осушитель (например, силикагель): .....................................
4.2.1.7 Проверка характеристик средства измерений с применением поверочных газовых смесей
Нулевой газ: ..........................................................
Поверочная газовая смесь: .....................

Изготовитель: .........................................................
Дата выпуска: .........................................................
Гарантирована стабильность в течение: .............. мес.
Аттестованная: да/нет
Проверка аттестата: ФИО .............., дата ..............
4.2.1.8 Время отклика всей измерительной системы, равное 90%
Приводят методику определения этого значения.
4.2.1.9 Регистрация результатов измерений
Непрерывная с применением перьевого самописца:
Толщина линии: ........................................................
Квалификация/класс: .............. Модель/тип .........................
С помощью устройства регистрации данных:
(ЭВМ), модель/тип: ....................................................
Программное обеспечение, обслуживающее регистрацию данных: ............
4.2.2 Ручные методы измерений
4.2.2.1 Определяемый компонент
4.2.2.2 Метод измерений
ЕН, ИСО или национальный стандарт: ....................................
Принцип измерений: ....................................................
4.2.2.3 Оборудование для отбора проб
Пробоотборный зонд:
Материал: .............................................................
Подогреваемый/не подогреваемый/охлаждающий
Фильтр твердых частиц:
Тип: ..................................................................
Материал: .............................................................
подогреваемый: ..... °C не подогреваемый:
Абсорбция/Устройства для проведения абсорбции: ........................
Стандартный импинжер, промывные склянки с фриттами, трубки с
активированным углем и т.д.
Сорбент: ..............................................................
Количество сорбента: ..................................................
По возможности эскиз линии отбора проб: ...............................
Расстояние между отверстием забора воздуха пробоотборного зонда и
сорбентом или улавливающим элементом: .....................................
Перенос пробы: ........................................................
Время между отбором проб и анализом: ..................................
Участие другой испытательной лаборатории: .............................
Наименование, причины, другие подробности.
4.2.2.4 Количественное определение
Исчерпывающее описание метода анализа: ................................
Подготовка пробы: .....................................................
Аналитические приборы: ............ Модель/тип: .......................
Специфическая информация: .............................................
Описание применяемых газохроматографических (ГХ) колонок, программы
температуры/времени.
Внутренние стандарты (коэффициенты извлечения): .......................
Температура сгорания: .................................................
Температура сгорания/программа температура - время: ...................
Процентное распределение загрузки:
В трубке 1: ...........................................................
В трубке 2: ...........................................................
4.2.2.5 Метрологические характеристики при наличии отклонений от настоящего стандарта
Наличие влияния мешающих веществ (поперечная чувствительность): .......
Предел обнаружения: ...................................................
Неопределенность измерений: ...........................................
4.2.2.6 Меры обеспечения качества
Все мероприятия по обеспечению качества должны быть описаны, например:
- процедура проверки герметичности линии отбора проб;
- результаты анализа холостых проб;
- условия отбора проб;
- неопределенность измерения объема пробы и
- неопределенность измерений температуры и давления.
4.3 Выбросы твердых частиц
4.3.1 Метод измерений
ЕН, ИСО или национальный стандарт: ....................................
Принцип измерений: ....................................................
4.3.2 Оборудование для отбора проб
Плоский фильтр: .......................................................
Фильтрующая насадка с покрытием из кварцевого волокна: ................
Другие устройства для адсорбции: ......................................
конструкция/материал: .............................................
подогреваемое/не подогреваемое; внутри газохода; снаружи газохода
Пробоотборный зонд:
материал: .........................................................
подогреваемый/не подогреваемый
По возможности схематический чертеж устройства отбора проб: ...........
Информация об улавливающей среде:
материал: .........................................................
диаметр листа и пор: ..............................................
изготовитель/тип: .................................................
4.3.3 Подготовка и оценка улавливающего материала
Температура сушки улавливающего материала до и после экспозиции: ...... °C
Продолжительность сушки улавливающего материала до и после экспозиции: ........ ч
Весовая комната с кондиционированием воздуха: есть/нет
Весы:
изготовитель: .....................................................
тип: ..............................................................
4.3.4 Метрологические характеристики в случае отклонения от настоящего стандарта
Предел обнаружения: ...................................................
Неопределенность измерений: ...........................................
4.3.5 Меры обеспечения качества
Все мероприятия по обеспечению качества должны быть описаны. См. 4.2.2.6 данной формы.
4.4 Выделение запахов
4.4.1 Метод измерений
ЕН, ИСО или национальный стандарт: ....................................
Принцип измерений: ....................................................
4.4.2 Устройство отбора проб
Структура, материалы, пограничные условия отбора проб в соответствии с настоящим стандартом.
4.4.3 Ольфактометр
4.4.4 Описание испытательной группы
4.4.5 Оценка проб
На месте/в лаборатории по истечении ....... ч
4.4.6 Число серий измерений
4.4.7 Рабочие периоды
4.4.8 Оставшееся время для испытательной группы
4.5 Токсичные компоненты пыли
Твердые частицы и материалы, проходящие через фильтр.
4.5.1 Определяемый компонент
Металлы, металлоиды и их соединения: ..................................
4.5.2 Метод измерений
ЕН, ИСО или национальный стандарт: ....................................
Принцип измерений: ....................................................
4.5.3 Оборудование для отбора проб
4.5.3.1 Система фильтрации твердых частиц
Информация в соответствии с 4.3.2 настоящего протокола.
4.5.3.2 Система абсорбции для частиц, проходящих через фильтр
Информация в соответствии с 4.2.2.3 настоящего протокола.
Эскиз общей схемы устройства отбора проб: .............................
4.5.4 Сборка и оценка измерительного фильтра и абсорбирующего материала
4.5.4.1 Измерительный фильтр
Определение массы пыли (см.
4.3.3 настоящего протокола): ..............
Описание метода поглощения и методов анализа/стандарта: ...............
Средства измерений: ...................................................
изготовитель/тип: .................................................
4.5.4.2 Поглотительный раствор
Описание процесса поглощения и методов анализа/стандарта: .............
Средства измерений: ...................................................
изготовитель/тип: .................................................
4.5.4.3 Методы градуировки
Дополнительные методики: ..............................................
Стандартные методы градуировки: .......................................
Подробное описание применяемых стандартных растворов: .................
4.5.5 Метрологические характеристики при отклонении от настоящего стандарта
Поперечная чувствительность: ..........................................
Стандартное отклонение: ...............................................
Предел обнаружения: ...................................................
Воспроизводимость: ....................................................
Метрологические характеристики при определении содержания пыли: .......
Метрологические характеристики для определения общего содержания
твердых частиц и частиц, проходящих через фильтр: .........................
Также приводят методики получения значений этих характеристик.
4.5.6 Меры обеспечения качества
Все мероприятия по обеспечению качества должны быть описаны. См. 4.2.2.6 данной формы.
4.6 Выделение высокотоксичных органических веществ
4.6.1 Определяемые компоненты
ПХДД/Ф, ПХБ
4.6.2 Методы измерений
ЕН, ИСО, национальный стандарт: .......................................
Принцип измерений: ....................................................
По возможности эскиз схемы устройства отбора проб: ....................
4.6.3 Оборудование для отбора проб
Пробоотборный зонд: ...................................................
материал: .........................................................
подогреваемый/не подогреваемый
длина: ........... м
Материал (насадки и коленного соединения): ............................
Вставка: ..............................................................
Охлаждаемый конденсационный сосуд: ....................................
Абсорбирующие устройства (блок фильтра-адсорбента/стандартный
импинжер): ................................................................
материал: .........................................................
Сорбент: ..............................................................
Количество сорбента: ..................................................
Фильтр твердых частиц: ................................................
Изготовитель/тип/материал: ........................................
Стандарты отбора проб: ................................................
Расстояние между входным отверстием пробоотборного зонда и сорбентом
или улавливающим элементом: ...............................................
Перенос пробы: ........................................................
Промежуток времени между отбором проб и их анализом: ..................
Участие другой испытательной лаборатории: .............................
Наименование, причины и другие подробности.
4.6.4 Количественное определение
Исчерпывающее описание метода анализа: ................................
Подготовка пробы: .....................................................
Средства измерений (ГХ): ..............................................
модель/тип: .......................................................
Специфическая информация: .............................................
Описание ГХ колонок, длина колонок, программы температура/время.
Средства измерений (МС): ..............................................
модель/тип: .......................................................
Внутренние стандарты (коэффициенты извлечения): .......................
4.6.5 Метрологические характеристики при отклонении от настоящего стандарта
Предел обнаружения: ...................................................
Неопределенность измерений: ...........................................
4.6.6 Меры обеспечения качества
Все мероприятия по обеспечению качества должны быть описаны. См. 4.2.2.6 данной формы.
5 Планируемые условия работы предприятия во время проведения измерений
Информация о том, каким образом были получены отдельные данные, например, на основе опроса работника или собственных исследований.
.................................................... ............
Подпись лица, ответственного за технический контроль Дата
Приложение 1
Перечень рабочих данных по установкам очистки отходящего газа
- Фильтры
Цикл очистки от пыли, падение давления, дата последней замены фильтра.
- Электростатические осадители
Мощность, контролируемого поля, кВт·ч, потребляемая блоками, дата последнего технического обслуживания.
- Механические осадители
Дата последней очистки и технического обслуживания.
- Термическое дожигание
Потребление топлива, температура сгорания, дата последнего технического обслуживания.
- Каталитическое дожигание
Энергопотребление, рабочая температура, рабочее время катализатора, дата последнего технического обслуживания.
- Адсорберы
Адсорбент, время работы, рабочая температура, дата последнего технического обслуживания.
- Абсорберы (основанные на принципе хемосорбции)
Сорбент, тип/модель, количество циркулирующего сорбента, количество добавляемого свежего сорбента, падение давления, дата последнего технического обслуживания, дата последней замены сорбента.
- Влажный осадитель
Абсорбент, добавки, pH, падение давления, рабочая температура, питание/рекуперация очищающей жидкости, дата последней замены абсорбата (в зависимости от числа этапов очистки, по возможности другие данные).
- Биофильтры
Дата последней замены слоя фильтрующего материала, толщина слоя фильтрующего материала, падение давления, содержание водяного пара в неочищенном отходящем газе, температура неочищенного отходящего газа.
(справочное)
ПРИВЕДЕНИЕ К СТАНДАРТНЫМ ВЕЛИЧИНАМ
C.1 Преобразование объемной доли в массовую концентрацию
Объемную долю f (например, выраженную в млн-1) преобразуют в массовую концентрацию c (например, в мг/м3) по формуле:

, (C.1)
где Mmol - молярная масса (например, в кг/моль);
Vmol - молярный объем пробы (например, в м3/моль).
Массовую концентрацию обычно приводят к стандартным условиям по температуре и давлению (273,15 К и 101,325 кПа). В этих условиях молярный объем равен 22,41 м3/кмоль = 22,41 л/моль для всех газов.
В европейских стандартах не следует использовать обозначения "ppm" и "ppb". В зависимости от применяемого языка они могут быть неоднозначно поняты, к тому же их применение необязательно, поскольку они показывают только цифры, например, объемная доля 4,2 см3/м3 составляет 4,2·10-6.
C.2 Приведение объема к стандартным условиям
Коэффициент преобразования FT для приведения объема газа, измеренного при температуре Tm, к стандартным условиям по температуре вычисляют по формуле:

, (C.2)
где Tref - (абсолютная) стандартная температура;
Tm - (абсолютная) измеренная температура отобранной пробы газа.
Коэффициент преобразования Fp для приведения объема газа, измеренного при давлении pm, к стандартным условиям по давлению вычисляют по формуле:

, (C.3)
где pm - измеренное давление отобранной пробы газа;
pref - стандартное давление.
Коэффициент преобразования Fh для приведения объема газа, измеренного при содержании водяного пара hm, к стандартным условиям по содержанию водяного пара вычисляют по формуле:

, (C.4)
где hm - измеренное содержание водяного пара (объемная доля) в отобранной пробе газа;
href - стандартное содержание водяных паров (объемная доля водяного пара в сухом газе href = 0%).
Коэффициент преобразования Fo для приведения объема газа, измеренного при содержании кислорода om, к стандартным условиям по содержанию кислорода вычисляют по формуле:

, (C.5)
где om - измеренное содержание кислорода (объемная доля) в отобранной пробе газа;
oref - стандартное содержание кислорода (объемная доля).
C.3 Приведение массовой концентрации к стандартным условиям
Массовую концентрацию c, измеренную при температуре Tm, приводят к массовой концентрации c(Tref) при стандартной температуре Tref по формуле:

. (C.6)
Массовую концентрацию c, измеренную при давлении pm, приводят к массовой концентрации c(pref) при стандартном давлении pref, по формуле:

. (C.7)
Для измерения массовой концентрации температуру Tm и давление pm измеряют в той же точке, что и объем пробы.
Массовую концентрацию c, измеренную при содержании водяного пара в отходящем газе hm, приводят к условиям сухого газа и c(href) по формуле:

. (C.8)
Массовую концентрацию c, измеренную при объемной доле кислорода в отходящем газе om, приводят к стандартной объемной доле кислорода oref и c(oref), по формуле:

. (C.9)
Приведенные формулы могут быть скомбинированы для вычисления массовой концентрации cref, приведенной к стандартным условиям, по формуле:

. (C.10)
Примечания
1 Для приведения массовой концентрации к условиям сухого газа стандартное содержание водяного пара href принимают равным нулю.
2 Только массовая концентрация c (например, в мг/м3) зависит от температуры и давления. Объемная доля (например, в см3/м3) не зависит от температуры и давления. Результаты измерения массового расхода выбросов также не зависят от температуры, давления, содержания кислорода или уровня влажности, и их не следует корректировать.
C.4 Приведение объема отходящего газа к стандартным условиям
Объем отходящего газа Vref при стандартных условиях вычисляют на основе объема газа Vm, измеренного в рабочих условиях, по формуле:

. (C.11)
(справочное)
D.1 Методы определения положения точек отбора проб в круглых и прямоугольных газоходах
D.1.1 Метод для круглых газоходов
D.1.1.1 Общие положения
| | ИС МЕГАНОРМ: примечание. В официальном тексте документа, видимо, допущены опечатки: имеются в виду пункты D.1.1.2 и D.1.1.3, а не D.1.2 и D.1.3. | |
Существуют два метода определения положения точек отбора проб в круглых газоходах, описанные в
D.1.2 и
D.1.3. Методы по смыслу эквивалентны.
D.1.1.2 Общее правило для круглых газоходов
В соответствии с общим правилом для круглых газоходов плоскость отбора проб делят на равные области. Точки отбора проб, по одной в центре каждой области, должны быть расположены на двух или более диаметрах (линиях отбора проб), и одна точка должна быть расположена в центре газохода (см. рисунок D.1).
Заштрихованные области имеют равную площадь
Рисунок D.1 - Размещение точек отбора проб
в круглых газоходах с диаметром более 2 м
в соответствии с общим правилом
Распределение точек отбора проб зависит от числа выбранных точек.
Для круглых газоходов достаточно двух линий отбора проб (диаметров). При этом расстояние x от стенки газохода до каждой точки отбора проб может быть вычислено по формуле:
xi = Kid, (D.1)
d - диаметр газохода, м.
В
таблице D.1 приведены значения коэффициентов
Ki, %, где
nd - это количество точек отбора проб на линии отбора проб (диаметре), а
i - количество отдельных точек отбора проб вдоль диаметра.
Таблица D.1
Значения коэффициентов
Ki, %, в соответствии
с общим правилом для круглых газоходов
i | Ki при |
nd = 3 | nd = 5 | nd = 7 | nd = 9 |
1 | 11,3 | 5,9 | 4,0 | 3,0 |
2 | 50,0 | 21,1 | 13,3 | 9,8 |
3 | 88,7 | 50,0 | 26,0 | 17,8 |
4 | | 78,9 | 50,0 | 29,0 |
5 | | 94,1 | 74,0 | 50,0 |
6 | | | 86,7 | 71,0 |
7 | | | 96,0 | 82,2 |
8 | | | | 90,2 |
9 | | | | 97,0 |
Для круглых газоходов, где необходимо увеличить число линий отбора проб (диаметров) или число точек отбора проб (например, при условии обратного потока), общие формулы (D.2) - (D.4) для расчета расстояния от стенки газохода до точки отбора проб вдоль диаметра (до точки) xi имеют вид:

для

, (D.2)

для

, (D.3)

для

, (D.4)
где d - диаметр газохода;
n - число линий отбора проб (диаметров);
nd - число точек отбора проб на линии отбора проб (диаметре, включая центр);
i - индекс точки отбора проб вдоль диаметра.
D.1.1.3 Тангенциальное правило для круглых газоходов
При использовании тангенциального правила для круглых газоходов плоскость отбора проб делят на равные области. Точки отбора проб, по одной в центре каждой области, располагают на двух или более диаметрах (линиях отбора проб), при этом в центре газохода точки отбора проб нет (см. рисунок D.2).
Заштрихованные области имеют равную площадь
Рисунок D.2 - Размещение точек отбора проб в круглых
газоходах с диаметром более 2 м в соответствии
с тангенциальным правилом
Распределение точек отбора проб на каждом диаметре зависит от числа точек на каждом диаметре, но не зависит от числа выбранных диаметров.
Для круглых газоходов, где достаточно двух линий отбора проб (диаметров), расстояние от стенки газохода до каждой точки вычисляют по формуле:
xi = Kid, (D.5)
d - диаметр газохода, м.
В
таблице D.2 приведены значения коэффициентов
Ki, %, где
nd - это количество точек отбора проб на линии отбора проб (диаметре), а
i - количество отдельных точек отбора проб вдоль диаметра.
Таблица D.2
Значения коэффициентов
Ki, %, в соответствии
с тангенциальным правилом для круглых газоходов
i | Ki при |
nd = 2 | nd = 4 | nd = 6 | nd = 8 |
1 | 14,6 | 6,7 | 4,4 | 3,3 |
2 | 85,4 | 25,0 | 14,6 | 10,5 |
3 | | 75,0 | 29,6 | 19,4 |
4 | | 93,3 | 70,4 | 32,3 |
5 | | | 85,4 | 67,7 |
6 | | | 95,6 | 80,6 |
7 | | | | 89,5 |
8 | | | | 96,7 |
Для круглых газоходов, где необходимо увеличить число линий отбора проб (диаметров) или число точек отбора проб, тангенциальные формулы (D.6) - (D.7) для расчета расстояния от стенки газохода до точки вдоль диаметра имеют вид:

для

, (D.6)

для

, (D.7)
где обозначения имеют то же значение, что и в
формулах (D.2) -
(D.4), только не включают
nd в центре.
Этот метод применяют для больших газоходов, где трудно достигнуть центра.
D.1.2 Требования для прямоугольных газоходов
По правилу, применяемому для прямоугольных газоходов, плоскость отбора проб должна быть разделена на равные области линиями, параллельными сторонам газохода, а точки отбора проб должны быть расположены в центре каждой области (см. рисунок D.3).
Рисунок D.3 - Расположение точек отбора проб
в прямоугольном газоходе
Обычно две перпендикулярные стороны прямоугольного газохода делят на равное число частей, придавая областям ту же форму, что и форма газохода. Число областей в этом случае получают в зависимости от числа делений на стороне 1, 2, 3 и т.д., возведением его в квадрат (см.
рисунок D.3 a).
Длины сторон плоскости отбора проб
L1 и
L2, где отношение
L1/
L2 > 2, сторона
L1 должна быть разделена на большее число частей по сравнению с
L2 таким образом, чтобы каждая из меньших областей соответствовала отношению
l1/
l2 < 2, т.е. более длинная ее сторона должна быть не более чем вдвое длиннее ее короткой стороны (см.
рисунок D.3 b).
Если длины сторон плоскости отбора проб l1 и l2 разделены на n1 и n2 частей соответственно, число точек отбора проб будет n1·n2, а наименьшее расстояние от стенки газохода будет l1/2n1 и l2/2n2.
(справочное)
ПРИМЕРЫ ОПРЕДЕЛЕНИЯ ОДНОРОДНОСТИ ПРОФИЛЕЙ ОТХОДЯЩЕГО ГАЗА
E.1 Определение однородности
Таблица E.1
Ось - ширина | cgrid, мг/м3 | cref, мг/м3 | cgrid, % |
Ось 1 0,16 м | 523 | 492 | 106,3 |
0,47 м | 554 | 501 | 110,6 |
0,78 м | 567 | 499 | 113,6 |
1,09 м | 539 | 504 | 106,9 |
Ось 2 0,16 м | 496 | 493 | 100,6 |
0,47 м | 497 | 489 | 101,6 |
0,78 м | 505 | 486 | 103,9 |
1,09 м | 480 | 463 | 103,7 |
Ось 3 0,16 м | 510 | 468 | 109,0 |
0,47 м | 523 | 474 | 110,3 |
0,78 м | 553 | 472 | 117,2 |
1,09 м | 544 | 474 | 114,8 |
Ось 4 0,16 м | 460 | 467 | 98,5 |
0,47 м | 445 | 447 | 99,6 |
0,78 м | 466 | 455 | 102,4 |
1,09 м | 447 | 445 | 100,4 |
Среднее значение | 506,8 | 476,8 | 106,2 |
| | ИС МЕГАНОРМ: примечание. Значение ячейки первой строки второго столбца дано в соответствии с официальным текстом документа. | |
|
Стандартное отклонение | sdrid | sref | |
39,3 | 18,8 |
Число измерений | 16 |
Число степеней свободы | 15 |
Испытание на однородность: | |
Проверяемое значение (sgrid/sref)2 | 4,35 |
F-критерий | 2,40 |
Отходящий газ | Неоднородный |
Стандартное отклонение по времени sref | 18,8 мг/м3 |
Стандартное отклонение по местоположению spos | 34,5 мг/м3 |
Допустимая расширенная неопределенность Uperm | 100 мг/м3 |
tN = 1;0,95 | 2,131 |
Upos | 73,5 мг/м3 |
Upos <= 0,5 Uperm | Нет |
Требуемый тип измерений | В точке измерительной сетки |
Представительная точка отбора проб | - |
cgrid/cref в представительной точке отбора проб | - |
Таблица E.2
Пример 2 (NOX)
Ось - ширина | cgrid, мг/м3 | cref, мг/м3 | cgrid/cref, % |
Ось 1 0,16 м | 412 | 393 | 104,8 |
0,47 м | 418 | 390 | 107,2 |
0,78 м | 417 | 389 | 107,2 |
1,09 м | 423 | 393 | 107,6 |
Ось 2 0,16 м | 363 | 394 | 92,1 |
0,47 м | 397 | 391 | 101,5 |
0,78 м | 404 | 388 | 104,1 |
1,09 м | 384 | 370 | 103,8 |
Ось 3 0,16 м | 357 | 374 | 95,5 |
0,47 м | 373 | 379 | 98,4 |
0,78 м | 393 | 377 | 104,2 |
1,09 м | 396 | 379 | 104,5 |
Ось 4 0,16 м | 368 | 373 | 98,7 |
0,47 м | 366 | 367 | 99,7 |
0,78 м | 377 | 364 | 103,6 |
1,09 м | 377 | 363 | 103,9 |
Среднее значение | 389,1 | 380,3 | 102,3 |
| | ИС МЕГАНОРМ: примечание. Значение ячейки первой строки второго столбца дано в соответствии с официальным текстом документа. | |
|
Стандартное отклонение | sdrid | sref | |
21,5 | 11,0 |
Число измерений | 16 |
Число степеней свободы | 15 |
Испытание на однородность: | |
Проверяемое значение (sgrid/sref)2 | 3,82 |
F-критерий | 2,40 |
Отходящий газ | Неоднородный |
Стандартное отклонение по времени sref | 11,0 мг/м3 |
Стандартное отклонение по местоположению spos | 18,4 мг/м3 |
Допустимая расширенная неопределенность Uperm | 100 мг/м3 |
tN = 1;0,95 | 2,131 |
Upos | 39,2 мг/м3 |
Upos <= 0,5 Uperm | Да |
Требуемый тип измерений | В точке |
Представительная точка отбора проб | ось 2 - 0,47 м |
cgrid/cref в представительной точке отбора проб | 101,5% |
Таблица E.3
Ось - ширина | cgrid, мг/м3 | cref, мг/м3 | cgrid/cref, % |
Ось 1 0,16 м | 292 | 295 | 99,0 |
0,47 м | 299 | 301 | 99,5 |
0,78 м | 297 | 299 | 99,2 |
1,09 м | 303 | 302 | 100,3 |
Ось 2 0,16 м | 291 | 296 | 98,4 |
0,47 м | 298 | 293 | 101,6 |
0,78 м | 303 | 292 | 103,9 |
1,09 м | 288 | 278 | 103,7 |
Ось 3 0,16 м | 287 | 281 | 102,2 |
0,47 м | 285 | 284 | 100,2 |
0,78 м | 288 | 283 | 101,7 |
1,09 м | 291 | 284 | 102,3 |
Ось 4 0,16 м | 277 | 280 | 98,9 |
0,47 м | 272 | 268 | 101,4 |
0,78 м | 280 | 273 | 102,4 |
1,09 м | 268 | 267 | 100,4 |
Среднее значение | 288,7 | 286,1 | 100,9 |
| | ИС МЕГАНОРМ: примечание. Значение ячейки первой строки второго столбца дано в соответствии с официальным текстом документа. | |
|
Стандартное отклонение | sdrid | sref | |
10,5 | 11,3 |
Число измерений | 16 |
Число степеней свободы | 15 |
Испытание на однородность: | |
Проверяемое значение (sgrid/sref)2 | 0,86 |
F-критерий | - |
Отходящий газ | Однородный |
Стандартное отклонение по времени sref | - |
Стандартное отклонение по местоположению spos | - |
Допустимая расширенная неопределенность Uperm | 100 мг/м3 |
tN = 1;0,95 | - |
Upos | - |
Upos <= 0,5 Uperm | - |
Требуемый тип измерений | В любой точке |
Представительная точка отбора проб cgrid/cref в представительной точке отбора проб | - - |
Допустимая расширенная неопределенность
Uperm, указанная в
таблицах E.1 -
E.3, вычислена на основе предельного значения для NO
X,
E = 500 мг/м
3, установленного для процесса, взятого за основу в данном примере.
Директива ЕС 2001/80/ЕС
[7] устанавливает для среднесуточного выброса и нормальных условий допустимую относительную расширенную неопределенность для измерений NO
X P = 20%. Таким образом, допустимая расширенная неопределенность задается как:
Uperm =
P·
E = 0,20·500 мг/м
3 = 100 мг/м
3 при нормальных условиях. Полученные значения массовой концентрации NO
X, приведенные в
таблицах E.1 -
E.3, были приведены к нормальным условиям.
E.2 Стационарно установленные АИС
Таблица E.4
Пример определения наилучшего местоположения точки отбора
проб для стационарной установки АИС
Ось - ширина | NOx | Содержание кислорода | Температура | Скорость потока | F-критерий, Fref, % | Инф. по проф. 1, абс. откл. |
cgrid мг/м3 | cref, мг/м3 | ogrid мг/м3 | oref, мг/м3 | Tgrid, °C | Tref, °C | vgrid, м/с | vref, м/с |
Ось 1 0,16 м | 516 | 492 | 7,8 | 8,6 | 362 | 346 | 27,2 | 20,3 | 126,2 | 0,12 |
0,47 м | 542 | 501 | 7,6 | 8,7 | 373 | 346 | 28,9 | 20,5 | 129,9 | 0,16 |
0,78 м | 540 | 499 | 7,9 | 8,8 | 380 | 346 | 29,3 | 19,9 | 135,1 | 0,21 |
1,09 м | 554 | 504 | 7,9 | 8,8 | 376 | 346 | 30,3 | 23,1 | 123,6 | 0,10 |
Ось 2 0,16 м | 429 | 493 | 10,5 | 8,9 | 343 | 346 | 16,9 | 19,6 | 87,2 | 0,26 |
0,47 м | 497 | 489 | 8,6 | 8,8 | 355 | 344 | 29,0 | 19,5 | 144,1 | 0,30 |
0,78 м | 505 | 486 | 8,3 | 8,8 | 373 | 344 | 30,3 | 20,5 | 136,1 | 0,22 |
1,09 м | 480 | 463 | 8,3 | 8,7 | 364 | 344 | 27,1 | 210,5 | 125,4 | 0,12 |
Ось 3 0,16 м | 440 | 468 | 9,4 | 8,7 | 332 | 342 | 5,7 | 20,3 | 28,8 | 0,85 |
0,47 м | 467 | 474 | 9,2 | 8,9 | 339 | 343 | 21,5 | 23,0 | 95,6 | 0,18 |
0,78 м | 492 | 472 | 8,6 | 8,8 | 364 | 342 | 31,2 | 21,0 | 143,2 | 0,29 |
1,09 м | 496 | 474 | 8,7 | 8,9 | 361 | 342 | 29,7 | 21,2 | 136,6 | 0,23 |
Ось 4 0,16 м | 460 | 467 | 9,4 | 8,9 | 333 | 341 | 7,1 | 21,7 | 34,4 | 0,79 |
0,47 м | 445 | 447 | 9,1 | 8,8 | 335 | 341 | 20,0 | 21,0 | 98,9 | 0,15 |
0,78 м | 466 | 455 | 9,0 | 8,8 | 347 | 341 | 28,3 | 20,6 | 140,6 | 0,27 |
1,09 м | 447 | 445 | 9,0 | 8,8 | 341 | 341 | 27,2 | 20,8 | 133,5 | 0,20 |
Среднее значение | 486,0 | 476,8 | 8,7 | 8,8 | 354,9 | 343,4 | 24,4 | 20,8 | 113,7 | 0,10 |
Наилучшее положение точки отбора проб | Ось 1 - 1,09 м |
Fref в наилучшей доступной точке отбора проб | 123,6% |
Отношение результата измерений в наилучшей доступной точке отбора проб к среднему значению, полученному для измерительной сетки: | |
NOx | |
Содержание кислорода | |
Температура | |
Скорость потока | |
E.3 Примеры профилей отходящего газа
На рисунке E.1 приведены примеры профилей однородного отходящего газа.
1 - Массовая концентрация | 2 - Скорость потока | 3 - Плотность массового потока |
sgrid = 1,01 мг/м3 | sgrid = 10,3 м/с | sgrid = 532 мг/м2·с |
sref = 0,62 мг/м3 | sref = 11,3 м/с | sref = 549 мг/м2·с |
Контрольное значение: 2,69 | Контрольное значение: 1,39 | Контрольное значение: 1,26 |
F-критерий: 2,82 | F-критерий: 2,82 | F-критерий: 2,82 |
Рисунок E.1 - Пример однородного распределения органических
газообразных веществ (пропан, в единицах общего содержания
углерода) в измерительной плоскости круглой формы
На рисунке E.2 приведены примеры профилей неоднородного отходящего газа.
1 - Массовая концентрация | 2 - Скорость потока | 3 - Плотность массового потока |
sgrid = 70 мг/м3 | sgrid = 2,3 м/с | sgrid = 532 мг/м2·с |
sref = 0,87 мг/м3 | sref = 0,27 м/с | sref = 549 мг/м2·с |
Контрольное значение: 6505 | Контрольное значение: 71,2 | Контрольное значение: 1,26 |
F-критерий: 2,82 | F-критерий: 2,82 | F-критерий: 2,82 |
Рисунок E.2 - Пример неоднородного распределения
органических газообразных веществ (пропан, в единицах общего
содержания углерода) в измерительной плоскости круглой формы
(справочное)
ПРИМЕР ФОРМЫ ПРОТОКОЛА ИЗМЕРЕНИЙ ВЫБРОСОВ
Приведенный образец формы является справочным и содержит элементы, которые могут быть использованы при составлении протокола измерений выбросов. Текст, выделенный в образце формы курсивом, приведен только в справочных целях, и его не следует оставлять в готовом плане измерений.
Протокол измерений выбросов
Наименование аккредитованной испытательной лаборатории ............
Шифр документа/номер протокола ......... Дата .........................
Юридическое лицо: .....................................................
Местоположение: .......................................................
Тип измерений: ........................................................
Порядковый номер ......................................................
Номер заказа ..........................................................
Дата получения заказа: ................................................
День измерения ........................................................
Протокол содержит ...... страниц
........................ приложений
Цели ..................................................................
...........................................................................
...........................................................................
Краткое содержание
Предприятие: ..........................................................
Время операций: .......................................................
Источник выбросов: ....................................................
Определяемые компоненты: ..............................................
Результаты измерений: .................................................
Источник выбросов N: ..................................................
Измеряемый компонент | n | Среднее значение (массовой концентрации, массового расхода) [мг/м3; кг/ч] | Максимальное значение (массовой концентрации, массового расхода) [мг/м3; кг/ч] | Предельное значение (массовой концентрации, массового расхода) [мг/м5; кг/ч] | Состояние, приводящее к максимальным выбросам [да/нет] |
| | | | | |
| | | | | |
1 Описание цели измерений
2 Описание предприятия, обрабатываемых материалов
3 Описание места измерений
4 Методы измерений и анализа, применяемое оборудование
Рекомендуется использовать готовые формы плана для разделов 1 - 4 (см. B.3) и включать в них любые отклонения, отличные от плана.
5 Рабочие условия на предприятии во время измерений
Следует приводить информацию о том, как были получены отдельные данные, например, информация, полученная от оператора или в результате личных наблюдений.
5.1 Промышленное предприятие
Рабочее состояние (например, условия нормальной работы, загрузка, время
выхода на режим, представительные условия работы предприятия, нехарактерные
условия работы предприятия, связанные с выбросами): .......................
Пропускная способность/выход (например, данные по процессу, пару): ....
...........................................................................
Сырье/топливо: ........................................................
Продукция: ............................................................
Рабочие параметры (например, рабочее давление, температура): ..........
Отклонения от утвержденного режима работы предприятия (например, другое
КПД, другое сырье, оценка): ...............................................
5.2 Очистные установки для отходящего газа
Рабочие параметры (потребляемая мощность, давление, pH, эффективность
очистки): .................................................................
Рабочая температура (например, установка термической очистки, скруббер,
установка каталитической очистки): ........................................
Параметры, определяемые типом выбросов (например, циклы очистки, pH,
температура, термический дожигатель, рабочее время катализатора): .........
Особенности очистки конкретного отходящего газа (например, встроенная
конструкция, функции дополнительного ввода воды): .........................
Отклонение от стандартных рабочих условий: ............................
6 Представление результатов измерений
6.1 Оценка условий работы предприятия во время измерений
Описание особых обстоятельств
Данную информацию приводят для установления отклонений от нормальных рабочих условий и по возможности для описания их последующего влияния на характеристики выбросов предприятия. В подобном случае технический эксперт должен сделать заключение, были ли условия работы предприятия во время измерений такими, при которых могут образоваться максимальные выбросы.
6.2 Результаты измерений
Все отдельные результаты измерений (например, усредненные значения за полчаса) для определяемых компонентов и вспомогательные параметры, необходимые для определения, должны быть приведены в табличной форме. Содержание загрязняющих веществ приводят в единицах массовой концентрации и массового расхода. Кроме того, указывают максимальное и среднее значения. Неопределенность измерений приводят для всех результатов измерений. Если в процессе измерений применялись регистрирующие устройства, то рекомендуется использовать ленточный самописец. Следует приводить рекомендации по измерениям, в соответствии с которыми необходимо представлять результаты измерений.
Все протоколы измерений должны хранить в испытательной лаборатории, проводившей испытания, в течение по крайней мере пяти лет.
6.3 Проверка достоверности
Проводят проверку достоверности результатов измерений на основе их соотнесения с употребляемой производственной мощностью предприятия во время проведения измерений.
.......................... ..........................
Подпись лица, ответственного Дата
за технический контроль
на предприятии
Приложение
План измерений
Полученные при измерениях и вычисленные значения (регистрируют все исходные значения)
(справочное)
ОПРЕДЕЛЕНИЯ СРЕДНЕГО СОДЕРЖАНИЯ В ИЗМЕРИТЕЛЬНОЙ ПЛОСКОСТИ
Поскольку массовая концентрация определяемых компонентов отходящего газа зависит от текущего состояния предприятия и технологии контроля отходящих газов, предел допустимого выброса часто выражают через значение массовой концентрации. Эта достижимая массовая концентрация в выбросах при установленных пределах не зависит от выпуска продукции или объемного расхода отходящих газов предприятия. Массовая концентрация в выбросах в данном случае представляет собой массовую концентрацию определяемого компонента, усредненную для измерительной плоскости газохода от источника выбросов за определенный регламентированный период. Этот период обычно составляет полчаса или час, т.е. массовую концентрацию в выбросах представляют в виде значений, усредненных за полчаса или за час. Среднесуточные значения обычно вычисляют на основе этих средних значений. Технические указания относительно учета пространственных и временных изменений массовой концентрации в измерительной плоскости газохода должны быть учтены при измерениях выбросов.
В измерительной плоскости газоходов может иметь место распределение содержания, обусловленное его пространственным изменением. Кроме того, содержание может изменяться со временем. В частности, потоки отходящих газов, объединенные от разных мест измерений или источников и различные по составу, температуре или плотности, могут быть недостаточно хорошо перемешаны, что приводит к образованию неоднородного потока. Если содержание и/или профиль скорости потока выбросов в газоходах изменяются в пространстве и времени, тогда при математической обработке эти величины могут быть определены как интеграл от времени и места в измерительном плане
[10].
Мгновенное значение содержания эквивалентно отношению массового расхода

к объемному расходу

, вычисляемому по формуле:

(G.1)
или, для того же самого временного интервала, отношению массы к объему. Усредненное по времени содержание

(например, за полчаса) вычисляют по формуле:

. (G.2)
Массовый расход выбросов

, усредненный за интервал времени, вычисляют по формуле:

, (G.3)
где

- плотность массового потока, значение которого зависит от времени в каждой точке каждой части площади. Вместе со скоростью
v(
x,
y,
t), которая также является функцией времени и пространства, для объемного расхода, усредненного за определенное время, может быть получена формула:

. (G.4)
Таким образом, для средней массовой концентрации

, усредненной за определенное время, может быть получена формула:

. (G.5)
Плотность массового потока

, зависящая от времени и пространства, также может быть представлена как произведение массовой концентрации
c на скорость
v:

. (G.6)
Таким образом, массовую концентрацию

, усредненную за определенное время, вычисляют по формуле:

. (G.7)
Следовательно, определяя массовую концентрацию с определенной точностью, необходимо определить интегральную концентрацию по площади измерительной плоскости и времени совместно со скоростью потока. Однако интегральное определение этих величин в настоящее время невозможно осуществить с применением имеющихся на данный момент измерительных систем.
На практике ввиду того, что измерения являются дискретными во времени и пространстве, необходимо делать упрощения. Если массовую концентрацию
c и скорость
v определяют одновременно во всех
n измерительных точках измерительной плоскости за интервал времени

, то будет получено
n пар значений (
cij,
vi). Тогда массовую концентрацию
ci в интервал измерения

вычисляют по формуле:

. (G.8)
Средняя массовая концентрация, вычисляемая на основе общей продолжительности отбора проб, например 30 мин., может быть задана в виде отдельной средней концентрации для общего числа интервалов измерений по формуле:

. (G.9)
Если скорость в отдельно взятых измерительных точках изменяется во время измерения на один и тот же коэффициент (что может быть справедливо для большинства целей измерений), средняя массовая концентрация

может быть определена путем упрощения, как частное сумм средних значений за время измерений во всех точках по формуле:

. (G.10)
Это означает, что для вычисления средней массовой концентрации на измерительной плоскости для продолжительности отбора проб требуется знать только среднюю концентрацию и среднюю скорость в каждой измерительной точке.
| Council Directive 96/61/EC of 24 September 1996 concerning integrated pollution prevention and control, OJ L 257, p. 26 |
| Commission Decision 2000/479/EC on the implementation of an European Pollutant Emission Register (EPER), July 2000, OJ L 192, p. 36 |
| Integrated Pollution Prevention and Control (IPPC), Reference Document on the General Principles of Monitoring, European Commission, European IPPC Bureau, November 2002 |
| Technical Guidance Note M1, Sampling Requirements for Monitoring Stack Emissions to Air from Industrial Installations, Environment Agency, 2002, p. 2 |
| Manual Stack Emission Monitoring Performance Standard for Organisations, Environment Agency, February 2002, p. 22 |
| Directive 2000/76/EC of the European Parliament and of the Council of 4 December 2000 on the incineration of waste, OJ L 332, p. 91 |
| Directive 2001/80/EC of the European Parliament and of the Council of 23 October 2001 on the limitation of emissions of certain pollutants into the air from large combustion plants, OJ L 309, p. 1 |
| VDI 2448 Part 1:1992 | Planning of spot sampling measurements of stationary source emissions |
| Mary Gibbons Natrella, Experimental Statistics, John Wiley & Sons: New York 1966 |
| VDI 4200:2000 | Realization of stationary source emission measurements |
[11] | International Vocabulary of basic and general terms in metrology (VIM), BIPM, IEC, IFCC, ISO, IUPAC, IUPAP, OIML, 1993 |
| EN 13284-1:2001 | Stationary source emissions - Determination of low range mass concentration of dust - Part 1: Manual gravimetric method (ЕН 13284-1:2001 Выбросы стационарного источника. Определение пыли низкого диапазона массовой концентрации. Часть 1. Метод ручной гравиметрии) |
[13] | EN 14181:2004 | Stationary source emissions - Quality assurance of automated measuring systems (ЕН 14181:2004 Выбросы стационарных источников. Оценка качества автоматических измерительных систем) |
[14] | CEN/TS 14793:2005 | Stationary source emission - Interlaboratory validation procedure for an alternative method compared to a reference method (СЕН/ТС 14793:2005 Выбросы стационарных источников. Методика внутрилабораторной оценки в сравнении с эталонным методом) |
[15] | CEN/TS 15674:2007 | Air quality - Measurement of stationary source emissions - Guidelines for the elaboration of standardised methods (СЕН/ТО 15674:2007 Качество воздуха. Выбросы стационарных источников. Руководство для оценки стандартизованных методов) |
[16] | CEN/TS 15675:2007 | Air quality - Measurements of stationary source emissions - Application of EN ISO/IEC 17025:2005 to periodic measurements (СЕН/ТО 15675:2007 Качество воздуха. Выбросы стационарных источников. Применение ЕН ИСО/МЭК 17025:2005 к периодическим измерениям) |
[17] | EN ISO 9000:2005 | Quality management systems - Fundamentals and vocabulary (ISO 9000:2005) (ИСО 9000:2005 Системы менеджмента качества. Основные положения и словарь) |
| EN ISO 14122 (all parts) | Safety of machinery - Permanent means of access to machinery (ЕН ИСО 14122 Безопасность машин. Постоянные средства доступа к машинам) |
[19] | EN ISO 14956:2002 | Air quality - Evaluation of the suitability of a measurement procedure by comparison with a required measurement uncertainty (ISO 14956:2002) (ЕН ИСО 14956:2002 Качество воздуха. Оценка применимости методики выполнения измерений на основе степени ее соответствия требованиям к неопределенности измерения) |
[20] | EN ISO/IEC 17025:2005 | General requirements for the competence of testing and calibration laboratories (ISO/IEC 17025:2005) (ЕН ИСО/МЭК 17025:2005 Общие требования к компетентности испытательных и калибровочных лабораторий) |