Главная // Актуальные документы // ГОСТ Р (Государственный стандарт)СПРАВКА
Источник публикации
М.: Стандартинформ, 2015
Примечание к документу
Текст данного документа приведен с учетом
поправки, введенной в действие с 01.11.2023, опубликованной в "ИУС", N 2, 2024.
Документ
введен в действие с 01.07.2016.
Название документа
"ГОСТ Р 56441-2015. Национальный стандарт Российской Федерации. Тренажеры стационарные. Беговые дорожки. Дополнительные специальные требования безопасности и методы испытаний"
(утв. и введен в действие Приказом Росстандарта от 15.06.2015 N 659-ст)
"ГОСТ Р 56441-2015. Национальный стандарт Российской Федерации. Тренажеры стационарные. Беговые дорожки. Дополнительные специальные требования безопасности и методы испытаний"
(утв. и введен в действие Приказом Росстандарта от 15.06.2015 N 659-ст)
Утвержден и введен в действие
агентства по техническому
регулированию и метрологии
от 15 июня 2015 г. N 659-ст
НАЦИОНАЛЬНЫЙ СТАНДАРТ РОССИЙСКОЙ ФЕДЕРАЦИИ
ТРЕНАЖЕРЫ СТАЦИОНАРНЫЕ
БЕГОВЫЕ ДОРОЖКИ
ДОПОЛНИТЕЛЬНЫЕ СПЕЦИАЛЬНЫЕ ТРЕБОВАНИЯ БЕЗОПАСНОСТИ
И МЕТОДЫ ИСПЫТАНИЙ
Stationary training equipment. Treadmills. Additional
specific safety requirements and test methods
ISO 20957-6:2005
(NEQ)
ГОСТ Р 56441-2015
Дата введения
1 июля 2016 года
1 РАЗРАБОТАН Саморегулируемой организацией Некоммерческим партнерством "Отраслевое объединение национальных производителей в сфере физической культуры и спорта "Промспорт" (СРО "Промспорт")
2 ВНЕСЕН Техническим комитетом по стандартизации ТК 444 "Спортивные и туристские изделия, оборудование, инвентарь, физкультурные и спортивные услуги"
3 УТВЕРЖДЕН И ВВЕДЕН В ДЕЙСТВИЕ
Приказом Федерального агентства по техническому регулированию и метрологии от 15 июня 2015 г. N 659-ст
4 Настоящий стандарт разработан с учетом основных нормативных положений международного стандарта ИСО 20957-6:2005 "Тренажеры стационарные. Часть 6. Беговые дорожки. Дополнительные специальные требования безопасности и методы испытаний" (ISO 20957-6:2005 "Stationary training equipment - Part 6: Treadmills, additional specific safety requirements and test methods", NEQ)
5 ВВЕДЕН ВПЕРВЫЕ
Правила применения настоящего стандарта установлены в ГОСТ Р 1.0-2012
(раздел 8). Информация об изменениях к настоящему стандарту публикуется в ежегодном (по состоянию на 1 января текущего года) информационном указателе "Национальные стандарты", а официальный текст изменений и поправок - в ежемесячном информационном указателе "Национальные стандарты". В случае пересмотра (замены) или отмены настоящего стандарта соответствующее уведомление будет опубликовано в ближайшем выпуске ежемесячного информационного указателя "Национальные стандарты". Соответствующая информация, уведомление и тексты размещаются также в информационной системе общего пользования - на официальном сайте Федерального агентства по техническому регулированию и метрологии в сети Интернет (www.gost.ru)
Настоящий стандарт распространяется на стационарные тренажеры с силовым и ручным приводом - беговые дорожки.
Стандарт устанавливает требования безопасности и методы испытаний беговых дорожек классов применения S и H и классов точности A, B и C.
В настоящем стандарте использованы нормативные ссылки на следующие стандарты:
ГОСТ МЭК 60335-1-2008 Бытовые и аналогичные электрические приборы. Безопасность. Часть 1. Общие требования
ГОСТ Р ИСО 5904-95 Оборудование гимнастическое. Маты для прыжков и поверхности для вольных упражнений. Метод определения сопротивления скольжению
ГОСТ Р 50030.5.5-2000 <*> (МЭК 60947-5-5-97) Аппаратура распределения и управления низковольтная. Часть 5-5. Аппараты и элементы коммутации для цепей управления. Электрические устройства срочного останова с функцией механического защелкивания.
--------------------------------
| | ИС МЕГАНОРМ: примечание. ГОСТ Р 50030.5.5-2011 утратил силу с 01.01.2014 в связи с введением в действие ГОСТ 30011.5.5-2012 (Приказ Росстандарта от 15.11.2012 N 829-ст). Взамен ГОСТ 30011.5.5-2012 Приказом Росстандарта от 09.11.2018 N 967-ст с 01.06.2019 введен в действие ГОСТ IEC 60947-5-5-2017. | |
<*> Заменен на ГОСТ Р 50030.5.5-2011.
ГОСТ Р МЭК 60601-1-2010 Изделия медицинские электрические. Часть 1. Общие требования безопасности с учетом основных функциональных характеристик
ГОСТ Р ИСО 12100-2-2007 Безопасность машин. Основные понятия, общие принципы конструирования. Часть 2. Технические принципы
ГОСТ Р 56445-2015 Тренажеры стационарные. Общие требования безопасности и методы испытаний
Примечание - При пользовании настоящим стандартом целесообразно проверить действие ссылочных стандартов в информационной системе общего пользования - на официальном сайте Федерального агентства по техническому регулированию и метрологии в сети Интернет или по ежегодному информационному указателю "Национальные стандарты", который опубликован по состоянию на 1 января текущего года, и по выпускам ежемесячного информационного указателя "Национальные стандарты" за текущий год. Если заменен ссылочный стандарт, на который дана недатированная ссылка, то рекомендуется использовать действующую версию этого стандарта с учетом всех внесенных в данную версию изменений. Если заменен ссылочный стандарт, на который дана датированная ссылка, внесено изменение, затрагивающее положение, на которое дана ссылка, то это положение рекомендуется применять без учета данного изменения. Если ссылочный стандарт отменен без замены, то положение, в котором дана ссылка на него, рекомендуется применять в части, не затрагивающей эту ссылку.
В настоящем стандарте применяют термины по
ГОСТ Р 56445, а также следующие термины с соответствующими определениями:
3.1 беговая дорожка: Тренажер с однонаправленно движущейся поверхностью, на которой выполняют упражнения по ходьбе или бегу, причем ноги пользователя не закреплены, и он может свободно сойти с дорожки.
3.2 длина беговой поверхности: Длина используемой части движущейся поверхности.
3.3 ширина беговой поверхности: Полезная ширина бегового полотна без учета защиты задних роликов.
1 - дисплей; 2 - передняя рукоятка; 3 - боковой поручень;
4 - нескользящая поверхность; 5 - платформа для ног;
6 - защита заднего ролика; 7 - движущаяся поверхность;
8 - беговое полотно (поверхность); 9 - передний кожух;
10 - аварийная остановка; 11 - задний ролик; l - длина
беговой поверхности (полотна); b - ширина беговой
поверхности (полотна)
Рисунок 1 - Конструкция и элементы беговой дорожки
4. Классификация беговых дорожек
5. Конструкция и элементы беговых дорожек
5.1 Конструкция и элементы беговой дорожки приведены на
рисунке 1.
6. Требования безопасности
6.1 Застревания, зажим, сдвиг в пределах зоны доступа
6.1.1 В зонах доступа, где высота может изменяться во время работы тренажера, вследствие чего расстояние между любой частью оборудования и полом может стать менее 60 мм, скорость изменения высоты должна быть не более 1°/с.
6.1.2 Беговые дорожки должны быть оборудованы кнопкой аварийной остановки движения, расположенной в зоне, доступной пользователю при эксплуатации.
6.2 Элементы трансмиссии и вращающиеся части
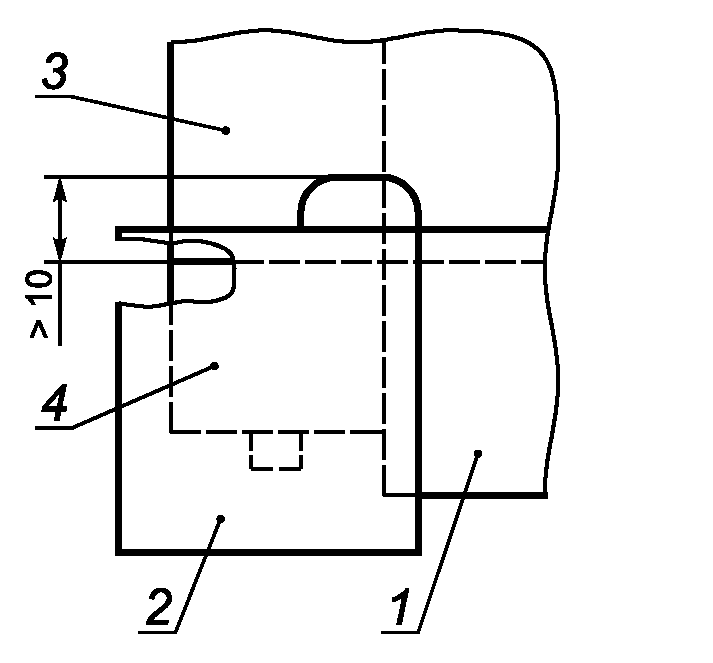
6.2.1 Пространство между беговой поверхностью и задним роликом должно быть закрыто защитным кожухом, как показано на рисунке 2.
1 - платформа для ног (может быть внахлест с полотном);
2 - защитный кожух; 3 - беговое полотно; 4 - задний ролик
Рисунок 2 - Защита заднего ролика
6.2.2 При испытании в соответствии с
приложением А испытательный штифт не должен застревать между задним роликом и беговой поверхностью.
Величина зазора между краем беговой поверхности и задним роликом в любых условиях эксплуатации должна быть не менее 10 мм (см. рисунок 2).
6.3 Температура поверхности
При испытаниях по
приложению Б температура доступных элементов беговой дорожки должна быть не более 65 °C.
6.4 Характеристики безопасности
6.4.1 Возможность восстановить цепь, пока привод устройства аварийной остановки не был сброшен вручную, должна быть исключена. Если тренажер оснащен несколькими устройствами аварийной остановки, цепь не должна быть восстановлена, пока все задействованные приводы не сброшены.
| | ИС МЕГАНОРМ: примечание. ГОСТ Р 50030.5.5-2000 утратил силу с 01.01.2013 в связи с введением в действие ГОСТ Р 50030.5.5-2011 (Приказ Росстандарта от 06.12.2011 N 696-ст). ГОСТ Р 50030.5.5-2011 утратил силу с 01.01.2014 в связи с введением в действие ГОСТ 30011.5.5-2012 (Приказ Росстандарта от 15.11.2012 N 829-ст). Взамен ГОСТ 30011.5.5-2012 Приказом Росстандарта от 09.11.2018 N 967-ст с 01.06.2019 введен в действие ГОСТ IEC 60947-5-5-2017. | |
6.4.2 Контакты ручного привода аварийной остановки должны быть оборудованы механизмом принудительного включения, как указано в ГОСТ Р 50030.5.5 (МЭК 60947-5-5). Устройство должно быть доступно пользователю. При активации переключателя питание должно выключаться без использования программного обеспечения, и беговая дорожка должна полностью остановиться.
6.5 Приводы
Приводы аварийной остановки должны быть красного цвета. При наличии фона за приводом его цвет должен быть желтым. Привод переключателя должен быть выполнен в форме ладони или шляпки гриба.
6.6 Защита от случайного включения
В беговых дорожках с силовым приводом должен быть предусмотрен метод защиты от случайного включения, в целях предотвращения неконтролируемого использования третьими лицами. Этот метод должен быть описан в инструкции по эксплуатации.
Проверяют визуально и путем пробного включения.
6.7 Наличие аварийной остановки
В беговых дорожках с силовым приводом должно быть предусмотрено аварийное выключение. Этот метод должен быть описан в инструкции по эксплуатации.
Проверяют визуально и путем пробного включения.
6.8 Устойчивость
При испытаниях по
приложению В беговая дорожка не должна опрокидываться.
6.9 Статическое нагружение
При испытании в соответствии с
приложением Г беговая дорожка должна выдерживать без повреждений испытательную нагрузку.
6.10 Износостойкость
Беговая дорожка должна функционировать в соответствии с инструкцией изготовителя при испытаниях на износостойкость в соответствии с
приложением Д.
6.11 Боковые поручни и передняя рукоятка
6.11.1 Беговая дорожка должна быть оборудована боковыми поручнями и/или передней рукояткой для устойчивости на беговой поверхности и возможности быстро сойти с полотна.
Эти элементы могут иметь следующую конфигурацию:
- одна передняя рукоятка;
- два боковых поручня;
- комбинация того и другого.
6.11.2 Передняя рукоятка должна:
- иметь минимальную ширину, равную ширине беговой поверхности, + 50 мм, с равноудаленным вылетом от продольной оси рабочей поверхности;
- быть на высоте 800 - 950 мм над беговой поверхностью.
6.11.3 Боковые поручни следует размещать на расстоянии не более 900 мм от центра поручня к центру другого поручня.
Длина каждого бокового поручня должна быть не менее 30% от длины беговой поверхности l, если установлены только поручни.
6.11.4 Величина деформации боковых поручней или передней рукоятки должна быть не более 3% при испытаниях по
приложению Е.
6.12 Платформы для ног
6.12.1 Беговая дорожка должна быть оборудована платформами для ног.
6.12.2 Длина платформы должна быть не меньше длины беговой поверхности. Ширина платформы должна быть не менее 80 мм.
6.12.3 При испытании в соответствии с ГОСТ Р ИСО 5904 платформы должны иметь нескользящую поверхность площадью не менее 400 x 70 мм с коэффициентом сцепления не менее 0,5.
6.12.4 Величина деформации платформы для ног при испытаниях по
приложению Ж должна быть не более 3%.
6.12.5 Боковые поручни могут быть присоединены к платформам для ног.
Примечание - Это требование не относится к беговым дорожкам с ручным приводом без наклона или маховика.
6.13 Дополнительные требования
6.13.1 Дополнительные требования к беговым дорожкам классов A и B приведены в таблице 1.
Таблица 1
Дополнительные требования к беговым дорожкам классов A и B
Дополнительное требование | Класс A | Класс B |
Считывание (показания дисплея) | скорости | Да |
изменения высоты, % (при наличии) |
дистанции |
времени в международной системе единиц |
Погрешность | времени, % | +/- 1 | |
дистанции, % | +/- 5 | +/- 10 |
скорости, % |
подъема, % | +/- 10 | +/- 15 |
Длина и ширина беговой поверхности для беговых дорожек с приводом от двигателя, мм, не более | при скорости не более 8 км/ч | 1000 x 400 |
при скорости от 8 до 16 км/ч | 1200 x 400 |
при скорости более 16 км/ч | 1300 +/- 400 |
Длина и ширина беговой поверхности для беговых дорожек с ручным приводом, мм, не более | - | 1000 +/- 400 |
Минимальная скорость, км/ч | 0,5 | 2 |
Шаг изменения скорости, км/ч | 0,1 | 0,5 |
<*> Допустимая величина погрешности времени для беговых дорожек класса B с механическим таймером 5%. |
6.13.2 Дополнительные требования к беговым дорожкам класса C приведены в таблице 2.
Таблица 2
Дополнительные требования к беговым дорожкам класса C
Дополнительное требование | Класс C |
Погрешность | времени, % | |
дистанции, % | |
скорости, % |
подъема, % | |
Длина и ширина беговой поверхности для беговых дорожек с приводом от двигателя, мм, не более | 1000 x 325 |
Длина и ширина беговой поверхности для беговых дорожек с ручным приводом, мм, не более |
Минимальная скорость, км/ч | 3 |
<*> При наличии соответствующей функции. |
6.13.3 Изменения высоты бегового полотна H%, %, рассчитывают по формуле

(1)
где A - длина проекции бегового полотна на вертикальную ось (см. рисунок 3), мм;
B - длина проекции бегового полотна на горизонтальную ось (см. рисунок 3), мм.
Рисунок 3 - Проекции бегового полотна на вертикальную
и горизонтальную оси
6.14 Погрешности показаний времени, скорости и расстояния
6.14.1 Погрешности показаний времени, скорости и расстояния должны соответствовать требованиям, приведенным в
таблицах 1 и
2.
6.14.2 Оценку погрешности показаний времени, скорости и расстояния проводят по
приложению И.
| | ИС МЕГАНОРМ: примечание. Нумерация разделов дана в соответствии с официальным текстом документа. | |
6.1 Требования безопасности в соответствии с
разделом 5 проверяют органолептическими или инструментальными методами.
6.2 Испытание элементов трансмиссии и вращающихся частей на застревание - по
приложению А.
6.5 Определение разрывной нагрузки на тросы, ремни и цепи - по
приложению Г.
6.7 Испытание передней рукоятки и/или боковых поручней - по
приложению Е.
6.9 Оценка погрешности показаний времени, скорости и расстояния - по
приложению И.
6.10 По результатам испытаний оформляют отчет или протокол.
7. Инструкция по эксплуатации
7.1 В дополнение к требованиям
ГОСТ Р 56445 производитель обязан предоставить инструкцию по эксплуатации беговой дорожки.
7.2 Инструкция по эксплуатации должна содержать следующую информацию:
- максимальный вес пользователя;
- описание метода защиты от случайного включения;
- процедуру схождения с полотна (при необходимости);
- функции аварийной остановки;
- размер зоны безопасности 2000 x 1000 мм позади тренажера.
(обязательное)
ИСПЫТАНИЕ ЭЛЕМЕНТОВ ТРАНСМИССИИ И ВРАЩАЮЩИХСЯ ЧАСТЕЙ
НА ЗАСТРЕВАНИЕ
А.1 Сущность метода
Испытательный штифт подносят к тяговому механизму во всех точках.
Испытательный штифт не должен застревать.
А.2 Испытательное устройство
А.3 Процедура
Испытательный штифт подносят к тяговому механизму во всех точках.
Испытательный штифт не должен застревать между задним роликом и беговой поверхностью.
Величина зазора между краем беговой дорожки и задним роликом в любых условиях эксплуатации должна быть не менее 10 мм.
(обязательное)
ИСПЫТАНИЯ ТЕМПЕРАТУРНОГО РЕЖИМА
Б.1 Сущность метода
Во время проведения испытаний измеряют температуру доступных элементов беговой дорожки.
Б.2 Измерительное устройство
Для измерения температуры доступных элементов беговой дорожки применяют контактный термометр диапазоном измерения 0 - 100 °C.
Б.3 Процедура
Во время испытаний измеряют температуру доступных элементов беговой дорожки.
Для беговых дорожек класса H измерения проводят через 30 мин после начала испытаний.
Для беговых дорожек класса S измерения проводят через 60 мин после начала испытаний.
Температура доступных элементов беговой дорожки должна быть не более 65 °C.
(обязательное)
ИСПЫТАНИЕ НА УСТОЙЧИВОСТЬ
В.1 Сущность метода
Испытание проводят с участием испытателя, который должен бежать со скоростью 8 - 10 км/ч.
В.2 Устройство нагружения
Испытатель в защитном костюме весом (100 +/- 5) кг.
В.3 Процедура
Во время проведения испытаний испытатель бежит со скоростью 8 - 10 км/ч с вариативным наклоном бегового полотна:
- при +10° и -10° в направлении движения;
- при 5° в остальных направлениях.
Определяют возможность схождения испытателя с беговой дорожки с использованием передней рукоятки и платформ для ног на плоской поверхности с максимальным наклоном беговой дорожки на скорости 8 - 10 км/ч или на максимальной скорости.
При испытании беговая дорожка не должна опрокидываться.
(обязательное)
ОПРЕДЕЛЕНИЕ РАЗРЫВНОЙ НАГРУЗКИ НА ТРОСЫ, РЕМНИ И ЦЕПИ
Г.1 Сущность метода
Помещают испытательный груз на середине беговой поверхности с центром на расстоянии 66% от заднего конца беговой поверхности.
При наличии функции подъема полотна помещают груз в верхнем, среднем и нижнем положениях полотна.
Испытания проводят в течение 1 мин.
После испытания беговая дорожка должна функционировать в обычном режиме в соответствии с информацией производителя.
Г.2 Устройство нагружения
Устройство нагружения должно обеспечивать:
- четырехкратную массу тела (100 кг) для беговых дорожек класса H;
- шестикратную массу тела (100 кг) для беговых дорожек класса S.
Г.3 Процедура
Помещают испытательный груз на площадке размером 300 x 300 мм в середине беговой поверхности с центром на расстоянии 66% от заднего конца беговой поверхности.
Беговую поверхность можно зафиксировать.
Испытания проводят в течение 1 мин.
Беговую дорожку тестируют в минимальном, среднем и максимальном положении по шкале изменения высоты, если эта функция присутствует.
После испытания беговая дорожка должна функционировать в обычном режиме в соответствии с информацией производителя.
(обязательное)
ИСПЫТАНИЯ НА ИЗНОСОСТОЙКОСТЬ
Д.1 Сущность метода
Бросают покрышку на продольную ось беговой поверхности на уровне 66% от заднего конца беговой поверхности. Высота падения покрышки - 10 мм. Частота бросания - не менее 30 раз/мин.
Д.2 Испытательное устройство
Автомобильная покрышка 155/13 согласно рисунку Д.1 с давлением 1,5 атм общей массой 75 кг, включая вес покрышки.
1 - автомобильная покрышка
Рисунок Д.1 - Схема испытательного устройства
Д.3 Процедура
При испытаниях бросают покрышку на продольную ось беговой поверхности на уровне 66% от заднего конца беговой поверхности с высоты 10 мм. Частота бросания - 30 раз/мин.
Количество бросков автомобильной покрышки:
- 12000 раз - для беговых дорожек класса H;
- 100000 раз - для беговых дорожек класса S.
Скорость беговой дорожки:
- 8 км/ч - для беговых дорожек класса H;
- 12 км/ч - для беговых дорожек класса S.
Для беговых дорожек с ручным приводом и системой сопротивления устанавливают скорость беговой дорожки, равную 8 км/ч в зависимости от класса беговой дорожки H или S с 50%-ным сопротивлением +/- 10%.
Если система сопротивления отсутствует, проводят испытания на среднем уровне подъема.
Подготовку и смазку производят в соответствии с инструкцией по эксплуатации.
Если во время испытания появляется вибрация, скорость можно скорректировать в пределах +/- 15% для устранения резонанса.
В процессе испытаний беговая дорожка должна функционировать в соответствии с инструкцией изготовителя.
(обязательное)
ИСПЫТАНИЕ ПЕРЕДНЕЙ РУКОЯТКИ И/ИЛИ БОКОВЫХ ПОРУЧНЕЙ
Е.1 Сущность метода
Прикладывают сосредоточенную вертикальную нагрузку величиной 1000 Н к наиболее неблагоприятному участку поручня или передней рукоятки в течение 5 мин.
Прикладывают сосредоточенную горизонтальную нагрузку величиной 500 Н к наиболее неблагоприятному горизонтальному положению передней рукоятки в течение 5 мин.
При испытании фиксируют величину деформации.
Величина деформации должна быть не более 3%.
Е.2 Устройство нагружения
Устройство нагружения должно обеспечивать сосредоточенную вертикальную нагрузку величиной 1000 Н с помощью ремня шириной (80 +/- 5) мм в течение 5 мин.
Устройство нагружения должно обеспечивать сосредоточенную горизонтальную нагрузку величиной 500 Н с помощью ремня шириной (80 +/- 5) мм в течение 5 мин.
Е.3 Процедура
Прикладывают сосредоточенную вертикальную нагрузку величиной 1000 Н в наиболее уязвимом участке поручня или передней рукоятки с помощью ремня шириной (80 +/- 5) мм в течение 5 мин.
Затем прикладывают сосредоточенную горизонтальную нагрузку величиной 500 Н с помощью ремня шириной (80 +/- 5) мм в том же положении, что и при вертикальном нагружении, но в наиболее неблагоприятном горизонтальном положении передней рукоятки в течение 5 мин.
Величина деформации поручней или передней рукоятки должна быть не более 3%.
(обязательное)
ИСПЫТАНИЕ ПЛАТФОРМ ДЛЯ НОГ
Ж.1 Сущность метода
Прикладывают сосредоточенную вертикальную нагрузку величиной 2000 Н с помощью испытательного бруса к середине поверхности платформы для ног в течение 5 мин и определяют величину деформации.
Величина деформации должна быть не более 3%.
Ж.2 Устройство нагружения
Устройство нагружения должно обеспечивать сосредоточенную вертикальную нагрузку величиной 2000 Н с помощью испытательного бруса в течение 5 мин.
Ж.3 Процедура
Прикладывают сосредоточенную вертикальную нагрузку величиной 2000 Н к середине нескользящей поверхности платформы в течение 5 мин и определяют величину деформации.
Величина деформации платформы для ног должна быть не более 3%.
(обязательное)
ОЦЕНКА ПОГРЕШНОСТИ ПОКАЗАНИЙ ВРЕМЕНИ, СКОРОСТИ И РАССТОЯНИЯ
И.1 Сущность метода
Оценивают погрешности показаний времени, скорости и расстояния.
И.2 Аппаратура
Часы механические или электрические.
И.3 Процедура
Определение погрешности показаний скорости производят без нагрузки при минимальной, средней и максимальной скоростях.
Беговые дорожки с ручным приводом приводят в движение с помощью колеса на скорости 8 км/ч для снятия точных показаний.
Погрешность показаний времени проверяют на протяжении 30 мин.