Главная // Актуальные документы // ГОСТ Р (Государственный стандарт)
СПРАВКА
Источник публикации
М.: Стандартинформ, 2015
Примечание к документу
Документ введен в действие с 1 июля 2016 года.
Название документа
"ГОСТ Р 56437-2015. Национальный стандарт Российской Федерации. Оборудование гимнастическое. Батуты. Функциональные требования, требования безопасности и методы испытаний"
(утв. и введен в действие Приказом Росстандарта от 15.06.2015 N 655-ст)

"ГОСТ Р 56437-2015. Национальный стандарт Российской Федерации. Оборудование гимнастическое. Батуты. Функциональные требования, требования безопасности и методы испытаний"
(утв. и введен в действие Приказом Росстандарта от 15.06.2015 N 655-ст)


Содержание


Утвержден и введен в действие
Приказом Федерального
агентства по техническому
регулированию и метрологии
от 15 июня 2015 г. N 655-ст
НАЦИОНАЛЬНЫЙ СТАНДАРТ РОССИЙСКОЙ ФЕДЕРАЦИИ
ОБОРУДОВАНИЕ ГИМНАСТИЧЕСКОЕ
БАТУТЫ
ФУНКЦИОНАЛЬНЫЕ ТРЕБОВАНИЯ, ТРЕБОВАНИЯ БЕЗОПАСНОСТИ
И МЕТОДЫ ИСПЫТАНИЙ
Gymnastic equipment. Trampolines. Functional requirements,
safety requirements and test methods
EN 13219:2009
(NEQ)
ГОСТ Р 56437-2015
ОКС 97.220.30
Дата введения
1 июля 2016 года
Предисловие
1 РАЗРАБОТАН Саморегулируемой организацией Некоммерческим партнерством "Отраслевое объединение национальных производителей в сфере физической культуры и спорта "Промспорт" (СРО "Промспорт")
2 ВНЕСЕН Техническим комитетом по стандартизации ТК 444 "Спортивные и туристские изделия, оборудование, инвентарь, физкультурные и спортивные услуги"
3 УТВЕРЖДЕН И ВВЕДЕН В ДЕЙСТВИЕ Приказом Федерального агентства по техническому регулированию и метрологии от 15 июня 2015 г. N 655-ст
4 Настоящий стандарт разработан с учетом основных нормативных положений европейского регионального стандарта ЕН 13219:2009 "Оборудование гимнастическое. Батуты. Функциональные требования, требования безопасности и методы испытаний" (EN 13219:2009 "Gymnastic equipment - Trampolines - Functional and safety requirements, test methods", NEQ)
5 ВВЕДЕН ВПЕРВЫЕ
Правила применения настоящего стандарта установлены в ГОСТ Р 1.0-2012 (раздел 8). Информация об изменениях к настоящему стандарту публикуется в ежегодном (по состоянию на 1 января текущего года) информационном указателе "Национальные стандарты", а официальный текст изменений и поправок - в ежемесячном информационном указателе "Национальные стандарты". В случае пересмотра (замены) или отмены настоящего стандарта соответствующее уведомление будет опубликовано в ближайшем выпуске ежемесячного информационного указателя "Национальные стандарты". Соответствующая информация, уведомление и тексты размещаются также в информационной системе общего пользования - на официальном сайте Федерального агентства по техническому регулированию и метрологии в сети Интернет (www.gost.ru)
1. Область применения
Настоящий стандарт распространяется на батуты, используемые под руководством компетентного лица.
Стандарт устанавливает функциональные требования, требования безопасности и методы испытаний батутов пяти классов.
Требования настоящего стандарта не распространяются на батутные дорожки для акробатики, батуты и мини-батуты для домашнего использования и инвентарь для прыжков на батуте.
2. Нормативные ссылки
В настоящем стандарте использована нормативная ссылка на следующий стандарт:
ГОСТ Р 56446-2015 Оборудование гимнастическое. Общие требования безопасности и методы испытаний
Примечание - При пользовании настоящим стандартом целесообразно проверить действие ссылочных стандартов в информационной системе общего пользования - на официальном сайте Федерального агентства по техническому регулированию и метрологии в сети Интернет или по ежегодному информационному указателю "Национальные стандарты", который опубликован по состоянию на 1 января текущего года, и по выпускам ежемесячного информационного указателя "Национальные стандарты" за текущий год. Если заменен ссылочный стандарт, на который дана недатированная ссылка, то рекомендуется использовать действующую версию этого стандарта с учетом всех внесенных в данную версию изменений. Если заменен ссылочный стандарт, на который дана датированная ссылка, то рекомендуется использовать версию этого стандарта с указанным выше годом утверждения (принятия). Если после утверждения настоящего стандарта в ссылочный стандарт, на который дана датированная ссылка, внесено изменение, затрагивающее положение, на которое дана ссылка, то это положение рекомендуется применять без учета данного изменения. Если ссылочный стандарт отменен без замены, то положение, в котором дана ссылка на него, рекомендуется применять в части, не затрагивающей эту ссылку.
3. Требования
3.1 Функциональные требования
3.1.1 Классификация батутов
Классификация батутов по классам приведена в таблице 1.
Таблица 1
Классификация батутов
Класс
Наименование оборудования
Рисунок
1
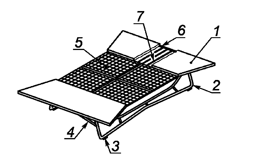
Батут
1 - защитная крышка рамы и натяжной части; 2 - натяжная рама; 3 - ножка; 4 - защита от скольжения; 5 - прыжковое полотно; 6 - натяжное устройство
2
Мини-батут с закрытой рамой
1 - защитная крышка рамы и натяжной части; 2 - натяжная рама; 3 - ножка; 4 - устройство для регулировки по высоте; 5 - защита от скольжения; 6 - прыжковое полотно; 7 - натяжное устройство
3
Мини-батут с открытой рамой
1 - защитная крышка рамы и натяжной части; 2 - ножка; 3 - защита от скольжения; 4 - устройство для регулировки по высоте; 5 - прыжковое полотно; 6 - натяжная рама; 7 - натяжное устройство
4
Двойной мини-батут
1 - защитная крышка рамы и натяжной части; 2 - ножка; 3 - защита от скольжения; 4 - прыжковое полотно; 5 - натяжное устройство; 6 - натяжная рама
5
Напольный батут
1 - защитная крышка рамы и натяжной части; 2 - натяжная рама; 3 - прыжковое полотно; 4 - натяжное устройство; 5 - короб
3.1.2 Размеры батутов
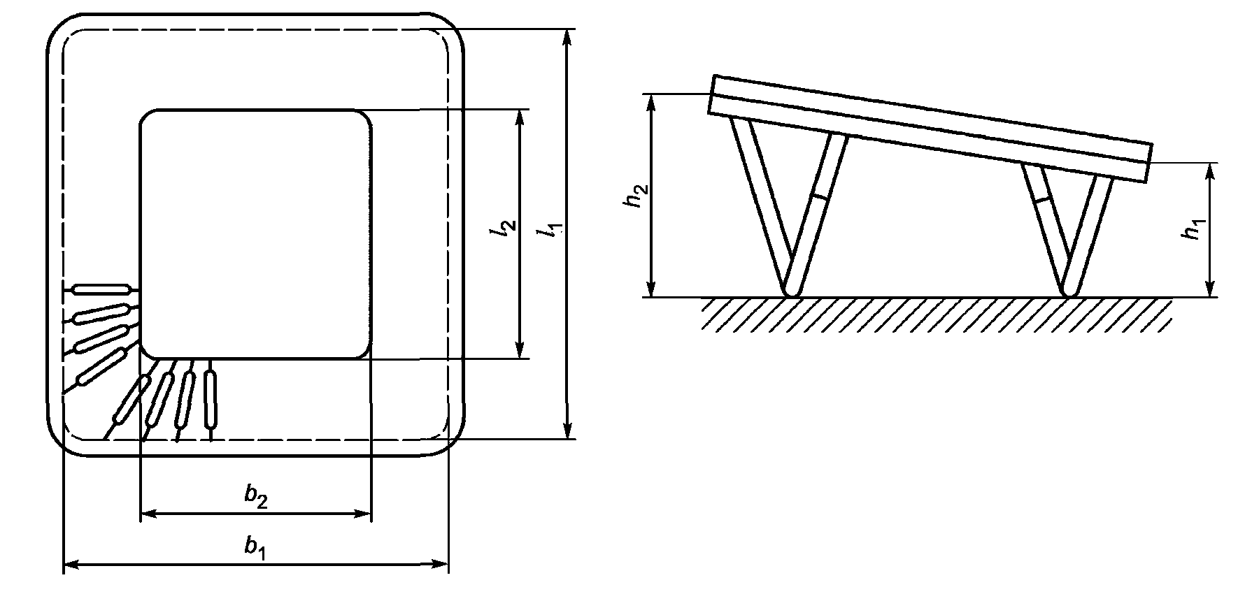
3.1.2.1 Размеры батутов класса 1 представлены на рисунке 1 и в таблице 2.
Рисунок 1 - Размеры батутов класса 1
Таблица 2
Размеры батутов класса 1
Размеры в миллиметрах
Типоразмер
Рама
Прыжковое полотно
Длина l1
Длина l2
Ширина b1
Ширина b2
Высота просвета h
1
4990 - 5110
4220 - 2960
2860 - 2960
2090 - 2190
995 - 1160
2
4390 - 1510
3540 - 3660
2580 - 2680
1800 - 1860
995 - 1050
3
3490 - 3610
2840 - 2960
2780 - 2880
1470 - 1530
800 - 950
Примечание - В соответствии с правилами Международной федерации гимнастики для международных соревнований используют батуты класса 1, высота просвета h под прыжковым полотном которых составляет (1155 +/- 5) мм.
3.1.2.2 Размеры батутов класса 2 представлены на рисунке 2 и в таблице 3.
Рисунок 2 - Размеры батутов класса 2
Таблица 3
Размеры батутов класса 2
Размеры в миллиметрах
Типоразмер
Рама
Прыжковое полотно
Длина l1
Ширина b1
Высота h1
Высота h2
Длина l2
Ширина b2
1
1080 - 1270
300 - 395
395 - 560
580 - 720
2
650 - 750
200 - 300
410 - 450
3.1.2.3 Размеры батутов класса 3 представлены на рисунке 3 и в таблице 4.
Рисунок 3 - Размеры батутов класса 3
Таблица 4
Размеры батутов класса 3
Размеры в миллиметрах
Рама
Прыжковое полотно
Длина l1
Ширина b1
Высота h1
Высота h2
Длина l2
Ширина b2
1080 - 1270
300 - 395
600 - 700
680 - 720
580 - 620
3.1.2.4 Размеры батутов класса 4 представлены на рисунке 4 и в таблице 5.
Рисунок 4 - Размеры батутов класса 4
Таблица 5
Размеры батутов класса 4
Размеры в миллиметрах
Рама
Прыжковое полотно
Длина l1
Ширина b1
Высота h1
Высота h2
Длина l2
Ширина b2
3400 - 3600
1550 - 1950
360 - 550
600 - 800
2800 - 2900
710 - 930
Примечание - В соответствии с правилами Международной федерации гимнастики для международных соревнований используют батуты класса 4, ширина полотна b2 которых составляет (920 +/- 10) мм.
3.1.2.5 Размеры батутов класса 5 представлены на рисунке 5 и в таблице 6.
Рисунок 5 - Размеры батутов класса 5
Таблица 6
Размеры батутов класса 5
Размеры в миллиметрах
Типоразмер
Короб
Прыжковое полотно
Глубина короба h, не менее
Длина l1
Ширина b1
Длина l2
Ширина b2
1
4990 - 5110
2860 - 2960
4220 - 4340
2090 - 2190
995
2
4390 - 4510
2580 - 2680
3540 - 3660
1800 - 1860
950
3
3490 - 3610
2780 - 2880
2840 - 2960
1470 - 1530
800
3.1.3 Материалы
3.1.3.1 Рама и приспособление для хранения и транспортирования батута должны быть изготовлены из стали или алюминиевого сплава.
3.1.3.2 Сталь должна быть защищена от коррозии (например, горячим цинкованием, порошковым покрытием или краской).
3.1.3.3 Прыжковое полотно должно быть изготовлено из синтетических химических волокон.
3.2 Требования безопасности
3.2.1 Общие требования
Батуты классов 1 - 5 должны соответствовать общим требованиям безопасности, установленным в ГОСТ Р 56446.
3.2.2 Места застревания
Места, представляющие собой потенциальную опасность застревания, раздавливания (например, в зоне шарниров) или получения ссадины при монтаже или демонтаже батутов, должны иметь предупредительную маркировку.
3.2.3 Прочность конструкции батута
При испытаниях по приложению А после снятия нагрузки на конструкции батута не должно быть повреждений, в т.ч. трещин, поломок, чрезмерных остаточных деформаций, ослабления соединений и связей.
3.2.4 Устойчивость и защита от скольжения
По приложению Б батуты классов 1 - 4 не должны опрокидываться, падать или скользить при приложении сосредоточенной горизонтальной нагрузки, значение которой составляет 50% собственного веса батута, со скоростью 10 мм/с.
3.2.5 Прыжковое полотно
3.2.5.1 В прыжковом полотне, которое изготовлено из тканевых ремней, ремни должны быть сшиты друг с другом, чтобы предотвратить их смещение при эксплуатации.
3.2.5.2 Расстояние между двумя ремнями прыжкового полотна не более 16 мм.
3.2.5.3 Маркировка прыжкового полотна
Батуты класса 1 типоразмера 1 должны иметь выделяющуюся маркировку середины прыжкового полотна красным цветом длиной (2150 +/- 40) мм и шириной (1080 +/- 40) мм.
Центр прыжкового полотна должен быть указан крестом красного цвета размерами (700 +/- 30) мм.
Батуты класса 1 типоразмеров 2 и 3 должны иметь центральную линию по всей длине в обоих направлениях, отмеченную выделяющимся цветом.
Батуты класса 2 должны иметь маркировку середины (круг или крест).
Батуты класса 3 должны иметь центральную линию в обоих направлениях по всей длине.
Батуты класса 4 должны иметь отчетливые отметки зоны прыжка путем маркировки:
- кромок размерами (130 +/- 20) мм;
- центральной зоны размерами (390 +/- 10) мм;
- промежутка центральной зоны от конца рамы размерами (900 +/- 20) мм.
Батуты класса 5 должны иметь либо маркировку середины (круг или крест), либо выделяющуюся маркировку середины прыжкового полотна красным цветом длиной (2150 +/- 40) мм и шириной (1080 +/- 40) мм.
3.2.6 Свободное пространство под прыжковым полотном
3.2.6.1 В свободном месте под прыжковым полотном не должно быть препятствий при использовании.
3.2.6.2 При проверке по приложению А прыжковое полотно не должно соприкасаться с какой-либо частью нижней стороны батута.
3.2.7 Упругость прыжкового полотна
3.2.7.1 Устройство натяжения прыжкового полотна должно обеспечить симметричную упругую реакцию.
3.2.7.2 При испытаниях по приложению А смещение f должно быть не более 80% высоты положения центра прыжкового полотна в исходном положении.
3.2.7.3 Прыжковое полотно после снятия нагрузки должно возвращаться в исходное положение.
3.2.8 Защитная крышка рамы и натяжной части
3.2.8.1 В батутах всех классов натяжная рама и натяжное устройство должны быть закрыты амортизирующей защитной крышкой.
3.2.8.2 Оценку демпфирующих свойств прыжкового полотна выполняют для батутов всех классов и типоразмеров.
3.2.8.3 При испытаниях демпфирующих свойств в соответствии с ГОСТ Р 56446 (подраздел 5.5) ускорение должно быть не более 500 м/с2.
3.2.8.4 Защитная крышка должна выделяться по цвету на фоне прыжкового полотна и должна быть надежно закреплена.
3.2.8.5 Для батутов классов 1 и 5 защитная крышка при проверке жесткости по приложению В не должна оседать.
3.2.9 Условия хранения и транспортирования
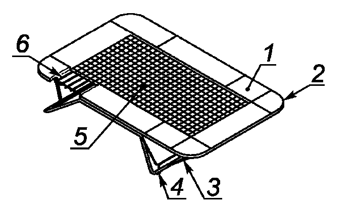
3.2.9.1 Батуты классов 1 и 4 следует поставлять с соответствующим приспособлением для хранения и транспортирования. Пример подобного устройства приведен на рисунке 6.
Рисунок 6 - Пример приспособления для хранения
и транспортирования батутов классов 1 и 4
3.2.9.2 Приспособление для хранения и транспортирования должно удерживать батут при хранении и во время транспортирования в безопасном положении, легко сниматься с батута, не мешать раме батута и не влиять на свободное пространство под прыжковым полотном при использовании батута.
4. Методы испытаний
4.1 Требования, изложенные в 3.2, проверяют визуальными, органолептическими и инструментальными методами.
4.2 Перед проведением испытаний батуты выдерживают в соответствии с указаниями изготовителя в течение не менее 24 ч в рабочем положении.
4.3 Определение упругости прыжкового полотна и прочности конструкции батута - по приложению А.
4.4 Оценка устойчивости и отсутствия скольжения - по приложению Б.
ИС МЕГАНОРМ: примечание.
В официальном тексте документа, видимо, допущена опечатка: имеется в виду ГОСТ Р 56446, а не ГОСТ Р 56466.
4.5 Оценка демпфирующих свойств прыжкового полотна - по ГОСТ Р 56466 (приложение В).
4.6 Оценка жесткости защитной крышки рамы и натяжной части батута - по приложению В.
4.7 По результатам проведения испытаний оформляют протокол или отчет.
5. Инструкция по применению
Инструкция по применению должна содержать следующую информацию:
- описание сборки оборудования и регулировочных приспособлений;
- описание транспортирования и хранения оборудования;
- рекомендации изготовителя относительно размеров площадки, требуемой для установки оборудования;
- описание технического обслуживания оборудования;
- предупреждение о том, что оборудование следует использовать под контролем;
- предупреждение о том, что одновременно оборудование может быть использовано только одним пользователем.
6. Маркировка батутов
Все батуты должны иметь следующую маркировку:
- наименование и товарный знак изготовителя;
- год изготовления;
- количество пользователей, на которое рассчитан батут;
- класс и типоразмер батута.
Приложение А
(обязательное)
ОПРЕДЕЛЕНИЕ УПРУГОСТИ ПРЫЖКОВОГО ПОЛОТНА
И ПРОЧНОСТИ КОНСТРУКЦИИ БАТУТА
А.1 Сущность метода
В центре зоны (зон) прыжков прикладывают в течение (65 +/- 5) с статическую, направленную вниз вертикальную нагрузку в соответствии с таблицей А.1 и определяют значение смещения в виде процентной доли по отношению к высоте центра прыжкового полотна в исходном положении.
Таблица А.1
Коэффициенты и значения испытательной нагрузки
Класс
Масса тела mb, кг
Динамический коэффициент Cd
Коэффициент безопасности S
Испытательная нагрузка Ft, H
1 и 5
95
2,5
2
4750
2 - 4
1,5
3550
Примечание - Значения испытательных нагрузок для батутов классов 1 - 5 рассчитаны по ГОСТ Р 56446 (формула Б.1, приложение Б).
После снятия нагрузки на конструкции батута не должно быть повреждений, в т.ч. трещин, поломок, чрезмерных остаточных деформаций, ослабления соединений и связей.
А.2 Устройство нагружения
Для нагружения используют испытательную плиту диаметром (200 +/- 5) мм и толщиной (10 +/- 1) мм. Радиус закругления нижних кромок испытательной плиты не менее 3 мм.
Устройство нагружения должно обеспечивать статическую вертикальную нагрузку. Значение испытательной нагрузки Ft определяют по таблице А.1.
А.3 Процедура
А.3.1 Испытательную нагрузку Ft прикладывают сверху в центре зоны (зон) прыжков, как показано на рисунке А.1, и выдерживают в течение (65 +/- 5) с.
Рисунок А.1 - Схема приложения испытательной нагрузки Ft
при определении упругости прыжкового полотна батута
А.3.2 После снятия испытательной нагрузки определяют значение смещения f в виде процентной доли по отношению к высоте центра прыжкового полотна в исходном положении.
После снятия нагрузки на конструкции батута не должно быть повреждений, в т.ч. трещин, поломок, чрезмерных остаточных деформаций, ослабления соединений и связей. Отсутствие вышеперечисленных повреждений свидетельствует о прочности конструкции батута.
Приложение Б
(обязательное)
ОЦЕНКА УСТОЙЧИВОСТИ И СКОЛЬЖЕНИЯ
Б.1 Сущность метода
К батуту прикладывают сосредоточенную горизонтальную нагрузку, равную 50% собственного веса, и перемещают его с помощью троса со скоростью 10 мм/с. Регистрируют опрокидывание, падение или скольжение батута.
Б.2 Аппаратура
Б.2.1 Тяговое приспособление - трос закрепляемый по углам батута.
Б.2.2 Алюминиевая плита со среднеарифметической высотой микронеровностей Ra от 0,4 до 0,8 мкм.
Б.3 Процедура
При наличии регулировки по высоте со стороны приложения нагрузки батут устанавливают на максимальную высоту, а с противоположной стороны - на минимальную высоту.
Батут устанавливают на алюминиевую плиту.
К передним углам батута прикрепляют трос. Сосредоточенную горизонтальную нагрузку F, значение которой составляет 50% собственного веса батута, прикладывают к середине троса со скоростью 10 мм/с, как показано на рисунке Б.1.
Рисунок Б.1 - Схема приложения сосредоточенной
горизонтальной нагрузки при оценке устойчивости
и скольжения батута
При проведении испытаний регистрируют каждое опрокидывание, падение или скольжение батута.
Приложение В
(обязательное)
ОЦЕНКА ЖЕСТКОСТИ ЗАЩИТНОЙ КРЫШКИ РАМЫ
И НАТЯЖНОЙ ЧАСТИ БАТУТА
В.1 Сущность метода
К защитной крышке рамы и натяжной части прикладывают сосредоточенную вертикальную нагрузку, равную (950 +/- 30) Н, в течение (65 +/- 5) с.
Во время приложения нагрузки визуальным путем устанавливают, оседает ли защитная крышка.
В.2 Устройство нагружения
Для нагружения используют испытательную плиту диаметром (200 +/- 5) мм и толщиной (10 +/- 1) мм. Радиус закругления нижних кромок плиты не менее 3 мм.
Устройство нагружения должно обеспечивать сосредоточенную вертикальную нагрузку F, равную (950 +/- 30) Н, в течение (65 +/- 5) с.
В.3 Проведение испытаний
Испытания проводят в углу батута, как показано на рисунке В.1.
1 - место испытания; 2 - натяжная рама; 3 - защитная крышка
рамы и натяжной части
Рисунок В.1 - Схема приложения нагрузки при оценке жесткости
защитной крышки рамы и натяжной части батута
Испытательную плиту кладут в месте соединения прыжкового полотна и рамы, и к ней в течение (65 +/- 5) с прикладывают сосредоточенную вертикальную нагрузку, равную (950 +/- 30) Н.
Во время проведения испытаний визуальным путем регистрируют оседание задней крышки.