Главная // Актуальные документы // ГОСТ Р (Государственный стандарт)
СПРАВКА
Источник публикации
М.: Стандартинформ, 2016
Примечание к документу
Документ введен в действие с 01.07.2016.
Название документа
"ГОСТ Р 56436-2015. Национальный стандарт Российской Федерации. Оборудование гимнастическое. Кольца. Функциональные требования, требования безопасности и методы испытаний"
(утв. и введен в действие Приказом Росстандарта от 15.06.2015 N 654-ст)

"ГОСТ Р 56436-2015. Национальный стандарт Российской Федерации. Оборудование гимнастическое. Кольца. Функциональные требования, требования безопасности и методы испытаний"
(утв. и введен в действие Приказом Росстандарта от 15.06.2015 N 654-ст)


Содержание


Утвержден и введен в действие
Приказом Федерального агентства
по техническому регулированию
и метрологии
от 15 июня 2015 г. N 654-ст
НАЦИОНАЛЬНЫЙ СТАНДАРТ РОССИЙСКОЙ ФЕДЕРАЦИИ
ОБОРУДОВАНИЕ ГИМНАСТИЧЕСКОЕ
КОЛЬЦА
ФУНКЦИОНАЛЬНЫЕ ТРЕБОВАНИЯ, ТРЕБОВАНИЯ БЕЗОПАСНОСТИ
И МЕТОДЫ ИСПЫТАНИЙ
Gymnastic equipment. Rings. Functional requirements, safety
requirements and test methods
EN 12655:1998
(NEQ)
ГОСТ Р 56436-2015
ОКС 97.220.30
Дата введения
1 июля 2016 года
Предисловие
1 РАЗРАБОТАН Саморегулируемой организацией Некоммерческим партнерством "Отраслевое объединение национальных производителей в сфере физической культуры и спорта "Промспорт" (СРО "Промспорт")
2 ВНЕСЕН Техническим комитетом по стандартизации ТК 444 "Спортивные и туристские изделия, оборудование, инвентарь, физкультурные и спортивные услуги"
3 УТВЕРЖДЕН И ВВЕДЕН В ДЕЙСТВИЕ Приказом Федерального агентства по техническому регулированию и метрологии от 15 июня 2015 г. N 654-ст
4 Настоящий стандарт разработан с учетом основных нормативных положений европейского регионального стандарта ЕН 12655:1998 "Оборудование гимнастическое. Кольца. Функциональные требования, требования безопасности и методы испытаний" (EN 12655:1998 "Gymnastic equipment - Rings - Functional and safety requirements, test methods", NEQ)
5 ВВЕДЕН ВПЕРВЫЕ
Правила применения настоящего стандарта установлены в ГОСТ Р 1.0-2012 (раздел 8). Информация об изменениях к настоящему стандарту публикуется в ежегодном (по состоянию на 1 января текущего года) информационном указателе "Национальные стандарты", а официальный текст изменений и поправок - в ежемесячном информационном указателе "Национальные стандарты". В случае пересмотра (замены) или отмены настоящего стандарта соответствующее уведомление будет опубликовано в ближайшем выпуске ежемесячного информационного указателя "Национальные стандарты". Соответствующая информация, уведомление и тексты размещаются также в информационной системе общего пользования - на официальном сайте Федерального агентства по техническому регулированию и метрологии в сети Интернет (www.gost.ru)
1 Область применения
Настоящий стандарт распространяется на гимнастические кольца и устанавливает функциональные требования, требования безопасности и методы испытаний гимнастических колец.
2 Нормативные ссылки
В настоящем стандарте использована нормативная ссылка на следующий стандарт:
ГОСТ Р 56446-2015 Оборудование гимнастическое. Общие требования безопасности и методы испытаний
Примечание - При пользовании настоящим стандартом целесообразно проверить действие ссылочных стандартов в информационной системе общего пользования - на официальном сайте Федерального агентства по техническому регулированию и метрологии в сети Интернет или по ежегодному информационному указателю "Национальные стандарты", который опубликован по состоянию на 1 января текущего года, и по выпускам ежемесячного информационного указателя "Национальные стандарты" за текущий год. Если заменен ссылочный стандарт, на который дана недатированная ссылка, то рекомендуется использовать действующую версию этого стандарта с учетом всех внесенных в данную версию изменений. Если заменен ссылочный стандарт, на который дана датированная ссылка, то рекомендуется использовать версию этого стандарта с указанным выше годом утверждения (принятия). Если после утверждения настоящего стандарта в ссылочный стандарт, на который дана датированная ссылка, внесено изменение, затрагивающее положение, на который дана ссылка, то это положение рекомендуется применять без учета данного изменения. Если ссылочный стандарт отменен без замены, то положение, в котором дана ссылка на него, рекомендуется применять в части, не затрагивающей эту ссылку.
3 Требования
3.1 Функциональные требования
3.1.1 Классификация гимнастических колец
Классификация гимнастических колец по типам приведена в таблице 1.
Таблица 1
Классификация гимнастических колец по типам
Тип
Рисунок
Описание оборудования
1
Комплект гимнастических колец фиксированной высоты
2
Комплект гимнастических колец с регулированием по высоте
3
Комплект вращающихся гимнастических колец с регулированием по высоте
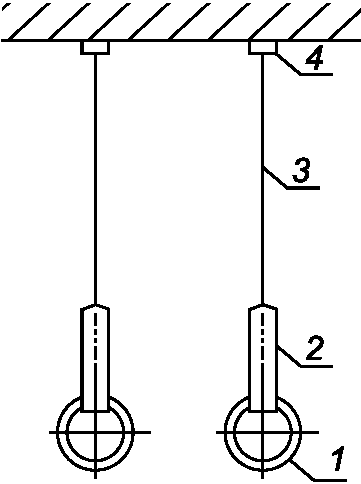
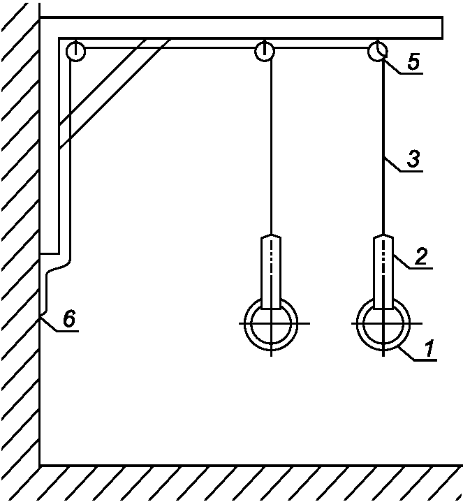
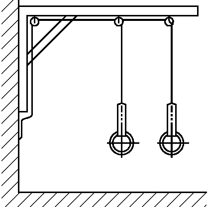
3.1.2 Элементы конструкции гимнастических колец
Элементы конструкции гимнастических колец приведены на рисунке 1.
а) кольца типа 1
б) кольца типа 2
в) кольца типа 3
1 - кольца; 2 - лямки; 3 - трос; 4 - шарнирное крепление;
5 - механизм вращения; 6 - точка фиксации отрегулированной
высоты
Рисунок 1 - Элементы конструкции гимнастических колец
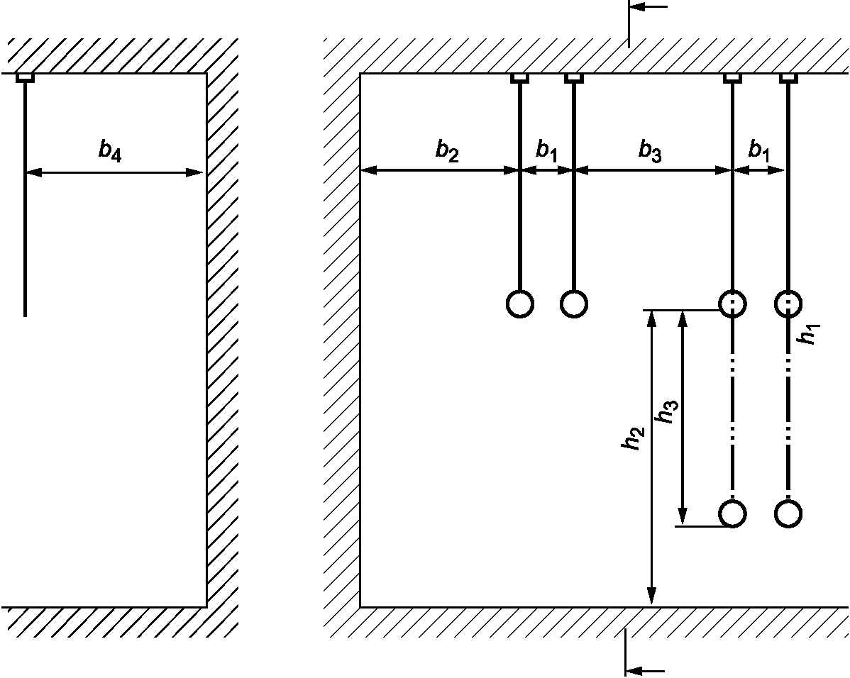
3.1.3 Размеры гимнастических колец
Размеры гимнастических колец должны соответствовать приведенным на рисунке 2.
Рисунок 2 - Размеры гимнастического кольца
3.1.4 Установочные размеры для гимнастических колец
Установочные размеры для гимнастических колец приведены на рисунке 3 и в таблице 2.
Рисунок 3 - Установочные размеры для гимнастических колец
Таблица 2
Установочные размеры для гимнастических колец
Тип
h1,
не более
h2,
не более
h3,
не менее
b1,
+/- 5
b2,
не менее
b3,
не менее
b4,
не менее
1
5775
3000
-
500
1500
4000
2
2000
3
5600
10 000
3.1.5 Каждое из гимнастических колец всех типов должно вращаться вокруг собственной вертикальной оси.
3.1.6 Для гимнастических колец типа 3 механизм вращения должен допускать вращение в желаемом направлении.
3.2 Требования безопасности
3.2.1 Конструкция колец должна соответствовать требованиям безопасности ГОСТ Р 56446.
3.2.2 Прочность
3.2.2.1 При испытаниях гимнастических колец типов 1 и 2 на прочность при вертикальном нагружении по приложению А после снятия сосредоточенной вертикальной нагрузки (4540 +/- 50) Н на конструкции колец не должно быть повреждений, в т.ч. трещин, поломок, чрезмерных остаточных деформаций, ослабления соединений и связей.
Примечание - Значение сосредоточенной вертикальной нагрузки рассчитано с учетом требований, приведенных в ГОСТ Р 56446 (приложение Б).
3.2.2.2 При испытаниях гимнастических колец на прочность при горизонтальном нагружении по приложению Б после снятия сосредоточенной горизонтальной нагрузки (775 +/- 50) Н для колец типов 1 и 2 и (2140 +/- 50) Н для колец 3 типа на конструкции колец не должно быть повреждений, в т.ч. трещин, поломок, ослабления соединений и связей, а значение остаточных деформаций должно составлять не более 10 мм.
Примечание - Значение сосредоточенной вертикальной нагрузки рассчитано с учетом требований, приведенных в ГОСТ Р 56446 (приложении Б).
3.2.3 Крепление колец
Для гимнастических колец типов 1 и 2 трос не должен крепиться напрямую к кольцу.
Для гимнастических колец типа 3 трос должен быть плетеным и не должен деформироваться или защемляться.
3.2.4 Высота осей
Для гимнастических колец типа 3 оси механизма вращения должны быть расположены на расстоянии не более 5600 мм над уровнем пола.
3.2.5 Расстояния между комплектами колец
Расстояния b2 и b3 между комплектами гимнастических колец (см. таблицу 2 и рисунок 3) в положении эксплуатации должны быть не менее 1500 мм.
4 Методы испытаний
4.1 Для проверки гимнастических колец на соответствие требованиям безопасности настоящего стандарта применяют визуальные, органолептические и инструментальные методы.
4.2 Оценка прочности конструкции при вертикальном нагружении - по приложению А.
4.3 Оценка прочности конструкции при горизонтальном нагружении - по приложению Б.
4.4 По результатам испытаний оформляют отчет или протокол.
5 Инструкция по эксплуатации
Изготовитель вместе с оборудованием должен предоставить инструкцию по эксплуатации, которая должна содержать следующую информацию:
- тип гимнастических колец в соответствии с таблицей 1;
- подробную инструкцию по сборке и регулировке;
- схему установки оборудования для безопасной эксплуатации.
6 Информационная табличка
Рядом с оборудованием должны быть установлены информационные таблички следующего содержания:
- "Комплект колец предназначен для одновременной эксплуатации только одним пользователем!";
- "Не проводить регулировку во время эксплуатации!".
7 Маркировка
Маркировка оборудования должна соответствовать требованиям ГОСТ Р 56446.
Приложение А
(обязательное)
ОЦЕНКА ПРОЧНОСТИ ГИМНАСТИЧЕСКИХ КОЛЕЦ
ПРИ ВЕРТИКАЛЬНОМ НАГРУЖЕНИИ
А.1 Сущность метода
Испытания на прочность вертикальной нагрузкой проводят для гимнастических колец типов 1 и 2.
К гимнастическим кольцам прикладывают сосредоточенную вертикальную нагрузку в течение (65 +/- 5) с.
После испытаний на конструкции гимнастических колец не должно быть повреждений, в т.ч. трещин, поломок, чрезмерных остаточных деформаций, ослабления соединений и связей.
А.2 Расчет величины испытательной нагрузки
Расчет испытательной нагрузки проводят по ГОСТ Р 56446 (приложение Б).
ИС МЕГАНОРМ: примечание.
Здесь и далее в официальном тексте документа, видимо, допущена опечатка: имеется в виду п. Б.1.1.4 приложения Б ГОСТ Р 56446-2015, а не Б.1.14.
Масса тела mb одного взрослого пользователя по таблице Б.1 ГОСТ Р 56446 составляет 95 кг. Ускорение свободного падения g принимают равным 10 м/с2. Динамический коэффициент Cd, полученный экспериментальным путем, равен 1,5. Коэффициент безопасности в соответствии с ГОСТ Р 56446 (приложение Б, Б.1.14) принимают равным 1,2. Статическая нагрузка Fs и переменная нагрузка Lv равны нулю. Тогда по ГОСТ Р 56446 (формула Б.1 приложения Б):
Ft = 95·10·1,5·1,2 = 1710 Н.
Вертикальный коэффициент нагрузки CV равен 2,653. Тогда с учетом вертикального коэффициента значение испытательной нагрузки:
Fv = 2,653·1710 = 4537 Н.
С учетом округления значение испытательной нагрузки принимают равным 4540 Н.
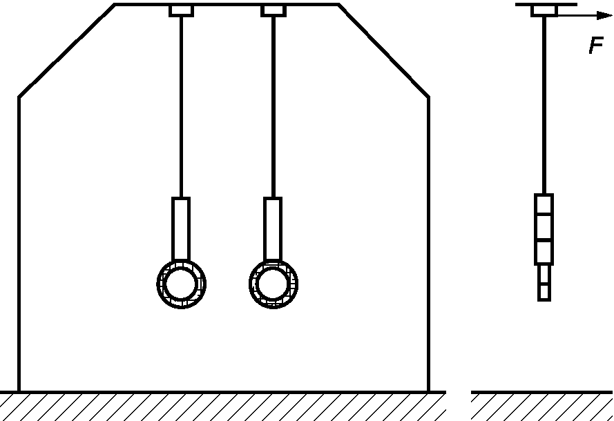
А.3 Устройство нагружения
Нагрузку прикладывают согласно схеме, показанной на рисунке А.1.
Рисунок А.1 - Схема приложения вертикальной сосредоточенной
нагрузки
Устройство нагружения должно обеспечивать сосредоточенную вертикальную нагрузку (4540 +/- 50) Н, прикладываемую, как показано на рисунке А.1.
А.4 Процедура
Прикладывают сосредоточенную вертикальную нагрузку FV (4530 +/- 50) Н к гимнастическим кольцам и выдерживают в течение (65 +/- 5) с.
После снятия нагрузки на конструкции гимнастических колец не должно быть повреждений, в т.ч. трещин, поломок, чрезмерных остаточных деформаций, ослабления соединений и связей.
Приложение Б
(обязательное)
ОЦЕНКА ПРОЧНОСТИ ГИМНАСТИЧЕСКИХ КОЛЕЦ
ПРИ ГОРИЗОНТАЛЬНОМ НАГРУЖЕНИИ
Б.1 Сущность метода
При испытаниях конструкции гимнастических колец на прочность прикладывают сосредоточенную горизонтальную нагрузку к шарнирному креплению колец в течение (65 +/- 5) с.
После снятия нагрузки на конструкции колец не должно быть повреждений, в т.ч. трещин, поломок, ослабления соединений и связей, а значение остаточных деформаций должно составлять не более 10 мм.
Б.2 Расчет испытательной нагрузки
Расчет испытательной нагрузки проводят по ГОСТ Р 56446 (приложение Б).
Масса тела mb одного взрослого пользователя по ГОСТ Р 56446 (таблица Б.1) составляет 95 кг. Ускорение свободного падения g принимают равным 10 м/с2. Динамический коэффициент Cd, полученный экспериментальным путем, равен 1,5. Коэффициент безопасности в соответствии с ГОСТ Р 56446 (приложение Б, Б.1.14) принимают равным 1,2. Статическая нагрузка Fs и переменная нагрузка Lv равны нулю. Тогда по ГОСТ Р 56446 (приложение Б, формуле Б.1):
Ft = 95·10·1,5·1,2 = 1710 Н.
Горизонтальный коэффициент нагрузки CH для гимнастических колец типов 1 и 2 равен 0,453. Тогда с учетом горизонтального коэффициента величина испытательной нагрузки для колец типов 1 и 2:
FH = 0,453·1710 = 775 Н.
Горизонтальный коэффициент нагрузки CH для гимнастических колец типа 3 равен 1,253. Тогда с учетом горизонтального коэффициента значение испытательной нагрузки для гимнастических колец типа 3:
FH = 1,253·1710 = 2143 Н.
С учетом округления значение испытательной нагрузки принимают равным 2140 Н.
Б.3 Устройство нагружения
Для гимнастических колец типов 1 и 2 устройство нагружения должно обеспечивать сосредоточенную горизонтальную нагрузку (775 +/- 50) Н, прикладываемую к шарнирному соединению гимнастических колец, в течение (65 +/- 5) с.
Для гимнастических колец типа 3 устройство нагружения должно обеспечивать сосредоточенную горизонтальную нагрузку (2140 +/- 50) Н, прикладываемую к шарнирному соединению гимнастических колец, в течение (65 +/- 5) с.
Схема приложения нагрузки приведена на рисунке Б.1.
а) Кольца типов 1 и 2
б) Кольца типа 3
Рисунок Б.1 - Схема приложения горизонтальной нагрузки
Б.4 Процедура
К шарнирному креплению гимнастических колец типов 1 и 2 прикладывают сосредоточенную горизонтальную нагрузку (775 +/- 50) Н в течение (65 +/- 5) с.
К шарнирному креплению колец типа 3 прикладывают сосредоточенную горизонтальную нагрузку (2140 +/- 50) Н в течение (65 +/- 5) с.
После снятия нагрузки конструкцию гимнастических колец осматривают.
На конструкции гимнастических колец не должно быть повреждений, в т.ч. трещин, поломок, ослабления соединений и связей.
Регистрируют значения остаточных деформаций более 10 мм.
УДК 796.022:006.354
ОКС 97.220.30
Ключевые слова: оборудование гимнастическое, кольца, функциональные требования, требования безопасности, методы испытания