Главная // Актуальные документы // ГОСТ Р (Государственный стандарт)СПРАВКА
Источник публикации
М.: Стандартинформ, 2019
Примечание к документу
Документ
введен в действие с 01.07.2017.
Название документа
"ГОСТ Р ИСО 15906-2016. Национальный стандарт Российской Федерации. Материалы углеродные для производства алюминия. Обожженные аноды. Определение воздухопроницаемости"
(утв. и введен в действие Приказом Росстандарта от 06.07.2016 N 813-ст)
"ГОСТ Р ИСО 15906-2016. Национальный стандарт Российской Федерации. Материалы углеродные для производства алюминия. Обожженные аноды. Определение воздухопроницаемости"
(утв. и введен в действие Приказом Росстандарта от 06.07.2016 N 813-ст)
Утвержден и введен в действие
агентства по техническому
регулированию и метрологии
от 6 июля 2016 г. N 813-ст
НАЦИОНАЛЬНЫЙ СТАНДАРТ РОССИЙСКОЙ ФЕДЕРАЦИИ
МАТЕРИАЛЫ УГЛЕРОДНЫЕ ДЛЯ ПРОИЗВОДСТВА АЛЮМИНИЯ
ОБОЖЖЕННЫЕ АНОДЫ. ОПРЕДЕЛЕНИЕ ВОЗДУХОПРОНИЦАЕМОСТИ
Carbonaceous materials for the production of aluminium.
Baked anodes. Determination of the air permeability
(ISO 15906:2007, IDT)
ГОСТ Р ИСО 15906-2016
Дата введения
1 июля 2017 года
1 ПОДГОТОВЛЕН Открытым акционерным обществом "Уральский электродный институт" (ОАО "Уралэлектродин") на основе собственного перевода на русский язык англоязычной версии стандарта, указанного в
пункте 4
2 ВНЕСЕН Техническим комитетом по стандартизации ТК 109 "Электродная продукция"
3 УТВЕРЖДЕН И ВВЕДЕН В ДЕЙСТВИЕ
Приказом Федерального агентства по техническому регулированию и метрологии от 6 июля 2016 г. N 813-ст
4 Настоящий стандарт идентичен международному стандарту ИСО 15906:2007 "Материалы углеродные для производства алюминия. Обожженные аноды. Определение воздухопроницаемости" (ISO 15906:2007 "Carbonaceous materials for the production of aluminium - Baked anodes - Determination of the air permeability", IDT).
Международный стандарт ИСО 15906:2007 разработан Техническим комитетом ISO/TC 226 "Материалы для производства первичного алюминия".
При применении настоящего стандарта рекомендуется использовать вместо ссылочных международных стандартов соответствующие им национальные стандарты, сведения о которых приведены в дополнительном
приложении ДА
5 ВВЕДЕН ВПЕРВЫЕ
6 ПЕРЕИЗДАНИЕ. Апрель 2019 г.
Правила применения настоящего стандарта установлены в статье 26 Федерального закона от 29 июня 2015 г. N 162-ФЗ "О стандартизации в Российской Федерации". Информация об изменениях к настоящему стандарту публикуется в ежегодном (по состоянию на 1 января текущего года) информационном указателе "Национальные стандарты". В случае пересмотра (замены) или отмены настоящего стандарта соответствующее уведомление будет опубликовано в ближайшем выпуске ежемесячного информационного указателя "Национальные стандарты". Соответствующая информация, уведомление и тексты размещаются также в информационной системе общего пользования - на официальном сайте Федерального агентства по техническому регулированию и метрологии в сети Интернет (www.gost.ru)
Эксплуатационные характеристики анодов в электролизерах в определенной мере зависят от значения их газопроницаемости. Более высокая газопроницаемость приводит к агрессивному воздействию воздуха и диоксида углерода CO2 и тем самым к повышенному расходу анодов.
Настоящий стандарт распространяется на обожженные аноды и устанавливает методику измерения воздухопроницаемости путем определения сопротивления образца заданного объема при комнатной температуре воздушному потоку в диапазоне значений воздухопроницаемости от 0,01 до 10 нПм.
Необожженные аноды считаются непроницаемыми для воздуха.
Примечание - Данный метод можно также использовать для проведения измерений по другим углеродным материалам (например, микропористым углеродным материалам), но по точности измерений для других видов материалов данные отсутствуют.
В настоящем стандарте использована нормативная ссылка на следующий стандарт. Для датированных ссылок применяют только указанное издание ссылочного стандарта. Для недатированных - последнее издание (включая все изменения).
ISO 8007-2:1999, Carbonaceous materials used in the production of aluminium - Sampling plans and sampling from individual units - Part 2: Prebaked anodes (Материалы углеродные для производства алюминия. Планы выборочного контроля и отбор образцов от отдельных единиц. Часть 2. Обожженные аноды).
В настоящем стандарте применены следующие термины с соответствующими определениями:
3.1 проба: Часть материала обожженного анода для проведения испытаний.
3.2 испытуемый образец: Образец для испытаний, изготовленный из пробы.
Воздухопроницаемость пробы определяют сопоставительным методом. Измеряют время, необходимое для прохождения определенного объема воздуха через испытуемый образец. Данное время сопоставляют со временем, необходимым для прохождения определенного объема воздуха через стандартный образец с известной воздухопроницаемостью. В результате сопоставления определяют воздухопроницаемость испытуемого образца.
5.1 Штангенциркуль с точностью до +/- 0,01 мм.
5.2 Установка измерения воздухопроницаемости, оснащенная в соответствии с
5.2.1 -
5.2.3.
5.2.1 Насос мембранный вакуумный с функцией образования вакуума на входе до 100 мбар и давлением на выходе до 4 бар. Максимальная производительность - 25 л/мин.
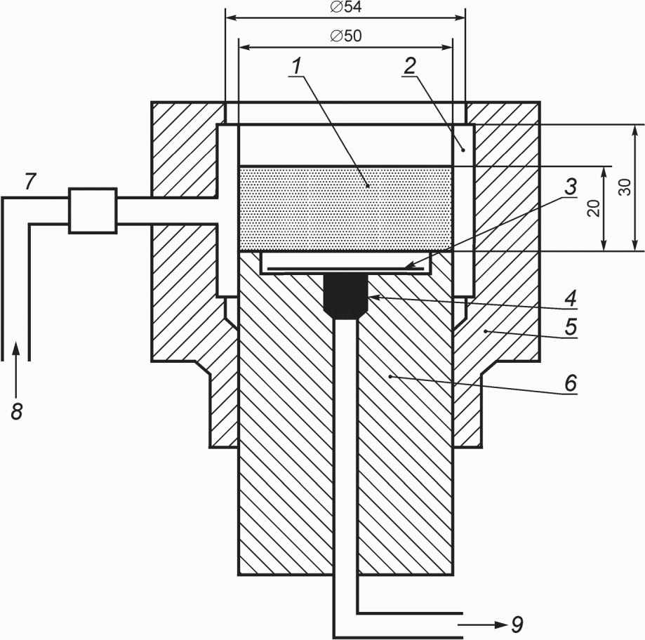
5.2.2 Ячейка для измерения проницаемости, приведенная на
рисунке 1. Конструкция ячейки обеспечивает герметизацию по периферии пробы. Цилиндрический испытуемый образец под воздействием сжатого воздуха обжимается резиновой трубкой. Пористая фильтровальная бумага и резиновая губка защищают вакуумный насос от попадания в него частиц и/или пыли от пробы.
1 - испытуемый образец; 2 - резиновая трубка; 3 - пористая
фильтровальная бумага; 4 - резиновая губка; 5 - подвижное
зажимное устройство; 6 - стационарный поршень;
7 - пластиковый шланг; 8 - вход сжатого воздуха;
9 - система вакуума
Рисунок 1 - Ячейка для измерения проницаемости
5.2.3 Манометр U-образный с сенсорными датчиками, приведенный на
рисунке 2.
1 - сенсорный датчик 1; 2 - сенсорный датчик 2;
3 - сенсорный датчик 3; 4 - линия отметки равновесия;
5 - вход воздуха; 6 - система вакуума
Рисунок 2 - U-образный манометр
U-образная трубка соединена непосредственно с вакуумным насосом и размещена параллельно ячейке для измерения проницаемости. Рабочая длина трубки составляет 220 мм, внутренний диаметр - (16 +/- 1) мм, внешний диаметр - 20 мм. Трубка заполнена до отметки равновесия нелетучей негигроскопичной жидкостью низкой вязкости и плотности, такой как дибутилфалат, или минеральным маслом легкого сорта. Вакуум и объем воздуха, проходящего через испытуемый образец, замеряют, руководствуясь уровнем масла внутри U-образной трубки.
Трубка оснащена тремя сенсорными датчиками. Самый нижний (датчик 3) находится на 145 мм ниже отметки равновесия; два других датчика - на 30 мм (датчик 1) и на 80 мм (датчик 2) ниже отметки равновесия.
Соединение трубки с вакуумным насосом может перекрываться с помощью клапана, вызывая таким образом понижение вакуума при прохождении воздуха через испытуемый образец за счет его воздухопроницаемости.
5.3 Образцы стандартные с известной воздухопроницаемостью - высокопрецизионные капиллярные трубки с известной воздухопроницаемостью, подходящие для калибровки установки измерения воздухопроницаемости
<1>. Для данных стандартных образцов подходит диапазон значений проницаемости от 1 до 2 нПм.
--------------------------------
<1> Стандартные образцы с известной проницаемостью могут быть сертифицированы в Нидерландском институте измерений, NMI, г. Дордрехт, Нидерланды.
Капиллярные трубки монтируют на держатель, устанавливаемый на зажимное устройство ячейки (диаметр 50 мм) установки для измерения воздухопроницаемости (см.
рисунок 3). Соответствующая герметизация обеспечивает отсутствие утечек воздуха между капиллярной трубкой и металлическим держателем.
1 - капиллярная трубка; 2 - держатель;
3 - колпачок с резьбой; 4 - уплотнитель
Рисунок 3 - Стандартный образец
с известной воздухопроницаемостью
5.4 Диск непроницаемый, размеры которого соответствуют размерам испытуемого образца.
6 Отбор проб и подготовка испытательных образцов
6.1 Отбирают пробы цилиндрической формы в соответствии с ИСО 8007-2.
6.2 Методом случайной выборки выбирают одну репрезентативную пробу. Удаляют как минимум 20 мм с внешнего торца цилиндра.
6.3 Подготовка испытуемого образца
Осторожно отрезают часть длиной 20 мм со смежного участка цилиндра. Удаляют с данного отрезка пыль и частицы материала и высушивают в печи при температуре 110 °C в течение 4 ч.
6.4 Замеряют штангенциркулем
(5.1) высоту образца с точностью до 0,01 мм в четырех точках, в 90° друг от друга по периферии торцов образца.
С помощью штангенциркуля
(5.1) проводят два комплекса измерений диаметра образца с точностью до 0,01 мм. Каждый комплекс измерений должен включать четыре замера: по одному с каждого конца и два в промежуточных точках по линии оси. Измерения данных комплексов должны находиться в 90° друг от друга. Определяют среднее значение длины и среднее значение для каждого из комплексов измерений диаметра.
6.5 Диаметр испытуемого образца должен составлять (50 +/- 0,4) мм, высота образца должна быть 20 мм с параллельностью двух торцов в пределах +/- 0,05 мм.
7 Калибровка и стандартизация
Проводят калибровку аппарата посредством измерения воздухопроницаемости стандартного образца
(5.3) согласно соответствующему порядку, описанному в
разделе 8.
8.1 Проверяют все соединения, их герметичность и отсутствие утечек посредством проверки с помощью непроницаемого диска
(5.4).
8.2 Помещают в испытательный аппарат калибровочный стандартный образец
(5.3) или испытуемый образец
(раздел 6). Убеждаются в герметичности резиновой трубки при ее растягивании.
8.3 Регулируют систему таким образом, чтобы уровень жидкости в U-образной трубке достиг датчика 3. Затем перекрывают соединение с вакуумной трубкой с помощью клапана, вызывая таким образом понижение вакуума путем прохождения воздуха через стандартный или испытуемый образец за счет его воздухопроницаемости. Когда уровень жидкости достигнет уровня датчика 2, фиксируют время. Когда уровень жидкости достигнет уровня датчика 1, снова фиксируют время и рассчитывают разницу во времени между датчиками 2 и 1.
9.1 Определение коэффициента калибровки fc с помощью стандартного образца с известной воздухопроницаемостью (5.3)
Вычисляют коэффициент калибровки fc по формуле

(1)
где tc - разница во времени, с;
Dc - воздухопроницаемость стандартного образца, нПм;
1963 - площадь поперечного сечения стандартного образца диаметром 50 мм, который будет проверен позднее;
20 - номинальная высота стандартного образца.
9.2 Определение воздухопроницаемости Ds испытуемого образца
Вычисляют воздухопроницаемость испытуемого образца Ds по формуле

(2)
где Ds - воздухопроницаемость испытуемого образца, нПм;
ts - разница во времени, с;
hs - высота испытуемого образца, мм;
As - площадь поперечного сечения испытуемого образца, мм2.
10 Прецизионность и погрешность
10.1 Общее
Приведенные данные по повторяемости и воспроизводимости действительны для образцов анодов в диапазоне воздухопроницаемости от 0,7 до 3,4 нПм.
10.2 Повторяемость
В соответствии с ИСО 1369
r = 0,06 нПм.
10.3 Воспроизводимость
В соответствии с ИСО 1369
R = 0,04X + 0,09, нПм,
где X - среднее значение для материала.
Протокол испытаний должен включать следующую информацию:
a) ссылку на данный стандарт;
b) названия производителя и заказчика;
c) номер партии и данные маркировки пакетов;
d) дату и место проведения испытаний;
e) результаты испытаний.
(справочное)
СВЕДЕНИЯ О СООТВЕТСТВИИ ССЫЛОЧНЫХ МЕЖДУНАРОДНЫХ СТАНДАРТОВ
НАЦИОНАЛЬНЫМ СТАНДАРТАМ
Таблица ДА.1
Обозначение ссылочного международного стандарта | Степень соответствия | Обозначение и наименование соответствующего национального стандарта |
ISO 8007-2:1999 | IDT | ГОСТ Р ИСО 8007-2-2014 "Материалы углеродные для производства алюминия. Планы выборочного контроля и отбор образцов от отдельных единиц. Часть 2. Обожженные аноды" |
Примечание - В настоящей таблице использовано следующее условное обозначение степени соответствия стандарта: IDT - идентичный стандарт. |
УДК 621.3.035:006.354 | |
Ключевые слова: материалы углеродные, производство алюминия, аноды обожженные, определение воздухопроницаемости |