Главная // Актуальные документы // ГОСТ Р (Государственный стандарт)СПРАВКА
Источник публикации
М.: Стандартинформ, 2016
Примечание к документу
Документ
введен в действие с 1 декабря 2017 года.
Название документа
"ГОСТ Р ИСО 13833-2016. Национальный стандарт Российской Федерации. Выбросы стационарных источников. Определение соотношения содержания диоксида углерода, выделенного биомассой (биогенного) и образовавшегося при обработке полезных ископаемых. Отбор проб и определение по радиоактивному изотопу углерода"
(утв. и введен в действие Приказом Росстандарта от 25.10.2016 N 1516-ст)
"ГОСТ Р ИСО 13833-2016. Национальный стандарт Российской Федерации. Выбросы стационарных источников. Определение соотношения содержания диоксида углерода, выделенного биомассой (биогенного) и образовавшегося при обработке полезных ископаемых. Отбор проб и определение по радиоактивному изотопу углерода"
(утв. и введен в действие Приказом Росстандарта от 25.10.2016 N 1516-ст)
Утвержден и введен в действие
агентства по техническому
регулированию и метрологии
от 25 октября 2016 г. N 1516-ст
НАЦИОНАЛЬНЫЙ СТАНДАРТ РОССИЙСКОЙ ФЕДЕРАЦИИ
ВЫБРОСЫ СТАЦИОНАРНЫХ ИСТОЧНИКОВ
ОПРЕДЕЛЕНИЕ СООТНОШЕНИЯ СОДЕРЖАНИЯ ДИОКСИДА
УГЛЕРОДА, ВЫДЕЛЕННОГО БИОМАССОЙ (БИОГЕННОГО)
И ОБРАЗОВАВШЕГОСЯ ПРИ ОБРАБОТКЕ ПОЛЕЗНЫХ ИСКОПАЕМЫХ.
ОТБОР ПРОБ И ОПРЕДЕЛЕНИЕ ПО РАДИОАКТИВНОМУ ИЗОТОПУ УГЛЕРОДА
Stationary source emissions. Determination of the ratio
of biomass (biogenic) and fossil-derived carbon dioxide.
Radiocarbon sampling and determination
(ISO 13833:2013, IDT)
ГОСТ Р ИСО 13833-2016
Группа Т58
Дата введения
1 декабря 2017 года
1 ПОДГОТОВЛЕН Открытым акционерным обществом "Научно-исследовательский центр контроля и диагностики технических систем" (АО "НИЦ КД") на основе собственного перевода на русский язык англоязычной версии международного стандарта, указанного в
пункте 4
2 ВНЕСЕН Техническим комитетом по стандартизации ТК 457 "Качество воздуха"
3 УТВЕРЖДЕН И ВВЕДЕН В ДЕЙСТВИЕ
Приказом Федерального агентства по техническому регулированию и метрологии от 25 октября 2016 г. N 1516-ст
4 Настоящий стандарт идентичен международному стандарту ИСО 13833:2013 "Выбросы стационарных источников. Определение соотношения содержания диоксида углерода, выделенного биомассой (биогенного) и образовавшегося при обработке полезных ископаемых. Отбор проб и определение по радиоактивному изотопу углерода" [ISO 13833:2013 Stationary source emissions. Determination of the ratio of biomass (biogenic) and fossil-derived carbon dioxide. Radiocarbon sampling and determination", IDT].
При применении настоящего стандарта рекомендуется использовать вместо ссылочных международных и европейских региональных стандартов соответствующие им национальные стандарты Российской Федерации, сведения о которых приведены в дополнительном
приложении ДА
5 ВВЕДЕН ВПЕРВЫЕ
Правила применения настоящего стандарта установлены в статье 26 Федерального закона от 29 июня 2015 г. N 162-ФЗ "О стандартизации в Российской Федерации". Информация об изменениях к настоящему стандарту публикуется в ежегодном (по состоянию на 1 января текущего года) информационном указателе "Национальные стандарты", а официальный текст изменений и поправок - в ежемесячном информационном указателе "Национальные стандарты". В случае пересмотра (замены) или отмены настоящего стандарта соответствующее уведомление будет опубликовано в ближайшем выпуске ежемесячного информационного указателя "Национальные стандарты". Соответствующая информация, уведомление и тексты размещаются также в информационной системе общего пользования - на официальном сайте Федерального агентства по техническому регулированию и метрологии в сети Интернет (www.gost.ru)
Достоверные данные о выбросах биогенного диоксида углерода (CO2) необходимы для учета выбросов углерода и обеспечения более точных материально-производственных запасов.
При использовании горючих смесей топлива от биогенных и ископаемых источников часто сложно определить точное отношение CO2 в общем содержании CO2, который выделяется через дымовой газ, потому что состав биогенного и ископаемого горючего топлива не всегда известен или не может быть определен с достаточной точностью. Это встречается в тех случаях, когда используют утилизированное твердое топливо (УТТ).
Вклад твердого, жидкого и газообразного биотоплива в выработку энергии увеличивается. Надежный и устойчивый метод для определения отношения биогенного и ископаемого CO2 в общем содержании выделенного CO2 из дымового газа будет способствовать внедрению этих продуктов, поскольку с помощью этого подхода могут быть сгенерированы достоверные данные для торговли квотами на выбросы углерода.
Существуют различные методы для определения отношения биогенного CO
2 и CO
2 от полезных ископаемых в дымовом газе. Метод с использованием радиоуглерода (изотоп
14C) применяют для определения отношения биогенного и ископаемого углерода с 1950-х годов во множестве типов проб, таких как еда, топливо, полимеры, CO
2 в атмосфере и CO
2, образующийся при сгорании
[18]. Биогенный и ископаемый углерод можно различить, основываясь на измеренной величине изотопа
14C в пробе. Другим, относительно новым, прикладным методом является "балансовый метод", который объединяет стандартные данные по химическому составу биогенного органического вещества и органического вещества от полезных ископаемых с измеренными в обычном порядке эксплуатационными данными завода
[10]. Подобные методы с применением, например, стехиометрических методов, также могут быть использованы.
В настоящем стандарте приведены методы отбора проб и анализа для определения отношения производных CO2 от биомассы и полезных ископаемых в общем содержании выделенного CO2 от выхлопных газов постоянных источников, основанные на методе с использованием радиоуглерода (изотоп 14C). Установлены методики интегрированного отбора проб в течение периодов от 1 ч до 1 мес. Методики определения содержания радиоуглерода включают методы измерений с использованием ускорительной масс-спектрометрии (УМС), бета-ионизации (БИ) и жидкостной сцинтилляции (ЖС).
Международная организация по стандартизации (ИСО) обращает внимание на тот факт, что необходимое соответствие настоящему документу может включать использование патентов по применению изотопов радиоуглерода в качестве биогенных маркеров:
a) метод для определения отношения возобновляемых и не возобновляемых источников энергии;
b) метод для определения содержания топлива от полезных ископаемых в топливном потоке, а также в печах сжигания.
ИСО не занимает никакой позиции относительно доказательной базы, действительности и области применения этих патентных прав.
Обладатели таких патентных прав заверили ИСО, что они готовы вести переговоры о лицензиях в рамках разумных и справедливых положений и условий с заявителями по всему миру. В этой связи положения держателей этих патентных прав зарегистрированы в ИСО. Информация может быть получена из:
a) Европейская строительная научно-исследовательская академия (ECRA)
Tannenstrasse 2, D-40476, Дюссельдорф. Тел.: +49 211 23 98 38 0; E-mail: info@ecra-online.org
b) Энергетический научно-исследовательский центр Нидерландов
Westerduinweg 3, почтовый ящик 1, NL-1755 ZG PETTEN. Тел.: +31 224 56 4475; E-mail: denuijl@ecn.nl
Следует обратить внимание на возможность того, что некоторые элементы настоящего стандарта могут быть предметом патентных прав, отличных от уже определенных выше. ИСО не должна нести ответственность за идентификацию любого или всех таких патентных прав.
ИСО (www.iso.org/patents) поддерживает онлайн базы данных патентов, имеющих отношение к ее документам. Пользователям рекомендуют консультироваться с базами данных для получения наиболее актуальной информации, касающейся патентов.
Настоящий стандарт устанавливает метод отбора проб и аналитический метод определения соотношения диоксида углерода (CO2), образовавшегося при сжигании биомассы и органических полезных ископаемых, в CO2 газообразных выбросах стационарных источников, основанный на определении радиоактивного изотопа углерода (изотоп 14C). Нижний предел доли биогенного диоксида углерода в общем CO2 составляет 0,02. Рабочий диапазон доли биогенного диоксида углерода в общем CO2 - от 0,02 до 1,0.
В настоящем стандарте использованы нормативные ссылки на следующие стандарты:
ISO 7934 Stationary source emissions - Determination of the mass concentration of sulfur dioxide - Hydrogen peroxide/barium perchlorate/thorin method (Выбросы стационарных источников. Определение массовой концентрации диоксида серы. Метод с применением перекиси водорода, перхлората бария или торина)
ISO 10396 Stationary source emissions - Sampling for the automated determination of gas emission concentrations for permanently-installed monitoring systems (Выбросы стационарных источников. Отбор проб при автоматическом определении содержания газов с помощью постоянно установленных систем мониторинга)
ISO 15713 Stationary source emissions - Sampling and determination of gaseous fluoride content (Выбросы стационарных источников. Отбор проб и определение содержания газообразных фтористых соединений)
В настоящем стандарте применены следующие термины с соответствующими определениями.
3.1 биогенный (biogenic): Произведенный живыми организмами в ходе естественных процессов, но не являющийся полезным ископаемым или полученным из полезных ископаемых.
3.2 биомасса (biomass): Материал биологического происхождения за исключением материала, включенного в геологические образования или преобразованного в полезные ископаемые.
3.3 относительный изотопный состав (isotope abundance): Доля атомов определенного изотопа элемента.
3.4 органический углерод (organic carbon): Количество углерода, связанного в органическом материале.
3.5 процентное содержание современного углерода, pmC (percentage modem carbon, pmC): Нормализированное и стандартизированное значение количества изотопа 14C в пробе, рассчитанное по отношению к нормализованному и стандартизированному значению количества 14C в сертифицированном стандартном образце щавелевой кислоты, SRM 4990c <1>.
Примечание - В 2009 году значение 100% биогенного углерода было установлено 105 ртС.
--------------------------------
<1>) SRM 4990c - торговое обозначение продукта, производимого Национальным Институтом Стандартов и Технологий, США (NIST).
3.6 пропорциональный отбор проб, пропорциональный отбор проб потока (proportional sampling, flow proportional sampling): Метод получения пробы из выходящего дымового газа, при котором расход влажной или сухой пробы прямо пропорционален массовому расходу, объемному расходу или скорости в трубе.
3.7 радиоактивный изотоп углерода (radiocarbon): Радиоактивный изотоп углерода 14C, имеющий 8 нейтронов, 6 протонов и 6 электронов.
Примечание - Из общего содержания углерода на Земле массовая доля 14C составляет 1·10-10%. Она уменьшается по экспоненте с периодом полураспада с 5730 лет, что определяет невозможность измерения количества 14C в полезных ископаемых, веществах, выделенных из нефти, угля, природного газа или любого другого источника с возрастом старше 50000 лет.
3.8 проба (sample): Часть объекта (вещества или материала), отобранная для определения состава и/или свойств, идентичная по составу и свойствам объекту.
3.9 подготовка проб (sample preparation): Действия, предпринятые для получения из отобранной пробы представительных образцов, пригодных для анализа и испытаний.
3.10 аналитическая часть [пробы] (test portion): Часть пробы (или лабораторной пробы, при их идентичности) вещества или материала, используемая для испытаний или анализа.
3.11 бета-частица (beta-particle): Электрон или позитрон, который был испущен атомным ядром или нейтроном при ядерном распаде.
[ИСО 921:1997
[1], определение 81]
4 Обозначения и аббревиатуры
4.1 Обозначения
A - импульсы в секунду;
b - принятое значение количества 14C (в pmC в 100% биомассы, образовавшейся в 2011 году из закончивших свой жизненный цикл организмов;
E - скорость счета;
CV - коэффициент вариации;
E(R0) - скорость счета холостой пробы;
E(Rn,LLD) - нижний предел обнаружения;
i - номер текущего измерения в серии;

- коэффициент охвата (типичное значение: 1,645);
m - измеренное содержание 14C в пробе;

- масса CO
2.

- 44,01 кг/кмоль;
n - количество измерений в серии;
r - отношение биогенного CO2 к общему CO2, pmC;
t - время работы;
tb - время счета пробы;
t0 - время счета холостой пробы;
V - общий объем выделенного газа;

- объем CO
2;

- текущий расход газа в трубе;
Vm - 22,41 м3/кмоль (273 К и 1013 гПа);

- бета-частица (электрон, испущенный во время радиоактивного распада);

- среднее содержание CO
2;

- текущее содержание CO
2;

- эффективность счета прибора

.
4.2 Аббревиатуры
УМС - масс-спектрометр с ускорителем; ускорительная масс-спектрометрия;
БИ - измерение бета ионизации, газовый пропорциональный счетчик, пропорциональный газовый счетчик;
cpm - импульсы в минуту;
cps - импульсы в секунду;
dpm - распады в секунду;
dps - распады в секунду, эквивалентно беккерелям;
СГМ - счетчик Гейгера-Мюллера;
НПО - нижний предел обнаружения;
ЖСС - жидкостной сцинтилляционный счетчик; счет жидкостной сцинтилляции;
pmC - процентное содержание современного углерода;
УТТ - утилизированное твердое топливо.
Измерение содержания изотопа 14C в отходящем газе или дымовом газе позволяет определить доли CO2, выделяемого биомассой и полезными ископаемыми. Определение доли биогенного CO2 в отходящем или дымовом газе включает:
- отбор представительных проб CO2;
- измерение содержания 14C в отобранных пробах;
- вычисление доли биогенного CO2 в дымовом газе, выделившегося за время отбора проб.
В настоящем стандарте приведены методики улавливания всех газовых проб и абсорбции CO2 в жидких и твердых щелочных средах. Описаны три методики определения 14C, которые могут быть использованы. Долю биогенного CO2 определяют, используя измеренное значение 14C. Из вычисленной доли биогенного CO2 может быть рассчитано выделенное количество биогенного и ископаемого CO2. Приведены примеры.
5.2.1 Основные положения
Отбор проб CO2 в дымовом газе принципиально не отличается от отбора проб других кислотных газов, таких как дисульфид серы (SO2) или хлороводород (HCl). CO2, находящийся в представительной пробе дымового газа, поглощают щелочной средой либо переносят в пакет для газа или баллон-пробоотборник, после чего отобранный CO2 подготавливают для анализа 14C.
Может быть использовано другое стандартное оборудование для пробоотбора газов. Поскольку CO2 присутствует в относительно высоких концентрациях по сравнению с другими кислотными газообразными веществами, следует использовать избыток щелочной среды с целью обеспечения полной абсорбции при отборе проб.
Отбор проб должен быть проведен в соответствии с действующими стандартами.
Примечание - Порядок отбора проб для продолжительных и кратковременных измерений в выбросах стационарных источников приведен в ИСО 10396 и
[4]. Многие неопределенности, возникающие при измерении химического состава, могут быть исключены, если вместо этого определяют количество компонентов с точно такими же химическими свойствами, как CO
2 из различных изотопов углерода. Тем не менее, некоторые неопределенности, характерные при спектральных измерениях, могут определить выбор предпочтительного анализатора CO
2 для пропорционального отбора проб потока.
5.2.2 Поглощение пробы
В случае необходимости используют общепринятые методики для отбора газа в пакеты, поглотительные канистры или газовые баллоны.
Следует использовать только емкости для газа, являющиеся непроницаемыми по отношению к CO2. Наиболее подходящими являются пакеты для газа с прослойкой алюминия.
5.2.3 Абсорбция пробы
При использовании жидких или твердых сорбентов CO2 улавливают средой, содержащей щелочные реагенты. Для отбора проб с жидкими щелочными растворами наиболее подходящими являются, например, двух- или четырехмолярные растворы гидроксида калия (KOH) или эквивалентного реагента (гидроксид натрия, NaOH). Из адсорберов CO2 с твердыми поглотителями подходящими являются серийно выпускаемые продукты.
После отбора проб сорбенты герметизируют и следят за их герметичностью для предотвращения проникновения атмосферного CO2.
5.3 Методики измерения 14C
Содержание 14C в отобранной пробе может быть определено с использованием:
- ускорительной масс-спектрометрии (УМС);
- измерений бета-ионизации (БИ) (газо-пропорциональный счетчик);
- жидкостного сцинтилляционного счетчика (ЖСС).
Все методы отбора проб, приведенные в
5.2, подходят для улавливания CO
2.
В зависимости от метода анализа 14C необходимо разное количество отобранного CO2. Для измерений УМС минимальный объем CO2 составляет 4 мл. Для измерений БИ необходимо от 2 до 10 л CO2. Для измерений ЖСС необходимый объем CO2 зависит от способа подготовки пробы для измерений, по крайней мере, необходимо несколько граммов.
6 Реагенты, материалы и оборудование
Для анализа, если не указано иное, используют реактивы только определенной аналитической чистоты и дистиллированную или деионизованную воду или воду эквивалентной чистоты, содержащую незначительное количество карбонатов, которое не влияет на определение.
Установка состоит из:
- стеклянной колбы (стандартная стеклянная колба для пробы с пластмассовой крышкой с винтом, устойчивая к используемой щелочной среде);
- щелочной абсорбирующей среды;
- твердого адсорбента, подходящего для улавливания CO2 <1>.
--------------------------------
<1> Ascarite II является примером подходящей серийно выпускаемой продукции. Информация приведена для удобства пользователей настоящего стандарта и не является рекламой ИСО данной продукции.
Для уменьшения поглощения CO2 от атмосферного воздуха и дыхания, при смешивании воды с NaOH или KOH необходимо добавление инертного газа.
Для приготовления абсорбирующей жидкости без карбонатов необходимо использовать свежие гранулы NaOH или KOH. Гранулы NaOH или KOH растворяют в небольшом объеме воды (выделяющаяся теплота улучшает растворение). Выпадение небольшого осадка указывает на наличие карбоната натрия (Na2CO3). Путем декантирования чистой фазы, практически не содержащий карбонатов, раствор может быть разбавлен до желаемого объема. Поскольку растворение NaOH является экзотермическим процессом, следует проводить процедуру осторожно, т.к. во время растворения может произойти кипение раствора.
6.2 Материалы и оборудование
Ниже перечислены компоненты устройства для отбора проб.
Устройство измерения расхода дымового газа (обычно на основе трубки Пито S, Р или L типа) в соответствии с
[2].
Примечание - При "установившихся" условиях расход дымового газа может быть вычислен из потребления топлива. При этом инструментального оснащения для определения расхода газа не требуется.
Стандартное оборудование для отбора проб дымового газа для анализа основного компонента.
Примечание - Если для газового анализа уже установлена система подготовки газа, необходимо учесть это в плане отбора проб и использовать часть подготовленного газа, например, с помощью Т-образного тройника в каком-либо месте пробоотборной линии. В таких стандартных устройствах подготовки газа обычно после создания условий типичный расход газа составляет 60 л/ч до 100 л/ч.
Регулятор массового расхода, управляемый снаружи. Внешне управляемый регулятор массового расхода необходим только для пропорционального отбора проб, поскольку необходимо использовать сигнал, полученный из измерения общего расхода в трубе для того, чтобы скорректировать значение расхода пробы линейно пропорционально к нему. Регуляторы массового расхода применяют в диапазоне, например, от 0,1 до 1 мл/мин или от 10 до 100 мл/мин, настроенном для состава дымовых газов.
Контейнеры для образцов:
- отбор проб газа: используют воздухонепроницаемые сосуды, совместимые с конструкцией системы, которые включают в себя эластичные емкости, специальные баллоны-пробоотборники для газа;
- жидкие пробы: используют подходящие промывочные склянки для газа (например, склянки объемом 250 мл);
- твердые пробы: используют воздухонепроницаемый контейнер (например, стеклянную трубку с длиной и диаметром: 200 x 18 мм, со стандартным наполнением);
- система газового анализа для измерения CO2 и O2.
Любые измерения CO
2, CO или O
2 выполняют в соответствии с требованиями
[3].
Перед измерением должна быть проверена однородность дымового газа. Определение однородности выполняют в соответствии с
[3]. В качестве измеряемой величины используют содержание CO
2. Если испытание однородности пройдено успешно, то отбор проб может быть произведен в одной точке.
Перед отбором проб необходимо провести всестороннее планирование измерений с учетом определенной задачи измерения.
Если оборудование для предварительного отбора проб дымового газа и анализа уже установлено, то часть этого потока может быть использована в качестве пробы. Если это не так, должен быть использован зонд, подходящий для отбора проб газа, установленный в дымовой трубе или за пределами фильтра для удаления твердых примесей, а также должны быть созданы условия для удаления избыточной влаги. Для обеспечения представительного отбора проб и эквивалентности между измеренным содержанием общего CO
2 и CO
2, отобранного для анализа
14C, следует использовать принятые стандарты по измерению объемных компонентов в дымовом газе, а именно
[3] или
[4].
Существует несколько методов для промежуточного хранения отобранного CO2. Самым простым решением является использование емкости для газа. При длительном хранении, предпочтительно использовать емкости для газа с прослойкой из алюминия, чтобы предотвратить поступление углекислого газа из атмосферного воздуха. Подходящие методики отбора холостых проб должны гарантировать, что были использованы подходящие эластичные емкости для газа.
В случае отбора большего объема CO2 для хранения может быть использован газовый баллон. С этой целью также могут быть использованы стандартные поглотительные канистры. Должны быть соблюдены все меры предосторожности для управляемого впуска дымового газа, независимого от давления, увеличивающегося во время процесса отбора проб.
Поскольку CO2 в дымовом газе может быть уловлен с 100% эффективностью с использованием щелочных сред, отбор CO2 может быть проведен с использованием склянки с щелочным раствором или подходящего скруббера с твердым щелочным наполнителем до тех пор, пока позволяет сорбционная емкость и расход пробы не превысит расход, характерный для типа используемого скруббера.
Типичные параметры для отбора проб с использованием жидкого абсорбента: склянка на 250 мл с 200 мл раствора 2 моль/л KOH, отбор пробы при скорости потока от 1 до 50 мл/мин, что соответствует периодам отбора пробы в диапазоне от 1 сут (50 мл/мин) до 1 мес (1 мл/мин) для отходящего газа с объемной долей CO2 приблизительно 10%.
Типичные параметры для отбора проб с использованием твердого абсорбента: стеклянная трубка (200 x 18 мм), заполненная 40 г абсорбента

(от 8 до 20 ячеек), при скорости потока от 1 до 50 мл/мин, что соответствует периодам отбора пробы в интервале от 1 сут (50 мл/мин) до 1 мес (1 мл/мин) для отходящего газа с объемной долей CO
2 приблизительно 10%.
Если присутствуют стандартные зонды для анализа газа и системы предварительного отбора проб, то часть кондиционированного газа может быть использована для отбора проб CO2. Стандартный анализ газа может быть скомбинирован с одновременным отбором пробы CO2 до тех пор, пока это не влияет на стандартный анализ газа (необходимо регулировать поток из-за риска утечки).
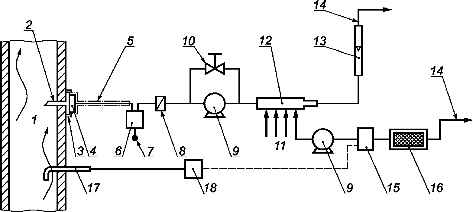
Если необходимые измерения касаются стационарного местоположения, то может быть использована пробоотборная установка, как показано на рисунке 1, или эквивалентная установка.
1 - отходящий газ; 2 - зонд; 3 - нагреватель; 4 - фильтр
грубой очистки; 5 - нагреваемая линия отбора проб;
6 - осушитель; 7 - выпуск воды; 8 - фильтр тонкой очистки;
9 - насос для отбора проб; 10 - байпасный клапан; 11 - поток
на анализатор(ы); 12 - коллектор; 13 - дополнительный
расходомер; 14 - выхлопная труба; 15 - регулятор массового
расхода; 16 - абсорбент CO2 (ЖС)
Рисунок 1 - Пример отбора проб для стационарных измерений
Если ожидают, что расход дымового газа на установке может колебаться, то должна быть проведена оценка этого явления, и если будет получено, что колебания вносят значительный вклад в значение расхода, то может быть использована пробоотборная установка, приведенная на рисунке 2, или эквивалентная установка. Доступны руководящие указания относительно того, как подготовить план отбора проб (см.
[4]).
1 - отходящий газ; 2 - зонд; 3 - нагреватель; 4 - фильтр
грубой очистки; 5 - нагреваемая линия отбора проб;
6 - осушитель; 7 - выпуск воды; 8 - фильтр тонкой очистки;
9 - насос для отбора проб; 10 - байпасный клапан; 11 - поток
на анализатор(ы); 12 - коллектор; 13 - дополнительный
расходомер; 14 - выхлопная труба; 15 - регулятор массового
расхода; 16 - абсорбент CO2 (ЖС);
17 - место измерения скорости; 18 - расходомер
Рисунок 2 - Пример отбора пробы при пропорциональном отборе
На практике общие изменения в значениях расхода дымового газа, не превышающие значение коэффициента вариации 55% (2CV), могут быть рассмотрены как условия для постоянного отбора проб, при условии непрерывной работы в период отбора проб.
Используют показатели расходомера (например, перепад давлений, расход пара, расход топлива), чтобы вычислить значение математического ожидания (среднее арифметическое) расхода

и его стандартное отклонение (
s).
Примечание - Конкретное значение 55% (2
CV) приведено в соответствии с
[7].
Если необходим пропорциональный отбор, то расход на регуляторе массового расхода должен быть пропорционален измеренной скорости отходящего газа, объемному или массовому расходу.
В плане по отбору проб должна быть проведена оценка минимального числа шага прироста (скорость отбора проб), необходимая для эффективного пропорционального отбора проб.
6.3 Минимальные требования к оборудованию для отбора проб
Для достижения рабочих характеристик, приведенных в настоящем стандарте, должны соблюдаться следующие технические требования:
- внешний регулятор массового расхода: с точностью, по крайней мере, 5%;
- твердый адсорбент: содержание массовой фракции NaOH более 90%;
- жидкий абсорбент: концентрация NaOH более 1 моль/л;
- сорбционная емкость, оставшаяся после отбора пробы: более 25% исходной сорбционной емкости сорбента.
Примечание - Вместо NaOH могут быть использованы другие сильные основания, например KOH.
Учитывают возможные мешающие вещества, приведенные ниже:
- в отходящем газе могут присутствовать некоторые кислотные соединения (например, NO
X, SO
X, HCl, RCOOH), и они могут быть захвачены щелочными пробоотборниками. Следует избегать присутствия потенциальных мешающих соединений; см. описание методов анализа частиц (в
приложениях B и
C);
- содержание CO в дымовом газе, значительно превышающее объемную долю 0,1% (например, пиролизные установки), может вносить вклад в измеряемую величину pmC в CO2;
- необходимо учитывать наличие CO
2 в воздухе, поступающем в зону горения (объемная доля 0,04%, если в качестве поступающего в зону горения воздуха используют окружающий воздух), когда биогенная фракция CO
2 менее 0,1 (см
[4]). Значение
14C (в pmC) в окружающем воздухе зависит от локализации места и времени отбора пробы (определенный год и время в течение года).
Методы определения содержания углекислого газа, биогенного происхождения, установленные в настоящем стандарте, основаны на определении содержания 14C.
Измерение содержания
14C в пробе проводят в соответствии с одним из методов, описанных в
приложениях A,
B или
C. Рабочие характеристики трех приведенных методов различны: стандартная неопределенность анализа (выраженная через стандартное отклонение) для УМС и пропорционального газового счетчика составляет от 0,1 pmC до 0,5 pmC, стандартная неопределенность анализа для ЖСС с синтезом бензола составляет от 0,3 до 2 pmC и стандартная неопределенность анализа для ЖСС с поглощением CO
2 составляет 20 pmC, которая может быть улучшена до значения от 2 до 4 pmC в строго контролируемых лабораторных условиях и при использовании высокоточного оборудования ЖСС.
Результаты измерений должны быть выражены как процентное содержание современного углерода (pmC).
При транспортировании проб в специализированные лаборатории пробы должны храниться так, чтобы CO2 из окружающего воздуха не мог попасть в абсорбирующий раствор. Проверка попадания CO2 из воздуха должна быть выполнена путем приготовления лабораторных и холостых проб во время этапа отбора проб.
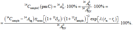
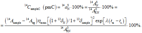
Вычисляют отношение биогенного CO2 к общему в пробе по измеренному содержанию 14C и референтному значению 14C для 100% биогенного CO2 по формуле

(1)
где r - отношение биогенного CO2 к общему, полученному из измеренного значения pmC;
m - измеренное содержание
14C в пробе (pmC) (определено в соответствии с
приложением A,
B или
C);
b - принятое значение количества 14C (в pmC) в 100% биомассы, образовавшейся в 2011 году.
Примечания
1 В 2011 году лабораториями, работающими с радиоактивным изотопом углерода, применялось согласованное значение количества 14C в CO2 атмосферного воздуха, равное 104. Поэтому для pmC в 100% биомассы, образовавшейся и отобранной в 2011 году, установлено значение количества 14C 104 pmC. Необходимо принять во внимание, что ежегодное уменьшение этого значения составляет 0,3%.
2 При местных исследованиях городских отходов или других смешанных топливных источников на содержание 14C устанавливают типичные региональные значения pmC. Эти значения могут быть использованы в качестве локального справочного значения, если предоставлены общепризнанные доказательства.
3 Для получения детальной информации об определении pmC и обсуждения используемого референтного значения см.
приложение E.
Пример - При измерениях пробы CO2 получают значение 14C, равное 40 pmC. Затем получают процент биогенного CO2 в пробе (40/104)·100 = 38%, а фракция CO2 из полезных ископаемых составляет 100% - 38% = 62%.
Общее количество биогенного CO2, выделяющегося в период отбора проб, может быть получено из измеренного содержания общего CO2, общего количества выделенного дымового газа и вычисленного значения фракции биогенного CO2.
Для стационарных условий отбора проб используют формулу

(2)
где

- общий объем выделенного биогенного CO
2, м
3;

- средняя концентрация CO
2, выраженная как объемная доля, %;
V - общий объем выделенного дымового газа, м3;
r - отношение биогенного CO2 к общему CO2, полученному из измеренного значения, pmC.
Если невозможно провести измерения CO2, то общее количество выделенного CO2 может быть выведено из количества топлива, которое было сожжено во время периода отбора пробы, учитывая содержание углерода в топливе.
Для пропорционального отбора проб используют формулу

(3)
где

- общий объем выделенного биогенного CO
2, в м
3;

- фактическая концентрация CO
2 в настоящее время, выраженная как объемная доля, %;
- фактический расход дымового газа в момент измерения
i, м
3/ч;
r - рассчитанная доля биогенного CO2 для пробы CO2, выраженная в %;
n - число измерений;
i - номер измерения;
t - время работы, ч.
Вычисляют

из

по формуле

(4)
где

- масса CO
2, т;

- объем CO
2 м
3;
- молярная масса CO
2, то есть 44,01 кг/кмоль;
Vm - молярный объем газа при 273 К и 1 013 гПа, т.е. 22,41 м3/кмоль.
Вода может быть удалена перед отбором в эластичную емкость или контейнер, с использованием осушителя, в таком случае рассматривают необходимость введения поправок к
формулам (1) -
(4) для изменения концентраций, следующих из этого обезвоживания.
9 Методики обеспечения и контроля качества
Улавливание карбонатов в дымовом газе в принципе соответствует улавливанию других газов, таких как HF, SO2 и NH3 с использованием промывной склянки, поэтому следует использовать процедуры обеспечения и контроля качества, указанные в ISO 7934 и ISO 15713.
При использовании жидких или твердых сорбентов CO2 должны быть измерены холостые пробы, чтобы подтвердить отсутствие попадания CO2 из атмосферного воздуха.
Для пропорционального отбора общее количество отобранного CO2 должно быть проверено стандартным химическим анализом испытуемого образца (например, титрованием).
Полученные значения могут быть сравнены со значениями, вычисленными по химическому составу топлива (при наличии).
Протокол испытаний должен соответствовать международным или национальным нормативам. Если не указано иного, протокол испытаний должен включать, по крайней мере, следующую информацию:
a) ссылку на настоящий стандарт;
b) описание цели испытаний;
c) принцип отбора проб газа;
d) информацию о пробоотборной линии и линии пробоподготовки;
e) идентификацию используемого метода исследования;
f) описание предприятия и процесса;
g) идентификацию пробоотборной плоскости;
h) меры, предпринятые для получения представительных проб;
i) описание локализации точки(ек) отбора проб в пробоотборной плоскости;
j) описание рабочих условий процесса предприятия;
k) изменения в работе установки во время отбора пробы;
l) дату, время и продолжительность отбора проб;
m) усреднение во времени на соответствующих периодах;
n) погрешность измерения;
o) любые отклонения от настоящего стандарта.
(обязательное)
ОПРЕДЕЛЕНИЕ СОДЕРЖАНИЯ 14C МЕТОДОМ УСКОРИТЕЛЬНОЙ
МАСС-СПЕКТРОМЕТРИИ
A.1 Общие положения
Настоящее приложение устанавливает методику определения содержания 14C методом ускорительной масс-спектрометрии (УМС) в пробах CO2 и отходящего газа в выбросах стационарных источников.
A.2 Основные принципы
Метод УМС является прямым методом определения изотопа 14C. Атомы в пробе преобразуют в пучок ионов. Образовавшиеся ионы ускоряются под действием электрического поля, искусственно отклоняются под действием магнитного поля и фиксируются детекторами ионов, что приводит в результате к определению относительных изотопных составов этих ионов.
Метод УМС использует электростатическое поле высокого напряжения, которое служит не только для ускорения частиц, но также и для образования ионов Cn+ (n = 1 ... 4) которые попадают в спектрометр при исключении другой ионной формы. Это значительно увеличивает чувствительность без потерь в селективности. В большинстве УМС в настоящий момент 14C определяют в графитовой (углеродной) пробе. Чтобы получить графитовую пробу, необходимо преобразовать CO2 в каждой пробе в графит перед анализом.
| | ИС МЕГАНОРМ: примечание. Текст дан в соответствии с официальным текстом документа. | |
С помощью УМС измеряют количество атомов 14C относительно преобладающего количества изотопов (одного из) изотопов 12C и/или 13C. Для того чтобы получить стандартизированное и нормализованное содержание 14C (в единицах pmC) в пробе, это измеренное отношение 14C/12C или 14C/13C используется в расчете относительно измеренного изотопного отношения в стандартном образце с известным количеством 14C.
A.3 Реагенты и материалы
Используют реагенты известной аналитической чистоты.
A.3.1 Катализатор (железо, медь).
A.3.2 Восстановитель: водород или порошок цинка.
A.3.3 Сертифицированный стандартный образец щавелевой кислоты, например, SRM 4990c.
A.3.4 Раствор кислоты, особо чистый; не содержащей углерод.
A.3.5 Жидкий азот.
A.4 Оборудование
Обычное лабораторное оборудование и в частности следующее.
A.4.1 Оборудование для подготовки пробы.
A.4.2 Ловушка с использованием жидкого азота.
A.4.3 Масс-спектрометр с ускорителем.
A.5 Методика
A.5.1 Раствор карбоната помещают в сосуд для экстракции.
A.5.2 Подсоединяют устройство для дозирования раствора кислоты.
A.5.3 Проводят очистку содержимого сосуда и устройства для дозирования (дегазация, удаление растворенных N2 и O2 из воздуха).
A.5.4 Добавляют раствор кислоты в раствор карбоната.
A.5.5 Удаляют водяной пар, применяя ловушку, заполненную ацетоном и сухим льдом.
A.5.6 Образующийся CO
2 улавливают в ловушке, которую погружают в жидкий N
2 (A.4.2).
A.5.7 Переносят CO2 в установку для получения графита.
A.5.8 В случае отбора пробы газа в емкость, действуют по той же процедуре, начиная с
A.5.5.
В качестве альтернативы, пробы газов могут быть проанализированы с использованием УМС
(A.4.3), оснащенным прямым вводом газообразных проб и газосовместимым источником ионов.
Газообразные пробы могут быть введены в установку для получения графита либо с помощью кварцевой трубки, либо после того, как они были уловлены в ловушке, охлаждаемой в жидком азоте, с помощью последующего нагревания. Затем газ преобразуют в графит
(A.3.2), используя железный или медный катализатор
(A.3.1) согласно уравнениям:

(A.1)

(A.2)
Примечание - В качестве альтернативы может быть проведен процесс восстановления с использованием цинка, при условии, что его точность и прецизионность контролируют аттестованными методиками.
A.5.9 Обеспечивают полное восстановление углерода до графита, избегая фракционирования (например, выделения воды, контролируя давление реакционной среды).
A.5.10 Графит спрессовывают до размера мишени и помещают на диск-селектор с ячейками для образцов для загрузки в УМС
(A.4.3). В ионизаторе УМС пучок ионов цезия (Cs
+) с высокой энергией фокусируют на мишени. В результате получаются отрицательно заряженные ионы атомов мишени, производя пучок ионов C
-. Мишени должны располагаться на расстоянии в 10 мм друг от друга, чтобы избежать перекрестного загрязнения и смещаться во время распыления, чтобы предотвратить появления лунок, вызывающих фракционирование. Затем пучок отрицательных ионов фокусируют с помощью линзы на рекомбинаторе. На этом участке ряд магнитов удаляет из ионного пучка неуглеродные ионы и разделяет три изотопа углерода (
12C,
13C и
14C). Затем диск модулятора физически блокирует большинство ионов
12C, что ослабляет пучки ионов углерода для последующего их объединения в единый пучок для одновременного введения в ускоритель.
A.5.11 В тандемном ускорителе ионы C- фокусируются, ускоряются и направляются к терминалу ускорителя, где перезаряжаются до положительных ионов. Эти положительные ионы приобретают дополнительную энергию в ионном "обдирающем" канале и ускоряются до высоких скоростей, что позволяет их точно разделить в высокоэнергетическом масс-спектрометре.
A.5.12 Интенсивности пучков 12C и 13C измеряют в чашах Фарадея (типичный ток 250 нА).
A.5.13 Пучок ионов 14C очищают электромагнитным массовым анализатором и детектируют с использованием либо газовой камеры, либо полупроводникового детектора. Детектор при необходимости можно отделить от вакуума ускорителя тонкой металлической фольгой.
A.6 Вычисление результатов
Соотношения изотопов
14C/
12C или
14C/
13C и
13C/
12C определяют относительно сертифицированного стандартного образца (см.
приложение E). Все значения pmC, полученные из радиоуглеродного анализа, должны быть скорректированы для фракций по изотопам с применением данных по стабильному изотопу углерода (значение

, основанное на измеренном отношении
13C/
12C).
Расчет количества
14C в каждой пробе в pmC проводят в соответствии со стандартизованной методикой для измерения УМС, приведенной в
E.4.2.2.
(обязательное)
ОПРЕДЕЛЕНИЯ СОДЕРЖАНИЯ 14C С ПРИМЕНЕНИЕМ
ЖИДКОСТНОГО СЦИНТИЛЛЯЦИОННОГО СЧЕТЧИКА
B.1 Общие положения
Настоящее приложение описывает методику определения 14C методом ЖСС в пробах CO2 и отходящего газа в выбросах стационарного источника.
B.2 Основные принципы
ЖСС определяет относительное содержание изотопа 14C косвенно, посредством регистрации бета-частиц, испускаемых им вследствие радиоактивного распада. Бета-частицы регистрируют путем их взаимодействия со сцинтиллятором.
Существуют два метода, которые могут быть использованы для подготовки отобранного CO2 для измерения активности:
- CO2, извлеченный из отходящего газа, превращают в бензол. Этот бензол перемешивают с органическим раствором, содержащим сцинтиллятор;
- CO2, извлеченный из отходящего газа, улавливают в растворе амина таким образом, чтобы образовывались карбаматы. Это раствор смешивают с органическим раствором, содержащим сцинтилляционный реагент.
Активность смеси 14C измеряют жидкостным сцинтилляционным счетчиком в беккерелях (Бк). Эту измеренную активность пробы используют для расчета стандартизированного и нормализованного содержания 14C (в единицах pmC) для каждой пробы относительно известной активности 14C в сертифицированном стандартном образце.
B.3 Реагенты и материалы
Используют реагенты только общепринятой аналитической чистоты и дистиллированную или деионизованную воду или воду эквивалентной чистоты.
B.3.1 Общие положения
B.3.1.1 Сертифицированный стандартный образец щавелевой кислоты, например, SRM 4990c.
B.3.1.2 Раствор HCl, 5 моль/л, или раствор H
2SO
4, 4 моль/л.
B.3.1.4 Сцинтилляционный коктейль.
B.3.1.5 Аминовый раствор для улавливания, например, 3-метоксипропиламин в этаноламине от

<1>.
--------------------------------
<1>

является примером подходящей серийно выпускаемой продукции. Информация приведена для удобства пользователей настоящего стандарта и не является рекламой ИСО данной продукции.
B.3.1.6
14C-маркированные растворы, для использования в качестве внутреннего стандарта.
B.3.2 Метод с использованием бензола
B.3.2.1 Металлический литий.
B.3.2.2 Концентрированная фосфорная кислота.
B.3.2.3 Хромовый или ванадиевый катализатор.
B.4 Оборудование
Чрезвычайно низкие уровни радиоактивного изотопа углерода даже в биомассе (в атмосфере Земли приблизительно 1·10-10%) требуют дополнительных мер предосторожности для точного измерения 14C.
Следует соблюдать особую осторожность для исключения влияния космического радиационного фона и фона окружающей среды, представленных другими существующими радиоизотопами, электронного шума и нестабильности, а также других факторов. Эти фоновые факторы ограничивают точность, прецизионность.
Поэтому качество используемого оборудования и его надежное функционирование являются критическими факторами получения результатов, соответствующих установленным техническим требованиям.
B.5 Методика
B.5.1 Общие положения
Наилучшие технические характеристики получены при превращении отобранного CO
2 в бензол и последующем подсчете активности бензола в подходящем сцинтилляционном коктейле
(B.3.1.4), как, например, установлено в
[6].
Также может быть использован метод прямого измерения активности CO2, уловленного в виде карбонатов. В этом случае CO2 улавливают подходящим раствором и перемешивают с раствором, содержащим сцинтиллятор. Поскольку может улавливаться лишь ограниченное количество углерода, то выбирать этот метод необходимо для проб с относительно высоким содержанием биогенного углерода.
Методика для метода превращения в бензол приведена в
B.5.2 и для метода прямого измерения в
B.5.3.
B.5.2 Превращение в бензол
Отобранный CO
2 реагирует в стехиометрическом соотношении (в отношении 3:1 лития к углероду) с расплавленным литием
(B.3.2.1), который предварительно нагревают до температуры 700 °C.
Получают Li2C2 путем медленного введения CO2 в расплавленный литий в сосуде из нержавеющей стали (или эквивалентном) под вакуумом с давлением менее 135 мПа.
Li2C2 нагревают до температуры приблизительно 900 °C и помещают под вакуум на 15 - 30 мин для удаления непрореагировавших газов и завершения реакции синтеза Li2C2.
Li2C2 охлаждают до комнатной температуры и осторожно подвергают гидролизу дистиллированной или деионизированной водой до образования газообразного ацетилена (C2H2) путем добавления воды по капле в сосуд.
Полученный ацетилен высушивают, пропуская его через ловушку с сухим льдом
(B.3.1.3), и впоследствии высушенный ацетилен собирают в ловушке, охлаждаемой жидким азотом
(B.3.2.4).
Ацетилен очищают путем пропускания через ловушку с фосфорной кислотой
(B.3.2.2), чтобы убрать следы примесей, и с помощью ловушки с сухим льдом удаляют воду.
Газ C
2H
2 каталитически превращают в бензол (C
6H
6) путем медленной подачи ацетилена на хромовый катализатор
(B.3.2.4), нагретый до температуры 90 °C или выше, с использованием кожуха с водяным охлаждением для того, чтобы избежать разложения от перегрева во время экзотермической реакции.
Примечание - В качестве альтернативы при температуре окружающей среды может использоваться ванадиевый катализатор.
Бензол выделяют из катализатора нагреванием при температуре от 70 °C до 110 °C, и затем собирают под вакуумом при температуре 78 °C. Затем бензол замораживают до момента проведения подсчета его активности.
Радон может быть удален при прокачке бензола при температуре сухого льда.
Смешивают бензол и сцинтилляционную жидкость при постоянных объеме и пропорции, в случае необходимости бензол может быть разбавлен бензолом, полученным из полезных ископаемых (99,999% чистоты, без тиофена).
Если требуется анализ изотопа 13C, представительная аналитическая часть пробы должна быть отобрана специально для определения 13C.
B.5.3.1 Общие положения
Методика прямого поглощения может быть использована при условии, что могут быть достигнуты требуемые рабочие характеристики.
Склянку для абсорбции загружают известным объемом абсорбента CO
2 (B.3.1.5). Следует использовать не более 80% абсорбционной емкости, для Carbo-Sorb E абсорбционная емкость составляет приблизительно 4,8·10
-3 моль/мл. Перед процессом абсорбции колбу следует охладить в ледяной бане. Проба газа поступает прямо из эластичной емкости или газового баллона, или после выделения из карбонатов при действии кислот
(B.3.1.2) на жидкий или твердый поглотитель CO
2.
После поглощения CO2 абсорбент переносят в виалу для последующего измерения. Прибавляют к нему равный объем сцинтилляционного раствора и смесь гомогенизируют.
В случае если CO2 высвобождается из карбонатов и, таким образом, не содержит другие газы, то склянка для абсорбции может быть заменена виалой. В этом случае могут быть пропущены некоторые этапы перемещения жидкости (и, соответственно, уменьшена возможность дополнительных погрешностей).
Если отбирать CO2 напрямую в виалу, то невозможно избежать потерь, возникающих вследствие неполного поглощения, особенно на поздней стадии процесса. Это можно учесть, взвесив виалу с абсорбентом (например, Carbo-Sorb E) до и после поглощения (с надлежащей коррекцией для незначительных изменений массы, используемой посуды и т.д.).
Количество водяного пара, перенесенного и поглощенного, может быть минимизировано, а также определено количественно при хранении охлажденного сосуда с CO2 при точно установленной температуре, в этом случае можно допустить, что выделяемый газ состоит только из CO2 и H2O, причем парциальное давление последнего определяется только температурой и составом жидкости.
Выделение CO2 из раствора абсорбера с щелочью должно быть проведено при контролируемом значении pH среды в диапазоне от 7 до 5,5. Известно, что любой нитрит-ион может быть поглощен этим раствором; NO/NO2 следовательно, может выделяться из абсорбционного раствора в качестве HNO2 в очень незначительной степени.
Использование внутреннего стандарта позволит определить и скорректировать совокупный эффект, проявляющийся в небольшой потере точности.
Если требуется анализ изотопа 13C, представительная аналитическая часть пробы должна быть отобрана специально для определения 13C.
Примечание - Абсорбент, содержащий первичный амин, при реакции с двумя частями CO2 образует карбаматы. Эти карбаматы значительно более устойчивы при значениях pH ниже 7, чем карбонаты; однако при длительном периоде подсчета некоторые карбаматы могут разрушиться под действием кислоты, что проявляется в виде потерь CO2. Этих проблем можно избежать при использовании более совместимых абсорбирующих и сцинтилляционных жидких смесей.
B.5.3.2 Измерение ЖСС
Виалу, содержащую смесь, помещают в ЖСС и проводят измерение. Обычное время измерений составляет от 6 до 24 часов. Выходной сигнал прибора преобразуют в значение активности по формуле

(B.1)
где A - импульсы в секунду, Бк;
E - интенсивность излучения в секунду;

- рассчитанная эффективность устройства

.
Примечание - Импульсы в секунду обычно сокращают как cps.
Активность пробы сравнивают с сертифицированным стандартным образцом. Число регистраций 14C [равное количеству бета-импульсов распада 14C в радиометрических детекторах (ЖСС)] относят к числу регистраций сертифицированного стандартного образца, полученному при тех же условиях.
Следует использовать метод внутреннего стандарта для проверки возникновения химического или оптического затухания для каждой пробы или для каждого типа пробы. С этой целью следует использовать соответствующие меченые
14C компоненты. Когда отобранный CO
2 поглощается в растворе первичного амина, следует использовать меченый раствор на основе карбонатов
(B.3.1.6).
Измерение следует проводить вместе с измерением холостой пробы.
B.5.3.3 Коррекция холостой пробы
Холостое значение должно быть получено с использованием раствора CO2 из карбонатов, полученных из полезных ископаемых, с общим количеством карбонатов в диапазоне их содержания для отобранной пробы.
Для этой холостой пробы счет должен производиться в течение того же промежутка времени, что и при измерении фактической пробы. В результате получают фоновый уровень для целой системы (оборудование и реагенты).
Статистическая погрешность счета импульсов, фона и стандартного образца является результатом процесса затухания импульсов (Пуассон). Следовательно, точность результата зависит от числа регистрируемых импульсов, где относительная погрешность обратно пропорциональна квадратному корню из числа импульсов. Суммарная погрешность представляет собой комбинацию аналитических погрешностей и погрешностей счета стандартного образца и определения фона.
Предел обнаружения счетчика является важным параметром, поскольку в большей части он определяет чувствительность всей аналитической процедуры. Чувствительность обычно выражают как "нижний предел обнаружения" (НПО). Эта величина представляет собой наименьшее количество радиоактивности, которое статистически отличается от фона. НПО может быть вычислен из времени подсчета, скорости счета пробы и фона, учитывая время подсчета для фона и пробы.

(B.2)
где E(Rn,LLD) - нижний предел обнаружения;

- коэффициент охвата (типичное значение: 1 645);
E(R0) - скорость счета фона;
t0 - время счета фона;
tb - время счета пробы.
B.6 Вычисление результатов
Фоновую скорость счета счетчика вычитают из скорости счета пробы для получения чистой скорости счета пробы. Активность
14C (DPM) получают, приводя скорость счета к скорости счета сертифицированного стандартного образца щавелевой кислоты, SRM 4990c
(B.3.1.1).
Вычисляют количество
14C в каждой пробе в pmC в соответствии со стандартизованной процедурой для измерений ЖСС, приведенной в
E.4.2.2.
Полученные величины pmC требуют корректировки для изотопного фракционирования с использованием отношения
13C/
12C по
формуле (E.7).
Если существует сдвиг постоянной

(возможно, региональный), который может быть отнесен к биогенной доле углерода, это значение можно использовать. Если не имеется никакой информации о сдвиге

, то следует использовать данные анализа измеренного содержания
13C.
Примечание - В
[21] предположили, что сдвиг

равен
, это соответствует "постулируемому среднему значению для земной древесины".
(обязательное)
ОПРЕДЕЛЕНИЯ СОДЕРЖАНИЯ 14C С ПРИМЕНЕНИЕМ БЕТА-ИОНИЗАЦИИ
C.1 Общие положения
Данное приложение описывает методику определения 14C с применением БИ в CO2 и пробах отходящего газа в выбросах стационарного источника.
C.2 Основные принципы
Метод БИ основан на косвенном определении изотопа 14C. В этом методе используют излучение бета-частиц вследствие радиоактивного распада изотопа 14C. Определяют бета-частицы посредством разрядов импульсов тока между высоковольтными электродами в пропорциональном газовом счетчике. Эти импульсы инициируют бета-частицы. Принцип детектирования напоминает работу счетчика Гейгера-Мюллера (СГМ), различие заключается в механизме образования лавины электронов в счетчике. Для применения этого метода проба должна быть в виде CO2 или преобразована в CO2. CO2, извлеченный из дымового газа, очищают, чтобы он соответствовал рабочему газу в пропорциональном газовом счетчике, например, удалением электроотрицательных примесей, например кислорода, SO2, паров воды и радона. Чистота газа является критичной (например, уровень O2 должен быть значительно ниже нескольких микролитров на литр).
Счет пробы идет несколько дней в системе счета излучения малой интенсивности для достижения числа счетов, достаточного для требуемой статистической точности.
CO
2, находящийся под давлением в центральной трубке (обычно при 0,2 - 0,3 МПа), вводят в пространство между центральным электродом и счетной стенкой, находящееся под высоким напряжением. Ионизация среды, обусловленная прохождением

в результате распада
14C, проявляется в виде ионизационного следа и лавинообразного потока электронов. Этот поток измеряют как электрический импульс. Любые примеси в газе подавляют образование лавины электронов, что приводит к необнаружению некоторых актов распада. Число импульсов в минуту и активность пробы определяют пропорциональными газовыми счетчиками. Эту измеренную активность пробы относят к измеренной активности сертифицированного стандартного образца с известным количеством
14C для получения стандартизированного и нормализованного содержания
14C (в pmC) для каждой пробы.
C.3 Реагенты и оборудование
Используют реагенты только общепринятой аналитической чистоты и дистиллированную или деионизованную воду или воду эквивалентной чистоты.
C.3.1 Реагенты и материалы
C.3.1.1 Раствор кислоты, например HCl 5 моль/л или H2SO4 2,5 моль/л.
C.3.1.2 Щелочной раствор, например KOH или NaOH от 2 моль/л до 4 моль/л.
C.3.1.3 Сухой лед.
C.3.1.4 Органический растворитель, ацетон или этиловый спирт.
C.3.1.5 Жидкий азот.
C.3.1.6 Сертифицированный стандартный образец щавелевой кислоты, например SRM 4990c.
C.3.2 Оборудование
C.3.2.1 Система для извлечения из карбонатов CO2, уловленного в ловушке с щелочным раствором.
C.3.2.2 Система очистки CO2, например, с использованием активированного угля.
C.3.2.3 Система для получения установленного количества пробы, например, использующая установление определенного давления CO2 в фиксированном объеме при известной температуре.
C.3.2.4 Система для приготовления проб стандартных образцов и фоновых проб.
C.3.2.5 Система счета излучения малой интенсивности с использованием газового пропорционального счетчика.
Приборы, используемые для измерений БИ, являются высокотехнологичными устройствами, разработанными в нескольких институтах, занимающихся радиоактивным изотопом углерода. На время публикации настоящего стандарта серийно выпускаемое оборудование было недоступно. Для обнаружения радиоуглерода воздействие фона должно быть сведено к минимуму. Газ (в данном случае очищенный, получаемый из газообразных продуктов горения) загружают и считывают его активность в счетчике, представляющем медную трубку (из ультрачистой меди); желаемое низкое значение фона получают применением плотного экранирования оборудования свинцом и применяя системы антисовпадений. Обычно приборы БИ расположены ниже поверхности земли, в подземных помещениях, чтобы обеспечить дополнительную защиту от космической радиации. Обычное время подсчета составляет несколько дней при измерениях излучения малой интенсивности.
C.4 Методика
C.4.1 Для проб газа начинают с
C.4.6.
C.4.2 Переносят раствор карбоната в колбу для экстракции.
C.4.3 Прикрепляют устройство дозирования кислотного раствора.
C.4.4 Откачивают колбу и устройство дозирования (дегазация, удаление растворенного N2 и O2 из воздуха).
C.4.5 Добавляют кислотный раствор в раствор карбоната.
C.4.6 Удаляют воду с использованием улавливающей ловушки, заполненной ацетоном и сухим льдом.
C.4.7 Собирают образующийся CO2 в ловушке из нержавеющей стали, которую погружают в жидкий N2. Количество CO2, необходимое для измерения в пропорциональном газовом счетчике, зависит от размера трубки газового счетчика (и от давления в трубке). В общем случае необходимо от 2 до 10 л CO2.
C.4.8 Очищают CO2.
C.4.9 На данном этапе следует отобрать небольшую пробу для определения величины
13C пробы на масс-спектрометре для определения соотношения стабильных изотопов.
C.4.10 Объем CO2 должен быть вычислен с учетом температуры, давления и известного объема системы улавливания.
C.4.11 Переносят CO2 в пропорциональный газовый счетчик (объем CO2, необходимый для заполнения газового счетчика, определяется конструкцией счетчика, в общем случае он находится в диапазоне от 2 до 10 л).
C.4.12 Проводят счет в течение нескольких дней с требуемой точностью. Для проб с высоким содержанием биогенного углерода достаточно двух дней счета, для проб с высоким содержанием углерода от полезных ископаемых необходимо четыре дня.
C.4.13 Вычисляют активность пробы (в cpm) с использованием скорости счета пробы и фона.
C.4.14 Статистическая погрешность счета импульсов, фона и стандартного образца, является результатом процесса затухания, следующего из статистического закона распределения Пуассона. Следовательно, точность результата зависит от числа регистрируемых импульсов, где относительная погрешность обратно пропорциональна квадратному корню числа импульсов.
C.4.15 Суммарная погрешность представляет собой комбинацию аналитических погрешностей и погрешностей счета стандартного образца и определения фона. Последние погрешности обычно являются небольшими величинами по сравнению с погрешностями отбора и приготовления пробы. При времени счета несколько дней может быть получена полная (абсолютная) прецизионность, составляющая от 0,3% до 0,4%. Установленная прецизионность должна быть указана при представлении результата.
C.4.16 При использовании активированного угля для очистки CO2 картридж с углем следует предварительно прогреть в течение примерно 1 ч, чтобы удалить следы радона (продукта радиоактивного распада урана, находящегося в активированном угле в следовых количествах). Для других методов очистки достаточно времени выдерживания, равного двум дням, чтобы избежать любого вклада радона.
C.5 Вычисление результатов
Фоновую скорость счета счетчика вычитают из скорости счета пробы для получения чистой скорости счета пробы (в dpm). Активность
14C (pmC) получают, приводя чистую скорость счета к измеренной скорости счета сертифицированного стандартного образца (щавелевой кислоты, SRM 4990c, или другого образца, прослеживаемого к данному стандартному образцу). Вычисляют количество
14C в каждой пробе в pmC в соответствии со стандартизованной процедурой для измерений БИ, приведенной в
E.4.2.2. Если корректировку на фракционирование изотопов не учитывают, то это отражают в протоколе испытаний.
(справочное)
РАБОЧИЕ ХАРАКТЕРИСТИКИ МЕТОДОВ ОПРЕДЕЛЕНИЯ 14C
D.1 Рабочие характеристики методов определения 14C
В таблицах D.1 -
D.8 представлена сводка доступной информации об этом предмете. Эти данные получены в результате исследований, выполненных с использованием тождественных процедур отбора и подготовки проб и методик анализа.
Таблица D.1
Проверка характеристик методов измерения 14C
Метод | Ссылка | Число измерений | Отношение биогенного CO2 к общему | Коэффициент вариации |
n | r | CV, % |
Проба x, лаб. УМС | | 224 | 0,506 | 0,6 |
Проба y, лаб. УМС | | 79 | 0,531 | 0,4 |
Проба y, лаб. ЖСС | | 7 | 1,00 | 4,0 |
Проба z, лаб. ЖСС | | 4 | 0,579 | 4,3 |
Таблица D.2
Лабораторные исследования проверки рабочих характеристик
Метод | Число измерений | Отношение биогенного CO2 к общему | Коэффициент вариации |
n | r | CV, % |
Проба x, УМС | 79 | 0,531 | 0,4 |
Проба x, БИ | 5 | 0,560 | 1,8 |
Проба y, прямое ЖСС | 16 | 0,482 | 4,7 |
Таблица D.3
Проверка характеристик двигательной установки, Нидерланды
Метод | Число измерений | Отношение биогенного CO2 к общему | Коэффициент вариации |
n | r | CV, % |
Проба 27-8 | 4 | 0,051 | 2,4 |
Таблица D.4
Проверка характеристик мусоросжигательного завода,
Метод | Число измерений | Отношение биогенного CO2 к общему | Коэффициент вариации |
n | r | CV, % |
Проба 28-8 | 8 | 0,479 | 2,4 |
Проба 29-8 | 4 | 0,501 | 1,7 |
Таблица D.5
Проверка характеристик мусоросжигательного завода, Дания
Метод | Процент современного углерода | Коэффициент вариации |
pmC | CV, % |
Рабочая проба в высшей точке | 62 | 3,2 |
Рабочая проба в низшей точке | 26 | 6,0 |
Таблица D.6
Проверка характеристик мусоросжигательного завода, Бельгия
Метод | N измерения | Измеренное отношение биогенного CO2 к общему | Рассчитанное отношение биогенного CO2 к общему |
n | rизм, масс. доля, % | rрас, масс. доля, % |
Проба 1, УМС | 1 | 0,538 | 0,55 |
Проба 2, УМС | 1 | 0,506 | 0,46 |
Проба 3, УМС | 1 | 0,526 | 0,51 |
Таблица D.7
Проверка характеристик цементных заводов, Германия
[27]
Параметр | Отношение биогенного CO2 к общему, полученному из измеренного значения, pmC |
Измерение газа; поглощение в 4 моль/л раствора NaOH; продолжительность 30 мин; 45 н.л, rизм | Вводимый материальный баланс; определение 14C во всех вводимых материалах, rрас |
ЖСС |
Цементный завод 1 | 10,3 | 8,3 |
2 пробы | 8,1 | 9,2 |
3 дня | 7,8 | 9,1 |
Среднее значение, % | 8,7 | 8,9 |
Стандартное отклонение | 1,1 | 0,4 |
Коэффициент вариации CV, % | 12,8 | 4,5 |
Бета-ионизация |
Цементный завод 2 | 21,3 | 20,9 |
2 пробы | 19,3 | 20,8 |
3 дня | 18,3 | 19,8 |
Среднее значение, % | 19,6 | 20,5 |
Стандартное отклонение | 1,2 | 0,5 |
Коэффициент вариации CV, % | 6,4 | 2,4 |
УМС |
Цементный завод 3 | 12,2 | 12,5 |
3 пробы | 13,0 | |
1 день | 13,0 | |
Среднее значение, % | 12,7 | 12,5 |
Стандартное отклонение | 0,5 | - |
Коэффициент вариации CV, % | 3,7 | - |
ЖСС |
Цементный завод 3 | 11 | 12,5 |
3 пробы | 8 | 12,5 |
1 день | 15 | 12,5 |
Среднее значение, % | 11,3 | 12,5 |
Стандартное отклонение | 2,9 | - |
Коэффициент вариации CV, % | 25,3 | - |
Таблица D.8
Проверка характеристик городских заводов твердых отходов,
Метод | Содержание органической биомассы | Содержание органической биомассы |
wbio, масс. доля, % | ebio, доля в энерг. балансе, % |
Масс-энергетический баланс | 53 | 35 |
14C, радиоуглерод (ЖСС) | 49 | 32 |
Ручная сортировка | 67 | 50 |
Таблица D.9
Проверка характеристик трех установок
для сжигания отходов, Швейцария
[15],
[16]
Метод | Число измерений | Измеренное отношение биогенного CO2 к общему | Коэффициент вариации | Рассчитанное отношение биогенного CO2 к общему | Коэффициент вариации |
n | rизм, масс. доля, % | CV, % | rрас, масс. доля, % | CV, % |
Завод A, УМС | 6 | 0,527 | 2,2 <a> | 0,519 | 2,2 <a> |
Завод B, УМС | 6 | 0,521 | 7,2 <a> | 0,518 | 2,5 <a> |
Завод C, УМС | 6 | 0,512 | 6,2 <a> | 0,497 | 3,3 <a> |
<a> Стандартную неопределенность средних значений вычисляли из шести периодов отбора проб от 3 до 4 дней. |
D.2 Краткие сведения о рабочих характеристиках
Основываясь на доступной информации, приведены следующие согласованные значения расширенной неопределенности метода измерений.
Диапазон | U |
r = 0,02 - 1 10 | 10; |
r = 0,1 - 1 5 | 5, |
где r - отношение биогенного CO2 к общему, выраженное из измеренного значения pmC;
U - относительная расширенная неопределенность измерения (полученная с использованием коэффициента охвата, равного двум).
При значительных флуктуациях расхода дымового газа качество измерений зависит главным образом от вклада погрешности при измерении расхода газа.
Когда анализ 14C проводят с помощью УМС или БИ, вклад аналитической погрешности результатов 14C обычно имеет небольшой вклад в общую погрешность, в случае анализа на ЖСС этот вклад может быть более значительным, особенно при низких значениях r (< 0,2).
(справочное)
ОПРЕДЕЛЕНИЕ И УРАВНЕНИЯ МЕТОДА, ОСНОВАННОГО НА АНАЛИЗЕ 14C
E.1 Общие положения
В настоящем приложении приведены определения и уравнения для методов 14C для определения доли биогенного CO2 в общем содержании CO2 дымового газа. Цель этого приложения состоит в том, чтобы предоставить пользователям настоящего стандарта знание о конкретном применении 14C и гарантировать стандартизацию рассчитанных результатов с использованием различных методик измерения 14C.
Е.2 Обозначения, аббревиатура и определения
Используемые обозначения, аббревиатуры и другие определения, отличные от тех, что были приведены в
разделах 3 и
4, приведены ниже.
14CsampleC - измеренное значение содержания 14C (в pmC) в исследованной пробе CO2;
14CbioC - значение содержания 14C (в pmC) в биогенной части углерода в пробе CO2;
14CfossilC - значение содержания 14C (в pmC) в части углерода из полезных ископаемых в пробе CO2, приравненное к 0 pmC;
14CotherC - значение содержания 14C (в pmC) в части углерода другого происхождения, не биогенного и не из полезных ископаемых, в пробе CO2 (как CO2 из воздуха);
fbioC - доля биогенного CO2 в общей пробе CO2;
ffossilC - доля CO2 из полезных ископаемых в общей пробе CO2;
fotherC - доля CO2 от других источников в общей пробе CO2;

- стандартизированное и нормализованное количество
14C в первичном сертифицированном стандартном образце щавелевой кислоты (HOx-II, SRM 4990c)

;

- нормализованный сигнал
14C (содержание изотопа или активность) измеренной пробы;

-
14C в первичном сертифицированном стандартном образце щавелевой кислоты (HOx-II, SRM 4990c);
14Asample - измеренный сигнал 14C (содержание изотопа или активность) пробы;
14Abg sample - измеренный сигнал 14C (содержание изотопа или активность) фоновой пробы или холостой пробы, измеренный одновременно с основной пробой и представляющий собой фоновый сигнал 14C измеренной пробы;
14AOX2 - измеренный (средний) сигнал 14C (содержание изотопа или активность) пробы сертифицированного стандартного образца щавелевой кислоты (HOx-II, SRM 4990c), полученный в той же серии измерений, что и сигнал от образца пробы;

- измеренный (средний) сигнал
14C (содержание изотопа или активность) фоновых проб, который представляет собой фоновый сигнал при измерении пробы сертифицированного стандартного образца щавелевой кислоты (HOx-II, SRM 4990c), полученный в той же серии измерений, что и сигнал от стандартного образца;

- измеренная эффективность используемой методики измерений;

- стандартизованное значение фракционирования изотопов в пробе,

(относительно VPDB стандартного образца для калибровки NBS 19 кальцит, RM8544);

- измеренное значение фракционирования изотопов в пробе. Его получают путем измерения отношения
13C/
12C в пробе относительно измеренного отношения
13C/
12C в сертифицированном стандартном образце с известным значением фракционирования изотопов относительно VPDB стандартного образца для калибровки NBS 19 кальцит, RM8544;

- стандартизованное значение фракционирования изотопов сертифицированного стандартного образца щавелевой кислоты (HOx-II, SRM 4990c).

относительно VPDB стандартного образца для калибровки NBS 19 кальцит, RM8544;

- скорость распада
14C (в годах) - изотоп
14C имеет период полураспада 5730 лет;
tm - дата момента измерения (в годах; например, 2010-08-15 - это 2010,612 лет);
ts - дата момента прекращения жизнедеятельности организмов (смерти, сбора урожая, заготовки древесины), из которых образовался биогенный углерод в пробе (в годах; например, 2010-08-15 - это 2010,612 лет);
t0 - стандартный год в вычислениях стандартизированной и нормализованной величины 14C в пробе, t0 = 1950 год.
E.3 Принцип метода: Как определить соотношение биогенного и ископаемого CO2 в пробе дымового газа
Главной особенностью метода является использование 14C для определения соотношения биогенного и ископаемого CO2 в общей совокупности CO2 дымового газа. Основной принцип метода 14C: выбросы CO2 от полезных ископаемых не содержат большого количества радиоактивного изотопа 14C (из-за возраста топлива, полученного из полезных ископаемых, и периода полураспада 14C 5730 лет: т.е. все 14C атомы распались), в то время как выделение биогенного CO2 (углерод от биомассы; возрастом не более 200 лет) содержит определенное количество 14C. Чем меньшее содержание 14C зафиксировано в пробе CO2 по сравнению с содержанием 14C в биогенном CO2, тем ниже доля биогенного CO2 в соответствующей пробе и тем выше доля CO2 от полезных ископаемых. Это отношение используют для вычисления соотношения биогенного и ископаемого CO2.
14CsampleC = 14CbioC·fbioC + 14CfossilC·ffossilC + 14CotherC·fotherC. (E.1)
Формула (E.1) показывает, что измеренное значение содержания
14C в пробе CO
2 14CsampleC определяется суммой значений содержания
14C в биогенной (bioC) и ископаемой (fossilC) долях CO
2, а также значения содержания
14C из других источников (otherC), таких как воздух (участвующий в процессе сгорания) или источники загрязнения проб (во время их отбора и пробоподготовки)
[19].
Учитывая, что 14CfossilC = 0,
14CsampleC = 14CbioC·fbioC + 14CotherC·fotherC. (E.2)
Из формулы (E.2) получаем формулу для вычисления вклада биогенного CO2 в пробу дымового газа:

(E.3)
Если проба не содержит CO2 из источников, кроме биогенного углерода и/или углерода из полезных ископаемых, формула упрощается:

(E.4)
Доля CO2 из полезных ископаемых в пробе может быть вычислена по биогенной доле по формуле
ffossilC = 1 - fbioC. (E.5)
Примечание - В
разделе 8 вместо "доли биогенного CO
2" используют "отношение биогенного CO
2 к общему CO
2", для которого используют в качестве обозначения
r вместо
fbioC.
Формулу (1) можно сравнить с
формулами (E.3) и
(E.4). Параметр "измеренное содержание
14C" определяют как
14CsampleC - (
14CotherC·
fotherC) в
(E.3) и как
14CsampleC в
(E.4). Стандартное значение содержания
14C выражено как
14CbioC в
(E.3) и
(E.4) (в настоящем стандарте определено его значение: 105% на 2009 г.).
E.4 Определение стандартизированных значений 14C при вычислении соотношения биогенного и ископаемого CO2 в пробе
E.4.1 Общие положения
Количество
14C в пробе может быть напрямую определено с применением трех измерительных приборов: масс-спектрометра с ускорителем (УМС), пропорционального газового счетчика (в настоящем стандарте применяющегося в методе БИ) и жидкостного сцинтилляционного счетчика (ЖСС). Для вычисления биогенной фракции CO
2 в пробе в соответствии с
формулой (E.3) все отдельные значения
14C (
14CsampleC,
14CbioC и
14CotherC) следует вычислять в соответствии с одними и теми же стандартизованными методиками. Это необходимо для получения идентичных результатов для проб, имеющих в составе одинаковое количество биогенной фракции CO
2, независимо от того, когда, где и как (измерительный прибор и методика) эта проба была измерена
[21].
E.4.2 Стандартизация результатов 14C для трех различных измерительных приборов
E.4.2.1 Общие положения
При использовании количества 14C для определения биогенной доли CO2 в пробе стандартизованная методика измерения количества 14C в пробе должна содержать:
a) поправку для количества 14C на фон и загрязнения, вносимые при предварительной обработке и анализе пробы, определяемую с помощью измерений "фоновой пробы" или "холостой пробы";
b) поправку для эффективности измерения;
c) вычисления для стандартизации измеренного количества 14C к количеству 14C на грамм углерода (что существенно для пропорционального газового счетчика и ЖСС);
d) поправку на фракционирование изотопов с нормализацией к стандартизованному значению фракционирования изотопа 13C;
e) поправку на распад за период между датой измерения и датой момента прекращения жизнедеятельности (исходного материала биомассы);
f) вычисления для расчета измеренного и скорректированного количества 14C в пробе в процентах (или долях) от установленного и международно-стандартизованного количества 14C в сертифицированном стандартном образце, действительного на 1950 год:

(E.6)
Большая часть обозначений, использованных в формуле (E.6), аналогична обозначениям, определенным в
[17].
В
формуле (E.6) для измеренного количества
14C в отдельной пробе углерода
14Asample сначала следует ввести поправки на сигналы от фона и источников загрязнения углерода (при предварительной обработке и анализе пробы)
14Abg и эффективности измерения. Измеренная активность
14C (для пропорционального газового счетчика и ЖСС) должна быть рассчитана на грамм углерода.
Для измеренной величины
14C следует ввести поправку на фракционирование изотопов, основанную на измерении
13C/
12C в графите (в случае УМС, в течение той же серии измерений, что и для измерений
14C) или в пробе CO
2 (в случае ЖСС и БИ, измеренном отдельно с помощью масс-спектрометрии соотношений стабильных изотопов), путем нормализации его значения с использованием коэффициента:

и

(относительно VPDB стандартного образца NBS 19 кальцит, RM8544).

(E.7)
где (13C/12C)sample - измеренное отношение 13C/12C в пробе;
(13C/12C)ref - (среднее) отношение 13C/12C 12C в измеренном сертифицированном стандартном образце;

- стандартизованное значение для сертифицированного стандартного образца (относительно VPDB стандартного образца NBS 19 кальцит, RM8544).
Для нормализованной величины 14C14AN следует ввести поправку на распад в период времени между датой окончания жизненного цикла ts и датой измерения tm с учетом скорости распада
давая в результате значение

.
Для того чтобы получить

, вычисляют отношение

к значению

, которое является стандартизованным и нормализованным количеством
14C в первичном сертифицированном стандартном образце щавелевой кислоты (HOx-II, SRM 4990c), действительное строго на 1950 год (
t0).
В работе
[22] значение

определено как "современный" процент, pM. В другой литературе

иногда упоминают как долю современного углерода. В работе
[17] рекомендовано прекратить использование сокращения pM, потому что его уже используют в химии при работе с растворами и океанографии для обозначения пикомолей на литр. В литературе также используют сокращения pMC, pmC и pmc, которые определяют, как "процент современного углерода". Использование сокращения "pmC" имеет наименьшее сходство с пикомолями на литр (pM). Поэтому сокращение "pmC" рекомендовано для использования для применения в определении биогенной доли углерода.
По определению относительное количество
14C в образце, выраженное в единицах pmC, дается значением

. Кроме того, конкретные результаты должны быть нормализованы для фракционирования изотопов и должны быть скорректированы на распад.
E.4.2.2 Стандартизация результатов измерения УМС
Система УМС измеряет содержание изотопов
12C,
13C и
14C в пробе углерода в одном и том же цикле. В серию проб также должен входить сертифицированный стандартный образец. Измеренное количество
14C (равно содержанию изотопа
14C) в пробе относят к измеренному в той же серии измерений среднему количеству
14C в сертифицированном стандартном образце. Если сертифицированный стандартный образец представляет собой первичный сертифицированный стандартный образец щавелевой кислоты (HOx-II, SRM 4990c), который обычно используют с этой целью, стандартизированное количество
14C в пробе

должно быть вычислено по формуле

(E.8)
Для интерпретации коэффициента 0,7459, используемого для получения стандартизированного значения для

, см.
[17]. Поскольку процедуры пробоподготовки сертифицированного стандартного образца и пробы могут быть различными, значения
14Abg для обоих образцов также могут быть разными.
Поскольку эффективности измерения сертифицированного стандартного образца и пробы равны, этот поправочный коэффициент нивелируется.

(E.9)
В
формуле (E.9) 
определяют из измеренного УМС отношения
13C/
12C в том же цикле измерений, в котором измеряют отношения
14C/
12C и
14C/
13C.
При таком способе (при использовании этих результатов измерения УМС) нормализация возможна для изотопного фракционирования, которое имело место во время прироста углерода, когда он являлся частью живого организма, в течение отбора проб и пробоподготовки (включая графитизацию) и в течение измерения УМС (которое может значительно отличаться в случае отдельных измерений индивидуальных проб).
E.4.2.3 Стандартизация результатов измерения жидкостного сцинтилляционного счетчика
ЖСС измеряет количество бета-распадов 14C (импульсов в минуту) косвенно, измеряя сигналы взаимодействия бета-частиц со сцинтилляционными молекулами (эмиссия фотонов - свет - пропорционально к энергии распада). Для этого измерения пробу CO2 или пропускают через подходящий абсорбирующий раствор, к которому также добавлен сцинтилляционный реактив ("CO2-смесь"), или преобразуют в бензол и смешивают с жидким (сцинтилляционным) реактивом в "смесь бензола". Метод "смеси бензола" более точен, чем метод "CO2-смеси".
Для стандартизации результатов измерений ЖСС следует применять ту же методику стандартизации, что при использовании УМС и пропорционального газового счетчика:

(E.10)
Если не проводили измерения первичного или вторичного сертифицированного стандартного образца, то параметр эффективности измерения не нивелируется и должен быть определен с использованием внутреннего стандарта. Является также необходимым определение активности пробы в dpm/гC (распадов в минуту на грамм углерода) вместо cpm/гC

.
Измерения ЖСС были описаны (в ASTM D6866
[6]), подразумевают использование и внутренних, и внешних стандартных образцов. Внутренние стандарты используют для определения эффективности счета (в cpm/dpm; см.
[6]). Внешние стандартные образцы могут быть использованы для определения общей эффективности измерения. Основываясь на литературе, а также на настоящем стандарте, тем не менее не всегда понятно, когда следует применять различные внутренние и внешние стандартные образцы и является ли это частью стандартизованной методики. Поэтому стандартизованная методика измерений ЖСС еще не является достаточно проработанной. Необходимо участие экспертов в области измерений ЖСС для стандартизации измерений поправочного коэффициента эффективности измерений.
В соответствии с
[6] введение поправок на изотопное фракционирование для метода ЖСС с использованием "CO
2-смеси" не требуется. Это в соответствии с
[18] связано с тем, что точность этого метода так невелика (до 30 раз ниже по сравнению с методом УМС и в пять раз ниже по сравнению с методом ЖСС со "смесью бензола", что обусловлено нестабильностью процедур пробоподготовки и фактического счета), так что систематическую погрешность в измеренной активности, возникающую из-за пропуска поправки на изотопное фракционирование, не принимают в расчет.
Для метода ЖСС со "смесью бензола" и для метода ЖСС с "CO
2-смесью" с относительно высокой точностью должны быть применены поправки на изотопное фракционирование. Значение

может быть измерено с применением масс-спектрометрии соотношений стабильных изотопов и должно быть вычислено в соответствии с
формулой (E.7).
Если поправку на изотопное фракционирование (приравнивается к нормализации) не учитывают в стандартизированной методике, то это приводит к дополнительным неопределенностям конечного результата (т.е. рассчитанной доли биогенного CO
2). О возможных отклонениях значений доли биогенного CO
2 см.
[18], если в стандартизированной методике не предусмотрена поправка на изотопное фракционирование в период, когда углерод являлся частью живого организма. Если углерод из "биогаза" является частью исследуемой пробы и доля биогенного CO
2 относительно высока, то в некоторых случаях отклонения могут быть даже выше, чем указано в
[18], вследствие относительно низкого значения

биогаза.
E.4.2.4 Стандартизация результатов измерения пропорционального газового счетчика
Пропорциональный газовый счетчик измеряет количество распадов
14C (импульсов в минуту, cpm) в пробах CO
2. По сравнению с УМС-измерением измеренное количество
14C (активность, равная количеству распадов
14C в минуту, вычисленная на грамм C) в пробе должно быть скорректировано с учетом фоновой активности, и это также должно быть проведено и относительно измеренной (усредненной) активности
14C в сертифицированном стандартном образце согласно
формуле (E.8) или
(E.9). Поправочный коэффициент эффективности измерения нивелируется в этих уравнениях. В качестве сертифицированного стандартного образца может быть первичный сертифицированный стандартный образец щавелевой кислоты HOx-II, SRM 4990c, или вторичный сертифицированный стандартный образец с известным отношением активности к первичному сертифицированному стандартному образцу, которые должны быть измерены тем же самым пропорциональным газовым счетчиком, что и проба.
Поправка на изотопное фракционирование

может быть измерена с применением масс-спектрометрии соотношений стабильных изотопов и вычислена в соответствии с
формулой (E.7). Из-за того, что значения
13C и
14C не измеряют тем же самым методом и в том же самом цикле измерений, невозможно внести поправки величины
14C на изотопное фракционирование, которое могло произойти во время измерения. Поскольку этот коэффициент является (в целом) очень маленьким по сравнению с поправочным коэффициентом на изотопное фракционирование, которое происходило в углеродном материале в то время, когда углерод являлся частью живого организма, или в течение отбора и пробоподготовки, им можно пренебречь.
E.5 Вычисление биогенной фракции углерода
E.5.1 Общие положения

(E.11)
Для вычисления доли биогенного углерода в пробе
fbioC все используемые значения количества
14C должны быть выражены в значениях pmC, например

, вычисленное в соответствии с методикой стандартизации, как приведено в
E.3.
E.5.2 Как определить 14CotherC и fotherC
Для применения по отношению к пробам CO2 из дымового газа вычисления должны быть скорректированы на количество 14C, полученное из источников, отличных от биомассы. И количество 14C, и доли CO2 в общем количестве отобранного CO2 должны быть определены для каждого альтернативного источника углерода.
| | ИС МЕГАНОРМ: примечание. Текст дан в соответствии с официальным текстом документа. | |
В
[19] описана процедура коррекции для проб CO
2 из атмосферного воздуха и CO
2, загрязненного используемым жидким абсорбентом. Поправка на CO
2 из атмосферного воздуха необходима, только доля биогенного CO
2 в пробе меньше 10%.
Иногда невозможно измерить количество 14C в других источниках углерода или трудно определить долю этих источников. Только в случае, если доля этих источников в общем содержании CO2 в пробе относительно высокая, устанавливают степень влияния используемого значения количества 14C и его отклонений на рассчитанное значение доли биогенного CO2. Тем не менее этот фактор не следует игнорировать без предварительного исследования.
E.5.3 Определение 14CbioC
В настоящем стандарте для
14CbioC используют фиксированное (ежегодное) значение [справочное содержание
14C в
формуле (1)]. Выбранное значение основано на измерениях атмосферного
14CO
2 при измерениях фоновых показателей станциями в отдаленных районах. Биомасса использует CO
2 из атмосферы при фотосинтезе. Значение количества
14C, измеренное в биомассе, показывает усредненную величину содержания
14C в атмосфере для места, где биомасса росла, в течение периода, в который исследуемая часть биомассы использовала CO
2. Различные процессы в атмосфере определяют значение количества
14C (в ртС) и являются причиной его изменений во времени и пространстве.
14C получается в атмосфере (реакция между
14N и нейтронами) с относительно постоянной скоростью под воздействием космической радиации. Из-за распада количество
14C в атмосфере остается относительно стабильным. На присутствие
14C в атмосфере влияют антропогенные факторы, например наземные испытания ядерных бомб (примерно 1955 - 1980 гг.) и выбросы атомных электростанций. Наземные испытания ядерных бомб в 1960-х годах вызвали увеличение относительного количества
14C в атмосфере с коэффициентом 2. С тех пор как запретили наземные испытания, значение количества
14C в атмосфере уменьшилось (см.
рисунок E.1), главным образом из-за углеродного обмена атмосферы с океаном и биосферой. В наше время снижение проявляется в большей степени под влиянием выбросов CO
2 от топлива, полученного из полезных ископаемых
[13].
Значение количества
14C, которое измеряют в углероде биомассы, таким образом, определяется, когда, как долго и где росла биомасса. Поскольку биомасса, из которой получают энергию и используют на промышленных предприятиях, имеет очень неоднородное происхождение, можно ожидать большие отклонения в (усредненном) значении количества
14C в CO
2 из таких топливных материалов (см. пример для отходов в
[11],
[16]). Если это принять во внимание при вычислениях доли биогенного CO
2, то неопределенность значения
14CbioC топливного биогенного углерода значительно увеличивает общую неопределенность в вычисленной доле биогенного CO
2 (см. результаты в
[15],
[19]).
В
[16] приведены отчеты по обширному годовому учебно-производственному исследованию (2010 - 2011 гг.) в пяти установках для сжигания отходов на определение доли выбросов CO
2 из биогенных источников и от полезных ископаемых при сжигании отходов в Швейцарии. Для этого проекта было принято стандартное значение (содержание
14C в чистых биогенных отходах) в 111,3 pmC +/- 3,8 pmC (1 с, нормальное распределение) на 2010 г. Этот уровень в 2015 г. уменьшится до 109,2 pmC +/- 3,8 pmC из-за непрерывного растворения диоксида углерода вместе с CO
2 от полезных ископаемых в атмосфере. Стандартные значения опубликованы в
[15] и вычислены из отношения характерных биогенных фракций отходящих газов и соответствующего содержания
14C в них (личное сообщение Дж. Мон, датированное 18.11.2011).
Основываясь на значении количества 14C, измеренном летом 2011 г. в Lutjewad (NL), получено значение pmC, равное 104%, для биомассы, выращенной и наблюдаемой в период 2010 - 2012 гг. (устное сообщение С. Пэлстрой, датированное 07.11.2011).
Рисунок E.1 - Уменьшение значения
14CbioC в атмосферном
воздухе с CO2 (в pmC), измеренное на высокогорной альпийской
станции в Вермунте (Австрия) и Jungfraujoch (Швейцария) (см.
[14], для данных 2004 - 2008 гг. см. сообщение
С. Пэлстроя и И. Левина)
(справочное)
СВЕДЕНИЯ О СООТВЕТСТВИИ ССЫЛОЧНЫХ МЕЖДУНАРОДНЫХ СТАНДАРТОВ
НАЦИОНАЛЬНЫМ СТАНДАРТАМ
Таблица ДА.1
Обозначение ссылочного международного стандарта | Степень соответствия | Обозначение и наименование соответствующего национального стандарта |
ISO 7934 | - | |
ISO 10396 | - | |
ISO 15713 | IDT | ГОСТ Р ИСО 15713 "Выбросы стационарных источников. Отбор проб и определение содержания газообразных фтористых соединений" |
<*> Соответствующий национальный стандарт отсутствует. До его принятия рекомендуется использовать перевод на русский язык данного международного стандарта. Перевод данного международного стандарта находится в Федеральном информационном фонде стандартов. Примечание - В настоящей таблице использовано следующее условное обозначение степени соответствия стандарта: - IDT - идентичный стандарт. |
| ISO 921:1997 | Nuclear energy - Vocabulary (ИСО 931:1997 Ядерная энергия. Словарь) |
| ISO 10780 | Stationary source emissions - Measurement of velocity and volume flowrate of gas streams in ducts (ИСО 10780 Выбросы стационарных источников. Измерение скорости и объемного расхода газовых потоков в трубах) |
| ISO 12039 | Stationary source emissions - Determination of carbon monoxide, carbon dioxide and oxygen - Performance characteristics and calibration of automated measuring systems (ИСО 12039 Выбросы стационарных источников. Определение содержания монооксида углерода, диоксида углерода и кислорода. Характеристики и калибровка автоматических измерительных систем в условиях применения) |
| EN 15259 | Air quality - Measurement of stationary source emissions - Requirements for measurement sections and sites and for the measurement objective, plan and report (EH 15259 Качество воздуха. Выбросы стационарных источников. Требования к выбору измерительных секций и мест измерений, цели и плану измерений и составлению отчета) |
[5] | EN 15440 | Solid recovered fuels - Methods for the determination of biomass content (EH 15440 Топливо твердое из бытовых отходов. Определение содержания биомассы) |
| ASTM D6866 | Standard test methods for determining the biobased content of solid, liquid, and gaseous samples using radiocarbon analysis |
| ASTM D7459 | Standard practice for collection of integrated samples for the speciation of biomass (biogenic) and fossil-derived carbon dioxide emitted from stationary emissions sources |
[8] | Ciceri G., Achilli M., Calcagnile L., Toscano G., Corinaldesi F. Comparison of different methodologies for the determination of the biogenic carbon content in a sample of solid recovered fuels, 3rd International Conference on Sustainable Energy and Environmental Protection, Dublin, 2009-08-12/15 |
| Ciceri G., Cipriano D., Roberto G., Scacchi C., Bianchilli B., Catanzani G. Quantification of biomass content in municipal solid waste and solid recovered fuels by means of the measuring of C at the plant emission, 3rd International Conference on Sustainable Energy and Environmental Protection, Dublin, 2009-08-12/15 |
| Fellner J., Cencic O., Rechberger H. A new method to determine the ratio of electricity production from fossil and biogenic sources in waste-to-energy plants. Environ. Sci. Technol. 2007, 41, pp. 2579 - 2586 |
| Fellner J., & Rechberger H. Abundance of 14C in biomass fractions of wastes and solid recovered fuels. Waste Manag. 2009, 29, pp. 1495 - 1503 |
[12] | Calcagnile L., Quarta G., D'Elia G., Ciceri G., Martinotti V. Radiocarbon AMS determination of the biogenic component in CO2 emitted from waste incineration. Nucl. Instrum. Meth. B. 2011, 269, pp. 3158 - 3162 |
| Levin I., Naegler T., Kromer B., Diehl M., Francey R.J., Gomez-Pelaez A.J. et al. Observations and modelling of the global distribution and long-term trend on atmospheric 14CO2. Tellus. 2010, 62B, pp. 26 - 46 |
| Levin I., & Kromer B. The tropospheric 14CO2 level in mid-latitudes of the northern hemisphere (1959 - 2003). Radiocarbon. 2004, 46, pp. 1261 - 1272 |
| Mohn J., Szidat S., Fellner J., Rechberger H., Quartier R., Buchmann B. et al. Determination of biogenic and fossil CO2 emitted by waste incineration based on 14CO2 and mass balances. Bioresour. Technol. 2008, 99, pp. 6471 - 6479 |
| Mohn J., Szidat S., Zeyer К., Emmenegger L. Fossil and biogenic CO2 from waste incineration based on a yearlong radiocarbon study. Waste Manag. 2012, 32, pp. 1516 - 1520 |
| MookW.G., & van der Plicht J. Reporting 14C activities and concentrations. Radiocarbon. 1999, 41, pp. 227 - 239 |
| Norton G.A., & Devlin S.L. Determining the modern carbon content of biobased products using radiocarbon analysis. Bioresour. Technol. 2006, 97, pp. 2084 - 2090 |
| Palstra S.W.L., & Meijer H.A.J. Carbon-14 based determination of the biogenic fraction of industrial CO2 emissions - Application and validation. Bioresour. Technol. 2010, 101, pp. 3702 - 3710 |
| Performance of AMS analysis of a biomass reference material, quality chart data |
| Polach H.A.Four decades of LS counting and spectrometry. In: Radiocarbon after four decades. An interdisciplinary perspective (Taylor R.E., Long A., Kra R. eds.). Springer, New York, NY, 1992 |
| Stuiver M., & Polach H.A. Discussion: Reporting of 14C data. Radiocarbon. 1977, 19, pp. 355 - 363 |
| Flamme S., Hams S. Bestimmung des biogenen Kohlenstoffs - Methodenvergleich [Determination of biogenic carbon - Method comparison], DepoTech, Leoben, 2008-11-12 |
[24] | Biogenic carbon determination in flue gas of a German cement kiln, ECRA, VDZ, Leoben University, ECN |
| Validation study on waste incinerators Belgium, ECN. TU Vienna. In press |
| Validation study municipal waste incinerators Denmark. Force. In press. |
| VDZ, ed. Messung von biogenen CO2-Emissionen in Drehofenabgasen [Measurement of biogenic CO2 emissions in rotary kiln exhaust gases]. In:  [Progress report] 2009 - 2012, p. 41. Dusseldorf: Verlag Bau & Technik, 2012 |