Главная // Актуальные документы // ГОСТ Р (Государственный стандарт)СПРАВКА
Источник публикации
М.: Стандартинформ, 2016
Примечание к документу
Документ
введен в действие с 1 июля 2017 года.
Название документа
"ГОСТ Р 57170-2016. Национальный стандарт Российской Федерации. Оборудование спортивное на роликах. Скейтборды. Требования безопасности и методы испытаний"
(утв. и введен в действие Приказом Росстандарта от 19.10.2016 N 1430-ст)
"ГОСТ Р 57170-2016. Национальный стандарт Российской Федерации. Оборудование спортивное на роликах. Скейтборды. Требования безопасности и методы испытаний"
(утв. и введен в действие Приказом Росстандарта от 19.10.2016 N 1430-ст)
Утвержден и введен в действие
по техническому регулированию
и метрологии
от 19 октября 2016 г. N 1430-ст
НАЦИОНАЛЬНЫЙ СТАНДАРТ РОССИЙСКОЙ ФЕДЕРАЦИИ
ОБОРУДОВАНИЕ СПОРТИВНОЕ НА РОЛИКАХ
СКЕЙТБОРДЫ
ТРЕБОВАНИЯ БЕЗОПАСНОСТИ И МЕТОДЫ ИСПЫТАНИЙ
Roller sport equipment. Skateboards.
Safety requirements and test methods
(EN 13613:2009, NEQ)
ГОСТ Р 57170-2016
Дата введения
1 июля 2017 года
1 РАЗРАБОТАН Саморегулируемой организацией Некоммерческим партнерством "Отраслевое объединение национальных производителей в сфере физической культуры и спорта "Промспорт" (СРО "Промспорт")
2 ВНЕСЕН Техническим комитетом по стандартизации ТК 444 "Спортивные и туристские изделия, оборудование, инвентарь, физкультурные и спортивные услуги"
3 УТВЕРЖДЕН И ВВЕДЕН В ДЕЙСТВИЕ
Приказом Федерального агентства по техническому регулированию и метрологии от 19 октября 2016 г. N 1430-ст
4 Настоящий стандарт разработан с учетом основных нормативных положений европейского стандарта ЕН 13613:2009 "Оборудование спортивное на роликах. Скейтборды. Требования безопасности и методы испытаний" (EN 13613:2009 "Roller sports equipment - Skateboards - Safety requirements and test methods", NEQ)
5 ВВЕДЕН ВПЕРВЫЕ
Правила применения настоящего стандарта установлены в
статье 26 Федерального закона "О стандартизации в Российской Федерации". Информация об изменениях к настоящему стандарту публикуется в ежегодном (по состоянию на 1 января текущего года) информационном указателе "Национальные стандарты", а официальный текст изменений и поправок - в ежемесячном информационном указателе "Национальные стандарты". В случае пересмотра (замены) или отмены настоящего стандарта соответствующее уведомление будет опубликовано в ближайшем выпуске ежемесячного информационного указателя "Национальные стандарты". Соответствующая информация, уведомление и тексты размещаются также в информационной системе общего пользования - на официальном сайте Федерального агентства по техническому регулированию и метрологии в сети Интернет (www.gost.ru)
Настоящий стандарт распространяется на скейтборды классов A и B, управление которыми осуществляет пользователь путем перемещения центра тяжести собственного тела.
Настоящий стандарт устанавливает классификацию, требования безопасности и методы испытаний скейтбордов классов A и B.
Настоящий стандарт не распространяется на скейтборды, предназначенные для пользователей массой до 20 кг, и скейтборды с бензиновым двигателем или электрическим приводом.
В настоящем стандарте использована нормативная ссылка на следующий стандарт:
ГОСТ 2.601-2013 Единая система конструкторской документации. Эксплуатационные документы
Примечание - При пользовании настоящим стандартом целесообразно проверить действие ссылочных стандартов в информационной системе общего пользования - на официальном сайте Федерального агентства по техническому регулированию и метрологии в сети Интернет или по ежегодному информационному указателю "Национальные стандарты", который опубликован по состоянию на 1 января текущего года, и по выпускам ежемесячного информационного указателя "Национальные стандарты" за текущий год. Если заменен ссылочный стандарт, на который дана недатированная ссылка, то рекомендуется использовать действующую версию этого стандарта с учетом всех внесенных в данную версию изменений. Если заменен ссылочный стандарт, на который дана датированная ссылка, то рекомендуется использовать версию этого стандарта с указанным выше годом утверждения (принятия). Если после утверждения настоящего стандарта в ссылочный стандарт, на который дана датированная ссылка, внесено изменение, затрагивающее положение, на которое дана ссылка, то это положение рекомендуется применять без учета данного изменения. Если ссылочный стандарт отменен без замены, то положение, в котором дана ссылка на него, рекомендуется применять в части, не затрагивающей эту ссылку.
В настоящем стандарте применены следующие термины с соответствующими определениями:
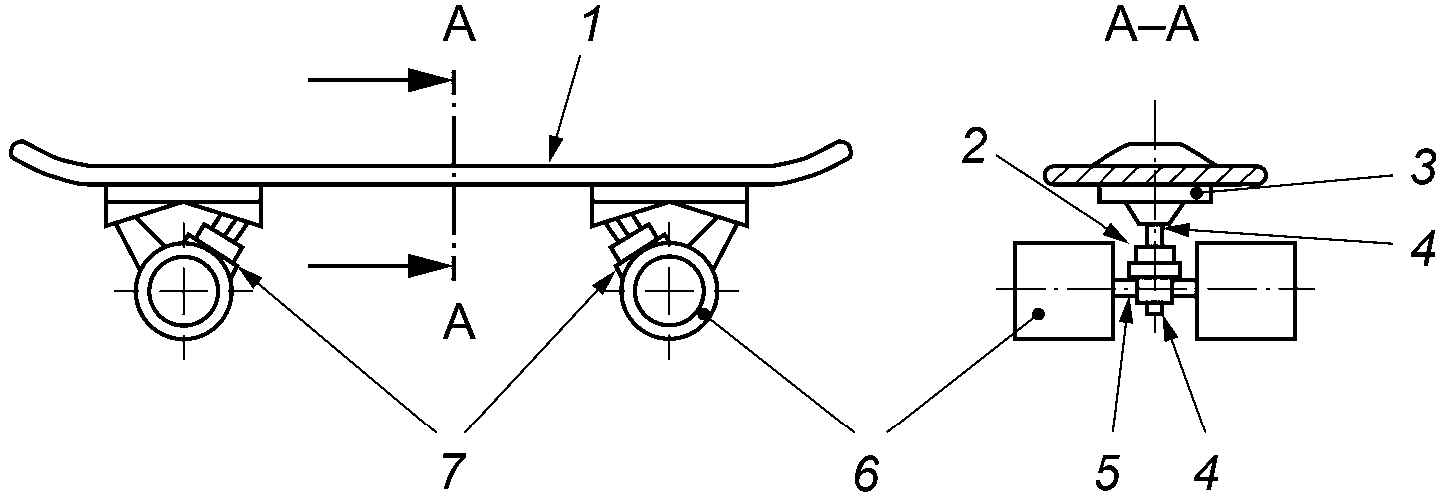
3.1 скейтборд: Спортивный инвентарь, состоящий из деки и двух подвесок с парой роликов на каждой, управление которым осуществляет пользователь путем перемещения центра тяжести собственного тела (см. рисунок 1).
1 - дека; 2 - амортизатор подвески; 3 - платформа подвески;
4 - основной болт подвески; 5 - ось; 6 - ролик; 7 - подвеска
Рисунок 1 - Основные элементы скейтборда
3.2 подвеска: Часть скейтборда, соединяющая деку с колесами и обеспечивающая поворот колес при наклоне деки.
3.3 затяжка подвески: Усилие затяжки основного болта, создающее определенное давление на амортизатор, от которого (давления) зависит ход оси пары роликов.
3.4 максимальная затяжка подвески: Затяжка подвески, при которой усилие затяжки основного болта является максимальным, вследствие чего давление на амортизатор максимально.
3.5 минимальная затяжка подвески: Затяжка подвески, при которой усилие затяжки основного болта является минимальным, вследствие чего давление на амортизатор отсутствует.
3.6 средняя затяжка подвески: Затяжка подвески, при которой усилие затяжки основного болта меньше максимального и больше минимального.
Скейтборды классифицируют в соответствии с таблицей 1 в зависимости от массы пользователей, для которых они предназначены.
Таблица 1
Классификация скейтбордов
Класс | Описание |
A | Скейтборды, предназначенные для пользователей массой 20 - 100 кг |
B | Скейтборды, предназначенные для пользователей массой 20 - 50 кг |
5 Требования безопасности
5.1 Общие требования
5.1.1 Элементы скейтборда, доступные пользователю, должны быть выполнены таким образом, чтобы предотвратить возможность получения травм.
5.1.2 Самоконтрящиеся гайки, используемые в скейтборде, должны находиться в зацеплении с болтом по всей длине резьбы и предохранительной части.
5.2 Дека скейтборда
5.2.1 Дека должна иметь закругленную форму. Радиус закругления должен быть не менее 10 мм, как показано на рисунке 2.
R - радиус закругления
Рисунок 2 - Дека скейтборда
5.2.2 Кромки деки должны быть гладкими без заусенцев.
5.2.3 На поверхность деки, обращенную к пользователю, должно быть нанесено противоскользящее покрытие.
5.3 Подвеска скейтборда
5.3.1 Крепежные элементы подвески не должны выступать над поверхностью деки, обращенной к пользователю.
5.3.2 При максимальной затяжке подвески элементы основного болта не должны касаться деки.
5.3.3 Если ось и установленная на нее пара роликов выступают за деку, то они не должны выступать над поверхностью деки, обращенной к пользователю.
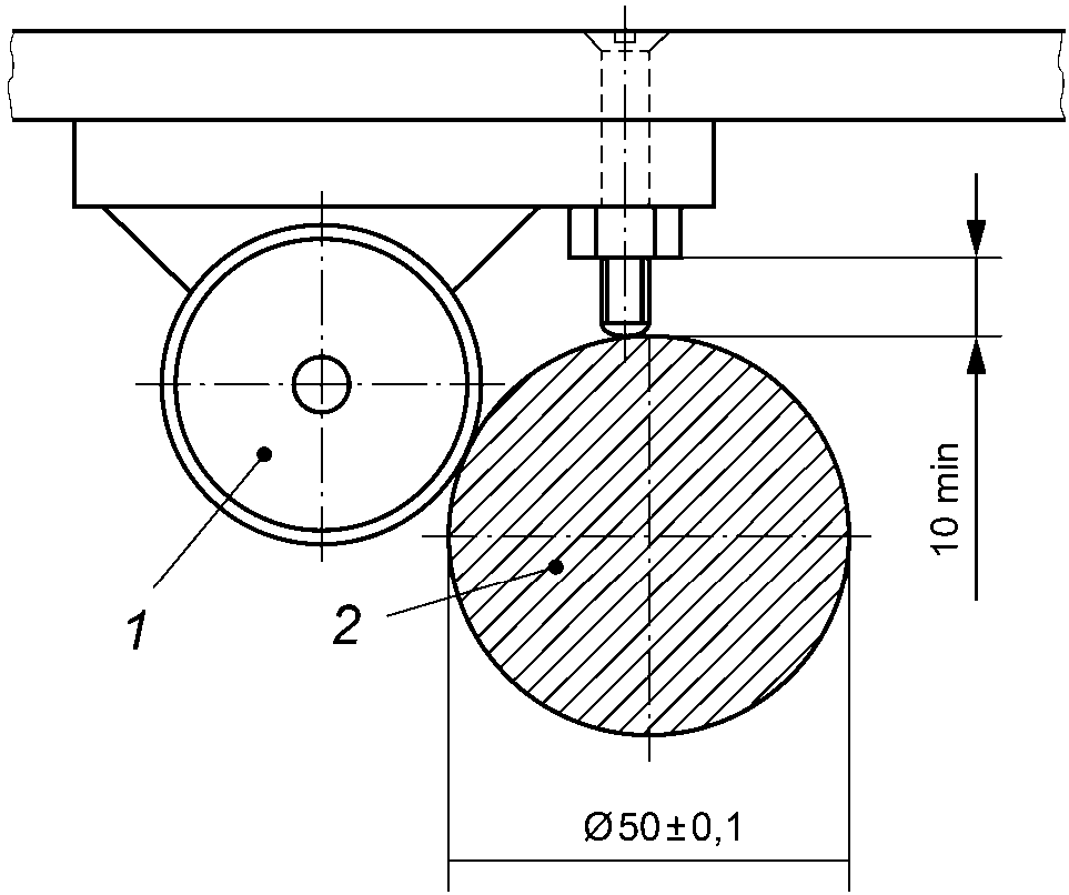
5.3.4 Выступающие элементы подвески длиной более 10 мм и площадью менее 100 мм
2 не должны касаться испытательного цилиндра диаметром (50,0 +/- 0,1) мм и длиной не менее 150 мм, приложенного к паре роликов, установленных на одной оси (см.
рисунок 5).
5.4 Коэффициент трения сцепления роликов
Коэффициент трения сцепления роликов

должен быть не менее 0,3. Коэффициент трения сцепления роликов

вычисляют по формуле

, (1)
где g - ускорение свободного падения, м/с2;
F - трение сцепления роликов (см.
6.5), Н.
Примечание - Ускорение свободного падения g принимают равным 9,81 м/с2.
5.5 Подшипники роликов скейтборда
Подшипники роликов нагруженного скейтборда должны выдерживать движение с равномерной скоростью (20 +/- 0,5) км/ч в течение заданного времени в соответствии с
6.6 без стопорения и раскалывания.
5.6 Износостойкость скейтборда
Скейтборд должен быть износостойким. После проведения испытания по
6.7 на скейтборде не должно быть повреждений, нарушающих его функционирование по назначению.
5.7 Стойкость скейтборда к ударным нагрузкам
5.7.1 Скейтборд должен выдерживать удар свободно падающего груза массой (20,0 +/- 0,5) кг с определенной высоты в соответствии с
6.9 о поверхность деки по центру и в местах крепления подвесок без повреждений, нарушающих его функционирование по назначению.
5.7.2 Скейтборд должен выдерживать удар пары роликов о бордюрный камень в соответствии с
6.10 без повреждений, нарушающих его функционирование по назначению.
6.1 Общие требования
Требования безопасности в соответствии с
разделом 5 проверяют измерительными и органолептическими методами.
6.2 Отбор образцов
Для испытаний отбирают два исправных скейтборда одной модели со средней затяжкой подвески.
6.3 Условия выдержки и испытаний
Выдержку и испытания образцов проводят при температуре (23 +/- 2) °C и относительной влажности воздуха (50 +/- 5)% или при температуре (20 +/- 2) °C и относительной влажности воздуха (65 +/- 5)%, если не установлено иное.
6.4 Последовательность проведения испытаний
6.4.1 Первый образец подвергают испытаниям в следующей последовательности:
- определение трения сцепления роликов (см.
6.5);
- испытание подшипников роликов скейтборда (см.
6.6);
- испытание износостойкости скейтборда (см.
6.7).
6.4.2 Второй образец подвергают испытаниям в следующей последовательности:
- испытание выступающих элементов подвески (см.
6.8);
- испытание стойкости скейтборда к удару свободно падающего груза (см.
6.9);
- испытание стойкости пары роликов к удару о бордюрный камень (см.
6.10).
6.5 Определение трения сцепления роликов
6.5.1 Трение сцепления роликов определяют путем протягивания роликов по поверхности стальной пластины, обработанной методом продольного строгания, с шероховатостью Ra от 1,5 до 2,0 мкм.
6.5.2 Поверхность роликов скейтборда и стальной пластины обезжиривают.
6.5.3 Каждую подвеску скейтборда нагружают массой (20,0 +/- 0,5) кг.
6.5.4 Нагруженный скейтборд устанавливают на стальную пластину таким образом, чтобы оси были расположены перпендикулярно к продольным полосам поверхности стальной пластины.
6.5.5 К подвескам скейтборда, как показано на рисунке 3, прикладывают постепенно увеличивающуюся силу F, значение которой измеряют в момент начала движения роликов.
1 - стальная пластина; 2 - точка приложения силы F;
3 - груз; F - прикладываемая сила
Рисунок 3 - Схема приложения силы F
6.5.6 Коэффициент трения сцепления

рассчитывают по
формуле (1).
6.6 Испытание подшипников роликов скейтборда
6.6.1 Одну из подвесок скейтборда нагружают:
- массой (50,0 +/- 0,5) кг - для скейтбордов класса A;
- массой (40,0 +/- 0,5) кг - для скейтбордов класса B.
6.6.2 Скейтборд приводят в движение и обеспечивают его движение с равномерной скоростью (20,0 +/- 0,5) км/ч:
- в течение 6 мин - для скейтбордов класса A;
- в течение 3 мин - для скейтбордов класса B.
6.6.3 После проведения испытания определяют состояние подшипников.
6.7 Испытание износостойкости скейтборда
6.7.1 Испытанию подвергают пару роликов, которую не нагружали при испытании подшипников по
6.6.
6.7.2 Для испытания износостойкости скейтборда используют цилиндр с выступами, расположенными таким образом, чтобы за 1,5 с пара роликов скейтборда проходила не менее одного выступа (см. рисунок 4). Диаметр цилиндра должен быть не менее 700 мм.
1 - испытательный цилиндр с выступами; 2 - груз
Рисунок 4 - Испытание износостойкости скейтборда
6.7.3 Скейтборд фиксируют с одной стороны таким образом, чтобы пара роликов на другой стороне касалась испытательного цилиндра и могла совершать только возвратно-поступательное движение (см.
рисунок 4).
6.7.4 Испытуемую пару роликов нагружают:
- массой (40,0 +/- 0,5) кг - для скейтбордов класса A;
- массой (25,0 +/- 0,5) кг - для скейтбордов класса B.
6.7.5 Испытательный цилиндр вращают с окружной скоростью не менее 0,5 м/с.
6.7.6 Испытание проводят до тех пор, пока пройденный путь роликов не составит (25,0 +/- 0,5) км.
6.8 Испытание выступающих элементов подвески
6.8.1 Испытательный цилиндр диаметром (50,0 +/- 0,1) мм и длиной не менее 150 мм прикладывают к паре роликов, как показано на рисунке 5.
1 - ролик; 2 - испытательный цилиндр
Рисунок 5 - Испытание выступающих элементов подвески
6.8.2 Наличие/отсутствие касания выступающих элементов подвески длиной более 10 мм и площадью менее 100 мм2 регистрируют.
6.9 Испытание стойкости скейтборда к удару свободно падающего груза
6.9.1 Для проведения испытания используют:
- цилиндрический груз массой (20,0 +/- 0,5) кг с резиновой накладкой диаметром (100,0 +/- 0,1) мм, толщиной (17 +/- 1) мм, твердостью (70 +/- 2) единиц по Шору A;
- направляющую трубу (см. рисунок 6).
1 - направляющая труба; 2 - груз; 3 - резиновая накладка
Рисунок 6 - Испытание скейтборда на стойкость к удару
свободно падающего груза
6.9.2 Если дека, подвески или колеса скейтборда изготовлены из пластмассы, то скейтборд выдерживают при температуре минус (5 +/- 1) °C в течение не менее 6 ч. Испытание начинают через 1 мин после извлечения образца из условий, при которых его выдерживали, а заканчивают - в течение 5 мин.
6.9.3 Испытание проводят в трех точках - по центру деки и в местах крепления подвесок скейтборда. В каждой точке проводят по три испытания.
6.9.4 Скейтборд фиксируют. Груз свободно падает через направляющую трубу на поверхность деки с высоты:
- (300 +/- 5) мм - по центру деки скейтбордов класса A;
- (200 +/- 5) мм - в остальных точках скейтбордов классов A и B.
6.10 Испытание стойкости пары роликов к удару о бордюрный камень
6.10.1 Для проведения испытания используют бордюрный камень, высота которого равна диаметру роликов.
6.10.2 Скейтборд приводят в движение и обеспечивают его перемещение со скоростью 18 км/ч навстречу бордюрному камню. После удара испытание повторяют два раза.
На каждый скейтборд должна быть нанесена четкая маркировка, содержащая:
- товарный знак предприятия-изготовителя;
- модель и (или) артикул (при наличии);
- массу пользователя (класс скейтборда);
- дату изготовления (месяц и год);
- обозначение настоящего стандарта.
8 Документация, предоставляемая изготовителем
8.1 Общие требования
К каждому скейтборду изготовитель прикладывает эксплуатационную документацию в соответствии с
ГОСТ 2.601.
8.2 Дополнительные требования
8.2.1 Сведения о конструкции скейтборда должны содержать:
- предупреждение о том, что самостоятельное внесение пользователем изменений в конструкцию скейтборда может привести к снижению уровня безопасности;
- предупреждение о том, через какой период эксплуатации могут ослабнуть соединения самоконтрящихся гаек и других самостопорящихся крепежных элементов.
8.2.2 Руководство по эксплуатации скейтборда должно содержать:
- описание поверхности для эксплуатации скейтборда;
- предупреждение о необходимости соблюдения правил дорожного движения при эксплуатации скейтборда;
- описание правильной техники катания и торможения;
- информацию о технике безопасности при катании на скейтборде;
- рекомендации об использовании защитного инвентаря и отражающих приспособлений в процессе эксплуатации скейтборда;
- информацию о необходимости проверки затяжки подвески, креплений и соединений скейтборда перед каждым использованием.
8.2.3 Руководство по техническому обслуживанию должно содержать:
- указание о необходимости регулярного проведения технического обслуживания для обеспечения безопасности скейтборда;
- информацию о необходимости регулярного ухода за узлами подшипников;
- рекомендации об использовании смазочных средств для подшипников;
- информацию о регулировке затяжки подвески;
- предупреждение о необходимости замены роликов и амортизаторов скейтборда;
- рекомендации по устранению сколов и трещин деки, острых кромок элементов скейтборда и т.д.;
- рекомендации о проведении текущего контроля.