Главная // Актуальные документы // ГОСТ Р (Государственный стандарт)СПРАВКА
Источник публикации
М.: Стандартинформ, 2016
Примечание к документу
Документ
введен в действие с 1 июля 2017 года.
Название документа
"ГОСТ Р 57169-2016. Национальный стандарт Российской Федерации. Оборудование спортивное на роликах. Коньки роликовые. Требования безопасности и методы испытаний"
(утв. и введен в действие Приказом Росстандарта от 19.10.2016 N 1429-ст)
"ГОСТ Р 57169-2016. Национальный стандарт Российской Федерации. Оборудование спортивное на роликах. Коньки роликовые. Требования безопасности и методы испытаний"
(утв. и введен в действие Приказом Росстандарта от 19.10.2016 N 1429-ст)
Утвержден и введен в действие
по техническому регулированию
и метрологии
от 19 октября 2016 г. N 1429-ст
НАЦИОНАЛЬНЫЙ СТАНДАРТ РОССИЙСКОЙ ФЕДЕРАЦИИ
ОБОРУДОВАНИЕ СПОРТИВНОЕ НА РОЛИКАХ
КОНЬКИ РОЛИКОВЫЕ
ТРЕБОВАНИЯ БЕЗОПАСНОСТИ И МЕТОДЫ ИСПЫТАНИЙ
Roller sport equipment. Inline-skates. Safety requirements
and test methods
(EN 13843:2009, NEQ)
ГОСТ Р 57169-2016
Дата введения
1 июля 2017 года
1 РАЗРАБОТАН Саморегулируемой организацией Некоммерческим партнерством "Отраслевое объединение национальных производителей в сфере физической культуры и спорта "Промспорт" (СРО "Промспорт")
2 ВНЕСЕН Техническим комитетом по стандартизации ТК 444 "Спортивные и туристские изделия, оборудование, инвентарь, физкультурные и спортивные услуги"
3 УТВЕРЖДЕН И ВВЕДЕН В ДЕЙСТВИЕ
Приказом Федерального агентства по техническому регулированию и метрологии от 19 октября 2016 г. N 1429-ст
4 Настоящий стандарт разработан с учетом основных нормативных положений европейского стандарта ЕН 13843:2009 "Оборудование спортивное на роликах. Коньки роликовые. Требования безопасности и методы испытаний" (EN 13843:2009 "Roller sports equipment - Inline-skates - Safety requirements and test methods", NEQ)
5 ВВЕДЕН ВПЕРВЫЕ
Правила применения настоящего стандарта установлены в
статье 26 Федерального закона от 29 июня 2015 г. N 162-ФЗ "О стандартизации в Российской Федерации". Информация об изменениях к настоящему стандарту публикуется в ежегодном (по состоянию на 1 января текущего года) информационном указателе "Национальные стандарты", а официальный текст изменений и поправок - в ежемесячном информационном указателе "Национальные стандарты". В случае пересмотра (замены) или отмены настоящего стандарта соответствующее уведомление будет опубликовано в ближайшем выпуске ежемесячного информационного указателя "Национальные стандарты". Соответствующая информация, уведомление и тексты размещаются также в информационной системе общего пользования - на официальном сайте Федерального агентства по техническому регулированию и метрологии в сети Интернет (www.gost.ru)
Настоящий стандарт распространяется на однорядные роликовые коньки классов A и B (далее - роликовые коньки), предназначенные для пользователей массой от 20 до 100 кг.
Настоящий стандарт устанавливает классификацию, требования безопасности и методы испытаний роликовых коньков классов A и B.
Настоящий стандарт не распространяется на роликовые коньки, предназначенные для пользователей массой до 20 кг.
В настоящем стандарте использована нормативная ссылка на следующий стандарт:
ГОСТ 2.601-2013 Единая система конструкторской документации. Эксплуатационные документы
Примечание - При пользовании настоящим стандартом целесообразно проверить действие ссылочных стандартов в информационной системе общего пользования - на официальном сайте Федерального агентства по техническому регулированию и метрологии в сети Интернет или по ежегодному информационному указателю "Национальные стандарты", который опубликован по состоянию на 1 января текущего года, и по выпускам ежемесячного информационного указателя "Национальные стандарты" за текущий год. Если заменен ссылочный стандарт, на который дана недатированная ссылка, то рекомендуется использовать действующую версию этого стандарта с учетом всех внесенных в данную версию изменений. Если заменен ссылочный стандарт, на который дана датированная ссылка, то рекомендуется использовать версию этого стандарта с указанным выше годом утверждения (принятия). Если после утверждения настоящего стандарта в ссылочный стандарт, на который дана датированная ссылка, внесено изменение, затрагивающее положение, на которое дана ссылка, то это положение рекомендуется применять без учета данного изменения. Если ссылочный стандарт отменен без замены, то положение, в котором дана ссылка на него, рекомендуется применять в части, не затрагивающей эту ссылку.
В настоящем стандарте применены следующие термины с соответствующими определениями:
3.1 конек роликовый однорядный: Спортивный инвентарь, состоящий из ботинка и прикрепленной к нему раме с роликами, расположенными в один ряд друг за другом, предназначенный для катания по твердой ровной поверхности.
3.2 ходовая часть роликового конька: Часть роликового конька, основными элементами которой являются рама, оси, ролики и подшипники.
Роликовые коньки классифицируют в соответствии с таблицей 1 в зависимости от массы пользователей, для которых они предназначены.
Таблица 1
Классификация роликовых коньков
Класс | Описание |
A | Роликовые коньки, предназначенные для пользователей массой 20 - 100 кг |
B | Роликовые коньки, предназначенные для пользователей массой 20 - 60 кг |
5 Требования безопасности
5.1 Общие требования
5.1.1 Выступающие элементы и кромки на поверхности роликовых коньков, доступные пользователю, должны быть изготовлены таким образом, чтобы предотвратить возможность получения травм. Наличие заусенцев недопустимо.
5.1.2 Шнурки, фиксатор голени и пяточный ремень должны обеспечить плотную фиксацию роликового конька на ноге пользователя.
5.1.3 Самоконтрящиеся гайки, используемые в роликовом коньке, должны находиться в зацеплении с болтом по всей длине резьбы и предохранительной части.
5.2 Крепление рамы роликов к ботинку
5.2.1 Крепление рамы роликов к ботинку осуществляют одним из следующих способов:
- с помощью ремней;
- с помощью крепежных элементов, не предусматривающих снятие роликов пользователем самостоятельно без специальных приспособлений;
- с помощью крепежных элементов, предусматривающих снятие роликов пользователем самостоятельно без специальных приспособлений.
5.2.2 Крепление рамы роликов к ботинку должно быть выполнено таким образом, чтобы предотвратить возможность самопроизвольного отделения рамы роликов от ботинка.
5.2.3 Крепление рамы роликов к ботинку должно выдерживать максимальную квазистатическую растягивающую нагрузку 1000 Н, прикладываемую к раме роликов со скоростью менее 20 мм/мин, при этом после проведения испытания места крепления рамы роликов к ботинку должны быть целыми без трещин и разрушений.
5.3 Оси роликов
5.3.1 Оси не должны сдвигаться и деформироваться при движении роликов.
5.3.2 Крепления роликов на осях должны быть выполнены таким образом, чтобы предотвратить их самопроизвольное ослабление.
5.4 Коэффициент трения сцепления ролика
Коэффициент трения сцепления ролика

должен быть не менее 0,3. Коэффициент трения сцепления ролика

вычисляют по формуле

, (1)
где g - ускорение свободного падения, м/с2;
F1 - сосредоточенная вертикальная нагрузка (см.
рисунок 1), Н;
F2 - трение сцепления ролика (см.
рисунок 1), Н;
mE - масса ролика, кг.
Примечание - Ускорение свободного падения g принимают равным 9,81 м/с2.
5.5 Пяточный тормоз роликового конька
5.5.1 Расстояние между пяточным тормозом и ближайшим к нему роликом в свету должно быть не менее 7 мм и не более 17 мм.
5.5.2 Пяточный тормоз должен выдерживать вертикально направленный удар в соответствии с
6.8 без разрушения и самопроизвольного отделения от рамы роликового конька.
5.5.3 Пяточный тормоз должен выдерживать растягивающую нагрузку 40 Н в соответствии с
6.10 без самопроизвольного отделения от рамы роликового конька.
5.6 Износостойкость роликового конька
Роликовый конек должен быть износостойким. После проведения испытания по
6.9 на роликовом коньке не должно быть повреждений, нарушающих его функционирование по назначению (например, самопроизвольного отделения элементов ходовой части, ослабления крепления роликов на осях, деформации роликов, стопорения и раскалывания подшипников и т.д.).
5.7 Стойкость роликового конька к ударным нагрузкам
5.7.1 Роликовый конек должен выдерживать горизонтально направленный удар по переднему ролику в соответствии с
6.7 без повреждений, нарушающих его функционирование по назначению (например, самопроизвольного отделения элементов ходовой части, ослабления крепления роликов на осях, деформации роликов, стопорения и раскалывания подшипников, трещин и разрушений в местах крепления рамы роликов к ботинку и т.д.).
5.7.2 Роликовый конек должен выдерживать вертикально направленный удар по поверхности всех роликов в соответствии с
6.12 без повреждений, нарушающих его функционирование по назначению (например, самопроизвольного отделения элементов ходовой части, ослабления крепления роликов на осях, деформации роликов, стопорения и раскалывания подшипников, трещин и разрушений в местах крепления рамы роликов к ботинку и т.д.).
6.1 Общие требования
Требования безопасности в соответствии с
разделом 5 проверяют измерительными и органолептическими методами.
6.2 Отбор образцов
Для испытаний отбирают две пары роликовых коньков одной модели. Если конструкцией модели роликовых коньков предусмотрено наличие пяточного тормоза, то один из пары роликовых коньков, отобранных для испытаний, должен быть оснащен пяточным тормозом.
6.3 Условия выдержки и испытаний
Выдержку и испытания образцов проводят при температуре (23 +/- 2) °C и относительной влажности воздуха (50 +/- 5)% или при температуре (20 +/- 2) °C и относительной влажности воздуха (65 +/- 5)%, если не установлено иное.
6.4 Требования к колодке для испытаний
6.4.1 Колодка не должна быть изготовлена из гибкого материала.
6.4.2 Колодка должна подходить образцу для испытаний по форме и размерам.
6.5 Последовательность проведения испытаний
6.5.1 Первый образец (один роликовый конек из пары с пяточным тормозом при его наличии) подвергают испытаниям в следующей последовательности:
- определение трения сцепления ролика (см.
6.6);
- испытание стойкости роликового конька к горизонтально направленному удару по переднему ролику (см.
6.7);
- испытание стойкости пяточного тормоза к вертикально направленному удару (см.
6.8);
- испытание износостойкости роликового конька (см.
6.9);
- испытание пяточного тормоза растягивающей нагрузкой (см.
6.10).
6.5.2 Второй образец (второй роликовый конек из пары) подвергают испытаниям в следующей последовательности:
- испытание крепления рамы роликов к ботинку (см.
6.11);
- испытание стойкости роликового конька к вертикально направленному удару по поверхности всех роликов (см.
6.12).
6.6 Определение трения сцепления ролика
6.6.1 Трение сцепления ролика определяют путем протягивания ролика по поверхности стальной пластины, обработанной методом продольного строгания, с шероховатостью Ra от 1,5 до 2,0 мкм.
6.6.2 Поверхность ролика и стальной пластины обезжиривают.
6.6.3 Ролик устанавливают на стальную пластину таким образом, чтобы ось ролика была расположена перпендикулярно к продольным полосам поверхности стальной пластины.
6.6.4 К ролику, как показано на рисунке 1, прикладывают сосредоточенную вертикальную нагрузку F1 не менее 100 Н, а затем - постепенно увеличивающуюся силу F2, значение которой измеряют в момент начала движения роликов.
F1 - сосредоточенная вертикальная нагрузка;
F2 - трение сцепления ролика
Рисунок 1 - Схема приложения сил
F1 и
F2
6.6.5 Испытание повторяют десять раз и вычисляют среднее арифметическое значение силы F2.
6.6.6 Коэффициент трения сцепления

рассчитывают по
формуле (1).
6.7 Испытание стойкости роликового конька к горизонтально направленному удару по переднему ролику
6.7.1 Колодку вкладывают в ботинок и плотно фиксируют с помощью шнурков, фиксатора голени и пяточного ремня.
6.7.2 Испытание проводят на испытательном устройстве, обеспечивающем горизонтально направленный удар по переднему ролику, как показано на рисунке 2. Энергия удара должна быть не менее 135 Дж для роликового конька класса A и не менее 90 Дж для роликового конька класса B, скорость удара - (4,5 +/- 0,5) м/с для роликового конька класса A и (3,75 +/- 0,40) м/с для роликового конька класса B.
1 - колодка; 2 - роликовый конек; 3 - направление удара
Рисунок 2 - Испытание стойкости роликового конька
к горизонтально направленному удару по переднему ролику
6.7.3 После проведения испытания на роликовом коньке не должно быть повреждений, нарушающих его функционирование по назначению (например, самопроизвольного отделения элементов ходовой части, ослабления крепления роликов на осях, деформации роликов, стопорения и раскалывания подшипников, трещин и разрушений в местах крепления рамы роликов к ботинку и т.д.).
6.8 Испытание стойкости пяточного тормоза к вертикально направленному удару
6.8.1 Колодку вкладывают в ботинок и плотно фиксируют с помощью шнурков, фиксатора голени и пяточного ремня.
6.8.2 Испытание проводят на испытательном устройстве, обеспечивающем вертикально направленный удар по пяточному тормозу, как показано на рисунке 3. Энергия удара должна быть не менее 50 Дж для роликового конька класса A и не менее 30 Дж для роликового конька класса B, скорость удара - (2,5 +/- 0,3) м/с для роликового конька класса A и (2,0 +/- 0,2) м/с для роликового конька класса B.
1 - колодка; 2 - роликовый конек; 3 - направление удара
Рисунок 3 - Испытание стойкости пяточного тормоза
к вертикально направленному удару
6.8.3 После проведения испытания на роликовом коньке не должно быть повреждений. Пяточный тормоз не должен самопроизвольно отделяться от рамы роликового конька.
6.9 Испытание износостойкости роликового конька
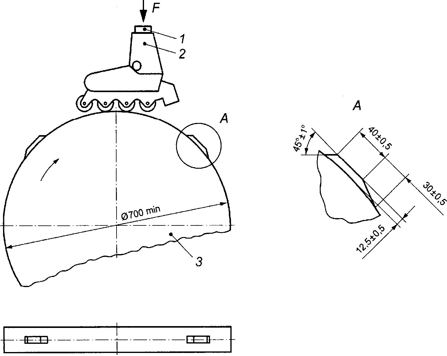
6.9.1 Для испытания роликового конька на износостойкость используют цилиндр с выступами, расположенными таким образом, чтобы за 2 с ролики проходили не менее трех выступов (см. рисунок 4). Диаметр цилиндра должен быть не менее 700 мм.
1 - колодка; 2 - роликовый конек;
3 - испытательный цилиндр с выступами
Рисунок 4 - Испытание роликового конька на износостойкость
6.9.2 Колодку вкладывают в ботинок и плотно фиксируют с помощью шнурков, фиксатора голени и пяточного ремня.
6.9.3 Роликовый конек устанавливают на испытательный цилиндр, как показано на
рисунке 4, к колодке прикладывают сосредоточенную вертикальную нагрузку
F не менее 600 Н для роликового конька класса
A и не менее 400 Н для роликового конька класса
B.
6.9.4 Испытательный цилиндр вращают с окружной скоростью не менее 0,5 м/с в течение не менее 3 ч.
6.9.5 После проведения испытания на роликовом коньке не должно быть повреждений, нарушающих его функционирование по назначению (например, самопроизвольного отделения элементов ходовой части, ослабления крепления роликов на осях, деформации роликов, стопорения и раскалывания подшипников и т.д.).
6.10 Испытание пяточного тормоза растягивающей нагрузкой
6.10.1 К пяточному тормозу роликового конька прикладывают растягивающую нагрузку 40 Н.
6.10.2 Самопроизвольное отделение пяточного тормоза от рамы роликового конька недопустимо.
6.11 Испытание крепления рамы роликов к ботинку
6.11.1 Испытание крепления рамы роликов к ботинку проводят на разрывной машине.
6.11.2 Колодку вкладывают в ботинок и плотно фиксируют с помощью шнурков, фиксатора голени и пяточного ремня.
6.11.3 К раме роликового конька прикладывают квазистатическую растягивающую нагрузку до значения 1000 Н со скоростью менее 20 мм/мин. Схема приложения нагрузки показана на рисунке 5.
F - растягивающая нагрузка
Рисунок 5 - Схема приложения нагрузки
6.11.4 После проведения испытания места крепления рамы роликов к ботинку должны быть целыми без трещин и разрушений.
6.12 Испытание стойкости роликового конька к вертикально направленному удару по поверхности всех роликов
6.12.1 Колодку вкладывают в ботинок и плотно фиксируют с помощью шнурков, фиксатора голени и пяточного ремня.
6.12.2 Испытание проводят на испытательном устройстве, обеспечивающем вертикально направленный удар по поверхности всех роликов одновременно, как показано на рисунке 6. Энергия удара должна быть не менее 135 Дж для роликового конька класса A и не менее 90 Дж для роликового конька класса B, скорость удара - (4,5 +/- 0,5) м/с для роликового конька класса A и (3,75 +/- 0,40) м/с для роликового конька класса B.
v - скорость удара
Рисунок 6 - Испытание стойкости роликового конька
к вертикально направленному удару по поверхности
всех роликов
6.12.3 После проведения испытания на роликовом коньке не должно быть повреждений, нарушающих его функционирование по назначению (например, самопроизвольного отделения элементов ходовой части, ослабления крепления роликов на осях, деформации роликов, стопорения и раскалывания подшипников, трещин и разрушений в местах крепления рамы роликов к ботинку и т.д.).
На каждый роликовый конек должна быть нанесена четкая маркировка, содержащая:
- товарный знак предприятия-изготовителя;
- модель и (или) артикул (при наличии);
- массу пользователя (класс роликового конька);
- дату изготовления (месяц и год);
- обозначение настоящего стандарта.
8 Документация, предоставляемая изготовителем
8.1 Общие требования
К каждой паре роликовых коньков изготовитель прикладывает эксплуатационную документацию в соответствии с
ГОСТ 2.601.
8.2 Дополнительные требования
8.2.1 Сведения о конструкции роликовых коньков должны содержать:
- предупреждение о том, что самостоятельное внесение пользователем изменений в конструкцию роликовых коньков может привести к снижению уровня безопасности;
- предупреждение о том, через какой период эксплуатации могут ослабнуть соединения самоконтрящихся гаек и других самостопорящихся крепежных элементов;
- информацию о наличии/отсутствии пяточного тормоза у конкретной модели роликовых коньков.
8.2.2 Руководство по эксплуатации роликовых коньков должно содержать:
- описание поверхности для эксплуатации роликовых коньков;
- предупреждение о необходимости соблюдения правил дорожного движения при эксплуатации роликовых коньков;
- описание правильной техники катания и торможения;
- рекомендации об использовании защитного инвентаря и отражающих приспособлений в процессе эксплуатации роликовых коньков;
- информацию о необходимости проверки креплений и соединений роликовых коньков перед каждым использованием.
8.2.3 Руководство по техническому обслуживанию должно содержать:
- информацию о необходимости регулярного ухода за узлами подшипников;
- рекомендации об использовании смазочных средств для подшипников;
- предупреждение о необходимости замены конкретных деталей роликовых коньков;
- рекомендации о проведении текущего контроля.