Главная // Актуальные документы // ГОСТ Р (Государственный стандарт)СПРАВКА
Источник публикации
М.: Стандартинформ, 2019
Примечание к документу
Документ
введен в действие с 01.01.2020.
Название документа
"ГОСТ Р ИСО 5775-2-2019. Национальный стандарт Российской Федерации. Шины и ободья для велосипедов. Часть 2. Ободья"
(утв. и введен в действие Приказом Росстандарта от 18.09.2019 N 702-ст)
"ГОСТ Р ИСО 5775-2-2019. Национальный стандарт Российской Федерации. Шины и ободья для велосипедов. Часть 2. Ободья"
(утв. и введен в действие Приказом Росстандарта от 18.09.2019 N 702-ст)
Утвержден и введен в действие
агентства по техническому
регулированию и метрологии
от 18 сентября 2019 г. N 702-ст
НАЦИОНАЛЬНЫЙ СТАНДАРТ РОССИЙСКОЙ ФЕДЕРАЦИИ
ШИНЫ И ОБОДЬЯ ДЛЯ ВЕЛОСИПЕДОВ
ЧАСТЬ 2
ОБОДЬЯ
Bicycle tyres and rims. Part 2. Rims
(ISO 5775-2:2015, IDT)
ГОСТ Р ИСО 5775-2-2019
Дата введения
1 января 2020 года
1 ПОДГОТОВЛЕН Федеральным государственным унитарным предприятием "Всероссийский научно-исследовательский институт стандартизации материалов и технологий" (ФГУП "ВНИИ СМТ"), Техническим комитетом по стандартизации ТК 160 "Продукция нефтехимического комплекса" на основе собственного перевода на русский язык англоязычной версии международного стандарта, указанного в
пункте 4
2 ВНЕСЕН Техническим комитетом по стандартизации ТК 160 "Продукция нефтехимического комплекса"
3 УТВЕРЖДЕН И ВВЕДЕН В ДЕЙСТВИЕ
Приказом Федерального агентства по техническому регулированию и метрологии от 18 сентября 2019 г. N 702-ст
4 Настоящий стандарт идентичен международному стандарту ИСО 5775-2:2015 "Шины и ободья для велосипедов. Часть 2. Ободья" (ISO 5775-2:2015 "Bicycle tyres and rims - Part 2: Rims", IDT).
Стандарт разработан подкомитетом SC 10 "Шины и ободья для велосипедов, мопедов и мотоциклов" Технического комитета ISO/TC 31 "Шины, ободья и вентили" Международной организации по стандартизации (ISO)
5 ВВЕДЕН ВПЕРВЫЕ
Правила применения настоящего стандарта установлены в статье 26 Федерального закона от 29 июня 2015 г. N 162-ФЗ "О стандартизации в Российской Федерации". Информация об изменениях к настоящему стандарту публикуется в ежегодном (по состоянию на 1 января текущего года) информационном указателе "Национальные стандарты", а официальный текст изменений и поправок - в ежемесячном информационном указателе "Национальные стандарты". В случае пересмотра (замены) или отмены настоящего стандарта соответствующее уведомление будет опубликовано в ближайшем выпуске ежемесячного информационного указателя "Национальные стандарты". Соответствующая информация, уведомление и тексты размещаются также в информационной системе общего пользования - на официальном сайте Федерального агентства по техническому регулированию и метрологии в сети Интернет (www.gost.ru)
Настоящий стандарт устанавливает размеры контуров ободьев шин для велосипедов, необходимых для надлежащего монтажа шины на обод.
Настоящий стандарт распространяется на ободья с прямым бортом (SS), с бортом с выступом (HB) и крюкообразные ободья (C).
В настоящем стандарте применены следующие обозначения:
A - ширина обода;
D - посадочный диаметр обода;
D1 - измеренный диаметр обода;
D2 - наружный диаметр;
Dm - диаметр измерительной оправки;
G - высота фланца;
H, H1 - свободная минимальная глубина над дном обода с ободной лентой, установленной для монтажа шины;
L - теоретическая длина ободной ленты;
L1 - ширина монтажного ручья над ободной лентой;
P - ширина посадочной полки;
R1, R2 - радиус бортовой закраины;
R4 - верхний радиус монтажного ручья;
W - ширина измерительной ленты.
3.1 Профиль обода
Со стороны шины обод должен иметь гладкий контур, без острых краев.
3.2 Отверстие для вентиля
Отверстие для вентиля должно располагаться по центру дна монтажного ручья обода. Со стороны шины края отверстия должны быть закруглены или скошены. Со стороны втулки края не должны иметь заусенцев, которые могут повредить вентиль.
3.3 Конкретные требования
Обозначения и размеры ободьев с прямым бортом, с бортом с выступом и крюкообразных ободьев приведены в
разделах 4,
5 и
6 соответственно.
Ширину и толщину ободной ленты для защиты дна выбирают таким образом, чтобы гарантировать полное покрытие ниппелей спиц и отверстий для спиц во время использования и устойчивое положение по ширине обода и обеспечить надлежащий монтаж шины и камеры.
4.1 Профиль обода
Размеры и допуски на размеры ободьев с прямым бортом (SS) указаны на
рисунке 1 и в
таблице 1.
--------------------------------
<a>

- только для обода с кодом ширины 18.
<b> Измеренный диаметр обода.
<c> Отверстие для вентиля диаметром

и

.
<d> Посадочный диаметр обода.
<e> Допускается от 5° до 15° (от 5° до 25° - для катаных ободьев номинальным диаметром 400 мм и менее).
Рисунок 1 - Ободья с прямым бортом
Таблица 1
Размеры ободьев с прямым бортом
В миллиметрах
Код ширины обода | A | G | | | P, не менее | R1, не менее | R4, не менее |
+/- 1,0 | +/- 0,5 | от | до |
16 | 16,0 | 5,5 | 1,8 | 6,0 | 9 | 1,5 | 1,0 | 1,5 |
| 18,0 | 6,5 | 1,8 | 6,0 | 10 | 1,8 | 1,5 | 1,5 |
20 | 20,0 | 6,5 | 2,0 | 6,5 | 11 | 2,0 | 1,8 | 1,5 |
22 | 22,0 | 6,5 | 3,0 | 7,5 | 11 | 2,2 | 1,8 | 2,0 |
24 | 24,0 | 7,0 | 3,0 | 7,5 | 11 | 3,0 | 2,0 | 2,5 |
27 | 27,0 | 7,5 | 3,5 | 8,0 | 14 | 3,5 | 2,5 | 2,5 |
30,5 | 30,5 | 8,0 | 3,5 | 8,0 | 14 | 3,5 | 2,5 | 2,5 |
<a> Рекомендуется, чтобы профили ободьев с посадочным диаметром до 400 мм имели глубину монтажного ручья H1 на 1 мм больше. <b> Размер H1 в сочетании с размером L1 определяет минимальное свободное пространство над дном обода с закрытыми ободной лентой ниппелями спиц, необходимое для обеспечения надлежащего монтажа шины. Размер H1 определяет изготовитель ободьев для достижения вышеуказанной цели. <c> Указанный обод ранее обозначался кодом 17. |
Ободья с прямым бортом следует использовать только с нескладываемыми шинами (шинами с жестким бортом).
Коды номинального диаметра, посадочные диаметры и измеренные диаметры ободьев с прямым бортом (SS) указаны на
рисунке 1 и в
таблице 2.
Таблица 2
Посадочные и измеренные диаметры ободьев с прямым бортом
и крюкообразных ободьев
В миллиметрах
Код номинального диаметра обода | Посадочный диаметр обода D | Измеренный диаметр обода D1 +/- 0,50 <a> |
194 | 194,2 | 193,85 |
203 | 203,2 | 202,85 |
222 | 222,2 | 221,85 |
239 | 239,4 | 239,05 |
248 | 247,6 | 247,25 |
251 | 250,8 | 250,45 |
279 | 279,2 | 278,85 |
288 | 287,8 | 287,45 |
298 | 298,4 | 298,05 |
305 | 304,7 | 304,35 |
317 | 317,0 | 316,65 |
330 | 329,8 | 329,45 |
337 | 336,6 | 336,25 |
340 | 339,6 | 339,25 |
349 | 349,2 | 348,85 |
355 | 355,0 | 354,65 |
357 | 357,1 | 356,75 |
369 | 368,6 | 368,25 |
381 | 380,9 | 380,55 |
387 | 386,6 | 386,25 |
390 | 389,6 | 389,25 |
400 | 400,1 | 399,75 |
406 | 405,6 | 405,25 |
419 | 418,6 | 418,25 |
428 | 428,1 | 427,75 |
432 | 431,6 | 431,25 |
438 | 437,9 | 437,55 |
440 | 439,9 | 439,55 |
451 | 450,8 | 450,45 |
457 | 457,0 | 456,65 |
484 | 484,0 | 483,65 |
489 | 488,6 | 488,25 |
490 | 490,2 | 489,85 |
498 | 497,5 | 497,15 |
501 | 501,3 | 500,95 |
507 | 507,3 | 506,95 |
520 | 520,2 | 519,85 |
531 | 530,6 | 530,25 |
534 | 533,5 | 533,15 |
540 | 539,6 | 539,25 |
541 | 540,8 | 540,45 |
547 | 546,5 | 546,15 |
559 | 558,8 | 558,45 |
565 | 564,9 | 564,55 |
571 | 571,0 | 570,65 |
584 | 583,9 | 583,55 |
590 | 590,2 | 589,85 |
597 | 597,2 | 596,85 |
609 | 609,2 | 608,85 |
622 | 622,3 | 621,95 |
630 | 629,7 | 629,35 |
635 | 634,7 | 634,35 |
642 | 641,7 | 641,35 |
<a> Допуск на измеренную длину окружности посадочной полки  составляет +/- 1,5 мм. |
При измерении диаметра обода по методу 1 диаметр оправки

должен быть равен измеренному диаметру обода
D1. Теоретическую длину ободной ленты, включая максимальный допуск на длину окружности посадочной полки, можно вычислить по формуле

. Данная формула пригодна для плоской ленты при температуре 20 °C (см.
А.4, приложение А).
4.3 Обозначение и маркировка
Обод с прямым бортом (SS) обозначают кодом номинального диаметра обода и кодом номинальной ширины, перед которыми при необходимости можно указывать обозначение прямого борта "SS".
Пример - SS400 x 20.
5 Ободья с бортом с выступом
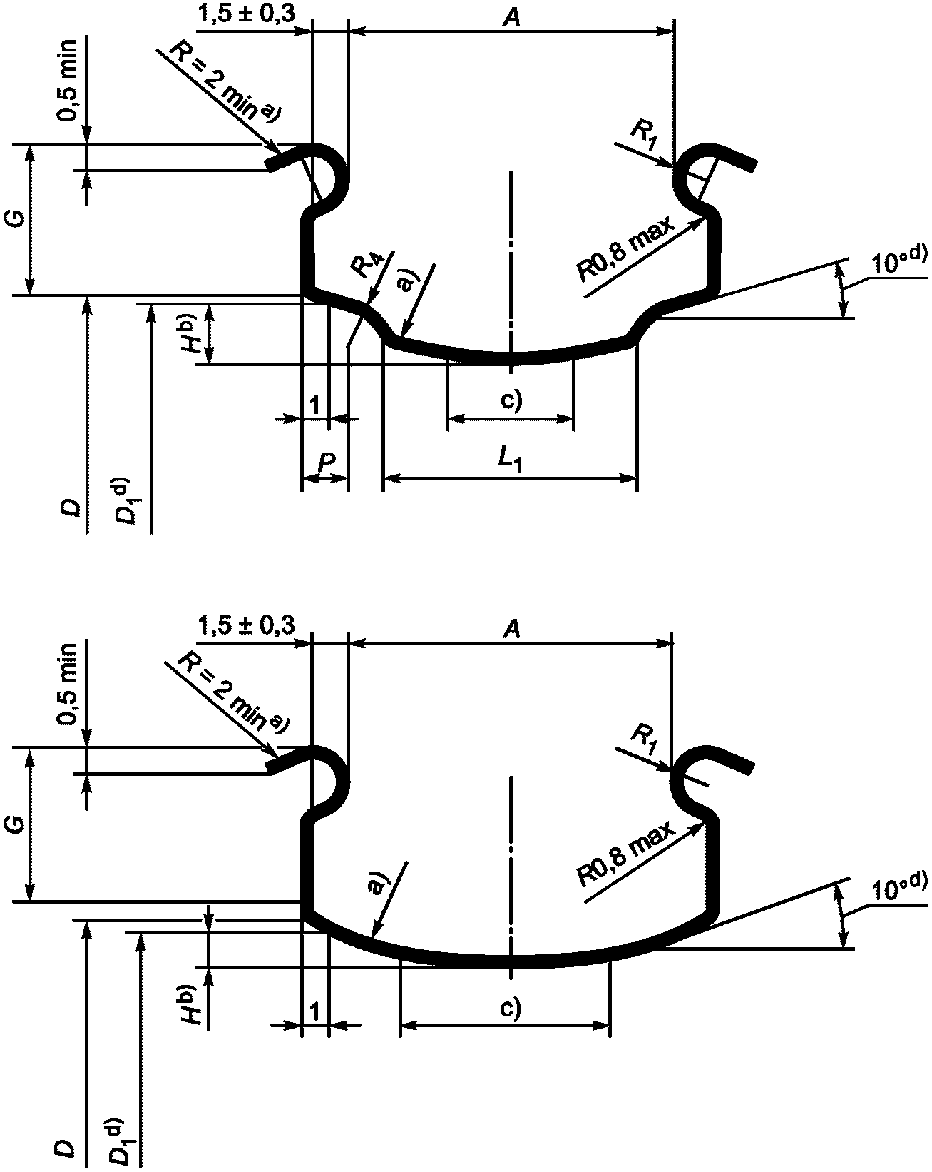
5.1 Профили ободьев
Размеры и допуски на размеры ободьев с бортом с выступом (HB) указаны на
рисунке 2 и в
таблице 3.
--------------------------------
<a> Отверстие для вентиля.
<b> Рекомендуемое отверстие диаметром не более 1 мм.
Рисунок 2 - Ободья с бортом с выступом
Таблица 3
Размеры ободьев с бортом с выступом
В миллиметрах
Код номинальной ширины обода | A +/- 1 | H, не менее | R2 +/- 0,5 | R7, не менее |
20 | 20 | 13 | 2,0 | 30 |
25 | 25 | 14 | 2,0 | 50 |
27 | 27 | 15 | 2,0 | 70 |
5.2 Диаметры и длины окружностей ободьев
Коды номинального диаметра обода, посадочные диаметры и измеренные длины окружности ободьев с бортом с выступом (HB) указаны на
рисунке 2 и в
таблице 4.
Таблица 4
Посадочные диаметры и измеренные длины окружностей ободьев
с бортом с выступом
В миллиметрах
Код номинального диаметра обода | Посадочный диаметр обода D | Измеренные длины окружностей ободьев,  |
HB270 | 269,9 | 847,9 |
HB321 | 320,7 | 1007,5 |
HB372 | 371,5 | 1167,1 |
HB422 | 422,3 | 1326,7 |
HB459 | 458,8 | 1441,4 |
HB473 | 473,1 | 1486,3 |
HB510 | 509,6 | 1601,0 |
HB524 | 523,9 | 1645,9 |
HB560 | 560,4 | 1760,6 |
HB575 | 574,7 | 1805,5 |
HB611 | 611,2 | 1920,1 |
Примечание - HB - обозначение обода с бортом с выступом; число, следующее за ним, - код диаметра обода. |
5.3 Обозначение и маркировка
Обод с бортом с выступом (HB) обозначают символом "HB" для борта с выступом, кодом номинального диаметра обода и кодом номинальной ширины.
Пример - HB422 x 25.
6.1 Профили ободьев
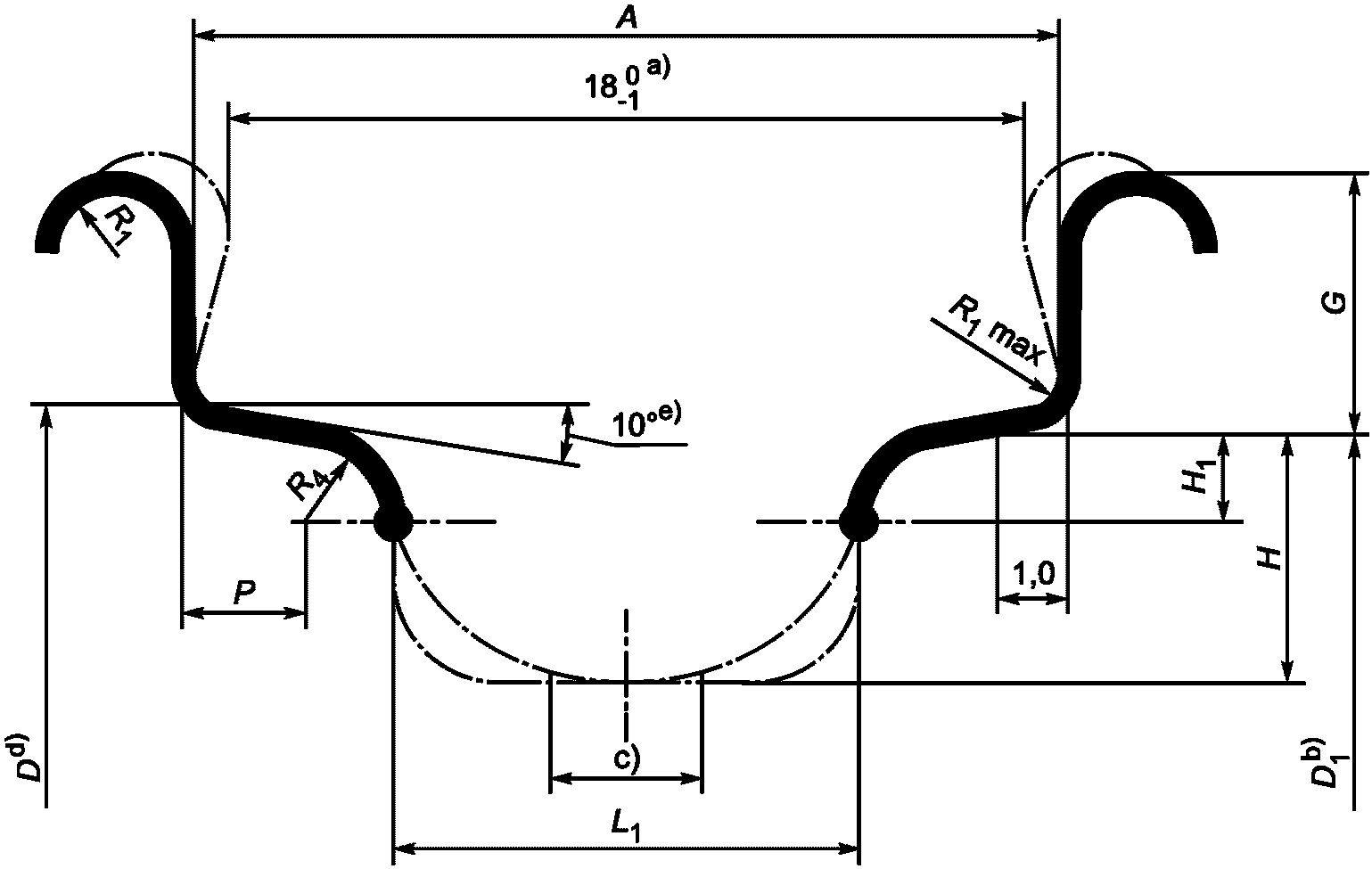
Размеры и допуски на размеры крюкообразных ободьев (C) указаны на
рисунке 3 и в
таблице 5.
Крюкообразные ободья используют с нескладываемыми и складываемыми шинами.
--------------------------------
<a> Внутренняя поверхность дна монтажного ручья и края бортовой закраины должны иметь гладкую, не вызывающую коррозию поверхность, чтобы не повредить шину.
<b> Размер H определяет минимальное свободное пространство над дном обода и ниппелями спиц при установленной ободной ленте для обеспечения надлежащего монтажа шины. Изготовители ободьев определяют максимальную толщину используемой ободной ленты с учетом размера D1 и допусков на него. При отсутствии спецификаций изготовителей ободьев максимальная толщина ленты обода должна быть не более 0,8 мм в области посадочной полки.
<c> Отверстие для вентиля диаметром

. Для ободьев с кодом профиля 17C и выше допускается отверстие для вентиля диаметром

.
<d> Только для справки. Следует соблюдать размер
D1 по
таблице 2.
Рисунок 3 - Крюкообразные ободья
Таблица 5
Размеры крюкообразных ободьев
В миллиметрах
Профиль обода | A | G | H | L1, не менее | P, не менее | R1 | R4, не менее |
+/- 0,5 | +/- 0,5 | от | до |
13C | 13,0 | 5,5 | 2,2 | 5,5 | - | 2,5 | 0,90 +/- 0,10 | - |
15C | 15,0 | 5,5 | 2,2 | 5,5 | 9 | 2,5 | 0,90 +/- 0,10 | 1,5 |
17C | 17,0 | 6,0 | 2,2 | 6,0 | 10 | 2,5 | 1,10 +/- 0,25 | 1,5 |
19C | 19,0 | 6,0 | 2,2 | 6,0 | 11 | 3,0 | 1,10 +/- 0,25 | 1,5 |
21C | 21,0 | 6,0 | 2,2 | 6,0 | 11 | 3,0 | 1,10 +/- 0,25 | 2,0 |
23C | 23,0 | 6,5 | 3,5 | 6,5 | 11 | 3,0 | 1,10 +/- 0,25 | 2,5 |
25C | 25,0 | 6,5 | 3,5 | 6,5 | 14 | 3,0 | 1,10 +/- 0,25 | 2,5 |
27C | 27,0 | 6,5 | 3,5 | 6,5 | 14 | 3,0 | 1,10 +/- 0,25 | 2,5 |
29C | 29,0 | 6,5 | 3,5 | 6,5 | 14 | 3,0 | 1,10 +/- 0,25 | 2,5 |
6.2 Диаметры ободьев
Коды номинального диаметра, посадочные диаметры и измеренные диаметры крюкообразных ободьев (C) указаны на
рисунке 3 и в
таблице 2.
6.3 Обозначение и маркировка
Крюкообразный обод (C) обозначают кодом номинального диаметра обода, кодом номинальной ширины и символом "C" для крюкообразного борта.
Пример - 622 x 13C.
(справочное)
МЕТОДЫ ИЗМЕРЕНИЯ И ПРОВЕРКИ ПО КАЛИБРУ РАЗМЕРОВ ОБОДЬЕВ
ДЛЯ ВЕЛОСИПЕДОВ
А.1 Назначение
В настоящем приложении приведены методы измерения и проверки по калибру размеров ободьев с прямым бортом, с бортом с выступом и крюкообразных ободьев.
А.2 Общие положения
Все измерения проводят на ободьях, готовых для установки шины и размещенных на плоских поверхностях. Для точных измерений калибры и мерные ленты устанавливают перпендикулярно к бортовым закраинам обода на обоих посадочных полках.
А.3 Основные измеряемые и проверяемые по калибру размеры ободьев
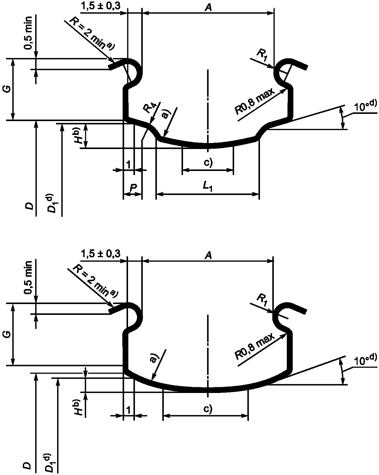
Основные измеряемые и проверяемые по калибру размеры ободьев указаны на
рисунках А.1,
А.2 и
А.3.
--------------------------------
<a>

- только для обода с кодом ширины 18.
<b> Измеренный диаметр обода.
<c> Отверстие для вентиля диаметром

и

.
<d> Посадочный диаметр обода.
<e> Допускается от 5° до 15° (от 5° до 25° - для катаных ободьев номинальным диаметром 400 мм и менее).
Рисунок А.1 - Ободья с прямым бортом
Рисунок А.2 - Ободья с бортом с выступом
--------------------------------
<a> Внутренняя поверхность дна монтажного ручья и края бортовой закраины должны иметь гладкую, не вызывающую коррозию поверхность, чтобы не повредить шину.
<b> Размер H определяет минимальное свободное пространство над дном обода и ниппелями спиц при установленной ободной ленте для обеспечения надлежащего монтажа шины. Изготовители ободьев определяют максимальную толщину используемой ободной ленты с учетом размера D1 и допусков на него. При отсутствии спецификаций изготовителей ободьев максимальная толщина ленты обода должна быть не более 0,8 мм в области посадочной полки.
<c> Отверстие для вентиля диаметром

. Для ободьев с кодом профиля 17C и выше допускается отверстие для вентиля диаметром

.
<d> Только для справочных целей. Следует соблюдать размер
D1 по
таблице 2 настоящего стандарта.
Рисунок А.3 - Крюкообразные ободья
А.4 Методы измерения заданного диаметра и окружности борта
А.4.1 Метод 1
Ниже приведены рекомендуемые контрольные калибры, мерные ленты и процедуры проверки размеров, диаметра посадочной полки и длины окружности ободьев с прямым бортом.
А.4.1.1 Проведение измерений
Используют ленту из пружинной стали, показанную на
рисунке А.5, выбирая подходящую ленту для измеряемого обода.
Проверяют ленту на соответствующей оправке (см.
рисунок А.6) и на контрольной плите (лента должна быть плоской). Ширина ленты должна соответствовать
таблице А.1.
Таблица А.1
Ширина мерной ленты для ободьев с прямым бортом
В миллиметрах
Ширина обода | Ширина ленты  |
16,0 | 14,0 |
18,0 | 16,0 |
20,0 | 18,0 |
22,0 | 20,0 |
24,0 | 22,0 |
27,0 | 25,0 |
30,5 | 28,5 |
Лента должна одинаково соприкасаться с ободом на обоих посадочных полках (см.
рисунок А.4). Если испытание проводит неопытный специалист по контролю ободьев, рекомендуется, чтобы измерения проводили два человека: один - удерживает ленту в правильном положении, прикладывая тянущее усилие к концам ленты, эквивалентное не более 5 кг, другой - снимает показания.
Прямой конец ленты должен контактировать с другим концом в пределах метки.
1 - посадочный диаметр обода; 2 - измеряемый диаметр обода;
3 - мерная лента
Рисунок А.4 - Измерение диаметра обода
--------------------------------
<a> Стандартная температура - 20 °C.
<b> Значение 1,5 - для ободьев с прямым бортом.
Рисунок А.5 - Размеры мерной ленты
--------------------------------
<a> Размер
Dm - см.
4.2 настоящего стандарта.
Рисунок А.6 - Оправка для мерной ленты
А.4.1.2 Маркировка ленты
Маркировка ленты включает код ширины обода и номинальный диаметр обода.
А.4.2 Метод 2
А.4.2.1 Проведение измерения
Измеряют длину окружности верхней части обеих бортовых закраин стальной нерастяжимой мерной лентой (шириной 100 мм, толщиной 0,3 мм, градуировкой по 0,5 мм), следя за тем, чтобы она контактировала с ободом, и регистрируют результаты двух измерений как FA и FB.
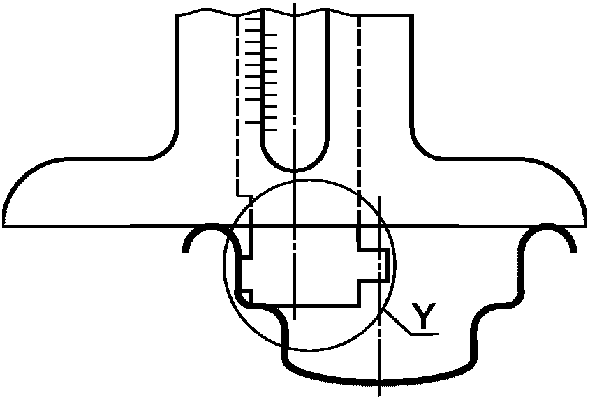
Используя штангенциркуль с отсчетом по нониусу, показанный на
рисунках А.7 и
А.8, измеряют высоту обеих бортовых закраин не менее чем в четырех точках, равномерно расположенных по окружности, применяя правильный выступ.
Рисунок А.7 - Штангенциркуль с отсчетом по нониусу
a - для ободьев с прямым бортом
b - для крюкообразных ободьев
Рисунок А.8 - Детальное изображение выступа Y
Вычисляют среднеарифметические значения высоты двух бортовых закраин - TA и TB.
Вычисляют измеренные диаметры по формулам:

(А.1)

(А.2)
Сравнивают полученные значения со значениями
D1, указанными в
таблице 2 настоящего стандарта.
УДК 629.322:678.065:62-254.61:006.354 | |
Ключевые слова: шины и ободья для велосипедов, ободья |