Главная // Актуальные документы // ГОСТ Р (Государственный стандарт)СПРАВКА
Источник публикации
М.: Стандартинформ, 2018
Примечание к документу
Документ
введен в действие с 1 февраля 2019 года.
Название документа
"ГОСТ Р 8.945-2018. Национальный стандарт Российской Федерации. Государственная система обеспечения единства измерений. Стандартные справочные данные. Теплофизические характеристики пьезокерамик на основе ниобата лития в диапазоне температур от 300 К до 900 К"
(утв. и введен в действие Приказом Росстандарта от 14.08.2018 N 499-ст)
"ГОСТ Р 8.945-2018. Национальный стандарт Российской Федерации. Государственная система обеспечения единства измерений. Стандартные справочные данные. Теплофизические характеристики пьезокерамик на основе ниобата лития в диапазоне температур от 300 К до 900 К"
(утв. и введен в действие Приказом Росстандарта от 14.08.2018 N 499-ст)
Утвержден и введен в действие
по техническому регулированию
и метрологии
от 14 августа 2018 г. N 499-ст
НАЦИОНАЛЬНЫЙ СТАНДАРТ РОССИЙСКОЙ ФЕДЕРАЦИИ
ГОСУДАРСТВЕННАЯ СИСТЕМА ОБЕСПЕЧЕНИЯ ЕДИНСТВА ИЗМЕРЕНИЙ
СТАНДАРТНЫЕ СПРАВОЧНЫЕ ДАННЫЕ
ТЕПЛОФИЗИЧЕСКИЕ ХАРАКТЕРИСТИКИ ПЬЕЗОКЕРАМИК НА ОСНОВЕ
НИОБАТА ЛИТИЯ В ДИАПАЗОНЕ ТЕМПЕРАТУР ОТ 300 К ДО 900 К
State system for ensuring the uniformity of measurements.
Standard reference data. Thermophysical characteristics
of piezoceramics based on lithium niobate
in the temperature range from 300 K to 900 K
ГОСТ Р 8.945-2018
Дата введения
1 февраля 2019 года
1 РАЗРАБОТАН Главным научным метрологическим центром "Стандартные справочные данные о физических константах и свойствах веществ и материалов" (ГНМЦ "ССД"), Федеральным государственным бюджетным учреждением науки "Институт физики им. Х.И. Амирханова" Дагестанского научного центра РАН (ИФ ДНЦ РАН)
2 ВНЕСЕН Техническим комитетом по стандартизации ТК 180 "Стандартные справочные данные о физических константах и свойствах веществ и материалов"
3 УТВЕРЖДЕН И ВВЕДЕН В ДЕЙСТВИЕ
Приказом Федерального агентства по техническому регулированию и метрологии от 14 августа 2018 г. N 499-ст
4 ВВЕДЕН ВПЕРВЫЕ
Правила применения настоящего стандарта установлены в
статье 26 Федерального закона от 29 июня 2015 г. N 162-ФЗ "О стандартизации в Российской Федерации". Информация об изменениях к настоящему стандарту публикуется в ежегодном (по состоянию на 1 января текущего года) информационном указателе "Национальные стандарты", а официальный текст изменений и поправок - в ежемесячном информационном указателе "Национальные стандарты". В случае пересмотра (замены) или отмены настоящего стандарта соответствующее уведомление будет опубликовано в ближайшем выпуске ежемесячного информационного указателя "Национальные стандарты". Соответствующая информация, уведомление и тексты размещаются также в информационной системе общего пользования - на официальном сайте Федерального агентства по техническому регулированию и метрологии в сети Интернет (www.gost.ru)
Настоящий стандарт распространяется на стандартные справочные данные (ССД) о теплопроводности, теплоемкости и температурном коэффициенте линейного расширения пьезокерамик на основе твердых растворов ниобата лития в диапазоне температур от 300 К до 900 К.
Настоящий стандарт предназначен для использования ССД о теплопроводности, теплоемкости и температурном коэффициенте линейного расширения пьезокерамик на основе твердых растворов ниобата лития в диапазоне температур от 300 К до 900 К при разработке новых пьезокерамик с заданными свойствами, а также при создании различных приборов и устройств для ультразвуковых преобразователей.
В настоящем стандарте использована нормативная ссылка на следующий стандарт:
ГОСТ Р 54500.3/Руководство ИСО/МЭК 98-3:2008 Неопределенность измерения. Часть 3. Руководство по выражению неопределенности измерения
Примечание - При пользовании настоящим стандартом целесообразно проверить действие ссылочных стандартов в информационной системе общего пользования - на официальном сайте Федерального агентства по техническому регулированию и метрологии в сети Интернет или по ежегодному информационному указателю "Национальные стандарты", который опубликован по состоянию на 1 января текущего года, и по выпускам ежемесячного информационного указателя "Национальные стандарты" за текущий год. Если заменен ссылочный стандарт, на который дана недатированная ссылка, то рекомендуется использовать действующую версию этого стандарта с учетом всех внесенных в данную версию изменений. Если заменен ссылочный стандарт, на который дана датированная ссылка, то рекомендуется использовать версию этого стандарта с указанным выше годом утверждения (принятия). Если после утверждения настоящего стандарта в ссылочный стандарт, на который дана датированная ссылка, внесено изменение, затрагивающее положение, на которое дана ссылка, то это положение рекомендуется применять без учета данного изменения. Если ссылочный стандарт отменен без замены, то положение, в котором дана ссылка на него, рекомендуется применять в части, не затрагивающей эту ссылку.
3.1 Большинство пьезосегнетокерамик (сегнетопьезокерамические материалы - СПМ), серийно выпускаемых в мире, составляют многокомпонентные системы свинцовосодержащих сложных оксидов на основе твердых растворов цирконата-титаната свинца (ЦТС). В соответствии с экологическими требованиями к этим пьезокерамикам необходимо исключить токсичный оксид свинца из технологического процесса и изыскать новые пьезоэлектрические материалы, по свойствам не уступающие ЦТС-керамикам.
Многолетний опыт разработки высокоэффективных СПМ
[1] -
[7] позволяет получать группу бессвинцовых материалов на основе ниобатов щелочных металлов (НЩМ) - ниобаты лития, натрия, обладающих рядом уникальных свойств, не реализуемых в ЦТС-составах.
Достоинством таких СПМ являются:
- высокая скорость звука, определяющая высокочастотный (ВЧ) диапазон эксплуатации преобразователя, а также возможность получать заданную частоту на менее тонких пластинах, что упрощает технологию изготовления ВЧ-устройств за счет возможности увеличения их резонансных размеров, что, в свою очередь, выгодно и с точки зрения уменьшения емкости преобразователя;
- низкая плотность, приводящая, с одной стороны, к значительному снижению веса изделий, а с другой - к уменьшению акустического импеданса;
- очень низкая диэлектрическая проницаемость, что немаловажно для электрического согласования с генератором и нагрузкой;
- повышенный толщинный коэффициент электромеханической связи;
- достаточная анизотропия пьезосвойств, что позволяет улучшить отношение сигнал/шум и упростить технологию получения, исключив операцию резки материала;
- низкие диэлектрические и умеренные механические потери, что важно для получения коротких импульсов и равномерных амплитудно-частотных характеристик.
При работе в экстремальных условиях наиболее важное значение имеет поведение теплофизических свойств (ТФС) керамических материалов, особенно в областях структурных фазовых переходов, где наблюдаются их аномалии. Поэтому необходимо иметь подробные данные о температурной зависимости теплопроводности, теплоемкости и температурном коэффициенте линейного расширения в широком диапазоне температур (в области структурных фазовых переходов необходимо иметь данные о ТФС через 1 °C - 2 °C).
3.2 ПКР-35 - пьезокерамика, твердый раствор Na0,875Li0,125NbO3, модифицированный стронцием. Обладает рядом уникальных свойств, не реализуемых в сегнетокерамиках на основе цирконата-титаната свинца: низкая плотность, высокая скорость ультразвука и достаточно высокие пьезохарактеристики при чрезвычайно низкой диэлектрической проницаемости, широкий диапазон механической добротности, высокая температура Кюри, что делает ПКР-35 незаменимой для сверхвысокочастотной пьезотехники.
ПКР-61 - пьезокерамика на основе твердых растворов ниобата лития (0,97 LiNbO3 + 0,03 EuTiO3), модифицированных другими химическими элементами. По сравнению с ЦТС-керамиками обладает высокой температурой Кюри (более 1200 °C), низкой плотностью и высокой скоростью ультразвука. Имеет повышенную рабочую температуру до 950 °C и крайне низкую диэлектрическую проницаемость, особенно благоприятную при использовании в высокочастотных устройствах (пьезодатчики быстроменяющихся давлений генераторного типа в системах контроля объектов, высокотемпературные датчики давления).
ПКР-38 - пьезокерамика (0,97 LiNbO3 + 0,01 B2O3 + 0,02 SiO2) на основе твердых растворов ниобатов лития; является высокотемпературным материалом, температура Кюри более 1200 °C, рабочая температура более 1000 °C. Отличительная особенность: в интервале температуры от 25 °C до 1000 °C отсутствуют структурные переходы. Очень чувствительна к изменению давления, влажности и температуры. На ее основе возможно создание пьезодатчиков для кожухов тепловыделяющих элементов (ТВЭЛ) атомных реакторов на быстрых нейтронах, которые способны с высокой точностью регулироваться системой охлаждения (температура кожуха более 600 °C).
Имеется достаточное количество работ, посвященных исследованию структуры, пьезосегнетоэлектрических и упругих свойств, возможности применения и создания промышленных пьезодатчиков. Однако исследования их теплофизических свойств (теплопроводность, теплоемкость, температурный коэффициент линейного расширения) в научно-технической литературе не представлены. Принцип работы в экстремальных условиях (высокие температура, давление, влажность) в большой степени зависят от характера и изменения теплофизических свойств. Без наличия достоверных данных о температурной зависимости ТФС, характера их изменений, связанных со структурными фазовыми переходами, невозможно конструировать пьезодатчики с заданными свойствами.
4 Стандартные справочные данные о теплопроводности, теплоемкости и температурном коэффициенте линейного расширения пьезокерамики
Стандартные справочные данные дают возможность технологам при синтезе получать керамику с заданными свойствами, а разработчикам пьезокерамических устройств выбирать оптимальный режим их работы (температурная область, фазовые переходы, долговечность работы при различных режимах нагрева и охлаждения, способность выдерживать тепловые и ударные нагрузки).
Стандартные справочные данные о теплопроводности, теплоемкости и температурном коэффициенте линейного расширения пьезокерамики ПКР-35 (Li
0,125Na
0,875NbO
3) приведены в
таблице 1.
Таблица 1
Стандартные справочные данные о теплопроводности,
теплоемкости и температурном коэффициенте линейного
расширения пьезокерамики ПКР-35 (Li0,125Na0,875NbO3)
T, К |  , Вт/м·К | Cp, Дж/кг·К |  , К -1 |
300 | 2,85 | 619 | 9,56 |
320 | 2,92 | 636 | 10,32 |
340 | 2,98 | 651 | 10,7 |
360 | 3,02 | 664 | 10,87 |
380 | 3,09 | 676 | 10,94 |
400 | 3,14 | 686 | 11,1 |
420 | 3,19 | 694 | 11,21 |
440 | 3,7 | 704 | 11,36 |
460 | 3,35 | 713 | 11,52 |
480 | 3,44 | 720 | 11,64 |
490 | 3,47 | 724 | 11,84 |
500 | 3,50 | 729 | 11,95 |
510 | 3,52 | 732 | 12,04 |
520 | 3,60 | 737 | 12,1 |
530 | 3,70 | 740 | 12,24 |
540 | 3,73 | 744 | 12,1 |
550 | 3,79 | 746 | 12,0 |
560 | 3,32 | 754 | 12,0 |
565 | 3,86 | 758 | 11,92 |
570 | 3,87 | 770 | 10,86 |
571 | 3,87 | 780 | 10,7 |
572 | 3,88 | 793 | 10,56 |
573 | 3,88 | 822 | 10,0 |
574 | 3,89 | 896 | 9,34 |
575 | 3,91 | 992 | 9,00 |
576 | 3,92 | 1039 | 8,85 |
577 | 3,94 | 1018 | 8,60 |
578 | 3,94 | 973 | 8,38 |
579 | 3,94 | 930 | 8,10 |
580 | 3,95 | 896 | 7,98 |
581 | 3,964 | 868 | 7,84 |
582 | 3,968 | 842 | 7,7 |
583 | 3,97 | 832 | 7,59 |
584 | 3,99 | 821 | 7,16 |
585 | 4,00 | 812 | 6,94 |
586 | 4,01 | 805 | 6,73 |
587 | 4,02 | 800 | 6,48 |
588 | 4,03 | 794 | 6,4 |
589 | 4,024 | 792 | 6,0 |
590 | 4,028 | 790 | 5,38 |
595 | 4,06 | 787 | 4,21 |
600 | 4,13 | 784 | 1,38 |
605 | 4,14 | 790 | 1,09 |
610 | 4,19 | 794 | 0,47 |
612 | 4,21 | 800 | 0,32 |
613 | 4,22 | 806 | 0,21 |
615 | 4,24 | 819 | 0,16 |
616 | 4,25 | 832 | 0,0 |
617 | 4,26 | 866 | -1,22 |
618 | 4,27 | 965 | -6,15 |
619 | 4,28 | 950 | -8,22 |
620 | 4,28 | 908 | -12,10 |
621 | 4,29 | 863 | -24 |
622 | 4,31 | 832 | -64 |
623 | 4,322 | 811 | -85 |
624 | 4,33 | 797 | -70 |
625 | 4,34 | 787 | -47 |
627 | 4,37 | 775 | -30 |
630 | 4,40 | 767 | -2,8 |
635 | 4,50 | 763 | 8,2 |
640 | 4,64 | 760 | 11,36 |
650 | 4,69 | 760 | 12,6 |
660 | 4,78 | 760 | 12,74 |
670 | 4,83 | 761 | 12,81 |
680 | 4,88 | 763 | 12,9 |
690 | 4,92 | 766 | 13,08 |
700 | 4,973 | 769 | 13,2 |
710 | 4,99 | 776 | 13,32 |
720 | 5,04 | 780 | 13,4 |
740 | 5,18 | 783 | 13,51 |
760 | 5,22 | 787 | 13,56 |
780 | 5,28 | 789 | 13,62 |
800 | 5,33 | 790 | 13,73 |
820 | 5,38 | 792 | 13,87 |
840 | 5,43 | 793 | 14,0 |
860 | 5,49 | 792 | 14,13 |
880 | 5,52 | 790 | 15,29 |
900 | 5,56 | 790 | 15,4 |
Стандартные справочные данные о теплопроводности, теплоемкости и температурном коэффициенте линейного расширения пьезокерамики ПКР-61 (0,97 LiNbO
3 + 0,03 EuTiO
3) приведены в
таблице 2.
Таблица 2
Стандартные справочные данные о теплопроводности,
теплоемкости и температурном коэффициенте линейного
расширения пьезокерамики ПКР-61 (0,97 LiNbO3 + 0,03 EuTiO3)
T, К |  , Вт/м·К | Cp, Дж/кг·К |  , К -1 |
300 | 2,80 | 572 | 8,25 |
320 | 2,84 | 596 | 8,36 |
340 | 2,88 | 615 | 8,48 |
360 | 2,93 | 632 | 8,64 |
380 | 2,97 | 646 | 8,80 |
400 | 3,02 | 657 | 9,00 |
420 | 3,07 | 668 | 9,08 |
440 | 3,12 | 677 | 9,03 |
460 | 3,18 | 687 | 8,87 |
480 | 3,25 | 696 | 9,62 |
500 | 3,31 | 705 | 9,73 |
510 | 3,34 | 707 | 9,77 |
515 | 3,37 | 710 | 9,84 |
520 | 3,40 | 712 | 9,83 |
525 | 3,45 | 714 | 9,87 |
530 | 3,37 | 717 | 9,92 |
540 | 3,28 | 720 | 9,95 |
550 | 3,18 | 723 | 10,03 |
560 | 3,10 | 727 | 10,06 |
570 | 3,13 | 731 | 10,13 |
580 | 3,18 | 734 | 10,21 |
590 | 3,23 | 737 | 10,32 |
600 | 3,30 | 741 | 10,40 |
610 | 3,36 | 744 | 10,48 |
620 | 334 | 747 | 10,57 |
630 | 347 | 750 | 10,66 |
640 | 3,54 | 753 | 10,75 |
650 | 3,61 | 757 | 10,87 |
660 | 3,67 | 760 | 10,92 |
670 | 3,72 | 762 | 1106 |
680 | 3,77 | 765 | 11,18 |
690 | 3,82 | 768 | 11,33 |
700 | 3,89 | 772 | 11,39 |
710 | 3,94 | 774 | 11,5 |
720 | 4,00 | 776 | 10,63 |
730 | 4,05 | 779 | 10,78 |
740 | 4,12 | 782 | 10,87 |
750 | 4,15 | 784 | 11,98 |
760 | 4,20 | 787 | 12,10 |
770 | 4,24 | 789 | 12,28 |
780 | 4,29 | 791 | 12,40 |
790 | 4,33 | 793 | 12,50 |
800 | 4,37 | 795 | 12,61 |
810 | 4,43 | 797 | 12,69 |
820 | 4,47 | 799 | 12,82 |
830 | 4,51 | 800 | 12,96 |
840 | 4,55 | 802 | 13,12 |
850 | 4,60 | 803 | 13,29 |
860 | 4,64 | 804 | 13,38 |
870 | 4,67 | 806 | 13,47 |
880 | 4,72 | 808 | 13,59 |
890 | 4,75 | 809 | 13,73 |
900 | 4,79 | 812 | 13,82 |
Стандартные справочные данные о теплопроводности, теплоемкости и температурном коэффициенте линейного расширения пьезокерамики ПКР-38 (0,97 LiNbO
3 + 0,01 B
2O
3 + 0,02 SiO
2) приведены в
таблице 3.
Таблица 3
Стандартные справочные данные о теплопроводности,
теплоемкости и температурном коэффициенте
линейного расширения пьезокерамики ПКР-38
(0,97 LiNbO3 + 0,01 B2O3 + 0,02 SiO2)
T, К |  , Вт/м·К | Cp, Дж/кг·К |  , К -1 |
300 | 5,7 | 544 | 9,05 |
320 | 5,62 | 556 | 9,17 |
340 | 5,5 | 572 | 9,3 |
360 | 5,42 | 587 | 9,68 |
380 | 5,33 | 601 | 10,17 |
400 | 5,25 | 612 | 10,48 |
420 | 5,17 | 624 | 10,79 |
440 | 5,14 | 635 | 11,03 |
442 | 5,12 | 637 | 11,12 |
445 | 5,1 | 640 | 11,14 |
450 | 5,07 | 662 | 11,2 |
455 | 5,04 | 673 | 11,28 |
460 | 5,01 | 670 | 11,38 |
465 | 4,98 | 675 | 11,42 |
470 | 4,94 | 655 | 11,5 |
475 | 4,93 | 650 | 11,58 |
480 | 4,95 | 660 | 11,65 |
485 | 4,91 | 666 | 11,72 |
490 | 4,90 | 674 | 11,81 |
500 | 4,88 | 680 | 11,96 |
520 | 4,81 | 693 | 12,24 |
540 | 4,77 | 702 | 12,55 |
560 | 4,71 | 708 | 12,84 |
580 | 4,68 | 713 | 13,12 |
600 | 4,63 | 719 | 13,40 |
610 | 4,62 | 723 | 13,56 |
620 | 4,61 | 726 | 13,70 |
630 | 4,59 | 730 | 13,86 |
640 | 4,58 | 734 | 14,00 |
645 | 4,58 | 736 | 13,95 |
650 | 4,57 | 738 | 14,16 |
655 | 4,55 | 742 | 14,22 |
660 | 4,56 | 748 | 14,28 |
665 | 4,54 | 754 | 14,38 |
670 | 4,54 | 754 | 14,42 |
680 | 4,53 | 758 | 14,52 |
690 | 4,54 | 763 | 14,64 |
700 | 4,55 | 768 | 14,82 |
710 | 4,55 | 772 | 14,86 |
720 | 4,56 | 777 | 14,80 |
730 | 4,57 | 779 | 15,00 |
740 | 4,58 | 782 | 15,02 |
750 | 4,59 | 781 | 15,10 |
760 | 4,6 | 785 | 15,13 |
770 | 4,60 | 786 | 15,28 |
780 | 4,62 | 787 | 15,26 |
800 | 4,65 | 790 | 15,40 |
810 | 4,66 | 791 | 15,52 |
820 | 4,68 | 792 | 15,52 |
830 | 4,68 | 792 | 15,68 |
840 | 4,7 | 793 | 15,65 |
850 | 4,71 | 793 | 15,82 |
860 | 4,75 | 794 | 15,79 |
870 | 4,76 | 794 | 15,93 |
880 | 4,79 | 795 | 15,93 |
890 | 4,81 | 795 | 16,03 |
900 | 4,84 | 796 | 16,07 |
(справочное)
КРАТКОЕ ОПИСАНИЕ МЕТОДОВ ЭКСПЕРИМЕНТАЛЬНОГО ОПРЕДЕЛЕНИЯ
ТЕПЛОФИЗИЧЕСКИХ СВОЙСТВ СЕГНЕТОКЕРАМИЧЕСКИХ МАТЕРИАЛОВ
А.1 В
[8],
[9] разработаны оригинальные установки для экспериментальных исследований коэффициентов теплопроводности, удельной теплоемкости при постоянном давлении и температурного коэффициента линейного расширения пьезокерамических материалов в широком диапазоне температур от 300 К до 900 К.
Измерение температурной зависимости удельной теплоемкости пьезокерамических материалов проводят на дифференциальном сканирующем калориметре ДСК 204.Ф1 немецкой фирмы NETZCH. Индивидуальные значения Cp при разных температурах определяют согласно следующему уравнению:

, (А.1)
где Cp,T(S) - удельная теплоемкость образца при температуре T;
Cp,T(std) - удельная теплоемкость стандарта при температуре T;
mstd - масса стандарта;
ms - масса образца;
DSCs - величина сигнала ДСК при температуре T из кривой образца;
DSCstd - величина сигнала ДСК при температуре T из кривой стандарта;
DSCbl - величина сигнала ДСК при температуре T из базовой линии.
Оценивание неопределенности проводят в соответствии с
ГОСТ Р 54500.3/Руководство ИСО/МЭК 98-3:2008. Погрешность измерения теплоемкости в исследованном интервале температур составляет 3%.
Теплопроводность определяют абсолютным компенсационным методом в стационарном режиме
[8],
[9]. Общая погрешность определения теплопроводности при 900 К составляет 5%.
Температурный коэффициент линейного расширения (ТКЛР) определяют емкостным дилатометром
[10]. Суммарная погрешность измерения ТКЛР с учетом погрешности определения размеров образца, температуры и постоянной установки не превышает 3% с доверительной вероятностью 0,95.
Для определения теплопроводности в качестве чувствительного датчика температуры в
[8] применен полупроводниковый твердый раствор на основе сульфида гадолиния, преимущество в следующем: многократное использование, измерение теплопроводности изоляторов, полупроводников, металлов от 0,2 Вт/мК до 150 Вт/мК, широкий температурный диапазон от 300 К до 1600 К.
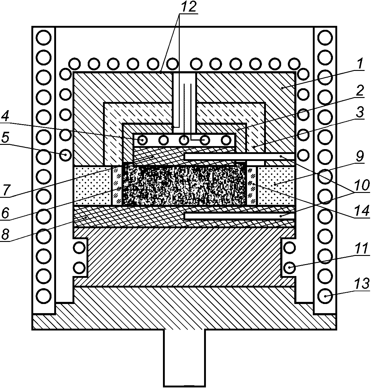
А.1.1 Принципиальная схема экспериментальной установки для определения теплопроводности твердых тел и их расплавов при высоких температурах абсолютным компенсационным методом плоского слоя приведена на
рисунке А.1.
1 - внешний стакан; 2 - внутренний стакан;
3 - тугоплавкий полупроводник; 4 - градиентный нагреватель;
5 - компенсационный нагреватель; 6 - образец исследуемого
вещества; 7, 8 - рабочие поверхности прибора и холодильника;
9 - теплоизоляционный материал; 10 - вольфрам-рениевые
термопары; 11, 13 - нагреватели; 12 - выводы от электродов
поверхностной термопары; 14 - кварцевое кольцо-контейнер
Рисунок А.1 - Принципиальная схема экспериментальной
установки для определения теплопроводности твердых тел
и их расплавов при высоких температурах абсолютным
компенсационным методом плоского слоя
Экспериментальная установка состоит из двух цилиндриков - стаканов из нержавеющей стали 1, 2, между которыми запрессован слой тугоплавкого полупроводника - сульфида гадолиния 3. Они образуют высокотемпературную дифференциальную поверхностную термопару для контроля компенсации тепловых утечек с поверхности градиентного нагревателя 4, вмонтированного внутри меньшего стакана. Компенсационный нагреватель 5 намотан на поверхность внешнего стакана - второго электрода дифференциальной термопары, тщательно изолировав его от корпуса прибора. Образец исследуемого вещества 6 в виде таблетки диаметром, равным диаметру градиентного нагревателя - меньшего стакана, зажат между рабочими поверхностями прибора 7 и холодильника 8 и засыпан теплоизоляционным материалом - ультралегковесом 9 для уменьшения тепловых потерь с боковой поверхности. Перепад температуры на образце исследуемого материала измеряется двумя вольфрам-рениевыми термопарами 10. Регулировка градиента температуры на образце осуществляется высокоточным регулятором температуры РИФ 101 с помощью нагревателей 11, 13. При исследовании теплопроводности расплавов образец закладывается в кварцевое кольцо-контейнер 14. Выводы 12 от термоэлектродов поверхностной термопары подводятся к чувствительному гальванометру или потенциометру. Фиксируя с большой точностью (0,01 К) разность температур между поверхностями градиентного и компенсационного нагревателей и регулируя мощность компенсационного нагревателя, можно добиться нулевой разности температур между ними, что свидетельствует об отсутствии тепловых утечек с корпуса градиентного нагревателя.
Тепловой поток
Q =
I·
U, выделяемый градиентным нагревателем, при компенсации тепловых утечек компенсационным нагревателем проходит через образец. По перепаду температуры на образце

, геометрическим размерам образца (

- толщина,

- площадь сечения) и мощности теплового потока коэффициент теплопроводности рассчитывают по формуле

,
где N - мощность нагревателя, рассчитываемая по формуле
N = I·U,
где I - ток;
U - падение напряжения.
Оба параметра измеряют компаратором напряжения с точностью 0,001 А и 0,001 В.
Погрешность измерения теплопроводности пьезокерамических материалов с учетом неконтролируемых тепловых потерь, погрешностей измерения температур термопарами, тока и напряжения на градиентной печи и контактного теплового сопротивления с поверхностями образец - графит - образец составляет 5% при 1200 К.
ТКЛР пьезокерамик измеряют емкостным дилатометром. Суммарная погрешность измерения ТКЛР с учетом погрешности измерений размеров образца, температуры и постоянной экспериментальной установки не превышает 3% при доверительной вероятности 0,95. Проведенные контрольные измерения ТКЛР образцов поликристаллического молибдена, серебра, алюминия показывают, что полученные экспериментальные данные о ТКЛР согласуются в пределах общей погрешности измерений с аналогичными данными
[8] -
[10].
А.2 Температурные зависимости изобарной теплоемкости и температурного коэффициента линейного расширения пьезокерамики ПКР-35 (Li0,125Na0,875NbO3)
Температурные зависимости изобарной теплоемкости и температурного коэффициента линейного расширения пьезокерамики ПКР-35 (Li
0,125Na
0,875NbO
3) представлены на
рисунках А.2,
А.3.
Рисунок А.2 - Температурная зависимость изобарной
теплоемкости ПКР-35 в области структурных фазовых переходов
Рисунок А.3 - Температурная зависимость
температурного коэффициента линейного расширения ПКР-35
В диапазоне температур от 300 К до 565 К Cp растет и удовлетворительно согласуется с уравнением Cp(T) = 545/8 + 0,332 T - 5,476 T.
Расхождения между экспериментальными и расчетными значениями не превышает +/- 2%.
При температурах выше 565 К наблюдается резкий рост Cp с пиком при 576 К (1039 Дж/кг·К), связанный со структурным изменением [(содержание ромбической (Р) и ромбоэдрической (Рэ) фаз)]. Далее резкое уменьшение до 509 К, где происходит уменьшение фаз Рэ и Р и частичный переход к тетрагональной структуре.
В диапазоне температур от 612 К до 618 К наблюдается рост Cp с максимумом 965 Дж/кг·К при температуре Кюри. В этой области от тетрагональной структуры состав переходит к псевдокубическую фазу, где происходит сжатие решетки.
От 300 К до 550 К ТКЛР практически не изменяется (инварный эффект). Далее наблюдается резкое уменьшение ТКЛР с минимумом при 623 К ("гигантское" отрицательное значение ~ до минус 85·10-6, К-1). Это связано с сжатием кристаллической структуры от тетрагональной к псевдокубической структуре. При обратном ходе температура минимума смещается в сторону низкой температуры приблизительно на 5 К.
В ПКР-61 теплопроводность от 300 К до 520 К растет почти линейно, однако от 525 К до 572 К наблюдается ее уменьшение, связанное со вкладом теплосопротивления на примесных центрах, далее - линейный рост. Теплоемкость удовлетворительно согласуется с расчетными данными по уравнению Cp(T) = 545,8 + 0,322 T - 5,45·105 T-2. На температурной зависимости ТКЛР аномалии не наблюдалось, ТКЛР растет практически линейно.
В ПКР-38 твердый раствор имеет упорядоченную структуру и теплопроводность с температурой от 300 К до 680 К уменьшается как

. Далее

до 900 К растет почти линейно. Теплоемкость в этой области растет как
Cp(
T) = 610 + 6,52·10
-3·
T - 4,282·10
5 T-2. ТКЛР во всем интервале температуры растет линейно.
| Смоленский Г.А. и др. Физика сегнетоэлектрических явлений. Л.: Наука, 1985. 296 с. |
[2] | Вербенко И.А., Резниченко Л.А. Развитие бессвинцовых сегнетопьезоматериалов на рубеже тысячелетия (обзор). 2014. С. 1 - 12 |
[3] | Вербенко И.А. Бессвинцовая керамика: развитие, направления, получение, свойства (ретроспектива - современность - прогнозы). 2012. С. 19 |
[4] | Резниченко Л.А., Гаджиев Г.Г., Каллаев С.Н., Омаров З.М., Абдуллаев Х.Х. Фазовые переходы, диэлектрические, пьезоэлектрические, тепловые свойства бессвинцовой керамики на основе ниобатов щелочных металлов // Неорганические материалы. 2008. N 11. С. 1246 - 1260 |
[5] | Гаджиев Г.Г., Омаров З.М., Абдуллаев Х.Х., Магомедов М.-Р.М. Особенности теплофизических свойств ПКР-35. 2010. С. 191 - 195 |
[6] | Кравченко О.Ю., Резниченко Л.А., Гаджиев Г.Г. Свойства керамики Na0,875LiNbO3 // Неорганические материалы. 2008. N 10. С. 305 - 309 |
| Кравченко О.Ю., Гаджиев Г.Г. и др. Фазовый состав, микроструктура и свойства керамики Na1-xLiNbO3 // Неорганические материалы. 2011. N 6. С. 758 - 764 |
| Магомедов Я.Б., Гаджиев Г.Г. Прибор для измерения высокотемпературной теплопроводности твердых тел и их расплавов // Теплофизика высоких температур. 1990. N 1. С. 185 |
| Методика ГСССД МЭ 66-1989. Методика экспериментального определения теплопроводности полупроводников и их расплавов в диапазоне температур от 300 К до 900 К // Гаджиев Г.Г., Амирханов Х.И., Магомедов Я.Б., Попов П.В. Деп. в ВНИИКИ 12.10.1989 г. N 618а - 1989кк |
| Камилов И.К., Магомедов М.-Р.М., Омаров З.М. Автоматизированная установка для измерения коэффициента теплового расширения твердых тел // Приборы и техника эксперимента. 2007. N 4. С. 165 |