Главная // Актуальные документы // ГОСТ Р (Государственный стандарт)СПРАВКА
Источник публикации
М.: Стандартинформ, 2019
Примечание к документу
Документ
введен в действие с 01.05.2020.
Название документа
"ГОСТ Р МЭК 61951-1-2019. Национальный стандарт Российской Федерации. Аккумуляторы и аккумуляторные батареи, содержащие щелочной или другие некислотные электролиты. Герметичные аккумуляторы и аккумуляторные батареи для портативных применений. Часть 1. Никель-кадмий"
(утв. и введен в действие Приказом Росстандарта от 08.10.2019 N 896-ст)
"ГОСТ Р МЭК 61951-1-2019. Национальный стандарт Российской Федерации. Аккумуляторы и аккумуляторные батареи, содержащие щелочной или другие некислотные электролиты. Герметичные аккумуляторы и аккумуляторные батареи для портативных применений. Часть 1. Никель-кадмий"
(утв. и введен в действие Приказом Росстандарта от 08.10.2019 N 896-ст)
Утвержден и введен в действие
по техническому регулированию
и метрологии
от 8 октября 2019 г. N 896-ст
НАЦИОНАЛЬНЫЙ СТАНДАРТ РОССИЙСКОЙ ФЕДЕРАЦИИ
АККУМУЛЯТОРЫ И АККУМУЛЯТОРНЫЕ БАТАРЕИ, СОДЕРЖАЩИЕ ЩЕЛОЧНОЙ
ИЛИ ДРУГИЕ НЕКИСЛОТНЫЕ ЭЛЕКТРОЛИТЫ
ГЕРМЕТИЧНЫЕ АККУМУЛЯТОРЫ И АККУМУЛЯТОРНЫЕ БАТАРЕИ
ДЛЯ ПОРТАТИВНЫХ ПРИМЕНЕНИЙ
ЧАСТЬ 1
НИКЕЛЬ-КАДМИЙ
Secondary cells and batteries containing alkaline or other
non-acid electrolytes. Secondary sealed cells and batteries
for portable applications. Part 1. Nickel-cadmium
(IEC 61951-1:2017, IDT)
ГОСТ Р МЭК 61951-1-2019
Дата введения
1 мая 2020 года
1 ПОДГОТОВЛЕН Национальной ассоциацией производителей источников тока "РУСБАТ" (Ассоциация "РУСБАТ") на основе собственного перевода на русский язык англоязычной версии стандарта, указанного в
пункте 4
2 ВНЕСЕН Техническим комитетом по стандартизации ТК 044 "Аккумуляторы и батареи"
3 УТВЕРЖДЕН И ВВЕДЕН В ДЕЙСТВИЕ
Приказом Федерального агентства по техническому регулированию и метрологии от 8 октября 2019 г. N 896-ст
4 Настоящий стандарт идентичен международному стандарту МЭК 61951-1:2017 "Аккумуляторы и аккумуляторные батареи, содержащие щелочной или другие некислотные электролиты. Герметичные аккумуляторы и аккумуляторные батареи для портативных применений. Часть 1. Никель-кадмий" (IEC 61951-1:2017 "Secondary cells and batteries containing alkaline or other non-acid electrolytes - Secondary sealed cells and batteries for portable applications - Part 1: Nickel-cadmium", IDT).
При применении настоящего стандарта рекомендуется использовать вместо ссылочных международных стандартов соответствующие им национальные стандарты, сведения о которых приведены в дополнительном приложении ДА
6 Некоторые положения настоящего стандарта могут являться объектами патентных прав. Международная электротехническая комиссия (IEC) не несет ответственности за идентификацию подобных патентных прав
Правила применения настоящего стандарта установлены в статье 26 Федерального закона от 29 июня 2015 г. N 162-ФЗ "О стандартизации в Российской Федерации". Информация об изменениях к настоящему стандарту публикуется в ежегодном (по состоянию на 1 января текущего года) информационном указателе "Национальные стандарты", а официальный текст изменений и поправок - в ежемесячном информационном указателе "Национальные стандарты". В случае пересмотра (замены) или отмены настоящего стандарта соответствующее уведомление будет опубликовано в ближайшем выпуске ежемесячного информационного указателя "Национальные стандарты". Соответствующая информация, уведомление и тексты размещаются также в информационной системе общего пользования - на официальном сайте Федерального агентства по техническому регулированию и метрологии в сети Интернет (www.gost.ru)
Настоящий стандарт устанавливает требования к маркировке, обозначению и размерам, а также основные технические требования и методы испытаний герметичных никель-кадмиевых малогабаритных призматических, цилиндрических и дисковых аккумуляторов и аккумуляторных батарей, предназначенных для портативных применений и пригодных для использования в любой ориентации.
В настоящем стандарте использованы нормативные ссылки на следующие стандарты. Для датированных ссылок применяют только указанное издание ссылочного стандарта, для недатированных ссылок - последнее издание (включая все изменения).
IEC 60050-482:2004, International Electrotechnical Vocabulary (IEV) - Part 482: Primary and secondary cells and batteries (Международный электротехнический словарь. Часть 482. Первичные и вторичные элементы и батареи)
IEC 60086-1, Primary batteries - Part 1: General (Батареи первичные. Часть 1. Общие положения)
IEC 60086-2, Primary batteries - Part 2: Physical and electrical specifications (Батареи первичные. Часть 2. Физические и электрические характеристики)
IEC 61959, Secondary cells and batteries containing alkaline or other non-acid electrolytes - Mechanical tests for sealed portable secondary cells and batteries (Аккумуляторы и аккумуляторные батареи, содержащие щелочной или другие некислотные электролиты. Механические испытания для портативных герметичных аккумуляторов и аккумуляторных батарей)
IEC 62133-1, Secondary cells and batteries containing alkaline or other non-acid electrolytes - Safety requirements for portable sealed secondary cells and for batteries made from them, for use in portable applications - Part 1: Nickel systems (Аккумуляторы и аккумуляторные батареи, содержащие щелочной и другие некислотные электролиты. Требования безопасности для портативных герметичных аккумуляторов и батарей из них для портативных применений. Часть 1. Системы на основе никеля)
В настоящем стандарте применены термины и определения по МЭК 60050-482, а также следующие термины с соответствующими определениями.
ИСО и МЭК ведут терминологические базы данных для использования в стандартизации по следующим адресам:
- Электропедия МЭК: доступна на http://www.electropedia.org/;
- платформа онлайн-просмотра ИСО: доступна на http://www.iso.org/obp.
3.1 номинальное напряжение (nominal voltage): Соответствующее приблизительное значение напряжения, используемое для идентификации элемента, батареи или электрохимической системы.
Примечания
1 Номинальное напряжение одиночного герметичного никель-кадмиевого аккумулятора составляет 1,2 В.
2 Номинальное напряжение батареи, состоящей из
n последовательно соединенных аккумуляторов, равно сумме
n номинальных напряжений одиночных аккумуляторов.
[МЭК 60050-482:2004, 482-03-31, модифицирован - добавлены
примечания 1 и
2]
3.2 нормированная емкость (rated capacity): Заявленное изготовителем значение емкости аккумулятора или батареи, определяемое в установленных условиях.
Примечания
1 Нормированная емкость - количество электричества
C5, А·ч (ампер-час), заявленное изготовителем, которое может отдать одиночный аккумулятор в течение 5-часового периода при заряде, хранении и разряде в условиях, указанных в
7.3.2.
2 Емкость батареи - количество электричества
C5, А·ч (ампер-час), заявленное изготовителем, которое батарея может отдать в течение 5-часового периода при заряде, хранении и разряде в условиях, указанных в
7.3.2.
[МЭК 60050-482:2004, 482-03-15, модифицирован - добавлены
примечания 1 и
2]
3.3 малогабаритный призматический аккумулятор (small prismatic cell): Аккумулятор в форме прямоугольного параллелепипеда, ширина и толщина которого не более 25 мм.
3.4 цилиндрический аккумулятор (cylindrical cell): Аккумулятор с поперечным сечением в форме круга, общая высота которого равна или более его диаметра.
3.5 дисковый аккумулятор (button cell): Аккумулятор с поперечным сечением в форме круга, общая высота которого менее его диаметра.
3.6 никель-кадмиевый аккумулятор (nickel-cadmium cell): Аккумулятор, в котором содержатся гидроксид никеля в положительном электроде, кадмий в отрицательном электроде и гидроксид калия или другой щелочной раствор в качестве электролита.
Примечание - Положительные электроды изолированы от отрицательных электродов сепаратором.
3.7 никель-кадмиевая батарея (nickel-cadmium battery): Сборка, состоящая из одного или нескольких аккумуляторов в качестве источника электрической энергии, характеризующаяся напряжением, размером, расположением выводов, емкостью и способностью разряжаться в определенном режиме.
3.8 герметичный аккумулятор (sealed cell): Аккумулятор, который остается закрытым и не выпускает ни газ, ни жидкость в условиях эксплуатации, установленных изготовителем.
Примечания
1 Аккумулятор оснащен предохранительным устройством для предотвращения опасно высокого внутреннего давления.
2 Аккумулятор не требует добавления электролита и сконструирован так, чтобы работать в исходном герметичном состоянии на протяжении всего срока службы.
[МЭК 60050-482:2004, 482-05-17, модифицирован - заменено существующее примечание на
примечания 1 и
2]
3.9 портативный аккумулятор (portable cell): Аккумулятор, предназначенный для использования в батарее, легко переносимой в руке.
3.10 портативная батарея (battery for portable applications): Батарея, предназначенная для использования в легкопереносимых устройствах.
4 Допуски измерения параметров
Общая точность контролируемых или измеряемых значений относительно заданных или фактических параметров должна быть в пределах следующих допусков:
a) +/- 1% - для напряжения;
b) +/- 1% - для тока;
c) +/- 1% - для емкости;
d) +/- 2 °C - для температуры;
e) +/- 0,1% - для времени;
f) +/- 0,1 мм - для размеров;
g) +/- 5% - для влажности.
Данные допуски характеризуют совокупную точность измерительных приборов, используемых методов измерения и другие источники погрешностей в процедуре испытания.
Подробная информация об используемых приборах должна быть приведена в любом отчете о результатах испытаний.
5 Обозначение и маркировка аккумуляторов и батарей
5.1 Обозначение аккумуляторов и батарей
5.1.1 Малогабаритные призматические и цилиндрические аккумуляторы
5.1.1.1 Общие положения
Герметичные никель-кадмиевые малогабаритные призматические аккумуляторы и цилиндрические аккумуляторы следует обозначать буквами: L, M, J, H или X, которые означают режим:
- низкого тока разряда (L);
- среднего тока разряда (M);
- повышенного тока разряда (J);
- высокого тока разряда (H);
- сверхвысокого тока разряда (X).
Примечания
1 Данные аккумуляторы, как правило, но не исключительно, используют при следующих режимах разряда:
- L - ток разряда до 0,5It;
- M - ток разряда до 3,5It;
- J - ток разряда до 5,0It;
- H - ток разряда до 7,0It;
- X - ток разряда до 15It и выше.
2 Данные токи выражают как кратные It, где: It(А) = Cn (А·ч)/1, ч (см. МЭК 61434).
Если аккумулятор предназначен для работы в режиме постоянного подзаряда при повышенных температурах, превышающих 40 °C, после букв L, M, J, H или X добавляют букву T.
Если аккумулятор предназначен для работы в режиме постоянного подзаряда при повышенных температурах, превышающих 50 °C, после букв L, M, J, H или X добавляют букву U.
Если аккумулятор предназначен для работы в режиме ускоренного заряда, как правило током 1,0It, после букв L, M, J, H или X добавляют букву R.
5.1.1.2 Малогабаритные призматические аккумуляторы
Герметичные никель-кадмиевые малогабаритные призматические аккумуляторы обозначают буквами KF с последующими L, M, J, H или X, далее следуют три группы цифр, разделенных прямой косой линией, обозначающих соответственно:
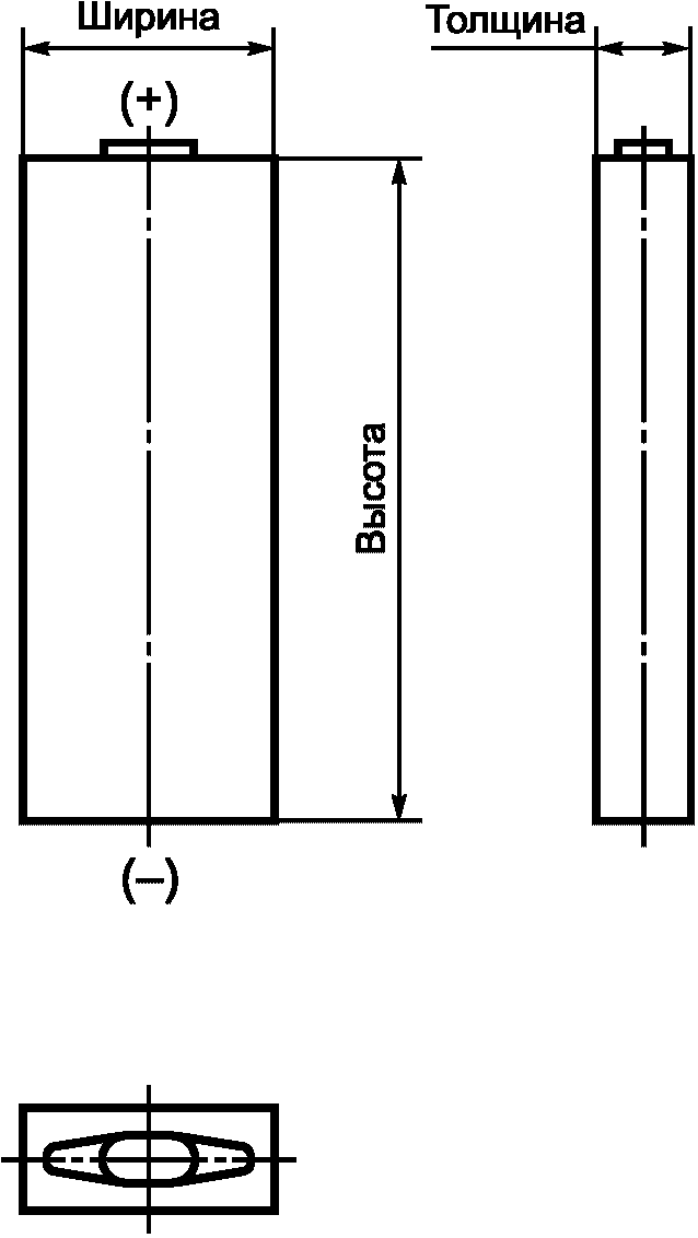
a) первая группа цифр (две цифры) указывает максимальную ширину аккумулятора, выраженную в миллиметрах, округленную до следующего целого числа;
b) вторая группа цифр (две цифры) указывает максимальную толщину аккумулятора, выраженную в миллиметрах, округленную до следующего целого числа;
c) третья группа цифр (две цифры) указывает максимальную высоту аккумулятора, выраженную в миллиметрах, округленную до следующего целого числа.
Пример - KFL 18/07/49 обозначает малогабаритный призматический аккумулятор с режимом низкого тока разряда с максимальной шириной 18 мм, максимальной толщиной 7 мм и максимальной высотой 49 мм.
5.1.1.3 Цилиндрические аккумуляторы
Герметичные никель-кадмиевые цилиндрические аккумуляторы обозначают буквами KR с последующими L, M, J, H или X, за которыми следуют две группы цифр, разделенных прямой косой линией, обозначающих соответственно:
a) первая группа цифр (две цифры) указывает максимальный диаметр аккумулятора, выраженный в миллиметрах, округленный до следующего целого числа;
b) вторая группа цифр (две цифры) указывает максимальную высоту аккумулятора, выраженную в миллиметрах, округленную до следующего целого числа.
В случае, если изготовитель проектирует аккумулятор с размерами и допусками, обеспечивающими его взаимозаменяемость с первичным элементом, на аккумулятор также должно быть нанесено обозначение в соответствии с
таблицей 2.
Примеры
1 KRL 33/62 обозначает цилиндрический аккумулятор с режимом низкого тока разряда с максимальным диаметром 33 мм и максимальной высотой 61,5 мм.
2 KRLT 33/62 обозначает цилиндрический аккумулятор с режимом низкого тока разряда, предназначенный для работы в режиме постоянного подзаряда при повышенных температурах, с максимальным диаметром 33 мм и максимальной высотой 61,5 мм.
3 KRHR 23/43 обозначает цилиндрический аккумулятор с режимом высокого тока разряда, предназначенный для работы в режиме ускоренного заряда током 1,0It, А, с максимальным диаметром 23 мм и максимальной высотой 43 мм.
Для аккумуляторов, взаимозаменяемых с первичными элементами, цифры, указанные после букв L, M и R, означают:
- 20 - типоразмер D;
- 14 - типоразмер C;
- 6 - типоразмер AA;
- 03 - типоразмер AAA.
Пример - KRMR03 обозначает герметичный никель-кадмиевый цилиндрический аккумулятор с режимом среднего тока разряда, предназначенный для работы в режиме ускоренного заряда, взаимозаменяемый с первичным элементом типоразмера AAA.
5.1.2 Дисковые аккумуляторы
Герметичные никель-кадмиевые дисковые аккумуляторы обозначают буквами KB с последующими L, M или H, которые означают:
- режим низкого тока разряда (L);
- режим среднего тока разряда (M);
- режим высокого разряда (H).
За группой из трех букв следуют две группы цифр, разделенных прямой косой линией, обозначающих:
a) первая группа цифр (три цифры) означает максимальный диаметр аккумулятора, выраженный в десятых долях миллиметра, округленный до следующего целого числа;
b) вторая группа цифр (три цифры) означает максимальную высоту аккумулятора, выраженную в десятых долях миллиметра, округленную до следующего целого числа.
Пример - KBL 116/055 обозначает герметичный никель-кадмиевый дисковый аккумулятор с режимом низкого тока разряда, с максимальным диаметром 11,6 мм и максимальной высотой 5,5 мм.
Герметичные никель-кадмиевые аккумуляторные батареи обозначают следующим образом:
N1 название аккумулятора - N2,
где N1 - число последовательно соединенных аккумуляторов в батарее;
N2 - число параллельно соединенных аккумуляторов. Его указывают, если аккумуляторов два или более, и не указывают, если N2 равно 1.
Обозначение герметичной никель-кадмиевой батареи формируют на основе входящих в ее состав аккумуляторов, а не батареи в целом:
- батарея, состоящая из малогабаритных призматических аккумуляторов.
Пример - 2KFL 18/07/49 обозначает батарею, состоящую из двух последовательно соединенных малогабаритных призматических аккумуляторов с режимом низкого тока разряда с максимальной шириной 18 мм, максимальной толщиной 7 мм и максимальной высотой 49 мм;
- батарея, состоящая из цилиндрических аккумуляторов.
Пример - 3KRL 33/62 обозначает батарею, состоящую из трех последовательно соединенных цилиндрических аккумуляторов с режимом низкого тока разряда с максимальным диаметром 33 мм и максимальной высотой 61,5 мм;
- батарея, состоящая из аккумуляторов, идентичных по типоразмеру с первичными элементами.
Пример - KRMR03-3 обозначает батарею, состоящую из трех параллельно соединенных цилиндрических аккумуляторов с режимом среднего тока разряда, предназначенных для работы в режиме ускоренного заряда, взаимозаменяемых с первичным элементом типоразмера AAA;
- батарея, состоящая из дисковых аккумуляторов.
Пример - KB116/055-3 обозначает батарею, состоящую из трех параллельно соединенных дисковых аккумуляторов с максимальным диаметром 11,6 мм и максимальной высотой 5,5 мм.
5.2 Выводы аккумулятора или батареи
Требования к выводам настоящим стандартом не установлены.
5.3.1 Малогабаритные призматические и цилиндрические аккумуляторы
На каждом аккумуляторе в кожухе, поставляемом без соединителей, должна быть прочная маркировка, содержащая в себе следующую минимально необходимую информацию:
- "герметичный перезаряжаемый никель-кадмиевый" или "Ni-Cd";
- нормированную емкость;
- номинальное напряжение;
- полярность ("+" и "-");
- дату изготовления (допускается наносить в виде кода);
- наименование или торговую марку изготовителя или поставщика;
- маркировку о переработке для вторичного использования аккумулятора.
Примечания
1 Данную маркировку применяют в регионах, в которых существуют программы утилизации.
2 Для герметичных никель-кадмиевых аккумуляторов с соединителями маркировка не требуется, если они являются неотъемлемой частью батареи. В этом случае маркировка, содержащая в себе вышеуказанную информацию, должна быть нанесена на батарею.
5.3.2 Дисковые аккумуляторы
На каждом дисковом аккумуляторе, поставляемом без соединителей, должна быть прочная маркировка, содержащая в себе следующую минимально необходимую информацию:
- обозначение согласно
5.1;
- полярность ("+" и "-");
- дату изготовления (допускается наносить в виде кода);
- наименование или торговую марку изготовителя или поставщика.
На каждой батарее должна быть прочная маркировка, содержащая в себе следующую минимально необходимую информацию:
- "герметичная перезаряжаемая никель-кадмиевая" или "Ni-Cd";
- значение нормированной емкости;
- значение номинального напряжения;
- дату изготовления (допускается наносить в виде кода).
5.3.4 Исключение формулировок из маркировки
На каждом аккумуляторе или батарее должна быть нанесена минимально необходимая информация на этикетке в соответствии с
5.3.1 -
5.3.3. Дополнительная информация, такая как меры предосторожности, должна быть приведена в руководстве по эксплуатации.
На этикетках аккумуляторов или батарей в корпусе из мягкого или жесткого пластика, на внешней поверхности которого нанесены предупреждения по безопасности, предупреждения не наносят.
6.1 Малогабаритные призматические и цилиндрические аккумуляторы
Внешний вид аккумуляторов представлен на
рисунках 1 и
2.
Рисунок 1 - Цилиндрический аккумулятор в кожухе
Рисунок 2 - Малогабаритный призматический
аккумулятор в кожухе
6.1.2 Малогабаритные призматические аккумуляторы
Размеры малогабаритных призматических аккумуляторов приведены в
таблице 1.
Таблица 1
Размеры малогабаритных призматических аккумуляторов
Обозначение аккумулятора | Ширина, мм | Толщина, мм | Высота, мм |
KF 18/07/41 | 17,3 | | 0 -1,0 | 6,1 | | 0 -0,7 | 40,2 | | 0 -1,0 |
KF 18/07/49 | 17,3 | 6,1 | 48,2 |
KF 18/09/49 | 17,3 | 8,3 | 48,2 |
KF 18/07/68 | 17,3 | 6,1 | 67,3 | | 0 -1,5 |
KF 18/09/68 | 17,3 | 8,3 | 67,3 |
KF 18/11/68 | 17,3 | 10,5 | | 0 -1,0 | 67,3 |
KF 18/18/68 | 17,3 | 17,3 | 67,3 |
KF 23/15/68 | 23,0 | 14,7 | 67,3 |
6.1.3 Цилиндрические аккумуляторы
6.1.3.1 Аккумуляторы, взаимозаменяемые с первичными элементами
Размеры цилиндрических аккумуляторов (см.
рисунок 3), взаимозаменяемых с первичными элементами, приведены в
таблице 2.
A - максимальная общая высота аккумулятора; B - минимальное
расстояние между поверхностями положительного
и отрицательного выводов; C - минимальный наружный диаметр
контактной поверхности отрицательного вывода;
D - максимальный внутренний диаметр контактной поверхности
отрицательного вывода; E - максимальное углубление
отрицательной плоской контактной поверхности;
F - максимальный диаметр положительного вывода в пределах
заданной высоты проекции; G - минимальный выступ плоского
положительного контакта;

- максимальный и минимальный
диаметры аккумулятора;

- концентричность
положительного контакта
Рисунок 3 - Цилиндрический аккумулятор в кожухе,
взаимозаменяемый с первичным элементом
Таблица 2
Размеры цилиндрических аккумуляторов, взаимозаменяемых
с первичными элементами
Обозначение аккумулятора <a> | | Соответствующий первичный элемент <c> | Номинальное напряжение, В | Габаритные размеры, мм |
A | B | C | | E | F | G | | |
макс. | мин. | мин. | - | макс. | макс. | мин. | мин. | макс. | мин. | макс. |
KR03 | AAA | R03 LR03 | 1,2 | 44,5 | (43,3) | 4,3 | - | 0,5 | 3,8 | (2,0) | 0,8 | 10,5 | 9,5 | 0,4 |
KR6 | AA | R6 LR6 | 50,5 | (49,2) | 7,0 | - | 0,5 | 5,5 | (4,2) | 1,0 | 14,5 | 13,5 | 0,5 |
KR14 | C | R14 LR14 | 50,0 | (48,6) | 13,0 | - | 0,9 | 7,5 | (5,5) | 1,5 | 26,2 | 24,9 | 1,0 |
KR20 | D | R20 LR20 | 61,5 | (59,5) | 18,0 | - | 1,0 | 9,5 | (7,8) | 1,5 | 34,2 | 32,3 | 1,0 |
Примечание - Значения в скобках являются справочными. -------------------------------- <a> Обозначения аккумуляторов должны соответствовать правилам номенклатуры, приведенным в МЭК 60086-1. <b> В некоторых странах данные типы аккумуляторов также известны как AAA (R03); AA (R 6); C (R 14); D (R 20). <c> Угольно-цинковые (R) и щелочные (LR) первичные элементы должны соответствовать требованиям МЭК 60086-2. <d> Значение размера D не предусмотрено для герметичных никель-кадмиевых цилиндрических аккумуляторов, взаимозаменяемых с первичными элементами в спецификации. |
6.1.3.2 Аккумуляторы, не взаимозаменяемые с первичными элементами
Размеры цилиндрических аккумуляторов в кожухе, не взаимозаменяемых с первичными элементами, приведены в
таблице 3.
Таблица 3
Размеры цилиндрических аккумуляторов в кожухе,
не взаимозаменяемых с первичными элементами
Обозначение аккумулятора <a> | Диаметр, мм | Высота, мм |
KR 8/43 | 7,8 | | 0 -0,7 | 42,5 | | 0 -1,5 |
KR 11/16 | 10,5 | 16,0 |
KR 11/45 | 10,5 | 44,5 |
KR 12/30 | 12,0 | 30,0 |
KR 15/18 | 14,5 | 17,5 |
KR 15/29 | 14,5 | 28,7 |
KR 15/30 | 14,5 | 30,0 |
KR 15/43 | 14,5 | 43,0 |
KR 15/48 | 14,5 | 48,0 |
KR 15/49 | 14,5 | 49,0 |
KR 15/51 | 14,5 | 50,5 |
KR 15/65 | 14,5 | 65,0 |
KR 17/18 | 17,0 | 17,5 |
KR 17/29 | 17,0 | 28,5 |
KR 17/43 | 17,0 | 43,0 |
KR 17/50 | 17,0 | 50,0 |
KR 17/66 | 17,0 | 66,0 |
KR 17/67 | 17,0 | 67,0 |
KR 23/27 | 23,0 | | 0 -1,0 | 26,5 |
KR 23/34 | 23,0 | 34,0 |
KR 23/43 | 23,0 | 43,0 |
KR 23/50 | 23,0 | 50,0 |
KR 26/31 | 25,8 | 31,0 |
KR 26/50 | 25,8 | 50,0 | | 0 -2,0 |
KR 33/36 | 32,1 | 36,3 |
KR 33/44 | 33,0 | 44,0 |
KR 33/60 | 33,0 | 60,0 |
KR 33/62 | 33,0 | 61,5 |
KR 33/91 | 33,0 | 91,0 |
KR 44/71 | 43,5 | | 0 -2,5 | 71,0 | | 0 -2,5 |
KR 44/91 | 43,5 | 91,0 |
KR 44/146 | 43,5 | 146,0 |
<a> После букв KR следует указывать буквы L, M, J, H или X и T, U и/или R соответственно (см. 5.1.1.3). |
6.2 Дисковые аккумуляторы
Аккумуляторы должны соответствовать конструкции I или II.
Примечание - Полярность конструкции I не нормируют.
Рисунок 4 - Дисковые аккумуляторы
В
таблице 4 представлены размеры герметичных никель-кадмиевых дисковых аккумуляторов.
Таблица 4
Размеры дисковых аккумуляторов
Обозначение аккумулятора <a> | Диаметр d, мм | Высота h, мм |
| 11,6 | | 0 -0,3 | 5,5 | | 0 -0,6 |
KB 156/048 | 15,6 | 4,8 |
KB 156/061 | 15,6 | 6,1 |
KB 222/050 | 22,2 | 5,0 |
KB 229/055 | 22,9 | 5,5 |
KB 232/030 | 23,2 | 3,0 |
KB 232/055 | 23,2 | 5,5 |
KB 232/067 | 23,2 | 6,7 |
KB 252/064 | 25,2 | | 0 -0,4 | 6,4 |
KB 252/077 | 25,2 | 7,7 | | 0 -1,0 |
KB 252/095 | 25,2 | 9,5 |
KB 346/055 | 34,6 | 5,5 | | 0 -0,6 |
KB 346/098 | 34,6 | 9,8 | | 0 -1,0 |
KB 432/081 | 43,2 | 8,1 |
KB 505/105 | 50,5 | 10,5 |
<a> При необходимости после букв KB указывают буквы L, M или H (см. 5.1.2). <b> Взаимозаменяем с первичным элементом R 44. |
7 Электрические испытания
Зарядные и разрядные токи для испытаний следует выбирать с учетом настоящего раздела и
раздела 5 и должны основываться на номинальной емкости
C5, А·ч (ампер-час). Данные токи выражают как кратные
It, где
It, (А) =
C5 (А·ч)/1 ч.
При испытаниях, если не указано иное, не должна наблюдаться течь электролита.
7.2 Метод заряда для испытаний
7.2.1 Метод заряда аккумулятора
Перед зарядом аккумулятор следует разрядить при температуре окружающей среды (20 +/- 5) °C постоянным током 0,2It до конечного напряжения, равного числу последовательно соединенных аккумуляторов в батарее, умноженному на 1,0 В.
Если иное не указано в настоящем стандарте, заряд, предшествующий различным режимам разряда, следует проводить при температуре окружающей среды (20 +/- 5) °C при относительной влажности (65 +/- 20)%, постоянным током 0,1It в течение 16 ч. Испытания следует проводить в период не позднее двух месяцев с даты изготовления аккумуляторов. Дату изготовления указывает изготовитель.
7.2.2 Метод заряда батареи
Если иное не указано изготовителем, перед зарядом батарею следует разрядить при температуре окружающей среды (20 +/- 5) °C постоянным током 0,2It до конечного напряжения 1,0 В.
Заряд, предшествующий различным режимам разряда, следует осуществлять в соответствии с руководством по эксплуатации при температуре окружающей среды (20 +/- 5) °C и относительной влажности воздуха (65 +/- 20)%. Испытания следует проводить в период не позднее двух месяцев с даты изготовления батареи. Дату изготовления указывает изготовитель.
7.3 Разрядные характеристики
Испытания для проверки разрядных характеристик проводят в последовательности согласно
7.3.2 -
7.3.4.
7.3.2 Разрядные характеристики при 20 °C
7.3.2.1 Общие положения
Аккумулятор или батарею следует заряжать в соответствии с
7.2. После заряда аккумулятор или батарею следует выдержать при температуре окружающей среды (20 +/- 5) °C не менее 1 ч и не более 4 ч.
7.3.2.2 Разрядные характеристики аккумуляторов при 20 °C
Аккумулятор следует разрядить при температуре окружающей среды (20 +/- 5) °C согласно
таблицам 5 и
6. Длительность разряда должна быть не менее указанной в
таблицах 5 и
6.
Таблица 5
Разрядные характеристики малогабаритных призматических
и цилиндрических аккумуляторов при 20 °C
Режим разряда | Минимальная продолжительность разряда |
Ток, А | Конечное напряжение, В | L/LT/LU | M/MT/MU/J/JT | H/HT/HU | X |
0,2It <a> | 1,0 | 5 ч | 5 ч | 5 ч | 5 ч |
1,0It | 0,9 | - | 42 мин | 48 мин | 54 мин |
5,0It <b> | 0,8 | - | - | 6 мин | 9 мин |
10,0It <b> | 0,7 | - | - | - | 3 мин |
<a> Допускается проведение пяти циклов. Испытание может быть закончено ранее пятого цикла, если требуемая продолжительность разряда уже будет достигнута. <b> Перед испытаниями на разряд в случае необходимости допускается проведение цикла кондиционирования. Данный цикл должен состоять из заряда током 0,1 It, А, в соответствии с 7.2 и разряда током 0,2 It, А, при температуре окружающей среды (20 +/- 5) °C в соответствии с 7.3.2. |
Таблица 6
Разрядные характеристики дисковых аккумуляторов при 20 °C
Режим разряда | Минимальная продолжительность разряда |
Ток, А | Конечное напряжение, В | L | M | H |
0,2It <a> | 1,0 | 5 ч | 5 ч | 5 ч |
1,0It | 1,0 | - | 48 мин | 51 мин |
5,0It <b> | 0,8 | - | - | 6 мин |
<a> Допускается проведение пяти циклов. Испытание может быть закончено ранее пятого цикла, если продолжительность разряда уже будет достигнута. <b> Перед испытаниями на разряд, в случае необходимости, допускается проведение цикла кондиционирования. Данный цикл должен состоять из заряда током 0,1 It, А, в соответствии с 7.2 и разряда током 0,2 It, А, при температуре окружающей среды (20 +/- 5) °C в соответствии с 7.3.2. |
7.3.2.3 Разрядная характеристика батарей при 20 °C
Если иное не указано изготовителем, батарею следует разряжать при температуре окружающей среды (20 +/- 5) °C постоянным током 0,2
It,
А, согласно
таблице 7, пока напряжение батареи не станет равным числу последовательно соединенных аккумуляторов в батарее, умноженному на 1,0 В.
Разряд током 0,2It, А, проводят для проверки заявленной нормированной емкости батареи.
Таблица 7
Разрядная характеристика батарей при 20 °C
Режим разряда | Минимальное время разряда, ч |
Ток, А | Конечное напряжение, В |
0,2It <a> | 1N <b> | 5 |
<a> Допускается проведение пяти циклов. Испытание может быть закончено ранее пятого цикла, если продолжительность разряда уже будет достигнута. <b> Число последовательно соединенных аккумуляторов в батарее. |
7.3.2.4 Испытание на соответствие нормированной емкости (мА·ч) (пример)
В
таблице 8 представлено испытание на соответствие нормированной емкости аккумулятора или батареи (размер выборки 32) с заявленной емкостью 2000 мА·ч.
Таблица 8
Испытание на соответствие нормированной емкости (мА·ч)
(пример)
Номер образца | Цикл 1 | Цикл 2 | Цикл 3 | Цикл 4 | | Емкость, мА·ч |
1 | 1920 | 1950 | 1900 | 2005 | | 2005 |
2 | 2000 | | | | | 2000 |
3 | 1920 | 1950 | 2000 | | | 2000 |
4 | 1860 | 1890 | 1900 | 1950 | 2000 | 2000 |
5 | 2005 | | | | | 2005 |
| ... | ... | ... | ... | | ... |
32 | 1970 | 2010 | | | | 2010 |
| | | | Нормированная емкость | 2000 |
<a> Для данного испытания допускается пять циклов. <b> Измерения индивидуальной емкости (мА·ч) для образцов с номерами 6 - 31 для краткости не показаны в этой таблице. При проведении испытаний все 32 образца следует испытывать на соответствие заявленным требованиям. |
7.3.3 Разрядные характеристики при минус 18 °C
Аккумулятор следует заряжать в соответствии с
7.2. После заряда аккумулятор следует выдержать при температуре окружающей среды минус (18 +/- 2) °C не менее 16 ч и не более 24 ч.
Аккумулятор следует разрядить при температуре окружающей среды минус (18 +/- 2) °C согласно
таблицам 9,
10 и
11. Длительность разряда должна быть не менее указанной в
таблицах 9,
10 и
11.
Таблица 9
Разрядные характеристики малогабаритных призматических
аккумуляторов при минус 18 °C
Режим разряда | Минимальное время разряда |
Ток, А | Конечное напряжение, В |
0,2It | 1,0 | 3 ч |
1,0It | 0,9 | 15 мин |
Таблица 10
Разрядные характеристики цилиндрических аккумуляторов
при минус 18 °C
Режим разряда | Минимальная продолжительность разряда |
Ток, А | Конечное напряжение, В | L/LT/LU | M | MT/MU | J | H | HT/HU | X |
0,2It | 1,0 | 2 ч | 3 ч | 2 ч | 3 ч | 3 ч | 2 ч | 4 ч |
1,0It | 0,9 | - | 15 мин | 10 мин | 15 мин | 30 мин | 20 мин | 36 мин |
2,0It <a> | 0,8 | - | - | - | - | 9 мин | 6 мин | 13 мин |
3,0It <a> | 0,8 | - | - | - | - | - | - | 7 мин |
<a> Перед испытаниями на разряд в случае необходимости допускается проведение тренировочного цикла. Данный цикл должен состоять из заряда током 0,1 It, А, в соответствии с 7.2 и разряда током 0,2 It, А, при температуре окружающей среды (20 +/- 5) °C в соответствии с 7.3.2. |
Таблица 11
Разрядные характеристики дисковых аккумуляторов
при минус 18 °C
Режим разряда | Минимальная продолжительность разряда |
Ток, А | Конечное напряжение, В | L | M | H |
0,2It | 1,0 | - | 2 ч 45 мин | 3 ч |
1,0It | 0,9 | - | 12 мин | 30 мин |
2,0It <a> | 0,8 | - | - | 9 мин |
<a> Перед испытаниями на разряд в случае необходимости допускается проведение цикла кондиционирования. Данный цикл должен состоять из заряда током 0,1 It, А, в соответствии с 7.2 и разряда током 0,2 It, А, при температуре окружающей среды (20 +/- 5) °C в соответствии с 7.3.2. |
7.3.4 Разрядные характеристики аккумуляторов с коротким режимом заряда (R)
Аккумуляторы типа R следует заряжать постоянным током 1,0
It в течение 1,2 ч или другим подходящим способом завершения заряда, рекомендованным изготовителем аккумулятора, с последующим зарядом током 0,1
It в течение 2 ч при температуре окружающей среды (20 +/- 5) °C. После заряда аккумулятор следует выдержать и разрядить в соответствии с
7.3.2 и
7.3.3.
Длительность разряда должна быть не менее значений, указанных в
таблице 5 для температуры (20 +/- 5) °C и в
таблице 10 для температуры минус (18 +/- 2) °C.
7.4 Сохраняемость заряда (емкости)
Сохраняемость заряда (емкости) аккумулятора проверяют при следующем испытании. После заряда по
7.2 аккумулятор следует хранить при разомкнутой цепи в течение 28 сут. Среднее значение температуры окружающей среды должно быть (20 +/- 2) °C, однако во время хранения допускается кратковременное отклонение температуры в пределах +/- 5 °C.
Затем аккумулятор следует разрядить в условиях, установленных
7.3.2 постоянным током 0,2
It.
Продолжительность разряда после 28 сут хранения должна быть не менее:
- 3 ч - для малогабаритных призматических аккумуляторов;
- 3 ч 15 мин - для цилиндрических аккумуляторов;
- 3 ч 15 мин - для дисковых аккумуляторов типа H;
- 3 ч 45 мин - для дисковых аккумуляторов типа L и M.
7.5.1 Устойчивость при циклировании
7.5.1.1 Общие положения
До проведения испытания на устойчивость при циклировании аккумулятор следует разрядить постоянным током 0,2It до конечного напряжения 1,0 В.
Испытание следует проводить при температуре окружающей среды (20 +/- 5) °C независимо от типа аккумулятора.
Заряд и разряд следует проводить постоянным током циклами в режимах, указанных в
таблицах 12,
14 -
17. При необходимости во время испытания следует применять принудительное воздушное охлаждение корпуса аккумулятора для предотвращения повышения его температуры свыше 35 °C.
Примечание - Фактическая температура корпуса аккумулятора определяется конструкцией аккумулятора, а не температурой окружающей среды.
7.5.1.2 Малогабаритные призматические и цилиндрические аккумуляторы, не взаимозаменяемые с первичными элементами
Таблица 12
Устойчивость при циклировании малогабаритных призматических
и цилиндрических аккумуляторов, не взаимозаменяемых
с первичными элементами
Номер цикла | Режим заряда | Время выдержки в заряженном состоянии, ч | Режим разряда |
1 | 0,10It в течение 16 ч | - | 0,25It в течение 2 ч 20 мин <a> |
2 - 48 | 0,25It в течение 3 ч 10 мин | - | 0,25It в течение 2 ч 20 мин <a> |
49 | 0,25It в течение 3 ч 10 мин | - | 0,25It до напряжения 1 В |
50 | 0,10It в течение 16 ч | 1 - 4 | 0,10It до напряжения 1 В <b> |
<a> Если напряжение аккумулятора падает ниже 1,0 В, разряд может быть прекращен. <b> Для того чтобы начать 51-й цикл в удобное время, допускается выдержка аккумуляторов при разомкнутой цепи после завершения разряда на 50-м цикле. Аналогичную процедуру допускается применять в отношении 100, 150, 200, 250, 300, 350, 400 и 450-го циклов. |
Циклы 1 - 50 следует продолжать до тех пор, пока продолжительность разряда на любом цикле, кратном 50-му, станет менее 3 ч. На этом этапе следует провести повторное измерение емкости в режиме, установленном для 50-го цикла.
Испытание на устойчивость считают завершенным, если на двух последовательных циклах длительность разряда будет менее 3 ч. Общее число циклов, полученных по окончании испытания, должно быть не менее:
- 400 - для малогабаритных призматических аккумуляторов;
- 500 - для цилиндрических аккумуляторов L/LR, M/MR, J/JR, H/HR или X/XR;
- 50 - для цилиндрических аккумуляторов LT/LU, MT/MU, JT или HT/HU.
7.5.1.3 Цилиндрические аккумуляторы, взаимозаменяемые с первичными элементами
Для испытаний на устойчивость, приближенных к реальным условиям эксплуатации, следует использовать режимы, указанные в
таблице 13.
Таблица 13
Устойчивость при цитировании малогабаритных призматических
и цилиндрических аккумуляторов, взаимозаменяемых
с первичными элементами
Номер цикла | Режим заряда | Время выдержки в заряженном состоянии, мин | Режим разряда | Последующий перерыв, мин |
1 - 49 | 0,5It в течение <a> | 20 - 30 | 0,5It до напряжения 1,0 В | 10 - 90 |
50 | 0,10It в течение 16 ч | 1 - 4 ч | 0,2It до напряжения 1,0 В | <b> |
<a> Заряд завершают при  , равном от 5 до 10 мВ, или через 132 мин. Кроме того, если окончание заряда не соответствует данному условию, испытание должно быть прекращено. <b> Для того чтобы начать 51-й цикл в удобное время, допускается выдержка аккумуляторов при разомкнутой цепи после завершения разряда на 50-м цикле. Аналогичную процедуру допускается применять в отношении 100 и 150-го циклов. |
Циклы 1 - 50 следует продолжать до тех пор, пока продолжительность разряда до 1,0 В на любом цикле, кратном 50-му, станет менее 3 ч. На этом этапе следует провести повторное измерение емкости в режиме, установленном для 50-го цикла.
Испытание на устойчивость считают завершенным, если на двух последовательных циклах длительность разряда будет менее 3 ч. Общее число циклов, полученных по окончании испытания, должно быть не менее 200 для аккумуляторов типоразмера AAA, AA, C и D.
7.5.1.4 Цилиндрические аккумуляторы (метод ускоренных испытаний)
7.5.1.4.1 Общие положения
В качестве альтернативы методу
7.5.1.2 для ускорения испытания или воссоздания условий циклирования, приближенных к реальным, допускается использовать одну из следующих методик испытания аккумуляторов.
7.5.1.4.2 Аккумуляторы типа H или X
Таблица 14
Устойчивость при цитировании аккумуляторов типа H или X
Номер цикла | Режим заряда | Время выдержки в заряженном состоянии | Режим разряда | Последующий перерыв, мин |
1 | 0,1It в течение 16 ч | 30 мин | 1,0It до напряжения 1,0 В | 30 - 90 |
2 - 48 | 0,3It в течение 4 ч <a> | 30 мин | 1,0It до напряжения 1,0 В | 30 - 90 |
49 | 0,3It в течение 4 ч <a> | 24 ч | 1,0It до напряжения 1,0 В | 30 - 90 |
50 | 0,1It в течение 16 ч | 1 - 4 ч | 0,2It до напряжения 1,0 В | <b> |
<a> Или другое подходящее условие для завершения заряда, рекомендованное изготовителем. <b> Для того чтобы начать 51-й цикл в удобное время, допускается выдержка аккумуляторов при разомкнутой цепи после завершения разряда на 50-м цикле. Аналогичную процедуру допускается применять в отношении 100, 150, 200, 250, 300, 350, 400 и 450-го циклов. |
Циклы 1 - 50 следует продолжать до тех пор, пока продолжительность разряда до 1,0 В на любом цикле, кратном 49-му, не станет менее 30 мин или пока продолжительность разряда до 1,0 В на любом цикле, кратном 50-му, не станет менее 3 ч. На этом этапе следует провести повторное измерение емкости в режиме, установленном для 50-го цикла, и, если время разряда составляет менее 3 ч, испытание прекращают.
Общее число циклов, полученных по окончании испытания, должно быть не менее 500.
7.5.1.4.3 Аккумуляторы типа X
Таблица 15
Устойчивость при циклировании цилиндрических аккумуляторов
типа X
Номер цикла | Режим заряда | Время выдержки в заряженном состоянии | Режим разряда | Последующий перерыв, мин |
1 | 0,1It в течение 16 ч | 30 мин | 5,0It до напряжения 0,8 В | 30 - 90 |
2 - 48 | 1,0It в течение 1 ч <a> | 30 мин | 5,0It до напряжения 0,8 В | 30 - 90 |
49 | 1,0It в течение 1 ч <a> | 24 ч | 5,0It до напряжения 0,8 В | 30 - 90 |
50 | 0,1It в течение 16 ч | 1 - 4 ч | 0,2It до напряжения 1,0 В | <b> |
<a> Или другое подходящее условие для завершения заряда, рекомендованное изготовителем. <b> Для того чтобы начать 51-й цикл в удобное время, допускается выдержка аккумуляторов при разомкнутой цепи после завершения разряда на 50-м цикле. Аналогичную процедуру допускается применять в отношении 100, 150, 200, 250, 300, 350, 400 и 450-го циклов. |
Циклы 1 - 50 следует продолжать до тех пор, пока продолжительность разряда до 0,8 В на любом цикле, кратном 49-му, не станет менее 5 мин или пока продолжительность разряда до 1,0 В на любом цикле, кратном 50-му, не станет менее 3 ч. На этом этапе следует провести повторное измерение емкости в режиме, установленном для 50-го цикла, и, если время разряда составляет менее 3 ч, испытание прекращается.
Общее число циклов, полученных по окончании испытания, должно быть не менее 500.
7.5.1.4.4 Аккумуляторы типа HR или XR
Таблица 16
Устойчивость при циклировании цилиндрических аккумуляторов
типа HR или XR
Номер цикла | Режим заряда | Время выдержки в заряженном состоянии | Режим разряда | Последующий перерыв, мин |
1 - 48 | 1,0It в течение <a> | 20 - 30 мин | 1,0It до напряжения 1,0 В | 10 - 30 |
49 | 1,0It в течение <a> | 24 ч | 1,0It до напряжения 1,0 В | 10 - 30 |
50 | 1,0It в течение <a> плюс 0,1 It в течение 2 ч | 1 - 4 ч | 0,2It до напряжения 1,0 В | <b> |
<a> Подходящее условие для завершения заряда, рекомендованное изготовителем; например, допускается использовать методы контроля  или  . <b> Для того чтобы начать 51-й цикл в удобное время, допускается выдержка аккумуляторов при разомкнутой цепи после завершения разряда на 50-м цикле. Аналогичную процедуру допускается применять в отношении 100, 150, 200, 250, 300, 350, 400 и 450-го циклов. |
Циклы 1 - 50 следует продолжать до тех пор, пока продолжительность разряда до 1,0 В на любом цикле, кратном 49-му, не станет менее 30 мин или пока продолжительность разряда до 1,0 В на любом цикле, кратном 50-му, не станет менее 3 ч. На этом этапе следует провести повторное измерение емкости в режиме, установленном для 50-го цикла, и, если время разряда составляет менее 3 ч, испытание прекращается.
Общее число циклов, полученных по окончании испытания, должно быть не менее 500.
7.5.1.5 Дисковые аккумуляторы
Таблица 17
Устойчивость при циклировании дисковых аккумуляторов
Номер цикла | Режим заряда | Время выдержки в заряженном состоянии, ч | Режим разряда |
1 | 0,1It в течение 16 ч | 5 | 0,2It в течение 3 ч |
2 - 48 | 0,1It в течение 8 ч | 1 | 0,2It в течение 3 ч |
49 | 0,1It в течение 8 ч | 1 | 0,2It до напряжения 1,0 В <a> |
50 | 0,1It в течение 16 ч | 1 | 0,2It до напряжения 1,0 В <a> |
<a> Для того чтобы начать следующий цикл в удобное время, допускается выдержка аккумуляторов при разомкнутой цепи после завершения разряда на 49-м и 50-м циклах. Аналогичную процедуру допускается применять в отношении 100, 150, 200, 250, 300 и 350-го циклов. |
Циклы 1 - 50 следует продолжать до тех пор, пока продолжительность разряда на любом цикле, кратном 50-му, не станет менее 3 ч. На этом этапе следует провести повторное измерение емкости в режиме, установленном для 50-го цикла.
Испытание на долговечность считают завершенным, если на двух последовательных циклах длительность разряда будет менее 3 ч. Общее число циклов, полученных по окончании испытания, должно быть не менее 400 для аккумуляторов типов M и H и 300 для аккумуляторов типа L.
7.5.2 Устойчивость к постоянному подзаряду
7.5.2.1 Малогабаритные призматические аккумуляторы
Требования настоящим стандартом не установлены.
7.5.2.2 Цилиндрические аккумуляторы типов L, M, J, H или X и дисковые аккумуляторы типов L, M или H
До проведения испытания аккумулятор следует разрядить током 0,2It до конечного напряжения 1,0 В.
Испытание на устойчивость к постоянному подзаряду следует проводить при температуре окружающей среды (20 +/- 5) °C.
Заряд и разряд следует проводить постоянным током в режимах, указанных в
таблице 18 для цилиндрических аккумуляторов и
таблице 19 для дисковых аккумуляторов.
Таблица 18
Устойчивость к постоянному подзаряду цилиндрических
аккумуляторов типов L, M, J, H и X
Номер цикла | Заряд | Разряд <a> |
1 | 0,05It в течение 91 сут | 0,2It до напряжения 1,0 В |
2 | 0,05It в течение 91 сут | 0,2It до напряжения 1,0 В |
3 | 0,05It в течение 91 сут | 0,2It до напряжения 1,0 В |
4 | 0,05It в течение 91 сут | 0,2It до напряжения 1,0 В |
<a> Разряд проводят сразу после окончания заряда. |
При необходимости во время испытания следует применять принудительное воздушное охлаждение корпуса аккумулятора для предотвращения повышения его температуры свыше 25 °C.
Продолжительность разряда после завершения четырех последовательных циклов должна быть не менее 3 ч.
Таблица 19
Устойчивость к постоянному подзаряду дисковых аккумуляторов
Номер цикла | Заряд для аккумуляторов типа L или M | Заряд для аккумуляторов типа H | Разряд <a> |
1 | 0,01It в течение 91 сут | 0,05It в течение 91 сут | 0,2It до напряжения 1,0 В |
2 | 0,01It в течение 91 сут | 0,05It в течение 91 сут | 0,2It до напряжения 1,0 В |
3 | 0,01It в течение 91 сут | 0,05It в течение 91 сут | 0,2It до напряжения 1,0 В |
4 | 0,01It в течение 91 сут | 0,05It в течение 91 сут | 0,2It до напряжения 1,0 В |
<a> Разряд проводят сразу после окончания заряда. |
При необходимости во время испытания следует применять принудительное воздушное охлаждение корпуса аккумулятора для предотвращения повышения его температуры свыше 30 °C.
Продолжительность разряда после завершения четырех последовательных циклов должна быть не менее 3 ч.
7.5.2.3 Цилиндрические аккумуляторы типов LT, MT или HT
Испытание на устойчивость к постоянному подзаряду следует проводить в соответствии с
таблицей 20.
Таблица 20
Устойчивость при постоянном подзаряде цилиндрических
аккумуляторов типов LT, MT или HT
Номер цикла | Значение температуры окружающей среды, °C | Режим заряда | Режим разряда A или B <a> | Продолжительность разряда, не менее |
1 | 40 +/- 2 | 0,05It в течение 48 ч | A: 0,2It до напряжения 1,0 В или | Не нормируют |
B: 1,0It до напряжения 1,0 В | Не нормируют |
2 | 0,05It в течение 24 ч | A: 0,2It до напряжения 1,0 В или | 3 ч 45 мин |
B: 1,0It до напряжения 1,0 В | 42 мин |
3 | 40 +/- 2 | 0,05It в течение 24 ч | A: 0,2It до напряжения 1,0 В или | 3 ч 45 мин |
B: 1,0It до напряжения 1,0 В | 42 мин |
4 | 70 +/- 2 | 0,05It в течение 60 дней | A: 0,2It до напряжения 1,0 В или | Не нормируют |
B: 1,0It до напряжения 1,0 В |
5 | 0,05It в течение 60 дней | A: 0,2It до напряжения 1,0 В или |
B: 1,0It до напряжения 1,0 В |
6 | 0,05It в течение 60 дней | A: 0,2It до напряжения 1,0 В или |
B: 1,0It до напряжения 1,0 В |
7 | 40 +/- 2 | 0,05It в течение 48 ч | A: 0,2It до напряжения 1,0 В или | Не нормируют |
B: 1,0It до напряжения 1,0 В | Не нормируют |
8 | 0,05It в течение 24 ч | A: 0,2It до напряжения 1,0 В или | 2 ч 30 мин |
B: 1,0It до напряжения 1,0 В | 24 мин |
9 | 0,05It в течение 24 ч | A: 0,2It до напряжения 1,0 В или | 2 ч 30 мин |
B: 1,0It до напряжения 1,0 В | 24 мин |
<a> Разряд A используют для аккумуляторов типа LT, MT или HT. Разряд B используют для аккумуляторов типа MT или HT. |
Испытание заключается:
- в проверке эффективности заряда при температуре окружающей среды 40 °C;
- периоде старения - выдержка в течение 6 мес при температуре 70 °C;
- заключительных проверках эффективности заряда для контроля аккумуляторов после старения.
Примечание - Выдержку в течение 6 мес при температуре 70 °C оценивают как имитирующую постоянный подзаряд в течение четырех лет при температуре 40 °C.
До проведения испытания аккумулятор следует разрядить постоянным током 0,2It до конечного напряжения 1,0 В при температуре окружающей среды (20 +/- 5) °C и затем выдержать не менее 16 ч и не более 24 ч при температуре (40 +/- 2) °C.
Аккумулятор следует зарядить и разрядить постоянным током в соответствии с
таблицей 20, включая время выдержки при температуре (40 +/- 2) °C и (70 +/- 2) °C соответственно.
Режимы разряда A и B выбирают в зависимости от требований потребителя. Разряд проводят непосредственно после окончания заряда.
После проведения первого испытания на эффективность заряда при температуре 40 °C аккумулятор следует выдержать не менее 16 ч и не более 24 ч при температуре (70 +/- 2) °C.
При необходимости следует применять принудительное воздушное охлаждение для предотвращения повышения температуры корпуса аккумулятора свыше 75 °C в течение периода старения - 6 мес выдержки при температуре 70 °C.
Примечание - Фактическая температура корпуса определяется конструкцией аккумулятора, а не температурой окружающей среды.
Продолжительность разряда на трех циклах при температуре 70 °C следует зарегистрировать.
Не допускается течь электролита во время испытаний.
После окончания периода старения аккумуляторы следует выдержать не менее 16 ч и не более 24 ч при температуре (40 +/- 2) °C. Затем следует провести три цикла первоначального испытания на эффективность заряда при температуре 40 °C в соответствии с условиями, приведенными в
таблице 20.
Продолжительность разряда должна быть не менее установленной в
таблице 20.
7.5.2.4 Цилиндрические аккумуляторы типа JT
Для определения числа циклов заряда - разряда, которые может отработать аккумулятор при заданных условиях, следует провести следующее испытание на устойчивость.
До проведения испытания аккумулятор следует разрядить током 0,2It при температуре окружающей среды (20 +/- 5) °C до конечного напряжения 1,0 В, а затем выдержать при температуре окружающей среды (55 +/- 2) °C не менее 16 ч и не более 24 ч.
Затем аккумулятор следует зарядить постоянным током 0,033It и поставить на хранение длительностью 28 дней при температуре окружающей среды (55 +/- 2) °C и затем разрядить при той же температуре окружающей среды током 1,0It, А, до конечного напряжения 1,1 В.
Испытание на устойчивость считают завершенным, когда два последовательных цикла измерения обеспечивают длительность разряда менее 30 мин. Общее число успешно завершенных циклов должно быть не менее шести.
7.5.2.5 Цилиндрические аккумуляторы типа LU, MU или HU
Испытание на устойчивость при постоянном подзаряде проводят в соответствии с
таблицей 21.
Таблица 21
Устойчивость при постоянном подзаряде цилиндрических
аккумуляторов типов LU, MU или HU
Номер цикла | Значение температуры окружающей среды, °C | Режим заряда | Режим разряда A или B <a> | Продолжительность разряда, не менее |
1 | 50 +/- 2 | 0,05It в течение 48 ч | A: 0,2It до напряжения 1,0 В или | Не нормируют |
B: 1,0It до напряжения 1,0 В | Не нормируют |
2 | 0,05It в течение 24 ч | A: 0,2It до напряжения 1,0 В или | 3 ч 45 мин |
B: 1,0It до напряжения 1,0 В | 42 мин |
3 | 0,05It в течение 24 ч | A: 0,2It до напряжения 1,0 В или | 3 ч 45 мин |
B: 1,0It до напряжения 1,0 В | 42 мин |
4 | 70 +/- 2 | 0,05It в течение 120 сут | A: 0,2It до напряжения 1,0 В или | Не нормируют |
B: 1,0It до напряжения 1,0 В |
5 | 0,05It в течение 120 сут | A: 0,2It до напряжения 1,0 В или |
B: 1,0It до напряжения 1,0 В |
6 | 0,05It в течение 120 сут | A: 0,2It до напряжения 1,0 В или |
B: 1,0It до напряжения 1,0 В |
7 | 50 +/- 2 | 0,05It в течение 48 ч | A: 0,2It до напряжения 1,0 В или | Не нормируют |
B: 1,0It до напряжения 1,0 В |
8 | 0,05It в течение 24 ч | A: 0,2It до напряжения 1,0 В или | 2 ч 30 мин |
B: 1,0It до напряжения 1,0 В | 24 мин |
9 | 0,05It в течение 24 ч | A: 0,2It до напряжения 1,0 В или | 2 ч 30 мин |
B: 1,0It до напряжения 1,0 В | 24 мин |
<a> Разряд A используют для аккумуляторов типа LT, MT или HT. Разряд B используют только для аккумуляторов типа MT или HT. |
Испытание заключается:
- в проверке эффективности заряда при температуре окружающей среды 50 °C;
- периоде старения - выдержка в течение 12 мес при температуре 70 °C;
- заключительных проверках эффективности заряда для контроля аккумуляторов после старения.
Примечание - Выдержку в течение 12 мес при температуре 70 °C оценивают как имитирующую постоянный подзаряд в течение четырех лет при температуре 50 °C.
До проведения испытания аккумулятор следует разрядить током 0,2It при температуре окружающей среды (20 +/- 5) °C до конечного напряжения 1,0 В, а затем выдержать при температуре окружающей среды (50 +/- 2) °C не менее 16 ч и не более 24 ч.
Затем аккумулятор следует зарядить и разрядить постоянным током в соответствии с
таблицей 21, включая время выдержки при температуре (50 +/- 2) °C и (70 +/- 2) °C соответственно.
Режимы разряда A и B выбирают в зависимости от требований потребителя. Разряд проводят непосредственно после окончания заряда.
После проведения первого испытания на прием заряда при температуре 50 °C, аккумулятор следует выдержать не менее 16 ч и не более 24 ч при температуре (70 +/- 2) °C.
При необходимости следует применять принудительное воздушное охлаждение для предотвращения повышения температуры корпуса аккумулятора свыше 75 °C в течение периода старения - 12 мес выдержки при температуре 70 °C.
Примечание - Фактическая температура корпуса определяется конструкцией аккумулятора, а не температурой окружающей среды.
Продолжительность разряда на трех циклах при температуре 70 °C следует зарегистрировать.
Не допускается течь электролита во время испытаний.
После окончания периода старения аккумуляторы следует выдержать не менее 16 ч и не более 24 ч при температуре (50 +/- 2) °C. Затем следует провести три цикла первоначального испытания на прием заряда при температуре 50 °C в соответствии с условиями, приведенными в
таблице 21.
Длительность разряда должна быть не менее указанной в
таблице 21.
7.6 Заряд при постоянном напряжении
Требования настоящим стандартом не установлены.
Заряд аккумуляторов при постоянном напряжении не рекомендуется.
7.7.1 Малогабаритные призматические аккумуляторы
Способность аккумулятора выдерживать перезаряд следует подтверждать при следующем испытании.
До проведения испытания аккумулятор следует разрядить постоянным током 0,2It при температуре окружающей среды (20 +/- 5) °C до конечного напряжения 1,0 В.
Аккумулятор следует зарядить постоянным током 0,1It и в течение 48 ч при температуре окружающей среды (20 +/- 5) °C. После окончания заряда аккумулятор следует выдержать не менее 1 ч и не более 4 ч при температуре (20 +/- 5) °C.
Затем аккумулятор следует разрядить током 0,2It до конечного напряжения 1 В при температуре (20 +/- 5) °C.
Продолжительность разряда должна быть не менее 5 ч.
7.7.2 Перезаряд цилиндрических аккумуляторов типов L, M, H или X и дисковых аккумуляторов
Способность аккумулятора выдерживать перезаряд следует подтверждать при следующем испытании.
До проведения испытания аккумулятор следует разрядить постоянным током 0,2It при температуре окружающей среды (20 +/- 5) °C до конечного напряжения 1,0 В.
Аккумулятор следует зарядить постоянным током 0,1It и в течение 28 сут при температуре окружающей среды (20 +/- 5) °C. После окончания заряда аккумулятор следует выдержать не менее 1 ч и не более 4 ч при температуре (20 +/- 5) °C.
Затем аккумулятор следует разрядить током 0,2It до конечного напряжения 1 В при температуре (20 +/- 5) °C.
Продолжительность разряда должна быть не менее:
- 5 ч - для цилиндрических аккумуляторов;
- 4 ч 15 мин - для дисковых аккумуляторов.
7.7.3 Перезаряд цилиндрических аккумуляторов типов LT/LU, MT/MU или HT/HU
Способность аккумулятора выдерживать перезаряд следует подтверждать следующим испытанием при температуре (0 +/- 2) °C с циркуляцией воздуха.
До проведения испытания аккумулятор следует разрядить постоянным током 0,2It при температуре окружающей среды (20 +/- 5) °C до конечного напряжения 1,0 В и выдержать в течение не менее 16 ч и не более 24 ч.
Аккумулятор следует зарядить и разрядить постоянным током в соответствии с
таблицей 22.
Таблица 22
Режим заряда | Режим разряда A <a> | Режим разряда B <a> |
LT/LU, MT/MU, HT/HU | MT/MU, HT/HU |
0,05It в течение 28 сут | 0,2It до напряжения 1,0 В | 1,0It до напряжения 1,0 В |
<a> Разряд проводят сразу после окончания заряда. |
Режимы разряда A и B выбирают в зависимости от требований потребителя.
Продолжительность разряда должна быть не менее:
- 4 ч 15 мин для режима разряда A;
- 36 мин для режима разряда B.
7.7.4 Цилиндрические аккумуляторы типа J
Способность аккумулятора выдерживать перезаряд следует подтверждать при следующем испытании при температуре (5 +/- 2) °C с циркуляцией воздуха.
До проведения испытания аккумулятор следует разрядить постоянным током 0,2It при температуре окружающей среды (20 +/- 5) °C до конечного напряжения 1,0 В и выдержать при температуре окружающей среды (5 +/- 2) °C в течение не менее 16 ч и не более 24 ч.
Аккумулятор следует зарядить постоянным током 0,1It и в течение 48 ч при температуре окружающей среды (20 +/- 5) °C. После окончания заряда аккумулятор следует выдержать не менее 1 ч и не более 4 ч при температуре (20 +/- 5) °C.
Затем аккумулятор следует разрядить током 0,2It до конечного напряжения 1 В при температуре (20 +/- 5) °C.
Продолжительность разряда должна быть не менее 5 ч.
7.7.5 Цилиндрические аккумуляторы типа JT
Способность аккумулятора выдерживать перезаряд следует подтверждать при следующем испытании при температуре (5 +/- 2) °C с циркуляцией воздуха.
До проведения испытания аккумулятор следует разрядить постоянным током 0,2It при температуре окружающей среды (20 +/- 5) °C до конечного напряжения 1,0 В и выдержать при температуре окружающей среды (5 +/- 2) °C в течение не менее 16 ч и не более 24 ч.
Аккумулятор следует зарядить постоянным током 0,05It и в течение 96 ч при температуре окружающей среды (20 +/- 5) °C. После окончания заряда аккумулятор следует выдержать не менее 16 ч и не более 24 ч при температуре (20 +/- 5) °C.
Затем аккумулятор следует разрядить током 1,0It до конечного напряжения 1,1 В при температуре (20 +/- 5) °C.
Продолжительность разряда должна быть не менее 37 мин.
7.7.6 Цилиндрические аккумуляторы типа R
Способность аккумулятора выдерживать перезаряд следует подтверждать при следующем испытании.
До проведения испытания аккумулятор следует разрядить постоянным током 0,2It при температуре окружающей среды (20 +/- 5) °C до конечного напряжения 1,0 В.
Аккумулятор следует заряжать постоянным током 1,2It в течение 1,2 ч при температуре окружающей среды (20 +/- 5) °C. Затем заряд следует продолжить при той же температуре окружающей среды током 0,1It в течение 28 дней.
После окончания заряда аккумулятор следует выдержать не менее 1 ч и не более 4 ч при температуре (20 +/- 5) °C.
Затем аккумулятор следует разрядить током 0,2It до конечного напряжения 1,0 В при температуре (20 +/- 5) °C.
Продолжительность разряда должна быть не менее 5 ч.
7.8 Работа предохранительного устройства
ПРЕДУПРЕЖДЕНИЕ - При проведении данного испытания необходимо соблюдать повышенные меры предосторожности. Аккумуляторы следует испытывать индивидуально, при этом следует учитывать, что аккумуляторы, не отвечающие требованиям, могут взорваться даже после отключения тока заряда. По этой причине испытание следует проводить в защитной камере.
Способность предохранительного устройства аккумулятора обеспечить выход газа, если его давление внутри аккумулятора превышает критическое значение, следует подтверждать при следующем испытании, проводимом в следующей последовательности.
Примечание - Дисковые аккумуляторы некоторых типов не имеют предохранительного устройства. Эти аккумуляторы испытаниям не подвергают.
Аккумулятор следует подвергнуть принудительному разряду постоянным током 0,2It до конечного напряжения 0 В при температуре окружающей среды (20 +/- 5) °C.
Затем ток следует увеличить до 1,0It и поддерживать при этом значении и температуре в течение 60 мин.
В процессе и в конце разряда аккумулятор не должен взрываться или разрушаться. Допускается течь электролита и деформация аккумулятора.
7.9 Сохраняемость дисковых аккумуляторов и батарей, малогабаритных аккумуляторов и батарей и цилиндрических аккумуляторов и батарей
Хранение следует осуществлять в соответствии с рекомендациями изготовителя.
До проведения испытания:
- аккумулятор следует разрядить постоянным током 0,2It при температуре окружающей среды (20 +/- 5) °C до конечного напряжения 1,0 В;
- батарею следует разрядить постоянным током 0,2It при температуре окружающей среды (20 +/- 5) °C до напряжения, равного количеству последовательно соединенных аккумуляторов, умноженному на 1,0 В, если иное не рекомендуется изготовителем.
Аккумулятор или батарею следует хранить при разомкнутой цепи, средней температуре окружающей среды (20 +/- 5) °C и относительной влажности (65 +/- 20)% в течение требуемого срока.
В течение срока хранения температура окружающей среды не должна выходить за пределы (20 +/- 10) °C.
По завершении срока хранения аккумулятор или батарею следует зарядить в соответствии:
- с
7.2 - для дисковых аккумуляторов или батарей, малогабаритных призматических аккумуляторов или батарей, L/LT/LU, M/MT/MU, J/JT, H/HT/HU, X цилиндрических аккумуляторов или батарей;
-
7.3.4 - для цилиндрических аккумуляторов или батарей типа R.
Затем аккумулятор или батарею следует разрядить в соответствии с указаниями, приведенными ниже:
- аккумулятор следует разрядить при температуре окружающей среды (20 +/- 5) °C при постоянном токе 0,2It до конечного напряжения 1,0 В;
- батарею следует разрядить постоянным током 0,2It при температуре окружающей среды (20 +/- 5) °C до напряжения, равного количеству последовательно соединенных аккумуляторов, умноженному на 1,0 В, если иное не рекомендуется изготовителем.
Для данного испытания допускаются пять циклов заряд - разряд. Испытания следует закончить после первого цикла, соответствующего требованиям.
Минимальная продолжительность разряда после каждого срока хранения соответствует
таблице 23.
Таблица 23
Снижение емкости при хранении аккумуляторов или батарей
Срок хранения T, мес (с даты изготовления) Температура окружающей среды (20 +/- 5) °C | Минимальная продолжительность разряда |
T <= 2 | 5 ч |
2 < T <= 6 | 4 ч 30 мин |
6 < T <= 12 | 4 ч |
12 < T <= 18 | 3 ч 30 мин |
Примечание - В случае процедуры приемки по качеству, до получения удовлетворительных результатов по разряду после хранения, может быть согласовано предварительное одобрение характеристик аккумуляторов.
7.10 Испытание на прием заряда при температуре 55 °C цилиндрических аккумуляторов типа LT, MT или HT
Данное испытание не является обязательным. Результаты данного испытания допускается использовать в качестве справочной рабочей характеристики применительно только к цилиндрическим аккумуляторам типа LT, MT или HT.
Аккумулятор следует разрядить при температуре окружающей среды (20 +/- 5) °C током 0,2It до конечного напряжения 1,0 В и выдержать при температуре окружающей среды (55 +/- 2) °C не менее 16 ч и не более 24 ч.
Испытание на прием заряда следует проводить при температуре окружающей среды (55 +/- 2) °C. Заряд и разряд следует проводить постоянным током согласно
таблице 24. Режим разряда A или B выбирают в зависимости от потребностей потребителя.
Таблица 24
Заряд и разряд при температуре 55 °C
Номер цикла | Режим заряда | Режим разряда A или B <a> |
1 | 0,05It в течение 48 ч | A: 0,2It до напряжения 1,0 В или B: 1,0It до напряжения 1,0 В |
2 <b> | 0,05It в течение 24 ч | A: 0,2It до напряжения 1,0 В или B: 1,0It до напряжения 1,0 В |
3 <b> | 0,05It в течение 24 ч | A: 0,2It до напряжения 1,0 В или B: 1,0It до напряжения 1,0 В |
<a> Режим разряда A используют для аккумуляторов LT, MT или HT, режим разряда B - для аккумуляторов MT или HT. <b> Продолжительность разряда циклов 2 и 3 следует зафиксировать и представить в отчете о результатах испытаний. |
7.11 Испытание на прием заряда цилиндрических аккумуляторов типа JT
Способность аккумулятора выдерживать непрерывный заряд в условиях A или B определяют при следующем испытании.
Аккумулятор следует разрядить постоянным током 0,2
It при температуре окружающей среды (20 +/- 5) °C до конечного напряжения 1,0 В и выдержать при постоянной температуре в условиях согласно
таблице 25 в течение не менее 16 ч и не более 24 ч.
Аккумулятор следует зарядить и разрядить при той же температуре окружающей среды постоянным током в условиях согласно
таблице 25.
Длительность разряда должна быть не менее значений, указанных в
таблице 25.
Таблица 25
Заряд цилиндрических аккумуляторов типа JT
Условия (при температуре, °C) | Температура окружающей среды, °C | Заряд, А | Разряд, А | Средняя продолжительность разряда, мин |
A (45) | 45 +/- 2 | 0,033It в течение 48 ч | 1,0It до напряжения 1,1 В | 37 |
A (5) | 5 +/- 2 | 0,033It в течение 48 ч | 1,0It до напряжения 1,1 В | 37 |
B (45) | 45 +/- 2 | 0,04It в течение 24 ч | 1,0It до напряжения 1,1 В | 25 |
B (5) | 5 +/- 2 | 0,04It в течение 24 ч | 1,0It до напряжения 1,1 В | 25 |
7.12 Внутреннее сопротивление
Внутреннее сопротивление малогабаритных призматических и цилиндрических аккумуляторов определяют либо на переменном (AC), либо на постоянном (DC) токе.
При необходимости измерения внутреннего сопротивления одних и тех же аккумуляторов обоими методами первоначально следует использовать метод на переменном токе (AC).
В этом случае нет необходимости проводить разряд и заряд между испытаниями по указанным методам.
До проведения измерений аккумулятор следует разрядить постоянным током 0,2It до конечного напряжения 1 В.
Аккумулятор следует зарядить в соответствии с
7.1. После заряда аккумулятор следует выдержать не менее 1 ч, но не более 4 ч при температуре (20 +/- 5) °C.
Измерение внутреннего сопротивления следует проводить при температуре (20 +/- 5) °C.
7.12.2 Измерение внутреннего сопротивления на переменном токе (AC)
Для определения внутреннего сопротивления аккумулятора в течение 1 - 5 с должно быть измерено среднеквадратичное значение (RMS) переменного напряжения Ua, возникающего при прохождении через аккумулятор переменного тока со среднеквадратичным значением (RMS) тока Ia частотой (1,0 +/- 0,1) кГц.
Внутреннее сопротивление Rac, Ом, вычисляют по формуле

, (1)
где Ua - переменное среднеквадратичное напряжение,
Ia - переменный среднеквадратичный ток.
Примечания
1 Переменный ток выбирают таким образом, чтобы пиковое напряжение оставалось ниже 20 мВ.
2 По данному методу измеряют импеданс, который в диапазоне указанной частоты примерно равен сопротивлению.
3 Подключение к выводам батареи осуществляют таким образом, что контакты измерения напряжения не соприкасаются с контактами, через которые осуществляется подача тока.
7.12.3 Измерение внутреннего сопротивления на постоянном токе (DC)
Аккумулятор следует разрядить постоянным током
I1 согласно
таблице 26. В конце разряда длительностью 10 с следует измерить и зафиксировать напряжение
U1. Затем ток разряда следует немедленно увеличить до
I2 согласно
таблице 26 и соответственно напряжение
U2 следует измерить в конце заряда в течение 3 с.
Таблица 26
Режимы разряда, используемые для измерения внутреннего
сопротивления на постоянном токе
Ток | Обозначение аккумулятора |
KF, KR <a> | KRM <a>, KRJ <a>, KRH <a> | KRX |
I1 | 0,2It | 0,5It | 1,0It |
I2 | 2,0It | 5,0It | 10,0It |
<a> В том числе соответствующие аккумуляторы типов T и R. |
Все замеры напряжения следует проводить на выводах аккумулятора независимо от контактов, используемых для подачи тока.
Внутреннее сопротивление Rdc, Ом, измеренное на постоянном токе, вычисляют по формуле

, (2)
где I1, I2 - постоянные токи разряда,
U1, U2 - напряжения, измеренные во время разряда.
Механические испытания следует проводить в соответствии с МЭК 61959.
9 Требования безопасности
Требования безопасности - в соответствии с МЭК 62133-1.
10 Утверждение типа и прием партии
Условия утверждения типа и приема партии должны быть согласованы между поставщиком и покупателем. Если иное не согласовано между поставщиком и покупателем, должны быть выполнены следующие испытания.
10.2.1 Утверждение типа малогабаритных призматических аккумуляторов
Для утверждения типа проводят испытания в последовательности и с использованием числа образцов, указанных в
таблице 27.
Должны быть испытаны шесть групп аккумуляторов: A, B, C, D, E и F в указанном порядке. Общее число испытуемых образцов для утверждения типа - 41. В это число включен дополнительный аккумулятор на случай повторного испытания при отказе, произошедшем по причинам, не зависящим от поставщика.
Испытания следует проводить в последовательности, установленной для аккумулятора каждой группы. Все аккумуляторы подвергают испытаниям, установленным для группы A, после чего их произвольно делят на группы согласно
таблице 27.
Число дефектных аккумуляторов, допускаемых в отдельных группах и в целом, приведено в
таблице 27. Аккумулятор считают дефектным, если по результатам испытаний группы он не соответствует всем или части требований.
Таблица 27
Последовательность испытаний малогабаритных призматических
аккумуляторов для утверждения типа
Группа | Число образцов | Подраздел, пункт | Испытание | Допустимое число дефектных аккумуляторов |
в группе | в целом |
A | 41 | | Маркировка | 0 | 3 |
| Габаритные размеры |
| Разряд при 20 °C током 0,2It |
| Разряд при 20 °C током: 10,0It (только X) |
B | 5 | | Разряд при -18 °C током 0,2It | 1 |
| Разряд при -18 °C током 1,0It |
C | 5 | | Перезаряд | 0 |
| Работа предохранительного устройства |
D | 5 | | Устойчивость при циклировании | 1 |
E | 5 | | Сохраняемость заряда (емкости) | 1 |
F | 20 | | Сохраняемость Сохраняемость в течение 2, 6, 12, 18 мес | 1 |
| Разряд при 20 °C током 0,2It |
<a> В том числе соответствующие аккумуляторы типов T, U и R. |
10.2.2 Утверждение типа цилиндрических и дисковых аккумуляторов
Для утверждения типа проводят испытания в последовательности и с использованием числа образцов, указанных в
таблицах 28 и
29.
Должны быть испытаны семь групп аккумуляторов: A, B, C, D, E, F и G в указанном порядке. Общее число испытуемых образцов для одобрения типа - 46. В это число включен дополнительный аккумулятор на случай повторного испытания при отказе, произошедшем по причинам, не зависящим от поставщика.
Испытания следует проводить в последовательности, установленной для аккумулятора каждой группы. Все аккумуляторы подвергают испытаниям, установленным для группы A, после чего их произвольно делят на группы согласно
таблицам 28 и
29.
Число дефектных аккумуляторов, допускаемых в отдельных группах и в целом, приведено в
таблицах 28 и
29. Аккумулятор считают дефектным, если по результатам испытаний группы он не соответствует всем или части требований.
Таблица 28
Последовательность испытаний цилиндрических аккумуляторов
для утверждения типа
Группа | Число образцов | Подраздел, пункт | Испытание | Допустимое число дефектных аккумуляторов |
в группе | в целом |
A | 46 | | Маркировка | 0 | 3 |
| Габаритные размеры |
| Разряд при 20 °C током 0,2It |
| Разряд при 20 °C током: 10,0It (только X) |
B | 5 | | Разряд при -18 °C током 0,2It | 1 |
| Разряд при -18 °C током: 1,0It 2,0It 3,0It |
C | 5 | | Перезаряд | 0 |
| Работа предохранительного устройства |
D | 5 | | Устойчивость при циклировании | 1 |
E | 5 | | Устойчивость при постоянном подзаряде | 1 |
| Работа предохранительного устройства | 0 |
F | 5 | | Сохраняемость заряда (емкости) | 1 |
G | 20 | | Сохраняемость Сохраняемость в течение 2, 6, 12, 18 мес | 1 |
| Разряд при 20 °C током 0,2It |
<a> В том числе соответствующие аккумуляторы типов T, U и R. |
Таблица 29
Последовательность испытаний дисковых аккумуляторов
для утверждения типа
Группа | Число образцов | Подраздел, пункт | Испытание | Допустимое число дефектных аккумуляторов |
в группе | в целом |
| | ИС МЕГАНОРМ: примечание. В официальном тексте документа, видимо, допущена опечатка: имеется в виду п. 6.1, а не 6.2. | |
|
A | 46 | | Маркировка | 0 | 3 |
| Габаритные размеры |
| Разряд при 20 °C током 0,2 It |
| Разряд при 20 °C 1,0It (M и H) 5,0It (только H) |
B | 5 | | Разряд при -18 °C 0,2It (M и H) 1,0It (M и H) 2,0It (только H) | 1 |
C | 5 | | Перезаряд | 0 |
| Работа предохранительного устройства |
D | 5 | | Устойчивость при циклировании | 1 |
E | 5 | | Устойчивость при постоянном подзаряде | 1 |
F | 5 | | Сохраняемость заряда (емкости) | 1 |
G | 20 | | Сохраняемость Сохраняемость в течение 2, 6, 12, 18 мес | 1 |
| Разряд при 20 °C током 0,2It |
10.2.3 Утверждение типа батарей
Для утверждения типа проводят испытания в последовательности и с использованием числа образцов, указанных в
таблице 30.
Должны быть испытаны две группы аккумуляторов: A и B в указанном порядке. Общее число испытуемых образцов для одобрения типа - 21. В это число включен дополнительный аккумулятор на случай повторного испытания при отказе, произошедшем по причинам, не зависящим от поставщика.
Испытания следует проводить в последовательности, установленной для аккумулятора каждой группы. Все аккумуляторы подвергают испытаниям, установленным для группы A, после чего их произвольно делят на группы согласно
таблице 30.
Число дефектных аккумуляторов, допускаемых в отдельных группах и в целом, приведено в
таблице 30. Аккумулятор считают дефектным, если по результатам испытаний группы он не соответствует всем или части требований.
Таблица 30
Последовательность испытаний батарей для утверждения типа
Группа | Число образцов | Подраздел, пункт | Испытание | Допустимое число дефектных аккумуляторов |
в группе | в целом |
A | 21 | | Маркировка | 0 | 1 |
| Разряд при 20 °C током 0,2It |
B | 20 | | Сохраняемость Сохраняемость в течение 2, 6, 12, 18 мес | 1 |
| Разряд при 20 °C током 0,2It |
Данные испытания применяют для единичных поставок.
Процедура отбора образцов должна соответствовать МЭК 60410 <1>. Если иное не установлено между поставщиком и потребителем, проверка и испытания должны быть проведены с учетом уровня контроля и приемлемого уровня качества AQL, приведенных в
таблице 31.
--------------------------------
<1> Данный стандарт был отменен.
Таблица 31
Рекомендуемая последовательность испытаний для приема партии
Группа | Раздел, подраздел, пункт | Проверка/испытание | Рекомендации |
Уровень контроля | Приемлемый уровень качества AQL, % |
A | | Внешний осмотр: | | |
По согласованию | - отсутствие механических повреждений; | II | 4 |
- отсутствие коррозии на корпусе и выводах; | II | 4 |
- число, расположение и прочность крепления выводов; | S3 | 1 |
- отсутствие электролита на корпусе и крышке | II | 0,65 |
B | | Проверка: | | |
| - размеров | S3 | 1 |
| - массы | S3 | 1 |
- маркировки | S3 | 1 |
C | | Проверка электрических параметров: | | |
| - напряжение разомкнутой цепи и полярность; | II | 0,65 |
- разряд при 20 °C током 0,2It | S3 | 1 |
| - разряд при 20 °C током: | S3 | |
1,0It (M, MT, MU и MR) | S3 | 1 |
5,0It (H, HT, HU и HR) | S3 | 1 |
10,0It (только X) | | 1 |
Примечание - Два или более отказов одного и того же аккумулятора не суммируют. Принимают во внимание только отказ, соответствующий наименьшему приемлемому уровню качества AQL. |
(справочное)
СВЕДЕНИЯ О СООТВЕТСТВИИ ССЫЛОЧНЫХ МЕЖДУНАРОДНЫХ СТАНДАРТОВ
НАЦИОНАЛЬНЫМ СТАНДАРТАМ
Таблица ДА.1
Обозначение ссылочного международного стандарта | Степень соответствия | Обозначение и наименование соответствующего национального стандарта |
IEC 60050-482:2004 | - | |
IEC 60086-1 | IDT | |
IEC 60086-2 | IDT | |
IEC 61959 | IDT | ГОСТ Р МЭК 61959-2007 "Аккумуляторы и аккумуляторные батареи, содержащие щелочной и другие некислотные электролиты. Механические испытания для портативных герметичных аккумуляторов и аккумуляторных батарей" |
IEC 62133-1 | IDT | ГОСТ Р МЭК 62133-1-2019 "Аккумуляторы и аккумуляторные батареи, содержащие щелочной или другие некислотные электролиты. Требования безопасности для портативных герметичных аккумуляторов и батарей из них при портативном применении. Часть 1. Системы на основе никеля" |
<*> Соответствующий национальный стандарт отсутствует. До его принятия рекомендуется использовать перевод на русский язык данного международного стандарта. Примечание - В настоящей таблице использовано следующее условное обозначение степени соответствия стандартов: - IDT - идентичные стандарты. |
IEC 60051 (all parts) | Direct acting indicating analogue electrical measuring instruments and their accessories (Приборы аналоговые электроизмерительные прямого действия и части к ним) |
IEC 60086 (all parts) | Primary batteries (Первичные батареи) |
IEC 60410 | Sampling plans and procedures for inspection by attributes <1> (Планы выборки и процедуры проверки по атрибутам) |
IEC 60485 | Digital electronic d.c. voltmeters and d.c. electronic analogue-to-digital convertors <1> (Цифровые электронные d.c. вольтметры и d.c. электронные аналого-цифровые преобразователи) |
IEC 61434 | Secondary cells and batteries containing alkaline or other non-acid electrolytes - Guide to the designation of current in alkaline secondary cell and battery standards (Аккумуляторы и батареи, содержащие щелочи или другие некислотные электролиты. Руководство по обозначению тока в стандартах на щелочные аккумуляторы и батареи) |
--------------------------------
УДК 621.352.1:006.354 | | |
Ключевые слова: аккумуляторы, аккумуляторные батареи, никель-кадмий, характеристики, размеры, методы испытаний |