Главная // Актуальные документы // ГОСТ Р (Государственный стандарт)СПРАВКА
Источник публикации
М.: Стандартинформ, 2020
Примечание к документу
Документ
введен в действие с 01.08.2020.
Название документа
"ГОСТ Р МЭК 60794-1-21-2020. Национальный стандарт Российской Федерации. Кабели оптические. Часть 1-21. Общие технические требования. Основные методы испытаний оптических кабелей. Методы механических испытаний"
(утв. и введен в действие Приказом Росстандарта от 14.02.2020 N 59-ст)
"ГОСТ Р МЭК 60794-1-21-2020. Национальный стандарт Российской Федерации. Кабели оптические. Часть 1-21. Общие технические требования. Основные методы испытаний оптических кабелей. Методы механических испытаний"
(утв. и введен в действие Приказом Росстандарта от 14.02.2020 N 59-ст)
Утвержден и введен в действие
агентства по техническому
регулированию и метрологии
от 14 февраля 2020 г. N 59-ст
НАЦИОНАЛЬНЫЙ СТАНДАРТ РОССИЙСКОЙ ФЕДЕРАЦИИ
КАБЕЛИ ОПТИЧЕСКИЕ
ЧАСТЬ 1-21
ОБЩИЕ ТЕХНИЧЕСКИЕ ТРЕБОВАНИЯ.
ОСНОВНЫЕ МЕТОДЫ ИСПЫТАНИЙ ОПТИЧЕСКИХ КАБЕЛЕЙ.
МЕТОДЫ МЕХАНИЧЕСКИХ ИСПЫТАНИЙ
Optical fibre cables. Part 1-21. Generic specification.
Basic optical cable test procedures. Mechanical test methods
(IEC 60794-1-21:2015, IDT)
ГОСТ Р МЭК 60794-1-21-2020
Дата введения
1 августа 2020 года
1 ПОДГОТОВЛЕН Открытым акционерным обществом "Всероссийский научно-исследовательский, проектно-конструкторский и технологический институт кабельной промышленности (ОАО "ВНИИКП") на основе собственного перевода на русский язык англоязычной версии стандарта, указанного в
пункте 4
2 ВНЕСЕН Техническим комитетом по стандартизации ТК 46 "Кабельные изделия"
3 УТВЕРЖДЕН И ВВЕДЕН В ДЕЙСТВИЕ
Приказом Федерального агентства по техническому регулированию и метрологии от 14 февраля 2020 г. N 59-ст
4 Настоящий стандарт идентичен международному стандарту МЭК 60794-1-21:2015 "Кабели оптические. Часть 1-21. Общие технические требования. Основные методы испытаний оптических кабелей. Методы механических испытаний" (IEC 60794-1-21:2015 "Optical fibre cables - Part 1-21: Generic specification - Basic optical cable test procedures - Mechanical test methods", IDT).
Международный стандарт МЭК 60794-1-21:2015 разработан подкомитетом 86A "Волокна и кабели" Технического комитета TC 86 "Волоконная оптика" Международной электротехнической комиссии (МЭК).
При применении настоящего стандарта рекомендуется использовать вместо ссылочных международных стандартов соответствующие им национальные стандарты, сведения о которых приведены в дополнительном
приложении ДА
5 ВВЕДЕН ВПЕРВЫЕ
6 Некоторые положения международного стандарта, указанного в
пункте 4, могут являться объектом патентных прав. МЭК не несет ответственности за идентификацию подобных патентных прав
Правила применения настоящего стандарта установлены в статье 26 Федерального закона от 29 июня 2015 г. N 162-ФЗ "О стандартизации в Российской Федерации". Информация об изменениях к настоящему стандарту публикуется в ежегодном (по состоянию на 1 января текущего года) информационном указателе "Национальные стандарты", а официальный текст изменений и поправок -
в ежемесячном информационном указателе "Национальные стандарты". В случае пересмотра (замены) или отмены настоящего стандарта соответствующее уведомление будет опубликовано в ближайшем выпуске ежемесячного информационного указателя "Национальные стандарты". Соответствующая информация, уведомление и тексты размещаются также в информационной системе общего пользования -
на официальном сайте Федерального агентства по техническому регулированию и метрологии в сети Интернет (www.gost.ru)
Настоящий стандарт распространяется на волоконно-оптические кабели (далее - ОК), предназначенные для применения с телекоммуникационным оборудованием и устройствами аналогичного принципа действия, а также на комбинированные кабели, содержащие как оптические волокна (ОВ), так и токопроводящие жилы.
Цель настоящего стандарта - определение методов испытаний, используемых для формирования единых требований к характеристикам кабелей при механических воздействиях.
В тексте настоящего стандарта термин "оптический кабель" может означать группы ОВ, микромодули с ОВ и т.д.
Общие требования и определения приведены в МЭК 60794-1-20, а общие справочные данные по методам испытаний приведены в МЭК 60794-1-2.
В настоящем стандарте использованы нормативные ссылки на следующие стандарты. Для датированных ссылок применяют только указанное издание, для недатированных - последнее издание ссылочного стандарта, включая все изменения и поправки к нему:
IEC 60227-2, Polyvinyl chloride insulated cables of rated voltages up to and including 450/750 V - Part 2: Test methods (Кабели с поливинилхлоридной изоляцией на номинальное напряжение до 450/750 В включительно. Часть 2. Методы испытаний)
IEC 60793-1-22:2001, Optical fibres - Part 1-22: Measurement methods and test procedures - Length measurement (Волокна оптические. Часть 1-22. Методы измерений и проведение испытаний. Измерение длины)
IEC 60793-1-32:2010, Optical fibres - Part 1-32: Measurement methods and test procedures - Coating strippability (Волокна оптические. Часть 1-32. Методы измерений и проведение испытаний. Снятие защитного покрытия)
IEC 60793-1-40, Optical fibres - Part 1-40: Measurement methods and test procedures - Attenuation (Волокна оптические. Часть 1-40. Методы измерений и проведение испытаний. Затухание)
IEC 60793-1-46:2001, Optical fibres - Part 1-46: Measurement methods and test procedures - Monitoring of changes in optical transmittance (Волокна оптические. Часть 1-46. Методы измерений и проведение испытаний. Контроль изменений оптических потерь)
IEC 60794-1-1, Optical fibre cables - Part 1-1: Generic specification - General (Кабели волоконно-оптические. Часть 1-1. Общие технические условия. Общие положения)
IEC 60794-1-2:2013
<*>, Optical fibre cables - Part 1-2: Generic specification - Cross reference table for optical cable test procedures (Кабели волоконно-оптические. Часть 1-2. Общие технические условия. Таблица перекрестных ссылок для методов испытаний оптических кабелей)
IEC 60794-1-20:2014
<*>, Optical fibre cables - Part 1-20: Generic specification - Basic optical cable test procedures - General and definitions (Кабели оптические. Часть 1-20. Общие технические требования. Основные методы испытаний оптических кабелей. Общие положения и определения)
--------------------------------
<*> Заменен на IEC 60794-1-2:2017. Однако для однозначного соблюдения требования настоящего стандарта, выраженного в датированной ссылке, рекомендуется использовать только указанное в этой ссылке издание.
IEC 60794-1-22:2012, Optical fibre cables - Part 1-22: Generic specification - Basic optical cable test procedures - Environmental test methods (Кабели оптические. Часть 1-22. Общие технические требования. Основные методы испытаний оптических кабелей. Методы испытаний на воздействия внешних факторов)
IEC TR 62691, Guide to the installation of optical fibre cables (Кабели оптические. Руководство по прокладке оптических кабелей)
IEC 61300-2-44, Fibre optic interconnecting devices and passive components - Basic test and measurement procedures - Part 2-44: Tests - Flexing of the strain relief of fibre optic devices (Устройства соединительные и пассивные компоненты волоконно-оптические. Основные методы испытаний и методики измерений. Часть 2-44. Испытания. Изгибание волоконно-оптических устройств со снятием деформации)
3.1 Цель испытания
Настоящий метод применяется для определения способности ОК противостоять воздействию усилия растяжения, с целью определения зависимости затухания и/или натяжения ОВ при удлинении как функции нагрузки на ОК, которая может иметь место в процессе прокладки и эксплуатации. Этот метод не является разрушающим.
3.2 Испытуемый образец
Длина ОК, подвергаемая растяжению, должна быть не менее 50 м, если иное не оговорено в технических условиях на конкретный ОК. Для ОК, требующих применения специальных устройств крепления - например, для кабелей типа OPGW (ОК, встроенный в грозозащитный трос), типа ADSS (самонесущий диэлектрический ОК), тяжелых ОК с броней из стальных проволок и т.д. - минимальная длина ОК, подвергаемая растяжению, должна быть 25 м.
Примечание - Испытание на растяжение коротких длин ОК отрицательно сказывается на точности измерения. Значение длины участка растяжения, приведенное выше, является минимальной длиной, используемой для проведения испытания ОК на стойкость к растяжению.
Общая длина испытуемого образца ОК должна быть больше участка длины ОК, подвергаемого растяжению. Для обеспечения крепления ОК и подключения его к испытательному оборудованию и средствам измерения.
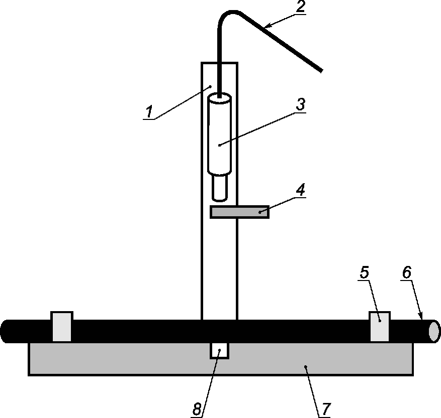
3.3 Испытательное оборудование
Испытательное оборудование состоит:
a) из оборудования для определения изменений значения затухания (см. МЭК 60793-1-40) и/или средства измерений для определения удлинения ОВ (см. МЭК 60793-1-22:2001, метод C. Удлинение ОВ);
b) оборудования для испытания на растяжение, обеспечивающее размещение на нем минимальной длины ОК, подвергаемой испытанию. Для испытания на растяжение образца ОК большой длины может быть применена система роликов (см.
рисунок 2). Диаметр роликов, входящих в состав системы роликов, должен быть не менее минимально допустимого диаметра изгиба испытуемого ОК, и иметь, как правило, диаметр 1 м;
c) устройства измерения усилия растяжения (динамометр) с погрешностью измерения не более +/- 3% от максимально измеряемого значения;
d) устройства крепления ОК для обеспечения фиксации всех элементов ОК на концах его длины, подвергаемой испытанию, при этом следует учитывать, чтобы конкретный метод крепления ОК не оказывал влияния на результаты измерения. Чаще всего в качестве подходящего устройства крепления используют барабан крепления диаметром 1 м, в любом случае диаметр барабана крепления должен быть не менее минимально допустимого диаметра изгиба ОК;
e) если требуется, используют механические или электрические средства измерений усилия растяжения или удлинения ОК, которые должны быть предусмотрены в технических условиях на конкретный ОК.
Примеры (схемы) соответствующего оборудования приведены на рисунках 1 и
2.
Рисунок 1 - Схема стенда для испытания ОК на растяжение
Рисунок 2 - Пример схемы стенда для испытания ОК
на растяжение с использованием систем роликов
и барабанов крепления ОК
3.4 Порядок проведения испытания
3.4.1 Общие требования
a) Климатические условия испытания должны соответствовать расширенным условиям испытаний по МЭК 60794-1-20, если иное не установлено в технических условиях на конкретный ОК.
b) ОК размещают на стенде испытания на растяжение и закрепляют его. Крепление обоих концов ОК на стенде следует производить таким способом, который предотвращает перемещение всех конструктивных элементов ОК, включая ОВ, в местах крепления. Для большинства конструкций ОК (например, ОК, выполненных с применением скрутки), производят крепление по концам за конструктивные элементы ОК, исключая ОВ, что достаточно для определения изменений затухания и/или максимально допустимого усилия растяжения и предела деформации ОК. В то же время для некоторых конструкций ОК (например, ОК с конструкцией сердечника типа "центральная трубка") может возникнуть необходимость предотвращения проскальзывания ОВ в местах крепления ОК для обеспечения корректности определения значения допустимого усилия растяжения ОК.
Для подвесных ОК, если это оговорено в технических условиях на конкретный ОК, крепления могут быть выполнены с применением анкерных зажимов, предназначенных для применения с этим типом ОК. Для крепления некоторых тяжелых бронированных ОК могут быть использованы кабельные чулки или подобные им анкерные устройства.
c) Измеряемые ОВ кабеля, подвергаемого растяжению, подключают к средствам измерения. При измерении времени задержки импульса (времени его распространения) согласно методу измерения C МЭК 60793-1-22:2001 следует убедиться, что при растяжении образца значение опорной длины ОВ не изменяется.
d) Постепенно увеличивают усилие растяжения до значения усилия (усилий) растяжения, установленного в соответствующих в технических условиях на конкретный ОК.
e) Регистрируют изменение затухания и/или удлинение ОВ при растяжении ОК как функцию усилия растяжения ОК.
f) Для ОК, содержащих большое число ОВ, могут быть использованы средства измерений с соответствующим числом каналов измерения, обеспечивающие контроль большого числа значений затухания и/или удлинения ОВ при натяжении.
g) Репрезентативное число ОВ и/или число циклов испытания (как правило, проводится одно испытание) должно быть согласовано между изготовителем и заказчиком.
h) Полученные значения измерений должны быть стабильны по истечении периода приложения усилия растяжения, оговоренного в
3.4.2, и соответствовать значениям измерений до приложения усилия растяжения (с учетом погрешности измерения). В случае, если отмечаются флуктуация значений, продолжительность приложения растягивающего усилия должна быть увеличена до тех пор, пока флуктуация не прекратится.
3.4.2 Порядок проведения испытания
Перед приложением к ОК усилия растяжения измеряют оптическое затухание ОВ и/или определяют натяжение ОВ. Используют полученные значения в качестве опорных (базовых).
Затем:
a) к ОК прикладывают кратковременное (динамическое) усилие растяжения;
b) выдерживают при значении приложенной нагрузки в течение 10 мин;
c) определяют деформацию волокна, если требуется;
d) если требуется, изменяют значение приложенного усилия растяжения до значения долговременной (статической) нагрузки и
- поддерживают значение усилия растяжения в течение 10 мин;
- измеряют затухание и/или определяют удлинение (натяжение) ОВ;
e) снимают усилие растяжения;
f) выдерживают ОК после снятия нагрузки в течение 5 мин;
g) измеряют затухание и/или определяют удлинение (натяжение) ОВ.
Значения шагов изменения усилия растяжения и длительности этих шагов должны быть согласованы между заказчиком (потребителем) и изготовителем.
3.5 Оценка результатов
Значения затухания и/или удлинение (натяжение) ОВ не должны превышать значений, приведенных в технических условиях на конкретный ОК.
3.6 Информация, указываемая в технических условиях на конкретное кабельное изделие
В технических условиях на конкретное кабельное изделие указывают следующую информацию:
- длину участка ОК, подвергаемого растяжению, если она отличается от значения длины, оговоренного в настоящем методе испытания;
- значение долговременной (статической) нагрузки TL - значение нагрузки, ограниченное натяжением ОВ и/или изменением затухания;
- значение кратковременной (динамической) нагрузки TS - значение нагрузки, ограниченное натяжением ОВ (при необходимости);
- Tпо окончании испытания - предельные значения удлинения (натяжения) ОВ и/или изменения затухания.
3.7 Информация, указываемая в протоколе на конкретное кабельное изделие
Значения для всех показателей, приведенных в
3.6, со следующими дополнениями:
- подготовка концов ОК;
- шаг увеличения значения прикладываемого усилия растяжения;
- температура, если ее значение отличается от значений, оговоренных стандартными условиями испытания.
4.1 Цель испытания
Проверка прочности ОК к истиранию имеет два аспекта:
a) прочность оболочки при истирании,
E2A;
b) прочность маркировки ОК при истирании,
E2B.
Целью испытания является определение возможности оболочки или маркировки ОК противостоять истиранию.
4.2 Испытуемый образец
Образец должен иметь длину, достаточную для проведения испытания. Рекомендуемое значение длины образца не менее 750 мм.
4.3 Метод E2A. Прочность оболочки ОК к истиранию
4.3.1 Испытательное оборудование
Испытательное оборудование для проведения испытания на истирание представляет собой устройство, обеспечивающее истирание поверхности ОК в обоих направлениях параллельно продольной оси ОК на длине (40 +/- 1) мм с частотой (55 +/- 5) циклов в минуту. Один цикл представляет собой перемещение истирающего элемента в обоих направлениях.
Истирающий элемент должен представлять собой иглу диаметром 1,0 мм, если иное не оговорено в технических условиях на конкретный ОК.
Типовая схема стенда испытания на истирание приведена на рисунке 3.
Рисунок 3 - Типовая схема испытания
4.3.2 Порядок проведения испытания
Должно быть выполнено следующее:
a) условия проведения испытания должны соответствовать нормальным климатическим условиям в соответствии с МЭК 60794-1-20, если в технических условиях на конкретное кабельное изделие не оговорено иное;
b) образец ОК закрепляют зажимами на плите основания стенда. К истирающему элементу без воздействия удара на ОК должна быть приложена нагрузка 4 Н. Исходное положение ОК должно быть таким, чтобы обеспечивалось его последовательное перемещение согласно перечислению c), приведенному ниже;
c) образец должен быть подвергнут четырем этапам испытания, при этом при каждом последующем этапе испытания образец ОК следует перемещать вперед на 100 мм и поворачивать относительно его оси на 90°, в одном и том же направлении.
4.3.3 Оценка результатов
По окончании воздействия на оболочку ОК циклов истирания, число которых должно быть установлено в технических условиях на конкретный ОК, на оболочке не должно быть сквозных повреждений.
4.3.4 Информация, указываемая в технических условиях на конкретное кабельное изделие
В технических условиях на конкретное кабельное изделие указывают следующую информацию:
a) число воздействий;
b) значение прикладываемого усилия, если оно отличается от указанного выше;
c) диаметр иглы, если он отличается от указанного выше.
4.4 Метод E2B. Прочность маркировки ОК к истиранию
4.4.1 Испытательное оборудование
Испытательное оборудование, аналогичное указанному в
методе E2A.
4.4.1.2 Вариант 2
Испытательное оборудование, подобное применяемому в
методах E2A и
E2B, но вместо иглы используется фетр. Испытательное оборудование имеет следующие отличия:
a) в испытательном стенде нагрузка прикладывается к фетру, выполненному из шерсти. Типовая схема исполнения стенда показана на
рисунке 4;
b) применяют фетр из шерсти белого цвета.
Примечание - Как правило, фетр изготавливают из смеси шерсти и иных волокон, чаще всего вискозных. Фетр, состоящий из смеси волокон с содержанием от 100% до 30% шерсти, или из смеси волокон, состав которой приведен в технических условиях на конкретное кабельное изделие, соответствует цели настоящего метода;
c) груз, обеспечивающий приложение усилия к образцу;
d) стенд должен обеспечивать длину перемещения 100 мм с частотой перемещения от 6 до 12 циклов/мин.
Рисунок 4 - Типовая схема испытания
4.4.2 Порядок проведения испытания
4.4.2.1 Общее положение
Испытание проводят в нормальных климатических условиях, если не установлено иное.
4.4.2.2 Вариант 1
Аналогично
методу E2A, но все четыре испытания проводят на участках маркировки ОК.
Участок ОК, содержащий маркировку, должен быть расположен между двумя прокладками из шерстяного фетра, или между шерстяным фетром и опорной поверхностью. В каждом из этих случаев шерстяной фетр должен прилегать к участку маркировки ОК.
Шерстяной фетр должен быть в достаточной степени пропитан водой.
Перпендикулярно участку маркировки ОК, находящемуся между двумя прокладками из шерстяного фетра или между шерстяным фетром и опорной поверхностью, должно прикладываться усилие (F) значением 5 Н (или указанному в технических условиях на конкретный ОК), при этом образец ОК должен перемещаться вперед и назад на длине 100 мм. Число циклов перемещения должно быть оговорено в технических условиях на конкретное кабельное изделие.
4.4.3 Оценка результатов
По окончании воздействия на участок маркировки числа циклов истирания, оговоренного в технических условиях на конкретный ОК, маркировка должна быть читаема.
4.4.4 Информация, указываемая в технических условиях на конкретное кабельное изделие
В технических условиях на конкретное кабельное изделие указывают следующую информацию:
a) число циклов;
b) используемый метод;
c) значение прикладываемого усилия, если оно отличается от указанного выше.
5.1 Цель испытания
Целью испытания является определение возможности ОК противостоять сдавливанию при воздействии долговременной и кратковременной нагрузок.
Примечание -
Метод E3A соответствует отмененному методу E3, МЭК 60794-1-2:2013.
5.2 Испытуемый образец
Образец должен иметь длину, достаточную для выполнения установленного испытания.
5.3 Метод E3A. Плита/плита
5.3.1 Испытательное оборудование
Испытательное оборудование должно обеспечивать сдавливание образца ОК между плоской стальной опорной плитой и перемещаемой стальной плитой, которая обеспечивает равномерное распределение усилия сдавливания на длине 100 мм образца.
Кромки перемещаемой плиты должны быть скруглены с радиусом округления около 5 мм. Кромки не входят в расстояние 100 мм плоского участка плиты. Пример схемы оснастки приведен на рисунке 5.
R - радиус кромки подвижной плиты, 5 мм; F - усилие,
прикладываемое к подвижной плите; L - длина плиты, 100 мм;
1 - перемещаемая плита; 2 - испытуемый ОК;
3 - неподвижная плита
Рисунок 5 - Схема стенда для испытания на сдавливание,
5.3.2 Порядок проведения испытания
Образец ОК размещают между плитами так, чтобы предотвратить его случайное перемещение. Нагрузку увеличивают постепенно, без резких ее изменений. В случае, если значение нагрузки изменяют ступенчато, соотношение между шагами изменения ее значения не должно превышать 1,5:1.
При проведении испытания обеспечивают стабильность приложенной нагрузки в течение заданного времени. В типовом случае это время составляет 1 мин (кратковременно воздействующая нагрузка) или 10 мин (долговременно воздействующая нагрузка), если в технических условиях на конкретный ОК не оговорено иное. Значение оптических потерь должно быть измерено перед снятием нагрузки.
Испытание проводят на трех различных участках ОК, без осевого вращения, если в технических условиях на конкретный ОК не оговорено иное. Расстояние между участками воздействия нагрузки на ОК должно быть не менее 500 мм и отличаться от шага скрутки сердечника ОК.
Испытание проводят в нормальных климатических условиях, если не оговорено иное.
5.4 Метод E3B. Оправка/плита
5.4.1 Испытательное оборудование
Для испытания применяют такое же оборудование, как и для
метода E3A, однако перпендикулярно образцу помещают стальную оправку диаметром 25 мм (если не оговорено иное в технических условиях на конкретный ОК), или же заменяют этой оправкой перемещаемую плиту стенда согласно рисунку 6.
F - усилие, прикладываемое к подвижной плите;
L - длина плиты, 100 мм; 1 - перемещаемая плита;
2 - испытуемый ОК; 3 - неподвижная плита;
4 - оправка (цилиндр или полуцилиндр) диаметром 25 мм
Рисунок 6 - Схема стенда для испытания на сдавливание,
5.4.2 Порядок проведения испытания
Порядок проведения испытания аналогичен
методу 3A, с тем отличием, что стальную оправку диаметром 25 мм устанавливают перпендикулярно образцу (если иное не оговорено в технических условиях на конкретный ОК).
5.5 Оценка результатов
Критерии оценки соответствия ОК требованиям должны быть оговорены в технических условиях на конкретный ОК. К типовым повреждениям относят обрыв ОВ, ухудшение оптических вносимых потерь или физическое повреждение ОК.
Примечание - Следы воздействия сдавливания или царапины на оболочке и элементах ОК повреждениями не считают.
5.6 Информация, указываемая в технических условиях на конкретное кабельное изделие
В технических условиях на конкретное кабельное изделие указывают следующую информацию:
a) суммарное значение прикладываемой нагрузки, F;
b) длительность приложения нагрузки;
c) число участков ОК, на которые воздействуют нагрузкой;
d) расстояние между участками воздействия нагрузки на ОК;
e) конфигурацию оправки, если используется;
f) максимально допустимое изменение оптических вносимых потерь при воздействии на ОК кратковременной и долговременной нагрузок и по окончании испытания.
6.1 Цель испытания
Целью испытания является определение возможности ОК противостоять воздействию удара.
6.2 Испытуемый образец
6.2.1 Длина образца
Длина образца должна быть достаточна для проведения испытания. В случае, если производится только оценка физического повреждения ОК, длина может составлять от 1 м (например, для соединительных шнуров малого диаметра или для дуплексных ОК) до 5 м (для ОК большого диаметра). Образцы большей длины применяют для проведения контрольных измерений оптических вносимых потерь.
6.2.2 Концевая заделка
Образец должен быть оконцован с каждой стороны таким образом, чтобы ОВ, оболочки и все силовые элементы ОК были скреплены соответствующим образом. Крепление образца на стенде может быть выполнено зажимами, или длина образца должна быть достаточно большой для того, чтобы не требовалось его дополнительное выпрямление.
6.3 Испытательное оборудование
Испытательное оборудование должно обеспечивать воздействие ударом на участок образца ОК, который закреплен на плоском опорном стальном основании. В случае, если предусматривается воздействие на ОК одиночного удара, применяют испытательное оборудование, выполненное по схеме, приведенной на
рисунке 7 a. Такая схема испытательного оборудования обеспечивает передачу энергии вертикально падающего груза стальному бойку, воздействующему на образец ОК. В случае, если требуется воздействие на ОК многократных ударов (например, более пяти ударов), применяют схему испытательного оборудования, приведенного на
рисунке 7 b, которая позволяет обеспечить многократное ударное воздействие падающим грузом/ударником. Испытательное оборудование должно обеспечивать минимальное трение перемещаемого груза/ударника.
Примечание - Требование обеспечения минимального трения предъявляют для предотвращения проблем, которые могут возникнуть у оборудования в случае применения его при экстремальных значениях температур.
a - Испытание на удар. Схема стенда для испытаний
на воздействие одиночных ударов
b - Испытание на удар. Схема стенда для испытаний
на воздействие многократных ударов
| | ИС МЕГАНОРМ: примечание. Текст дан в соответствии с официальным текстом документа. | |
d - диаметр бойка, (20 +/- 1) мм; r - радиус скругления
ударной поверхности, 300 мм мин;
1 - плоская ударная поверхность со скругленными кромками
c - Испытание на удар. Ударная поверхность бойка
Рисунок 7 - Детали схемы испытания на удар
В обоих случаях рекомендуется использовать иное эквивалентное испытательное оборудование.
Поверхность бойка, соприкасающаяся с ОК, должна быть плоской или сферической, радиусом не менее 300 мм. В случае, если применяется боек с плоской поверхностью, ее кромки должны быть скруглены в целях предотвращения нарастания концентрации напряжения, см.
рисунок 7 c, деталь B. В случае, если применяется боек со сферической поверхностью радиусом 300 мм, поверхность бойка может быть выполнена и в виде сферического сегмента, как показано на
рисунке 7 c, фигура A, исходя из того, что при таком большом радиусе скругления в качестве бойка используется цилиндр со скругленной торцевой поверхностью.
Радиус скругления кромок бойка с плоской поверхностью и радиус кромок бойка со сферической поверхностью должен быть около 0,5 мм.
В составе испытательного оборудования применяют оптические средства измерения для контроля изменения оптических вносимых потерь в соответствии с МЭК 60793-1-46:2001, метод A (изменение затухания), если это предусмотрено в технических условиях на конкретный ОК.
6.4 Порядок проведения испытания
Испытание проводят в нормальных климатических условиях, если в технических условиях на конкретный ОК не указано иное.
Массу падающего груза/ударника и высоту его падения следует регулировать для обеспечения энергии удара, указанной в технических условиях на конкретное кабельное изделие.
Количество и значение энергии удара, а также участки воздействия ударов должны быть оговорены в технических условиях на конкретный ОК.
6.5 Оценка результатов
Критерии оценки соответствия ОК требованиям должны быть приведены в технических условиях на конкретный ОК.
К типовым повреждениям относят обрыв ОВ, деградацию вносимых оптических потерь или физическое повреждение ОК.
6.6 Информация, указываемая в технических условиях на конкретное кабельное изделие
В технических условиях на конкретное кабельное изделие указывают следующую информацию:
a) число ударов;
b) энергию удара;
c) температуру испытания;
d) радиус скругления поверхности бойка, если он отличается от приведенного выше;
e) частоту воздействия многократных ударов бойка (или иное);
f) расположение участков воздействия ударов на образце;
g) необходимость контроля целостности ОВ или измерение изменения оптических вносимых потерь.
7 Метод E5A. Стабильность усилия снятия покрытия с каблированных ОВ
7.1 Цель испытания
Определение стабильности усилия снятия покрытия с каблированных ОВ путем контроля изменения усилия снятия покрытия с ОВ после их пребывания в заданных условиях внешней среды.
7.2 Испытуемый образец
7.2.1 Длина образца
Длина образца ОК или ОВ должна быть достаточна для проведения испытания.
7.2.2 Подготовка образца
До извлечения ОВ из кабеля его предварительно кондиционируют, как оговорено в технических условиях на конкретный ОК.
Испытание проводят на ОВ, извлеченных из образца ОК, которые разделяют на две части (длиной не менее 2 м), одну часть используют для проведения испытания, другую - для контрольных измерений.
Подготавливают достаточное число образцов, позволяющее провести испытание на 10 отрезках ОВ, кондиционирование проводят в условиях, приведенных в технических условиях на конкретный ОК, и сравнивают эти результаты с результатами испытаний ОВ из числа контрольных образцов.
После извлечения ОВ из образца ОК следы компаунда-заполнителя с ОВ тщательно удаляют (например, протирают салфеткой из мягкого материала).
7.3 Испытательное оборудование
В состав испытательного оборудования входит оборудование для кондиционирования образцов (при необходимости) и оборудование для снятия покрытия ОВ [(см. метод испытания по снятию покрытия с ОВ) МЭК 60793-1-32:2010].
7.4 Порядок проведения испытания
Усилие снятия покрытия с ОВ измеряют на образцах, прошедших кондиционирование при заданных условиях внешней среды, в соответствии с методом определения усилия снятия покрытия по МЭК 60793-1-32, после выдержки для их восстановления в условиях, установленных в технических условиях на конкретный ОК. Такой же метод применяют для измерения усилия снятия покрытия на контрольных образцах ОВ; путем сравнения результатов определяют разницу в значениях усилия снятия покрытия.
В качестве альтернативы могут быть использованы образцы ОК, подвергнутые ускоренному старению по МЭК 60794-1-22:2012, метод F9.
7.5 Оценка результатов
Значение изменения усилия снятия покрытия должно соответствовать требованию, оговоренному в технических условиях на конкретный ОК.
7.6 Информация, указываемая в технических условиях на конкретное кабельное изделие
В технических условиях на конкретное кабельное изделие указывают следующую информацию:
a) условия предварительного кондиционирования ОК;
b) условия кондиционирования ОВ;
c) длительность восстановления и условия повторного кондиционирования;
d) допустимое значение изменения усилия снятия покрытия.
8 Метод E5B. Снятие покрытия с ленты ОВ
8.1 Цель испытания
Целью испытания является оценка качества снятия покрытия с ленты ОВ в части подтверждения чистоты и отсутствия повреждений ОВ в результате снятия покрытия.
8.2 Испытуемый образец
Образец должен быть репрезентативен семейству лент ОВ, подвергаемых оценке.
Образцы могут быть взяты последовательно по длине ленты ОВ, при этом в длину образцов не входят участки их крепления в оборудовании для снятия покрытия.
Длина образца должна быть достаточна для того, чтобы удалить покрытие ленты ОВ и покрытие ОВ на длине не менее 25 мм, при максимально десяти и минимально пяти операциях снятия покрытия с образца.
Требования к условиям внешней среды для кондиционирования образцов должны быть согласованы между заказчиком (потребителем) и изготовителем.
8.3 Испытательное оборудование
8.3.1 Общее положение
Оборудование для снятия покрытия и оборудование для кондиционирования (при необходимости).
8.3.2 Оборудование для снятия покрытия
Результаты испытания значительно зависят от конструкции используемого инструмента для снятия покрытия, поэтому следует учитывать следующие основные требования к инструменту:
- инструмент для механического снятия покрытия должен обеспечивать нагрев обрабатываемой поверхности в диапазоне от 70 °C до 140 °C. При снятии покрытия нормируемое значение температуры поверхности нагревателя должно поддерживаться с допустимым отклонением +/- 5 °C. Поверхность (поверхности) нагревателя должна(ы) находиться за лезвиями стриппера и обеспечивать подогрев участка ленты ОВ, с которого производится снятие покрытия.
Продолжительность нагрева и выдержка в нагретом состоянии имеют важное значение, поэтому данные значения следует устанавливать в соответствии с рекомендациями изготовителя инструмента.
Следует также соблюдать рекомендации изготовителя лент ОВ при установке значения температуры инструмента;
- инструмент для снятия покрытия/устройство фиксации загрузки должен обеспечивать стабильность значения давления, необходимого для качественного снятия покрытия. Следует следить (контролировать), чтобы инструмент не начинал открываться в процессе снятия покрытия;
- должен быть известен размер зазора между лезвиями стриппера. Этот размер и допуск на него должны гарантировать прорезание лезвиями стриппера покрытия ленты ОВ и покрытия непосредственно ОВ, без повреждения оболочки ОВ;
- состояние лезвий может оказывать значительное влияние на максимальное усилие снятия покрытия и на процесс снятия покрытия. Кромки лезвий должны быть проверены на отсутствие зазубрин и неровностей режущей поверхности, внешним осмотром до и после применения;
- лезвия следует заменить, если они получили повреждения или затупились, поскольку износ лезвий может существенно повлиять на результаты.
8.3.3 Двигатель и устройство перемещения (если используются)
Двигатель и устройство перемещения должны обеспечивать многократность перемещения с низкой вибрацией и большим ускорением, и обеспечивать возможность равномерного, без рывков, перемещения испытуемой ленты ОВ или инструмента снятия покрытия.
В случае если применяется ручной инструмент, то процедура снятия покрытия должна соответствовать этим же критериям.
8.3.4 Оборудование для позиционирования и фиксации
Испытуемый образец должен быть надежно закреплен в заданном положении, без проскальзывания (рекомендуется применение кабестана). Испытуемая лента ОВ должна быть расположена в линию (относительно вертикали, горизонтали и угла вращения), в плоскости перемещения снятия покрытия.
8.3.5 Спиртовые салфетки
После снятия покрытия с ОВ для их протирки следует использовать салфетки из мягкой материи или бумаги, смоченные спиртовым раствором.
8.4 Порядок проведения испытания
Испытание проводят в нормальных климатических условиях, если в технических условиях на конкретный ОК не указано иное. Длина снятия покрытия должна быть не менее 25 мм, скорость снятия покрытия должна быть указана в технических условиях на конкретный ОК (от 100 до 500 мм/мин).
Включают испытательное оборудование и дают прогреться инструменту до стабилизации его температуры.
Проверяют, чтобы пространство вокруг обоих лезвий для снятия покрытия было свободно от остатков какого-либо предыдущего использования и лезвия инструмента были чистые.
Снимают покрытие с ленты ОВ и выдерживают при температуре и продолжительностью нагрева ленты перед снятием покрытия в соответствии с рекомендациями изготовителя.
После снятия покрытия ОВ протирают салфеткой, смоченной спиртом, и проводят внешний осмотр с применением лупы с увеличением не менее 2х.
Критерии чистоты и целостности ОВ после снятия покрытия приведены в таблице 1.
Таблица 1
Состояние образцов ОВ после снятия покрытия
Категория | Состояние образцов ОВ после снятия покрытия |
1 | После одной или двух протирок салфеткой, смоченной спиртом, на ней не остается следов от материала покрытия ОВ и покрытия ленты ОВ |
2 | Остаются трудноудаляемые следы от материала покрытия ОВ и покрытия ленты ОВ, для удаления которых требуется многократная протирка ОВ салфеткой, смоченной спиртом. Возможна очистка ОВ без повторного снятия покрытия |
3 | Неполное снятие покрытия, покрытия некоторых ОВ остаются нетронутыми. Требуется многократное снятие покрытия и протирка салфеткой, смоченной спиртом, для удаления с ОВ всех видимых остатков покрытий |
4 | Дефекты снятия покрытия: - одно или несколько ОВ обламывается; - дефектность снятия покрытия при требуемой скорости снятия покрытия |
Результаты проведения нескольких операций снятий покрытия и оценку среднего значения категории чистоты каждого образца округляют до ближайшего целого значения, что оговаривается в технических условиях на конкретное кабельное изделие.
8.5 Оценка результатов
Должны отсутствовать повреждения ОВ.
Категория чистоты образца должна быть приведена в технических условиях на конкретный ОК.
8.6 Информация, указываемая в технических условиях на конкретное кабельное изделие
В технических условиях на конкретное кабельное изделие указывают следующую информацию:
a) тип оборудования для снятия покрытия;
b) среднее время подогрева ленты ОВ;
c) температуру инструмента для снятия покрытия;
d) скорость снятия покрытия;
e) длину снятия покрытия;
f) условия кондиционирования образцов;
g) нормируемое среднее значение категории чистоты снятия покрытия;
h) число ОВ в составе ленты ОВ.
9 Метод E5C. Снятие покрытия с ОВ, имеющих буферное покрытие
9.1 Цель испытания
Целью испытания является определение стабильности усилия снятия покрытия с ОВ, имеющих буферное покрытие.
Испытание предусмотрено для оценки усилия снятия покрытия с двух типов буферного покрытия ОВ: типа tight buffer (плотное покрытие) - когда буферное покрытие плотно наложено на наружное покрытие ОВ, и типа loosely-bound (свободное покрытие), когда буферное покрытие не прилегает к покрытию ОВ.
9.2 Испытуемый образец
Образцы ОВ, имеющие буферное покрытие, должны соответствовать требованиям, приведенным в
методе E5A.
9.3 Испытательное оборудование
Оборудование должно соответствовать требованиям, приведенным в
методе E5A.
Оборудование для снятия покрытия с ОВ должно обеспечивать достаточность зазора между режущими поверхностями при снятии буферного покрытия.
В случае свободного буферного покрытия режущие поверхности инструмента для снятия покрытия должны быть такого размера, чтобы покрытие ОВ, расположенное под буферным покрытием, не прорезалось и не повреждалось при выполнении операции снятия буферного покрытия.
9.4 Порядок проведения испытания
Испытание проводят в соответствии с требованиями
метода E5A.
В случае если в соответствии с техническими условиями на конкретный ОК проводят сравнение результатов испытаний не состаренного и состаренного образцов, то испытание проводят в соответствии с
методом E5A, следующим образом:
- отбирают не состаренные контрольные образцы для использования их в последующем испытании;
- проводят ускоренное старение ОВ в буферном покрытии в составе ОК или в соответствующих внешних условиях лаборатории (полностью или частично), как установлено в технических условиях на конкретный ОК. Ускоренное старение проводят по МЭК 60794-1-22:2012, метод F9;
- после ускоренного старения образцы извлекают из ОК для проведения испытания на снятие покрытия;
- проводят снятие покрытия с контрольных и состаренных образцов в соответствии с
методом E5A.
9.5 Оценка результатов
ОВ в буферном покрытии должны соответствовать требованиям снятия покрытия или требованиям стабильности снятия покрытия, что оговаривается в технических условиях на конкретный ОК.
9.6 Информация, указываемая в технических условиях на конкретное кабельное изделие
В технических условиях на конкретное кабельное изделие указывают следующую информацию:
a) условия предварительного кондиционирования ОК;
b) условия кондиционирования ОВ;
c) длительность восстановления и условия повторного кондиционирования;
d) допустимое значение изменения усилия снятия покрытия.
10 Метод E6. Многократный изгиб
10.1 Цель испытания
Целью испытания является определение возможности ОК выдерживать многократный изгиб.
Многократному изгибу подвергают оконцованный ОК, проводя испытание кабельной сборки, то есть испытывая как ОК, так и соединитель. Такое испытание описано в МЭК 61300-2-44, которым следует руководствоваться при испытании кабельных сборок.
10.2 Испытуемый образец
10.2.1 Длина образца
Длина образца должна быть достаточна для проведения испытания. В случае, если производится оценка только возникновения механических повреждений, длина может составлять от 1 м (например, для шнуров малого диаметра или для дуплексных ОК) до 5 м (для ОК большего диаметра). Для контроля изменения оптических вносимых потерь ОК может потребоваться применение большей длины образца.
10.2.2 Концевая заделка
Образец должен быть оконцован с каждой стороны таким образом, чтобы ОВ, оболочки и все силовые элементы ОК были скреплены вместе соответствующим образом. Крепление образца на испытательном оборудовании может быть выполнено зажимами; может быть использован соединитель или образец должен иметь достаточную длину для того, чтобы не применять устройств для предотвращения перемещения конструктивных элементов ОК.
10.3 Испытательное оборудование
Испытательное оборудование должно обеспечивать перемещение образца назад и вперед на угол до 180°, два экстремальных положения ОК обеспечиваются при его перемещении на 90° по обе стороны от вертикали, когда ОК подвержен воздействию натяжного груза. Если применение натяжного груза не оговорено, следует обеспечить натяжение вручную, достаточное для обеспечения контакта ОК с оправками для изгиба. Подходящая для испытания ОК схема оборудования приведена на рисунке 8. Допускается использовать и другое эквивалентное оборудование.
1 - зажим; 2 - ось вращения; 3 - образец; R - радиус изгиба;
F - натяжной груз, если он необходим
Рисунок 8 - Схема испытания на многократный изгиб
ОК/кабельной сборки
Если в технических условиях на конкретный ОК не оговорено иное, радиус изгиба ОК должен составлять не более 20-кратного диаметра ОК или быть равен минимальному радиусу оправки, в зависимости от того, что больше. Минимальный радиус оправки должен составлять 75 мм для ОК наружной прокладки, для ОК внутренней прокладки - 75 или 25 мм, конкретное значение должно быть согласовано заказчиком (потребителем) и изготовителем.
Кулиса для изгиба должна быть снабжена зажимом для надежной фиксации ОК в процессе всего испытания, без повреждения ОВ или внесения оптических потерь. Для фиксации ОК на кулисе рекомендуется использовать соединитель, но при такой конфигурации испытания не должна быть использована часть образца, подвергаемая испытанию. В части выбора подходящего оборудования см. МЭК 61300-2-44.
Испытательное оборудование должно обеспечивать цикличность его применения. Отклонение образца от вертикального положения до крайнего правого положения, затем перевод его в крайнее левое положение и возврат в исходное вертикальное положение составляют один цикл. Если в технических условиях на конкретное кабельное изделие не оговорено иное, один цикл изгиба должен проводиться в течение от 2 до 5 с.
В состав испытательного оборудования должны входить оптические средства измерений для контроля изменения оптических вносимых потерь, что должно быть оговорено в технических условиях на конкретный ОК и установлено в методе A (контроль изменения вносимых оптических потерь) МЭК 60793-1-46:2001.
10.4 Порядок проведения испытания
Испытание проводят в стандартных климатических условиях, если в технических условиях на конкретный ОК не указано иное.
Порядок проведения испытания следующий:
a) предварительное кондиционирование образца в стандартных климатических условиях в течение 24 ч;
b) крепление образца на испытательном оборудовании, как показано на
рисунке 7;
c) установка натяжного груза, массу которого следует оговаривать в технических условиях на конкретный ОК;
d) измерение контролируемых параметров для фиксации нормируемых исходных значений;
e) проведение многократного изгиба с числом циклов, указанных в технических условиях на конкретный ОК;
f) проведение измерений контролируемых параметров. При необходимости образец может быть демонтирован с испытательного оборудования для проведения внешнего осмотра образца.
10.5 Оценка результатов
Критерии оценки результатов испытания должны быть оговорены в технических условиях на конкретный ОК. Типовые критерии - обрыв ОВ, приращение вносимых оптических потерь, физическое повреждение ОК.
10.6 Информация, указываемая в технических условиях на конкретное кабельное изделие
В технических условиях на конкретное кабельное изделие указывают следующую информацию:
a) число циклов изгиба;
b) массу натяжного груза, если предусмотрено его применение;
c) радиус изгиба R, если он отличается от указанного выше;
d) температуру, если она отличается от стандартной температуры;
e) максимально допустимое значение изменения оптических потерь передаточных характеристик, измеренных до и по окончании испытания, если это требуется.
11 Метод E7. Осевое кручение
11.1 Цель испытания
Настоящий метод предназначен для определения способности ОК выдерживать осевое кручение. Основной целью настоящего испытания является определение наличия приращения вносимых оптических потерь в ОВ кабеля, который подвергают внешнему воздействию усилия осевого кручения, прикладываемого к оболочке ОК. Дополнительная цель испытания - оценка механических повреждений ОК, которые могут возникнуть при таком воздействии.
11.2 Испытуемый образец
Испытуемый образец должен представлять собой отрезок ОК длиной, позволяющей обеспечить его крепление и осевое кручение, при этом длина ОК должна быть достаточной и для того, чтобы выполнить измерение приращения вносимых оптических потерь, что оговаривается в технических условиях на конкретный ОК.
11.3 Испытательное оборудование
Оборудование для осевого кручения должно иметь два устройства (зажима) крепления ОК - одно для фиксированного крепления и одно с возможностью вращения, расстояние между устройствами крепления должно быть регулируемым. Вращаемый зажим должен быть соединен с подходящим устройством осевого вращения (например, рычагом вращения). Все основания зажимов, устройство фиксации и устройство осевого вращения должны иметь такое исполнение, чтобы обеспечивать доступ к обоим концам образца ОК для выполнения требуемых оптических измерений. Подходящие схемы конструкций испытательного оборудования показаны на рисунках 9,
10 и
11.
Рисунок 9 - Схема оборудования осевого кручения ОК
Рисунок 10 - Схема оборудования осевого кручения ОК,
содержащего натяжной груз
Рисунок 11 - Схема альтернативного оборудования
осевого кручения ОК, содержащего натяжной груз
Устройства крепления ОК должны быть такими, чтобы:
- надежно крепить ОК, исключая его смещение относительно устройств крепления;
- зажимы должны обеспечивать такое крепление ОК, чтобы его ось была прямолинейна;
- внутренние кромки зажимов не должны способствовать локальному повреждению ОК при его осевом кручении и не должны вызывать локальной концентрации усилия сдавливания в ОК;
- процесс крепления не должен приводить к какому-либо заметному или явно измеряемому приращению оптических потерь (или не больше, чем к пренебрежимо малому значению приращения потерь) в испытуемом образце ОК.
Если предусмотрено техническими условиями на конкретный ОК и/или для минимизации отклонения испытуемого образца от прямолинейного положения следует применять натяжной груз или подходящий механизм нагрузки, обеспечивающий приложение к фиксированному зажиму ОК усилия растяжения (см.
рисунки 10 и
11). В любом случае один из зажимов крепления ОК должен иметь возможность свободного продольного перемещения как реакцию на сокращение длины ОК в результате его осевого кручения.
В комплект оборудования для испытаний должны входить средства измерений для контроля изменений оптических потерь согласно методу A МЭК 60793-1-46:2001, в соответствии с требованиями, приведенными в технических условиях на конкретный ОК.
11.4 Порядок проведения испытания
Испытуемый образец установить на испытательный стенд таким образом, чтобы длина
L (см.
рисунки 9,
10 и
11) соответствовала значениям, указанным в таблице 2, или значениям, указанным в технических условиях на конкретный ОК.
Таблица 2
Типовое значение длины участка осевого кручения
Тип ОК | Максимальное значение длины участка осевого кручения |
ОК наружной прокладки | 2 м |
ОК внутренней прокладки | 1 м |
ОК внутренней прокладки | Более 0,3 м или 125d (d - диаметр кабеля, мм) |
Следует убедиться, что к испытуемому образцу не приложено каких-либо начальных нагрузок. За исключением выполнения необходимых операций осевого кручения не допускать перемещения концов ОК или воздействия на них в процессе испытания. В случае если при испытании ОК на стойкость к воздействию осевого кручения следует предусматривать большее значение длины участка осевого кручения, то это должно быть согласовано между заказчиком (потребителем) и поставщиком.
Следует минимизировать значение стрелы провиса испытуемого образца (см.
рисунок 9 или
10) или отклонение ОК от вертикали (см.
рисунок 11).
В случае, если в технических условиях на конкретный ОК оговорены допустимые значения приращения оптических потерь, следует предварительно измерить вносимые оптические потери испытуемого образца до его крепления в зажимах. Сравнить полученные результаты с результатами измерения испытуемого образца после его крепления в зажимах, чтобы убедиться в отсутствии заметного приращения оптических потерь ОК.
Если не запрещено в технических условиях на конкретный ОК, то стрела провиса испытуемого образца или отклонение его от вертикали могут быть минимизированы за счет обеспечения поддержки испытуемого участка длины ОК или за счет приложения к ОК усилия натяжения. Если требуется, для обеспечения прямолинейности участка осевого кручения ОК к нему следует приложить усилие натяжения, значение которого должно быть оговорено в технических условиях на конкретный ОК.
В случае, если в технических условиях на конкретный ОК предусмотрено измерение вносимых оптических потерь, следует измерить значение оптического уровня мощности на выходе измеряемого образца после крепления образца и после приложения к нему усилия натяжения.
Осевое кручение подвижного зажима ОК производить следующим образом:
a) на 180° по часовой стрелке;
b) возврат в исходное положение;
c) на 180° против часовой стрелки;
d) возврат в исходное положение.
Четыре указанных этапа перемещения составляют один цикл. Каждый цикл следует выполнять в течение не более 1 мин, суммарное число циклов - 10.
Следует сравнить результаты измерения и критерии соответствия. Выдерживают испытуемый образец в течение не менее 5 мин после окончания испытания. Если необходимо, снять образец с испытательного стенда для внешнего осмотра его состояния без применения увеличительных приборов.
11.5 Оценка результатов
Критерии оценки результатов испытания должны быть оговорены в технических условиях на конкретный ОК. Типовыми дефектами считают обрыв ОВ, приращение оптических потерь и повреждение оболочки ОК или элементов конструкции сердечника ОК.
11.6 Информация, указываемая в технических условиях на конкретное кабельное изделие
В технических условиях на конкретное кабельное изделие указывают следующую информацию:
a) значение длины (L) образца, если оно отличается от указанной выше;
b) значение усилия натяжения, которое должно быть приложено, если это оговаривается;
c) число циклов, если оно отличается от указанного выше;
d) число ОВ, используемых для контроля оптических потерь;
e) максимально допустимое значение изменения оптических вносимых потерь;
f) угол осевого вращения (кручения), если он отличается от указанного выше;
g) температура испытуемого образца, если она отличается от температуры, указанной выше.
11.7 Дополнительная информация, указываемая в протоколе
Должны быть указаны следующие данные испытания:
a) число циклов;
b) продолжительность цикла.
12 Метод E8. Многократный изгиб ОК
12.1 Цель испытания
Целью испытания является определение возможности ОК противостоять многократному изгибу при эксплуатации. Метод испытания предназначен для испытаний специальных типов ОК - таких, как ОК для подъемных устройств или подобные им.
Примечание - См. подобные методы испытаний - испытание на изгиб при натяжении,
метод E18A, или испытание на прохождение через систему роликов,
метод E18B. А также испытание на многократный изгиб,
метод E6.
12.2 Испытуемый образец
Образец должен быть оконцован так, чтобы ОВ, оболочки и все силовые элементы были скреплены вместе соответствующим образом. Длина образца должна быть достаточной для проведения испытания.
12.3 Испытательное оборудование
Испытание проводят при помощи оборудования, схема которого приведена на рисунке 12. Любое другое расположение составных узлов оборудования должно быть оговорено в технических условиях на конкретный ОК.
Рисунок 12 - Схема оборудования для испытания на изгиб
Ролики должны иметь полукруглые желобки для ОК круглого сечения и плоские желобки для ОК сечением, близким к плоскому сечению. Ограничительные зажимы D должны быть установлены так, чтобы натяжные грузы обеспечивали постоянное натяжение ОК при перемещении каретки. Может быть использовано аналогичное оборудование, например, приведенное в МЭК 60227-2.
12.4 Порядок проведения испытания
Испытание проводят в нормальных климатических условиях, если иное не указано в технических условиях на конкретный ОК.
Испытуемый образец должен облегать ролики, на каждом конце образца должен быть установлен натяжной груз. Массы натяжных грузов и диаметры роликов A и B (или иное) должны быть оговорены в технических условиях на конкретный ОК.
Образец подвергают числу циклов прохождения через систему роликов каретки, установленному в технических условиях на конкретный ОК. Цикл определяется как перемещение каретки из ее исходного положения к одному из концов участка перемещения, затем перемещение в обратном направлении к другому концу участка перемещения, далее перемещение назад в исходное положение. Следует убедиться в том, что перемещение каретки происходит по всей длине ОК.
Скорость перемещения каретки или суммарное время прохождения по всей длине участка перемещения должно быть оговорено в технических условиях на конкретный ОК.
Ускорение и торможение каретки должны быть ограничены для предотвращения возникновения дополнительной инерциальной нагрузки.
12.5 Оценка результатов
Критерии оценки результатов испытания ОК должны быть оговорены в технических условиях на конкретный ОК. Типовыми дефектами являются обрыв ОВ, приращение оптических потерь и физическое повреждение ОК.
12.6 Информация, указываемая в технических условиях на конкретное кабельное изделие
В технических условиях на конкретное кабельное изделие указывают следующую информацию:
a) диаметр роликов A и B и их положение;
b) массу натяжных грузов;
c) число циклов;
d) скорость перемещения каретки или суммарное время перемещения по всей длине участка перемещения;
e) значение ускорения и значение торможения каретки;
f) длину участка перемещения каретки;
g) минимальное расстояние от роликов A и B до ближайшего стационарно установленного ролика;
h) максимально допустимое значение приращения оптических потерь ОК во время и по окончании испытания, если это требуется.
13 Метод E9. Рывок (метод исключен)
Примечание - Данное испытание в настоящее время исключено - предусматривалось для оценки эффекта возникновения внезапной нагрузки, прикладываемой к короткому отрезку подвесного ОК. На практике крюк с грузом может упасть таким образом, что крюк повиснет на подвесном ОК определенным образом. Нет ясности, каков был практический эффект от испытания, каковы узлы испытательного оборудования и особенности процедуры испытания, или почему было решено удалить метод.
14.1 Цель испытания
Целью данного испытания является определение минимального диаметра петли, при котором проявляется эффект излома ОК.
Примечание - Опыт показывает, что результаты этого испытания имеют ограниченную повторяемость. Следует иметь в виду, что метод применяют с осторожностью и что любое требование минимального излома является консервативным.
14.2 Испытуемый образец
Образец должен быть достаточной длины для проведения испытания.
14.3 Испытательное оборудование
Не требуется наличия конкретного испытательного оборудования. Следует обеспечивать формовку ОК в виде петли до точки пересечения его концов.
14.4 Порядок проведения испытания
Испытание следует проводить в стандартных условиях испытания, если не указано иное.
Следует сформовать на ОК петлю (см.
рисунок 13, позиция 1). Диаметр петли следует уменьшать до возникновения излома, прилагая тяговые усилия к обоим концам ОК (см.
рисунок 13, позиция 2). Тяговые усилия в нижней точке петли ОК должны прикладываться в одной плоскости. Как только возникнет излом, приложение тяговых усилий следует прекратить. Измерить длину ОК в петле C, начиная и заканчивая измерение в точке пересечения концов ОК.
1 - начальная петля; 2 - направление приложения тяги;
3 - конфигурация возникшего излома
Рисунок 13 - Схема испытания на излом
Эквивалентное значение диаметра d вычисляют по формуле

(1)
14.5 Оценка результатов
При диаметре петли ОК, значение которой более значения установленного в технических условиях на конкретное кабельное изделие, не должно происходить излома ОК, как показано на
рисунке 13, позиция 3.
14.6 Информация, указываемая в технических условиях на конкретное кабельное изделие
В технических условиях на конкретное кабельное изделие указывают следующую информацию:
a) минимальный диаметр петли, при котором не должно происходить излома;
b) температуру;
c) число образцов, используемых для оценки.
15 Метод E11. Статический изгиб
15.1 Цель испытания
Целью испытания является определение возможности ОК или элемента ОК противостоять намотке на испытательную оправку.
Примечание - Настоящее испытание может быть проведено при каком-либо значении температуры, указанном в технических условиях на конкретное кабельное изделие, включая предельное пониженное и повышенное значение температуры ОК.
15.2 Испытуемый образец
Образец должен быть оконцован с каждой стороны таким образом, чтобы ОВ, оболочка (оболочки) и все силовые элементы были скреплены соответствующим образом, или длина образца должна быть достаточной, чтобы не требовалось применение устройств по предотвращению перемещения элементов конструкции ОК.
15.3 Испытательное оборудование
Состав испытательного оборудования ограничивается применением одной оправки для тангенциальной намотки на нее ОК с плотным прилеганием витков спирали намотки друг к другу, как показано на
рисунке 14.
Рисунок 14 - Схема оснастки для испытания на изгиб
15.4 Порядок проведения испытания
В соответствии с техническими условиями на конкретный ОК, используют один из приведенных ниже методов испытания.
15.4.1 Процедура 1. Метод испытания E11A (стандартный метод испытания)
Намотать образец ОК равномерно вокруг оправки в виде спирали, с плотным прилеганием витков друг к другу. При намотке прикладывать необходимое усилие натяжения для обеспечения плотного прилегания образца к оправке. Затем образец смотать с оправки.
Суть
метода E11A - применение при испытании испытательной оправки в соответствии с
рисунком 14 a1, которая обеспечивает намотку на нее по спирали необходимого числа витков. Для испытания по
методу E11A может быть применено и другое оборудование.
При использовании испытательного оборудования в соответствии с
рисунком 14 a2 на оправку наматывают две спирали, то есть вдвое большее число витков, чем при использовании оснастки согласно
рисунку 14 a1.
Таким образом, если используют оборудование в соответствии с
рисунком 14 a2, число витков с каждой стороны от центра намотки
[15.6 d)] должно составлять половину от значения, нормируемого для числа витков в спирали намотки.
При применении оснастки в соответствии с
рисунком 14 a1 ОК, намотанный в виде спирали, не должен подвергаться кручению.
Циклом считают одну намотку и одну размотку спирали.
Диаметр испытательной оправки, число витков в спирали намотки и число циклов должны быть указаны в технических условиях на конкретный ОК.
Испытание проводят при заданной температуре.
15.4.2 Процедура 2. Метод испытания E11B (альтернативный метод испытания)
Образец плотно обернуть на 180° вокруг оправки и натянуть его, обеспечивая U-образный изгиб образца. Цикл представляет собой U-образный изгиб образца вокруг оправки, затем U-образный изгиб образца вокруг оправки в противоположном направлении и возврат образца в исходное прямолинейное положение (двойная спираль). Диаметр испытательной оправки и число циклов должны быть указаны в технических условиях на конкретный ОК.
Испытание проводят при заданной температуре.
15.5 Оценка результатов
Критерии оценки образцов по результатам испытания должны быть указаны в технических условиях на конкретный ОК. Типовыми видами дефектов образцов являются: обрыв ОВ, приращение оптических потерь и физическое повреждение ОК.
15.6 Информация, указываемая в технических условиях на конкретное кабельное изделие
В технических условиях на конкретное кабельное изделие указывают следующую информацию:
a) применяемый метод испытания (процедура 1 или 2);
b) диаметр испытательной оправки (или соотношение диаметров оправки и ОК);
c) число циклов;
d) число витков в спирали (для процедуры 1);
e) максимально допустимое приращения оптических потерь:
- в ходе проведения испытания (если это оговорено);
- по окончании испытания (если это оговорено);
f) температура проведения испытания, т.е. пониженная и/или повышенная температура окружающей среды.
16 Метод E12. Разрезание (метод исключен)
17 Метод E13. Повреждение выстрелами из огнестрельного оружия
17.1 Цель испытания
Целью испытания является определение возможности ОК или элемента ОК противостоять повреждению в результате воздействия огнестрельного оружия.
Примечание - В связи с большим числом возможных вариаций [см.
17.3.2 a) и
c)] настоящее испытание предусматривается как специальное испытание для очень специфических применений. Большинство ОК не подвергают такому испытанию.
17.2 Общие положения
Приведены два метода испытаний:
a)
метод E13A, при котором в образец ОК, установленный на раме, выстреливают из огнестрельного оружия;
b)
метод E13B, который моделирует ударное воздействие дробинки, выстреливаемой из огнестрельного оружия: одиночная дробинка ударяет по образцу ОК с энергией, эквивалентной энергии ее выстрела из огнестрельного оружия с заданного расстояния, до 40 м.
17.3 Метод E13A. Испытание на повреждаемость ОК выстрелом из огнестрельного оружия
17.3.1 Испытуемый образец
Испытание проводят на отрезке ОК (типовая длина отрезка - 3 м).
17.3.2 Испытательное оборудование
Испытательное оборудование включает в себя:
a) огнестрельное оружие, оговоренное в технических условиях на конкретный ОК.
Примечание - В разных странах возможно применение разного типа огнестрельного оружия;
b) рама для крепления образца ОК. Образец должен быть закреплен таким образом, чтобы предотвратить его перемещение, а само испытание проводят с учетом того, что дробь в результате выстрела из используемого огнестрельного оружия и в зависимости от его типа, рассеивается в форме эллипса;
1) должен быть указан в технических условиях на конкретный ОК.
Калибр патрона в разных странах может быть различным и может представлять собой опасность при применении. Рекомендуется указывать размер дроби.
2) тип дроби должен быть указан в технических условиях на конкретный ОК.
Как правило, в качестве материала дроби в зависимости от страны используют свинец, сталь или композитные материалы.
Свинцовая дробь деформируется при ударе и вызывает меньшие повреждения, чем повреждения в результате воздействия стальной дроби. Рекомендуется материал дроби указывать в технических условиях на конкретный ОК.
3) тип патрона должен быть оговорен в технических условиях на конкретный ОК.
17.3.3 Порядок проведения испытания
Образец ОК закрепляют на раме и производят в него выстрел с расстояния, оговоренного в технических условиях на конкретный ОК. Типовое расстояние выстрела - 20 м.
После испытания производят внешний осмотр образца в соответствии с установленными критериями оценки.
В протоколе испытания необходимо указывать следующее:
a) особенности конфигурации испытания, включая ориентацию ОК;
b) сведения о причиненных повреждениях, включая целостность ОВ;
c) число испытаний, проведенных для достижения минимально заметных повреждений;
d) калибр огнестрельного оружия;
e) материал дроби;
f) тип патрона;
g) дату изготовления огнестрельного оружия [см.
17.3.2 a)].
17.3.4 Оценка результатов
Критерии оценки результатов испытания образцов должны быть приведены в технических условиях на конкретный ОК. Типовыми повреждениями являются повреждения элементов сердечника ОК (например, отверстия в оптических модулях) и обрыв ОВ.
17.3.5 Информация, указываемая в протоколе
В протоколе на конкретное кабельное изделие должно быть указано:
a) тип огнестрельного оружия;
b) размер и диаметр дроби;
c) профиль канала ствола;
d) тип патрона;
e) расстояние между огнестрельным оружием и образцом;
f) критерии соответствия.
17.4 Метод E13B. Моделирование воздействия выстрела из огнестрельного оружия
17.4.1 Испытуемый образец
Образец ОК должен иметь длину, достаточную для проведения указанного испытания. В случае, если предусмотрена оценка только физических повреждений, может быть использован отрезок ОК небольшой длины; при необходимости проведения оптических измерений длина отрезка должна быть соответственно больше.
17.4.2 Испытательное оборудование
Схемы испытательного оборудования приведены на
рисунках 15,
16 и
17. Испытательное оборудование состоит из:
a) Падающего груза.
1 - направляющая труба, рекомендуется применение трубы
квадратного сечения; 2 - фал для подъема груза;
3 - падающий груз цилиндрической формы; 4 - стержень
фиксации груза в поднятом положении; 5 - зажим ОК;
6 - испытуемый образец ОК; 7 - станина; 8 - зона
воздействия удара
Рисунок 16 - Схема падающего груза, в который встроен
шток крепления дробинки
Рисунок 17 - Схема альтернативной конструкции
падающего груза и штока крепления дробинки
Схема падающего груза, в состав которого входят корпус груза и шток крепления дробинки, показана на
рисунке 16.
Используемый груз должен быть достаточен для воспроизведения энергии, равной энергии воздействия дроби в результате выстрела, произведенного с заданного расстояния, если он падает с соответствующей высоты. В
19.4 приведены указания по расчету необходимой массы груза и высоты его падения при заданном размере дробинки.
Шток фиксации дробинки выбирают так, чтобы диаметр B не превышал наружный диаметр дробинки (в типовом случае должен быть на 0,2 мм менее). Торец штока должен иметь профиль, обозначенный как A, что необходимо для ровной посадки на него шарика дроби, с целью уменьшения риска сдвига шарика дроби и повреждения штока.
Для испытания ОК малых диаметров (как правило, менее 10 мм) с целью повышения точности проведения испытания рекомендуется использовать альтернативный вариант падающего груза и штока крепления шарика дроби (см.
рисунок 17), что предотвращает вращение образца ОК и/или смещение участка удара при проведении испытания.
b) Направляющая труба для падающего груза, обеспечивающая перемещение этого груза в направлении к испытуемому образцу, может быть оснащена, для удобства применения испытательной оснастки, штырем фиксации падающего груза в верхней точке высоты падения. Как правило, в качестве направляющей используют трубу квадратного профиля, размером 25,4 мм, для минимизации трения между внутренней поверхностью направляющей трубы и наружной цилиндрической поверхностью падающего груза, или наоборот.
c) Станина крепления образца может иметь отверстие ("зону прицеливания") для удобства размещения образца точно под штоком ударника.
d) Адгезивный материал (пластмасса или другой) для крепления дробинки к штоку падающего груза.
e) Оптические средства измерения оптических потерь (при необходимости).
17.4.3 Порядок проведения испытания
Образец ОК крепят на станине, ориентируя его относительно отверстия "зоны прицеливания" в основании, при наличии такого отверстия. Для надежности крепления образца на станине могут быть использованы зажимы, которыми оснащают станину.
В случае если предусмотрено измерение оптических потерь, образец размещают так, чтобы удар дробинки приходился бы, по крайней мере, над одним измеряемым ОВ. Дробинку крепят к штоку падающего груза с помощью подходящего материала - такого, как повторно используемый адгезивный материал. Следует применять малое количество адгезивного материала с тем, чтобы он не демпфировал ударное воздействие. Падающий груз затем фиксируют в направляющей трубе с помощью фиксирующего стержня. При извлечении фиксирующего стержня груз падает, производя удар по образцу ОК.
Если не предусмотрено иное, испытание по одному и тому же участку ОК проводят однократно.
17.4.4 Оценка результатов
Критерии приемки и отбраковки образцов по результатам испытания должны соответствовать указанным в технических условиях на конкретный ОК. Типовые причины отбраковки образца: повреждение элементов сердечника ОК (например, отверстия в оптических модулях) и обрыв ОВ.
17.4.5 Информация, указываемая в технических условиях на конкретное кабельное изделие
В технических условиях на конкретное кабельное изделие указывают следующую информацию:
a) размер дроби;
b) тип дроби;
c) массу груза;
d) высоту падения груза.
Примечание - См.
17.4.6 для расчета массы и высоты падения груза;
e) число ударов по различным участкам ОК;
f) критерии соответствия;
g) температуру проведения испытания.
17.4.6 Расчет массы падающего груза и высоты его падения
Учитывая массу дробинки m, двигающуюся со скоростью v, ее кинетическая энергия Ek будет иметь значение, приведенное в выражении (2):

(2)
где Ek - кинетическая энергия, Дж;
m - масса дробинки, кг;
v - скорость дробинки, мс-1.
Это эквивалентно потенциальной энергии падающего груза [см.
выражение (3)]:
где Ep - потенциальная энергия, Дж;
M - масса падающего груза, кг;
g - ускорение падающего груза, мс-2;
h - высота падения груза, м.
Преобразуем
выражение (3) для определения массы падающего груза в зависимости от высоты падения:

(4)
где Ek - кинетическая энергия, Дж;
g - ускорение падающего груза, мс-2;
h - высота падения груза, м.
Используя репрезентативные данные патрона, можно определить данные для соответствующего испытания. Например, свинцовой дробинкой со средним значением массы 0,0833 г выстреливают с расстояния 25 м, типовое значение скорости дробинки составляет 234 мс-1.

(5)
Ek = 2,2815 Дж. (6)
Исходя из удобно измеряемой высоты падения груза 1 м, используя
выражение (3), получим:

(7)
M = 0,233 кг. (8)
В случае если предпочтительно использовать груз известной массы, расчет может быть выполнен для различных значений энергии удара, принимая за переменную составляющую значение высоты падения груза.
Если необходимо, в целях калибровки может быть использована пластина из материала оболочки ОК для сравнения метода моделирования с реальным полевым испытанием огнестрельным оружием, например, пластина толщиной 2 мм из полиэтилена высокой плотности, в которую производят выстрел с расстояния 40 м.
18 Метод E14. Вытекание компаунда (каплепадение)
18.1 Цель испытания
Настоящий метод предназначен для подтверждения того, что заполняющие компаунды не вытекают из заполненного ими ОК при заданном значении температуры.
18.2 Испытуемый образец
a) Число и типы испытуемых образцов
Если не оговорено иное в технических условиях на конкретный ОК, для проведения испытания используют по два образца от каждого ОК, подвергаемого испытанию. Каждый образец должен быть репрезентативен типу ОК, установленному в технических условиях на конкретный кабель.
b) Длина испытуемого образца
Если не оговорено иное в технических условиях на конкретное кабельное изделие, каждый испытуемый образец должен иметь длину (200 +/- 5) мм.
Образцы подготавливают следующим образом, производя необходимые их модификации, как это оговорено в
перечислении d):
1) удаляют с одного конца ОК участок наружной оболочки на длине (100,0 +/- 2,5) мм;
2) удаляют с того же конца ОК все не существенные для испытания элементы ОК (т.е. броню, экраны, внутренние оболочки, спирально наложенные силовые элементы, водоблокирующие ленты, скрепляющие ленты и т.п.) на длине (80,0 +/- 2,5) мм. Предпринимают меры для предотвращения повреждения остальных элементов ОК (т.е. оставшихся оптических модулей с ОВ или корделей);
3) удаляют прилипшие остатки заполняющих материалов от удаленных в соответствии с
этапами 1) и
2) элементов ОК, обеспечивая при этом наличие достаточного количества заполняющих компаундов поверх элементов сердечника (т.е. не протирают дочиста поверхности элементов сердечника);
4) для конструкций ОК, содержащих такие компоненты, как пучки ОВ или ленты ОВ, которые могут перемещаться в процессе испытания под воздействием собственной массы, эти компоненты следует закрепить на неразделанном конце испытуемого образца таким образом, чтобы они не оказывали воздействия на остальные части образца. Закрепление таких компонентов может быть выполнено зажимами, вставками из эпоксидной смолы или иным образом, отвечающим цели испытания;
5) если предусмотрено техническими условиями на конкретное кабельное изделие, для моделирования большой длины кабельной секции верхние концы оптических модулей могут быть загерметизированы.
d) Концевая заделка испытуемого образца
Если предусмотрено техническими условиями на конкретное кабельное изделие, то нижний конец испытуемого образца оконцовывают в соответствии с рекомендациями изготовителя так, как это предусматривается при концевой заделке ОК при его применении.
При такой концевой заделке могут быть повреждены элементы в ходе выполнения
этапа c), тем не менее, положения
этапа c) следует выполнять.
18.3 Испытательное оборудование
Испытательное оборудование и оснастка:
a) Камера тепла
Камера тепла должна быть достаточного размера, чтобы располагать испытуемые образцы в вертикальном положении, и обладать тепловой емкостью, достаточной для поддержания заданного значения температуры в процессе проведения испытания. В случае, если камера тепла оснащена вентилятором, поток воздуха от него не должен попадать непосредственно на испытуемые образцы.
b) Контейнер
Негигроскопический контейнер для сбора капающего материала.
c) Аналитические весы.
18.4 Порядок проведения испытания
Испытание проводят следующим образом:
a) Камеру тепла подогревают до значения температуры, указанной в технических условиях на конкретный ОК.
b) Размещают каждый испытуемый образец в камере тепла, располагая его в вертикальном положении разделанным концом вниз. Устанавливают предварительно взвешенный чистый контейнер непосредственно под образцом, так чтобы образец не соприкасался с контейнером.
c) В случаях, предусмотренных в технических условиях на конкретный ОК, предварительное кондиционирование проводят так, как это определено в приведенных ниже
этапах 1) и
3); в противном случае продолжают испытание в соответствии с тем, как установлено в
перечислении d).
1) После стабилизации значения температуры в камере, если в технических условиях на конкретный ОК не оговорено иное, проводят предварительное кондиционирование каждого образца в течение не менее 1 ч.
2) По истечении периода предварительного кондиционирования заменяют контейнер на другой предварительно взвешенный чистый контейнер.
Масса материала, собранного в контейнер, определяет количество компаунда-заполнителя, которое может стечь в виде капель с ОК в ходе предварительного кондиционирования.
В случае, если измеренное количество попавшего в контейнер компаунда превышает значение, установленное для предварительного кондиционирования, образец считают дефектным. Если в технических условиях на конкретный ОК не оговорено иное, максимальное значение массы стекшего при предварительном кондиционировании компаунда не должно превышать или 0,5% от общей массы испытуемого образца, или 0,5 г. Предельно допустимым значением считают меньшее из этих значений.
3) Испытание проводят в течение 23 ч, если не оговорено иное в технических условиях на конкретный ОК, далее испытание продолжают в соответствии с
перечислением e).
d) После стабилизации температуру в камере поддерживают в течение 24 ч, если в технических условиях на конкретный ОК не оговорено иное.
e) После завершения испытания контейнер извлекают из камеры и взвешивают для определения массы компаунда-заполнителя, стекшего в контейнер в виде капель из ОК.
f) Записывают массу стекшего в контейнер компаунда-заполнителя для каждого образца ОК.
Если измеренное значение массы компаунда не превышает 0,005 г, то считают, что каплепадение отсутствует, если в технических условиях на конкретный ОК не оговорено иное.
18.5 Оценка результатов
Максимальное значение массы стекшего компаунда из образца ОК не должно превышать 0,050 г, если в технических условиях на конкретный ОК не оговорено иное. В случае, если количество компаунда, стекшего из одного образца ОК, превышает 0,050 г, но составляет менее 0,100 г, подготавливают два дополнительных образца в соответствии с
перечислением c) 18.2, после чего проводят их испытание в соответствии с
перечислениями a) -
f) 18.4.
Образцы считают выдержавшими испытание, если при проведении повторных испытаний ни в одном из двух образцов не зафиксировано каплепадение компаунда массой более 0,050 г.
18.6 Информация, указываемая в технических условиях на конкретное кабельное изделие
В технических условиях на конкретное кабельное изделие указывают следующую информацию:
a) температуру испытания;
b) особенности предварительного кондиционирования (если оно предусмотрено):
- сведения о предварительном кондиционировании (если оно предусмотрено);
- критерии соответствия/несоответствия при предварительном кондиционировании, если они отличаются от приведенных выше;
c) какие-либо исключения применительно к требованиям настоящей процедуры;
d) критерии приемки (соответствует/не соответствует), если они отличаются от значений по умолчанию.
19 Метод E15. Стекаемость и испарение
19.1 Цель испытания
Целью испытания является определение температуры стекания и/или испарения компаунда-заполнителя, контактирующего с ОВ.
19.2 Испытуемый образец
Компаунд-заполнитель, предназначенный для применения в контакте с ОВ.
19.3 Испытательное оборудование
Испытательное оборудование состоит:
a) из электрического термошкафа с естественной вентиляцией;
b) аналитических весов с максимальной погрешностью G = 0,1 мг;
c) оснастки для испытания (см.
рисунок 18), содержащей:
1) никелевый сетчатый конус, с размером сетки 60 меш (число отверстий: 5 или 6 на мм
2; диаметр проволок: 0,19 мм; размер отверстия: 0,28 мм), с проволочной дужкой. Альтернативно может быть изготовлен конус из нержавеющей стали (с размером сетки 60 меш, размер отверстия 0,25 мм), ширина паяного шва может быть более 1 мм - при условии, что погрешность результатов измерения с применением этого конуса незначительно отличается от погрешности результатов измерения с первым типом конуса;
2) стакан с отбортовкой вверху, без носика, емкостью 200 мл.
Примечание - При измерении испарения крышка стакана не требуется;
3) эксикатор.
Рисунок 18 - Оснастка для испытания на стекаемость
и испарение
19.4 Порядок проведения испытания
Взвешивают чистый сухой стакан и записывают его массу M1 (взвешивание производить с точностью до 1 мг).
Взвешивают стакан в сборе, с конусом и опорой конуса, и записывают его массу M2. Помещают около 10 г образца в конус (верхняя поверхность должна быть гладкой и выпуклой, так, чтобы жидкость не задерживалась и в сетке не происходило бы скопления материалов). Взвешивают оснастку в сборе вместе с образцом и записывают полученное значение массы как M3.
Нагревают оснастку в термошкафу до значения температуры, указанной в технических условиях на конкретный ОК, и выдерживают при заданной температуре в течение времени, указанного в технических условиях на конкретный ОК. Затем оснастку охлаждают в термошкафу до комнатной температуры. Вновь взвешивают оснастку в сборе и записывают полученное значение массы как M4. Осторожно извлекают опору конуса и конус. Вновь взвешивают стакан и записывают полученное значение массы как M5. Рассчитывают значения стекаемости и испарения и записывают значения в качестве данных двух взвешиваний.
Вычисление проводят по следующим формулам:

(9)

(10)
где стекаемость - количество компаунда, которое вытекло в стакан, %;
испарение - количество компаунда, которое испарилось из системы, %.
19.5 Оценка результатов
Значения температуры стекания и/или испарения компаунда-заполнителя, контактирующего с ОВ, не должны превышать максимальных значений, указанных в технических условиях на конкретный ОК.
19.6 Информация, указываемая в технических условиях на конкретное кабельное изделие
В технических условиях на конкретное кабельное изделие указывают следующую информацию:
a) температуру испытания;
b) продолжительность испытания;
d) число образцов.
20 Метод E16. [Название неизвестно] (исключен)
21 Метод E17. Сопротивляемость изгибу
21.1 Цель испытания
Целью настоящего метода испытания является определение сопротивляемости ОК изгибу. В зависимости от типа ОК могут быть использованы три различных метода.
Результаты испытаний показывают, что при испытании от образца к образцу могут иметь место значительные отклонения полученных результатов. Это определяется составом испытательного оборудования и сложностью взаимодействия компонентов ОК при изгибе. Таким образом, это испытание может быть использовано для целей исследований и экспериментов, а не для оценки характеристик ОК. Следует учитывать, что результаты испытания следует использовать обдуманно, и что любые требования жесткости должны быть консервативны.
21.2 Общие положения
Жесткость при изгибе - параметр, используемый для оценки характеристики ОК при его прокладке с постоянным тяжением (например, при прокладке ОК в кабельной канализации, желобах, трубах или под полом) и при использовании технологии пневмопрокладки. Жесткость также используется для оценки достаточности прочности и в то же время гибкости соединительных шнуров и кабелей внутренней прокладки в части их сопротивляемости внешним воздействиям при прокладке и в ходе обычных условий применения. Значения жесткости ОК, определяемые при применении одного метода испытания, не являются эквивалентными значениям, полученным в результате применения какого-либо другого метода испытания.
Методы испытания включают в себя:
Метод E17C предназначен для испытания ОК малого диаметра, таких, как усиленные одноволоконные ОК.
21.3 Метод E17A. Трехточечный изгиб
21.3.1 Испытуемый образец
Образец ОК должен иметь длину, достаточную для проведения указанного испытания.
21.3.2 Испытательное оборудование
Схема проведения испытания трехточечного изгиба показана на
рисунке 19. Испытуемый образец помещают на две опоры, которые обеспечивают свободное перемещение ОК (т.е. опоры могут представлять собой вращающиеся стержни). Испытательное оборудование должно обеспечивать приложение нагрузки к образцу в точке, расположенной посередине между опорами, и обеспечивать измерение последующего перемещения. Нагрузку прикладывают до нормируемого значения или же до значения меньшего, чем нормируемое максимальное значение. Как правило, в качестве оборудования, обеспечивающего приложение нагрузки к испытуемому образцу и измерение его перемещения, используют разрывную машину.
Рисунок 19 -
Метод E17A. Схема проведения испытания
21.3.3 Порядок проведения испытания
Опоры устанавливают друг от друга на расстоянии, оговоренном в технических условиях на конкретный ОК. Образец размещают на опорах, прикладывают усилие перемещения ОК и проводят измерение перемещения.
Примечание 1 - Значение нагрузки может быть нормировано, или может быть задан ряд значений нагрузки, или может задаваться непрерывная функция "приложенная нагрузка - измеренное перемещение".
Образец ОК должен иметь длину, превышающую расстояние между опорами, и достаточную для того, чтобы любое внутреннее перемещение элементов ОК не сказывалось на результатах испытания.
Усилие перемещения может быть приложено через шток, прикрепленный к подвижному зажиму разрывной машины, или же при помощи груза, подвешенного через крюк к ОК.
Если усилие F, Н, приводит к перемещению y, м, и если x представляет собой расстояние, м, между опорами, жесткость B, Н·м2, будет представлена как:

(11)
Поскольку многие ОК (например, бронированные ОК) могут изменять характер деформации с упругой на неупругую (см.
рисунок 20), значение усилия перемещения предпочтительно увеличивать постепенно, чтобы можно было идентифицировать точку изменения характера деформации. Значение жесткости, установленное в технических условиях на конкретный ОК представляет собой жесткость, Н·м
2, в области упругой деформации, и характеризуется выражением

(12)
где

- угол линейного участка кривой, см.
рисунок 20.
Примечания
1 Согласно определению

, его размерность составляет 1 Н/м.
2 Изгибы при прокладке могут быть и на участке неупругой деформации.
Рисунок 20 - Пример результатов приложения нагрузки
и перемещения
21.3.4 Оценка результатов
Длина образца должна соответствовать значениям, приведенным в технических условиях на конкретный ОК.
21.3.5 Информация, указываемая в технических условиях на конкретное кабельное изделие
В технических условиях на конкретное кабельное изделие указывают следующую информацию:
a) тип ОК;
b) расстояние между опорами;
c) длину испытуемого образца;
d) максимальное значение усилия перемещения;
e) число образцов;
f) степень изменения усилия перемещения.
21.4 Метод E17B. Консольный изгиб
21.4.1 Испытуемый образец
Образец ОК должен иметь длину, достаточную для проведения указанного испытания.
21.4.2 Испытательное оборудование
Схема испытания на консольный изгиб приведена на рисунке 21. Образец ОК крепят консольно в зажиме, чтобы обеспечить возможность приложения усилия к удаленному от зажима концу образца и измерение последующего его перемещения.
Рисунок 21 -
Метод E17B. Схема проведения испытания
Длина образца и расположение его в зажиме должны быть такими, чтобы гарантировать, что любое внутреннее перемещение элементов конструкции ОК не окажет влияния на результаты испытания. Так, зажим может быть установлен на достаточно большом удалении от точки изгиба с тем, чтобы обеспечивать симуляцию перемещения элементов конструкции ОК, подобную перемещению этих элементов и в реальных условиях.
В некоторых случаях (например, распределительные ОК малого диаметра) конструкция зажима может быть выполнена так, чтобы обеспечивать контролируемый радиус изгиба испытуемого образца, см.
рисунок 21 b.
21.4.3 Порядок проведения испытания
Образец надежно закрепляют в зажиме, прикладывают усилие на расстоянии L от зажима и измеряют перемещение ОК.
Усилие может быть приложено при помощи разрывной машины или с использованием грузов.
Если при приложении усилия F, Н, имеет место перемещение y, м, при стреле вылета L, м, жесткость, Н·м2, ОК определяют по формуле

или

(13)
где

- угол изгиба.
21.4.4 Оценка результатов
Длина испытуемого образца должна соответствовать значению, указанному в технических условиях на конкретный ОК.
21.4.5 Информация, указываемая в технических условиях на конкретное кабельное изделие
В технических условиях на конкретное кабельное изделие указывают следующую информацию:
a) тип ОК;
b) стрела вылета ОК (L);
c) максимальное значение усилия перемещения;
d) длина испытуемого образца;
e) число испытуемых образцов.
21.5 Метод E17C. Продольный изгиб
21.5.1 Испытуемый образец
Длина испытуемого образца должна быть приведена в технических условиях на конкретный ОК.
21.5.2 Испытательное оборудование
Схема испытания приведена на рисунке 22. Схема обеспечивает измерение усилия, приложенного к испытуемому образцу при U-образном его изгибе. Оборудованием, подходящим для испытания, является разрывная машина, оснащенная пьезоэлектрическим датчиком и обеспечивающая возможность изменения расстояния между губками до заданного значения.
Рисунок 22 -
Метод E17C. Схема проведения испытания
21.5.3 Порядок проведения испытания
Образец закрепляют в испытательном оборудовании, придав ему прямое положение. Расстояние между губками уменьшают до значения s·d, где d - диаметр ОВ и s - коэффициент разделения, значение которого должно быть приведено в технических условиях на конкретный ОК. По достижении времени, указанного в технических условиях на конкретный ОК, регистрируют усилие, прикладываемое к испытуемому образцу.
Примечания
1 Коэффициент разделения определяют как окончательное значение расстояния между губками (см.
рисунок 21), которое равно диаметру ОВ, умноженному на определенный коэффициент (или применяется другая функция, связанная с диаметром ОК).
2 Значение усилия по окончании сближения губок до заданного значения. Как правило, максимальное значение усилия имеет место непосредственно перед началом деформирования ОК.
Жесткость B, Н·м2, определяют по формуле

(14)
где F - измеренное значение усилия, Н;
r - радиус изгиба ОК при конечном положении губок, м.
21.5.4 Оценка результатов
Жесткость образца ОК должна соответствовать указанному в технических условиях на конкретный ОК.
21.5.5 Информация, указываемая в технических условиях на конкретное кабельное изделие
В технических условиях на конкретное кабельное изделие указывают следующую информацию:
a) коэффициент разделения (s);
b) продолжительность испытания;
c) длина испытуемого образца;
d) число испытуемых образцов.
22 Метод E18A. Изгиб под натяжением
22.1 Цель испытания
Целью испытания является определение возможности ОК выдерживать изгиб вокруг ролика или округлого предмета в процессе прокладки, при приложении заданного значения нагрузки.
Настоящее испытание предусматривает изгиб ОК вокруг ролика или подобного предмета на заданный угол (процедура 1) или реверсивный изгиб относительно пары роликов (процедура 2). Эти испытания в целом предусмотрены как моделирование изгибов, которым могут подвергаться кабели любого типа при прокладке.
22.2 Испытуемый образец
Образец должен быть отобран с одного конца готового ОК, без отрезания образца, если это оговорено в технических условиях на конкретный ОК.
Испытуемый образец должен быть оконцован с каждой стороны таким образом, чтобы можно было приложить нагрузку заданного значения.
На образце должна быть нанесена маркировка в точках A и B, как показано на рисунке 23 или
24.
A, B - конечные точки участка изгиба ОК;
R - радиус ролика;

- угол касания ролика
Рисунок 23 - Схема одиночного изгиба
A, B - конечные точки участка изгиба ОК;
Y - расстояние между осями роликов; R - радиус ролика;

- угол касания ролика
Рисунок 24 - Схема S-образного изгиба
Расстояние между точками A и B должно быть больше, чем шаг скрутки сердечника и силовых элементов конструкции ОК для однонаправленной скрутки и больше расстояния между изменением направления скрутки для ОК с SZ-скруткой (разнонаправленной скруткой). Рекомендуется, чтобы это расстояние было по меньшей мере втрое больше шага скрутки.
22.3 Испытательное оборудование
Испытательное оборудование состоит:
- из датчика для измерения усилия натяжения с погрешностью не более +/- 3%;
- средств измерения затухания для определения изменения затухания и/или средства для измерения удлинения ОВ при натяжении, если требуется заказчику (потребителю). Длина ОВ должна быть достаточна для проведения испытания и оптических измерений.
Процедура испытания должна быть согласована между заказчиком (потребителем) и изготовителем и должна регламентировать наиболее жесткие условия прокладки, которые могут иметь место.
Процедура 1
Используется один ролик радиусом
r, указанным в технических условиях на конкретный ОК, как показано на
рисунке 22. Угол изгиба

должен быть оговорен в технических условиях на конкретный ОК. Наиболее часто используемое значение угла - 180°.
Процедура 2
Используется два ролика радиусом
R с расстоянием между их осями
Y или с обеспечением угла изгиба

, как показано на
рисунке 24 и указанным в технических условиях на конкретный ОК.
22.4 Порядок проведения испытания
Испытание проводят при температуре окружающей среды. В случае, если предусмотрено измерение приращения оптических потерь, как это оговорено в технических условиях на конкретный ОК, значение затухания следует фиксировать до нормируемого значения приложения нагрузки и по окончании испытания, когда нагрузка снята и ее значение равно нулю.
В зависимости от метода прокладки и того, что оговорено в технических условиях на конкретный ОК, следует использовать одну из приведенных ниже процедур.
Процедура 1
- ОК перемещают относительно цилиндра или устройства, указанного в технических условиях на конкретный ОК, на угол, оговоренный в технических условиях на конкретный ОК и как показано на
рисунке 23, или с учетом иных значений, согласованных с заказчиком (потребителем) и изготовителем.
- Усилие натяжения нужно непрерывно увеличивать до значения, указанного в технических условиях на конкретный ОК.
- ОК перемещают от точки A до точки B (см.
рисунок 23) и затем возвращают в точку A; скорость перемещения и число циклов перемещения должны быть оговорены в технических условиях на конкретный ОК.
Процедура 2
- ОК изгибают вокруг двух цилиндров по S-образной траектории (S-образный изгиб), как это показано на
рисунке 24, или же изгибают на устройстве, оговоренном в технических условиях на конкретный ОК.
- Усилие натяжения непрерывно увеличивают до значения, оговоренного в технических условиях на конкретный ОК.
- Возможны два следующих альтернативных варианта:
ОК перемещают от точки A до точки B (см.
рисунок 23) и затем возвращают в точку A; скорость перемещения и число циклов перемещения должны быть оговорены в технических условиях на конкретный ОК;
испытательное оборудование перемещают относительно ОК от точки A до точки B (см.
рисунок 24) и затем возвращают в точку A; скорость перемещения и число циклов перемещения должны быть оговорены в технических условиях на конкретный ОК.
22.5 Оценка результатов
По окончании испытания не должно быть обнаружено повреждений оболочки и/или элементов конструкции ОК, видимых при внешнем осмотре без применения увеличительных приборов.
Если в технических условиях на конкретный ОК оговорено значение приращения затухания, то по окончании испытания приращение затухания не должно превышать заданное значение.
Другие характеристики, подлежащие проверке (контролю), должны быть оговорены в технических условиях на конкретный ОК.
22.6 Информация, указываемая в технических условиях на конкретное кабельное изделие
В технических условиях на конкретное кабельное изделие указывают следующую информацию:
- используемая процедура (1 или 2);
- максимальное значение натяжения, прикладываемое в ходе испытания (как правило, максимальное значение нагрузки, которая может быть приложена при прокладке);
- длина ОК и длина участка, подвергаемого изгибу под натяжением, т.е. расстояние между точками A и B;
- подготовка концов ОК;
- устройство обеспечения тягового усилия;
- процедура 1:
радиус R ролика;
угол прилегания к ролику;
- процедура 2:
радиус R роликов/цилиндров/оправок;
расстояние
Y или угол изгиба

;
- скорость перемещения (как правило, не более скорости прокладки);
- число циклов перемещения;
- максимально допустимое приращение оптических потерь по окончании испытания (если это измерение предусмотрено).
23 Метод E18B. Изгиб роликами (преимущественно для ОК типа OPGW и OPAC)
23.1 Цель испытания
Целью испытания является определение возможности ОК типа OPGW (Optical Ground Wire - ОК, встроенный в грозозащитный трос) или типа OPAC (Optical Attached Cable - присоединенный ОК) выдерживать изгиб вокруг ролика или округлого предмета в процессе прокладки, при приложении заданного значения нагрузки.
Настоящее испытание предусматривает или изгиб относительно одиночного ролика или подобного предмета (процедура 1), или SZ-изгиб относительно трех роликов, оси которых расположены на одной прямой (процедура 2). Эти испытания в целом предусмотрены как моделирование изгибов, которым могут подвергаться ОК любого типа при прокладке.
23.2 Испытуемый образец
Образец должен быть взят с одного конца готового ОК, без отрезания образца, если это оговорено в технических условиях на конкретный ОК.
Оба конца испытуемого образца должны быть оконцованы таким образом, чтобы можно было приложить заданное значение нагрузки.
На образце должна быть нанесена маркировка в точках A и B, как показано на рисунке 25 или на
рисунке 26.
Рисунок 25 - Схема частичного изгиба
Рисунок 26 - Схема частичного изгиба с использованием
нескольких роликов
Расстояние между точками A и B должно быть больше, чем шаг скрутки сердечника и силовых элементов конструкции кабеля для однонаправленной скрутки ОК и больше расстояния между изменением направления скрутки для ОК с SZ-скруткой (разнонаправленной скруткой). Рекомендуется, чтобы это расстояние было, по меньшей мере, втрое больше шага скрутки.
23.3 Испытательное оборудование
Испытательное оборудование должно состоять:
- из датчика усилия растяжения с погрешностью не более +/- 3%;
- полукруглого профиля ролика (должен быть полукруглым с достаточным радиусом для свободного перемещения ОК);
- если требуется для конкретных нужд заказчика (потребителя), средств измерения затухания для определения изменения затухания и/или аппаратуры для измерения натяжения ОВ вследствие их удлинения. Длина ОВ должна быть достаточна для проведения испытания и оптических измерений.
Порядок проведения испытания должен быть согласован между заказчиком (потребителем) и изготовителем и должен нормировать наиболее жесткие условия прокладки, которые могут иметь место.
Процедура 1
Используют один ролик радиусом
R, значение которого должно быть указано в технических условиях на конкретный ОК и как показано на
рисунке 25. Угол изгиба,

, должен быть указан в технических условиях на конкретный ОК.
Процедура 2
Используют три ролика (см.
рисунок 24) радиусом
R и с углом изгиба

, нормируемым в технических условиях на конкретный ОК и как показано на
рисунке 26.
23.4 Порядок проведения испытания
Испытание проводят при температуре окружающей среды.
В случае, если предусмотрен контроль оптических потерь в соответствии с требованиями технических условий на конкретный ОК, значение затухания следует фиксировать до приложения нормируемого значения нагрузки и по окончании испытания, когда нагрузка снята и ее значение равно нулю.
В зависимости от метода прокладки и указанного в технических условиях на конкретный ОК, следует использовать одну из приведенных ниже процедур.
Процедура 1
- ОК перемещают относительно цилиндра или устройства, оговоренного в технических условиях на конкретный ОК, на угол, указанный в технических условиях на конкретный ОК, как показано на
рисунке 25.
- Усилие натяжения непрерывно увеличивают до требуемого значения, указанного в технических условиях на конкретный ОК.
- ОК перемещают от точки A до точки B (см.
рисунок 25) и затем возвращают в точку A; скорость перемещения и число циклов перемещения должны быть оговорены в технических условиях на конкретный ОК.
Процедура 2
- ОК должен проходить вокруг цилиндров, в соответствии с техническими условиями на конкретный ОК и как показано на
рисунке 26.
- Усилие натяжения непрерывно увеличивают до требуемого значения, указанного в технических условиях на конкретный ОК.
- Возможны два следующих альтернативных варианта:
a) ОК перемещают от точки A до точки B (см.
рисунок 26) и затем возвращают в точку A; скорость перемещения и число циклов перемещения должны быть оговорены в технических условиях на конкретный ОК;
b) испытательное оборудование перемещают относительно ОК от точки A до точки B (см.
рисунок 26) и затем возвращают в точку A; скорость перемещения и число циклов перемещения должны быть оговорены в технических условиях на конкретный ОК.
23.5 Оценка результатов
По окончании испытания не должно быть обнаружено повреждений оболочки и/или элементов конструкции ОК видимых при внешнем осмотре без применения увеличительных приборов.
Значение приращения затухания по окончании испытания не должно превышать значения, установленного в технических условиях на конкретный ОК.
Другие характеристики, подлежащие проверке (контролю), должны быть оговорены в технических условиях на конкретный ОК.
23.6 Информация, указываемая в технических условиях на конкретное кабельное изделие
В технических условиях на конкретное кабельное изделие указывают следующую информацию:
- используемая процедура (1 или 2);
- максимальное значение усилия натяжения, прикладываемого в ходе проведения испытания (как правило, максимальное значение нагрузки, которая может быть приложена при прокладке);
- длина ОК и длина участка, подвергаемого изгибу под натяжением, т.е. расстояние между метками A и B;
- подготовка концов ОК;
- устройство обеспечения тягового усилия;
- процедура 1:
радиус R роликов/цилиндров;
угол прилегания к ролику

;
- процедура 2:
радиус R роликов/цилиндров/оправок для процедуры 2;
угол прилегания к ролику

;
- скорость перемещения (как правило, не более скорости прокладки);
- число циклов перемещения;
- максимально допустимое приращение оптических потерь по окончании испытания (если это измерение предусмотрено).
24 Метод E19. Эолова вибрация
24.1 Цель испытания
Целью испытания является оценка воздействия на подвесные ОК динамических нагрузок, подобных имеющим место на подвесных линиях, когда в результате ламинарного течения воздуха возникают наведенные вибрации.
24.2 Испытуемый образец
Длина испытуемого образца должна быть не менее 50 м или соответствовать значению, указанному в технических условиях на конкретный ОК. Концы ОК должны быть разделаны таким образом, чтобы в процессе проведения испытания обеспечивать контроль вносимых оптических потерь одного или нескольких ОВ в соответствии с техническими условиями на конкретный ОК. Минимальная контролируемая длина ОВ должна быть 100 м. При необходимости может быть выполнено соединение ОВ на концах ОК.
24.3 Испытательное оборудование
Испытательное оборудование состоит:
- из стенда для проведения испытания (типовая схема оснащения приведена на
рисунке 27);
- возбудителя вибрации с электронным управлением;
- динамометра, датчика нагрузки, калиброванной балки или иного устройства для измерения усилия натяжения ОК;
- источника оптического излучения с номинальной длиной волны 1550 нм в комплекте с измерителем оптической мощности, обеспечивающих измерение значения оптических потерь;
- источника оптического излучения с номинальной длиной волны 1550 нм в комплекте с измерителем оптической мощности, обеспечивающих измерение колебаний значения оптических потерь в полосе частот шириной не менее 0 - 300 Гц;
- оптического рефлектометра (OTDR), если его применение оговорено в технических условиях на конкретный ОК.
1 - концевой фундаментный блок; 2 - датчик усилия натяжения;
3 - промежуточный фундаментный блок; 4 - натяжной зажим;
5 - возбудитель колебаний; 6 - узел подвески; 7 - начало ОВ;
8 - конец ОВ;
A - активный пролет; B - прилегающий пролет;
C - соединение ОВ
Рисунок 27 - Схема испытания на воздействие эоловой вибрации
24.4 Порядок проведения испытания
Испытуемый образец оконцовывают с обеих сторон перед его натяжением таким образом, чтобы ОВ не могли перемещаться относительно ОК. Для измерения усилия натяжения используют динамометр, датчик усилия, калиброванную балку или иное устройство. Должны быть предусмотрены определенные меры для обеспечения постоянства натяжения ОК при колебаниях температуры в процессе испытания. Усилие натяжения ОК должно составлять примерно от 15% до 25% значения RTS (Rated Tensile Strength, нормируемое значение прочности натяжения) для кабеля типа OPGW, или нормируемого значения усилия натяжения для пролета ОК типа ADSS, или значения, приведенного в технических условиях на конкретный ОК.
Общая длина пролета между натяжными зажимами должна быть не менее 30 м. Минимальное значение активного участка пролета должно составлять приблизительно 20 м. Пролет должен быть оснащен узлом поддержки, расположенным примерно на расстоянии около двух третей от расстояния между натяжными зажимами ОК. Допускается использовать более длинные или более короткие значения длины участков пролетов. Пролет следует располагать на такой высоте, чтобы статический угол ОК на активном участке пролета по отношению к горизонтали составлял 1,5° +/- 0,5°.
Должны быть предусмотрены средства измерения и контроля амплитуды вибрации в середине возникающей свободной волны (пучность), а не в волне, прилегающей к возбудителю вибрации.
Возбудитель вибрации с электронным управлением должен обеспечивать перемещение ОК в вертикальной плоскости. Арматура возбудителя вибрации должна обеспечивать надежное крепление ОК так, чтобы возбудитель вибрации располагался перпендикулярно к ОК в вертикальной плоскости. Возбудитель вибрации должен быть расположен на активном участке пролета ОК так, чтобы между возбудителем вибрации и натяжным зажимом создавалось не менее шести стоячих волн. Число циклов вибрации: 10 000 000, или должно соответствовать значению, указанному в технических условиях на конкретный ОК.
Испытание проводят на одной или большем количестве резонансных частот, соответствующих заданным значениям ветровых условий. Эолова вибрация, как правило, возникает при значении ламинарной скорости ветра от 0,5 до 7 м/с. Применяя
выражения (15) и
(16), получим:
Частота вибрации f, Гц, пропорциональна скорости ветра v, м/с, и обратно пропорциональна диаметру кабеля D, м, и ее вычисляют по формуле

(15)
где k - коэффициент Струхаля (Strouhal) и составляет 0,2 для подвесных кабелей и проводов.
Длину волны

вибрации (эквивалентна двум длинам полуволн) вычисляют по формуле

(16)
где T - усилие натяжения ОК, Н;
m - масса единицы длины ОК, кг/м.
Если в соответствии с назначением требуется, чтобы ОК был стоек к нагрузкам в период возбуждения вибрации, то на стадии возбуждения эоловой вибрации испытуемый пролет требует постоянного внимания и контроля параметров испытания до тех пор, пока не произойдет стабилизация испытуемого пролета.
24.5 Оценка результатов
Любой вид временного или постоянного повреждения ОК или любой составляющей его части, значение которого больше, чем значение, указанное в технических условиях на конкретный ОК, считают дефектом. Любые кратковременные флюктуации или долговременные изменения оптических потерь, если эти значения оговорены, не должны превышать нормируемых значений.
24.6 Информация, указываемая в технических условиях на конкретное кабельное изделие
В технических условиях на конкретное кабельное изделие указывают следующую информацию:
- число циклов вибрации, если оно иное, чем 10 000 000;
- характеристики вибрационного воздействия;
- длину пролета;
- характеристики применяемых натяжных и поддерживающего зажимов;
- усилие натяжения ОК, в том числе любое значение коэффициента превышения натяжения, если это превышение имеет место на первом этапе испытания;
- длину ОК и испытуемых ОВ (характеристики соединений ОВ, если такие соединения выполняют);
- длину волны, на которой выполняют контроль оптических потерь;
- режим вибрации/характеристики управления в ходе проведения испытания;
- разделку концов ОК;
- характеристики средств измерений, включая тип измерительного комплекта приборов и условия ввода оптического излучения;
- значения окружающей температуры и влажности в течение испытания;
- погонную массу и диаметр ОК.
25 Метод E20. Характеристики кольцеобразной укладки ОК
25.1 Цель испытания
Целью испытания является определение возможности кольцеобразной укладки и размотки из такой укладки бронированного подводного ОК в процессе прокладки.
25.2 Испытуемый образец
Образец должен иметь длину, достаточную для кольцеобразной укладки нормируемого числа витков ОК (например, 10 витков) с радиусом укладки, согласованным между изготовителем и заказчиком (потребителем). Образец для испытания отбирают от строительной длины ОК.
25.3 Испытательное оборудование
Метод испытания не требует применения испытательного оборудования, за исключением наличия плоской площадки, достаточно большой для выполнения на ней кольцеобразной укладки заданного числа витков ОК. Диаметр кольцеобразной укладки принимают с учетом минимального нормируемого диаметра укладки ОК.
25.4 Порядок проведения испытания
Испытание проводят при нормируемом значении температуры с учетом температуры окружающей среды при погрузке ОК на кабельное судно и условий прокладки, если в технических условиях на конкретный ОК не указано иное.
Образец отбирают от строительной длины ОК и укладывают в виде спирали на подходящей поверхности.
Начальный конец ОК должен быть закреплен в течение проведения испытания. Спираль укладываемого ОК формируют с учетом высоты, типовой для высоты, достигаемой при изготовлении, погрузке и прокладке ОК.
Укладку витков ОК начинают с диаметра, оговоренного изготовителем. Направление витков укладки должно быть оговорено изготовителем.
25.5 Оценка результатов
ОК должен обеспечивать его укладку в форме ровной окружности, его витки должны оставаться плоскими относительно поверхности укладки в течение всего времени его укладки по спирали. Другие требования могут быть согласованы между заказчиком (потребителем) и изготовителем.
25.6 Информация, указываемая в технических условиях на конкретное кабельное изделие
В технических условиях на конкретное кабельное изделие указывают следующую информацию:
- длину испытуемого образца;
- диаметр укладки;
- число витков;
- значение температуры.
26 Метод E21. Усилие снятия оболочки ОК, используемого для изготовления оптических шнуров
26.1 Цель испытания
Целью испытания является определение усилия, необходимого для удаления оболочки с ОК, предназначенного для изготовления оптических шнуров.
26.2 Общие положения
Настоящий метод испытания разработан для измерения усилия, необходимого для снятия оболочки с ОК. Метод может быть применен к симплексному и дуплексному ОК цилиндрической конструкции, предназначенному для изготовления оптических шнуров, или применен к цилиндрическим одноволоконным элементам или конструктивным элементам ОК больших размеров.
26.3 Испытуемый образец
От строительной длины ОК отбирают образец длиной, достаточной для крепления в испытательной оснастке стенда тяжения. Испытуемый образец разделывают, как показано на
рисунке 30, используя следующий метод.
На одном из концов образца наносят метки на расстоянии 50 и 53 мм от торца. У первой и второй метки делают разрезы оболочки по окружности, чтобы затем с этого конца ОК в ходе испытания снять участок оболочки. Затем между двумя разрезами оболочки по окружности делают продольный разрез оболочки. Удаляют участок оболочки между двумя разрезами по окружности. В случае, если в процессе разделки образца на сердечнике ОК возникает какое-либо повреждение, этот образец для испытания не используют.
26.4 Испытательное оборудование
26.4.1 Общие положения
Схема размещения образца при испытании приведена на рисунке 28.
Рисунок 28 - Схема проведения испытания
26.4.2 Оснастка для создания усилия тяжения при испытании
Для испытаний используют оборудование для возможности регулирования приложения усилия тяжения на заданном расстоянии и регулировании скорости тяжения.
26.4.3 Оборудование для регистрации результатов испытания
Для регистрации результатов испытания следует использовать комплект средств измерений, подключенный к тяговому зажиму, для регистрации усилия тяжения, требуемого для снятия оболочки с сердечника ОК. Результаты измерения регистрируются в ньютонах (Н).
26.4.4 Инструмент для разделки оболочки
Для разделки оболочки кабеля следует использовать инструмент, позволяющий удалить кольцевой участок наружной оболочки шириной 3 мм на длине 50 мм от конца ОК, не повреждая сердечник.
26.4.5 Приспособление для приложения тягового усилия
Для приложения усилия тяжения используют приспособление, аналогичное приведенному на
рисунке 29, обеспечивающее размещение в его пазу участка испытуемого ОК, с которого на длине 3 мм кольцеобразно удалена оболочка. Приспособление должно обеспечивать размещение в нем конца ОК, с разделанного конца которого в направлении оси кабеля на длине 50 мм стягивается оболочка.
1 - тяговый конец приспособления; размеры приспособления
должны быть выполнены с учетом размеров разделки испытуемого
образца; 2 - окно для ввода разделываемого конца
испытуемого ОК; 3 - ушко крепления к тяговому устройству;
конкретное исполнение определяется конструкцией
используемого тягового устройства
Рисунок 29 - Пример приспособления для приложения
к оболочке ОК усилия тяжения
26.4.6 Крепление ОК
Метод крепления должен обеспечить крепление основной длины образца ОК для приложения к его разделанному концу усилия тяжения для снятия с него участка оболочки.
26.5 Порядок проведения испытания
Разделанный конец ОК устанавливают в приспособление для приложения усилия тяжения (см.
рисунок 28), подсоединенного к механизму для тяжения. Другой конец ОК закрепляют в зажиме, исключая возникновение усилия тяжения. Затем прикладывают контролируемое значение усилия при установленной скорости тяжения. Фиксируют пиковые значения усилия тяжения при проведении каждого испытания.
26.6 Оценка результатов
Значение усилия тяжения, необходимого для стягивания (удаления) участка оболочки с сердечника ОК, должно соответствовать значению, приведенному в технических условиях на конкретный ОК.
26.7 Информация, указываемая в технических условиях на конкретное кабельное изделие
В технических условиях на конкретное кабельное изделие указывают следующую информацию:
a) степень отделения оболочки (скорость тяжения);
b) длина участка снятия оболочки, если значение отличается от приведенного в
28.4;
c) усилие снятия участка оболочки.
Рисунок 30 - Разделка испытуемого образца ОК
27 Метод E22. Перемещение ОВ с буферным покрытием при аксиальном сжатии ОК, предназначенных для изготовления оптических шнуров
27.1 Цель испытания
Целью испытания является определение изменений оптических потерь и силы реакции, когда ОВ кабеля, предназначенного для изготовления оптического шнура, перемещается в результате воздействия аксиального сжатия.
27.2 Испытуемый образец
От строительной длины ОК отбирают образец длиной не менее 5 м. На обоих концах испытуемого образца удаляют оболочку и другие элементы конструкции ОК на длине 2 м, сохраняя в середине образца оболочку на длине 1 м.
27.3 Испытательное оборудование
Испытательное оборудование состоит:
- из устройства крепления одного конца ОК без его сжатия и узла крепления ОВ в буферном покрытии, выступающего из этого конца ОК. Узел крепления должен обеспечивать возможность его перемещения по направлению к концу ОК на регулируемое расстояние (см.
рисунок 31). Фиксированное значение расстояния между узлом крепления и концом ОК должно составлять 7 мм;
- датчика для контроля значения усилия, прикладываемого к узлу крепления, с максимальной погрешностью +/- 3%;
- средства измерения оптических потерь в соответствии с МЭК 60793-1-46.
27.4 Порядок проведения испытания
| | ИС МЕГАНОРМ: примечание. В официальном тексте документа, видимо, допущена опечатка: позиции 1 и 2 на рисунке 30 отсутствуют. Возможно, имеются в виду позиции 1 и 2 на рисунке 31. | |
Один конец испытуемого образца длиной 1,0 м, содержащего оболочку, силовые элементы конструкции ОК, крепят к одной стороне устройства фиксации ОК (см.
рисунок 30, позиция 1), а выступающее ОВ в буферном покрытии закрепляют в узле крепления ОВ (см.
рисунок 30, позиция 2).
На другом конце образца длиной 1,0 м, содержащего оболочку, оболочку и ОВ склеивают друг с другом (например, эпоксидной смолой) для предотвращения возможности какого-либо перемещения ОВ относительно испытуемого образца ОК. ОВ, выходящее за границы (пределы) оболочки, подключают к средствам измерения оптических потерь (см.
рисунок 31).
1 - крепление ОК; 2 - выход ОВ и датчик усилия;

направление сжатия
Рисунок 31 - Схема испытания ОВ на перемещение при сжатии
Узел крепления ОВ перемещают по направлению к зафиксированному концу ОК на расстояние 0,4 мм или на расстояние, значение которого приведено в технических условиях на конкретный ОК.
В случае многократного перемещения узел крепления возвращают в исходное положение и снова выполняют цикл сжатия.
В процессе перемещения фиксируют изменение оптических потерь и силу реакции. Испытание проводят при температуре окружающей среды.
27.5 Оценка результатов
Значение изменения оптических потерь и значение силы реакции при заданном расстоянии компрессионного сжатия не должны превышать значений, приведенных в технических условиях на конкретный ОК. Рекомендуемое значение компрессионного перемещения - 0,4 мм.
27.6 Информация, указываемая в технических условиях на конкретное кабельное изделие
В технических условиях на конкретное кабельное изделие указывают следующую информацию:
a) расстояние компрессионного сжатия;
b) метод контроля изменения оптических потерь;
c) число циклов перемещения;
d) усилие реакции;
e) допустимое значение изменения оптических потерь.
28 Метод E23. Испытание на возможность обеспечения маршрута прокладки кабельной канализации из микротрубок
28.1 Цель испытания
Целью испытания является проверка пригодности системы кабельной канализации, состоящей из микротрубок, для прокладки в ней ОК небольшого размера.
28.2 Общие положения
Испытание предусматривает проверку проходимости по маршруту кабельной канализации из микротрубок, соответствующему заселенному району, сферического калибра диаметром, примерно равным диаметру ОК, или проверку проходимости отрезка реального ОК длиной 1 м. Успешное прохождение испытания демонстрирует, что предполагаемая трасса кабельной канализации из микротрубок не представляет опасности для прокладки по ней ОК.
28.3 Испытуемый образец
Образец представляет собой трассу кабельной канализации из микротрубок, в которых прокладывают ОК. В качестве альтернативы может быть использовано испытательное оборудование уменьшенных размеров для оценки возможности такой прокладки.
28.4 Испытательное оборудование
Испытательное оборудование состоит из: сферического калибра диаметром, приблизительно равным диаметру ОК, или отрезок готового ОК, предназначенного для прокладки; оборудования для пневмопрокладки ОК; надежного приспособления для улавливания калибра или иного прокладываемого объекта на дальнем конце трассы кабельной канализации из микротрубок.
28.5 Порядок проведения испытания
Приспособление для улавливания сферического калибра (или иного прокладываемого объекта) устанавливают на дальнем конце трассы кабельной канализации из микротрубок, вводят калибр в микротрубку и подают воздух под давлением, в соответствии с техническими условиями на конкретный ОК.
28.6 Оценка результатов
Объект должен проходить по всему маршруту кабельной канализации из микротрубки.
28.7 Информация, указываемая в протоколе
В протоколе должны быть указаны следующие данные:
- размеры объекта;
- материал объекта;
- данные микротрубки (внутренний диаметр, наружный диаметр):
длина трассы;
расположение и описание заметных изгибов (при их наличии);
размещение муфтовых соединений (при их наличии);
- характеристики сжатого воздуха:
температура;
давление;
относительная влажность.
29 Метод E24. Испытание на возможность прокладки ОК в кабельную канализацию из микротрубок
29.1 Цель испытания
Целью испытания является определение возможности прокладки оптических кабельных изделий: микрокабелей, модулей ОВ и т.п., предназначенных для применения в миниатюрных трубках или в защищенных миниатюрных трубках кабельной канализации.
29.2 Общие положения
Метод испытания предназначен для оценки характеристик пневмопрокладки оптических кабельных изделий в миниатюрные трубки или в защищенные миниатюрные трубки кабельной канализации. Условия испытания являются аппроксимацией условий прокладки, имеющих место на практике. Испытание проводят в условиях воздействия окружающей среды, в диапазоне температур выше 0 °C (для предотвращения возможного образования льда по длине трассы прокладки) и ниже 40 °C (при более высоком значении температуры отмечена быстрая деградация характеристик пневмопрокладки).
29.3 Испытуемый образец
Миниатюрная трубка или защищенная миниатюрная трубка кабельной канализации длиной, согласованной между заказчиком (потребителем) и изготовителем, маршрутизация которой выполнена в соответствии с рисунком 32. Отдельные длины трубки могут быть соединены фитингами.
Рисунок 32 - Схематическое представление маршрута
испытания, с длиной секции испытания L
Оптические кабельные изделия, предназначенные для прокладки в миниатюрных трубках кабельной канализации, длина которых равна или более длины образца миниатюрной трубки для кабельной канализации.
29.4 Испытательное оборудование
Испытательное оборудование состоит:
- из оборудования для пневмопрокладки ОК, тип которого согласован между заказчиком (потребителем) и изготовителем;
- средств измерения температуры и влажности;
- таймера;
- устройства управления скоростью прокладки (безопасность);
- устройства измерения давления (безопасность);
- измерителя расхода воздуха.
29.5 Порядок проведения испытания
Миниатюрную трубку кабельной канализации продувают воздухом в течение 10 мин для кондиционирования испытательной трассы и для того, чтобы убедиться в обеспечении стабильности потока воздуха.
Ведущий конец оптического кабельного изделия подготавливают в соответствии с инструкцией по прокладке (например, формирование буртика у торца кабельного изделия, предназначенного для прокладки в миниатюрных трубках). В случае, если это предусмотрено методом прокладки и согласовано между заказчиком (потребителем) и изготовителем, на кабельное изделие и/или на миниатюрную трубку кабельной канализации может быть нанесена смазка. Большинство видов смазок, применяемых при протяжке, не пригодно для техники пневмопрокладки. Вместо них, как правило, применяют специальные виды смазок.
Выходной конец миниатюрной трубки кабельной канализации должен быть надежно защищен от неконтролируемого и небезопасного выхода кабельного изделия.
Выполняют пневмопрокладку оптического кабельного изделия в миниатюрную трубку кабельной канализации на длине испытательной трассы, используя установленные значения давления воздуха и безопасного усилия ввода, необходимые для поддержания максимальной скорости пневмопрокладки. Прокладку ОК осуществляют непосредственно с его транспортного контейнера (т.е. с барабана, поддона и т.д.), плавно, не переходя граничные значения характеристик прокладки. В процессе испытания регистрируют через равные интервалы (как правило, через каждые 100 м) значения затраченного времени и усилия ввода.
Для обеспечения изменения скорости прокладки усилие ввода может регулироваться в определенном диапазоне.
Перед любой пневмопрокладкой ОК - пробной или реальной - критическим является "краш-тест", под которым понимают определение максимального значения усилия ввода, которое может быть приложено к ОК со стороны головки пневмопрокладки. Это испытание включает применение головки пневмопрокладки для продвижения ОК (при рекомендованной скорости прокладки ОК) по длине миниатюрной трубки кабельной канализации (как правило, 10 м). На конце миниатюрной трубки кабельной канализации предусмотрен концевой стопор. Когда ОК достигает стопора, головка пневмопрокладки должна обеспечить остановку продвижения ОК таким образом, чтобы исключить какое-либо повреждение ОК. Затем этот процесс повторяют с увеличенным усилием ввода до тех пор, пока не произойдет явное повреждение ОК. За максимальное усилие ввода ОК принимают максимальное значение усилия ввода ОК, не приводящее к его повреждению при достижении концевого стопора. Эта процедура гарантирует, что ОК не будет поврежден в случае, если он в процессе пневмопрокладки упрется в какие-либо предметы, блокирующие канал миниатюрной трубки кабельной канализации
[1].
29.6 Оценка результатов
Необходимо обеспечить соответствие следующим требованиям:
- максимально допустимое время прокладки;
- минимально допустимое расстояние прокладки.
29.7 Информация, указываемая в технических условиях на конкретное кабельное изделие
В технических условиях на конкретное кабельное изделие указывают следующую информацию:
- внутренний диаметр/наружный диаметр микротрубки кабельной канализации;
- длина участка прокладки L (100 м, если не предусмотрено иное);
- суммарная длина (1000 м, если не предусмотрено иное);
- диаметр изгиба (40 наружных диаметров микротрубки кабельной канализации, если не предусмотрено иное);
- требование относительно смазки (смазка не применяется, если не предусмотрено иное);
- давление пневмопрокладки (от 1,3 до 1,5 МПа для кабеля, прокладываемого в микротрубке, или от 0,9 до 1,0 МПа для блока микротрубок, если не предусмотрено иное);
- продолжительность прокладки;
- диапазон скоростей прокладки (от минимального значения 5 м/мин до максимального значения 60 м/мин, если не предусмотрено иное);
- система каблирования, которая подвергается испытанию.
29.8 Информация, указываемая в протоколе
В протоколе должны быть указаны следующие данные:
- описание кабельной канализации из микротрубок и системы микротрубок, испытание которых проводится;
- наружный диаметр кабельной канализации из микротрубок или размеры основной и неосновной осей для овальной трубы;
- внутренний/наружный диаметры микротрубки;
- вид поверхности микротрубки (т.е. гладкая или рифленая);
- наружный диаметр защиты микротрубки;
- длина секции трассы L;
- общая длина трассы;
- диаметр изгиба;
- смазка (при использовании);
- метод(ы) смазки (если таковая используется);
- оборудование для пневмопрокладки (указывают марки и типа);
- давление пневмопрокладки;
- усилие ввода в канализацию из микротрубок (зависит от оборудования и канализации из микротрубок);
- температура;
- влажность;
- расстояние прокладки;
- длина прокладки.
30 Метод E25. Испытание функциональности рип-корда
30.1 Цель испытания
Целью испытания является определение возможности рип-корда (нити для разреза оболочки) обеспечивать вскрытие оболочки ОК без возникновения обрыва. Испытание проводят после охлаждения ОК до минимального значения температуры, допустимой при прокладке ОК (типичное значение для оболочек, предназначенных для работы в условиях низкой температуры).
Если требуется, испытание проводят и при максимально допустимой температуре прокладки (в техническом отчете МЭК ТР 62691 рекомендовано значение температуры 50 °C). Обычно это не требуется, поскольку большинство материалов ОК имеет более низкий модуль сопротивления разрыву при высоких температурах по сравнению с модулем сопротивления разрыву при низких температурах, и соответственно применение рип-корда для вскрытия оболочки более эффективно при высоких температурах.
30.2 Испытуемый образец
Минимальная длина испытуемого образца должна быть 1,5 м. В зависимости от конструкции ОК может потребоваться образец большей длины для гарантии, что рип-корд не вытянется из образца при проведении испытания. Также, может потребоваться большая длина образца в случае, если требуемая длина разделки конца ОК будет более 100 мм.
30.3 Испытательное оборудование
Испытательное оборудование состоит из:
a) климатической камеры, для размещения испытуемого образца, температура которой контролируется с погрешностью +/- 3 °C от нормируемой температуры испытания;
b) инструмента, необходимого для разделки ОК;
c) любого устройства крепления ОК при испытании - струбцины или иные устройства.
30.4 Порядок проведения испытания
При проведении испытания выполняют следующие этапы:
a) Разделывают один конец ОК - удаляют все или часть элементов конструкции ОК поверх оболочки и саму оболочку на длине 100 мм, чтобы обеспечить доступ к рип-корду (рип-кордам).
b) Наносят метку на оболочку на длине 1 м от торца разделанного конца ОК.
c) Помещают образец в климатическую камеру. Допускается сворачивание образца в бухту для обеспечения размещения его в климатической камере.
d) Устанавливают в камере температуру, соответствующую температуре испытания [минус 15 °C, если между заказчиком (потребителем) и изготовителем не оговорено иное значение].
e) Выдерживают образец ОК в камере при заданной температуре в течение не менее 4 ч.
f) Извлекают образец из камеры и сразу же выполняют следующий этап испытания.
g) Удерживая конец рип-корда, тянут его вниз до тех пор, пока не произойдет прорезание им стенки оболочки ОК на длине 1 м и не обеспечится доступ к сердечнику ОК.
30.5 Оценка результатов
Рип-корд (рип-корды) должен прорезать оболочку ОК и при этом не оборваться.
В случае, если рип-корд оборвался до достижения метки, нанесенной на расстоянии 1 м от торца ОК, следует повторить испытание на двух дополнительных образцах той же длины. ОК считают выдержавшим испытание, если у обоих дополнительных образцов не произойдет обрыв рип-корда до достижения им метки "1 м".
В случае, если рип-корд извлекается из конца ОК без прорезания оболочки, следует повторить испытание.
30.6 Информация, указываемая в технических условиях на конкретное кабельное изделие
В технических условиях на конкретное кабельное изделие указывают следующую информацию:
- температуру(ы) испытания, если она (они) отличается(ются) от указанной выше.
30.7 Информация, указываемая в протоколе
В протоколе должны быть указаны следующие данные:
a) температура (температуры) испытания;
b) длина испытуемого отрезка;
c) конструкция ОК;
d) материал оболочки;
e) материал рип-корда;
f) число рип-кордов в ОК;
g) число испытуемых образцов;
h) результаты измерения;
i) идентификация ОК.
31 Метод E26. Галопирование (пляска) ОК
31.1 Цель испытания
Целью испытания является достижение эффектов усталости и напряжения в самонесущем ОК и в оптических характеристиках ОВ, подвергаемых типовым усилиям, возникающим при пляске ОК, каковые могут иметь место при прокладке.
31.2 Испытуемый образец
Длина испытуемого образца ОК должна быть достаточна, чтобы удалить покровы ОК за участками натяжения, для обеспечения доступа к ОВ с целью проведения оптических измерений. Испытуемый образец должен быть оконцован с обеих сторон перед его натяжением таким образом, чтобы ОВ не могли иметь осевого перемещения относительно сердечника ОК в сторону участка ОК, подвергаемого воздействию нагрузки, см.
рисунок 33.
Рисунок 33 - Схема испытания ОК на галопирование (пляска ОК)
Длина ОВ, подвергаемого испытанию как функция фиксированной длины (L1), должна быть не менее 100 м. Для достижения этого значения длины несколько ОВ могут быть соединены друг с другом таким образом, чтобы суммарная их длина [произведение числа ОВ, умноженное на фиксированную длину (L1)] составляла не менее 100 м. Сростки ОВ должны быть расположены так, чтобы оптическое измерительное оборудование можно было разместить у одного из концов ОК, допускаются и иные конфигурации. Для проведения измерений необходимо использовать, по меньшей мере, одно ОВ из каждого оптического модуля, пучка ОВ или группы ОВ.
31.3 Испытательное оборудование
Типовая схема испытания на галопирование ОК приведена на
рисунке 33. Испытуемый образец надежно крепят на каждом конце с применением подходящих натяжных зажимов или иных приспособлений, обеспечивающих соответствие применяемому усилию натяжения в аксиальном направлении для моделирования самонесущей подвески ОК. Другие сборки используются для крепления ОК в вертикальной и горизонтальной плоскостях, в точках вблизи от концов ОК, для обеспечения отделения длины ОК, подвергаемой воздействию галопирования (фиксированная длина). В этих точках на каждом конце образца ОК обеспечивается фиксация длины ОК, подвергаемой галопированию, и приложение усилия натяжения, которое может быть комбинированным или автономным. В любом случае длина ОК, подвергаемая воздействию галопирования, должна быть исключена из секции длины ОК, подвергаемой натяжению - так, как описано ниже, и не должна оказывать воздействия на приложение усилия натяжения ОК.
Для контроля усилия натяжения ОК следует применять поверенные устройства - такие, как динамометр, датчик усилия натяжения, или балку натяжения. Требуемые усилия натяжения рассмотрены в
33.4 под наименованием "Критерии нагрузки".
Фиксированное значение длины (L1) должно быть не менее 35 м, на ней должен быть установлен поддерживающий зажим, располагаемый примерно посередине между двумя натяжными зажимами. Поддерживающий зажим должен быть расположен на такой высоте, чтобы статический угол провеса ОК относительно горизонтали не превышал 5° в направлении активной секции (L2).
Возбудитель вибрации с электронным управлением должен быть установлен так, чтобы возбуждать колебания ОК в вертикальной плоскости. Возбудитель вибрации должен быть надежно скреплен с ОК таким образом, чтобы он располагался перпендикулярно к ОК в вертикальной плоскости и не влиял на приложение усилия натяжения вдоль длины ОК, подвергаемой испытанию. Необходимо контролировать амплитудное значение середины образуемой полуволны (антиузел) одиночной волны галопирования. Минимальное пиковое значение амплитуды волны должно составлять одну двадцать пятую часть длины активного пролета. Частота испытания должна соответствовать резонансному значению частоты одиночной полуволны.
31.4 Порядок проведения испытания
ОК должен быть подвергнут воздействию не менее 100 000 циклов галопирования. Испытание представляет собой воздействие одиночной волны резонансной частоты для условия галопирования. Соотношение минимального амплитудного значения антиузла к длине волны должно быть равным 1/25, таким же, как измеряемое значение на активном пролете (L2).
Уровень источника оптического излучения должен быть разделен через делитель оптической мощности (сплиттер) на два сигнала. Один из сигналов должен подаваться на измеритель оптической мощности и использоваться в качестве опорного значения уровня. Другой сигнал должен подаваться на конец испытуемого ОВ. Прошедший через ОВ оптический сигнал должен быть подан на 2-й измеритель оптической мощности. Все оптические разъемные соединения и сростки ОВ не должны расстыковываться в течение всего испытания.
Критерий нагрузки:
ОК должен быть подвергнут усилию натяжения до значения, при котором обеспечивается возникновение эффекта галопирования на испытательном стенде (одна одиночная полусинусоидальная волна, см.
рисунок 33). Рекомендуемое значение усилия 5% от MAT (Maximum Allowable Tension, максимально допустимое усилие натяжения) для кабеля типа OPGW (ОК, встроенный в грозозащитный трос) или 50% от MIT (Maximum Installation Tension, максимальное усилие натяжения при подвеске) для кабеля типа ADSS (диэлектрический самонесущий ОК).
В то же время следует учитывать длину секции в испытательном стенде и использовать соответствующее меньшее значение.
Необходимо выполнять следующие оптические измерения:
a) провести начальное измерение уровня каждого оптического сигнала.
Примечание - Разницу между уровнями двух сигналов при начальном измерении следует принять за базовое значение. Изменение этой разницы уровней в процессе испытания свидетельствует об изменении затухания испытуемого ОВ. Значения уровней сигналов могут быть выведены на самописец для непрерывного сбора данных в ходе испытания;
b) на испытуемый образец должно воздействовать усилие натяжения в соответствии с критериями нагрузки, приведенными выше. После возникновения галопирования через каждые 2000 циклов галопирования следует регистрировать значения затухания и контролировать физическое состояние образца;
c) конечные оптические измерения следует выполнить по окончании 100 000 циклов испытания, обеспечив выдержку для стабилизации в течение не менее 2 ч.
31.5 Оценка результатов
Не должно возникнуть повреждений элементов конструкции ОК, видимых при внешнем осмотре. Максимальное значение прироста оптических потерь не должно превышать значения, установленного в технических условиях на конкретный ОК.
31.6 Информация, указываемая в технических условиях на конкретное кабельное изделие
В технических условиях на конкретное кабельное изделие указывают следующую информацию:
a) нормируемое максимальное значение усилия натяжения;
b) значение MCRL (Maximum Cable Rated Load, максимальное нормируемое значение нагрузки);
c) допускаемое значение приращения оптических потерь в процессе испытания.
Таблица 3
Значения длин при испытании ОК на галопирование
Размер | Наименование | Значение |
L1 | Фиксированная длина | >= 30 м |
L2 | Активный пролет | |
L3 | Последующий пролет | |
L4 | Длина шлейфа ОВ | |
| Угол статического провеса | <= 1° |
<1> L2 и L3 примерно равны. <2> Длина определяется необходимостью обеспечения нормируемой характеристики пляски проводов, зависящей от значений L1 до L3 . |
32 Метод E27. Испытание по моделированию прокладки ОК внутренней прокладки
32.1 Общие положения
Метод испытания - в стадии рассмотрения.
32.2 Цель испытания
Цель настоящего испытания - моделирование внутренней прокладки ОК, содержащих одномодовые или многомодовые ОВ, при наличии углов, крепления ОК степлерами, организации запасов длин ОК. Настоящее испытание является более жестким, чем требования традиционной прокладки ОК и предназначено для демонстрации уровня прочности испытуемых ОК.
Примечание - Данный метод испытания предназначен в основном для оценки характеристик ОК, содержащих ОВ, стойкие к воздействию изгибов. ОК внутренней прокладки, содержащие другие типы ОВ, не предназначены для выполнения требований, связанных с проведением данного испытания.
32.3 Испытуемый образец
В стадии рассмотрения.
32.4 Испытательное оборудование
В стадии рассмотрения.
32.5 Порядок проведения испытания
В стадии рассмотрения.
32.6 Оценка результатов
В стадии рассмотрения.
32.7 Информация, указываемая в технических условиях на конкретное кабельное изделие
В стадии рассмотрения.
Рисунок 34 - Испытание по моделированию прокладки ОК
внутренней прокладки
В стадии рассмотрения.
33 Метод E28. Испытание механической надежности ОК и ОВ
33.1 Цель испытания
Цель настоящего испытания - моделирование нагрузок на ОК - чередующихся усилий натяжения и изгиба. ОК, огибающий угол, подвергается более высокой нагрузке натяжения, чем остаточная нагрузка вследствие долговременно воздействующего натяжения, что обеспечивает проведение ускоренного испытания ОК. Настоящее испытание предназначено для ОК, содержащих небольшое число ОВ. Наиболее известны среди таких ОК симплексные и дуплексные ОК, однако могут подвергаться испытанию и ОК с другим числом ОВ - с максимальным числом ОВ, равным 4 или 6.
33.2 Испытуемый образец
Испытуемые образцы ОК должны соответствовать типу, установленному в технических условиях на конкретный ОК. Образец должен иметь достаточную длину для его размещения в испытательном оборудовании, включая длину, подвергаемую испытанию, для используемого способа крепления образца (к оправкам и др.), а также для проведения оптических измерений применяемым методом.
33.3 Испытательное оборудование
Испытательное оборудование должно обеспечивать подвеску образца ОК в конфигурации с прохождением через угол изгиба 90°. Образец должен быть натянут за счет подвески груза на вертикальном участке испытуемого образца. Диаметр углового изгиба должен жестко контролироваться, и устройство углового изгиба не должно врезаться в ОК при его натяжении. Соответствие этому требованию обеспечивается за счет применения металлического стержня или аналогичного изделия на участке изменения направления ОК. Типовая схема испытательного устройства приведена на рисунке 35.
Рисунок выполнен не в масштабе
Рисунок 35 - Схема устройства для испытания
на механическую надежность
Метод подключения к обоим концам ОК - закрепляемого (фиксируемого) и конца, к которому подвешивается груз - является определяющим для успешного проведения испытания. ОК и его ОВ должны быть надежно скреплены друг с другом. Оболочка ОК не должна растягиваться или смещаться [см.
процедуру испытания, перечисление a)]. Одним из методов крепления ОК, отвечающих данным требованиям, является крепление с применением намотки в виде "восьмерки" на соответствующую оправку (см.
рисунок 35).
33.4 Порядок проведения испытания
Испытуемый образец ОК, не содержащий соединений, должен быть подвешен вертикально и переходить на горизонтальный участок, огибая стержень, выполняющий роль угла. Для обеспечения нормируемого значения натяжения ОК к нему должен быть подвешен груз:
a) горизонтальный участок ОК должен быть закреплен так, чтобы не происходило смещения оболочки и чтобы ОВ были бы скреплены с другими элементами конструкции ОК. Одним из подходящих способов крепления ОК является его намотка вокруг оправки. ОК должен быть размещен на крепежной платформе так, чтобы его ось участка "оправка - стержень" составляла угол 90° по отношению к стержню;
| | ИС МЕГАНОРМ: примечание. Текст дан в соответствии с официальным текстом документа. | |
b) диаметр стержня должен составлять

;
c) груз массой, эквивалентной 1,5-кратному значению длительно допустимой нагрузки, должен быть закреплен на вертикальном участке ОК. Значение нагрузки следует увеличивать постепенно, для предотвращения повреждения оболочки. Крепление ОК с фиксацией составляющих его ОВ и конструктивных элементов может быть выполнено в форме "восьмерки" на соответствующей оправке или устройстве;
d) продолжительность испытания - 30 сут.
33.5 Оценка результатов
Повреждением считают обрыв ОВ или повреждение наружной оболочки ОК, видимых при внешнем осмотре.
33.6 Информация, указываемая в технических условиях на конкретное кабельное изделие
В технических условиях на конкретное кабельное изделие указывают следующую информацию:
- тип испытуемого ОК;
- нормируемое значение длительной нагрузки;
- испытательная нагрузка, если она отличается от приведенной выше;
- продолжительность испытания, если она отличается от указанной выше.
(справочное)
СВЕДЕНИЯ О СООТВЕТСТВИИ ССЫЛОЧНЫХ МЕЖДУНАРОДНЫХ СТАНДАРТОВ
НАЦИОНАЛЬНЫМ СТАНДАРТАМ
Таблица ДА.1
Обозначение ссылочного международного стандарта | Степень соответствия | Обозначение и наименование соответствующего национального и межгосударственного стандарта |
IEC 60227-2 | IDT | ГОСТ IEC 60227-2-2012 "Кабели с поливинилхлоридной изоляцией на номинальное напряжение до 450/750 В включительно. Часть 2. Методы испытаний" |
IEC 60793-1-22:2001 | IDT | |
IEC 60793-1-32:2010 | IDT | ГОСТ Р МЭК 60793-1-32-2010 "Волокна оптические. Часть 1-32. Методы измерений и проведение испытаний. Снятие защитного покрытия" |
IEC 60793-1-40 | IDT | |
IEC 60793-1-46:2001 | IDT | ГОСТ Р МЭК 60793-1-46-2014 "Волокна оптические. Часть 1-46. Методы измерений и проведение испытаний. Контроль изменений коэффициента оптического пропускания" |
IEC 60794-1-1 | - | |
IEC 60794-1-2:2013 | IDT | |
IEC 60794-1-20:2014 | - | |
IEC 60794-1-22:2012 | IDT | ГОСТ Р МЭК 60794-1-22-2017 "Кабели оптические. Часть 1-22. Общие технические требования. Основные методы испытаний оптических кабелей. Методы испытаний на воздействия внешних факторов" |
IEC TR 62691 | - | |
IEC 61300-2-44 | - | |
<*> Соответствующий национальный стандарт отсутствует. Примечание - В настоящей таблице использовано следующее условное обозначение степени соответствия стандартов: - IDT - идентичные стандарты. |
--------------------------------
| Installation of Mini-Cables: factors that influence the installation performance of minicables, SUTEHALL. R. et al, Proceedings of the 59th IWCS Conference |
[Прокладка миникабелей. Факторы, влияющие на процесс прокладки миникабелей, Р. Сютхал и др., доклад на 59-й конференции (Международный симпозиум по кабелям и коммуникационному оборудованию) представлен на сайте http://www.iwcs.org/] |
УДК 681.7.068:006.354 | |
Ключевые слова: кабели оптические, испытательное оборудование, образцы, метод испытаний, механические испытания |