Главная // Актуальные документы // ГОСТ Р (Государственный стандарт)СПРАВКА
Источник публикации
М.: Стандартинформ, 2020
Примечание к документу
Документ
введен в действие с 01.01.2021.
Название документа
"ГОСТ Р 58991-2020. Национальный стандарт Российской Федерации. Аппараты турбин сопловые. Методы определения пропускной способности"
(утв. и введен в действие Приказом Росстандарта от 28.08.2020 N 589-ст)
"ГОСТ Р 58991-2020. Национальный стандарт Российской Федерации. Аппараты турбин сопловые. Методы определения пропускной способности"
(утв. и введен в действие Приказом Росстандарта от 28.08.2020 N 589-ст)
Утвержден и введен в действие
Приказом Федерального
агентства по техническому
регулированию и метрологии
от 28 августа 2020 г. N 589-ст
НАЦИОНАЛЬНЫЙ СТАНДАРТ РОССИЙСКОЙ ФЕДЕРАЦИИ
АППАРАТЫ ТУРБИН СОПЛОВЫЕ
МЕТОДЫ ОПРЕДЕЛЕНИЯ ПРОПУСКНОЙ СПОСОБНОСТИ
Turbine nozzles. Methods for nozzle capacity detection
ГОСТ Р 58991-2020
Дата введения
1 января 2021 года
1 РАЗРАБОТАН Федеральным государственным унитарным предприятием "Центральный институт авиационного моторостроения имени П.И. Баранова" (ФГУП "ЦИАМ им. П.И. Баранова")
2 ВНЕСЕН Техническим комитетом по стандартизации ТК 323 "Авиационная техника"
3 УТВЕРЖДЕН И ВВЕДЕН В ДЕЙСТВИЕ Приказом Федерального агентства по техническому регулированию и метрологии от 28 августа 2020 г. N 589-ст
4 ВВЕДЕН ВПЕРВЫЕ
Правила применения настоящего стандарта установлены в статье 26 Федерального закона от 29 июня 2015 г. N 162-ФЗ "О стандартизации в Российской Федерации". Информация об изменениях к настоящему стандарту публикуется в ежегодном (по состоянию на 1 января текущего года) информационном указателе "Национальные стандарты", а официальный текст изменений и поправок - в ежемесячном информационном указателе "Национальные стандарты". В случае пересмотра (замены) или отмены настоящего стандарта соответствующее уведомление будет опубликовано в ближайшем выпуске ежемесячного информационного указателя "Национальные стандарты". Соответствующая информация, уведомление и тексты размещаются также в информационной системе общего пользования - на официальном сайте Федерального агентства по техническому регулированию и метрологии в сети Интернет (www.gost.ru)
Настоящий стандарт распространяется на сопловые аппараты (СА) турбин газотурбинных двигателей (ГТД) и устанавливает методы определения их пропускной способности на этапе опытно-конструкторских работ (ОКР), в серийном производстве и ремонте.
В настоящем стандарте использованы нормативные ссылки на следующие стандарты:
ГОСТ 23537 Лопатки авиационные осевых компрессоров и турбин. Термины и определения
ГОСТ Р 2.601 Единая система конструкторской документации. Эксплуатационные документы
ГОСТ 8.586.1 Государственная система обеспечения единства измерений. Измерение расхода и количества жидкостей и газов с помощью стандартных сужающих устройств
ГОСТ Р 8.674 Общие требования к средствам измерений и техническим системам и устройствам с измерительными функциями
Примечание - При пользовании настоящим стандартом целесообразно проверить действие ссылочных стандартов в информационной системе общего пользования - на официальном сайте Федерального агентства по техническому регулированию и метрологии в сети Интернет или по ежегодному информационному указателю "Национальные стандарты", который опубликован по состоянию на 1 января текущего года, и по выпускам ежемесячного информационного указателя "Национальные стандарты" за текущий год. Если заменен ссылочный стандарт, на который дана недатированная ссылка, то рекомендуется использовать действующую версию этого стандарта с учетом всех внесенных в данную версию изменений. Если заменен ссылочный стандарт, на который дана датированная ссылка, то рекомендуется использовать версию этого стандарта с указанным выше годом утверждения (принятия). Если после утверждения настоящего стандарта в ссылочный стандарт, на который дана датированная ссылка, внесено изменение, затрагивающее положение, на которое дана ссылка, то это положение рекомендуется применять без учета данного изменения. Если ссылочный стандарт отменен без замены, то положение, в котором дана ссылка на него, рекомендуется применять в части, не затрагивающей эту ссылку.
3 Термины, определения и сокращения
3.1 В настоящем стандарте применены термины по ГОСТ 23537, а также следующие термины с соответствующими определениями:
3.1.1 продувка: Испытание/исследование соплового аппарата на газодинамическом стенде.
3.1.2 проливка: Испытание/исследование соплового аппарата на гидравлическом стенде.
3.1.3 пакет (пакет секторных лопаток): Модель соплового аппарата турбины, состоящая из нескольких натурных лопаток, собранных в сектор, предназначенная для проведения исследований теплового состояния лопаток и пропускной способности СА на газодинамическом стенде.
3.1.4 число Рейнольдса Re: Безразмерный параметр, определенный с использованием хорды лопаток на среднем радиусе и параметров потока газа на выходе при изоэнтропическом истечении.
3.2 В настоящем стандарте применены следующие сокращения:
ВП - верхний предел измерений;
ИЗ - измеряемое значение;
КИМ - координатно-измерительная машина;
НА - направляющий аппарат;
СР - спрямляющая решетка.
4 Общие технические требования
4.1 На различных этапах исследования, изготовления и ремонта СА для контроля пропускной способности могут быть использованы три метода:
- продувка СА;
- проливка СА;
- контроль размеров узких (горловых) сечений каналов СА.
4.2 Метод продувки позволяет получить данные о пропускной способности СА, близкой к достоверной величине, и может быть использован для всех изготавливаемых СА.
4.3 Проливка СА позволяет выполнить косвенный контроль стабильности пропускной способности межлопаточных каналов неохлаждаемых СА, изготавливаемых в серийном производстве и/или после ремонта выявить качественные отличия пропускной способности исследуемых СА от пропускной способности эталонного СА.
4.4 При использовании метода проливки СА разработчик самостоятельно определяет методику определения пропускной способности СА и ее допустимую погрешность; полученные результаты представительны только для разработчика.
4.5 Пропускная способность СА, используемого в качестве контрольного образца (эталона), должна быть определена продувкой.
4.6 Метод контроля геометрических размеров узких (горловых) сечений следует применять в процессе изготовления и ремонта СА с целью соблюдения отдельных размеров, обеспечивающих получение заданной чертежом точности площади каналов СА и точности позиционирования лопаток.
4.7 Метод контроля пропускной способности СА при его изготовлении и ремонте разработчик технической документации согласовывает с головным предприятием-изготовителем при передаче ГТД в серийное производство.
5 Требования к определению пропускной способности СА методом его продувки на газодинамическом стенде
5.1 Метод основан на экспериментально-расчетном определении пропускной способности СА на газодинамическом стенде на режимах по приведенной изоэнтропической скорости истечения газового потока из СА, соответствующих расчетным режимам работы СА в натурных условиях в составе ГТД.
5.2 Данный метод определения пропускной способности предполагает, что СА работает в области автомодельности по числу Рейнольдса (Re > 3,0·105).
5.3 Допускается проводить определение пропускной способности не кольцевого (полноразмерного) СА, а секторного, состоящего из нескольких лопаток СА, собранных в составе экспериментального пакета. Минимальное количество лопаток в пакете - 5 шт.
5.4 Пропускную способность СА Aт, (кг/с)·(К1/2/Па), вычисляют по следующей формуле:

(1)
где Gг.г - расход газовоздушной смеси в узком (горловом) сечении СА, кг/с;
- полное давление газа на входе в СА, Па;

- полная температура газа в узком (горловом) сечении СА, К.
Расход газовоздушной смеси в узком (горловом) сечении СА вычисляют по следующей формуле:

(2)
где Gr0 - расход газа на входе в СА, кг/с;
i - количество независимых подводов охлаждающего воздуха к СА;
xi - доля расхода охлаждающего воздуха i-го подвода, выпускаемого в СА с поверхностей лопаток и торцевых поверхностей до узких (горловых) сечений;
Gохлi - расход охлаждающего воздуха через i-й независимый подвод, кг/с.
Температуру газовоздушной смеси в узком (горловом) сечении СА вычисляют по следующей формуле:

(3)
где
- полная температура газа на входе в СА, К;

- полная температура охлаждающего воздуха в
i-м независимом подводе, К;
Cp охл i - изобарная теплоемкость охлаждающего воздуха при температуре

, Дж/(кг·К);
Cp0 - изобарная теплоемкость газа при температуре

, Дж/(кг·К).
В
приложении А приведены рекомендуемые формулы для определения изобарных теплоемкостей.
5.5 Определение пропускной способности СА следует проводить на режимах работы по приведенной изоэнтропической скорости истечения потока и начальных углов натекания потока на СА, соответствующих расчетным режимам работы СА в составе ГТД, для которых определяется пропускная способность.
5.6 При определении пропускной способности СА в модельных условиях в составе пакета секторных лопаток, с целью формирования подвода газа к СА под заданным начальным углом натекания необходимо вносить изменения в пакет секторных лопаток и конструктивные элементы стенда. Допускается использование НА для формирования заданного начального угла натекания потока на СА с обязательным контролем (измерениями) параметров газового потока перед СА (углов натекания, полного давления). Данные по пропускной способности СА, полученные при продувке пакетов в модельных условиях, рекомендуется использовать для валидации математических моделей, применяемых для расчета турбин на натурных режимах работы ГТД.
5.7 Режим работы СА по приведенной изоэнтропической скорости истечения потока следует определять по полному давлению на входе в СА и статическому давлению на выходе (в случае использования пакета секторных лопаток - по статическому давлению в затопленном пространстве за пакетом).
5.8 Количество независимых подводов охлаждающего воздуха к СА (к пакету секторных лопаток) должно быть столько, сколько имеется независимых подводов охлаждающего воздуха в одну лопатку СА в составе ГТД. Подвод охлаждающего воздуха к пакетному или полноразмерному СА должен быть подобен подводу охлаждающего воздуха к СА в составе ГТД.
5.9 Доля расхода охлаждающего воздуха i-го подвода xi, выпускаемого в СА до узких (горловых) сечений, определяется разработчиком расчетным путем.
5.10 Определение пропускной способности СА продувкой пакета секторных лопаток на газодинамическом стенде не позволяет получить достоверное значение пропускной способности СА, соответствующее пропускной способности СА в составе ГТД. Это связано с возникновением следующих систематических погрешностей при продувке пакета секторных лопаток:
- отсутствие строгой периодичности параметров потока вдоль шага лопаток на выходе из пакета;
- возможная неравномерность параметров потока на входе в пакет в сечении, перпендикулярном к условной оси турбины;
- отсутствие радиального градиента давления на выходе из пакета;
- невозможность создать достоверный радиальный градиент давления на выходе из пакета;
- использование расчетных значений параметров выпускаемого воздуха в проточную часть СА до узкого (горлового) сечения;
- возможное отсутствие моделирования соотношения полных температур охлаждающего воздуха и натекающего на лопатки газового потока, соответствующее натурному соотношению полных температур при работе СА в составе ГТД;
- возможное отсутствие моделирования некоторых выпусков охлаждающего воздуха в проточную часть пакета, которые реализуются в СА в составе ГТД.
5.11 Для повышения достоверности определения пропускной способности СА целесообразно проводить определение пропускной способности СА при его испытании на автономном газодинамическом стенде в составе натурной турбины в модельных условиях.
При данном испытании необходимо моделировать:
- режим работы турбины по степени расширения

;
- кинематический параметр турбины Y;
- выпуски охлаждающего воздуха в проточную часть, как по их достоверному соответствию выпускам охлаждающего воздуха в турбине в составе ГТД, так и по достоверному соотношению полных температур и полных давлений охлаждающего воздуха в турбинных полостях и газового потока на входе в СА.
5.12 Перечень обязательных измеряемых параметров для определения пропускной способности СА:
- полное давление газа на входе в СА

, Па;
- полная температура газа на входе в СА

, К;
- расход газа на входе в СА Gг0, кг/с;
- статическое давление газа на выходе из СА Pт, Па;
- расход охлаждающего воздуха по каждому i-му подводу Gохлi, кг/с;
- температура охлаждающего воздуха по каждому
i-му подводу
, К;
- полное давление охлаждающего воздуха по каждому
i-му подводу

, бар.
5.13 Измерение расхода газа/охлаждающего воздуха при помощи мерных шайб/сопел следует проводить в соответствии с
ГОСТ 8.586.1.
При использовании иного специализированного оборудования для измерения расхода газа/охлаждающего воздуха, к нему должен быть приложен комплект эксплуатационной документации (см. приложение Б,
Б.8).
5.14 Определение пропускной способности СА следует выполнять с учетом методических погрешностей измерений.
5.15 Требования к помещениям и оборудованию испытательного газодинамического стенда приведены в
приложении Б.
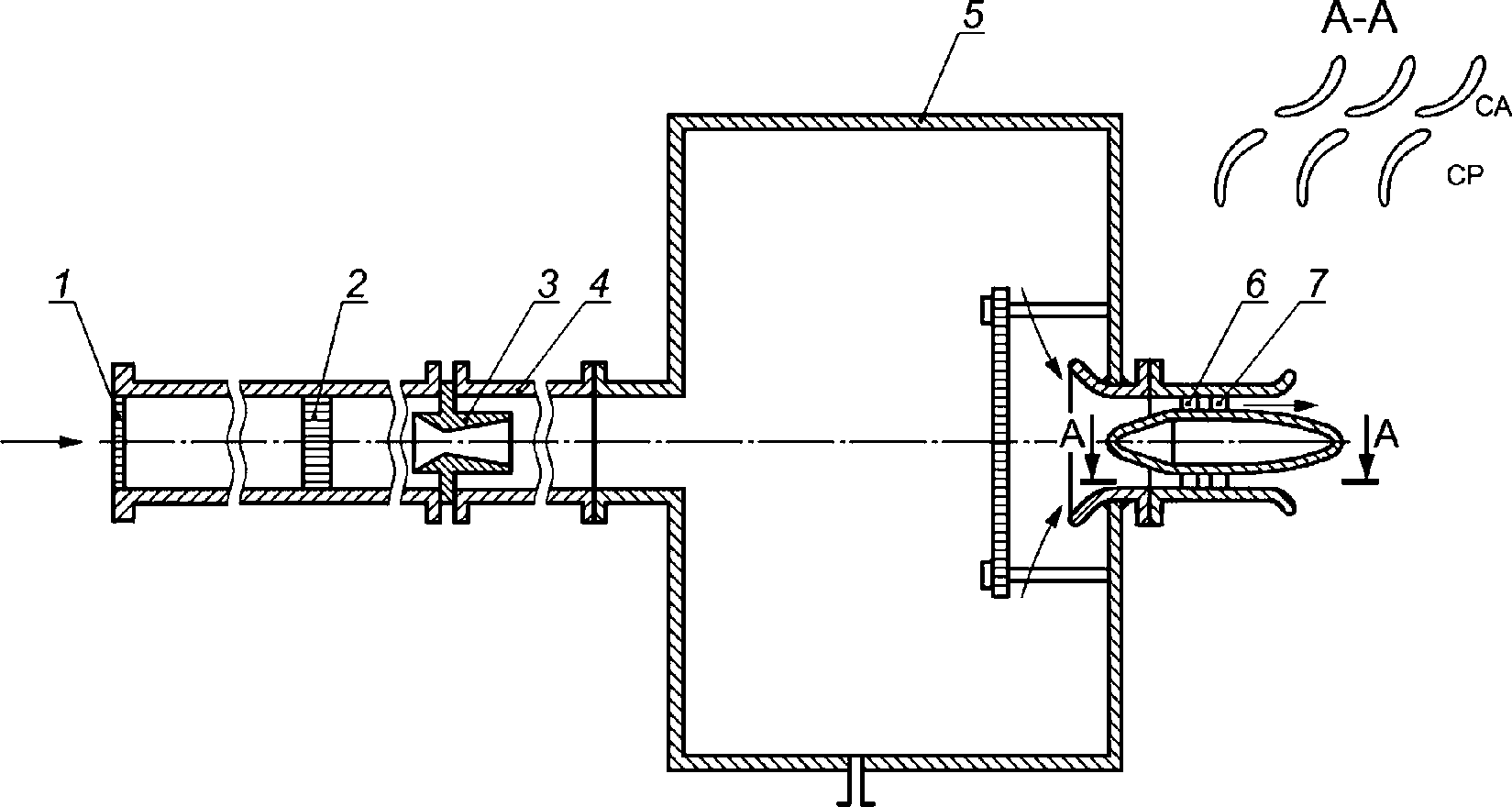
Возможная схема стенда для газодинамического определения пропускной способности СА приведена на рисунке 1.
1 - сетка; 2 - секция струевыпрямителя (хонейкомб);
3 - мерный участок; 4 - участок для измерения расхода газа;
5 - ресивер; 6 - СА; 7 - СР
Рисунок 1 - Возможная схема газодинамического стенда
для определения пропускной способности СА
5.16 Приспособление для продувки (пакет), в котором закрепляется СА, должно обеспечить герметичность стыков на входе в СА и стыков трактовых поверхностей проточной части, чтобы исключить перепуск измеренного в мерном участке расхода воздуха мимо узких (горловых) сечений межлопаточных каналов.
5.17 Для контроля затеканий газа в отверстия перфорации испытание охлаждаемого СА необходимо проводить при заданных расходах охлаждающего воздуха по каждому i-му независимому подводу при обязательном измерении полного давления, полной температуры и расхода в i-м независимом канале.
6 Требования к контролю геометрических размеров узких сечений каналов СА
6.1 Контроль геометрических размеров узких (горловых) сечений каналов СА следует использовать на этапе ОКР и при установившемся серийном изготовлении СА турбин при условии, что определенное количество СА из партии, согласованное между разработчиком технической документации и изготовителем, обязательно контролируется продувкой в соответствии с требованиями, приведенными в
разделе 5.
6.2 Контроль площади узких (горловых) сечений СА с использованием КИМ необходимо применять для контрольных (эталонных) СА или для СА, прошедших испытания в системе ГТД, обеспечивших получение необходимых параметров.
6.3 Для контроля площади проходных сечений СА в установившемся серийном производстве используют параметры:
H, 
,

, характеризующие площадь межлопаточного канала (см.
рисунок 2).
1 - ось входных кромок; 2 - угол деления; 3 - вертикальная
плоскость (ось радиуса лопатки); 4 - ось симметрии канала;
5 - ось выходной кромки; 6 - стык по полкам;
H - расстояние между наружной и внутренней полками;

,

- минимальные диаметры вписанных окружностей
между спинкой и корытом профиля (в корневом и периферийном
цилиндрическом сечении пера)
Рисунок 2 - Схема межлопаточного канала
Для лопаток с конфузорным межлопаточным каналом и выходом охлаждающего воздуха в выходную кромку горло решетки может располагаться у выходной кромки или на некотором расстоянии от нее в глубине канала при наличии у выходной кромки диффузорного участка.
6.4 Контроль площади проходных сечений СА в установившемся серийном производстве может быть выполнен с помощью измерительного суммирующего устройства, показывающего отклонение площади измеряемого канала от площади соответствующего ему проходного сечения с абсолютной погрешностью измерения до +/- 1 мм2.
6.5 Измерительное суммирующее устройство должно соответствовать
ГОСТ Р 8.674.
6.6 Перед измерением узких (горловых) сечений СА измерительное суммирующее устройство настраивается по проходному сечению контрольного образца (эталона) СА, при этом индикатор должен иметь нулевое показание. Измерительным устройством следует провести трехкратное измерение параметров узких сечений каналов контрольного СА. Отклонение измеренной площади контрольного СА (эталона) не должно превышать 30% допуска на площадь СА.
6.7 Сопловые аппараты всех ступеней турбины должны иметь контрольные образцы (эталоны).
6.8 Контроль площади проходных сечений СА в опытном производстве с использованием устройств для дискретного измерения узкого сечения (горла) решетки лопаток

на выбранном диаметре или высоте канала
H осуществляется следующим образом (метод контроля геометрических размеров):
- устанавливается измерительное устройство (кулисный или рычажный механизм, индуктивный датчик и т.д.) в горле решетки так, чтобы его опора касалась выходной кромки со стороны корыта профиля; покачиванием по индикатору подбирается положение противоположной радиусной стороны решетки так, чтобы при касании спинки профиля соседней лопатки, прилегающей к данному каналу, показание индикатора было минимально. Измерения

повторяются в ряде сечений на выбранных диаметрах или высотах канала
Hi и далее во всех каналах СА. Допускается измерения

проводить калибрами;
- измеряется высота каналов (допускается использовать расчетную высоту каналов);
- рассчитывается площадь узкого (горлового) сечения одного канала СА
Si, мм
2, по результатам измерений

и
Hi по следующей формуле:

(4)
где i - номер радиуса/высоты канала СА, на котором проводились измерения;
Hi - радиус/высота, соответствующая

, мм;

- размер узкого (горлового) сечения на
i-м радиусе/высоте, мм;
- рассчитывается площадь узкого (горлового) сечения СА по следующей формуле:

(5)
6.9 Площадь узкого (горлового) сечения СА, определенная методом контроля геометрических размеров (см.
6.8), должна приводиться вместе с погрешностью ее определения (косвенная погрешность измерения).
6.10 Метод определения площади проходных сечений СА с использованием устройств для дискретного измерения узкого сечения (см.
6.8) может использоваться в установившемся серийном производстве. Применяемое измерительное устройство и/или измерительные калибры должны соответствовать
ГОСТ Р 8.674. Абсолютная погрешность измерения площади проходного сечения одного канала СА не должна превышать +/- 1 мм
2.
(рекомендуемое)
ФОРМУЛЫ ДЛЯ ОПРЕДЕЛЕНИЯ ИЗОБАРНЫХ ТЕПЛОЕМКОСТЕЙ
К РАСЧЕТУ ТЕМПЕРАТУРЫ ГАЗОВОЗДУШНОЙ СМЕСИ
В УЗКОМ (ГОРЛОВОМ) СЕЧЕНИИ СА
А.1 Теплоемкости газа/охлаждающего воздуха/газовоздушной смеси Cp, Дж/(кг·К), вычисляют по следующим формулам:

(А.1)

(А.2)
где

- коэффициент избытка воздуха;
T* - полная температура газа/охлаждающего воздуха/газовоздушной смеси, К.
А.2
Формула (А.1) используется для определения изобарной теплоемкости при температуре газа/охлаждающего воздуха/газовоздушной смеси
T* < 700 К;
формула (А.2) - при
T* >= 700 К
.
А.3
Формулы (А.1) и
(А.2) составлены таким образом, чтобы выполнялась следующая зависимость:

(А.3)
где

- изменение полной энтальпии газа/охлаждающего воздуха/газовоздушной смеси при переходе из состояния 1 в состояние 2, Дж/кг;

,

- изобарные теплоемкости газа/охлаждающего воздуха/газовоздушной смеси в состояниях 2 и 1 соответственно, Дж/(кг·К);

,

- полные температуры газа/охлаждающего воздуха/газовоздушной смеси в состояниях 2 и 1 соответственно, К.
А.4 При работе газодинамического стенда с подогревом основного воздушного потока в камере сгорания (без подмешивания воздуха с газом на участке от камеры сгорания до СА), работающей на керосине, коэффициент избытка воздуха может быть определен с использованием следующих формул:

(А.4)

(А.5)
где Gт - расход топлива, поступающего в камеру сгорания, кг/с.
А.5
Формула (А.4) используется для определения коэффициента избытка воздуха в основном газовом потоке на входе в СА,
формула (А.5) - в охлаждающем воздухе
i-го независимого подвода.
(обязательное)
ТРЕБОВАНИЯ К ПОМЕЩЕНИЯМ И ОБОРУДОВАНИЮ
ИСПЫТАТЕЛЬНОГО ГАЗОДИНАМИЧЕСКОГО СТЕНДА
Б.1 Определение пропускной способности СА возможно, как на стенде, работающем при избыточном давлении на входе, так и при атмосферном давлении на эксгаустер.
Б.2 Помещение бокса, кабины наблюдения и помещение для размещения контрольно-измерительной аппаратуры должны отвечать требованиям действующих санитарных и противопожарных норм.
Б.3 Система шумоглушения должна обеспечивать в производственных помещениях с нормируемыми уровнями шума, на территории предприятия и на территории, прилегающей к предприятию, уровни звукового давления в соответствии с требованиями санитарных норм.
Б.4 Система воздухоподвода должна обеспечивать бесперебойную подачу воздуха заданных параметров к решетке в течение всего этапа испытаний.
Б.5 Система воздухоотвода должна обеспечивать бесперебойный отвод воздуха от решетки (при поддержании за ней заданного давления) в систему шумоглушения или в эксгаустерный трубопровод.
Б.6 Система аварийного останова должна обеспечивать быстрое выключение подачи воздуха в рабочую часть стенда за время не более 1 с.
Б.7 Действующая на стенде автоматизированная система управления технологическим процессом испытания на базе ЭВМ должна обеспечивать:
- автоматическое измерение параметров исследуемой решетки и стендовых систем;
- математическую обработку результатов испытаний;
- управление режимами испытаний;
- информацию о состоянии стендовых систем;
- слежение за аварийными параметрами, сигнализацию и блокировку;
- градуировку измерительных систем;
- самоконтроль системы;
- требуемую надежность функционирования системы;
- автоматическую фиксацию времени, даты и режима испытания.
Б.8 Стенд должен быть оснащен комплектом контрольно-измерительной аппаратуры для автоматического измерения и регистрации параметров. К контрольно-измерительной аппаратуре должна быть приложена следующая эксплуатационная документация согласно
ГОСТ Р 2.601:
- паспорт;
- формуляр;
- руководство по эксплуатации.
Б.9 Погрешность измеряемых параметров не должна превышать значений, указанных в таблице Б.1.
Таблица Б.1
Погрешность измеряемых параметров
Параметр | Обозначение параметра | Суммарная погрешность |
Полные и статические давления основного потока (газа) и охлаждающего воздуха | p*, p | +/- 0,15% ВП |
Перепад давлений по газу/охлаждающему воздуху | | +/- 30 Па |
Температура газа/охлаждающего воздуха | T* | +/- 1,0% ИЗ |
Массовый расход основного потока (газа) | Gг0 | +/- 0,5% ИЗ |
Массовый расход охлаждающего воздуха по каждому каналу | Gохл i | +/- 0,35% ИЗ |
Угол потока на входе в сопловые лопатки | | +/- 3° |
Примечание - Датчики, применяемые для измерения давлений и перепадов газа/воздуха на стенде, должны проходить индивидуальную градуировку с использованием образцовых средств измерения не реже, чем один раз в год.
Б.10 Стенд для определения пропускной способности СА должен быть аттестован в соответствии с
ГОСТ Р 8.568.
УДК 658.513.5:006.354 | |
Ключевые слова: двигатели газотурбинные, методика, пропускная способность |