Главная // Актуальные документы // ГОСТ Р (Государственный стандарт)СПРАВКА
Источник публикации
М.: Стандартинформ, 2019
Примечание к документу
Документ
введен в действие с 01.06.2020.
Название документа
"ГОСТ Р 58680-2019. Национальный стандарт Российской Федерации. Оборудование спортивное на роликах. Самокаты. Требования безопасности и методы испытаний"
(утв. и введен в действие Приказом Росстандарта от 30.10.2019 N 1229-ст)
"ГОСТ Р 58680-2019. Национальный стандарт Российской Федерации. Оборудование спортивное на роликах. Самокаты. Требования безопасности и методы испытаний"
(утв. и введен в действие Приказом Росстандарта от 30.10.2019 N 1229-ст)
Утвержден и введен в действие
по техническому регулированию
и метрологии
от 30 октября 2019 г. N 1229-ст
НАЦИОНАЛЬНЫЙ СТАНДАРТ РОССИЙСКОЙ ФЕДЕРАЦИИ
ОБОРУДОВАНИЕ СПОРТИВНОЕ НА РОЛИКАХ
САМОКАТЫ
ТРЕБОВАНИЯ БЕЗОПАСНОСТИ И МЕТОДЫ ИСПЫТАНИЙ
Roller sport equipment. Kick scooters. Safety requirements
and test methods
ГОСТ Р 58680-2019
Дата введения
1 июня 2020 года
1 РАЗРАБОТАН Федеральным государственным унитарным предприятием "Российский научно-технический центр информации по стандартизации, метрологии и оценке соответствия" (ФГУП "СТАНДАРТИНФОРМ")
2 ВНЕСЕН Техническим комитетом по стандартизации ТК 444 "Спортивные и туристские изделия, оборудование, инвентарь, физкультурные и спортивные услуги"
3 УТВЕРЖДЕН И ВВЕДЕН В ДЕЙСТВИЕ
Приказом Федерального агентства по техническому регулированию и метрологии от 30 октября 2019 г. N 1229-ст
4 ВВЕДЕН ВПЕРВЫЕ
Правила применения настоящего стандарта установлены в статье 26 Федерального закона от 29 июня 2015 г. N 162-ФЗ "О стандартизации в Российской Федерации". Информация об изменениях к настоящему стандарту публикуется в ежегодном (по состоянию на 1 января текущего года) информационном указателе "Национальные стандарты", а официальный текст изменений и поправок - в ежемесячном информационном указателе "Национальные стандарты". В случае пересмотра (замены) или отмены настоящего стандарта соответствующее уведомление будет опубликовано в ближайшем выпуске ежемесячного информационного указателя "Национальные стандарты". Соответствующая информация, уведомление и тексты размещаются также в информационной системе общего пользования - на официальном сайте Федерального агентства по техническому регулированию и метрологии в сети Интернет (www.gost.ru)
Настоящий стандарт распространяется на спортивные самокаты, перемещаемые мышечной силой пользователя массой от 20 до 100 кг.
Настоящий стандарт не распространяется на бытовые самокаты для пользователей массой до 50 кг, используемые в качестве игрушек (см.
ГОСТ Р ИСО 8124-1).
В настоящем стандарте использованы нормативные ссылки на следующие стандарты:
ГОСТ Р 55789 Оборудование и инвентарь спортивные. Термины и определения
Примечание - При пользовании настоящим стандартом целесообразно проверить действие ссылочных стандартов в информационной системе общего пользования - на официальном сайте Федерального агентства по техническому регулированию и метрологии в сети Интернет или по ежегодному информационному указателю "Национальные стандарты", который опубликован по состоянию на 1 января текущего года, и по выпускам ежемесячного информационного указателя "Национальные стандарты" за текущий год. Если заменен ссылочный стандарт, на который дана недатированная ссылка, то рекомендуется использовать действующую версию этого стандарта с учетом всех внесенных в данную версию изменений. Если заменен ссылочный стандарт, на который дана датированная ссылка, то рекомендуется использовать версию этого стандарта с указанным выше годом утверждения (принятия). Если после утверждения настоящего стандарта в ссылочный стандарт, на который дана датированная ссылка, внесено изменение, затрагивающее положение, на которое дана ссылка, то это положение рекомендуется применять без учета данного изменения. Если ссылочный стандарт отменен без замены, то положение, в котором дана ссылка на него, рекомендуется применять в части, не затрагивающей эту ссылку.
В настоящем стандарте применены термины по
ГОСТ Р 55789, а также следующий термин с соответствующим определением:
3.1 выдвижной механизм: Скользящее устройство, используемое для регулирования высоты рулевой колонки.
Самокаты подразделяют на два класса:
- A - для пользователей массой от 20 до 100 кг;
- B - для пользователей массой от 20 до 50 кг и с максимальным пределом регулирования высоты рулевой колонки 80 см.
Основные элементы самоката показаны на
рисунке 1.
1 - руль; 2 - рукоятка руля; 3 - крышка; 4, 5, 7 -
фиксаторы; 6 - рулевая колонка; 8 - рулевой стакан;
9 - тормоз-крыло; 10 - дэка; 11 - рифленая поверхность;
12 - колесо; 13 - ось; 14 - складной механизм; 15 - вилка;
16 - рычажный манипулятор
Примечание -
Рисунок 1 не определяет конструкцию самокатов и приведен в качестве примера.
5.1 Все выступающие детали и края самоката, которые при использовании по назначению могут соприкасаться с частями тела, должны быть без заусенцев или выполнены таким образом, чтобы предотвратить травму.
Необходимо закрыть жесткие и выступающие детали, которые могут привести к зацеплению или травме. Концы руля должны быть закрыты.
5.2 Расстояние между движущимися частями самоката класса A должно быть менее 5 или более 18 мм.
Расстояние между движущимися частями самоката класса B должно быть менее 5 или более 12 мм, диаметр доступных отверстий движущихся частей должен быть менее 5 мм.
Примечание - Эти требования не распространяются на колеса/спицы/колесные опоры или тормозные/задние тормозные устройства, при наличии.
5.3 Складной механизм должен быть простым, безопасным для использования и обеспечивать надежную фиксацию, не допускающую непреднамеренного раскладывания. Рычаг фиксатора не должен соприкасаться с передним колесом в любом положении.
5.4 Скользящие механизмы, кроме рулевого управления, должны быть защищены от непреднамеренного открытия или поломки при использовании по назначению.
5.5 Пружины должны иметь защитное покрытие, если расстояние между двумя последовательными спиралями или витками более 5 мм.
5.6 Рулевое управление необходимо конструировать следующим образом:
- во время использования самоката не должно быть контакта между колесами и другими частями устройства;
- устройство регулирования длины не должно допускать непреднамеренного открытия.
Для класса B высоту регулируют только с помощью инструмента; либо основная (или вспомогательная) фиксация высоты осуществляется автоматически.
Выдвижная рулевая колонка должна иметь постоянную метку, указывающую минимальную глубину погружения рулевой колонки. Отметка должна быть размещена на соответствующем расстоянии и должна как минимум в 2,5 раза превышать диаметр рулевой колонки и не влиять на ее прочность.
Конец руля должен быть оснащен ручками или заглушками, выдерживающими тяговое усилие 70 Н в направлении выпуска.
5.7 Дэка должна быть оснащена нескользящей поверхностью не менее 200 см2.
5.8 Подшипники должны быть прочными и доступными для технического обслуживания.
5.9 Оси должны быть устойчивы к механическим воздействиям, вызывающим смещение или деформацию. Колеса должны быть защищены от непреднамеренного высвобождения с осей.
5.10 Колеса должны быть изготовлены из нескользящего материала с коэффициентом статического трения

не менее 0,30.
Для самокатов класса B диаметр переднего колеса должен быть не менее 120 мм. Конструкция подвески должна обеспечивать поглощение энергии удара передним колесом.
5.11 Для крепежа используют самоблокирующиеся крепежные элементы. При использовании контргаек вся резьба, включая фиксирующую часть, должна соприкасаться с винтом.
5.12 Если самокат оснащен механизмом уменьшения скорости, он должен эффективно и равномерно уменьшать скорость, без резкой остановки, оставаться в контакте с поверхностью, для которой предназначен, и не должен ослаблять крепежное устройство.
6.1 Предельные отклонения от номинальных значений при измерениях, если в соответствующем методе не указано иное, должны составлять:
- силы и крутящие моменты - 0/+5%;
- масса и вес - +/- 1%;
- время - +/- 5 с;
- углы - +/- 2°;
- температура - +/- 2 °C.
Испытуемый образец самоката должен быть собран и отрегулирован в соответствии с информацией производителя.
6.2 Испытания проводят на двух образцах одного типа в следующем порядке.
Образец 1:
- проверка внешнего вида и размеров;
- проверка сцепления колес;
- испытание на прочность.
Образец 2:
- испытание статической нагрузкой дэки;
- испытание статической нагрузкой рулевой колонки;
- испытание на падение;
- испытание на удар по переднему колесу.
6.3 Сцепление колес проверяют при движении очищенного колеса по стальной плите с мелкой насечкой и обезжиренной поверхностью со среднеарифметической шероховатостью Ra от 1,5 до 2,0 мкм.
Колесо, нагруженное вертикальной силой
F1 = 100 Н (см.
рисунок 2) приводят в движение, а перпендикулярно к оси колеса прикладывают максимальное горизонтальное усилие
F2. Испытание повторяют 10 раз, а затем вычисляют среднеарифметическое значение
F2. Испытание проводят со скоростью ~= 1 мм/с.
Коэффициент статического трения

вычисляют по формуле

, (1)
где me - масса колеса, кг;
g - ускорение свободного падения (g = 9,81 м/с2).
6.4 При испытании концов руля на удар рулевую колонку выдвигают до максимума, точку конца руля ударяют 10 раз (см. на
рисунок 3).

- угол поворота
Примечание -

.
6.5 Испытание статической нагрузкой
6.5.1 При испытании статическую нагрузку прикладывают к середине дэки:
- 200 кг - для класса A;
- 100 кг - для класса B с несущей поверхностью дэки 100 x 100 мм.
6.5.2 При испытании рулевую колонку в самом высоком ее положении нагружают посередине грузом массой 50 кг для класса A и 33 кг - для класса B в течение 5 мин в каждом направлении (см.
рисунки 4 и
5 соответственно).
1 - фиксация переднего колеса (самокат может
свободно вращаться)
1 - фиксация заднего колеса (самокат может
свободно вращаться)
6.6 При испытании на падение используют:
- цилиндр диаметром 100 мм и массой 20 кг;
- резиновую пластину, прикрепленную к земле, толщиной 17 мм и твердостью 70 по Шору A;
- направляющую трубу.
Груз сбрасывают с высоты 300 мм для класса A и 220 мм для класса B (высоту измеряют от дэки) через направляющую трубу три раза на середину дэки образца. Во время испытания образец защищают от опрокидывания.
Если дэка или рулевое управление изготовлены из пластика, то образец предварительно кондиционируют в течение не менее 6 ч при температуре окружающей среды (-5 +/- 1) °C. Испытание проводят через 1 мин после удаления образца из среды кондиционирования в течение 5 мин.
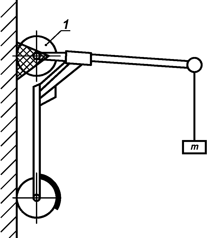
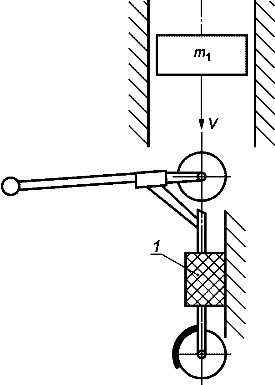
6.7 При испытании на удар по переднему колесу используют схемы нагружения, показанные на
рисунках 6 или
7. Скорость
V падающей массы
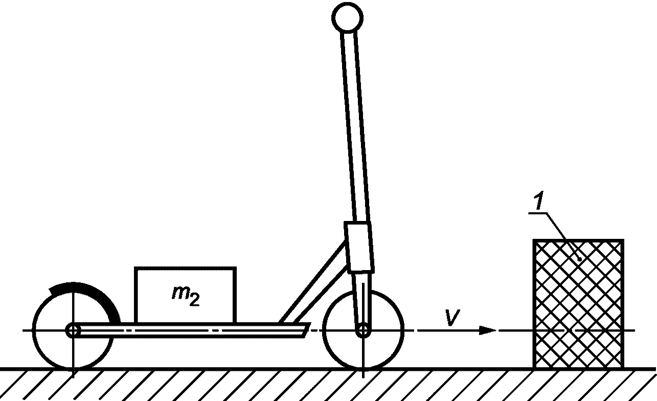
m1 или образца, нагруженного массой
m2, при ударе должна быть (4,5 +/- 0,5) м/с, энергия удара - 135 Дж.
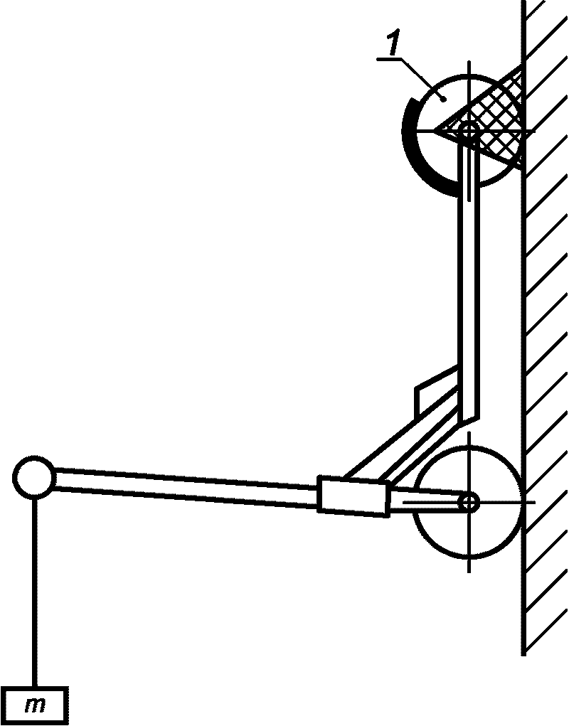
1 - фиксатор образца
1 - стальной брус
6.8 При испытании на прочность используют испытательную установку, показанную на
рисунке 8. Массу
2 размещают на середине свободной поверхности дэки, массу
3 устанавливают на руле или джойстике, выдвинутом в самое верхнее положение. Скорость вращения барабана - 0,5 м/с, общая продолжительность испытания - условное расстояние, равнее 12 км.
1 - барабан; 2 - масса: 90 кг для класса A и 45 кг
для класса B; 3 - масса: 10 кг для класса A и 5 кг
для класса B
Расстояние между рампами должно быть настолько большим, чтобы образец двигался по рампе каждые 1,5 с.
Рампы с несколькими полосами движения должны быть расположены в шахматном порядке, чтобы колеса не перемещались по рампе одновременно, а расстояние между рампами должно быть настолько большим, чтобы каждое колесо проходило по двум рампам каждую секунду.
6.9 Проверку внешнего вида (см.
5.1) проводят визуально, проверку размеров (см.
5.2) - соответствующими измерениями.
6.10 После проведения соответствующих испытаний образцы осматривают и если не обнаружено трещин, деформации и смещений осей, колес, дэки и других элементов, подшипники функционируют, отсутствуют поломки или повреждения рулевого управления, результаты испытаний считают удовлетворительными.
7.1 На каждом самокате должна быть нанесена прочная, нестираемая в течение всего срока службы информация:
- наименование или товарный знак изготовителя или уполномоченного представителя импортера;
- тип, модель;
- максимальная масса пользователя: 100 кг для класса A и 50 кг для класса B;
- обязательный знак "Необходимо использовать личное защитное снаряжение" (см.
рисунок 9).
7.2 На упаковке должна быть указана следующая информация:
- обозначение настоящего стандарта и класс самоката.
8 Инструкция по эксплуатации, техническому обслуживанию и ремонту
Инструкция по эксплуатации, техническому обслуживанию и ремонту должна содержать следующее:
- рекомендации по ограничению области применения самокатов;
- сведения о необходимости использования защитного снаряжения и обуви;
- рекомендации по регулированию рулевого управления и монтажу соединительных деталей;
- описание техники запуска самоката, вождения и торможения;
- предупреждение о том, что тормозное устройство нагревается и не следует прикасаться к нему после операции торможения;
- рекомендации по регулярному техническому обслуживанию.
УДК 796.022:006.352 | |
Ключевые слова: оборудование спортивное на роликах, самокаты, требования безопасности, методы испытания |