Главная // Актуальные документы // ГОСТ Р (Государственный стандарт)СПРАВКА
Источник публикации
М.: ФГБУ "РСТ", 2021
Примечание к документу
Документ
введен в действие с 01.01.2022.
Название документа
"ГОСТ Р МЭК 62715-6-3-2021. Национальный стандарт Российской Федерации. Гибкие дисплейные устройства. Часть 6-3. Методы механических испытаний. Испытания на воздействие удара и твердость"
(утв. и введен в действие Приказом Росстандарта от 31.08.2021 N 883-ст)
"ГОСТ Р МЭК 62715-6-3-2021. Национальный стандарт Российской Федерации. Гибкие дисплейные устройства. Часть 6-3. Методы механических испытаний. Испытания на воздействие удара и твердость"
(утв. и введен в действие Приказом Росстандарта от 31.08.2021 N 883-ст)
Утвержден и введен в действие
агентства по техническому
регулированию и метрологии
от 31 августа 2021 г. N 883-ст
НАЦИОНАЛЬНЫЙ СТАНДАРТ РОССИЙСКОЙ ФЕДЕРАЦИИ
ГИБКИЕ ДИСПЛЕЙНЫЕ УСТРОЙСТВА
ЧАСТЬ 6-3
МЕТОДЫ МЕХАНИЧЕСКИХ ИСПЫТАНИЙ.
ИСПЫТАНИЯ НА ВОЗДЕЙСТВИЕ УДАРА И ТВЕРДОСТЬ
Flexible display devices. Part 6-3.
Mechanical test methods. Impact and hardness tests
(IEC 62715-6-3:2020, IDT)
ГОСТ Р МЭК 62715-6-3-2021
Дата введения
1 января 2022 года
1 ПОДГОТОВЛЕН Автономной некоммерческой организацией "Научно-технический центр сертификации электрооборудования "ИСЭП" (АНО "НТЦСЭ "ИСЭП") на основе собственного перевода на русский язык англоязычной версии стандарта, указанного в
пункте 4
2 ВНЕСЕН Техническим комитетом по стандартизации ТК 452 "Безопасность аудио-, видео-, электронной аппаратуры, оборудования информационных технологий и телекоммуникационного оборудования"
3 УТВЕРЖДЕН И ВВЕДЕН В ДЕЙСТВИЕ
Приказом Федерального агентства по техническому регулированию и метрологии от 31 августа 2021 г. N 883-ст
4 Настоящий стандарт идентичен международному стандарту МЭК 62715-6-3:2020 "Гибкие дисплейные устройства. Часть 6-3. Методы механических испытаний. Испытания на воздействие удара и твердость" (IEC 62715-6-3:2020 "Flexible display devices - Part 6-3: Mechanical test methods - Impact and hardness tests", IDT).
При применении настоящего стандарта рекомендуется использовать вместо ссылочных стандартов соответствующие им национальные и межгосударственные стандарты, сведения о которых приведены в дополнительном
приложении ДА
5 ВВЕДЕН ВПЕРВЫЕ
Правила применения настоящего стандарта установлены в статье 26 Федерального закона от 29 июня 2015 г. N 162-ФЗ "О стандартизации в Российской Федерации". Информация об изменениях к настоящему стандарту публикуется в ежегодном (по состоянию на 1 января текущего года) информационном указателе "Национальные стандарты", а официальный текст изменений и поправок - в ежемесячном информационном указателе "Национальные стандарты". В случае пересмотра (замены) или отмены настоящего стандарта соответствующее уведомление будет опубликовано в ближайшем выпуске ежемесячного информационного указателя "Национальные стандарты". Соответствующая информация, уведомление и тексты размещаются также в информационной системе общего пользования - на официальном сайте Федерального агентства по техническому регулированию и метрологии в сети Интернет (www.gost.ru)
Международная электротехническая комиссия (МЭК) является международной организацией по стандартизации, объединяющей все национальные комитеты по электротехнике (национальные комитеты МЭК). Цель МЭК - развитие международного сотрудничества по всем вопросам стандартизации в области электротехники и электроники. Результатом этой работы и дополнением другой деятельности МЭК является издание международных стандартов, технических требований, технических отчетов, публично доступных технических требований (PAS) и руководств (в дальнейшем именуемых "публикации МЭК"). Их подготовка поручена техническим комитетам. Любой национальный комитет МЭК, заинтересованный в объекте рассмотрения, с которым имеет дело, может участвовать в предварительной работе. Международные, правительственные и неправительственные организации, сотрудничающие с МЭК, также принимают участие в этой подготовке. МЭК тесно сотрудничает с Международной организацией по стандартизации (ИСО) в соответствии с условиями, определенными соглашением между этими двумя организациями.
В формальных решениях или соглашениях МЭК выражено положительное решение технических вопросов, практически консенсус на международном уровне в соответствующих областях, так как в составе каждого технического комитета есть представители от национальных комитетов МЭК.
Публикации МЭК принимаются национальными комитетами МЭК в качестве рекомендаций. Приложены максимальные усилия для того, чтобы гарантировать правильность технического содержания публикаций МЭК, однако МЭК не может отвечать за порядок их использования или за неверное толкование конечным пользователем.
В целях содействия международной гармонизации национальные комитеты МЭК обязуются применять публикации МЭК в их национальных и региональных публикациях с максимальной степенью приближения к исходным. Любые расхождения между любой публикацией МЭК и соответствующей национальной или региональной публикацией должны быть четко обозначены в последней.
МЭК не устанавливает процедуры маркировки знаком одобрения и не берет на себя ответственность за любое оборудование, о котором заявляют, что оно соответствует публикации МЭК.
Все пользователи должны быть уверены, что они используют последнее издание этой публикации.
Международная электротехническая комиссия, ее руководители, сотрудники, обслуживающий персонал и агенты, в том числе отдельные эксперты и участники технических и национальных комитетов МЭК, не несут никакой ответственности за любые несчастные случаи, повреждения имущества или другой ущерб любого характера (прямой или косвенный), а также за издержки (в том числе вознаграждение за юридические услуги) и расходы, возникшие в результате использования каким-либо образом этой или любой другой публикации МЭК.
Следует обратить внимание на нормативные ссылки на документы, упоминаемые в настоящем стандарте. Использование ссылочных стандартов является обязательным для правильного применения настоящего стандарта.
Следует обратить внимание на то, что некоторые элементы настоящей публикации могут являться предметом патентного права. МЭК не несет ответственности за идентификацию какого-либо одного или всех патентных прав.
МЭК 62715-6-3 подготовлен Техническим комитетом МЭК 110 "Электронные дисплейные устройства".
Текст настоящего стандарта основан на следующих документах:
Окончательная редакция проекта международного стандарта (FDIS) | Отчет о голосовании (RVC) |
110/1225/FDIS | 110/1247/RVC |
Полную информацию о голосовании по одобрению настоящего стандарта можно найти в отчете о голосовании, указанном в приведенной выше
таблице.
Настоящий стандарт разработан в соответствии с Директивами ИСО/МЭК, часть 2.
Перечень всех стандартов, входящих в серию МЭК 62715 под общим наименованием "Гибкие дисплейные устройства" приведен на сайте МЭК.
Комитет принял решение, что содержание настоящего стандарта останется без изменений до конечной даты рассмотрения вопроса о пересмотре, указанной на веб-сайте МЭК по адресу http://webstore.iec.ch, в сведениях, связанных с конкретным документом. После наступления этой даты документ может быть:
- подтвержден повторно;
- аннулирован;
- заменен на пересмотренное издание;
- изменен.
Настоящий стандарт устанавливает стандартные методы испытаний для оценки механической прочности и твердости гибких дисплейных модулей, включая жидкокристаллические дисплеи (LCD), дисплеи на основе электронной бумаги и дисплеи на органических светодиодах (OLED), при внешнем механическом воздействии, в частности при воздействии удара и при нанесении царапин.
В настоящем стандарте использованы нормативные ссылки на следующие стандарты. Для датированных ссылок применяют только указанное издание ссылочного стандарта, для недатированных - последнее издание (включая все изменения к нему):
IEC 62341-5:2009, Organic light emitting diode displays - Part 5: Environmental testing methods [Дисплеи на основе органических светодиодов (OLED). Часть 5. Методы испытаний на воздействие внешних факторов]
ISO 19252, Plastics: Determination of scratch properties (Пластмассы. Определение свойств при нанесении царапин)
ASTM D7207-13, Standard Test Method for Evaluation of Scratch Resistance of Polymeric Coatings and Plastics Using an Instrumented Scratch Machine (Стандартный метод испытаний для оценки устойчивости полимерных покрытий и пластмасс к нанесению царапин с использованием машины для нанесения царапин, оснащенной измерительной аппаратурой)
3 Термины, определения и сокращения
3.1 Термины и определения
В настоящем стандарте применены следующие термины с соответствующими определениями:
Терминологические базы данных, применяемых в целях стандартизации ИСО и МЭК, размещены по следующим адресам:
- электротехнический словарь МЭК, доступен на сайте http://www.electropedia.org/;
- ИСО онлайн браузер-платформа, доступна на сайте http://www.iso.org/obp
3.1.1 испытание на боковой удар маятника (pendulum side impact test): Оценка свойств механической прочности материала по отношению к воздействию внешнего удара, нанесенного сбоку маятником.
3.1.2 стальная вата (steel wool): Специальная легированная сталь, переработанная в тонкую и длинную волокнистую форму для использования в качестве абразива.
Примечание 1 - Поверхность сечения представляет собой многогранник с ребрами.
Примечание 2 - Существует несколько видов стальной ваты в зависимости от диаметра используемого волокна. Тип стальной ваты N 0000 - средний диаметр волокна N 0000 составляет примерно 0,012 мм.
В настоящем стандарте использованы следующие сокращения:
- LCD - жидкокристаллические дисплеи;
- OLED - органические светоизлучающие диоды;
- TFT - тонкопленочные транзисторы.
4 Стандартные условия окружающей среды
Испытания должны быть проведены в следующих стандартных условиях окружающей среды, установленных в МЭК 62341-5:2009, подраздел 5.3 (за исключением температуры):
- температура - (25 +/- 3) °C;
- относительная влажность - от 25% до 85%;
- давление - от 86 до 106 кПа,
если иное не установлено в договоре между поставщиком и потребителем.
При проведении всех видов испытаний следует контролировать температурные условия, поскольку воздействие температуры является критичным для свойств механической прочности, которые взаимосвязаны с характеристиками TFT и параметрами качества изображения панели дисплея.
Испытуемый образец должен представлять собой дисплейный модуль, поскольку окончательную оценку делают на основе оценки качества изображения панели дисплея, включая яркость, цветность, однородность, наличие линейных и точечных дефектов. Испытания на механическую прочность могут привести к ухудшению качества изображения панели
[1] -
[9].
В процессе проведения испытаний на воздействие удара и твердость для получения достоверных результатов испытаний испытуемый дисплейный модуль должен быть плоским. Модуль должен быть закреплен на жесткой пластине с использованием дополнительных инструментов или материалов (например, клея или держателя). Клей и держатель не должны влиять на результаты измерений. Плоскостность и размер образца определяют по согласованию между поставщиком и потребителем. Температура, влажность и время хранения (например, 24 ч), необходимые для подготовки образца, перед началом испытаний должны быть проконтролированы и зарегистрированы для получения воспроизводимых результатов испытаний.
6 Методы механических испытаний. Испытания на воздействие удара и твердость
Выбор соответствующего метода испытаний должен быть осуществлен на основании требований к области применения дисплея. Для каждого испытания на механическую прочность должен быть определен стандарт или иной документ, устанавливающий метод испытаний, с объяснением цели каждого отдельного испытания.
6.2 Испытание на воздействие удара, производимого падающим шариком
6.2.1 Общие положения
Настоящее испытание применяют в основном для оценки свойств механической прочности гибких дисплейных устройств посредством измерения изменения характеристик гибкого дисплейного устройства до и после падения шарика на поверхность панели.
6.2.2 Цель
Целью настоящего испытания является оценка свойств механической прочности образца при воздействии точечного удара, который может произойти при фактическом использовании гибкого дисплейного устройства. Настоящее испытание может повлиять на несколько стандартных параметров качества изображения панели дисплея, которые могут включать яркость, цветность, однородность, наличие линейных и точечных дефектов.
6.2.3 Испытательная установка
Установка для проведения испытаний на воздействие удара, производимого падающим шариком, включает металлический, резиновый или пластмассовый шарик и жесткую пластину, как показано на рисунке 1. Основная часть испытуемого образца должна быть размещена на жесткой пластине. Должны быть определены условия проведения испытания на воздействие удара, производимого падающим шариком, включая: высоту размещения шарика над дисплейной панелью (например, от 5 до 10 см), которая зависит от размера панели дисплея (например, размеров мобильного телефона, планшета или крупногабаритных устройств), тип (материал) шарика (например, металлический, резиновый или пластмассовый), диаметр шарика, массу шарика (например, от 10 до 50 г), позицию (место) нанесения удара на панели и число ударов, наносимых шариком, потому что характеристики качества изображения панели дисплея могут зависеть от вышеприведенных условий испытаний. Для обеспечения постоянной высоты падения шарика во время испытания применяют специальное оборудование для сбрасывания шарика на воспроизводимой высоте, например механический зажим и магнитную пластину. Различия в конструкции оборудования и материалах, из которых изготовлена жесткая пластина под испытуемым образцом, оказывают существенное влияние на результат испытания. Конструкция оборудования и материалы жесткой пластины должны быть точно указаны или описаны. Для проведения испытаний на воздействие удара, производимого падающим шариком, может быть использовано приспособление, показанное на рисунке 1 b), где стальной шарик может быть закреплен с использованием электромагнита.

1 - жесткая пластина; 2 - испытуемый образец; 3 - зажим
(держатель); 4 - штанга для измерения высоты; 5 - шарик;
6 - высота размещения шарика; 7 - направляющая штанга
для установки высоты; 8 - электромагнит; 9 - стальной шарик
Рисунок 1 - Установка для испытания
на воздействие удара, производимого падающим шариком
6.2.4 Процедура испытаний
Испытание следует проводить посредством нанесения удара падающим шариком перпендикулярно к поверхности панели дисплея при сбрасывании металлического, резинового или пластикового шарика с фиксированной высоты. Для достоверной оценки механической прочности панели дисплея и представления ее общей прочности должны быть выбраны несколько позиций воздействия на панель (например, всего девять точек воздействия на панель - по три точки для каждой левой, центральной и правой области) и при необходимости может быть проведено идентичное испытание на воздействие удара падающего шарика на нескольких панелях, чтобы получить более точные общие характеристики. Оценка качества изображения панели дисплея может быть проведена через определенный период времени после проведения испытания на воздействие удара падающим шариком, продолжительность которого должна быть установлена.
Примечание - При проведении испытаний должен быть исключен повторный удар шарика по панели, который может произойти при его отскоке от панели или жесткой пластины.
6.3 Испытание на воздействие повторяющихся ударов (испытание постукиванием)
6.3.1 Общие положения
Настоящее испытание применяют в основном для оценки свойств механической прочности гибких дисплейных устройств. Испытание моделирует прикосновение или нажатие пальцем на панель дисплея, поэтому его часто называют "испытание постукиванием".
6.3.2 Цель
Целью настоящего испытания является оценка свойств механической прочности образца при воздействии повторяющейся внешней нагрузки, представляющей собой повторяющиеся прикосновения (касания) или нажатия пальцем, или ручкой на панель гибкого дисплея, которое происходит при фактическом использовании устройства с гибким дисплеем.
Испытание на воздействие повторяющихся ударов может повлиять на несколько стандартных параметров качества изображения панели дисплея, которые могут включать яркость, цветность, однородность, наличие линейных и точечных дефектов.
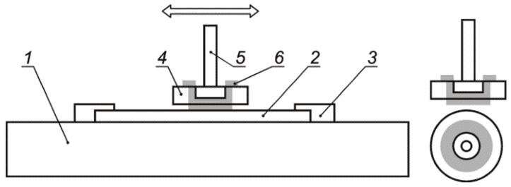
6.3.3 Установка для испытаний на воздействие повторяющихся ударов
На рисунке 2 показан пример установки для испытаний на воздействие повторяющихся ударов.
1 - испытуемый образец; 2 - жесткая пластина;
3 - механизм с возвратно-поступательным движением;
4 - ударный наконечник; 5 - ударный стержень;
6 - устройство измерения силы
Рисунок 2 - Пример установки для испытаний
на воздействие повторяющихся ударов
6.3.4 Процедура испытаний
Испытания на воздействие повторяющихся ударов должны быть проведены в следующей последовательности:
a) выбирают материал и форму наконечника, подходящего для испытаний;
b) выбирают позицию воздействия удара на образец;
c) устанавливают наконечник на заданном расстоянии от образца;
d) обеспечивают возвратно-поступательное движение (перемещение) наконечника с требуемой силой. На рисунке 3 показан пример перемещения наконечника и прилагаемой силы;
Рисунок 3 - Пример перемещения
наконечника и прилагаемой силы
e) наносят требуемое число циклов ударов по образцу;
f) проводят осмотр образца после воздействия ударов для обнаружения любых дефектов;
6.3.5 Отчет по результатам испытаний (протокол испытаний)
Отчет по результатам испытаний (протокол испытаний) должен содержать:
- сведения о материале наконечника;
- сведения о форме наконечника;
- описание перемещения и прилагаемой силы, например как показано на
рисунке 3;
- сведения о позиции нанесения повторяющихся ударов на поверхности дисплейного устройства;
- число ударов;
- оценку результатов воздействия ударов.
Примечание 1 - Для достоверной оценки прочности панели дисплея и представления ее общей прочности выбирают несколько аналогичных позиций воздействия на панель (например, всего девять точек воздействия на панель - по три точки для каждой левой, центральной и правой области).
Примечание 2 - При необходимости может быть проведено идентичное испытание на воздействие ударов на нескольких панелях, чтобы получить более точные общие характеристики.
Примечание 3 - Оценка качества изображения панели дисплея может быть проведена через определенный период времени после испытания на воздействие повторяющихся ударов, продолжительность которого должна быть установлена.
6.4 Испытание на воздействие бокового удара маятника
6.4.1 Общие положения
Настоящее испытание применяют в основном для оценки свойств механической прочности гибких дисплейных устройств посредством измерения изменения их характеристик до и после бокового удара. Гибкие дисплейные устройства состоят из очень тонких диэлектрических и металлических слоев, которые являются чрезвычайно гибкими, но относительно непрочными по отношению к воздействию бокового удара.
6.4.2 Цель
Целью настоящего испытания является оценка свойств механической прочности образца при воздействии внешнего бокового удара для моделирования воздействия внешнего удара сбоку, которое может происходить при фактическом использовании гибкого дисплейного устройства. Настоящее испытание может повлиять на несколько стандартных параметров качества изображения панели дисплея, которые могут включать яркость, цветность, однородность, наличие линейных и точечных дефектов.
6.4.3 Испытательная установка
Установка для испытаний на боковой удар маятника включает: металлическое (пластмассовое) приспособление в качестве рычага маятника, ударную часть маятника в форме шара или цилиндра и жесткую пластину, как показано на рисунке 4. Рычаг маятника изготавливают из жесткого материала, например металла. Образец должен быть зафиксирован на жесткой пластине с использованием зажима. Конструкция, состоящая из рычага маятника, соединенного с ударной частью (шаром или цилиндром), должна быть жесткой для обеспечения постоянной силы столкновения. Должны быть определены условия испытаний на боковой удар маятника, включая угол удара, тип (материал) ударной части маятника (пластмасса или металл), массу и размер (диаметр) ударной части маятника, длину рычага маятника, расстояние по горизонтали от позиции сброса ударной части маятника до позиции ее столкновения с панелью и число наносимых ударов, потому что характеристики качества изображения панели дисплея могут зависеть от вышеприведенных условий испытаний. Для получения более надежных результатов должны быть проведены испытания для нескольких позиций воздействия удара на панель. Кинетическую энергию удара следует оценивать для каждого испытания в целях обеспечения повторяемости метода. Кинетическую энергию можно рассчитать из значения массы ударной части маятника и длины маятникового рычага.

1 - жесткая пластина; 2 - испытуемый образец; 3 - позиция
нанесения удара; 4 - ударная часть маятника в форме шара;
5 - расстояние по горизонтали от позиции сброса ударной
части маятника до позиции ее столкновения с испытуемым
образцом; 6 - ударная часть маятника в форме цилиндра
Рисунок 4 - Оборудование для испытания
на воздействие бокового удара маятника
Расчетная энергия является прикладываемой энергией при ударе, а не энергией, вызывающей повреждение, поскольку часть энергии будет потеряна из-за отскока маятника. Допускается применение других форм ударной части маятника, кроме вышеуказанных, например ударная часть в форме цилиндра может иметь клинковую форму длинного конца. Применение различных форм ударной части маятника обусловлено применением при производстве различных методов воздействия ударов на панель, например воздействии ударов по ориентирующим (направляющим) штырям.
При допущении, что край образца расположен там, где угол рычага маятника равен нулю, всю энергию маятника при ударе можно принять за кинетическую.
Полную энергию маятника, Дж, можно рассчитать с использованием следующей формулы:

, (1)
где m - масса маятника, кг;
v - скорость маятника, м/с (при

);
g - ускорение свободного падения, равное 9,8 м/с2;
h - высота падения ударной части маятника, м;
L - длина рычага маятника, м;

- угол рычага маятника, градусы.
При повторном проведении испытания всегда должна быть обеспечена одинаковая приложенная полная энергия удара маятника по образцу.
6.4.4 Процедура испытаний
Испытание на боковой удар маятника следует проводить посредством воздействия удара на боковую сторону панели дисплея, создаваемого ударной частью маятника при ее сбрасывании. Для достоверной оценки механической прочности панели дисплея и представления ее общей прочности выбирают несколько однотипных позиций (точек) нанесения удара на панель, и при необходимости может быть проведено несколько испытаний на боковой удар маятника (например, от трех до пяти раз) при воздействии на одну и ту же точку панели, чтобы получить более точные усредненные характеристики. Оценку качества изображения панели дисплея допускается проводить через определенный период времени после испытания на воздействие бокового удара маятника, продолжительность которого должна быть установлена.
6.5 Испытание нанесением царапин и на истирание
6.5.1 Общие положения
Настоящее испытание применяют в основном для оценки свойств механической прочности гибкого дисплейного устройства посредством измерения изменения их характеристик до и после нанесения царапин, поскольку в гибких дисплейных устройствах в качестве покрытия лицевой поверхности применяют тонкий пластик вместо стекла, который является относительно неустойчивым по отношению к образованию царапин.
В настоящем подразделе описаны следующие два метода испытаний:
a) нанесение царапин стилусом (головка с наконечником);
b) воздействие истирания стальной ватой.
В зависимости от цели испытания (с учетом особенностей каждого испытания) выбирают одно из двух вышеуказанных испытаний. Повреждение поверхности и изменение качества изображения панели дисплея оценивают после окончания испытаний.
6.5.2 Испытание нанесением царапин стилусом
6.5.2.1 Общие положения
Испытание нанесением царапин стилусом предназначено для моделирования царапания поверхности гибкого дисплея острым и/или твердым предметом, которое может происходить при его фактическом использовании. Испытание нанесением царапин стилусом не зависит от разной твердости материалов поверхности по сравнению с испытанием на твердость нанесением царапин карандашом (твердость по карандашу).
6.5.2.2 Цель
Целью настоящего испытания является оценка стойкости испытуемого образца к нанесению царапин, которое происходит при фактическом применении гибкого дисплейного устройства. Испытания проводят с использованием стилуса (головки с наконечником), перемещаемого с нажимом по поверхности панели дисплея. Нагрузку увеличивают постепенно до тех пор, пока на поверхности панели дисплея не появятся видимые дефекты. Наименьшая нагрузка, при которой наблюдается любое повреждение, должна быть зарегистрирована в отчете по результатам испытаний (протоколе испытаний). Настоящее испытание может повлиять на несколько стандартных параметров качества изображения панели дисплея, которые могут включать яркость, цветность, однородность, наличие линейных и точечных дефектов.
6.5.2.3 Испытательная установка
При проведении испытаний должна быть применена установка типа A, указанная в ИСО 19252 (см. рисунок 5 a)). Процедура испытаний должна соответствовать процедурам, установленным в ИСО 19252. Допускается применение другой установки - типа B, указанной в АСТМ D7207-13 (см. рисунок 5 b)). Стилус должен быть изготовлен из твердого материала, такого как алмаз, сапфир или вольфрамовый сплав. Результаты испытаний изменяются в зависимости от примененного материала стилуса и не могут быть сопоставимы между собой.
1 - жесткая пластина; 2 - испытуемый образец; 3 - стилус;
4 - зажим; 5 - наконечник из твердого материала; 6 - ролик;
7 - статическая нагрузка (пружинный механизм);
8 - тензодатчик (ось z); электромагнит; 9 - тензодатчик
(ось x); 10 - противовес; 11 - ось вращения
Рисунок 5 - Установки для испытаний царапанием стилусом
с применением держателя стилуса, обеспечивающего различное
давление на образец при помощи регулировки нагрузки пружины
6.5.2.4 Процедура испытаний
Испытания проводят посредством нанесения на лицевую поверхность панели дисплея царапин стилусом с заданным радиусом наконечника (например, от 0,2 до 1 мм), который перемещают по поверхности панели в одном направлении на постоянное расстояние фиксированное число раз. Радиус наконечника стилуса и материал, из которого он изготовлен, должны быть указаны в отчете по результатам испытаний (протоколе испытаний). Испытание следует проводить, начиная с более низкой нагрузки, до более высокой (например, от 1,0 до 10 Н). Нагрузку увеличивают до тех пор, пока не будет обнаружено любое повреждение поверхности панели. Стилус должен быть установлен под прямым углом 90° +/- 1° к поверхности испытуемого образца. Скорость царапания (перемещения стилуса) должна быть указана в отчете по результатам испытаний (протоколе испытаний) (например, в диапазоне от 5 до 10 мм/с). Управление установкой для проведения испытаний с применением стилуса должно быть ручным или автоматическим, а стилус следует очищать перед каждым испытанием. По согласованию между поставщиком и заказчиком могут применяться другие условия испытаний. Сведения о применении условий испытаний, имеющих любые отклонения от вышеописанных стандартных условий, а также значение наименьшей нагрузки, при которой происходит какое-либо повреждение панели дисплея, должны быть указаны в отчете по результатам испытаний (протоколе испытаний).
6.5.3 Испытание на воздействие истирания стальной ватой
6.5.3.1 Общие положения
Испытание на воздействие истирания стальной ватой обычно применяют для оценки повреждения поверхности панели дисплея, которое происходит при ее фактическом применении.
6.5.3.2 Цель
Целью настоящего испытания является оценка стойкости образца к истиранию, которое происходит при фактическом применении гибкого дисплейного устройства. При испытании поверхность испытуемого образца должна быть подвергнута истиранию стальной ватой с заданной нагрузкой в течение определенного числа циклов, после чего оценивают прочность поверхности. Результатом испытаний является появление видимых дефектов, таких как царапины и вмятины, а также возможно изменение несколько стандартных параметров качества изображения панели дисплея, включая яркость, цветность, однородность, наличие линейных и точечных дефектов.
6.5.3.3 Испытательная установка
Установка для испытаний на истирание стальной ватой показана на рисунке 6. При проведении испытания в качестве абразива должна быть использована стальная вата N 0000. Стальная вата должна быть закреплена на истирающей головке и плотно зафиксирована между головкой и основанием держателя (см. рисунок 6). Поверхность основания держателя истирающей головки должна быть плоской и иметь круглую или квадратную форму. Площадь, подвергаемая истиранию, должна быть указана в отчете по результатам испытаний (протоколе испытаний) (например, в диапазоне от 0,8 до 5,0 см2). Направление движения стальной ваты должно быть перпендикулярно к направлению волокон стальной ваты. Любые изменения направления волокон стальной ваты должны быть зарегистрированы, поскольку некоторые стальные ваты имеют случайно расположенные волокна.
1 - платформа; 2 - испытуемый образец;
3 - зажим; 4 - основание держателя;
5 - головка держателя; 6 - стальная вата
Рисунок 6 - Установка для испытания
на истирание стальной ватой
6.5.3.4 Процедура испытаний
Следует разместить кусок стальной ваты, находящейся внутри нагрузки, на поверхности испытуемого образца и подвергнуть поверхность образца истиранию в горизонтальном направлении с постоянной скоростью перемещения (например, в диапазоне от 40 до 120 мм/с). Стальная вата должна быть плотно вставлена в узкий зазор между основанием и головкой держателя. Стальная вата не должна рассыпаться во время испытания. Длина области воздействия истирания (например, в диапазоне от 60 до 100 мм), величина нагрузки на единицу площади истирающей головки (например, в диапазоне от 1,0 до 20,0 Н/см2) и число циклов воздействия истирания (проходов истирающей головки) (например, в диапазоне от 10 до 100000 циклов) должны быть указаны в отчете по результатам испытаний (протоколе испытаний). Испытание может быть прекращено при обнаружении любого повреждения. По согласованию между поставщиком и заказчиком могут применяться другие условия испытаний. В отчете по результатам испытаний (протоколе испытаний) должны быть указаны сведения о применении условий испытаний, имеющих любые отклонения от вышеописанных стандартных условий, значение приложенной нагрузки (Н) и число циклов истирания, вызвавшее видимые дефекты. Весь процесс испытаний должен быть автоматизирован для получения воспроизводимых и надежных результатов. Стальную вату следует заменять после каждого испытания для получения достоверных результатов испытаний.
(справочное)
СВЕДЕНИЯ О СООТВЕТСТВИИ ССЫЛОЧНЫХ СТАНДАРТОВ
НАЦИОНАЛЬНЫМ И МЕЖГОСУДАРСТВЕННЫМ СТАНДАРТАМ
Таблица ДА.1
Обозначение ссылочного стандарта | Степень соответствия | Обозначение и наименование соответствующего национального, межгосударственного стандарта |
IEC 62341-5:2009 | - | |
ISO 19252 | - | |
ASTM D7207-13 | - | |
<*> Соответствующий национальный, межгосударственный стандарт отсутствует. До его принятия рекомендуется использовать перевод на русский язык данного стандарта. Официальный перевод данного стандарта находится в Федеральном информационном фонде стандартов. |
| Z. Suo, E. Y. Ma. Gleskova and S. Wagner, Journal "Applied Physics Letters", Vol. 74, 1999: pp. 1177 (Журнал "Основы прикладной физики", том 74, 1999, с. 1177) |
[2] | H. Gleskova, S. Wagner and Z. Suo, Journal "Applied Physics Letters", Vol. 75. 1999: pp. 3011 (Журнал "Основы прикладной физики", том 75, 1999, с. 3011) |
[3] | H. Gleskova, S. Wagner, W. Soboyejo and Z. Suo, Journal "Applied Physics Letters", Vol. 92, 2002: pp. 6224 (Журнал "Основы прикладной физики", том 92, 2002, с. 6224) |
[4] | S. Grego, J. Lewis and D. Temple, Journal "Thin Solid Films", Vol. 315, 2007: pp. 4745 (Журнал "Тонкие твердые пленки", том 315, 2007, с. 4745) |
[5] | E. Menard, R. G. Nuzzo and J. A. Rogers, Journal "Applied Physics Letters", Vol. 86, 2005: pp. 093507 (Журнал "Основы прикладной физики", том 86, 2005, с. 093507) |
[6] | Z. Chen, B. Cotterell, W. Wang, E. Guenther and S. J. Chua, Journal "Thin Solid Films", Vol. 394, 2001: pp. 202 (Журнал "Тонкие твердые пленки", том 394, 2001, с. 202) |
[7] | P. Servati and A. Nathan, Journal "Proceeding IEEE", Vol. 93, 2005: pp. 1257 [Журнал "Труды IEEE" (Институт инженеров по электротехнике и электронике), том 93, 2005, с. 1257] |
[8] | A. Rolland, J. Richard, J. P. Kleiderand D. Mencaraglia, "Journal of the Electrochemical Society", Vol. 140, 1993: pp. 3679 ("Журнал электрохимического сообщества", том 140, 1993, с. 3679) |
| M. S. Shur, H. C. Slade, M. D. Jacunski, A. A. Owusu and T. Ytterdal, "Journal of the Electrochemical Society", Vol. 144, 1997: pp. 2833 ("Журнал электрохимического сообщества", том 144, 1997, с. 2833) |
УДК 621.377:006.354 | |
Ключевые слова: гибкое дисплейное устройство, дисплей, методы механических испытаний, воздействие удара, твердость, маятник, шарик, деформация, истирание, нанесение царапин |