Показатель | Данные, которые должны быть зафиксированы |
Характеристики культи | |
Остаток таза | Отсутствует/представлен |
Мягкие ткани культи | |
Степень атрофии | Умеренная/выраженная/значительно выраженная |
Тургор | Нормальный/дряблый/плотный (повышенный) |
Кожный покров | |
Общее состояние | Неповрежденная структура кожи/поврежденная структура кожи. Нормальная чувствительность сохранена/чувствительность нарушена |
Послеоперационный рубец | Заживший (первичное заживление)/незаживший. Подвижный/спаянный |
Дополнительное рубцевание или пересадка | Заживший (первичное заживление)/незаживший. Подвижный/плотно прилегающий |
Патология | Воспалительные процессы (указать) |
Кровообращение | |
Отек | Нет/присутствует/чрезмерный |
Характер боли | |
Боль | Есть/нет. Локализация, интенсивность (оценка по шкале боли), частота и продолжительность |
Болезненность | Есть/нет. Локализованная |
Фантомная боль | Есть/нет. Интенсивность (оценка по шкале боли), частота и длительность |
Показатель | Данные, которые должны быть зафиксированы |
Характеристики культи | |
Остаток бедренной кости | Присутствует, но незначительный/присутствует и значительный/отсутствует |
Мягкие ткани культи | |
Степень атрофии | Умеренная/выраженная/значительно выраженная |
Тургор | Нормальный/дряблый/плотный (повышенный) |
Кожный покров | |
Общее состояние | Неповрежденная структура кожи/поврежденная структура кожи. Нормальная чувствительность сохранена/чувствительность нарушена |
Послеоперационный рубец | Заживший (первичное заживление)/незаживший. Подвижный/спаянный |
Дополнительное рубцевание или пересадка | Заживший (первичное заживление)/незаживший. Подвижный/спаянный |
Патология | Воспалительные процессы (указать) |
Кровообращение | |
Отек | Нет/присутствует/чрезмерный |
Характер боли | |
Боль | Есть/нет. Локализация, интенсивность (оценка по шкале боли), частота и продолжительность |
Болезненность | Есть/нет. Локализованная |
Фантомная боль | Есть/нет. Интенсивность (оценка по шкале боли), частота и длительность |

Показатель | Данные, которые должны быть зафиксированы |
Характеристики культи | |
Форма | Цилиндрическая/коническая/булавовидная |
Длина бедренной кости | Верхняя (проксимальная треть)/средняя (средняя треть)/длинная (дистальная треть) |
Конец бедренной кости | Не выступает/выступает |
Положение бедренной кости | Нормальное/нарушенное (указать) |
Опора на конец культи | Имеется/отсутствует |
Запас мягких тканей | Достаточный/недостаточный/избыточный |
Тургор | Нормальный/дряблый/плотный(повышенный) |
Фиксация мышц | Фиксированы/не фиксированы/перемещены |
Кожный покров | |
Общее состояние | Неповрежденная структура кожи/поврежденная структура кожи. Нормальная чувствительность сохранена/чувствительность нарушена |
Послеоперационный рубец | Заживший (первичное заживление)/незаживший. Подвижный/спаянный |
Дополнительное рубцевание или пересадка | Нет дополнительного рубцевания/дополнительное рубцевание. Подвижный/спаянный |
Патология | Воспалительные процессы (указать) |
Кровообращение | |
Цвет кожи | Обычной окраски, цианотичный или иной окраски |
Температура кожного покрова | Нормальная/нарушенная (указать) |
Отек | Нет/присутствует/чрезмерный |
Характер боли | |
Боль | Есть/нет. Локализованная, интенсивность (оценка по шкале боли), частота и длительность |
Болезненность | Отсутствует/представлена. Локализованная |
Фантомная боль | Есть/нет. Интенсивность (оценка по шкале боли), частота и длительность |
Функционирование суставов | |
Бедро | |
Диапазон движения | Нормальный/нарушенный (указывают: сгибание/разгибание и/или отведение/приведение) (мануальное мышечное тестирование по шкале 0 - 5) |
Сила мышц | Нет значительного снижения/значительно снижена (указывают сгибание/разгибание и/или отведение/приведение) (мануальное мышечное тестирование в диапазоне 0 - 5 баллов) |
Стабильность | Нормальная/нарушенная. Описывают направление |
Боль | Есть/нет |

Показатель | Данные, которые должны быть зафиксированы |
Характеристики культи | |
Дистальный конец кости | Вычленение/чрезмыщелковая ампутация |
Нагрузка на конец | Отсутствует/представлена |
Форма | Цилиндрическая/коническая/булавовидная |
Запас мягких тканей | Достаточный/недостаточный/избыточный |
Тургор мягких тканей | Нормальный/дряблый/плотный или повышенный |
Надколенник | |
Статус | Отсутствует/представлен |
Позиция | Дистальная/проксимальная |
Подвижность | Фиксированная/мобильная/чрезмерно мобильная |
Кожный покров | |
Общее состояние | Неповрежденная структура кожи/поврежденная структура кожи. Нормальная чувствительность сохранена/чувствительность нарушена |
Послеоперационный рубец | Заживший (первичное заживление)/незаживший. Подвижный/спаянный |
Дополнительное рубцевание или пересадка | Нет дополнительного рубцевания/дополнительное рубцевание. Подвижный/спаянный |
Патология | Воспалительные процессы (указать) |
Кровообращение | |
Цвет кожи | Обычной окраски, цианотичный или иной окраски |
Температура кожного покрова | Нормальная/нарушенная (указать) |
Отек | Нет/присутствует/чрезмерный |
Характер боли | |
Боль | Есть/нет. Локализованная, интенсивность (оценка по шкале боли), частота и длительность |
Болезненность | Есть/нет. Локализованная |
Фантомная боль | Есть/нет. Интенсивность (оценка по шкале боли), частота и длительность |
Функционирование суставов | |
Бедро | |
Диапазон движения | Нормальный/нарушенный (указывают: сгибание/разгибание и/или отведение/приведение) (мануальное мышечное тестирование по шкале 0 - 5) |
Сила мышц | Нет значительного снижения/значительно снижена (указывают: сгибание/разгибание и/или отведение/приведение) (мануальное мышечное тестирование в диапазоне 0 - 5 баллов) |
Стабильность | Нормальная/нарушенная. Описывают направление |
Боль | Есть/нет |

Показатель | Данные, которые должны быть зафиксированы |
Характеристики культи | |
Форма | Цилиндрическая/коническая/булавовидная |
Запас мягких тканей | Достаточный/недостаточный/избыточный |
Тургор мягких тканей | Нормальный/дряблый/плотный (повышенный) |
Фиксация мышц | Фиксированы/не фиксированы/перемещены |
Большеберцовая кость | |
Длина | Очень короткая/верхняя треть/короткая/средняя/длинная |
Выступ | Есть/нет |
Форма опила кости | Правильная/неправильная |
Малоберцовая кость | (описывают) |
Наличие | Есть/нет |
Длина | Очень короткая/допустимая/очень длинная |
Выступ | Есть/нет |
Положение | Нормальное/отклонено |
Нагрузка на конец | Есть/нет |
Кожный покров | |
Общее состояние | Неповрежденная структура кожи/поврежденная структура кожи. Нормальная чувствительность сохранена/чувствительность нарушена |
Послеоперационный рубец | Заживший (первичное заживление)/незаживший. Подвижный/спаянный |
Дополнительное рубцевание или пересадка | Нет дополнительного рубцевания/дополнительное рубцевание. Подвижный/спаянный |
Патология | Воспалительные процессы (указать) |
Кровообращение | |
Цвет кожи | Обычной окраски, цианотичный или иной окраски |
Температура кожного покрова | Нормальная/нарушенная (указать) |
Отек | Нет/присутствует/чрезмерный |
Характер боли | |
Боль | Есть/нет. Локализованная, интенсивность (оценка по шкале боли), частота и длительность |
Болезненность | Есть/нет. Локализованная |
Фантомная боль | Есть/нет. Интенсивность (оценка по шкале боли), частота и длительность |
Функционирование суставов | |
Тазобедренный сустав | |
Объем движения | Нормальный/нарушенный. Указывают: сгибание/разгибание, отведение/приведение и внутренняя/наружная ротация (в соответствующих случаях) (метод нейтрального нуля) |
Сила мышц | Нет значительного снижения/значительно снижена (указывают: сгибание/разгибание и/или отведение/приведение) (мануальное мышечное тестирование по шкале 0 - 5) |
Стабильность | Нормальная/нарушенная. Описывают направление |
Боль | Есть/нет |
Коленный сустав | |
Объем движения | Нормальный/нарушенный (указать: сгибание/разгибание) (метод нейтрального нуля) |
Сила мышц | Нет значительного снижения/значительно снижена (указывают: сгибание/разгибание и/или отведение/приведение) (мануальное мышечное тестирование по шкале 0 - 5) |
Стабильность | Нормальная/нарушенная. Описывают направление |
Боль | Есть/нет |

Показатель | Данные, которые должны быть зафиксированы |
Характеристики культи | |
Форма | Цилиндрическая/коническая/булавовидная |
Запас мягких тканей | Достаточный/недостаточный/избыточный |
Лодыжка | Не выступает/выступает |
Нагрузка на конец | Отсутствует/представлена |
Пятка (пяточная жировая прокладка) | |
Наличие | Есть/нет |
Позиция | Правильная/смещенная/подвижная |
Плотность | Нормальная/дряблая/отвердевшая |
Кожный покров | |
Общее состояние | Неповрежденная структура кожи/поврежденная структура кожи. Нормальная чувствительность сохранена/чувствительность нарушена |
Послеоперационный рубец | Заживший (первичное заживление)/незаживший. Подвижный/спаянный |
Дополнительное рубцевание или пересадка | Нет дополнительного рубцевания/дополнительное рубцевание. Подвижный/спаянный |
Патология | Воспалительные процессы (указать) |
Кровообращение | |
Цвет кожи | Обычной окраски, цианотичный или иной окраски |
Температура кожного покрова | Нормальная/нарушенная (указать) |
Отек | Нет/присутствует/чрезмерный |
Характер боли | |
Боль | Есть/нет. Локализованная, интенсивность (оценка по шкале боли), частота и длительность |
Болезненность | Есть/нет. Локализованная |
Фантомная боль | Есть/нет. Интенсивность (оценка по шкале боли), частота и длительность |
Функционирование суставов | |
Тазобедренный сустав | |
Объем движения | Нормальный/нарушенный. Указывают: сгибание/разгибание, отведение/приведение и внутренняя/наружная ротация (в соответствующих случаях) (метод нейтрального нуля) |
Сила мышц | Нет значительного снижения/значительно снижена (указывают: сгибание/разгибание и/или отведение/приведение) (мануальное мышечное тестирование по шкале 0 - 5) |
Стабильность | Нормальная/нарушенная. Описывают направление |
Боль | Есть/нет |
Коленный сустав | |
Объем движения | Нормальный/нарушенный (указывают: сгибание/разгибание) (метод нейтрального нуля) |
Сила мышц | Нет значительного снижения/значительно снижена (указывают: сгибание/разгибание и/или отведение/приведение) (мануальное мышечное тестирование по шкале 0 - 5) |
Стабильность | Нормальная/нарушенная. Описывают направление |
Боль | Есть/нет |

Показатель | Данные, которые должны быть зафиксированы |
Характеристики культи | |
Форма | Вычленение фаланги, плюснефалангового сустава, плюсневой кости, предплюсны и плюсневой кости или предплюсны |
Запас мягких тканей | Достаточный/недостаточный/избыточный |
Кости | Не выступают/выступают. Указывают |
Нагрузка на ногу | Да/нет |
Кожный покров | |
Общее состояние | Неповрежденная структура кожи/поврежденная структура кожи. Нормальная чувствительность/поврежденная чувствительность |
Послеоперационный рубец | Нет дополнительного рубцевания/дополнительное рубцевание. Подвижный/плотно прилегающий |
Дополнительное рубцевание или пересадка | Нет дополнительного рубцевания/дополнительное рубцевание. Подвижный/плотно прилегающий |
Патология | Воспалительные процессы (указать) |
Кровообращение | |
Цвет кожи | Нормальный/синюшный/другой цвет |
Температура кожного покрова | Нормальная/нарушенная (указать) |
Отек | Нет/присутствует/чрезмерный |
Характер боли | |
Боль | Есть/нет. Локализованная, интенсивность (оценка по шкале боли), частота и длительность |
Болезненность | Есть/нет. Локализованная |
Фантомная боль | Есть/нет. Интенсивность (оценка по шкале боли), частота и длительность |
Функционирование суставов | |
Тазобедренный сустав | |
Объем движения | Нормальный/нарушенный (указывают: сгибание/разгибание и/или отведение/приведение) (мануальное мышечное тестирование по шкале 0 - 5) |
Сила мышц | Нет значительного снижения/значительно снижена (указывают: сгибание/разгибание и/или отведение/приведение) (мануальное мышечное тестирование в диапазоне 0 - 5 баллов) |
Стабильность | Нормальная/нарушенная. Описывают направление |
Коленный сустав | |
Объем движения | Нормальный/нарушенный (указывают: сгибание/разгибание) (метод нейтрального нуля) |
Сила мышц | Нет значительного снижения/значительно снижена (указывают: сгибание/разгибание и/или отведение/приведение) (мануальное мышечное тестирование по шкале 0 - 5) |
Стабильность | Нормальная/нарушенная. Описывают направление |
Лодыжка (голеностопный сустав)/таранно-пяточный сустав (таранно-пяточно-ладьевидный сустав) | Описывают направление |
Объем движения | Нормальный/нарушенный (указывают: тыльное сгибание/подошвенное сгибание и пронация/супинация) |
Сила мышц | Нет значительного снижения/значительно снижена |
Стабильность | Нормальная/нарушенная |
Боль в проксимальных суставах | Есть/нет |

Уровень | Измерения, выполняемые всеми членами команды, которая осуществляет лечение пациента | Дополнительные измерения, которые выполняет протезист, ответственный за лечение пациента |
Контралатеральная конечность | - | Необходимо фиксировать любое значительное расхождение между сегментами пораженной и контралатеральной конечности. Измерения формы контралатеральной конечности могут быть необходимы для окончательной отделки (косметической) протеза |
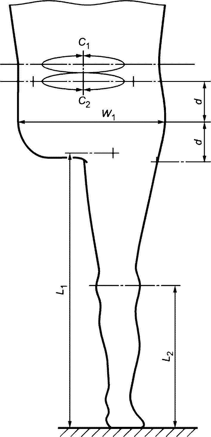
Гемипельвектомия и вычленение в тазобедренном суставе | - | Длина контралатеральной конечности от седалищного бугра до пола, L1. Длина контралатеральной конечности от средней линии (суставной щели) коленного сустава до пола, L2. Окружность талии, C1. Окружность на уровне гребней подвздошных костей, C2. Ширина таза посередине между гребнями подвздошных костей и большим вертелом бедренной кости (только при вычленении в тазобедренном суставе), W1. Расстояние от гребня подвздошной кости d до середины между гребнем подвздошной кости и большим вертелом бедренной кости, W1 |
Ампутация бедра (за исключением надмыщелковых и чрезмыщелковых ампутаций) | Длина культи от промежности до конца культи, L3. Длина от уровня изгиба бедренной кости до конца культи, L4. Окружность проксимального отдела бедра на уровне промежности, C3. Окружность на уровне изгиба, C4. Длина от седалищного бугра до конца культи, L5 | Длина контралатеральной конечности от седалищного бугра до пола, L1. Длина контралатеральной конечности от средней линии (суставной щели) коленного сустава до пола, L2. Дополнительные измерения окружности на указанном(ых) расстоянии(ях) x (см) ниже проксимального уровня, C3x. Длина от седалищного бугра до конца культи, L5 |
Вычленение колена (включая надмыщелковую и чрезмыщелковую ампутацию) | Длина культи от промежности до конца культи, L3. Окружность проксимального отдела бедра на уровне промежности, C3 | Длина контралатеральной конечности от седалищного бугра до пола, L1. Длина контралатеральной конечности от средней линии (суставной щели) коленного сустава до пола, L2. Окружность на уровне мыщелка бедренной кости, C5 (на уровне булавовидного расширения). Окружность на минимальном уровне окружности культи выше булавовидного расширения, C6. Дополнительные измерения окружности на указанном(ых) расстоянии(ях) x (см) ниже проксимального уровня, C3x. Ширина культи на минимальном уровне окружности выше булавовидного расширения, W2. Измерение максимальной ширины дистального конца на уровне булавовидного расширения, W3. Измерение передне-заднего размера максимального дистального конца на уровне булавовидного расширения, A1 |
Ампутация голени | Длина от уровня изгиба до конца культи, L3. Окружность на уровне изгиба, C4 | Длина контралатеральной конечности от седалищного бугра до пола, L1. Длина контралатеральной конечности от средней линии (суставной щели) коленного сустава до пола, L4. Окружность на уровне суставной щели коленного сустава, C6. Дополнительные измерения окружности на указанном(ых) расстоянии(ях) x (см) ниже уровня суставной щели коленного сустава, C6x. Ширина коленного сустава, W4. Ширина над бугристостью большеберцовой кости, W5. Измерение передне-заднего размера от собственной связки надколенника до подколенной ямки, A2 |
Вычленение в голеностопном суставе | Длина от средней линии (суставной щели) коленного сустава до конца культи, L6 | Длина контралатеральной конечности от седалищного бугра до уровня земли, L1. Длина контралатеральной конечности от средней линии (суставной щели) коленного сустава до пола, L2. Окружность на уровне средней линии (суставной щели) коленного сустава, C6. Окружность на уровне минимальной окружности выше булавовидного расширения, C7. Окружность на уровне лодыжек на уровне булавовидного расширения, C8. Дополнительные измерения окружности на указанном(ых) расстоянии(ях) x (см) ниже уровня средней линии (суставной щели) коленного сустава, C6x. Ширина на минимальном уровне окружности выше булавовидного расширения, W6. Ширина максимального дистального конца на уровне булавовидного расширения, W7. Измерение передне-заднего размера максимального дистального конца на уровне булавовидного расширения, A3 |
Частичная ампутация стоп | Длина от крайней точки пятки до конца культи, L8 | Длина контралатеральной конечности от седалищного бугра до пола, L1. Длина контралатеральной конечности от седалищного бугра до пола, L7. Максимальная окружность на пятке, C9. Окружность на основании пятой плюсневой кости, C10. Минимальная окружность между основанием пятой плюсневой кости и дистальным концом плюсневой кости, C11. Окружность дистального конца плюсневых костей (на конце культи), C12. Ширина на уровне лодыжек, W8. Измерение максимальной ширины в дистальном отделе культи, W9. Измерение передне-заднего размера на уровне лодыжек, A4 |
Обозначение ссылочного международного стандарта | Степень соответствия | Обозначение и наименование соответствующего национального стандарта | ||||
ISO 8549-2 | IDT | ГОСТ Р ИСО 8549-2-2013 "Протезирование и ортезирование. Словарь. Часть 2. Термины, относящиеся к наружным протезам конечностей и их пользователям" | ||||
| ||||||
ISO 8549-4 | IDT | ГОСТ Р ИСО 8549-4-2019 "Протезирование и ортопедия. Словарь. Часть 4. Термины, относящиеся к ампутации конечностей" | ||||
Примечание - В настоящей таблице использовано следующее условное обозначение степени соответствия стандартов: - IDT - идентичные стандарты. | ||||||
УДК 615.478.3.001.4:006.354 | ОКС 11.180.10 |
Ключевые слова: медицина, протезирование, ортезирование, дефекты конечностей, метод описания ампутационной культи нижней конечности, протезы, характеристики | |