Главная // Актуальные документы // ГОСТ Р (Государственный стандарт)СПРАВКА
Источник публикации
М.: ФГБУ "РСТ", 2021
Примечание к документу
Документ
введен в действие с 01.01.2022.
Название документа
"ГОСТ Р ИСО 19087-2021. Национальный стандарт Российской Федерации. Воздух рабочей зоны. Определение респирабельной фракции кристаллического диоксида кремния с применением инфракрасной Фурье-спектроскопии"
(утв. и введен в действие Приказом Росстандарта от 03.09.2021 N 919-ст)
"ГОСТ Р ИСО 19087-2021. Национальный стандарт Российской Федерации. Воздух рабочей зоны. Определение респирабельной фракции кристаллического диоксида кремния с применением инфракрасной Фурье-спектроскопии"
(утв. и введен в действие Приказом Росстандарта от 03.09.2021 N 919-ст)
Утвержден и введен в действие
агентства по техническому
регулированию и метрологии
от 3 сентября 2021 г. N 919-ст
НАЦИОНАЛЬНЫЙ СТАНДАРТ РОССИЙСКОЙ ФЕДЕРАЦИИ
ВОЗДУХ РАБОЧЕЙ ЗОНЫ
ОПРЕДЕЛЕНИЕ РЕСПИРАБЕЛЬНОЙ ФРАКЦИИ КРИСТАЛЛИЧЕСКОГО ДИОКСИДА
КРЕМНИЯ С ПРИМЕНЕНИЕМ ИНФРАКРАСНОЙ ФУРЬЕ-СПЕКТРОСКОПИИ
Workplace air. Analysis of respirable crystalline
silica by Fourier-Transform Infrared spectroscopy
(ISO 19087:2018, IDT)
ГОСТ Р ИСО 19087-2021
Дата введения
1 января 2022 года
1 ПОДГОТОВЛЕН Акционерным обществом "Научно-исследовательский институт охраны атмосферного воздуха" (АО "НИИ Атмосфера") на основе собственного перевода на русский язык англоязычной версии стандарта, указанного в
пункте 4
2 ВНЕСЕН Техническим комитетом по стандартизации ТК 457 "Качество воздуха"
3 УТВЕРЖДЕН И ВВЕДЕН В ДЕЙСТВИЕ
Приказом Федерального агентства по техническому регулированию и метрологии от 3 сентября 2021 г. N 919-ст
4 Настоящий стандарт идентичен международному стандарту ИСО 19087:2018 "Воздух рабочей зоны. Определение респирабельной фракции кристаллического диоксида кремния с применением инфракрасной Фурье-спектроскопии" (ISO 19087:2018 "Workplace air - Analysis of respirable crystalline silica by Fourier-Transform Infrared spectroscopy", IDT).
При применении настоящего стандарта рекомендуется использовать вместо ссылочных международных стандартов соответствующие им национальные стандарты, сведения о которых приведены в дополнительном
приложении ДА
5 ВВЕДЕН ВПЕРВЫЕ
Правила применения настоящего стандарта установлены в статье 26 Федерального закона от 29 июня 2015 г. N 162-ФЗ "О стандартизации в Российской Федерации". Информация об изменениях к настоящему стандарту публикуется в ежегодном (по состоянию на 1 января текущего года) информационном указателе "Национальные стандарты", а официальный текст изменений и поправок - в ежемесячном информационном указателе "Национальные стандарты". В случае пересмотра (замены) или отмены настоящего стандарта соответствующее уведомление будет опубликовано в ближайшем выпуске ежемесячного информационного указателя "Национальные стандарты". Соответствующая информация, уведомление и тексты размещаются также в информационной системе общего пользования - на официальном сайте Федерального агентства по техническому регулированию и метрологии в сети Интернет (www.gost.ru)
Вдыхаемый кристаллический диоксид кремния (ВКДК) представляет опасность для здоровья работников во многих отраслях промышленности. Специалистам в области промышленной гигиены и охраны труда необходимо определять эффективность мероприятий, предпринимаемых для контроля вредных воздействий в воздухе рабочей зоны. С целью оценки воздействия на работника, эффективности мер или защиты органов дыхания во время работы осуществляют отбор и последующее измерение проб воздуха, содержащего кристаллический диоксид кремния. Во многих странах для измерения и оценки воздействия ВКДК применяют метод инфракрасной спектроскопии с Фурье-преобразованием (ИК-Фурье спектроскопия) кристаллического диоксида кремния в пробе вдыхаемой пыли, собранной на улавливающей подложке. С помощью приведенного метода различают полиморфные модификации кварца и кристобалита.
Настоящий стандарт определяет процедуры анализа для измерения ВКДК тремя способами.
a) Прямой метод: метод анализа ВКДК пробы воздуха непосредственно на фильтре. Особое требование этого метода заключается в том, что пробоотборник, используемый для измерений на рабочем месте, соответствует пробоотборнику для подготовки калибровочных проб.
b) Косвенный метод с использованием повторного осаждения: метод, при котором пыль собирается с подложки для отбора и осаждается на фильтр для анализа.
c) Косвенный метод с использованием таблетки бромида калия (KBr): метод, при котором пыль собирают с подложки для отбора и прессуют в таблетку с бромидом калия (KBr) для последующего анализа.
В соответствии с правилами гигиены труда для отбора вдыхаемой пыли используют множество различных типов пробоотборников. Настоящий стандарт разработан с учетом разнообразия пробоотборников и подложек для отбора, доступных для аналитиков. Настоящий стандарт применяется в сочетании с ИСО 24095.
Настоящий стандарт устанавливает общие положения по отбору и анализу проб вдыхаемого кристаллического диоксида кремния (ВКДК) в воздухе рабочей зоны, собранного на улавливающих подложках (т.е. фильтрах или вспененных материалах) с помощью ИК-спектроскопии с Фурье-преобразованием (ИК-Фурье спектроскопии). Приведены три аналитических подхода, в которых пыль с подложки для отбора проб:
a) анализируют непосредственно на фильтре;
b) собирают, обрабатывают и переосаждают на другой фильтр для анализа или
c) собирают, обрабатывают и прессуют в таблетку с бромидом калия (KBr) для анализа.
В настоящем стандарте приведена информация об инструментальных параметрах, чувствительности различных пробоотборников, использовании разных фильтров и обработке проб для устранения примесей. Определяемый в настоящем стандарте ВКДК включает наиболее распространенные полиморфные модификации кварца и кристобалита.
Менее распространенные модификации кристаллического диоксида кремния, такие как тридимит, не включены в область применения настоящего стандарта в связи с недоступностью стандартных образцов.
При определенных условиях (т.е. низкая загрузка пыли на фильтр, низкое содержание диоксида кремния), аналитический подход, приведенный в настоящем стандарте, не отвечает требованиям по расширенной неопределенности ИСО 20581. Руководство по расчету неопределенности измерений ВКДК приведено в ИСО 24095.
В настоящем стандарте использованы нормативные ссылки на следующие стандарты. Для датированных ссылок применяют только указанное издание ссылочного стандарта, для недатированных - последнее издание (включая все изменения к нему).
ISO 7708, Air quality - Particle size fraction definitions for health-related sampling (Качество воздуха. Определение гранулометрического состава частиц при санитарно-гигиеническом контроле)
ISO 13137, Workplace atmospheres - Pumps for personal sampling of chemical and biological agents - Requirements and test methods (Воздух рабочей зоны. Насосы для индивидуального отбора проб химических и биологических веществ. Требования и методы испытаний)
ISO 15767, Workplace atmospheres - Controlling and characterizing uncertainty in weighing collected aerosols (Воздух рабочей зоны. Контроль и оценка неопределенности взвешивания проб аэрозолей)
ISO 18158, Workplace air - Terminology (Воздух рабочей зоны. Терминология)
ISO 24095, Workplace air - Guidance for the measurement of respirable crystalline silica (Воздух рабочей зоны. Руководство по измерению содержания взвешенного кристаллического диоксида кремния)
EN 13205, Workplace Atmospheres - Assessment of performance of instruments for measurement of airborne particle concentrations (Воздух рабочей зоны. Оценка характеристик приборов для определения содержания твердых частиц)
В настоящем стандарте применены термины по ИСО 18158, а также следующие термины с соответствующими определениями.
ИСО и МЭК содержат терминологические базы данных для использования в стандартизации по следующим адресам:
- Платформа онлайн-просмотра ИСО: доступна на https://www.iso.org/obp:
- Электропедия МЭК: доступна на http://www.electropedia.org/.
3.1 Общие определения
3.1.1 вдыхаемый кристаллический диоксид кремния; ВКДК (respirable crystalline silica): Частицы кристаллического диоксида кремния, проникающие в разветвленные дыхательные пути, в соответствии с нормативом по респирабельной фракции, приведенным в ИСО 7708.
3.2 Отбор проб
3.2.1 фильтр для анализа (analysis filter): Подходящий фильтр, используемый для проведения анализа ВКДК.
Примечания
1 Для ИК-Фурье спектроскопии под улавливающей подложкой подразумевают фильтры для анализа.
2 При косвенном анализе пыль удаляют с улавливающей подложки и помещают на аналитический фильтр.
3.2.2 улавливающая подложка (collection substrate): Среда, на которую частицы химических и/или биологических веществ улавливаются для дальнейшего анализа.
Примечание - Примерами улавливающих подложек для частиц аэрозоля являются различные фильтры, пенополиуретаны и пробоотборные кассеты.
Настоящий стандарт устанавливает три аналитических подхода к анализу с применением ИК-спектроскопии с Фурье-преобразованием (ИК-Фурье спектроскопии) ВКДК во вдыхаемой пыли, собранной на улавливающей подложке.
a) Прямой метод:
Вдыхаемую пыль на улавливающей подложке (обычно фильтр диаметром 25 мм) измеряют без переноса пыли на аналитический фильтр. Массу ВКДК определяют из отклика ИК-Фурье спектрометра, откалиброванного по фильтрам, загруженным известным количеством стандартного образца ВКДК.
b) Косвенный метод (повторное осаждение, переосаждение):
Пыль с улавливающей подложки (т.е. фильтра диаметром 37 мм или пенополиуретана) собирают, обрабатывают и осаждают на другом фильтре для анализа (обычно диаметром 25 мм или меньше). Прибор калибруют путем приготовления контрольных проб из аликвот суспензии стандартного образца. Массу ВКДК определяют по отклику ИК-Фурье спектрометра, откалиброванного по аналитическим фильтрам, загруженным известным количеством стандартного образца ВКДК.
c) Косвенный метод (таблетка KBr):
Пыль с улавливающей подложки (т.е. фильтра диаметром 37 мм или пенополиуретана) собирают, обрабатывают и прессуют в таблетку KBr для анализа. Спектрометр калибруют путем приготовления таблеток KBr с известными количествами стандартного образца. Массу ВКДК определяют по отклику ИК-Фурье спектрометра, откалиброванного таблетками, содержащими известное количество стандартного образца ВКДК.
Исходя из известного объема проб воздуха рассчитывают содержание ВКДК. Поскольку различные аэрозольные пробоотборники для вдыхаемой пыли осаждают пробу на поверхности фильтра по-разному, ИК-Фурье спектрометры, используемые при анализе прямым методом, должны быть откалиброваны в соответствии с применяемым аэрозольным пробоотборником.
Пригодность метода с применением ИК-Фурье спектроскопии для определения содержания ВКДК в пробе воздуха рабочей зоны зависит от состава пыли и возможных примесей. Если метод ИК-Фурье спектроскопии при вычитании стандартного спектра из спектра пробы (см.
9.3.2) не приводит к удовлетворительному профилю базовой линии, то этот метод не подходит для матрицы, и количественный анализ в этом случае не может быть выполнен. В качестве альтернативы используют метод рентгенофазового анализа (РФА). Чтобы получить информацию о пробе, до анализа с применением ИК-Фурье спектроскопии может быть выполнен качественный анализ методом РФА.
5 Аппаратура, оборудование и реактивы
5.1 Оборудование для отбора проб
5.1.1 Пробоотборники
5.1.1.1 Производительность используемых пробоотборников в отношении отбора частиц по размерам должна отвечать критериям для вдыхаемой пыли, указанным в ИСО 7708 в соответствии с протоколом испытаний в ЕН 13205-2.
5.1.1.2 Для предложенного метода подходят пробоотборники, использующие фильтр или вспененную подложку.
Примечания
1
Приложение B содержит информацию о производительности различных индивидуальных пробоотборников респирабельной фракции, которые используются в настоящее время.
2 Вспененные улавливающие подложки и фильтры с серебряной мембраной не подходят для прямого метода анализа.
5.1.1.3 Кассеты, содержащие фильтры, должны быть изготовлены из проводящего материала.
5.1.1.4 Каждому пробоотборнику должен быть присвоен уникальный номер, чтобы идентифицировать пробоотборники, которые начинают давать слабые результаты после длительного использования.
5.1.1.5 Пробоотборники должны соответствовать требованиям к калибровке, приведенным в ИСО 13137.
Примечание - В некоторых странах могут быть исключения, обусловленные национальными нормами.
5.1.2 Улавливающие подложки и аналитические фильтры
5.1.2.1 Фильтры в качестве улавливающих подложек должны иметь диаметр, подходящий для использования в выбранном пробоотборнике, и иметь эффективность улавливания вдыхаемых частиц согласно ИСО 24095.
5.1.2.2 Важно знать состав улавливающей подложки, применяемой для отбора пробы, поскольку это имеет прямое отношение к используемому аналитическому подходу. Подложки, используемые для отбора проб ВКДК, и их характеристики перечислены в
приложении D.
Примечание - Дополнительная информация о выборе фильтрующего материала для измерения частиц диоксида кремния в пыли угольной шахты приведена в
[24].
5.1.2.3 Фильтрующие материалы, перечисленные в
приложении D, не содержат соединений, которые мешают измерению кварца и кристобалита. Примеси могут быть введены в процессе изготовления фильтра, что приводит к увеличению фонового поглощения в зависимости от материала фильтра. Поэтому партии фильтров следует регулярно тестировать для выявления возможных примесей и уровня фона.
5.1.2.4 Переменный фон влияет на читаемость спектров поглощения, увеличивая предел обнаружения для ВКДК. Поливинилхлорид и полипропилен, используемые в качестве аналитического фильтра, показывают наименьшую изменчивость и самые низкие уровни фона и, следовательно, полезны в ситуациях, когда требуются низкие пределы обнаружения.
5.1.2.5 Взвешивание, если требуется, необходимо выполнять в соответствии с ИСО 15767 (см.
8.1). Фильтры не следует взвешивать в кассетах, так как возникают большие колебания веса
[18]. Эталон должен быть сделан по инструкции изготовителя улавливающей подложки.
5.1.2.6 Важным свойством аналитического фильтра является то, что он прозрачен для инфракрасного излучения и обеспечивает относительно низкое изменение фона вблизи поглощения кристаллического диоксида кремния.
5.1.3 Насосы для отбора проб
Насосы для отбора проб должны соответствовать требованиям ИСО 13137.
5.1.4 Расходомеры
Расходомеры должны соответствовать требованиям ИСО 13137.
5.1.5 Вспомогательное оборудование
Вспомогательное оборудование, необходимое для отбора проб, включает следующее:
a) ленты или ремни, к которым удобно крепить насосы для отбора проб;
b) гибкую трубку для соединения пробоотборника с насосом для отбора проб;
c) средство для транспортировки проб с рабочего места в лабораторию, что сводит к минимуму возможность случайного переноса собранной пыли на или с улавливающей подложки (фильтра или вспененного материала). При транспортировке обычно требуются колпачки или крышки для пробоотборников, фильтрующих кассет или других подложек, как это подробно описано в инструкциях производителя по использованию приборов;
d) термометр (цена деления не более 1 °C) и барометр (цена деления не более 0,1 кПа) для измерения температуры и давления в атмосфере для корректировки расхода, когда температура и давление во время использования отличаются от условий, при которых был откалиброван расходомер (ИСО 24095).
5.2 Оборудование для калибровки
5.2.1 Генератор облака пыли (необходим для анализа непосредственно на фильтре)
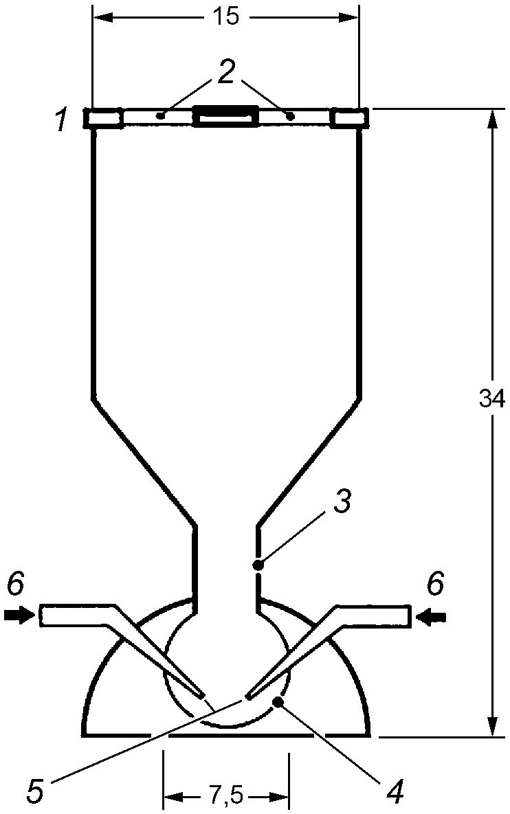
| | ИС МЕГАНОРМ: примечание. В официальном тексте документа, видимо, допущена опечатка: имеется в виду п. 6.1.6, а не п. 6.6.6. | |
Если следовать аналитическому подходу для прямого метода, то необходимо устройство для создания и поддержания в атмосфере стандартной пыли. Пример такого устройства приведен на
рисунке 1. Это устройство изготовлено из боросиликатного стекла с крышкой из акрилового стекла. Аэрозоль пыли образуется в верхней цилиндрической камере путем подачи короткого выброса сжатого воздуха на пыль, находящуюся в чаше внизу. Оборудование для отбора проб должно быть подготовлено в соответствии с
6.1.1 -
6.6.6 и
6.1.10. Пробоотборники устанавливают в верхней части устройства. Чтобы избежать скопления и взаимодействия зарядов между пылью и фильтром внутри пробоотборника аэрозоля, рекомендуется заземлить устройство.
Примечание - Устройство генерации аэрозоля также может быть полезно при подготовке проб для косвенных методов ИК-Фурье спектроскопии.
Размеры в сантиметрах
1 - крышка из акрилового стекла; 2 - отверстия для циклонных
пробоотборников; 3 - В29/32 конус и раструб; 4 - чаша
для пробы; 5 - сопло диаметром 1 мм; 6 - поток сжатого
воздуха с давлением примерно 345 кПа
Рисунок 1 - Пример устройства генерации аэрозоля
5.2.2 Лабораторное оборудование для приготовления суспензий
Для приготовления калибровочных проб можно использовать суспензии с определенным содержанием кварцевой пыли. При этом используют мерные колбы вместимостью 100 и 250 см3, термостат для ванны со встроенным охлаждающим змеевиком и диапазоном рабочих температур, который должен включать 20 °C, микропипетки различных объемов с диапазоном от 50 мм3 до 1000 мм3, колбу Эрленмейера и магнитную мешалку.
5.3 Оборудование для определения содержания пыли
5.3.1 Весы
Взвешивание следует выполнять в соответствии с ИСО 15767. Для приготовления малых масс калибровочных проб требуются микровесы, способные взвешивать +/- 1 мкг (или лучше) <1>. При взвешивании улавливающих подложек необходим электростатический сепаратор. Например, для взвешивания вспененного материала из пробоотборника CIP 10-R требуются весы с аналитической чувствительностью 10 мкг с рабочим диапазоном от 0 до 20 г.
--------------------------------
<1> Целесообразно понимать, что действительная цена деления (шкалы) весов должна составлять не более 1 мкг.
5.4 Оборудование для пробоподготовки
5.4.1 Лабораторное оборудование при переосаждении
В перечень лабораторного оборудования входят платиновые или глазурованные керамические тигли, мензурки, щипцы, калиброванные пипетки, ультразвуковая ванна, магнитная мешалка, устройство для фильтрации пробы на фильтре диаметром 25 мм, вакуумный насос и вытяжной шкаф для пыли, пара и газа.
5.4.2 Лабораторное оборудование при изготовлении таблеток KBr
В перечень лабораторного оборудования при изготовлении таблеток KBr входят платиновые или глазурованные керамические тигли, щипцы, насос для создания вакуума, ступка из карбида бора и пестик, 50-миллилитровый агатовый или металлический микрошпатель, лабораторный пресс для приготовления таблеток KBr, форма для таблеток KBr (диаметр 13 мм), вакуумный насос, эксикатор с силикагелем, кисточка с антистатическим эффектом (например, барсучья или верблюжья шерсть) и пергамин.
5.4.3 Оборудование для сбора пыли с улавливающей подложки
В перечень лабораторного оборудования для сбора пыли с улавливающей подложки входят печь, способная работать при температуре не менее 600 °C (для удаления мембраны фильтра), или установка низкотемпературного плазменного травления. Для растворения ПВХ-фильтров вместо установки низкотемпературного плазменного травления или печи можно использовать тетрагидрофуран (ТГФ).
Примечание - Для удаления загрязнителей может потребоваться температура до 1000 °C. Для предотвращения реакций, происходящих между диоксидом кремния и карбонатом кальция при высоких температурах, последние можно удалить промывкой соляной кислотой
(5.6.2.3).
5.5 Оборудование для анализа
5.5.1 Спектрометр
При анализе используется ИК-Фурье спектрометр с диапазоном длин волн от не менее 4000 см-1 до 400 см-1 и разрешением 4 см-1 или выше. Требуется подходящий держатель пробы (например, поворотное крепление поляризатора), чтобы проба могла вращаться в своей собственной плоскости. Это позволит уменьшить эффект неравномерного осаждения пробы путем проведения измерений спектров поглощения в нескольких направлениях. Если инфракрасный луч в приборе имеет круглое сечение, вращение не требуется.
5.6.1 Реагенты прямого метода
Для прямого метода анализа непосредственно на фильтре реагенты не требуются.
5.6.2 Реагенты при переосаждении
5.6.2.1 Суспензия
Деионизированная вода.
2-пропанол.
Этиловый спирт.
5.6.2.2 Растворение фильтра
Тетрагидрофуран (ТГФ).
1,3-бутандиол, если используются фильтры для отбора проб воздуха из нитрата целлюлозы.
5.6.2.3 Устранение примесей
Соляная кислота, от 0,1 Н <1> до 1 Н.
--------------------------------
<1> Приведены единицы нормальной концентрации раствора. Для соляной кислоты и гидроксида натрия значение молярной концентрации соответствует нормальной.
5.6.3 Реагенты при изготовлении таблеток KBr
Бромид калия (KBr) прозрачный в ИК-области (хранится в эксикаторе)
1,3-бутандиол.
Соляная кислота, от 0,1 Н до 1 Н.
Гидроксид натрия, 2 Н.
5.6.4 Стандартные образцы
Важно использовать стандартные образцы, в которых чистота и содержание кристаллов хорошо охарактеризованы. Материал, используемый для калибровки, должен соответствовать рекомендациям ИСО 24095.
Примечания
1 Национальный институт науки и техники США (NIST) разработал сертифицированные стандартные материалы (SRM) для вдыхаемого кварца (серия 1878) и для вдыхаемого кристобалита (серия 1879).
2 Сравнение кристалличности калибровочных материалов для анализа вдыхаемого кварца и их оценочных значений можно найти в
[13].
Общее руководство по отбору проб вдыхаемой аэрозольной фракции приведено в
[5] и
[22]. Особые указания по измерению ВКДК приведены в ИСО 24095.
6.1.1 Чтобы предотвратить загрязнение от предыдущего процесса, пробоотборники перед использованием необходимо очищать. Детали, соприкасающиеся с пылью, демонтируют (в соответствии с указаниями инструкции по эксплуатации), пробоотборники погружают в моющее средство, где ультразвуком удаляется мелкая пыль, и промывают в воде. Оборудование перед сборкой необходимо высушить.
6.1.2 При необходимости проведения гравиметрического анализа предварительно взвешивают каждую идентифицированную улавливающую подложку (в том числе не менее трех подложек для холостых проб) с точностью <2> до 0,01 мг; чтобы избежать загрязнения и повреждения, используют пинцет с плоскими концами в соответствии с ИСО 15767.
--------------------------------
<2> Приведенную здесь и далее по тексту "точность взвешивания до какого-то значения массы" следует ассоциировать с возможностью весов показывать постоянство значения соответствующего числового разряда (с учетом округления цифры следующего младшего разряда, которая при взвешивании может изменяться), а не с оценкой точности значения массы, которая должна оценивается по отдельной процедуре.
6.1.3 В каждый пробоотборник загружают предварительно взвешенную улавливающую подложку и подключают к насосу для отбора проб.
Примечание - Для некоторых типов пробоотборников может потребоваться другая процедура; в этом случае следует обратиться к инструкции по эксплуатации.
6.1.4 Необходимо убедиться, что каждый загруженный пробоотборник проверен на наличие утечек.
Примечания
1 Утечка изменяет характеристики пробоотборника, что также влияет на массу отобранной вдыхаемой пыли.
2 В качестве контроля правильности сборки
[8] проводят испытание на герметичность. Примерами испытания на герметичность являются: испытание на утечку частиц, выполненное с помощью оптического счетчика или счетчика частиц конденсации
[8], и определение герметичности по перепаду давления, выполненное с помощью микроманометра
[9].
3 Испытание на герметичность не применимо к CIP 10-R.
6.1.5 Расход пробоотборника регулируется в пределах +/- 5% от требуемого значения. Максимальное отклонение скорости потока (до и после отбора проб) не должно превышать +/- 5% от требуемого значения.
6.1.6 Для персонального отбора проб на рабочем месте пробоотборник крепится к работнику в пределах его зоны дыхания, насос крепится лентами или ремнями и подсоединяется к пробоотборнику с помощью гибкой трубки, не мешая удобству работника в его деятельности.
Примечание - Для каждого нового отбора полезно сохранить одну или несколько неиспользованных улавливающих подложек в качестве холостых проб в условиях применения. Они используются в целях обеспечения контроля качества. Если содержание на холостой подложке значительно отличается от значения, полученного для усредненного лабораторного фильтра, следует провести ряд исследований по выявлению расхождения.
6.1.7 В начале отбора включают насос и фиксируют время.
6.1.8 Минимальное время отбора проб рассчитывают с учетом количественного предела определения метода ИК-Фурье спектроскопии для ВКДК (см.
11.2) и скорости потока в системе отбора проб, с тем чтобы можно было надежно оценить соответствие предельному значению или другим задачам измерения.
Для проверки соответствия требованиям, когда это возможно, пробу следует отбирать в течение всей рабочей смены. Длительное время отбора улучшает прецизионность измерения всех пробоотборников, если только не происходит перегрузка.
Следует соблюдать осторожность, чтобы не перегружать фильтр для отбора.
Примечание - При отборе проб с большой изменчивостью наблюдаются возможные потери пробы в пробоотборнике, т.е. проба поступает в пробоотборник, но не доходит до фильтра для отбора
[10]. Такие потери не видны невооруженным глазом и не могут быть количественно определены прямым методом.
6.1.9 В конце отбора проб насос выключают, записывают время и рассчитывают продолжительность периода отбора проб. Объемную скорость потока пробоотборника проверяют в соответствии с
6.1.5.
6.1.10 Записывают соответствующие детали отбора проб, необходимые для дальнейшего анализа:
a) тип пробоотборника, используемого для отбора пробы;
b) тип подложки для отбора;
c) уникальный идентификатор каждой пробы;
d) объем проб воздуха;
e) массу вдыхаемой пыли на улавливающей подложке, чтобы определить степень извлечения после переосаждения и количественно определить аликвоту для метода с изготовлением таблеток KBr;
f) информацию о производственном процессе, которая может помочь в оценке результатов.
6.1.11 Результаты качественного анализа пробы пыли, представляющего рабочее место или деятельность, предоставляют аналитику дополнительную информацию для оценки возможных примесей. В отсутствие информации о материалах, участвующих в производственном процессе, сильно загруженный фильтр или осажденная проба пыли может предоставить достаточную качественную информацию. Результаты качественного анализа сообщают специалисту по промышленной гигиене (например, при отборе проб нового процесса или процесса, в котором материалы, участвующие в рабочей деятельности, могут измениться).
Следует соблюдать осторожность при транспортировке аэрозольных пробоотборников в вертикальном положении, чтобы избежать возможного осаждения пыли на улавливающую подложку. Для надежной транспортировки можно использовать кассеты. Потери пробы могут возникнуть при приложении давления к поверхности пыли, собранной на улавливающей подложке, особенно при переносе фильтра из кассеты пробоотборника или контейнера для пробы. Например, потеря пробы может произойти, если поверхность подложки соприкасается с пинцетом, уплотнительным кольцом или краем пробоотборника. Фильтры в процессе отбора проб могут получить какой-либо заряд и притянуть к себе частицы. Потери пыли с поверхности улавливающей подложки или обнаруженные в кассете должны быть отмечены в протоколе испытания.
Примечание - Фильтры, загруженные частицами респирабельной фракции не более чем на 4 мг (обычно на фильтре диаметром 25 мм), могут быть перевезены почтовой службой без значительных потерь при условии использования подходящего фильтродержателя и контейнера, предназначенного для предотвращения повреждений
[11].
7.1 Подготовка калибровочных проб
Для количественного определения диоксида кремния в калибровочной пробе используют взвешивание. Точность взвешивания не позволяет подтвердить массу, собранную на улавливающую подложку ниже предела количественного определения. Он может быть выше, чем самое низкое содержание на градуировочной кривой (типичные значения: от 20 мкг до 50 мкг). Для этой цели могут быть использованы хорошо охарактеризованные смеси диоксида кремния с другими видами пыли (особенно для косвенных методов).
Примечание - В качестве калибровочных стандартов при косвенном анализе, включая массы менее 50 мкг, может использоваться стандартный образец кварца и кристобалита (NIST) на фильтрах.
7.1.1 Подготовка калибровочных проб непосредственно на фильтре
7.1.1.1 Из одной партии отбирают не менее 12 фильтров для калибровочных испытательных проб и три фильтра, которые будут использоваться в качестве лабораторных холостых проб, и обеспечивают уникальную идентификацию подходящим способом.
7.1.1.2 В соответствии с ИСО 15767 готовят фильтры, взвешивая с точностью до 0,001 мг. Необходимо убедиться, что три последовательных взвешивания одного и того же фильтра находятся в пределах 15 мкг

. Для поликарбонатных фильтров три последовательных взвешивания должны находиться в пределах 3 мкг

.
Примечание - Основным вкладом в неопределенность калибровки является прецизионность взвешивания фильтров
[1].
7.1.1.3 Для предотвращения возможного воздействия оборудование, используемое для генерирования любого аэрозоля пыли (см.
рисунок 1), должно помещаться в вытяжной шкаф.
7.1.1.4 Предварительно взвешенный фильтр помещают в пробоотборник, который будет использоваться для отбора проб.
7.1.1.5 Пробоотборник подсоединяют к насосу. Насос обычно находится вне защитного устройства, соединенный трубкой с пробоотборником.
7.1.1.6 Включают оборудование для создания аэрозолей стандартного образца в вытяжном шкафу и производят отбор проб пыли на фильтр.
Примечание - Приготовление фильтров с низкой массой стандартного образца (менее 50 мкг) затруднительно с хорошей прецизионностью и точностью.
ПРЕДУПРЕЖДЕНИЕ - Не следует создавать избыточного давления в стеклянной камере.
7.1.1.7 Калибровочные испытательные фильтры и лабораторные холостые пробы взвешивают в соответствии с ИСО 15767 и определяют массу стандартного образца на фильтре.
7.1.1.8 Этот метод подходит для определения кварца или кристобалита в диапазоне от 10 мкг до 1 мг на фильтре диаметром 25 мм. В этом диапазоне существует линейная зависимость между ИК откликом и содержанием кварца/кристобалита в пробе.
7.1.2 Подготовка калибровочных проб при переосаждении
7.1.2.1 Подготавливают не менее двух суспензий аналита путем взвешивания известных количеств стандартного образца с точностью до 0,001 мг.
7.1.2.2 Для помощи в планировании аликвот для калибровочных фильтров рассчитывают массу стандартного образца в микрограммах, приходящуюся на 1 см3 суспензии.
7.1.2.3 С помощью ультразвукового зонда или ванны в течение минимум 3 мин создают суспензию стандартного образца в реагенте. Прежде чем отбирать аликвоты, суспензию помещают в магнитную мешалку (без нагрева) для получения однородности.
7.1.2.4 В соответствии с ИСО 15767 подготавливают фильтры диаметром 25 мм, которые взвешивают с точностью до 0,001 мг. Необходимо убедиться, что три последовательных взвешивания одного и того же фильтра находятся в пределах 15 мкг

. Для поликарбонатных фильтров три последовательных взвешивания должны находиться в пределах 3 мкг

.
Примечание - Основным вкладом в неопределенность калибровки является прецизионность
[1] взвешивания фильтров.
7.1.2.5 На фильтрующее устройство устанавливают фильтр. На фильтр помещают от 2 до 3 см3 реагента. Выключают мешалку и встряхивают суспензию. Из суспензии отбирают аликвоту и переносят из пипетки в воронку из фильтра. Стороны воронки несколько раз промывают небольшим количеством реагента.
Диаметр фильтрующей воронки и область всасывания под фильтром будут влиять на площадь осаждения пробы и, следовательно, на чувствительность калибровки. Фильтрующие устройства могут различаться в обоих отношениях, и важно использовать устройства с одинаковыми размерами.
При использовании фильтров ПВХ для улучшения адгезии стандартного образца выбирают шероховатую сторону фильтра при переосаждении.
7.1.2.6 Под действием вакуума быстро отфильтровывают суспензию. Не следует промывать боковые стенки воронки после осаждения материала, так как это приведет к переупорядочению материала на аналитическом фильтре. Пока фильтр не высохнет, поддерживают вакуум. Фильтр снимают с фильтрующего устройства и оставляют до полного высыхания. После полного высыхания фильтр взвешивают.
7.1.2.7 В соответствии с ИСО 15767 взвешивают калибровочные испытательные фильтры и лабораторные холостые пробы. Далее определяют массу стандартного образца на фильтре.
7.1.3 Подготовка калибровочных проб при изготовлении таблеток KBr
7.1.3.1 Подготавливают не менее двух калибровочных таблеток KBr для минимум шести равноудаленных значений содержания.
7.1.3.2 KBr высушивают в течение ночи при 110 °C и для предотвращения поглощения влаги хранят в эксикаторе. Среда с низкой относительной влажностью облегчает работу с пробой при использовании KBr.
7.1.3.3 Точно взвешивают различные количества стандартного образца с точностью до 0,001 мг, которые затем переносят в тигель. В тигель добавляют холостую улавливающую подложку, которая использовалась во время отбора проб воздуха рабочей зоны.
7.1.3.4 В качестве альтернативы для подготовки калибровочных стандартов могут быть использованы суспензии с определенным содержанием стандартного образца. Определенное количество стандартного образца разводят в воде или этаноле в мерной колбе вместимостью 100 или 250 см3. Суспензию переносят в колбу Эрленмейера и перемешивают (магнитная мешалка) при контролируемой температуре 20 °C (термостат для ванны). Количество суспензии, необходимое для приготовления соответствующего калибровочного стандарта, отделяют с помощью микропипетки. После сушки необходимое для приготовления количество KBr, как описано выше, добавляют в загруженный фильтр.
Примечания
1 В качестве альтернативы подготовка калибровочных проб для испытаний может быть выполнена в соответствии с
7.1.1 или
7.1.2, перед 7.1.3. Чтобы получить остаточный стандартный образец, фильтры промывают, используя одну из процедур обработки проб, описанных в
7.2.
2 Для повышения точности можно приготовить суспензию стандартного образца и KBr для калибровочных проб массой менее 100 мкг. Например, можно использовать соотношение 1990 мг KBr к 10 мг стандартного образца. Содержание KBr можно дополнительно увеличить, если его количество для формирования таблетки является недостаточным.
7.1.3.5 Для получения остаточного стандартного образца улавливающие подложки промывают с использованием одной из соответствующих процедур обработки проб, описанных в
7.2.
7.1.3.6 Взвешивают от 250 до 450 мг (с точностью до 0,1 мг) KBr и переносят в тигель вместе с порошком калибровочной пробы или стандартного образца. Масса таблеток не должна отклоняться более чем на 10% друг от друга.
7.1.3.7 С помощью пестика порошок пробы или стандартного образца тщательно перемешивают с KBr. Если необходимо, смесь пересыпают в ступку и перетирают до полного измельчения и перемешивания.
7.1.3.8 Смесь количественно переносят в 13-мм вакуумируемую таблеточную форму и однородно распределяют ее в камере сжатия.
7.1.3.9 После установки компрессионного инструмента в гидравлический пресс инструмент дегазируют вакуумным насосом в течение приблизительно 1 мин, а смесь с KBr сжимают под давлением 80 кН/см2 в течение приблизительно 1 мин.
7.1.3.10 Готовую таблетку взвешивают с точностью до 0,1 мг. Рассчитывают соотношение между весом готовой таблетки и весом KBr, который был первоначально добавлен (обычно около 0,98).
7.2 Подготовка улавливающей подложки для косвенного анализа
Испытателям, использующим метод прямого анализа, не нужно готовить улавливающие подложки и следует сразу перейти к
разделу 8.
Все операции с легковоспламеняющимися растворителями следует выполнять в вытяжном шкафу. Некоторые пробы содержат минералы, которые могут помешать анализу ВКДК. Для устранения таких мешающих влияний следуют некоторым методикам обработки проб, приведенным в
приложении A. Используется соответствующая обработка, основанная на типе улавливающей подложки.
7.2.1 Фильтры из ПВХ, смешанных сложных эфиров целлюлозы (СЭЦ) и поликарбоната
Фильтр для отбора проб удаляют отжигом в печи (7.2.1.1) либо плазменным травлением
(7.2.1.2). В качестве альтернативы также может быть выбрана обработка тетрагидрофураном (ТГФ) для растворения фильтра для отбора проб
(7.2.1.3).
7.2.1.1 Обработка в печи
a) Каждый фильтр, в который добавляют от 1 до 3 см3 1,3-бутандиола, помещают в чистый тигель.
Примечание - Для улучшения контроля процесса нагрева и горения используют бутандиол.
b) Тигель медленно нагревают в печи до температуры от 450 до 600 °C, которую поддерживают в течение четырех - шести часов.
c) Если в фильтре присутствует графит, необходимо выбрать соответствующую методику обработки проб из
приложения A.
d) После сжигания фильтра тиглю дают остыть до комнатной температуры, из которого затем отбирают пробу.
e) Далее процедуру продолжают согласно
7.3.1 или
7.4.
7.2.1.2 Плазменное травление
a) Установка для плазменного травления должна иметь минимальную номинальную мощность 3 Вт и быть ограничена воздухозаборником, чтобы гарантировать, что пыль пробы не будет утеряна при развакуумировании.
b) Фильтр пробы воздуха помещают в чистую стеклянную бутылку или стакан.
c) Открытый конец накрывают перфорированной фольгой для обеспечения циркуляции газов, используемых для плазменного травления и ограничения возможных потерь пыли.
d) Протравливают пробу таким образом, чтобы остаток от фильтра для отбора проб был минимальным.
e) Далее процедуру продолжают согласно
7.3.2 или
7.4.
Примечание - Плазменное травление оставляет небольшой остаток от фильтра ~ 0,1%.
7.2.1.3 Обработка тетрагидрофураном (ТГФ)
a) Помещают фильтр в небольшой тонкий стакан, пробирку для центрифуги или стеклянную бутылку с крышкой.
Если для обработки фильтра для отбора проб используется ТГФ, нельзя использовать фильтр из ПВХ для повторного осаждения и анализа, так как ТГФ растворяет такой фильтр.
b) В вытяжном шкафу в емкость с фильтром добавляют от 8 до 10 см3 ТГФ, принимая меры предосторожности для защиты рук от контакта с растворителем.
c) Емкость закрывают и растворитель перемешивают вручную или с помощью вихревого смесителя, стараясь не пролить содержимое.
d) Фильтр помещают в ультразвуковую ванну до его полного растворения.
e) Далее процедуру продолжают согласно
7.3.2 с использованием в качестве реагента ТГФ.
7.2.2 Фильтры из нитрата целлюлозы
a) В чистый тигель аккуратно помещают фильтр.
b) В вытяжном шкафу фильтр смачивают небольшим количеством 1,3-бутандиола.
c) Далее фильтр помещают в печь под вытяжным колпаком при комнатной температуре.
d) До введения проб печь не нагревают. Необходимо носить защитные очки.
e) Печь медленно нагревают от комнатной температуры до 450 - 600 °C в течение минимум четырех часов.
f) Отбирают пробу и охлаждают тигель до комнатной температуры.
g) Далее процедуру продолжают согласно
7.3.1 или
7.4.
7.2.3 Фильтры из пенополиуретана
a) Пустой тигель помещают в муфельную печь на 10 - 15 мин при температуре от 450 до 600 °C. Далее его кладут в эксикатор и дают ему остыть в течение не менее 4 ч и взвешивают. Записывают вес с точностью до 0,01 мг (масса M1).
b) Из кассеты вынимают фильтр и помещают в предварительно очищенный и взвешенный тигель.
c) По крайней мере дважды кассету промывают в тигле 2 - 3 см3 реагента (2-пропанолом или этанолом). В тигле промывают любые предметы, которые могли соприкоснуться с пробой, например щипцы.
d) Необходимо убедиться, что фильтр покрыт реагентом.
e) Реагент зажигают в тигле.
f) Когда фильтр расплавится, его помещают в печь на 30 мин при температуре от 200 до 300 °C. Затем температуру постепенно повышают до 550 - 650 °C и сохраняют в течение как минимум 3 ч.
g) Тиглю дают остыть в эксикаторе, а затем повторно взвешивают после выдерживания в помещении для взвешивания с точностью до 0,01 мг (M2).
h) Остаток рассчитывают как M2 - M1.
i) Далее процедуру продолжают согласно
7.3.1 или
7.4.
7.3 Переосаждение на аналитический фильтр
a) Тиглям дают остыть в зоне, свободной от возможного загрязнения.
b) При необходимости взвешивают аналитический фильтр диаметром 25 мм с точностью до 0,001 мг.
c) Подготавливают фильтры с размерами, аналогичными тем, которые использовались для подготовки калибровочных тестовых фильтров в
7.1.3.
d) Тигель, содержащий остатки пробы, помещают в мерный стакан и заливают достаточным количеством реагента (от 3 до 5 см3), чтобы он был полностью покрыт.
e) Мерный стакан накрывают часовым стеклом.
f) Обрабатывают ультразвуком в течение 3 - 5 мин.
g) Часовое стекло промывают в стакане.
h) Тщательно промывают содержимое тигля в стакане.
i) Содержимое стакана отфильтровывают на предварительно взвешенный фильтр.
j) Фильтру дают высохнуть на воздухе.
k) При необходимости фильтр повторно взвешивают и определяют извлечение по первоначальному весу, зарегистрированному при отборе проб.
7.3.2 Бутылки или мензурки из установки плазменного травления
a) С верхней части стеклянной бутылки или стакана снимают фольгу или перфорированную крышку.
b) Если присутствуют растворимые компоненты, необходимо обратиться к
приложению A, где описаны стратегии обработки проб.
c) В бутылку добавляют количество реагента и тщательно промывают стенки.
d) Нельзя распылять растворитель непосредственно на пробу, так как это может привести к образованию аэрозоля пробы пыли.
e) На бутылку или стакан кладут крышку и проводят ультразвуковую обработку в течение 5 - 10 мин.
f) Остаток отфильтровывают на аналитическом фильтре с такими же размерами, как и у калибровочного фильтра.
7.4 Приготовление таблеток KBr
a) К пробе добавляют определенное количество KBr. В каждом случае от 250 до 450 мг KBr добавляют к не более чем 2 мг пыли.
b) Таблетки KBr должны содержать не более 2 мг пыли и не более 1 мг кварца.
Примечание - Как правило, при использовании до 2 мг пыли можно ожидать, что содержание кварца значительно меньше 1 мг, поскольку на большинстве рабочих мест содержание кварца менее 20%. Однако в определенных областях (например, при обработке или измельчении кварцевого песка) содержание его в пыли может быть даже больше 50%. В этом случае должна быть подготовлена аликвота пробы.
c) Толщина таблеток KBr для калибровки, а также для проб не должна отклоняться более чем на 10% друг от друга, поэтому колебания значения массы таблеток должны быть в пределах 10%.
d) Для полного удаления вещества со стенок тигля его с пылью и KBr обрабатывают ультразвуком в течение 15 мин.
Примечание - Если стравливание фильтров для отбора проб на основе нитрата целлюлозы или СЭЦ (см.
7.2.2) выполняют с добавлением KBr, может произойти реакция между материалом фильтра, бромидом калия (KBr) и пылью, что может привести к несистематическому уменьшению содержанию кварца
[23]. Добавление KBr после стравливания фильтра предотвращает любую химическую реакцию.
e) Перенос смеси пробы в смесительный или измельчающий инструмент для гомогенизации.
Примечание - При использовании мельницы измельчение продолжительностью более 5 мин не улучшает результаты.
f) Количество KBr, необходимое для приготовления прессованной таблетки, взвешивают из смеси пробы и KBr. При наполнении приспособления для сжатия (пресс-формы) этой смесью должно быть обеспечено однородное распределение, чтобы избежать скопления порошка во время сжатия таблеток. Таким образом достигается максимально возможная однородность толщины таблетки.
g) После установки приспособления для сжатия в гидравлический пресс таблетку KBr сжимают под давлением приблизительно 80 кН/см2 приблизительно в течение 1 мин.
Примечания
1 Формирование таблеток можно улучшить, если инструмент, в котором происходит сжатие, дегазировать до сжатия вакуумным насосом в течение порядка 1 мин.
2 Процесс сжатия и оборудование для сжатия можно проверить во время первоначальной реализации метода, выполнив анализ таблетки четыре раза, переворачивая ее приблизительно на 90° в одной плоскости в держателе. Отклонения, достаточно большие, чтобы повлиять на результаты анализа, требуют оптимизации процесса сжатия. Видимая непрозрачность на краю готовой таблетки является признаком неоптимального сжатия с неравномерно распределенной смесью.
h) Чтобы обеспечить хорошую прозрачность таблетки для инфракрасного луча, смесь пробы и KBr, измельчительные емкости и инструменты для сжатия должны быть высушены при 40 °C в сушильном шкафу и храниться там между процедурами прессования.
Если прессованные таблетки сразу не анализируют, то их можно хранить в сушильном шкафу в течение короткого периода времени. Прессованные таблетки должны быть измельчены и снова спрессованы после длительного хранения. Должны быть приняты во внимание потери в массе, каждая таблетка должна быть взвешена до и после повторного сжатия.
8.1 Гравиметрический анализ вдыхаемой пыли
Этот метод предполагает, что гравиметрическое измерение вдыхаемой пыли выполняют перед анализом пробы на ВКДК и записывают соответствующее значение. Это важно, так как знание массы пыли на фильтре помогает испытателю оценить качество своих результатов. Взвешивание, если требуется, следует выполнять в соответствии с ИСО 15767.
8.2 Анализ с применением ИК Фурье-спектроскопии
8.2.1 Коррекция фона
8.2.1.1 Из ИК-спектров, полученных от калибровочных проб, вычитают спектр, полученный от холостой пробы (либо от подходящего холостого фильтра соответствующего веса, либо таблетки KBr без ВКДК).
8.2.1.2 В качестве альтернативы перед отбором проб сканируют холостые фильтры для калибровочных проб и сохраняют полученные спектры, чтобы каждый холостой фильтр можно было использовать для собственной коррекции фона.
8.2.1.3 Другой подход заключается в анализе подходящего холостого фильтра с согласованным весом в качестве "фона" перед анализом калибровочного фильтра. Таким образом, в этом случае на калибровочном фильтре анализируется только ВКДК. Коррекция фона может быть повторена с помощью трех подходящих холостых фильтров соответствующего веса, чтобы получить три измерения для одной калибровочной пробы.
Этот практический подход имеет место, когда калибровки подготавливают для проб на рабочем месте, которые не были подготовлены заранее в лаборатории. Клиент может предоставить подходящий холостой фильтр соответствующего веса, чтобы лаборатория могла использовать его в качестве "фона".
8.2.2 Измерение
8.2.2.1 Каждую пробу (стандартную, калибровочную или пробу на рабочем месте) по очереди устанавливают в ИК-Фурье спектрометр, использующий расфокусированный луч, чтобы он покрывал некоторую область на калибровочной пробе. В тех случаях, когда спектрометр имеет подвижную платформу, на которой устанавливают держатель пробы, важно, чтобы она была размещена в одинаковом положении для всех проб.
Хорошей практикой является проведение дополнительных измерений путем поворота пробы (например, на углы 45°, 90° или 180°) для устранения возможной неоднородности. Количество дополнительных измерений и конкретные повороты должны быть определены во время аттестации метода.
8.2.2.2 Сканирование проб осуществляется в режиме поглощения в максимальном диапазоне от 4000 см-1 до 400 см-1 с разрешением 4 см-1 или выше с использованием типичного накопления в 32 скана.
Количество сканирований может быть оптимизировано для типа прибора.
8.2.2.3 Параметры сканирования должны быть оптимизированы для достижения минимальной инструментальной прецизионности 4% или выше для проб с массой ВКДК, представляющей предельное значение. Это достигается путем изменения параметров измерения (количества сканирований и разрешения) до того момента, когда дальнейшее повышение прецизионности невозможно при измерении фильтра или таблетки KBr с известной массой ВКДК. Обычно используются предельная масса и половина ее предельного значения. Производители предоставляют различные программные продукты и могут использовать разные подходы к сбору данных.
Примечание - Если предельное значение очень низкое, требование прецизионности 4% может быть недостижимым.
8.2.2.4 Необходимо периодически контролировать интенсивность пучка при измерении серии проб.
Примечание - Стабильность интенсивности можно контролировать путем ежедневного измерения проб контроля качества.
Анализ калибровочных испытательных проб и оценку их спектров следует проводить в соответствии с той же процедурой, что и для проб на рабочем месте (см.
8.2 и
раздел 9).
8.3.1 Калибровку выполняют путем подготовки калибровочных испытательных проб с известными количествами ВКДК и установления градуировочного графика зависимости интенсивности пика поглощения от массы ВКДК в стандартном образце. Если калибровочные пробы собираются из аэрозоля стандартного образца, то используется то же оборудование, что и для измерения проб на рабочем месте.
8.3.2 Калибровочные испытательные пробы получают в пределах минимального диапазона, приблизительно в 0,1 - 2 раза превышающего соответствующее предельное значение для пробоотборника, выбранного на период отбора проб, обычно используемого на рабочем месте:

, (1)

, (2)
где Lup - верхнее предельное значение, мг;
Llow - нижнее предельное значение, мг;

- предельное значение, мг/м
3;
qv - скорость потока, дм3/мин/1000;
tsamp - время отбора пробы, мин;
Kload - коэффициент загрузки.
Массу стандартного образца, осажденного на улавливающую подложку, mRM, рассчитывают как разницу между предварительным и последующим взвешиваниями с поправкой на нестабильность веса. Коррекцию осуществляют путем вычитания изменения средней массы холостого фильтра из изменения массы активных проб (см. ИСО 15767). Значение массы ВКДК, осажденного на подложку для отбора, mВКДК, рассчитывают по значению массы стандартного образца, полученного взвешиванием, с поправкой на содержание кварца или кристобалита (кристалличность)
mВКДК = mRM·XRM, (3)
где mВКДК - масса кварца или кристобалита, мг;
mRM - масса стандартного образца, мг;
XRM - поправочный коэффициент на содержание кварца/кристобалита в стандартном образце, выраженный в виде доли (например, 0,937 означает 93,7%).
Подробная процедура построения градуировочной кривой приведена в следующих подпунктах. См. ИСО 11095 для руководства.
8.3.2.1 Для практических целей градуировочная кривая должна охватывать диапазон от 0,01 до 1 мг ВКДК.
8.3.2.2 Строят график скорректированной по базовой линии высоты пика или интегрального поглощения двойного пика 800 см-1/780 см-1 относительно массы кварца в миллиграммах. Определяют линии, наиболее подходящие для каждого графика (которые должны быть линейными и проходить близко к началу координат). Наклоны этих линий являются коэффициентами отклика (RF) для кварца при 780 см-1 и 800 см-1. Изучают разброс точек данных от линии регрессии и повторно рассматривают любые выбросы для определения причины появления.
8.3.2.3 Для кристобалита следуют тем же процедурам, которые описаны и для кварца, но в этом случае измеряется пик при 800 см-1 и 620 см-1. Строят график скорректированной по базовой линии высоты пика или интегрального поглощения и на двух частотах определяют линии наилучшего соответствия и коэффициенты отклика для кристобалита.
8.3.2.4 Проводят линию тренда из отношения между ответным сигналом и массой ВКДК на фильтре для калибровочной пробы. Основное предположение для построения градуировочной кривой состоит в том, что функция является линейной; следовательно, должны быть определены наклон и отрезок, отсекаемый этой прямой линией от оси
[2].
8.3.2.5 Для прецизионности подсчета линию тренда проводят через ноль или используют взвешенную регрессию. Если результаты воспроизводимы (например, с проверкой квалификации или референтными пробами), может применяться линейная регрессия со свободным членом.
9 Оценка инфракрасных спектров с Фурье-преобразованием
9.1.1 Количественный результат рассчитывают для наиболее интенсивной полосы поглощения ВКДК, которая не имеет серьезных помех, в соответствии с градуировочной кривой

, (4)
где IВКДК - интенсивность полосы поглощения кварца или кристобалита, скорректированная на холостое значение;
a - определенный коэффициент (свободный член), определяющий точку пересечения прямой с осью ординат, для градуировочной кривой;
b - определенный угловой коэффициент для градуировочной кривой;
mВКДК - масса кварца или кристобалита в пробе.
9.1.2 Для определения количества кварца используется полоса поглощения при 800 см-1 и 780 см-1. Для кристобалита следуют тем же процедурам, которые описаны и для кварца, но используются пики при 800 см-1 и 620 см-1.
9.2 Количественная оценка ВКДК с использованием высоты пика
9.2.1 Для кварца на скорректированных спектрах холостых проб чертят базовые линии, тангенсальные к минимумам поглощения вблизи 730 см
-1 и 830 см
-1 с обоих сторон дуплета.
9.2.2 Для каждого спектра измеряют высоту пиков от базовой линии при 780 см
-1 и 800 см
-1 соответственно. Если записано более одного спектра, рассчитывают среднюю высоту пика на каждой частоте.
9.2.3 Количество кварца на фильтре пробы в микрограммах рассчитывают делением высоты пика на каждой частоте на коэффициент отклика для этой частоты, полученный из градуировочной кривой, а затем результат усредняется. Если отношение высоты пика при 800 см
-1 к высоте пика при 780 см
-1 находится за пределами диапазона от 1,0 до 1,4, спектр пробы следует исследовать на наличие примеси, в частности кристобалита при 620 см
-1 и каолинита при 915 см
-1.
9.2.4 Для кристобалита следуют тем же процедурам, что и для кварца, но измеряется высота пиков при 800 см-1 и 620 см-1. Для пика при 620 см-1 требуется провести вторую базовую линию (опять прямую и как можно более горизонтальную), тангенциальную к минимумам поглощения приблизительно при 650 см-1 и 590 см-1.
9.2.5 Количественная оценка ВКДК с использованием высоты пика самодостаточна для спектров без примесей. Однако, если присутствуют минеральные примеси, для оценки спектров проб необходимо обратиться к 9.3.
9.3 Количественная оценка ВКДК с использованием интегральной интенсивности пика поглощения
Используют следующие методы:
a) определение поглощения в диапазоне аналитических полос;
b) вычитание стандартного спектра;
c) метод, который учитывает влияние размера частиц.
9.3.1 Определение поглощения в диапазоне аналитических полос [12], [14]
9.3.1.1 Определение поглощения в диапазоне аналитических полос является простейшим методом, который можно использовать для определения массы ВКДК в пробе. Однако этот метод предполагает, что на используемых аналитических полосах отсутствуют помехи, и что распределение частиц по размерам в пробе аналогично распределению для стандартного образца, используемого для построения градуировочной кривой.
9.3.1.2 Этот метод может применяться с другими методами, перечисленными в этом подпункте, для проб на рабочих местах со сложными матрицами. Оценку, основанную исключительно на определении интегрального поглощения, как самостоятельный метод проводить не следует. Рекомендуется применять этот метод только в сочетании с методами, перечисленными в
9.2.2 и/или
9.2.3, чтобы иметь возможность идентифицировать возможные примеси. Вычитание спектров, как описано в
9.2.2, может указывать на фактический базовый профиль. Как правило, можно сделать вывод, что при определении массы кварца или кристобалита с использованием интегрального поглощения влияние размера частиц (см.
9.2.3) не принимается во внимание. В крайних случаях (фракции пыли с аэродинамическим средним диаметром менее 0,8 мкм или более 4 мкм) это может привести к относительным ошибкам до +/- 20%. Ошибки могут составлять до +/- 10% в пыли, содержащей кварц или кристобалит с распределением частиц по размерам, которое обычно существует на рабочих местах.
9.3.2 Вычитание стандартного спектра [20]
9.3.2.1 Вычитание стандартного спектра кварца или кристобалита
Массу кварца или кристобалита определяют путем вычитания спектра поглощения калибровочного стандарта (с известной массой стандартного образца) из спектра поглощения пробы. Вычитание выполняют для оценочного диапазона двойной полосы или аналитической полосы, которая используется для определения интегральной интенсивности (см.
9.3.1).
Если фон в диапазоне двойной полосы поглощения кварца при 800 см-1 и 780 см-1 показывает нелинейный характер (например, наклон или горб), следует применять вычитание стандартного спектра.
Примечание - Чтобы оценить интегральную интенсивность пика или высоту пика, обычно линейный фон невозмущенной полосы поглощения рисуют между 825 см-1 и 720 см-1. При наклоне спектра линейный фон можно нарисовать между касательными точками (где базовая линия является касательной к спектру), однако это приводит к недооценке интегральной интенсивности или высоты пика (рисунок 2).
X - частота, см-1; Y - поглощение; 1 - чистый кварц
(80 мкг); 2 - кварц (80 мкг; пик при наклоне спектра);
3 - фон, полученный вычитанием стандартного спектра;
4 - линейный фон для оценки интегральной
интенсивности или высоты пика
Рисунок 2 - Влияние вида наклона фона
на определение интегрального поглощения для кварца
Коэффициент при спектральном вычитании выбирают таким образом, чтобы последующий результат вычитания приводил к наиболее вероятному профилю базовой линии. Когда присутствует только кварц или кристобалит, результирующая базовая линия после вычитания будет равна фону.
Коэффициент вычитания должен быть оптимизирован вблизи выбранного коэффициента, во избежание завышения или занижения содержания ВКДК.
Поскольку кварц или кристобалит из разных источников не всегда имеют одинаковую форму и профиль полос поглощения, стандартные спектры различных доступных частиц кварца или кристобалита в воздухе известной чистоты могут быть записаны и использованы для спектрального вычитания. Результирующая базовая линия становится дважды изогнутой, так как положения обоих пиков поглощения двойной полосы пробы и стандарта не совсем совпадают. В этом случае следует использовать другой стандартный образец кварца, чтобы можно было оптимально определить коэффициент вычитания.
Преимущество этого метода оценки состоит в том, что даже в пробах с сильными минеральными примесями на полосах кварца и кристобалита можно проводить удовлетворительные количественные результаты. Если применение этого метода не приводит к удовлетворительным (правдоподобным) профилям базовой линии для результата вычитания, то следует использовать аналитический метод РФА (см.
раздел 11). В этом случае надежное количественное определение массы кварца или кристобалита невозможно с помощью инфракрасной спектроскопии.
9.3.2.2 Вычитание стандартного спектра от минерала, вызывающего мешающие влияния
Если в пробе с простой минеральной матрицей присутствуют известные примеси, то подготавливают градуировку этого минерала в соответствии с
8.3. Известный стандартный спектр известных минеральных примесей вычитают из спектра пробы согласно
9.2.2. Остаточный спектр может быть использован для определения количества кварца или кристобалита.
9.3.3 Другие методы оценки
Существуют и другие методы, которые учитывают высоту пика, его интегральную интенсивность и распределение частиц по размерам. Дополнительная информация приведена в
приложении C.
9.4.1 При оценке следует учитывать два важных аспекта:
- аналитические примеси из-за сопутствующих веществ в пыли;
- зависимость анализа от размера частиц измеряемой пыли.
9.4.2 Основным источником ошибок в анализе является наличие соединений, у которых поглощение совпадает (или очень близко) с кварцем или кристобалитом. Примеры включают силикатные соединения, каолинит, мусковит и анортит. Подробный список примесей приведен в ИСО 24095.
9.4.3 Как правило, при определении других компонентов в пыли на сильно загруженной пробе оценивают наличие минеральных примесей.
9.4.4 Качественный анализ с использованием рентгенофазового анализа (РФА) или ИК-Фурье спектроскопии может быть полезен, по крайней мере, для одной из проб с каждого рабочего места или действия, выполненного для выявления любых возможных примесей. Следует позаботиться о том, чтобы все пробы не имели одинаковые минеральные составляющие. Например, каменщики на одном и том же рабочем месте могут работать с различными камнями.
10.1 Концентрация ВКДК
10.1.1 Рассчитывают объем Vs каждой пробы воздуха, а также произведение номинального расхода пробы и времени отбора пробы.
10.1.2 Массовая концентрация ВКДК, CВКДК, как отношение массы на фильтре, mВКДК (масса кварца и/или кристобалита), к объему воздуха VS

, (5)
где CВКДК - массовая концентрация кварца и/или кристобалита, мг/м3;
mВКДК - масса кварца и/или кристобалита, мг;
VS - объем воздуха, м3.
11 Характеристики эффективности
11.1 Предел обнаружения
11.1.1 Предел обнаружения и точность метода зависят от ряда параметров, например размера частиц, других составляющих пробы и типа используемого спектрофотометра.
Примечания
1 Предел обнаружения для ВКДК определяют как трехкратное стандартное отклонение анализа холостых проб (т.е. холостой фильтр или таблетка чистого KBr), обычно около 10 мкг. Для пробы воздуха объемом 500 дм3 это значение соответствует пределу обнаружения 0,020 мг/м3.
2 Предел обнаружения, связанный с пробой, также может применяться, когда предел обнаружения проверяется путем добавления к анализируемому фильтру или таблетке KBr навески аналита, поглощение которого не наблюдается на рассматриваемых аналитических полосах. В качестве альтернативы можно загрузить известные количества интересующей матрицы (например, от 200 мкг до 500 мкг кальцита), когда доступны чистые пробы матрицы, свободные от загрязнения диоксидом кремния, и провести измерение на этих пробах.
Многие процедуры измерения требуют, чтобы лаборатории рассчитывали предел обнаружения путем умножения стандартного отклонения измерений количества холостых проб (примерно 10) на три. Существуют некоторые разночтения в соотношении между сигналом (высотой пика поглощение) и массой, когда ВКДК измеряют при очень низких массах, и в настоящем стандарте не приводится конкретная формула для определения предела обнаружения с использованием статистики, основанной на нормальном распределении. Испытательные пробы, используемые для градуировки, не соответствуют матрице, и сообщение о пределе обнаружения, основанном на трех стандартных отклонениях фонового шума, может дать оптимистическое представление о возможностях метода при анализе проб на рабочем месте. Испытатели должны это учитывать при анализе проб для ВКДК (ИСО 24095).
11.2 Пределы количественного определения
11.2.1 Наличие примесных минеральных компонентов повышает предел количественного определения для конкретных аналитических полос.
Примечания
1 Предел количественного определения для кристаллического диоксида кремния определяют как 10-кратное стандартное отклонение холостого анализа (то есть холостой фильтр или таблетка с чистым KBr), обычно около 30 мкг на пробу. Для пробы воздуха объемом 500 дм3 это значение соответствует пределу количественного определения около 0,06 мг/м3.
2 Предел количественного определения также может быть ограничен инструментальными факторами, поскольку массы ВКДК при измерении 0,1 предельно допустимой концентрации (ПДК) близки к пределу обнаружения для некоторых аналитических полос при использовании пробоотборников с низкой скоростью потока (менее 4 дм3/мин). Это также может поднять предел количественного определения за диапазон значений, полученных с помощью традиционных оценок.
ИСО 20581 устанавливает максимальную разрешенную расширенную неопределенность для отбора проб и анализа при измерениях в области промышленной гигиены труда в пределах +/- 50% в диапазоне измерений от 0,1 до 0,5 ПДК и в пределах +/- 30% в диапазоне измерений от 0,5 до 2 ПДК. Любое измерение с оцененной расширенной неопределенностью для отбора проб и анализа, превышающей 50%, следует рассматривать как измерение, которое не подходит для любых целей, в соответствии с ИСО 20581.
11.3 Неопределенность
Метод, предложенный для оценки неопределенности измерения ВКДК, описан в ИСО 24095.
Примечание - Расширенная неопределенность для анализа кристаллического диоксида кремния методом ИК-Фурье спектроскопии обычно составляет около +/- 50% при измерении массовой концентрации в воздухе в диапазоне от 0,02 мг/м3 до 0,05 мг/м3 и около +/- 20% при измерении массовой концентрации в воздухе в диапазоне от 0,05 мг/м3 до 0,2 мг/м3.
11.4 Различия между пробоотборниками
11.4.1 Пробоотборники могут отбирать существенно разные массы материала при отборе проб одного и того же аэрозоля, хотя большинство из них имеют характеристики, соответствующие определению вдыхаемой пыли по ИСО 7708. Ни один доступный пробоотборник респирабельной фракции не обладает характеристиками, которые идеально соответствуют кривой осаждения, и это вызывает различия между массами собираемой вдыхаемой пыли, что будет влиять на результат, полученный ИК-Фурье спектроскопией.
11.4.2 В
приложении B сравнивается эффективность отбора проб, использованных для измерения вдыхаемого кристаллического диоксида кремния в 2010 году.
Протокол испытаний должен содержать, как минимум, следующую информацию:
a) детальная информация об используемом методе со ссылкой на настоящий стандарт;
b) информация, необходимая для полной идентификации пробы;
c) состояние среды для отбора проб, например повреждения, избыточная загрузка и любая остаточная пыль в контейнере для транспортирования;
d) стандартный образец, используемый для градуировки;
e) масса аналита в микрограммах;
f) оцененная расширенная неопределенность;
g) предел обнаружения и, если необходимо, предел качественного определения;
h) ФИО аналитика;
i) название и адрес лаборатории;
j) подпись руководителя лаборатории или лица, уполномоченного руководителем лаборатории;
k) дата проведения анализа;
l) название и модель прибора, используемого для анализа;
m) идентификационные данные отчета;
n) мешающие вещества во время анализа пробы; информация, полученная в результате дополнительного качественного сканирования;
o) аналитический диапазон калибровочных стандартов;
p) срок хранения проб;
q) комментарии, не указанные в настоящем стандарте или рассматриваемые как необязательные, вместе с подробностями любого инцидента, который мог повлиять на результаты.
(справочное)
МЕТОДИКИ ОБРАБОТКИ ПРОБ ДЛЯ УДАЛЕНИЯ МЕШАЮЩИХ ВЕЩЕСТВ
A.1 Глинистые минералы
Каолин является распространенной примесью в пробах минералов, которая может разлагаться при температуре до 450 °C. Для других каолинитовых минералов, таких как накрит и дикит, температура разложения может достигать (650 +/- 50) °C, хотя для их полного удаления может потребоваться температура 800 °C. Следует соблюдать осторожность при нагреве кварца до температуры выше 800 °C в течение любого промежутка времени. Хотя температура превращения кварца в кристобалит составляет около 1100 °C, в некоторых пробах наблюдается частичное превращение при температурах выше 800 °C. Некоторые пробы глины из промышленных источников также могут содержать кальцит. Кальцит следует удалять разбавленной кислотой в соответствии с
A.3 перед нагревом проб в печи. Образование волластонита в результате реакции с кальцитом и диоксидом кремния может происходить уже при температуре 500 °C.
Используют температуру печи в пределах +/- 50 °C, соответствующую глиняной матрице.
A.2 Каменный уголь и аналогичные материалы на основе углерода
Некоторые компоненты на основе углерода (например, антрацит или графит) и органические вещества могут быть удалены путем отжига в печи при температуре около (800 +/- 50) °C. Однако процесс нагревания может потенциально окислить другие компоненты в пробе (например, железо) и усложнить анализ.
A.3 Удаление растворимых в кислоте компонентов
При необходимости кальцит, доломит, гипс, железо и его оксиды могут быть удалены с использованием разбавленной соляной кислоты (HCl).
A.3.1 Кальцит, гипс, доломит и другие подобные минералы
Используют фильтр для отбора проб воздуха диаметром, подходящим для использования с фильтрующим устройством (25 мм). Настраивают оборудование для фильтрации с фильтром 25 мм. Фильтр пробы воздуха помещают в воронку фильтрационного аппарата. Добавляют 0,1 - 1 Н HCl и выдерживают от 5 до 8 мин. Далее фильтр вакуумируют. Фильтр просушивают и следуют соответствующей процедуре в
7.2, заменив слово "вода" на "растворитель".
A.3.2 Железо и его соединения
Фильтр пробы воздуха подвергают нагреванию в печи или плазменному травлению, чтобы удалить фильтр пробы воздуха, и остужают в тигле или бутылке. Добавляют от 5 до 10 см3 0,1 - 1 Н HCl. Остужают при температуре от 50 °C до 60 °C в течение подходящего периода времени (приблизительно 2 ч). Выполняют переосаждение пробы, заменив слово "деионизированная вода" на "реагент".
A.4 Удаление мешающих веществ
Удаление примесей не всегда необходимо (например, когда мешающие вещества появляются от компонентов в следовых количествах).
(справочное)
РАЗЛИЧИЯ МЕЖДУ ПРОБООТБОРНИКАМИ (ЦИКЛОНЫ И ДРУГИЕ ТИПЫ)
Даже в рамках одной организации нередко обнаруживается, что для оценки одной и той же задачи использовалось несколько разных типов пробоотборников. В некоторых национальных методиках устанавливают диапазон работы пробоотборников, и, хотя каждый из них должен быть сконструирован в соответствии с ИСО 7708 в отношении кривой проникновения вдыхаемой пыли при отборе пробы и многие из них имеют близкое соответствие, ни один не имеет одинаковых характеристик с другими. Поскольку различия в производительности влияют на массу пыли, собранной пробоотборником, это может привести к различиям в массе измеряемого аналита и, следовательно, в результатах для ВКДК, полученных в лабораториях. В приведенной ниже таблице сравниваются характеристики пробоотборников для респирабельной фракции общего пользования с анализом ВКДК при отборе проб пыли в камере со спокойным воздухом при низких скоростях ветра (0,3 м/с или менее). Различия связаны со значением согласованности всех пробоотборников в тестовой партии. Результаты основаны на отборе проб ультрадисперсной и среднеразмерной дорожной пыли Аризоны, которая содержит значительный процент кварца. Как правило, производительность пробоотборников зависит от скорости ветра, а также от среднего и стандартного отклонения диапазона размеров частиц. Поэтому эти результаты являются ориентировочными.
Таблица B.1
Различия пробоотборников (циклонов и других типов)
по средней концентрации в безветренном воздухе
[17]
Переменная | Скорость потока <*>, дм 3/мин | Разница | Доверительная вероятность 95% | Разница | Доверительная вероятность 95% |
Пробоотборник | | Среднеразмерная дорожная пыль Аризоны | Ультрадисперсная дорожная пыль Аризоны |
Проводящие SKC | 2,2 | +34,0% | +/- 11,0% | +24,3% | +/- 11,4% |
FSP10 | 10,2 | +13,6% | +/- 14,1% | +16,7% | +/- 9,2% |
PPI2 | 2,0 | +5,6% | +/- 26,3% | +12,7% | +/- 12,5% |
"Некоррозирующие" SKC | 2,2 | +5,5% | +/- 13,1% | +3,1% | +/- 8,1% |
Envirocon GX-1 | 2,2 | +4,0% | +/- 7,8% | +1,5% | +/- 8,0% |
SIMPEDS | 2,2 | +3,5% | +/- 9,2% | -6,1% | +/- 4,7% |
BCIRA | 2,2 | -0,6% | +/- 10,2% | -3,6% | +/- 8,0% |
CIP 10-R | 10 | -4,6% | +/- 6,9% | -6,9% | +/- 15,7% |
GS3 | 2,75 | -10,5% | +/- 8,8% | -9,2% | +/- 4,8% |
GK2.69 | 2,2 | -17,5% | +/- 14,9% | +1,9% | +/- 7,1% |
IOM с вставкой ППУ | 2,0 | -19,0% | +/- 7,0% | -17,9% | +/- 5,8% |
SKC AI циклонного типа | 2,7 | -22,5% | +/- 8,6% | -14,2% | +/- 7,9% |
| 1,7 | -27,2% | +/- 9,8% | -22,1% | +/- 10,2% |
<*> Расход, используемый в экспериментальном исследовании. Для мониторинга рабочего места могут потребоваться разные скорости потока. <**> Некоторые из пробоотборников использовались с непроводящей кассетой, но при этом пыль, уловленная на внутренних стенках кассеты, не была извлечена до анализа. |
Перечень пробоотборников, приведенных в данной таблице, не является исчерпывающим. Используемые пробоотборники должны соответствовать требованиям ЕН 13205. Эти результаты применимы к расходам, указанным поставщиком пробоотборника, и могут отличаться, если используется другой расход. Эти результаты применимы к условиям спокойного воздуха (при отсутствии ветра), используемым в испытании, и на рабочих местах могут быть получены различные характеристики из-за разного распределения частиц по размерам и условий окружающей среды.
Составители настоящего стандарта рекомендуют ознакомиться со специальной технической публикацией (STP) 1565 Американского общества по испытанию материалов (ASTM) "Кремний и связанные вдыхаемые минеральные частицы" для получения более подробной информации по характеристикам пробоотборников для респирабельной фракции.
Предоставленная информация не означает рекламу ИСО какого-либо из упомянутых продуктов.
(справочное)
C.1 Метод, учитывающий влияние размера частиц [20]
C.1.1 Для следующего метода оценки используют более узкие диапазоны для базовой линии вследствие влияния потенциальных минеральных мешающих веществ. Используются полосы поглощения кварца с базовыми линиями от 814 см-1 до 784 см-1 и от 788 см-1 до 764 см-1.
C.1.2 Полосы поглощения кварца зависят от диапазона размеров частиц вдыхаемой пыли. В крайних случаях отклонение экстинкции, которое зависит от размера частиц, может привести к относительным ошибкам до +/- 20% в отношении определения интегрального поглощения (см.
9.2.1), когда стандартный образец кварца не выбран для отображения размера частиц в пробе.
C.1.3
Формула (C.1) представляет собой функцию, которая отображает линейную зависимость между:
- высотой пика над базовой линией
H, стандартизированной для массы кварца 1 мг, и площадью пика
F с

и
-

, полученного из различных источников распределения частиц по размеру вдыхаемого кварца

, (C.1)
где mВКДК - анализируемая масса кварца в пробе, мг;
H1H2 - высоты поглощения пиков 1 и 2 соответственно;
A1A2 - площадь интегрального поглощения для пика 1 и 2, соответственно;
a - отрезок, отсекаемый градуировочной кривой, на оси ординат;
b - наклон градуировочной кривой кварца.
Масса кварца mВКДК в таблетке KBr не должна превышать 1 мг.
C.1.4 Коэффициенты a и b рассчитывают по линии регрессии градуировочного графика. Они зависят от оборудования и программного обеспечения (параметры интеграции) и не могут передаваться другим ИК-устройствам.
C.1.5 Анализ различных фракций кварца со средним распределением частиц по размерам приблизительно между 1,5 и 4 мкм является предварительным условием для определения необходимых параметров для применения этого метода оценки.
Примечание - Корректировка распределения частиц по размерам приведена в
[13].
C.2 Дополнительный анализ с использованием РФА
C.2.1 Альтернативный аналитический подход доступен при использовании пробоотборника с фильтром для отбора проб воздуха диаметром 25 мм, где проба анализируется с помощью дифракционной рентгенографии (РФА) без какой-либо обработки для улавливания пыли и размещения ее на аналитическом фильтре. Существуют различия в способе калибровки прибора и необходимости использования пробоотборника, участвующего в пробоотборном процессе, для подготовки калибровочных проб. Принимая во внимание неопределенность отбора проб и анализа (при использовании одного и того же пробоотборника), для большинства матриц разница в результатах между аналитическими подходами незначительна.
C.2.2 Альтернативная аналитическая процедура состоит в том, чтобы извлечь пыль с фильтра пробы воздуха и поместить ее на другой фильтр для рентгенофазового анализа. Этот подход часто используют с пробоотборниками с фильтрами большего диаметра (более 25 мм) или когда пробоотборная среда является вспененной, и называется методом косвенного анализа РФА. Существуют различия в способе калибровки прибора, и необходимо учитывать возможность потери пробы при извлечении пыли с воздушного фильтра для отбора проб. Однако, если проявлять осторожность, разница в результатах между аналитическими подходами не является значительной.
C.2.3 Когда результаты ИК-Фурье спектроскопии не дают окончательных результатов, таблетки KBr могут быть растворены в воде и повторно помещены на фильтр для испытаний с использованием любого из методов РФА (см. ИСО 16258-2).
(справочное)
ПРИМЕРЫ ПЫЛЕУЛОВИТЕЛЕЙ И ФИЛЬТРОВ ДЛЯ АНАЛИЗА
Таблица D.1
Примеры пылеуловителей и фильтров для анализа
Материал фильтра (размер пор) | Взвешивание | Анализ с применением ИК-Фурье спектроскопии |
| Поглощение мешающих веществ (см-1) | Колебание фона |
Кварц и кристобалит | Кварц и кристобалит |
620 | 780 | 800 | 620 | 780 | 800 |
Поливинилхлорид (ПВХ) <c> (5 мкм) | Высокая | Нет | Нет | Нет | Низкое | Низкое | Низкое |
Смешанные сложные эфиры целлюлозы (СЭЦ) <c> (0,8 мкм) | Низкая | Нет | Нет | Есть | Высокое | Высокое | Высокое |
Поликарбонат (ПК) <c> (0,8 мкм) | Высокая | Нет | Нет | Нет | Низкое | Низкое | Низкое |
Нитрат целлюлозы (0,8 мкм) | Высокая | Не определен | Не определен | Не определен | Не определен | Не определен | Не определен |
| Низкая | Не определен | Не определен | Не определен | Не определен | Не определен | Не определен |
<a> Вес стабильный при условии снятия электростатического заряда. <b> Пенополиуретаны используются только в качестве улавливающей подложки. Для получения дополнительной информации см. [19]. <c> Фильтры из ПВХ, смешанных сложных эфиров целлюлозы и поликарбонатов обычно используются в качестве аналитических фильтров. |
Перечень фильтров, приведенный в
таблице D.1, не является исчерпывающим, информация приводится для общего понимания типов фильтров. При использовании фильтра одного и того же типа от различных производителей могут быть получены различные показатели
[23]. Состав пыли на рабочем месте также может определять тип используемого для отбора проб фильтра
[24].
Фильтры из смеси сложных эфиров целлюлозы являются жесткими, их легко взвешивать и размещать в пробоотборнике. Фильтры из ПВХ, нитрата целлюлозы и, особенно, поликарбоната являются гибкими и требуют бережного обращения.
(справочное)
СВЕДЕНИЯ О СООТВЕТСТВИИ ССЫЛОЧНЫХ МЕЖДУНАРОДНЫХ
И ЕВРОПЕЙСКИХ СТАНДАРТОВ НАЦИОНАЛЬНЫМ СТАНДАРТАМ
Таблица ДА.1
Обозначение ссылочного международного, европейского стандарта | Степень соответствия | Обозначение и наименование соответствующего национального стандарта |
ISO 7708 | IDT | ГОСТ Р ИСО 7708-2006 "Качество воздуха. Определение гранулометрического состава частиц при санитарно-гигиеническом контроле" |
ISO 13137 | IDT | ГОСТ Р ИСО 13137-2016 "Воздух рабочей зоны. Насосы для индивидуального отбора проб химических и биологических веществ. Требования и методы испытаний" |
ISO 15767 | IDT | ГОСТ Р ИСО 15767-2012 "Воздух рабочей зоны. Контроль и оценка неопределенности взвешивания проб аэрозолей" |
ISO 18158 | - | |
ISO 24095 | - | |
EN 13205 | IDT | ГОСТ Р ЕН 13205-2010 "Воздух рабочей зоны. Оценка характеристик приборов для определения содержания твердых частиц" |
<*> Соответствующий национальный стандарт отсутствует. До его принятия рекомендуется использовать перевод на русский язык данного международного стандарта. Примечание - В настоящей таблице использовано следующее условное обозначение степени соответствия стандартов: - IDT - идентичные стандарты. |
| ИСО 3534-1:2006 | Статистика. Словарь и символы. Часть 1. Общие статистические термины и термины, используемые для оценки вероятности |
| ИСО 11095 | Линейная калибровка с использованием стандартных образцов |
[3] | ИСО 11843-1:1997 | Возможность обнаружения. Часть 1. Термины и определения |
[4] | ИСО 11843-2:2000 | Возможность обнаружения. Часть 2. Методология в случае линейной калибровки |
| CEN/TR 15230 | Атмосфера на рабочем месте. Руководство по отбору проб вдыхаемых, грудных и вдыхаемых аэрозольных фракций |
[6] | ИСО 20581 | Воздух на рабочем месте. Общие требования к выполнению процедур измерения химических агентов |
[7] | Stacy P, & Thorpe A. Testing of high flow rate respirable samplers to assess the technical feasibility of measuring 0.05 mg.m-3 respirable crystalline silica. HSE Research Report/RR825, 148 p. London: Health and Safety Executive, 2010. Available (2013-03-28) at: http: //www.hse.gov.uk/research/rrpdf/rr825.pdf |
| Baron P.A., Khanina A., Martinez A.B., Grinshpun S.A. Investigation of Filter Bypass Leakage and a Test for Aerosol Sampling Cassettes. Aerosol Sci. Technol. 2002, 36 pp. 857 - 865 |
| Van den Heever D.J. Quantification of Bypass Leakage in Two Different Filter Cassettes during Welding Fume Sampling. Am. Ind. Hyg. Assoc. J. 1994, 55 pp. 966 - 969 |
| Dobson L.R., Reichman L., Popp D. Evaluation of Quartz Residue on Cassette Interiors of AIHA Proficiency Samples. J. ASTM Int. 2005, 2 (4) pp. 1 - 6 |
| Kunkar C., Incocciati E., Mecchia M., Gargaro G. Aerosol sampling in workplaces: losses of material in silver filter transportation. Italian J. Occup. Hyg. 2010, 1 pp. 118 - 124 |
| MDHS. 101/2 | Crystalline silica in respirable airborne dusts - Direct on-filter analyses by infrared spectroscopy and X-ray diffraction. Available at: http://www.hse.gov.uk/pubns/mdhs/pdfs/mdhs101.pdf |
| Stacey P, Kauffer E., Moulut J.C., Dion C., Beauparlant M., Fernandez P. An International Comparison of the Crystallinity of Calibration Materials for the Analysis of Respirable  using X-Ray Diffraction and a Comparison with Results from the Infrared KBr Disc Method. Ann. Occup. Hyg. 2009, 53 pp. 639 - 649 |
| National Institute of Safety and Health. NIOSH Manual of Analytical Methods  , 4th ed.DHHS (NIOSH) Publication 94 - 113 (August, 1994), 1st Supplement Publication 96 - 135, 2nd Supplement Publication 98 - 119, 3rd Supplement 2003-154, Chapter C, Quality Assurance, https: //www.cdc.gov/niosh/docs/2003-154/chaps.html |
[15] | Altree-Williams S., Lee J., Mezin N.V. Quantitative X-ray Diffractometry on Respirable Dust Collected on Nuclepore Filters. Ann. Occup. Hyg. 1977, 20 pp. 109 - 126 |
[16] | Mecchia M., Pretorius C., Stacey P, Mattenklott M., Incocciati E. X-Ray Absorption Effect in Aerosol Samples Collected on Filter Media. In: Silica and Associated Respirable Mineral Particles, STP 1565 (Harper M., & Lee T. eds.). ASTM International, West Conshohocken, PA, 2013, pp. 139 - 68 |
| Stacey P, Mecchia M., Verpaele S., Pretorius C., Key-Schwartz R., Mattenklott M.et al. Differences Between Samplers for Respirable Dust and the Analysis of Quartz - An International Study. In: Silica and Associated Respirable Mineral Particles, STP 1565 (Harper M., & Lee T. eds.). ASTM International, West Conshohocken, PA, 2013, pp. 73 - 102 |
| MDHS 14/4 | General methods for sampling and gravimetric analysis of respirable, thoracic and inhalable aerosols. Available 2014-09-30 at http://www.hse.gov.uk/pubns/mdhs/pdfs/mdhs14-4.pdf |
|  Eypert-Blaison, Jean-Claude Moulut, Thierry Lecaque, Florian Marc, Edmond Kauf-fer; Validation of the Analysis of Respirable Crystalline Silica (Quartz) in Foams Used with CIP 10-R Samplers, Ann. Occup. Hyg., 2011, 55 pp. 357 - 368 |
| German Social Accident Insurance (Deutsche Gesetzliche Unfallversicherung) Method for the determination of quartz and cristobalite, DGUV Information 213 - 582, 2014 |
[21] | NATIONAL INSTITUTE OF SAFETY AND HEALTH. NIOSH Manual of Analytical Methods  , 4th ed. DHHS (NIOSH) Silica, crystalline by IR (by KBr pellet) (Method No. 7602). Issue 3, dated 15 March 2003. Available at: https://www.cdc.gov/niosh/docs/2003-154/pdfs/7602.pdf |
| ASTM D7948-14 | Стандартный метод испытаний для измерения вдыхаемого кристаллического кремнезема в воздухе рабочего места с помощью инфракрасной спектрометрии |
| Soo J.-C., Monaghan K., Lee T, Kashon M., Harper M Air sampling filtration media: Collection efficiency for respirable size-selective sampling. Aerosol Sci. Technol. 2016, 50 pp. 76 - 87 |
| Farcas D., Lee T., Chisholm W.P., Soo J.-C., Harper M Replacement of filters for quartz measurement in coal mine dust. J. Occup. Environ. Hyg. 2016, 13 D16 - D22 |
[25] | AFNOR. 2002 XP X43-243 Dosage par  infrarouge  de Fourier de la silice cristalline.  par dispositif  coupelle tournante ou sur membrane filtrante. La Plaine Saint Denis, France: Association  de Normalisation |
[26] | ASTM D4840 | Стандартное руководство по процедурам отбора проб в цепочке поставок |
[27] | Verpaele S., & Jouret J. "A Comparison of the Performance of Samplers for Respirable Dust in Workplaces and Laboratory Analysis for Respirable Quartz, Publication Pending" Ann. Occup. Hyg., Vol. 57, No. 1, 2012, pp. 54 - 62 |
УДК 504.3:006.354 | |
Ключевые слова: воздух, рабочая зона, кристаллический диоксид кремния, ИК-анализ, Фурье-преобразование, отбор проб, анализ, фильтры |