Главная // Актуальные документы // ГОСТ Р (Государственный стандарт)СПРАВКА
Источник публикации
М.: ФГБУ "РСТ", 2021
Примечание к документу
Документ
введен в действие с 01.02.2022.
Название документа
"ГОСТ Р 59729-2021. Национальный стандарт Российской Федерации. Изделия медицинские. Аппараты наркозно-дыхательные. Методы контроля технического состояния"
(утв. и введен в действие Приказом Росстандарта от 08.10.2021 N 1094-ст)
"ГОСТ Р 59729-2021. Национальный стандарт Российской Федерации. Изделия медицинские. Аппараты наркозно-дыхательные. Методы контроля технического состояния"
(утв. и введен в действие Приказом Росстандарта от 08.10.2021 N 1094-ст)
Утвержден и введен в действие
агентства по техническому
регулированию и метрологии
от 8 октября 2021 г. N 1094-ст
НАЦИОНАЛЬНЫЙ СТАНДАРТ РОССИЙСКОЙ ФЕДЕРАЦИИ
ИЗДЕЛИЯ МЕДИЦИНСКИЕ
АППАРАТЫ НАРКОЗНО-ДЫХАТЕЛЬНЫЕ
МЕТОДЫ КОНТРОЛЯ ТЕХНИЧЕСКОГО СОСТОЯНИЯ
Medical equipment. Anaesthetic and respiratory devices.
Technical condition control methods
ГОСТ Р 59729-2021
Дата введения
1 февраля 2022 года
1 РАЗРАБОТАН Федеральным государственным бюджетным учреждением "Российский институт стандартизации" (ФГБУ "РСТ"), Саморегулируемой организацией "Российская ассоциация предприятий по ремонту и продаже медицинской техники" (СРО "РАПМЕД") и Обществом с ограниченной ответственностью "Медтехстандарт" (ООО "Медтехстандарт")
2 ВНЕСЕН Техническим комитетом по стандартизации ТК 011 "Медицинские приборы, аппараты и оборудование"
3 УТВЕРЖДЕН И ВВЕДЕН В ДЕЙСТВИЕ
Приказом Федерального агентства по техническому регулированию и метрологии от 8 октября 2021 г. N 1094-ст
4 ВВЕДЕН ВПЕРВЫЕ
Правила применения настоящего стандарта установлены в статье 26 Федерального закона от 29 июня 2015 г. N 162-ФЗ "О стандартизации в Российской Федерации". Информация об изменениях к настоящему стандарту публикуется в ежегодном (по состоянию на 1 января текущего года) информационном указателе "Национальные стандарты", а официальный текст изменений и поправок - в ежемесячном информационном указателе "Национальные стандарты". В случае пересмотра (замены) или отмены настоящего стандарта соответствующее уведомление будет опубликовано в ближайшем выпуске ежемесячного информационного указателя "Национальные стандарты". Соответствующая информация, уведомление и тексты размещаются также в информационной системе общего пользования - на официальном сайте Федерального агентства по техническому регулированию и метрологии в сети Интернет (www.rst.gov.ru)
1 Область применения и цель
Настоящий стандарт устанавливает требования и определяет содержание методик контроля технического состояния аппаратов искусственной вентиляции легких и аппаратов ингаляционного наркоза.
Настоящий стандарт не распространяется на методы контроля технического состояния следующих медицинских изделий:
- транспортные аппараты искусственной вентиляции легких;
- аппараты для искусственной вентиляции легких в домашних условиях;
- аппараты для искусственной вентиляции легких с постоянным положительным давлением (CPAP-терапии);
- аппараты для высокочастотной струйной искусственной вентиляции легких;
- аппараты искусственной вентиляции легких, предназначенные только для новорожденных;
- аппараты ингаляционного наркоза, которые главным образом зависят от электрических или электронных средств контроля или соответствующего управления;
- аппараты ингаляционного наркоза с прерывистым режимом работы, которые нагнетают газ в дыхательную систему в варьируемых дозах, зависящих от усилий вдыхания пациента;
- стоматологические аппараты ингаляционного наркоза со смесью кислорода и закиси азота.
Целью настоящего стандарта является описание методик для подтверждения характеристик вводимых в эксплуатацию и эксплуатируемых аппаратов искусственной вентиляции легких и аппаратов ингаляционного наркоза.
В настоящем стандарте использованы нормативные ссылки на следующие стандарты:
ГОСТ ISO 5358-2012 Аппараты ингаляционного наркоза. Общие технические требования
ГОСТ Р 56606-2015 Контроль технического состояния и функционирования медицинских изделий. Основные положения
ГОСТ Р 58973 Оценка соответствия. Правила к оформлению протоколов испытаний
ГОСТ Р ИСО 80601-2-12 Изделия медицинские электрические. Часть 2-12. Частные требования безопасности с учетом основных функциональных характеристик к аппаратам искусственной вентиляции легких для интенсивной терапии
Примечание - При пользовании настоящим стандартом целесообразно проверить действие ссылочных стандартов в информационной системе общего пользования - на официальном сайте Федерального агентства по техническому регулированию и метрологии в сети Интернет или по ежегодному информационному указателю "Национальные стандарты", который опубликован по состоянию на 1 января текущего года, и по выпускам ежемесячного информационного указателя "Национальные стандарты" за текущий год. Если заменен ссылочный стандарт, на который дана недатированная ссылка, то рекомендуется использовать действующую версию этого стандарта с учетом всех внесенных в данную версию изменений. Если заменен ссылочный стандарт, на который дана датированная ссылка, то рекомендуется использовать версию этого стандарта с указанным выше годом утверждения (принятия). Если после утверждения настоящего стандарта в ссылочный стандарт, на который дана датированная ссылка, внесено изменение, затрагивающее положение, на которое дана ссылка, то это положение рекомендуется применять без учета данного изменения. Если ссылочный стандарт отменен без замены, то положение, в котором дана ссылка на него, рекомендуется применять в части, не затрагивающей эту ссылку.
3 Термины, определения и сокращения
3.1 Термины и определения
В настоящем стандарте применены следующие термины с соответствующими определениями:
3.1.1
аппарат ингаляционной анестезии; аппарат ИА: Устройство для распределения и подачи медицинских газов и паров жидких анестетиков через дыхательный контур пациенту. | de | |
en | anaesthetic machine |
fr | appareil  |
Примечание - В целях настоящего стандарта термины "аппарат ингаляционного наркоза" и "аппарат ингаляционной анестезии" тождественны.
3.1.2
аппарат искусственной вентиляции легких; аппарат ИВЛ: Автоматическое устройство, предназначенное для частичной или полной замены самостоятельной вентиляции легких пациента. | de | |
en | lung ventilator |
fr | ventilateur pulmonaire |
3.1.3
дыхательный контур: Части аппарата, в которых газ находится под дыхательным давлением. Примечания 1 Если применение данного термина может повлиять на его точную интерпретацию, то состав и конфигурация дыхательного контура должны быть конкретизированы. 2 Трубопроводы, являющиеся исключительно частями системы для выведения анестетических газов, частью дыхательного контура не считаются. | de | Atemsystem |
en | breathing system |
fr |  respiratoire |
3.1.4
испытания на постоянство параметров: Серия испытаний для подтверждения соответствия функциональных характеристик изделия установленным пределам, проводимых для раннего выявления изменения потребительских свойств изделия. |
3.1.5
контроль технического состояния медицинских изделий: Проверка соответствия значений параметров и характеристик МИ требованиям нормативной и эксплуатационной документации, выявление изношенных и повременных частей (деталей), проверка действия всех защитных устройств и блокировок, наличия и ведения эксплуатационной документации. |
3.1.6
периодические испытания: Испытания, проводимые для определения правильности функционирования изделия в конкретный момент времени. |
3.1.7
приемочные испытания: Испытания, проводимые для проверки соответствия изделия требованиям поставки после установки нового изделия или внесения значительных изменений в изделие в процессе эксплуатации. |
3.1.8
эксплуатационная документация производителя (изготовителя): Документы, предназначенные для ознакомления потребителя с конструкцией медицинского изделия, регламентирующие условия и правила эксплуатации (использование по назначению, техническое обслуживание, текущий ремонт, хранение и транспортировка), гарантированные производителем (изготовителем) значения основных параметров, характеристик (свойств) медицинского изделия, гарантийные обязательства, а также сведения о его утилизации или уничтожении. |
В настоящем стандарте применены следующие сокращения:
ИВЛ - искусственная вентиляция легких;
ИЛ - испытательная лаборатория;
ИН - ингаляционный наркоз;
ИНН - идентификационный номер налогоплательщика;
КТС - контроль технического состояния;
МИ - медицинское изделие;
МО - медицинская организация;
ПДКВ - положительное давление в конце выдоха;
ЭД - эксплуатационная документация.
4 Планирование мероприятий по контролю технического состояния аппаратов искусственной вентиляции легких и аппаратов ингаляционного наркоза
МО в соответствии с разработанными и внедренными документами, регламентирующими конкретные меры по обеспечению контроля качества отдельных типов изделий, включая административные мероприятия и технику контроля качества (как правило, данные документы являются документацией менеджмента качества или программой контроля качества МО), должна обеспечить на этапах жизненного цикла МИ проведение всех типов испытаний по ГОСТ Р 56606-2015
(пункт 4.3, таблица 1).
На стадии предшествующей поставке МИ в МО (этап формирования конкурсной документации или заключения контракта на поставку) должны быть определены технические характеристики МИ, подлежащие контролю, и исполнители для проведения работ по КТС в соответствии с требованиями
подразделов 4.1 -
4.3 ГОСТ Р 56606-2015, чем обеспечивается проведение приемочных испытаний (см.
пункт 4.3.1 ГОСТ Р 56606-2015).
В процессе эксплуатации МИ МО обязана проводить мероприятия по КТС МИ, проводя работы по периодическим испытаниям (см.
пункт 4.3.2 ГОСТ Р 56606-2015) и испытаниям на постоянство параметров МИ (см.
пункт 4.3.3 ГОСТ Р 56606-2015).
Цель приемочных испытаний состоит в подтверждении эксплуатационных параметров/функциональных характеристик аппаратов ИВЛ (см.
таблицу 1) и/или аппаратов ИН (см.
5.3.2). Эти испытания организуют поставщики МИ и проводят организации, аккредитованные в установленном порядке на данный вид деятельности. Приемочные испытания представляют собой серию абсолютных измерений эксплуатационных параметров, проводимых в МО при вводе в эксплуатацию аппаратов ИВЛ и/или аппаратов ИН на соответствие ЭД и/или конкурсной документации. Приемочные испытания могут быть проведены до ввода в эксплуатацию, если протоколы испытаний, проведенных организацией, аккредитованной на данный вид деятельности, будут предоставлены пользователю аппарата ИВЛ и/или аппарата ИН при поставке.
Примечание - В целях единообразного понимания в тексте стандарта словосочетания "эксплуатационные параметры" и "функциональные характеристики" тождественны. Тем не менее при организации и проведении приемочных испытаний более корректным является применение термина "проверка функциональных характеристик", а при проведении периодических испытаний и испытаний на постоянство параметров - термина "проверка эксплуатационных параметров".
5.1 Документы и исходные данные для испытаний
Для проведения испытаний необходимы следующие документы и исходные данные:
- декларация о соответствии или сертификат соответствия;
- регистрационное удостоверение МИ;
- ЭД (паспорт или руководство по эксплуатации и др.);
- иные документы, состав и содержание которых определены между заказчиком испытаний и исполнителем работ по испытаниям.
5.2 Приемочные испытания должны включать проверку/измерение функциональных характеристик.
5.3 Проверяемые характеристики
5.3.1 Перечень характеристик аппарата ИВЛ, подлежащих контролю, определяют исходя из требований программы контроля качества (см.
раздел 4), при этом минимальный перечень характеристик, подлежащий контролю при приемочных испытаниях, должен соответствовать перечисленным в таблице 1.
Обозначение характеристики | Наименование характеристики | Размерность |
Функциональные характеристики/эксплуатационные параметры |
Fpeak | Пиковый поток | л/мин |
tIP | Длительность паузы вдоха | с |
tE | Длительность выдоха |
f | Частота вентиляции | Дыханий в минуту 1/мин |
Ppeak | Пиковое давление на вдохе | Па (смH2O) |
PEEP | ПДКВ |
PMEAN | Среднее давление в дыхательных путях |
PMIN | Минимальное давление |
FiO2 | Концентрация кислорода в газовой смеси | % |
VTI | Минутный объем на вдохе | л |
I:E | Отношение длительностей вдоха и выдоха | - |
Примечание - Оценивается установленное значение. В том случае, если установка какого-либо из значений невозможна для испытуемого типа оборудования, оценивается мониторируемое значение. |
5.3.2 Перечень характеристик аппаратов ИН, подлежащих контролю, определяют исходя из требований программы контроля качества (см.
раздел 4), при этом минимальный перечень характеристик, подлежащий контролю при приемочных испытаниях, должен обеспечить следующие испытания испарителя аппарата ИН на точность:
- без приложения противодавления;
- с приложением противодавления.
5.4 Требования к проведению испытаний по 5.3.1
Примечания
1 Допускается использование альтернативных методик, предусмотренных изготовителем (производителем), при условии надлежащего подтверждения их эффективности.
2 При возникновении спорных ситуаций приоритет отдается результатам испытаний по методике, предусмотренной изготовителем (производителем).
5.4.1 Испытания проводят с использованием следующего оборудования:
- анализатора параметров ИВЛ;
- анализатора климатических параметров.
5.4.2 Порядок проведения испытаний функциональных характеристик/эксплуатационных параметров
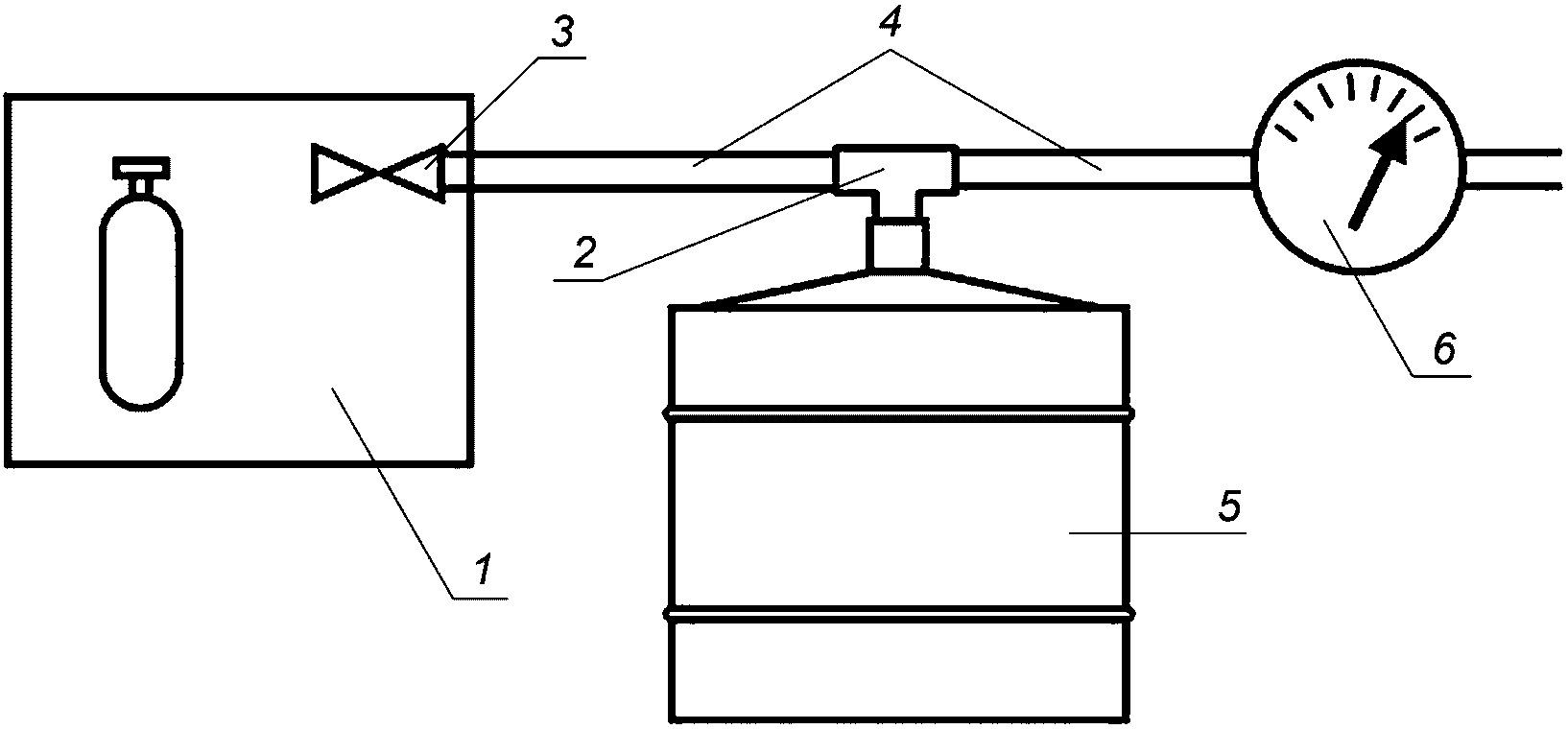
На рисунках 1 -
3 приведены типовые схемы включения анализатора параметров ИВЛ при испытаниях аппаратов ИВЛ и волюметров соответственно. Следует иметь в виду, что для различных аппаратов ИВЛ оптимальные схемы включения анализатора параметров ИВЛ могут отличаться от приведенных и должны быть выбраны персоналом, проводящим испытания, исходя из особенностей конструкции испытуемого аппарата.
1 - аппарат ИВЛ; 2 - клапан выдоха аппарата ИВЛ;
3 - клапан вдоха аппарата ИВЛ; 4 - соединительные шланги;
5 - газовый тройник; 6 - анализатор параметров ИВЛ
Рисунок 1 - Схема включения анализатора параметров ИВЛ
при испытаниях аппарата ИВЛ
1 - аппарат ИВЛ; 2 - клапан выдоха аппарата ИВЛ; 3 - клапан
вдоха аппарата ИВЛ; 4 - волюметр; 5 - соединительные шланги;
6 - газовый тройник; 7 - анализатор параметров ИВЛ
Рисунок 2 - Схема включения анализатора параметров ИВЛ
при использовании волюметра
1 - аппарат ИВЛ; 2 - нереверсивный клапан;
3 - клапан выдоха аппарата ИВЛ; 4 - соединительные шланги;
5 - анализатор параметров ИВЛ; 6 - волюметр
Рисунок 3 - Подключение анализатора параметров ИВЛ
к аппаратам, не имеющим клапана выдоха
5.4.3 Проведение измерений
Приведено на примере анализатора параметров ИВЛ (модель легких МЛП-1Э и МЛП-2Э).
5.4.3.1 Включают измеритель объема, подключив сетевой адаптер к питающей сети. При подаче питания измеритель объема включают в режим 10-минутного прогрева, который необходим для обеспечения заданной точности измерения. На табло выводится время, оставшееся до окончания прогрева. Точки, отделяющие индикатор минут от разрядов секунд, мигают. Через 10 мин после включения измеритель объема переходит в рабочий режим, о чем свидетельствует прекращение мигания точек на цифровом табло. Измерение допускается производить, не дожидаясь окончания 10-минутного прогрева. Если в режиме прогрева измеритель зафиксирует окончание фазы вдоха, он автоматически переключится в рабочий режим с выводом на табло значения дыхательного объема.
5.4.3.2 На табло измерителя объема может включаться и гаснуть единичный индикатор зеленого цвета. Свечение этого индикатора свидетельствует о стабилизации давления в емкости. Состояние индикатора используется при поверке модели легких, а при испытаниях аппаратов ИВЛ или волюметров может не учитываться.
5.4.3.3 Присоединяют к втулке (см.
рисунок 2), установленной на емкости, испытуемый волюметр
4, имитатор ИВЛ или аппарат ИВЛ (см.
рисунки 1 и
2). При испытаниях аппаратов ИВЛ, не имеющих клапана выдоха, к модели легких следует подключить нереверсивный клапан
2 (см.
рисунок 3).
5.4.3.4 Включают аппарат ИВЛ в режим объемной ИВЛ (Volume controlled ventilation, VCV). В соответствии с
ГОСТ Р ИСО 80601-2-12 устанавливают:
- для МЛП-1Э частоту дыхания f, равной 10 мин-1; дыхательный объем Vt - 500 см3;
- МЛП-2Э частоту дыхания f, равной 20 мин-1; дыхательный объем Vt - 300 см3;
- отношение времени вдоха к времени выдоха для любой из моделей TI/TE - 1:2.
5.4.3.5 Фиксируют показания измерителя объема. Если измеренный объем менее 1 л, результат выводится на табло в миллилитрах, при объеме, равном или более 1 л, - в литрах.
Примечание - При испытаниях аппаратов ИВЛ объем шлангов, с помощью которых испытуемое устройство соединяется с моделью легких, суммируется с объемом емкости модели. Избыточное давление, создаваемое нагнетанием воздуха в емкость модели, будет тем меньше, чем больший объем имеют соединительные шланги, и соответственно, тем меньше будут показания измерителя объема при неизменном дыхательном объеме. Так, например, если дополнительный объем равен 1 л, дополнительная погрешность измерения составит около минус 2% для МЛП-1Э и минус 5% для МЛП-2Э. Для получения правильных результатов следует провести пересчет показаний измерителя объема в корректированное значение дыхательного объема V, см3, по формуле

, (1)
где V0 - показания измерителя объема модели легких, см3;
Vм.л - объем емкости модели легких, см3;
Vдоп - дополнительный объем дыхательного тракта, см3.
Для получения минимальной погрешности измерения дополнительный объем следует рассчитать как можно более точно, учтя объем всего дыхательного тракта от устройства, нагнетающего воздух в тракт (мех, компрессор и т.п.), до клапана выдоха аппарата ИВЛ. При наличии в дыхательном тракте увлажнителя или иной вспомогательной емкости на участке от нагнетателя до клапана выдоха следует учесть и их объем.
5.4.3.6 При использовании иных анализаторов параметров ИВЛ необходимо производить подготовку к проведению измерений в соответствии с руководством по эксплуатации применяемого анализатора параметров ИВЛ.
5.5 Требования к проведению испытаний по 5.3.2
Примечания
1 Допускается использование альтернативных методик, предусмотренных изготовителем (производителем), при условии надлежащего подтверждения их эффективности.
2 При возникновении спорных ситуаций приоритет отдается результатам испытаний по методике, предусмотренной изготовителем (производителем).
5.5.1 Испытания испарителя аппарата ИН на точность без приложения противодавления
Метод испытания - в соответствии с приложением B ГОСТ ISO 5358-2012.
5.5.2 Испытания испарителя аппарата ИН на точность с приложением противодавления
Метод испытания - в соответствии с приложением C ГОСТ ISO 5358-2012.
6 Периодические испытания
6.1 Периодические испытания проводят с целью определения технического состояния аппаратов ИВЛ и аппаратов ИН в определенный момент времени.
6.2 Испытания по КТС должны проводить организации, аккредитованные в установленном порядке на данный вид деятельности.
6.3 В случае получения неудовлетворительных результатов испытаний должны быть приняты меры по приведению характеристик до требуемых значений с последующим проведением испытаний с целью подтверждения данных характеристик.
6.4 Методики проведения испытаний, определяемые при испытаниях характеристики, по содержанию и перечням должны соответствовать методикам приемочных испытаний.
7 Испытания на постоянство параметров
Непосредственно после периодических испытаний при удовлетворительном уровне эксплуатационных параметров проводят первичные испытания на постоянство параметров для определения их базовых значений.
Испытания на постоянство параметров проводят простыми легкодоступными методами, а также простейшими измерениями относительных величин.
Для испытаний следует использовать измерительные приборы и испытательное оборудование, характеристики которых должны оставаться неизменными во время проведения испытаний на постоянство параметров.
Испытания на постоянство параметров при эксплуатации проводят через одинаковые промежутки времени и непосредственно после профилактического технического обслуживания и текущего (мелкого) ремонта, а также при подозрении на нарушение правильности функционирования МИ.
Методики проведения испытаний по содержанию должны соответствовать приемочным испытаниям или периодическим испытаниям.
Перечень определяемых при испытаниях характеристик может быть скорректирован по фактической потребности МО.
Испытания на постоянство параметров должен проводить квалифицированный инженерный персонал МО и/или персонал организаций, аккредитованных в установленном порядке на данный вид деятельности.
В случае получения неудовлетворительных результатов испытаний должны быть приняты меры по приведению характеристик до требуемых значений с последующим проведением испытаний с целью подтверждения данных характеристик.
8 Условия выполнения испытаний
Условия выполнения испытаний должны соответствовать следующим:
- температура воздуха от 15 °C до 35 °C;
- относительная влажность воздуха - не более 80%;
- атмосферное давление - от 86 до 106 кПа.
9 Требования к периодичности испытаний
Приемочные испытания, проводимые при приемке оборудования в эксплуатацию, после монтажа, переноса или ремонта оборудования перед началом работы на оборудовании с целью подтверждения соответствия характеристик аппаратов ИВЛ и аппаратов ИН требованиям нормативной документации и/или технической документации изготовителя (производителя) выполняют единожды при вводе оборудования в эксплуатацию, после проведения ремонта основных узлов аппаратов ИВЛ и аппаратов ИН, который носит вероятностный характер, и содержание ремонта предполагает изменение характеристик аппаратов ИВЛ и аппаратов ИН после обновления программного обеспечения (при наличии).
Периодические испытания, проводимые через равные промежутки времени с целью подтверждения постоянства характеристик аппаратов ИВЛ и аппаратов ИН при эксплуатации оборудования, - не реже одного раза в год.
Испытания на постоянство параметров - непосредственно после профилактического технического обслуживания и текущего (мелкого) ремонта, а также при подозрении на нарушение правильности функционирования МИ.
10 Требования к протоколу испытаний
Содержание и оформление протокола испытаний не должно противоречить требованиям
ГОСТ Р 58973.
Пример
формы протокола испытаний приведен в приложении А.
(справочное)
ПРИМЕР ФОРМЫ ПРОТОКОЛА ИСПЫТАНИЙ
Протокол инструментального контроля
технического состояния медицинских изделий
(аппараты искусственной вентиляции легких)
от __ __________ 20__ г. N ____
1 Заказчик испытаний
Наименование: | |
Юридический адрес: | |
ИНН заказчика: | |
Цель: | |
2 Объект испытаний
Наименование медицинского изделия | Аппарат искусственной вентиляции легких |
Модель | |
Заводской номер | |
Год выпуска | |
Производитель | |
Адрес места проведения испытаний | |
Дата приемки МИ для испытаний | |
Дата испытаний | |
3 Нормативная документация, определяющая методы проведения испытаний и
значения определяемых характеристик (параметров)
N п/п | Наименование нормативного документа |
1 | |
2 | |
4 Средства проведения испытаний
Наименование | Марка | Заводской номер | Год выпуска | Свидетельство о поверке (номер, срок действия) |
Средства измерения |
| | | | |
Вспомогательное оборудование (при необходимости) |
| | | | |
Испытательное оборудование (при необходимости) |
| | | | |
5 Условия проведения испытаний
Измеряемая величина | Измеренное значение | Примечание |
Температура, °C | | - |
Давление, кПа | | - |
Влажность, % | | - |
6 Результаты испытаний
6.1 Функциональные характеристики/эксплуатационные параметры (для
аппаратов ИВЛ)
Измеряемая величина | Установленное значение | Измеренное значение | Отклонение, % |
Пиковый поток, л/мин | | | |
Длительность паузы вдоха, с | | | |
Длительность выдоха, с | | | |
Частота вентиляции, 1/мин | | | |
Пиковое давление на вдохе, Па (смH2O) | | | |
ПДКВ, Па (смH2O) | | | |
Среднее давление в дыхательных путях, Па (смH2O) | | | |
Минимальное давление, Па (смH2O) | | | |
Концентрация кислорода в газовой смеси, % | | | |
Минутный объем на вдохе, л | | | |
Отношение длительностей вдоха и выдоха | | | |
6.2 Функциональные характеристики/эксплуатационные параметры (для
аппаратов ИН)
Измеряемая величина | Установленное значение | Измеренное значение | Отклонение, % |
Показатель точности без приложения противодавления | | | |
Показатель точности с приложением противодавления | | | |
7 Испытания провел:
инженер ИЛ
__________ ___________________________
должность подпись
инженер ИЛ
__________ ___________________________
должность подпись
8 Протокол оформил:
инженер ИЛ
__________ ___________________________
должность подпись
| Правила государственной регистрации медицинских изделий (утвержденные постановлением Правительства Российской Федерации от 27 декабря 2012 г. N 1416) |
УДК 615.47:006.354 | |
Ключевые слова: изделия медицинские, аппараты ингаляционного наркоза, аппараты искусственной вентиляции легких, контроль технического состояния, испытания, параметры |