Главная // Актуальные документы // ГОСТ Р (Государственный стандарт)СПРАВКА
Источник публикации
М.: Стандартинформ, 2020
Примечание к документу
Документ
введен в действие с 01.03.2021.
Название документа
"ГОСТ Р 58884-2020. Национальный стандарт Российской Федерации. Магниты контрольные и юстировочные. Общие технические требования. Валидация. Порядок применения"
(утв. и введен в действие Приказом Росстандарта от 23.12.2020 N 1367-ст)
"ГОСТ Р 58884-2020. Национальный стандарт Российской Федерации. Магниты контрольные и юстировочные. Общие технические требования. Валидация. Порядок применения"
(утв. и введен в действие Приказом Росстандарта от 23.12.2020 N 1367-ст)
Утвержден и введен в действие
по техническому регулированию
и метрологии
от 23 декабря 2020 г. N 1367-ст
НАЦИОНАЛЬНЫЙ СТАНДАРТ РОССИЙСКОЙ ФЕДЕРАЦИИ
МАГНИТЫ КОНТРОЛЬНЫЕ И ЮСТИРОВОЧНЫЕ
ОБЩИЕ ТЕХНИЧЕСКИЕ ТРЕБОВАНИЯ. ВАЛИДАЦИЯ.
ПОРЯДОК ПРИМЕНЕНИЯ
Control and adjusting magnets. General technical
requirements. Validation. The order of application
ГОСТ Р 58884-2020
Дата введения
1 марта 2021 года
1 РАЗРАБОТАН Акционерным обществом (АО) "Спецмагнит"
2 ВНЕСЕН Техническим комитетом по стандартизации ТК 428 "Магнитные материалы и изделия"
3 УТВЕРЖДЕН И ВВЕДЕН В ДЕЙСТВИЕ
Приказом Федерального агентства по техническому регулированию и метрологии от 23 декабря 2020 г. N 1367-ст
4 ВВЕДЕН ВПЕРВЫЕ
Правила применения настоящего стандарта установлены в статье 26 Федерального закона от 29 июня 2015 г. N 162-ФЗ "О стандартизации в Российской Федерации". Информация об изменениях к настоящему стандарту публикуется в ежегодном (по состоянию на 1 января текущего года) информационном указателе "Национальные стандарты", а официальный текст изменений и поправок - в ежемесячном информационном указателе "Национальные стандарты". В случае пересмотра (замены) или отмены настоящего стандарта соответствующее уведомление будет опубликовано в ближайшем выпуске ежемесячного информационного указателя "Национальные стандарты". Соответствующая информация, уведомление и тексты размещаются также в информационной системе общего пользования - на официальном сайте Федерального агентства по техническому регулированию и метрологии в сети Интернет (www.gost.ru)
При производстве и применении постоянных магнитов важное значение имеет достоверное измерение их магнитных параметров. На точность измерений в значительной степени влияют методические погрешности измерений, включая погрешность позиционирования магнитов, форма и размеры которых в промышленности разнообразны, относительно магнитоизмерительных преобразователей (зондов измерительных приборов, измерительных катушек).
Настоящий стандарт устанавливает общие технические требования и порядок применения контрольных и юстировочных магнитов.
Применение контрольных магнитов в совокупности с соответствующим измерительным приспособлением, обеспечивающим однозначное позиционирование магнита относительно измерительного зонда прибора, гарантирует при измерении промышленных партий постоянных магнитов воспроизводимость и достоверность измерений магнитных параметров магнитов.
Применение юстировочного магнита позволяет повысить точность позиционирования измерительного зонда относительно магнита, что также обеспечивает при контроле магнитов получение достоверных результатов измерений магнитного параметра и требуемой точности.
Настоящий стандарт распространяется на контрольные магниты из магнитотвердых материалов (литых, спеченных, деформируемых и других), предназначенные для проверки годности к применению рабочего измерительного комплекта при измерениях магнитных параметров постоянных магнитов.
Стандарт устанавливает требования к отбору, технические требования, метрологические характеристики и порядок применения контрольных магнитов.
Стандарт регламентирует технические требования и порядок использования юстировочных магнитов, предназначенных для настройки положения измерительного зонда тесламетра Холла в измерительном приспособлении при контроле постоянных магнитов.
В настоящем стандарте использованы нормативные ссылки на следующие стандарты:
ГОСТ 15150 Машины, приборы и другие технические изделия. Исполнения для различных климатических районов. Категории, условия эксплуатации, хранения и транспортирования в части воздействия климатических факторов внешней среды
ГОСТ 19693 Материалы магнитные. Термины и определения
ГОСТ 20906 Средства измерений магнитных величин. Термины и определения
ГОСТ 22261 Средства измерений электрических и магнитных величин. Общие технические условия
ГОСТ 24897 Материалы магнитотвердые деформируемые. Марки
ГОСТ 25639 Магниты литые постоянные. Технические условия
ГОСТ Р 58885 Магниты постоянные общепромышленного применения. Классификация. Общие технические требования. Контроль магнитных параметров
Примечание - При пользовании настоящим стандартом целесообразно проверить действие ссылочных стандартов в информационной системе общего пользования - на официальном сайте Федерального агентства по техническому регулированию и метрологии в сети Интернет или по ежегодному информационному указателю "Национальные стандарты", который опубликован по состоянию на 1 января текущего года, и по выпускам ежемесячного информационного указателя "Национальные стандарты" за текущий год. Если заменен ссылочный стандарт, на который дана недатированная ссылка, то рекомендуется использовать действующую версию этого стандарта с учетом всех внесенных в данную версию изменений. Если заменен ссылочный стандарт, на который дана датированная ссылка, то рекомендуется использовать версию этого стандарта с указанным выше годом утверждения (принятия). Если после утверждения настоящего стандарта в ссылочный стандарт, на который дана датированная ссылка, внесено изменение, затрагивающее положение, на которое дана ссылка, то это положение рекомендуется применять без учета данного изменения. Если ссылочный стандарт отменен без замены, то положение, в котором дана ссылка на него, рекомендуется применять в части, не затрагивающей эту ссылку.
3.1 В настоящем стандарте применены термины по ГОСТ 19693, ГОСТ 20906,
ГОСТ 25639,
ГОСТ Р 58885,
[2], а также следующие термины с соответствующими определениями:
3.1.1 контрольный магнит; КМ: Магнит, прошедший валидацию и предназначенный для проверки годности к применению рабочего измерительного комплекта.
3.1.2 валидация контрольных магнитов: Установление предельно допустимых значений магнитного параметра контрольных магнитов.
3.1.3 рабочий измерительный комплект: Совокупность рабочего средства измерений, магнитоизмерительного преобразователя (зонд прибора, измерительная катушка) и измерительного приспособления, предназначенных для измерений магнитного параметра магнита.
3.1.4 измерительное приспособление: Вспомогательное устройство для фиксации магнита относительно измерительного зонда прибора (измерительной катушки) в заданных координатах для получения результатов измерений требуемой точности.
3.1.5 юстировочный магнит: Магнит из магнитотвердого материала цилиндрической формы, применяемый для проверки правильности расположения измерительного зонда типа М тесламетра Холла в измерительном приспособлении.
3.1.6 исходное средство измерений: Средство измерений магнитного параметра, принятое на предприятии в качестве исходного эталона. Исходное средство измерений магнитного параметра должно иметь действующее свидетельство о поверке с протоколом поверки.
4 Общие технические требования
4.1 Требования к контрольным магнитам
4.1.1 Контрольные магниты должны отбираться из текущих партий однотипных постоянных магнитов, принятых ОТК производителя, в количестве не менее трех штук.
4.1.2 Контрольные магниты могут храниться как в размагниченном, так и намагниченном состояниях.
4.1.3 Маркировка
4.1.3.1 Маркировку КМ осуществляют электрографом на боковой поверхности. Если маркировку на КМ не наносят, то данные маркировки указывают в сертификате на контрольные магниты.
4.1.3.2 Маркировка содержит шифр КМ в соответствии с реестром КМ производителя КМ. Допускается дополнительная маркировка, отражающая практику учета магнитотвердых материалов (литых, спеченных и т.д.) на предприятии производителя КМ.
Пример - КМ 2-1-3.
КМ - контрольный магнит; 2 - из деформируемого магнитотвердого материала;
1 - номер комплекта КМ; 3 - номер КМ в комплекте.
4.1.4 Комплектность
4.1.4.1 Комплект КМ одного типа включает не менее трех экземпляров.
4.1.4.2 К каждому комплекту контрольных магнитов прилагают Сертификат.
4.1.4.3 При необходимости в комплект контрольных магнитов могут входить правила применения (см.
раздел 6).
4.1.5 Учет и хранение
4.1.5.1 Контрольные магниты должны пройти валидацию и быть внесены в Реестр контрольных магнитов производителя КМ.
4.1.5.2 Выдача контрольных магнитов должна быть отражена в Реестре учета контрольных магнитов.
4.1.5.3 Один экземпляр КМ передают на место проведения контроля магнитов, остальные экземпляры хранятся у производителя КМ.
4.1.5.4 Контрольные магниты после выдачи должны храниться в подразделении, которое получило КМ.
4.1.5.5 КМ следует хранить в нормальных климатических условиях по
ГОСТ 15150 в упаковке, обеспечивающей его сохранность от механических и климатических воздействий.
При хранении намагниченных контрольных магнитов их следует размещать в немагнитной таре на расстоянии, исключающем их взаимное притяжение (отталкивание).
4.1.5.6 При нарушении внешнего вида КМ (появления сколов, трещин, выкрашиваний) или размеров, контрольный магнит должен быть изъят из обращения или его магнитные параметры должны быть вновь установлены.
4.2 Требования к юстировочным магнитам
4.2.1 Форма юстировочного магнита должна соответствовать
рисунку 1.
d - диаметр рабочей части; l - длина рабочей части
Рисунок 1 - Юстировочный магнит
4.2.2 Диаметр рабочей части юстировочного магнита
d (см.
рисунок 1) должен совпадать с диаметром юстировочного отверстия на измерительном приспособлении
(приложение Г).
4.2.3 Длина рабочей части юстировочного магнита
l должна быть не менее расстояния
p от поверхности магнита до зонда (см.
рисунок Г.1).
4.2.4 Соотношение размеров d/l должно быть не менее 1 к 10.
4.2.5 Юстировочный магнит должен быть изготовлен из деформируемого магнитотвердого материала по ГОСТ 24897.
4.2.6 Юстировочный магнит должен иметь этикетку с указанием размера d и материала магнита, выданную ОТК производителя.
5 Валидация контрольных магнитов
5.1 Валидацию контрольных магнитов проводят по магнитному параметру, установленному в ТУ и (или) чертеже на магнит. Допустимо проводить валидацию КМ по нескольким магнитным параметрам.
5.2 Метод измерений магнитного параметра должен соответствовать методу, приведенному в
ГОСТ Р 58885.
5.3 При валидации определяют нижний и верхний пределы допустимых значений магнитного параметра контрольных магнитов.
5.4 Измерения магнитного параметра КМ проводят с применением исходного средства измерений.
5.5 Измерительное приспособление должно быть принято ОТК производителя.
5.6 Опорное значение AО магнитного параметра КМ равно:

, (1)
где i - номер измерения;
n - количество измерений;
Ai - результат i-го измерения (i = 1, 2, 3,..., n).
Количество измерений должно быть не менее трех.
5.7 Опорное значение магнитного параметра должно быть равно или более значения, установленного в ТУ и (или) чертеже на магнит.
5.8 Пределы допустимых значений магнитного параметра КМ вычисляют по формулам:
- верхний предел допустимого значения AВ

, (2)
- нижний предел допустимого значения AН

, (3)
где

- допустимая относительная погрешность измерений магнитного параметра постоянного магнита, установленная в ТУ и (или) чертеже на магнит, %.
5.9 На комплект КМ оформляют Протокол и Сертификат. Данные валидации фиксируют в Реестре учета контрольных магнитов производителя. Формы
Протокола,
Сертификата и
Реестра приведены в приложениях А, Б и В, соответственно.
6.1 Применение контрольных магнитов.
6.1.1 Контрольные магниты, хранящиеся в размагниченном состоянии, перед применением должны быть намагничены до технического насыщения.
6.1.2 Контрольные магниты должны применяться перед выполнением измерений магнитных параметров каждой новой партии магнитов.
6.1.3 Измерение магнитного параметра КМ проводят с применением рабочего измерительного комплекта.
6.1.4 Значение магнитного параметра КМ, полученное при измерении, не должно выходить за пределы допустимых значений, указанных в сертификате на КМ.
При выполнении данного требования рабочий измерительный комплект считается годным к применению для контроля магнитов данного типоразмера.
При нарушении данного требования рабочий измерительный комплект применять не допускается, он подлежит замене.
6.1.5 Не допускается использовать КМ для отбраковки магнитов, например, в дифференциальных методах измерений, в качестве граничной меры магнитного параметра.
6.1.6 Магнитоизмерительная аппаратура, применяемая для контроля магнитных параметров КМ, должна соответствовать
ГОСТ 22261.
6.1.7 Потребитель постоянных магнитов может применять КМ, полученный от производителя постоянных магнитов, в целях получения согласованных результатов контроля магнитов данного типоразмера.
6.2 Применение юстировочного магнита.
6.2.1 Юстировочный магнит применяют для проверки положения зонда типа М тесламетра Холла в измерительном приспособлении (см.
рисунок Г.1 приложения Г).
6.2.2 Перед применением юстировочный магнит должен быть намагничен до технического насыщения и помещен в отверстие измерительного приспособления.
6.2.3 Зонд типа М перемещают в пазу измерительного приспособления и фиксируют в положении, соответствующем максимуму показаний тесламетра Холла.
(рекомендуемое)
ФОРМА ПРОТОКОЛА ВАЛИДАЦИИ КОНТРОЛЬНЫХ МАГНИТОВ
Протокол N ____ от ____
валидации контрольных магнитов
Наименование постоянного магнита: ______________________________
Материал магнита: _____________________________________________
Конструктивное исполнение и размеры магнита: ___________________
Наименование параметра магнита: _______________________________
Результаты валидации:
Шифр КМ | Измеренные значения | AО | AН | AВ |
1 | 2 | 3 |
| | | | | | |
| | | | | | |
| | | | | | |
Валидация выполнена при доверительной вероятности P = 0,95.
Измерения проводили с применением прибора: _____________________
Измерения проводили при температуре ________ °C
Измерения проводили: | _____________ подпись | ____________________ ФИО |
_____________ подпись | ____________________ ФИО |
(рекомендуемое)
ФОРМА СЕРТИФИКАТА НА КОНТРОЛЬНЫЕ МАГНИТЫ
СЕРТИФИКАТ N ___
НА КОНТРОЛЬНЫЕ МАГНИТЫ
Действителен до: ___________
Наименование постоянного магнита: ______________________________
Материал магнита: ______________________________________________
Конструктивное исполнение и размеры магнита: ____________________
Наименование параметра магнита: ________________________________
Метрологические характеристики:
Шифр КМ | Нижний предел допустимого значения | Верхний предел допустимого значения |
| | |
| | |
| | |
Валидация выполнена при доверительной вероятности P = 0,95.
Назначение КМ: контроль годности к применению рабочего измерительного комплекта.
Руководитель метрологической службы | __________ подпись | ________________ ФИО |
"__" _____________________ 20__ г.
(рекомендуемое)
Форма реестра учета контрольных магнитов
Порядковый номер сертификата КМ | Дата проведения валидации | Шифр контрольного магнита | Наименование постоянного магнита | Материал магнита | Конструктивное исполнение и размеры магнита | Наименование магнитного параметра магнита | Измерения проводил | ФИО, подпись получателя контрольного магнита | Дата получения контрольного магнита |
1 | 2 | 3 | 4 | 5 | 6 | 7 | 8 | 9 | 10 |
| | | | | | | | | |
| | | | | | | | | |
| | | | | | | | | |
(справочное)
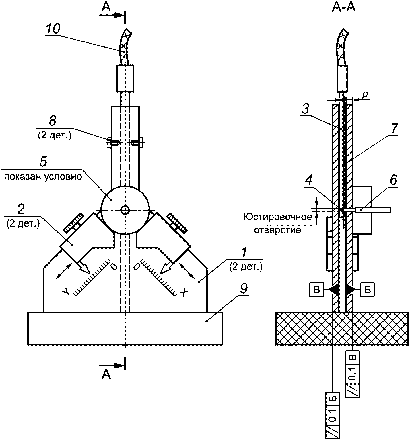
ИЗМЕРИТЕЛЬНОЕ ПРИСПОСОБЛЕНИЕ К ТЕСЛАМЕТРУ ХОЛЛА
С ЗОНДОМ ТИПА М
Г.1 Пример измерительного приспособления к тесламетру Холла с зондом типа М в вертикальном исполнении приведен на
рисунке Г.1.
1 - пластины с размерными шкалами; 2 - регулируемые упоры;
3 - зонд типа М тесламетра Холла; 4 - пластина
преобразователя Холла; 5 - магнит (испытываемый или
контрольный); 6 - юстировочный магнит; 7 - защитная
пластина; 8 - винт, фиксирующий положение зонда;
9 - основание приспособления; 10 - кабель зонда
Рисунок Г.1 - Пример универсального измерительного
приспособления для измерений Bп (вертикальное исполнение)
[1] | Афанасьев Ю.В., Студенцов Н.В., Хорев В.Н. Средства измерений параметров магнитного поля. - Л.: Энергия, 1979. 320 с. |
| Рекомендации по межгосударственной стандартизации РМГ 29-2013 | Государственная система обеспечения единства измерений. Метрология. Основные термины и определения. - М.: Стандартинформ, 2014 |
[3] | Руководящий документ РД 11 070.101.87-84 | Система показателей качества продукции. Преобразователи Холла для измерительной техники. Номенклатура показателей |
УДК 621.317.4:006.354 | |
Ключевые слова: постоянный магнит, магниты контрольные, магниты юстировочные, общие технические требования, параметры, валидация, правила применения, тесламетр Холла, измерительное приспособление |