Главная // Актуальные документы // ГОСТ Р (Государственный стандарт)СПРАВКА
Источник публикации
М.: Стандартинформ, 2020
Примечание к документу
Документ
введен в действие с 01.04.2021.
Название документа
"ГОСТ Р 58956-2020. Национальный стандарт Российской Федерации. Воронки кровельные для внутренних водостоков. Общие технические условия"
(утв. и введен в действие Приказом Росстандарта от 06.08.2020 N 473-ст)
"ГОСТ Р 58956-2020. Национальный стандарт Российской Федерации. Воронки кровельные для внутренних водостоков. Общие технические условия"
(утв. и введен в действие Приказом Росстандарта от 06.08.2020 N 473-ст)
Утвержден и введен в действие
Приказом Федерального
агентства по техническому
регулированию и метрологии
от 6 августа 2020 г. N 473-ст
НАЦИОНАЛЬНЫЙ СТАНДАРТ РОССИЙСКОЙ ФЕДЕРАЦИИ
ВОРОНКИ КРОВЕЛЬНЫЕ ДЛЯ ВНУТРЕННИХ ВОДОСТОКОВ
ОБЩИЕ ТЕХНИЧЕСКИЕ УСЛОВИЯ
Rainwater roof outlets for internal drainage.
General specifications
(EN 1253-2:2015, NEQ)
(EN 1253-3-2016, NEQ)
ГОСТ Р 58956-2020
Дата введения
1 апреля 2021 года
1 ПОДГОТОВЛЕН Национальным кровельным союзом (НКС) на основе собственного перевода на русский язык немецкоязычной версии европейских стандартов, указанных в
пункте 4
2 ВНЕСЕН Техническим комитетом по стандартизации ТК 144 "Строительные материалы, изделия и конструкции"
3 УТВЕРЖДЕН И ВВЕДЕН В ДЕЙСТВИЕ Приказом Федерального агентства по техническому регулированию и метрологии от 6 августа 2020 г. N 473-ст
4 В настоящем стандарте учтены основные нормативные положения следующих европейских стандартов:
- ЕН 1253-2:2015 "Водостоки для зданий. Часть 2. Кровельные воронки и водосточные трапы без запахоуловителя" (EN 1253-2:2015 "

- Teil 2:

und

ohne Geruchverschluss; Deutsche Fassung EN 1253-2:2015", NEQ).
- EH 1253-3:2016 "Водостоки для зданий. Часть 3. Оценка соответствия" (EN 1253-3:2016 "

- Teil 3: Bewertung der

; Deutsche Fassung EN 1253-3:2016", NEQ)
5 ВВЕДЕН ВПЕРВЫЕ
Правила применения настоящего стандарта установлены в статье 26 Федерального закона от 29 июня 2015 г. N 162-ФЗ "О стандартизации в Российской Федерации". Информация об изменениях к настоящему стандарту публикуется в ежегодном (по состоянию на 1 января текущего года) информационном указателе "Национальные стандарты", а официальный текст изменений и поправок - в ежемесячном информационном указателе "Национальные стандарты". В случае пересмотра (замены) или отмены настоящего стандарта соответствующее уведомление будет опубликовано в ближайшем выпуске ежемесячного информационного указателя "Национальные стандарты". Соответствующая информация, уведомление и тексты размещаются также в информационной системе общего пользования - на официальном сайте Федерального агентства по техническому регулированию и метрологии в сети Интернет (www.gost.ru)
Настоящий стандарт распространяется на кровельные водосточные и парапетные воронки, а также водосточные трапы, предназначенные для установки в системах внутреннего водостока.
Стандарт содержит сведения о классификации кровельных воронок для неэксплуатируемых и эксплуатируемых крыш, определяет требования к конструкции, техническим параметрам изделия, функциональности и маркировке, а также к методам испытаний.
Настоящий стандарт не распространяется на трапы канализационные с запахозапирающим устройством, устанавливаемые в помещениях жилых, общественных и производственных зданий.
В настоящем стандарте использованы нормативные ссылки на следующие стандарты:
ГОСТ 166 (ИСО 3599-76) Штангенциркули. Технические условия
ГОСТ 427 Линейки измерительные металлические. Технические условия
ГОСТ 1811 Трапы для систем канализации зданий. Технические условия
ГОСТ 15150 Машины, приборы и другие технические изделия. Исполнения для различных климатических районов. Категории, условия эксплуатации, хранения и транспортирования в части воздействия климатических факторов внешней среды
ГОСТ 15846 Продукция, отправляемая в районы Крайнего Севера и приравненные к ним местности. Упаковка, маркировка, транспортирование и хранение
Примечание - При пользовании настоящим стандартом целесообразно проверить действие ссылочных стандартов в информационной системе общего пользования - на официальном сайте Федерального агентства по техническому регулированию и метрологии в сети Интернет или по ежегодному информационному указателю "Национальные стандарты", который опубликован по состоянию на 1 января текущего года, и по выпускам ежемесячного информационного указателя "Национальные стандарты" за текущий год. Если заменен ссылочный стандарт, на который дана недатированная ссылка, то рекомендуется использовать действующую версию этого стандарта с учетом всех внесенных в данную версию изменений. Если заменен ссылочный стандарт, на который дана датированная ссылка, то рекомендуется использовать версию этого стандарта с указанным выше годом утверждения (принятия). Если после утверждения настоящего стандарта в ссылочный стандарт, на который дана датированная ссылка, внесено изменение, затрагивающее положение, на которое дана ссылка, то это положение рекомендуется применять без учета данного изменения. Если ссылочный стандарт отменен без замены, то положение, в котором дана ссылка на него, рекомендуется применять в части, не затрагивающей эту ссылку.
В настоящем стандарте применены следующие термины с соответствующими определениями:
3.1 водосток (водоотведение): Система устройств для приема и отведения дождевых и талых вод самотеком с поверхности кровли.
3.2 внутренний водосток: Система устройств и трубопроводов для приема и отведения дождевых и талых вод с крыши здания в канализационную сеть, расположенная в границах внешнего контура стен здания.
3.3 внешний водосток: Система устройств для отведения дождевых и талых вод с крыши здания за внешний контур стен здания.
3.4 водосточный трап без запахозапирающего устройства: Элемент системы внутреннего водостока, предназначенный для сбора и отвода дождевой воды с поверхности эксплуатируемой крыши, террасы или балкона, монтируемый на одном уровне с эксплуатируемой поверхностью.
Примечание - Водосточный трап без запахозапирающего устройства (см.
рисунок 1) конструктивно отличается от трапа канализационного, предназначенного для приема и отвода в канализационную сеть сточных вод с полов помещений по
ГОСТ 1811.
1 - решетка; 2 - выпускной патрубок; 3 - корпус трапа
Рисунок 1 - Водосточный трап без запахозапирающего
устройства (пример конструкции)
3.5 аварийная воронка: Элемент системы водостока, предназначенный для аварийного водоотведения.
3.6 кровельная воронка: Элемент системы внутреннего водостока, предназначенный для отвода дождевой и талой воды с поверхности крыши, балконов и террас посредством трубопровода канализации.
Примечание - Кровельная воронка (см.
рисунок 2) может быть оснащена устройством для предотвращения вихреобразования.
1 - решетка; 2 - мастичная или рулонная кровельная
гидроизоляция; 3 - надставной элемент; 4 - уплотнитель;
5 - прижимной фланец; 6 - корпус воронки;
7 - водоотводной патрубок
Рисунок 2 - Конструкция кровельной воронки
(пример конструкции)
3.7
парапетная воронка: Элемент системы внешнего водостока, предназначенный для сбора и отвода для водостока с плоских крыш и террас через проем в парапетной стене (см.
рисунок 3).
1 - решетка; 2 - корпус воронки; 3 - прижимной фланец;
4 - жидкая или рулонная кровельная гидроизоляция;
5 - водоотводной патрубок (круглого или квадратного сечения)
Рисунок 3 - Парапетная воронка (пример конструкции)
3.8 выпускной патрубок: Часть водосточной воронки, предназначенная для соединения с канализационной трубой.
3.9 высота подпора: Высота h от линии зеркала воды до края перелива кровельной воронки или водосточного трапа, как показано на рисунке 4.
h - высота подпора
Рисунок 4 - Высота подпора
3.10 внутренний диаметр; ID: Средний внутренний диаметр стержня трубы на любом его поперечном сечении в миллиметрах.
3.11 наружный диаметр; OD: Средний наружный диаметр стержня трубы на любом его поперечном сечении в миллиметрах.
3.12 дождевая вода: Осадки, которые не просачиваются в почву и могут быть отведены в водосточную систему с поверхностей грунта или с наружных поверхностей здания.
3.13 испытательная нагрузка: Фиксированная нагрузка, которую должен выдерживать испытываемый образец.
3.14 корпус воронки: Часть кровельной воронки или водосточного трапа, размещаемая при монтаже ниже поверхности кровли эксплуатируемого покрытия крыши или грунта, на которую сверху устанавливается надставной элемент, решетка или рамка, а снизу к которому подключают трубопровод системы водостока.
3.15 кровля: Конструктивный элемент крыши, предохраняющий здание или сооружение от проникновения атмосферных осадков.
3.16 крыша: Верхняя несущая и ограждающая конструкция здания или сооружения, предназначенная для сохранения тепла, защиты от внешних климатических и других воздействий.
3.17 люк: Съемная деталь в виде сплошной крышки без отверстий для закрытия отверстия кровельной воронки.
3.18 надставной элемент: Деталь для регулировки высоты решетки или крышки над корпусом воронки, или для герметичного соединения с несколькими гидроизоляционными слоями, или для приема воды с разных уровней кровельного покрытия.
3.19 номинальный размер; DN: Численное параметрическое значение, равное внутреннему диаметру (DN/ID) или наружному диаметру (DN/OD) в миллиметрах.
3.20 решетка: Съемная деталь в виде пластины с отверстиями или решетки, через которые отводится дождевая вода.
Примечание - Решетка может называться, в зависимости от назначения, листвоуловителем или гравиеуловителем.
3.21 вакуумная система водостока: Система отвода дождевой воды, в которой водосток осуществляется за счет силы тяжести воды при полном заполнении трубопровода.
3.22 самотечная система водостока: Система отвода дождевой воды, в которой водосток осуществляется за счет силы тяжести воды при неполном заполнении трубопровода.
3.23 установочная рамка (подрамник): Опорная конструкция для решетки или крышки, которая соединена с корпусом воронки, либо выполнена как единое целое с прижимным фланцем для соединения гидроизоляции или с надставным элементом.
3.24 соединительный фартук: Деталь из гидроизоляционного материала, соответствующего типу гидроизоляции кровли, который служит для обеспечения герметичного соединения.
3.25 клеевой фланец: Неотъемлемая деталь корпуса воронки, на которую нанесен клеевой состав для присоединения гидроизоляционного материала.
3.26 опорный фланец (чаша): Отдельная или неотъемлемая деталь корпуса воронки или надставного элемента для присоединения гидроизоляционного материала или мастичной гидроизоляции.
3.27 прижимной фланец для соединения гидроизоляции: Деталь, используемая для механического зажима гидроизоляционного материала к опорному фланцу корпуса воронки или надставного элемента.
3.28 ширина в свету; CO: Диаметр самой большой окружности, которая может быть описана в пределах безопорной зоны решетки.
4 Типы кровельных воронок, условные обозначения
4.1 Тип кровельных воронок и водосточных трапов определяется по типу кровельной системы, для которой он предназначен (таблица 1).
Таблица 1
Типы кровельных воронок
Тип кровельной системы | Тип кровельной воронки |
Неэксплуатируемые крыши с гидроизоляцией из рулонных или мастичных материалов | H 1,5 |
Эксплуатируемые крыши с пешеходной нагрузкой | K 3 |
Эксплуатируемые крыши жилых и общественных зданий и сооружений с неинтенсивной транспортной нагрузкой (только легковой транспорт) | L 15 |
Эксплуатируемые крыши жилых и общественных зданий и сооружений с неинтенсивной транспортной нагрузкой | R 50 |
Эксплуатируемые крыши жилых и общественных зданий и сооружений с интенсивной транспортной нагрузкой | M 125 |
Эксплуатируемые крыши промышленных объектов и парковок с интенсивной транспортной нагрузкой легкового автотранспорта | N 250 |
Эксплуатируемые крыши промышленных объектов и парковок с интенсивной транспортной нагрузкой автопогрузчиков и грузового автотранспорта | P 400 |
4.2 Водосточные воронки классов E 600 и F 900 допускается использовать в системах водостока (водоотвода), установленных в конструкциях, подверженных воздействию повышенных кратковременных нагрузок.
Примечание - К повышенным кратковременным нагрузкам относятся нагрузки от большегрузных транспортных средств, пожарной техники, авиатехники.
4.3 Кровельные воронки, которые не подвергаются воздействию транспортных средств, пешеходного движения или иных внешних нагрузок, относятся к типу H 1,5.
5.1 Кровельные воронки должны быть сконструированы таким образом, чтобы они могли быть подключены к трубам системы водостока и обеспечивали водоотвод с поверхности кровли.
Примечание - Не допускается подвижность кровельной воронки после установки относительно конструкции крыши или грунта, что может повлиять на их работоспособность.
5.2 Все соединения труб с кровельными воронками должны быть герметичны.
5.3 Поверхность и кромки кровельной воронки (водосточного трапа) не должны иметь острых краев и дефектов, которые могут повлиять на работоспособность водостока или привести к травме.
5.4 Соединение кровельной воронки с гидроизоляцией должно быть герметично.
6 Материалы для производства кровельных воронок и водосточных трапов
6.1 Корпуса кровельных воронок и водосточных трапов производят из марок металлов, устойчивых к коррозии, а также из полимерных материалов.
Примечание - В случае производства кровельной воронки из материалов, которые сами по себе не устойчивы к коррозии, должны быть выполнены мероприятия по антикоррозионной защите.
6.2 Материалы, применяемые при производстве кровельных воронок и водосточных трапов, должны быть устойчивы к воздействию УФ-излучения, низких температур и воздействию горячего битума.
6.3 Водосточные воронки классов R 50, M 125, N 250, P 400 при их применении внутри зданий для отвода производственных сточных вод, не имеющих неприятного запаха и не выделяющих вредные газы и пары, должны быть изготовлены из материалов, устойчивых к кратковременной максимальной температуре сточной воды +95 °C, а также к воздействию химически агрессивных сред.
6.4 По соглашению между заказчиком и производителем отдельно определяют требования по химической совместимости водосточной воронки с отводимой жидкостью и нагрузке при продолжительном воздействии стоков с высокой температурой.
7.1.1 Допустимые размеры отверстий решетки приведены в таблице 2. Замеры проводят в соответствии с
8.1. Форма отверстий не регламентируется.
Таблица 2
Отверстия решетки в соответствии с классом
водосточной воронки
Класс нагрузки | Размеры отверстий решетки |
Минимальная ширина, мм | Максимальная ширина, мм |
H 1,5 (150 кг) | | 15 (максимально 8 мм в зонах общественного пользования) |
K 3 (300 кг) | | 10 (максимально 8 мм в зонах общественного пользования) |
| 4 | 15 (максимально 8 мм в зонах общественного пользования) |
| 4 | 25 (максимально 8 мм в зонах общественного пользования) |
| 4 | 25 |
N 250 (25 т) | 4 | 25 |
P 400 (40 т) | 4 | 25 |
<1> На промышленных объектах допускается использовать решетки с отверстиями максимальной ширины до 31 мм. <2> Отверстия шириной менее 4 мм допустимы, но гидравлические испытания для них не проводятся. |
7.1.2 Решетки (листвоуловители) кровельных воронок для установки на неэксплуатируемых крышах должны выступать на высоту не менее 30 мм над кровлей или не менее 70 мм над прижимным фланцем, если не удается определить уровень кровли.
7.2 Водонепроницаемость кровельной воронки, водосточного трапа и надставного элемента
7.2.1 Корпус кровельной воронки и водосточного трапа, а также соединение надставного элемента и корпуса кровельной воронки должны быть водонепроницаемыми.
Примечание - В случае инверсионной кровли место соединения кровельной воронки и надставного элемента должно обеспечивать отвод воды с уровня гидроизоляции.
7.2.2 При испытании корпуса воронки и надставного элемента на водонепроницаемость в соответствии с
8.2 не допускается просачивание жидкости.
7.3 Устойчивость к нагрузкам
7.3.1 Устойчивость изделия к нагрузкам определяется в соответствии с
8.3 и должна соответствовать типу изделия в соответствии с
разделом 4 настоящего стандарта.
7.4 Механическая прочность
7.4.1 При проведении испытания в соответствии с
8.4 смещение прижимного фланца недопустимо. После проведения испытания изделие не должно иметь никаких повреждений, влияющих на его функциональность.
7.5 Пропускная способность
7.5.1.1 При проведении испытаний в соответствии с
8.5 значения пропускной способности водосточного трапа должны соответствовать значениям, приведенным в таблице 3.
Таблица 3
Минимальные значения пропускной способности
водосточных трапов
Номинальные размеры выпускных патрубков <*> | Водосточные трапы (q) |
DN/OD | DN/ID | Минимальные значения пропускной способности, л/с | Высота подпора h, мм |
32 | | 0,4 | 20 |
| 30 | 0,4 |
40 | | 0,6 |
| 40 | 0,6 |
50 | | 0,8 |
| 50 | 0,8 |
63 | | 0,8 |
75 | | 0,8 |
| 70 | 0,8 |
| 75 | 0,8 |
90 | | 0,8 |
100 | | 1,4 |
| 100 | 1,4 |
110 | | 1,4 |
125 | | 2,8 |
| 125 | 2,8 |
| 150 | 4,0 |
160 | | 4,0 |
<*> Все размеры, не указанные в этой таблице, должны быть проверены на следующий больший размер. |
7.5.2 Кровельные и парапетные воронки
7.5.2.1 Значения пропускной способности кровельных и парапетных воронок в зависимости от высоты подпора указываются производителем в сопроводительной документации в виде таблицы или диаграммы.
7.5.2.2 Испытания следует проводить согласно требованиям
8.5.2 и
8.5.3 и в соответствии с инструкцией производителя по монтажу изделия. Испытания считаются пройденными, если соблюдены значения, указанные в таблице 4.
Таблица 4
Минимальные значения пропускной способности
для кровельных воронок
Номинальные размеры | Самотечный водосток | Вакуумный водосток |
DN/OD | DN/ID | Минимальные значения пропускной способности, л/с | Высота подпора h, мм | Минимальные значения пропускной способности, л/с | Высота подпора h, мм |
40 | | - | - | 2,5 | 55 |
| 40 | 3,0 |
50 | | 0,9 | 35 | 4,0 |
| 50 | 6,0 |
63 | | 1,0 | 7,0 |
75 | | 1,7 | 12,0 |
| 70 |
80 | | 2,6 | 14,0 |
| 75 |
90 | | 3,0 | 18,0 |
110 | | 4,5 | 22,0 |
| 100 |
125 | | 7,0 | 45 | - | - |
| 125 |
160 | | 8,1 |
| 150 |
7.5.2.3 Парапетные воронки могут быть без подключения к трубопроводу (со свободным стоком) или с подключением к трубопроводу водосточной системы.
7.5.3 Кровельные и парапетные воронки для системы вакуумного водостока
7.5.3.1 Значения пропускной способности кровельных и парапетных воронок для систем вакуумного водостока, а также коэффициенты сопротивления определяют в соответствии с
8.5.4.2 и указываются производителем.
7.5.3.2 По результатам испытаний согласно
8.5.4 кровельные и парапетные воронки для системы вакуумного водостока должны обеспечить минимальные значения пропускной способности, указанные в
таблице 4.
7.5.4 Значения потерь давления
7.5.4.1 Коэффициент потери давления готового к использованию комплекта кровельной воронки для системы вакуумного водостока должен определяться согласно
8.5.4.3 как с надставным элементом, так и без него. Производитель обязан указывать коэффициент потери давления для расчета пропускной способности системы вакуумного водостока в сопроводительной документации к изделию.
7.6 Морозостойкость и теплостойкость изделия
7.6.1 Кровельные воронки и их комплектующие должны быть устойчивы к повышенным и пониженным температурам воздуха. По результатам испытаний в соответствии с
8.6 изделие должно выдерживать температуру от минус 30 до 80 °C.
Примечание - По соглашению с заказчиком, с учетом климатических условий региона применения изделия, проводят испытания на более низкие температуры.
7.7 Стойкость к термоциклированию
7.7.1 При испытаниях согласно
8.7 кровельные воронки, водосточные трапы и их комплектующие не должны иметь никаких деформаций или изменений структуры поверхности деталей, которые могут повлиять на их эксплуатацию.
7.8 Устойчивость к воздействию горячего битума или асфальта
7.8.1 Согласно испытанию
8.8 кровельные воронки и водосточные трапы должны выдерживать температуру до (220 +/- 5) °C в непосредственном контакте с горячим битумом или мастикой.
7.8.2 Это требование считается выполненным для кровельных воронок с интегрированными в конструкцию битумными соединительными фартуками заводского изготовления, а также для воронок, выполненных исключительно из металла.
7.9 Дополнительные требования
7.9.1 Кровельные воронки и водосточные трапы для соединения с гидроизоляцией
7.9.1.1 Кровельные воронки и водосточные трапы для соединения с гидроизоляцией должны предусматривать фланцы согласно таблице 5.
Таблица 5
Виды фланцев
Тип гидроизоляции в зоне фланца | Эффективная минимальная ширина, мм |
Прижимной фланец | Клеевой фланец | Соединительный фартук |
| Съемный фланец |
1 Рулонная битумосодержащая гидроизоляция |
1.1 Клеевое соединение | - | - | 100 | - |
1.2 Механическое соединение (прижимное) | 70 | 60 | - | - |
2 Рулонная гидроизоляция полимерная или эластомерная |
2.1 Клеевое соединение | - | - | 30 | - |
2.2 Механическое соединение (прижимное) | 50 | 40 | - | - |
2.3 Соединение методом сварного шва | - | - | - | 50 |
3 Мастичная гидроизоляция | - | - | 30 | - |
<*> Это значение также относится к воронкам с фабричноустановленным соединительным фартуком с фиксированным и съемным фланцем. |
7.9.1.2 Кровельные воронки для соединения с гидроизоляцией должны предусматривать соединительный фартук и/или прижимной фланец для гидроизоляции, и они должны быть герметичными по
8.9.
7.9.1.3 При испытаниях согласно
8.9 не должно происходить отслоение при <= 100 N.
8.1 Размеры проемов решетки
8.1.1 Соответствие размеров требованиям
таблицы 2 проверяется с помощью линейки измерительной металлической по
ГОСТ 427 и штангенциркуля по
ГОСТ 166, а также с помощью калибровочных шаров.
8.2 Водонепроницаемость кровельной воронки, водосточного трапа и надставного элемента
8.2.1 Смонтированный узел воронки (закупоренный выпускной патрубок и все боковые соединения) подвергается гидростатическому давлению, начиная с 0 кПа до 10 кПа. Испытание пройдено, если в течение 15 мин на стенках корпуса воронки, швах или стыках не просачивается жидкость.
8.3.1 Испытательные нагрузки и остаточная деформация
8.3.1.1 Для испытательных нагрузок и скорости нагрузки применяются значения, указанные в таблице 6.
Таблица 6
Испытательные нагрузки и скорость нагрузки
Класс | Испытательная нагрузка P, кН | Скорость нагрузки, кН/с |
H 1,5 | 1,5 | 0,1 |
K 3 | 3 | 0,2 |
L 15 | 15 | 1,0 |
R 50 | 50 |
M 125 | 125 | 5,0 |
N 250 | 200 |
P 400 | 400 |
Остаточная деформация f в результате испытаний не должна превышать значения, указанные в таблице 7.
Таблица 7
Максимальная остаточная деформация
Ширина в свету (CO), мм | Остаточная деформация f, мм |
CO <= 250 | <= 1,0 |
250 < CO <= 500 | <= 0,004CO |
CO > 500 | <= 2,0 |
8.3.2 Испытательный пресс
8.3.2.1 Испытательный пресс (предпочтительно - гидравлический пресс) должен быть в состоянии прикладывать нагрузку, превышающую испытательную не менее чем на 25% испытательной нагрузки, и поддерживать испытательную нагрузку в пределах допустимого отклонения +/- 3%.
8.3.2.2 Размеры стола испытательного пресса должны быть больше, чем площадь опорной поверхности испытываемого образца.
8.3.3 Контрольные штампы
8.3.3.1 Форму и размеры контрольных штампов выбирают в соответствии с таблицей 8.
Таблица 8
Форма, размер и размещение штампов (
рисунки 5 -
8)
Ширина в свету (CO), мм | Форма и размер контрольного штампа, мм | Наименьшее неопорное расстояние  , мм |
Круглый контрольный штамп, диаметр D | Прямоугольный контрольный штамп, ширина W x длина L |
| 20 +/- 0,5 | (20 +/- 0,5) x (90 +/- 0,5) | 2,5 |
50 < CO <= 90 | 40 +/- 0,5 | (40 +/- 0,5) x (110 +/- 1,0) | 5 |
90 < CO <= 140 | 75 +/- 0,5 | (75 +/- 0,5) x (120 +/- 1,0) | 7,5 |
140 < CO <= 200 | 110 +/- 1,0 | (110 +/- 1,0) x (180 +/- 1,0) | 15 |
200 < CO <= 300 | 150 +/- 1,0 | (150 +/- 1,0) x (250 +/- 1,0) | 25 |
300 < CO | 250 +/- 1,0 | (250 +/- 1,0) x (400 +/- 1,0) | 25 |
<*> Для CO < 25 не требуется проведение нагрузочных испытаний. |
1 - контрольный штамп; 2 - решетка; 3 - установочная рамка;
4 - опорная поверхность; 5 - прокладка; CO - ширина в свету
Рисунок 5 - Контрольный штамп, установленный на решетку
| |
а) Круглая решетка | б) Квадратная решетка |
| |
в) Треугольная решетка | г) Восьмиугольная решетка |
1 - контрольный штамп; 2 - решетка; 3 - установочная рама;
4 - опорная поверхность;

- наименьшее неопорное
расстояние; D - диаметр контрольного штампа;
CO - ширина в свету
Рисунок 6 - Вид сверху размещения
круглого контрольного штампа на решетках
1 - контрольный штамп; 2 - решетка; 3 - установочная рама;
4 - опорная поверхность;

- наименьшее неопорное
расстояние; CO - ширина в свету; W - ширина контрольного
штампа; L - длина контрольного штампа
Рисунок 7 - Вид сверху на прямоугольный контрольный штамп,
установленный на решетку с ровной опорной поверхностью
1 - контрольный штамп; 2 - решетка; 3 - установочная рама;
4 - опорная поверхность;

- наименьшее неопорное
расстояние; CO - ширина в свету; W - ширина
контрольного штампа; L - длина контрольного штампа
Рисунок 8 - Вид сверху на прямоугольный контрольный штамп,
устанавливаемый на решетку неравномерной
опорной поверхностью
8.3.3.2 Размер контрольного штампа зависит от ширины в свету и наименьшего неопорного расстояния. Он никогда не должен выходить за край решетки. В случае сомнений необходимо применять ближайший меньший соответствующий контрольный штамп.
8.3.3.3 Форма испытательного штампа зависит от формы решетки:
- при круглой и многоугольной форме решетки (например - круглой, треугольной, квадратной) должен быть наложен круглый контрольный штамп в соответствии с шириной в свету согласно
таблице 8;
- для прямоугольных решеток необходимо установить прямоугольный штамп в соответствии с шириной в свету, указанной в
таблице 8;
- для прямоугольной формы контрольных штампов вертикальный радиус угла скругления должен составлять 3 мм;
- при неравномерно опирающихся решетках необходимо установить контрольный штамп, который позволит обеспечить наименьшее неопорное расстояние в соответствии с
таблицей 8.
8.3.3.4 Контрольный штамп должен быть помещен в центральное положение. Неопорное расстояние между контрольным штампом и опорными точками решетки не должно превышать значения, указанные в
таблице 8.
8.3.3.5 Между решеткой или люком и контрольным штампом следует устанавливать прокладку из тонкого слоя гипса, картона, резины или аналогичного материала. Нижние кромки испытательного штампа должны иметь радиус закругления <= 3 мм. При испытании решеток или крышек с неровной поверхностью поверхность контрольного штампа должна быть сформирована таким образом, чтобы она соответствовала форме решетки или люка.
8.3.4 Проведение испытаний
8.3.4.1 Проверка решеток и люков должна проводиться в соответствии с инструкциями производителя по монтажу на решетке либо в соответствующей контрольной рамке, которая должна располагаться на столе пресса заподлицо с его поверхностью. Любые неровности должны быть соответствующим образом компенсированы.
8.3.4.2 Если имеются различные комбинационные возможности комплектующих, следует проверить их в наиболее неблагоприятной комбинации.
8.3.4.3 Перед установкой груза необходимо определить геометрическую середину люка или решетки, а также убедиться, что в этом месте имеется ровная поверхность. Затем в этой точке необходимо провести нулевое измерение с погрешностью измерения +/- 0,1 мм.
8.3.4.4 Для решеток или люков из нековкого чугуна или данного материала в сочетании с бетоном нагрузка должна постоянно увеличиваться с предписанной испытательной нагрузкой и скоростью нагрузки, указанной в
таблице 6. Необходимо убедиться, что нет видимых трещин или поломок.
8.3.4.5 Для решеток или люков из ковкого чугуна, стали, цветных металлов, пластмасс или данных материалов в сочетании с бетоном нагрузка должна постоянно увеличиваться со скоростью нагрузки, указанной в
таблице 6, до 2/3 испытательной нагрузки. Испытательный образец после этого должен разгружаться. Этот процесс выполняется пять раз. Через 1 ч необходимо провести повторное измерение в геометрическом центре люка или решетки.
Затем следует определить остаточную деформацию по разнице этих двух измерений, их диапазон не должен превышать значения, указанные в
таблице 7. Затем нагрузка постоянно увеличивается со скоростью нагрузки и испытательной нагрузкой в соответствии с
таблицей 6 и поддерживается в течение 5 мин. Необходимо убедиться в отсутствии видимых трещин или поломок.
8.3.4.6 Испытания необходимо проводить при температуре окружающей среды (23 +/- 2) °C на трех образцах решеток/люков, каждый из которых должен удовлетворять требованиям к испытанию.
8.4 Механическая прочность
8.4.1 Прижимной фланец для гидроизоляции
8.4.1.1 Прижимной фланец следует устанавливать с корпусом воронки в соответствии с инструкциями производителя. На нижнюю часть прижимного фланца должно быть приложено вертикальное усилие 400 Н, чтобы прижимной фланец работал на отрыв от корпуса воронки.
8.4.1.2 Проверка проводится в трех наиболее неблагоприятных местах, при этом необходимо определить, изменил ли прижимной фланец свое положение.
8.4.2 Кровельные воронки с соединительными фартуками заводского изготовления
8.4.2.1 Из гидроизоляционного соединительного фартука корпуса воронки следует вырезать тестовую полосу шириной 50 мм и подвергнуть ее испытанию на растяжение со скоростью (50 +/- 10) мм/мин.
8.4.2.2 При использовании прижимных фланцев, перед размещением прижимного фланца в зоне прижима необходимо:
- выполнить два разреза на расстоянии 50 мм;
- после позиционирования прижимного фланца оба разреза должны быть продлены до края гидроизоляционного соединительного фартука;
- вырезанную тестовую полосу или весь корпус воронки плотно зажать в нижний зажим испытательной машины так, чтобы можно было зафиксировать тестовую полосу соединительного фартука длиной 100 мм в верхнем зажиме;
- провести тестирование в направлении отслоения под приблизительно прямым углом к верхней части корпуса воронки;
- проверить, происходит ли отслоение при тяговом усилии до 100 Н.
8.5 Пропускная способность
8.5.1 Водосточные трапы без запахозапирающего устройства
8.5.1.1 Проверку следует выполнять в резервуаре с водой согласно
8.5.1.2.
Водосточный трап должен быть установлен таким образом, чтобы он был водонепроницаемым и вода могла стекать только через решетку, как показано на рисунке 9.
1 - прибор измерения расхода воды; 2 - регулировочный
вентиль; 3 - измерительная трубка высоты подпора воды;
4 - вертикальный стояк с DN 100 для выпускного патрубка
до DN 100, для выпускных патрубков больше
DN 100 - вертикальный стояк с номинальным диаметром
выпускного патрубка; 5 - резервуар с водой (круглый
или квадратный); 6 - приточное устройство, препятствующее
вихреобразованию; h - высота подпора
Рисунок 9 - Схема испытания для измерения
пропускной способности водосточных трапов
Значения пропускной способности получают из максимально возможного протока при высоте подпора
h1, и этот проток должен быть постоянным в течение 10 мин, согласно установленным требованиям
7.5.1.
8.5.1.2 Схема испытаний должна соответствовать
рисунку 9.
Водосточный трап необходимо установить горизонтально и в середине резервуара с водой с решеткой/рамкой в горизонтальной плоскости. Подача воды должна осуществляться через приточное устройство, препятствующее вихреобразованию.
Точка измерения высоты подпора может располагаться снаружи резервуара через связующую трубку (измерительную трубку, см. позицию 3 на
рисунке 9) или аналогичную. Для водосточных трапов с нефиксированным или регулируемым надставным элементом следует выбрать самый нижний установочный уровень.
Верхний край установочной рамки или решетки (при отсутствии установочной рамки) должен образовывать нулевую точку для измерения высоты подпора, когда вода начинает поступать в водосточный трап.
Выпускной патрубок водосточного трапа должен быть соединен с трубой длиной 1 м с одинаковым DN, как и выпускной патрубок, который расположен с уклоном (1,5 +/- 0,1)% от горизонтали.
8.5.1.3 При необходимости для подключения к вентилируемому стояку DN 100 должен быть использован отвод (88 +/- 2)°.
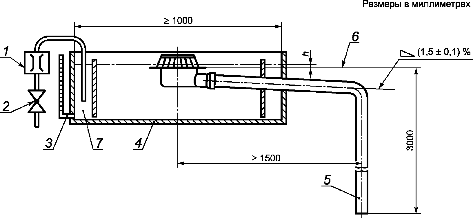
8.5.2 Кровельные воронки для самотечного водостока
а) Кровельная воронка, горизонтальная
б) Кровельная воронка, вертикальная
1 - прибор измерения расхода воды; 2 - регулировочный
вентиль; 3 - измерительная трубка высоты подпора воды;
4 - резервуар с водой (круглый или квадратный);
5 - выпускная труба и вертикальный стояк (невентилируемый)
с одинаковым DN, как и у кровельной воронки; 6 - плоскость
фланца или края кровельной воронки; 7 - приточное
устройство, препятствующее вихреобразованию;
Рисунок 10 - Схема испытания для измерения
пропускной способности кровельных воронок
Кровельная воронка для самотечного водостока должна быть установлена по центру в резервуаре с водой вместе с решеткой/рамкой в горизонтальной плоскости. Подача воды должна осуществляться через приточное устройство, препятствующее вихреобразованию.
Измерительная точка высоты подпора воды должна находиться (500 +/- 5) мм от центра кровельной воронки в двух противоположных местах. Для кровельных воронок с горизонтальным выпускным патрубком и кровельных воронок с вертикальным выпуском присоединительная труба должна направляться горизонтально из резервуара, а затем вертикально вниз.
Кровельная воронка устанавливается вместе с водосточной трубой в соответствии с инструкциями по монтажу производителя.
Выпускной патрубок кровельной воронки должен быть подключен к трубе длиной 1 м с одинаковым DN, как и у выпускного патрубка воронки, который расположен с уклоном (1,5 +/- 0,1)% от горизонтали.
При необходимости для подключения к вентилируемому стояку DN 100 должен быть использован отвод (88 +/- 2)°.
8.5.2.2 Испытания могут проводиться с или без плиты для моделирования поверхности кровли. Если используется модельная плита, то она должна быть предоставлена заявителем на испытания.
При установке в модельную плиту верхний край установочной рамки решетки не должен быть ниже верхнего края модельной плиты. Для кровельных воронок с нефиксируемым или регулируемым надставным элементом необходимо выбрать самый нижний уровень установки.
Нулевая точка для измерения высоты подпора должна быть уровнем, на котором вода начинает течь в кровельную воронку. Таким образом базовая высота подпора измеряется по высоте от нуля.
У аварийных воронок измерение проводится от верхнего края свободного перелива, а высота перелива прибавляется.
Номинальный размер водосточной трубы должен соответствовать номинальному размеру выпускного патрубка кровельной воронки.
Пропускная способность определяется максимально возможным протоком при высоте подпора
h согласно
рисунку 10, которая должна быть постоянной в течение 10 мин в соответствии с требованиями, указанными в
таблице 3.
Кривая пропускной способности определяется следующим образом:
- до 6 л с шагом 1 л/с;
- до 14 л с шагом 2 л/с;
- до 22 л с шагом 3 л/с.
Предельное отклонение высоты подпора может составлять +/- 2 мм.
8.5.3 Парапетные воронки для самотечного водостока
а) Парапетная воронка горизонтальная
б) Парапетная воронка вертикальная
1 - рулонная гидроизоляция; 2 - монтажная линия
в испытательном оборудовании; 3 - вертикальный стояк;
4 - прибор измерения расхода воды; 5 - регулировочный
вентиль; 6 - резервуар с водой (круглый или квадратный);
7 - измерительная трубка высоты подпора воды; 8 - приточное
устройство, препятствующее вихреобразованию;
Рисунок 11 - Схема испытания для измерения
пропускной способности парапетных воронок
Резервуар должен быть круглой или квадратной формы. Его диаметр или длины сторон должны быть не менее 1,00 м.
Подача воды должна осуществляться через приточное устройство, препятствующее вихреобразованию.
Измерительная точка высоты подпора должна находиться (500 +/- 5) мм от центра парапетной воронки в двух противоположных местах.
8.5.3.2 Испытание может проводиться с применением плиты моделирования поверхности кровли или без нее. Если используется модельная плита, то она должна быть предоставлена заявителем на испытание.
При установке в модельную плиту верхний край установочной рамки для решетки не должен быть ниже верхнего края модельной плиты.
Нулевая точка для измерения высоты подпора воды должна быть сформирована по верхнему краю перелива, например по верхнему краю съемного прижимного фланца. Таким образом исходная высота - это общая высота подпора воды, измеренная от верхнего края модельной плиты или съемного прижимного фланца.
Номинальный размер трубы стояка должен соответствовать номинальному размеру выпускного патрубка парапетной воронки.
Пропускная способность определяется максимально возможным протоком воды при высоте подпора
h согласно
рисунку 11, которая должна быть постоянной в течение 10 мин в соответствии с требованиями, указанными в
таблице 3.
Кривая пропускной способности определяется согласно
8.5.2.2.
8.5.4 Кровельные воронки и парапетные воронки для вакуумного водостока
а) Кровельная воронка горизонтальная
б) Кровельная воронка вертикальная
1 - прибор измерения расхода воды; 2 - регулировочный
вентиль; 3 - измерительная трубка высоты подпора воды;
4 - резервуар с водой (круглый или квадратный);
5 - присоединительная труба и стояк (невентилируемый)
с одинаковым DN; 6 - уровень фланца или канты кровельной
воронки; 7 - регулировочный вентиль в стояке (произвольно
установленный); 8 - приточное устройство, препятствующее
вихреобразованию;
h - высота подпора воды (см.
таблицу 4)
Рисунок 12 - Схема испытания для измерения пропускной
способности кровельных воронок вакуумного водостока
Резервуар должен быть круглой или квадратной формы. Его диаметр или длина сторон должны составлять не менее 1,75 м.
Кровельная или парапетная воронка устанавливается по центру в вертикальном положении. Подача воды осуществляется через приточное устройство, препятствующее вихреобразованию. Измерительная точка высоты подпора воды находится на 500 +/- 5 мм от центра кровельной или парапетной воронки в двух противоположных местах.
8.5.4.2 Испытание может проводиться с применением плиты моделирования поверхности кровли или без нее. Если используется модельная плита, то она должна быть предоставлена заявителем на испытание.
При установке в модельную плиту верхний край установочной рамы решетки не должен быть ниже верхнего края модельной плиты.
Нулевая точка для измерения высоты подпора воды должна быть сформирована по верхней кромке перелива, например по верхней кромке съемного прижимного фланца. Исходная высота - это общая высота подпора, измеренная от верхней кромки модельной плиты или прижимного фланца.
Значение пропускной способности в полностью заполняемом состоянии должно быть постоянным в течение периода времени (5+1) мин.
Полная заполняемость считается достигнутой в том случае, если при увеличении высоты давления не ожидается дальнейшего повышения пропускной способности и не наблюдается дальнейшего заметного попадания воздуха в выпускном патрубке или в системе трубопровода.
Для наблюдательных целей требуются стеклянные трубопроводы.
Испытание может проводиться с или без вентиля в конце трубы стояка для определения различных значений пропускной способности и соответствующих высот подпора воды.
Если вентиль не используется, размер стояка должен совпадать с размером выпускного патрубка, а длина трубы стояка должна соответствовать указанной на
рисунке 12, а) или
рисунке 12, б).
При использовании вентиля следует выбирать размер и длину трубы стояка таким образом, чтобы кровельная или парапетная воронка достигала максимальной пропускной способности стока, ожидаемой при полной заполняемости.
Испытание считается пройденным, если значение пропускной способности в соответствии с
таблицей 3 может поддерживаться в течение временного периода 5
+1 мин при максимальной высоте подпора воды 55 мм.
Кривая значений пропускной способности определяется следующим образом:
- до 6 л с шагом 1 л/с;
- до 22 л с шагом 3 л/с.
Предельное отклонение высоты подпора воды должно составлять +/- 2 мм.
8.5.4.3 Коэффициент потери давления кровельной воронки определяют с помощью схемы испытаний согласно
рисунку 13 для кровельной воронки без и с надставным элементом и рассчитывают по уравнению (1) или
уравнению (2)

(1)

если
l1 =
l2, (2)
где

- коэффициент потери давления;
h1 - разница высот между точкой (1) и точкой (2), м;

- плотность воды 1,0 кг/дм
3;
g - ускорение свободного падения, 9,81 м/с2;
p2 - давление, измеренное в точке (2), кПа;
v - скорость потока, м/с;
l1 - разница в высоте между верхним краем кровельной воронки и точки (2), м;
R - потери трения трубы в зависимости от шероховатости внутренней поверхности;
h - высота подпора воды, м;
p3 - давление, измеренное в точке (3), кПа;
l2 - разница высот между точкой (2) и точкой (3), м.
1 - высота подпора воды; 2 - нижняя точка расстояния l1;
3 - нижняя точка расстояния l2; 4 - кровельная поверхность
Рисунок 13 - Схема испытания для определения коэффициента
потери давления
8.6 Морозостойкость и теплостойкость изделия
Кровельную воронку помещают в воду температурой (15 +/- 2) °C на 48 ч. По истечении 48 ч образцы должны быть немедленно подвергнуты воздействию пяти непрерывных циклов замораживания/оттаивания по следующей схеме:
- хранение в морозильной камере не менее 2 ч при (-35 +/- 2) °C;
- размораживание в воде при температуре (15 +/- 2) °C;
- оставление в воде не менее чем 1 ч;
- осмотр образцов на предмет повреждений от холода.
Сразу после этого испытания образцы должны подвергаться воздействию последующих пяти циклов воздействия температуры атмосферного воздуха по следующей схеме:
- хранение в нагревательной камере в течение не менее 2 ч при температуре воздуха не менее (80 +/- 2) °C;
- охлаждение до температуры 30 °C;
- осмотр образцов на предмет повреждений в результате комбинированной нагрузки.
8.7 Стойкость к термоциклированию
Водосточный трап должен быть установлен согласно
рисунку 5. К выпускному патрубку водосточного трапа (выпускной патрубок должен быть постоянно открыт) подключена подходящая труба.
Если имеются различные варианты исполнения одного и того же элемента, следует испытывать их на наиболее неблагоприятную комбинацию.
Водосточный трап заполняют через решетку или, где это невозможно, через боковые проемы:
- (0,5 +/- 0,05) л/с горячей водой (93 +/- 2) °C на (60 +/- 2) с;
- пауза на (60 +/- 2) с;
- (0,5 +/- 0,05) л/с холодной воды (15 +/- 10) °C на (60 +/- 2) с;
- пауза на (60 +/- 2) с.
Этот цикл необходимо повторять 1500 раз (100 ч). Следует установить, что не произошло никаких деформаций или изменений структуры поверхности образцов, которые могут повлиять на пригодность к эксплуатации. Данное испытание не относится к водосточным трапам, изготовленным из металла.
8.8 Устойчивость к воздействию горячего битума или асфальта
8.8.1 Данное испытание не распространяется на кровельные воронки или водосточные трапы из металла.
8.8.2 Кровельная воронка или водосточный трап должен быть установлен в резервуар для испытаний согласно инструкции по монтажу производителя, а выпускной патрубок должен быть закупорен.
8.8.3 Фланец закупоренной кровельной воронки или водосточного трапа следует выровнять по горизонтали и залить маслом, нагретым до (220 +/- 5) °C, таким образом, чтобы фланец был полностью покрыт, и оставить так в течение 5 мин.
8.8.4 Данное испытание следует проводить при температуре окружающей среды от 15 °C до 20 °C.
8.8.5 По результатам испытаний деформации или изменения структуры поверхности испытуемых образцов должны отсутствовать.
8.9 Герметичность соединения кровельных воронок и водосточных трапов
8.9.1 Резервуар для испытаний и вакуумный контейнер для получения отрицательного давления (вакуума) показаны на
рисунке 14. Внутренняя поверхность испытательного контейнера должна быть оснащена гидроизоляционным материалом, как показано на
рисунке 14. Укладка изоляции проводится в соответствии с инструкцией производителя гидроизоляции.
1 - устройство для зажима/прессования элементов 2, 5, 6,
8, 10; 2 - крышка из прозрачного материала (например,
метилметакрилат); 3 - соединительный патрубок для запорного
клапана(ов) для создания давления/отрицательного давления;
4 - соединительный патрубок для устройства измерения
давления; 5 - уплотнение; 6 - внешняя стенка резервуара
для испытаний; 7 - опора, предотвращающая всплытие
испытательного образца при проверке отрицательного давления;
8 - рулонная/мастичная гидроизоляция; 9 - прижимной фланец;
10 - датчик влажности; 11 - монтажная плита; 12 - закрытый
патрубок испытательного образца; 13 - корпус воронки
или трапа; 14 - уровень воды
Рисунок 14 - Вакуумный контейнер (пример)
8.9.2 Кровельная воронка (или водосточный трап) должна быть установлена в резервуар для испытаний согласно инструкциям производителя, при этом выпускной патрубок должен быть закупорен.
8.9.3 Если кровельная воронка или водосточный трап предназначен для различных толщин поверхностных покрытий или типов гидроизоляции, необходимо проводить испытания с наибольшей и наименьшей толщиной.
8.9.4 Для систем с двумя уровнями гидроизоляции и соединительными фланцами с идентичным исполнением необходимо проверять только одно из двух исполнений.
8.9.5 Раму, состоящую из четырех боковых стенок испытательного контейнера, необходимо установить на монтажную плиту таким образом, чтобы установить герметичное соединение с монтажной плитой. Полученный таким образом резервуар следует наполнить холодной водой до уровня воды 100 мм выше высоты запахозапирающего устройства.
8.9.6 Чтобы избежать вертикального движения (всплывания) образца, может потребоваться установка опоры, которая опирается о крышку испытательного контейнера (см.
рисунок 14).
8.9.7 После того, как испытательный контейнер герметично закрыт прозрачной крышкой, в нем должно быть создано давление минус 10 кПа для водосточных трапов, а также для балконных воронок с мастичной гидроизоляцией, и минус 20 кПа для кровельных воронок.
8.9.8 В течение 10+1 мин необходимо наблюдать за ходом испытания на предмет образования пузырьков, при этом необходимо поддерживать давление минус 10 кПа для водосточных трапов, а также для балконных воронок с мастичной гидроизоляцией и минус 20 кПа для кровельных воронок.
Если после 10+1 мин не было обнаружено никаких видимых пузырьков, вакуум должен быть прерван.
Через 24 ч при атмосферном давлении проверить кровельную воронку или водосточный трап внизу и внутри испытательного контейнера на герметичность. При отсутствии протечек кровельная воронка или водосточный трап считается водонепроницаемым (герметичным).
9 Последовательность и порядок испытаний
9.1 Последовательность и порядок проведения испытаний кровельных воронок и водосточных трапов указаны в
приложении А.
10 Маркировка, комплектность
10.1 Маркировка кровельных воронок и водосточных трапов, их комплектующих должна быть отчетливой и долговечной. Маркировка может быть нанесена отливкой, клеймением, гравировкой, штампованием, чеканкой или этикетированием (в том числе нанесением штрих-кода).
10.2 Маркировка изделий должна содержать данные, указанные в таблице 9.
Таблица 9
Места нанесения маркировки на кровельных воронках
и водосточных трапах
| Корпус | Сетка | Комплектующие | Упаковка/Руководство по монтажу |
Требования настоящего стандарта | + | | | + |
Наименование и/или товарный знак предприятия-изготовителя | + | - | - | + |
Дата изготовления | - | - | | - |
Класс нагрузки | - | | - | + |
DN (OD или ID) | | - | - | + |
<2> Освобождаются от маркировки классы H и K. <3> Разрешается дополнительная маркировка. Маркировка должна быть по возможности видна после установки кровельной воронки или водосточного трапа. |
10.3 Если маркировка может отрицательно сказаться на производстве и/или работоспособности изделия, то маркировка должна быть нанесена на упаковку.
10.4 Кровельные воронки и водосточные трапы должны сопровождаться паспортом на продукцию. Форма паспорта на продукцию приведена в
приложении Б.
11.1.1 Изделия, изготовленные в соответствии с требованиями настоящего стандарта, подвергаются процессу оценки соответствия следующим образом:
- проверка типа;
- собственный контроль производства.
11.1.2 Рекомендуется проводить контроль сторонней независимой организацией. Проведение стороннего контроля выполняется в соответствии с
приложением В.
11.2.1 Должны быть предоставлены в распоряжение полные чертежи продукции.
11.2.2 Три испытательных образца из производства должны быть проверены в соответствии с настоящим стандартом, и при этом все образцы должны отвечать всем соответствующим требованиям.
11.2.3 Эта процедура применяется даже в том случае, если позднее была изменена конструкция или заменен материал.
11.2.4 Все последующие изменения, будь то в отношении конструктива или другого, должны при необходимости быть одобрены органом сертификации.
11.3 Собственный заводской контроль производства
11.3.1 Целью собственного заводского контроля производства является обеспечение соответствия кровельных воронок и водосточных трапов техническим требованиям настоящего стандарта.
11.3.2 Производственная лаборатория должна быть оснащена измерительными и испытательными устройствами согласно требованиям настоящего стандарта.
11.3.3 Собственный заводской контроль производства проводится в соответствии с таблицей 10.
Таблица 10
Собственный заводской контроль производства для кровельных
воронок и водосточных трапов без запахозапирающего
устройства на соблюдение требований настоящего стандарта
Объекты контроля | Требования настоящего стандарта, пункт, раздел | Метод контроля | Периодичность контроля |
Внешнее качество | | Визуальный контроль | В начале производства, каждую партию |
Размеры | | Измерения | В начале производства, каждую партию |
| Измерения | В начале производства |
Материалы | | Сертификат соответствия производителя | Каждую поставку |
Соединительный фартук воронки | | | Выборочный контроль в серийном производстве |
Маркировка | | Визуальный контроль | Выборочный контроль в серийном производстве |
Классификация по нагрузке | | | Каждую партию <*> |
<*> Размер партии и количество образцов зависят от типа изделия, материала и производственного процесса. |
11.3.4 Документация заводского контроля должна содержать информацию обо всех этапах производства - от поступления сырья до конечного изделия.
11.3.5 Собственный заводской контроль производства должен быть организован в соответствии с
ГОСТ Р ИСО 9001.
11.3.6 Предприятие-изготовитель должно разработать и обеспечить план качества, в котором установлены контроль производства и контроль конечного изделия.
11.3.7 План качества должен включать в себя тип и частоту проверок, перечень оформляемой документации.
11.3.8 Собственный производственный контроль должен соответствовать требованиям
таблицы 10.
11.3.9 Предприятие-изготовитель должно обеспечить:
- контроль регистрации записей заводского контроля;
- обработку данных о дефектах;
- обработку претензий клиентов;
- калибровку и контроль измерительного и испытательного оборудования.
12 Транспортирование и хранение
12.1 Кровельные воронки и водосточные трапы следует перевозить крытыми транспортными средствами любого вида согласно правилам перевозки грузов, действующим на каждом виде транспорта.
12.2 Условия транспортирования и хранения кровельных воронок и водосточных трапов в части воздействия климатических факторов должны соответствовать условиям хранения 2 (С) по
ГОСТ 15150.
12.3 В районы Крайнего Севера и труднодоступные районы кровельные воронки и водосточные трапы следует поставлять в соответствии с требованиями
ГОСТ 15846.
12.4 Кровельные воронки и водосточные трапы необходимо хранить в неотапливаемых складских помещениях в условиях, исключающих вероятность механических повреждений, или в отапливаемых складах не ближе 1 м от отопительных приборов с соблюдением мер защиты от воздействия прямых солнечных лучей.
13 Указания по монтажу и эксплуатации
13.1 Монтаж кровельных воронок и водосточных необходимо осуществлять в соответствии с инструкцией по монтажу и эксплуатации предприятия-изготовителя.
13.2 При эксплуатации кровельных воронок и водосточных трапов требуется, как минимум два раза в год, особенно в весенний и осенний период, а также каждый раз после обильных осадков и бури проводить проверку на комплектность и целостность, а также проводить очистку и промывку изделий.
14.1 Предприятие-изготовитель гарантирует соответствие кровельных воронок и водосточных трапов требованиям настоящего стандарта при соблюдении условий транспортирования, хранения и эксплуатации изделий.
14.2 Гарантийный срок эксплуатации - два года со дня ввода кровельных воронок и водосточных трапов в эксплуатацию или реализации через торговую сеть в пределах гарантийного срока хранения.
14.3 Гарантийный срок хранения - три года со дня изготовления кровельных воронок и водосточных трапов.
(обязательное)
ПОРЯДОК ПРОВЕДЕНИЯ ИСПЫТАНИЙ
Испытания необходимо проводить в установленном порядке и по одному и тому же испытываемому образцу.
Водосточные трапы:
Кровельные воронки:
Трапы для присоединения напольных покрытий, рулонной или мастичной гидроизоляции:
Надставные элементы:
Если последовательность прерывается, проверку необходимо начинать с самого начала.
(обязательное)
ФОРМА ПАСПОРТА НА ПРОДУКЦИЮ
А.1 Паспорт на продукцию должен состоять из титульного листа и общего раздела.
А.2 Форма титульного листа
Логотип изготовителя | Сведения об изготовителе (название фирмы-изготовителя, контактные данные фирмы-изготовителя) |
|
Наименование продукта согласно требованиям нормативного документа на продукцию |
|
Нормативный документ на продукцию |
|
Артикул |
|
Название документа (паспорт на продукцию) |
А.3 Форма общего раздела
1 Основные сведения об изделии: Наименование Артикул Наименование изготовителя Адрес изготовителя |
|
2 Назначение и область применения продукции |
|
3 Общий вид и основные размеры изделия |
Изображение изделия | Технический чертеж изделия |
|
4 Техническое описание, конструктивное исполнение, материалы, свойства и характеристики изделия |
|
5 Данные пропускной способности |
|
6 Комплектность изделия |
|
7 Дополнительные комплектующие к изделию, не включенные в комплект поставки |
|
8 Монтаж/установка изделия |
|
9 Эксплуатация и техническое обслуживание |
|
10 Гарантийные обязательства |
|
11 Упаковка, транспортировка и хранение |
(справочное)
КОНТРОЛЬ ТРЕТЬЕЙ СТОРОНОЙ
В.1 Общие положения
Целью контроля третьей стороной является проведение независимой оценки предприятия-изготовителя и его продукции на соответствие требованиям настоящего стандарта.
В.2 Процедура стороннего контроля
Сторонний контроль включает:
- подтверждение проверки типа;
- общую оценку производственного и испытательного оборудования;
- контроль системы и результатов собственного заводского контроля производства;
- независимый аудит готовой продукции согласно таблице В.1.
Таблица В.1
Сторонний контроль для кровельных воронок
и водосточных трапов без запахозапирающего устройства
согласно требованиям настоящего стандарта
Объекты контроля | Требования, пункт, раздел | Метод контроля | Количество тестируемых образцов при каждой инспекции |
Внешнее качество | | Визуальный контроль | Минимум 2 образца различных номинальных размеров (DN) из трех различных типов <*> кровельных воронок и водосточных трапов без запахозапирающих устройств |
Размеры | | Измерения |
| Измерения |
Материалы | | Наличие сертификата соответствия изготовителя |
Соединительный фартук воронки | | |
Маркировка | | Визуальный контроль |
Классификация по нагрузке | | |
<*> Кровельные воронки и водосточные трапы без запахозапирающего устройства относятся к одному типу, если они имеют одинаковый внешний вид и одинаковые конструктивные характеристики, состоят из одного и того же материала. |
Инспекции стороннего контроля проводятся регулярно два раза в год.
Контроль может быть сокращен до одного раза в год после двух лет без каких-либо жалоб, предполагая, что независимый орган сертификации гарантирует, что система менеджмента качества производителя является адекватной, контроль проводился непрерывно надлежащим и эффективным образом и что результаты соответствуют требованиям настоящего стандарта. Такое сокращение частоты контроля действует до тех пор, пока не будут обнаружены дефектные изделия.
В.3 Отчет независимого аудиторского органа
Результаты независимой аудиторской инспекции отражаются в письменном отчете. Изготовитель подписывает данный отчет. В случае отсутствия согласия между аудитором и изготовителем в отношении содержания отчета изготовитель подписывает отчет и отмечает в нем свои замечания.
Отчет должен содержать следующие пункты:
а) марка и/или обозначение изготовителя;
б) название и местонахождение производства;
в) название и номер настоящего стандарта;
г) описание и номера артикулов тестируемой продукции;
д) результаты проверки, в отношении:
- персонала;
- производственного и испытательного оборудования;
- соответствия продукции;
- собственного заводского контроля производства;
- контроля регистраций;
- контроля, обращения и выбраковки дефектной продукции;
- калибровки и контроля измерительного инструмента;
- обработки рекламаций дефектной продукции;
е) подпись представителя изготовителя, место и дата;
ж) подпись аудитора.
В течение четырех недель после инспекции независимый контрольный орган должен отправить официальный отчет изготовителю.
В.4 Повторная проверка
Если во время стороннего контроля будет обнаружен один дефектный узел, то должны быть проверены три других узла того же типа. В случае отказа одного из этих трех устройств, производство, связанное с ошибкой, будет исключено из выпуска продукции до тех пор, пока не будет получен результат дальнейших исследований.
В течение четырех недель или в согласованный с изготовителем срок необходимо провести повторную проверку на предмет отклоненной дефектной продукции, проверив шесть узлов.
В случае удовлетворительных результатов повторной проверки выпуск продукции может быть возобновлен.
В.5 Брак
Если во время производственного контроля завода будут обнаружены дефектные изделия, то контроль качества производителя должен остановить выпуск продукции.
Все дефектные изделия нужно хранить отдельно и исключить из продажи. В наличии должны быть инструкции по обращению, хранению и маркировке данных изделий.
Только после анализа и соответствующего устранения неисправностей, а также после окончательной проверки лицо, ответственное за контроль качества производителя, решает вопрос о возобновлении производства.
УДК 691.15:006.35 | | NEQ |
Ключевые слова: воронки, водосточные трапы, водосток внутренний, водосток внешний, строительство |