Главная // Актуальные документы // ГОСТ Р (Государственный стандарт)СПРАВКА
Источник публикации
М.: ФГБУ "РСТ", 2022
Примечание к документу
Документ
введен в действие с 01.10.2022.
Название документа
"ГОСТ Р МЭК 61084-1-2022. Национальный стандарт Российской Федерации. Системы кабельных и специальных кабельных коробов для электрических установок. Часть 1. Общие требования"
(утв. и введен в действие Приказом Росстандарта от 08.09.2022 N 898-ст)
"ГОСТ Р МЭК 61084-1-2022. Национальный стандарт Российской Федерации. Системы кабельных и специальных кабельных коробов для электрических установок. Часть 1. Общие требования"
(утв. и введен в действие Приказом Росстандарта от 08.09.2022 N 898-ст)
Утвержден и введен в действие
Приказом Федерального
агентства по техническому
регулированию и метрологии
от 8 сентября 2022 г. N 898-ст
НАЦИОНАЛЬНЫЙ СТАНДАРТ РОССИЙСКОЙ ФЕДЕРАЦИИ
СИСТЕМЫ КАБЕЛЬНЫХ И СПЕЦИАЛЬНЫХ КАБЕЛЬНЫХ КОРОБОВ
ДЛЯ ЭЛЕКТРИЧЕСКИХ УСТАНОВОК
ЧАСТЬ 1
ОБЩИЕ ТРЕБОВАНИЯ
Cable trunking systems and cable ducting systems
for electrical installations. Part 1. General requirements
(IEC 61084-1:2017, IDT)
ГОСТ Р МЭК 61084-1-2022
Дата введения
1 октября 2022 года
1 ПОДГОТОВЛЕН Обществом с ограниченной ответственностью "Ассоциация РЭМ" (ООО "Ассоциация РЭМ") на основе собственного перевода на русский язык англоязычной версии стандарта, указанного в
пункте 4
2 ВНЕСЕН Техническим комитетом по стандартизации ТК 337 "Электроустановки зданий"
3 УТВЕРЖДЕН И ВВЕДЕН В ДЕЙСТВИЕ Приказом Федерального агентства по техническому регулированию и метрологии от 8 сентября 2022 г. N 898-ст
4 Настоящий стандарт идентичен международному стандарту МЭК 61084-1:2017 "Системы кабельных и специальных кабельных коробов для электрических установок. Часть 1. Общие требования" (IEC 61084-1:2017 "Cable trunking systems and cable ducting systems for electrical installations - Part 1: General requirements", IDT).
Международный стандарт МЭК 61084-1:2017 подготовлен подкомитетом 23А "Кабелепроводы" Технического комитета ТК 23 "Электрооборудование" Международной электротехнической комиссии (МЭК).
При применении настоящего стандарта рекомендуется использовать вместо ссылочных международных стандартов соответствующие им национальные и межгосударственные стандарты, сведения о которых приведены в дополнительном
приложении ДА
Правила применения настоящего стандарта установлены в статье 26 Федерального закона от 29 июня 2015 г. N 162-ФЗ "О стандартизации в Российской Федерации". Информация об изменениях к настоящему стандарту публикуется в ежегодном (по состоянию на 1 января текущего года) информационном указателе "Национальные стандарты", а официальный текст изменений и поправок - в ежемесячном информационном указателе "Национальные стандарты". В случае пересмотра (замены) или отмены настоящего стандарта соответствующее уведомление будет опубликовано в ближайшем выпуске ежемесячного информационного указателя "Национальные стандарты". Соответствующая информация, уведомление и тексты размещаются также в информационной системе общего пользования - на официальном сайте Федерального агентства по техническому регулированию и метрологии в сети Интернет (www.rst.gov.ru)
Настоящий стандарт представляет собой прямое применение IEC 61084-1:2017.
Настоящая часть комплекса стандартов IEC 61084 не предназначена для отдельного использования.
Стандарт содержит требования и определяет испытания систем кабельных коробов (СКК) и систем специальных кабельных коробов (ССКК), предназначенных для прокладки и, при необходимости, для электрозащитного разделения изолированных проводников, кабелей и (или) другого электрического оборудования в установках электрических систем и (или) систем связи.
В настоящем стандарте использованы следующие шрифтовые выделения:
- текст требований - светлый;
- методы испытаний - курсив;
- термины - полужирный.
Настоящий стандарт устанавливает требования и определяет испытания систем кабельных коробов (СКК) и систем специальных кабельных коробов (ССКК), предназначенных для прокладки и, при необходимости, для электрозащитного разделения изолированных проводников, кабелей и (или) другого электрического оборудования в установках электрических систем и (или) систем связи. Максимальное напряжение этих установок составляет 1000 В переменного тока и 1500 В постоянного тока.
Требования настоящего стандарта не распространяются на трубы, кабельные лотки или кабельные лестницы и на токоведущие части, прокладываемые внутри систем кабельных и специальных кабельных коробов.
Примечание - Настоящая часть комплекса стандартов IEC 61084 не предназначена для отдельного использования.
В настоящем стандарте использованы нормативные ссылки на следующие стандарты [для датированных ссылок применяют только указанное издание ссылочного стандарта, для недатированных - последнее издание (включая все изменения)]:
IEC 60417
<*>, Graphical symbols for use on equipment (Графические символы для использования на оборудовании)
--------------------------------
<*> Отменен. Действует IEC 60417-DB-12M:2002.
IEC 60423:2007, Conduit systems for cable management - Outside diameters of conduits for electrical installations and threads for conduits and fittings (Системы кабелепроводов для прокладки кабелей. Наружные диаметры кабелепроводов для электрических установок и резьбовые соединения для трубопроводов и фитингов)
IEC 60529:1989, Degrees of protection provided by enclosures (IP Code) [Степени защиты, обеспечиваемые корпусами (код IP)]
IEC 60529:1989/AMD1:1999
IEC 60529:1989/AMD2:2013
IEC 60695-2-11:2014
<**>, Fire hazard testing - Part 2-11: Glowing/hot-wire based test methods - Glow-wire flammability test method for end-products (GWEPT) (Испытания на пожароопасность. Часть 2-11. Методы испытаний раскаленной/горячей проволокой. Метод испытания конечной продукции на воспламеняемость под действием раскаленной проволоки)
--------------------------------
<**> Заменен на IEC 60695-2-11:2021. Однако для однозначного соблюдения требования настоящего стандарта, выраженного в датированной ссылке, рекомендуется использовать только указанное в этой ссылке издание.
IEC 60695-11-2:2013
<*>, Fire hazard testing - Part 11-2: Test flames - 1 kW pre-mixed flame - Apparatus, confirmatory test arrangement and guidance (Испытания на пожароопасность. Часть 11-2. Испытательное пламя. Пламя предварительно подготовленной смеси мощностью 1 кВ. Аппаратура, руководство и порядок испытания на подтверждение соответствия)
--------------------------------
<*> Заменен на IEC 60695-11-2:2017. Однако для однозначного соблюдения требования настоящего стандарта, выраженного в датированной ссылке, рекомендуется использовать только указанное в этой ссылке издание.
IEC 61032:1997, Protection of persons and equipment by enclosures - Probes for verification (Защита людей и оборудования кожухами. Щупы испытательные)
ISO 2768-1:1989, General tolerances - Part 1. Tolerances for linear and angular dimensions without individual tolerance indications (Общие допуски. Часть 1. Допуски линейных и угловых размеров без индивидуально указанных допусков)
В настоящем стандарте применены следующие термины с соответствующими определениями. ИСО и МЭК поддерживают терминологическую базу данных, используемую в целях стандартизации по следующим адресам:
- электропедия МЭК: доступна на http://www.electropedia.org/;
- интернет-платформа ISO для просмотра: доступна на http://www.iso.org/obp.
3.1 система кабельных коробов; СКК (cable trunking system, CTS): Система замкнутых оболочек, состоящих из корпуса со съемной или открывающейся крышкой, предназначенная для прокладки внутри нее изолированных проводов, кабелей и шнуров и/или для размещения другого электрооборудования.
3.2 система специальных кабельных коробов; ССКК (cable ducting system, CDS): Система коробов прямоугольного сечения, не имеющих съемных или открывающихся крышек, предназначенная для прокладки внутри нее изолированных проводов и кабелей и обеспечивающая возможность затяжки в короба проводов и кабелей и их замены.
3.3 компоненты системы (system components): Составные части, входящие в систему:
a) прямые секции;
b) фасонные секции, например переходные, тройниковые, крестообразные, угловые, присоединительные, заглушки;
c) устройства крепления;
d) детали для установки аппаратов;
e) другие вспомогательные детали.
Примечание 1 - В систему необязательно должны входить все перечисленные компоненты. Допускается использовать их различные комбинации.
3.4 прямая секция кабельного короба (trunking length): Основной компонент системы кабельных коробов, состоящий из основания (корпуса) со съемной или открывающейся крышкой.
3.5 прямая секция специального короба (ducting length): Основной компонент системы специальных кабельных коробов, имеющий замкнутое прямоугольное поперечное сечение.
3.6 фасонная секция (fitting): Компонент системы, предназначенный для соединения, изменения направления или оконцевания прямых секций.
3.7 устройство крепления (fixing device): Компонент системы, предназначенный для крепления других компонентов к стене, потолку или полу.
3.8 деталь для установки аппаратов (apparatus mounting device): Компонент системы, применяемый для установки электрических аппаратов и электроустановочных изделий (выключателей, автоматических выключателей, электрических и телефонных розеток и др.) на прямых секциях коробов или специальных коробов.
3.9 вспомогательная деталь (system accessory): Компонент системы, применяемый для выполнения дополнительных функций, например разделения, крепления, вывода кабелей и т.п.
3.10 металлический компонент (metal component): Компонент, выполненный из металла.
3.11 неметаллический компонент системы (non-metallic system component): Компонент системы, состоящий из неметаллических материалов.
3.12 композитный компонент (composite component): Компонент, содержащий как проводящие, так и изоляционные материалы (пластик и металл или проводящий пластик).
3.13 компонент, не распространяющий горение (nonflame propagating component): Компонент, который может загореться под воздействием пламени и который не распространяет горение.
3.14 внешнее воздействие (external influence): Наличие воды, масла, строительных материалов, высокой или низкой температуры, коррозионных или загрязняющих веществ, солнечной радиации и механических факторов.
3.15 кабельный ввод (grommet): Компонент системы или неотъемлемая часть корпуса для поддержки и защиты кабеля, для ввода труб и кабеля в корпуса распаечных коробок и коробов.
Примечание 1 - Он также может выполнять другие функции, такие как заземление, уравнивание потенциалов, изоляция, защита кабеля, снятие напряжения или комбинация этих функций.
3.16 часть под напряжением (live part): Проводник или проводящая часть, предназначенная для того, чтобы быть подключенной к источнику питания при нормальной работе, включая нейтральный проводник, но условно не являющаяся PEN-проводником, PEM-проводником или PEL-проводником.
[МЭК 60050-826:2004, 826-12-08, с изменениями - примечание удалено]
3.17 кабельный анкер (cable anchorage): Вспомогательная деталь системы или часть другого компонента системы, обеспечивающая снятие напряжения с проводников в зажимах и концевых заделках посредством оказания сопротивления усилию вытягивания и скручивания на кабеле.
3.18 фиксатор кабеля (cable retainer): Система аксессуаров, которая служит для удержания изолированных проводников или кабелей в целях предотвращения их от падения во время доступа в короб в момент, когда крышка открыта или удалена.
3.19 крепление кабеля (cable retainer): Вспомогательная деталь системы для удержания изолированных проводников или кабелей для предотвращения их выпадения при открытии или при снятии крышки.
3.20 изолирующая втулка (grommet): Компонент или составная часть оболочки для поддержки и защиты кабеля, трубы, кабельного или специального кабельного короба в точке входа.
Примечание 1 - Она также может предотвратить попадание влаги или загрязнений (см.
рисунок 7).
3.21 входная мембрана (entry membrane): Компонент или составная часть оболочки для защиты кабеля, которая может использоваться для поддержки кабеля, трубы, кабельного или специального кабельного короба в точке входа.
Примечание 1 - Она также может предотвратить попадание влаги или загрязнений. Входная мембрана может быть частью изолирующей втулки (см.
рисунок 7).
3.22
защитная мембрана (protecting membrane): Компонент или неотъемлемая часть корпуса, для ограничения проникновения при нормальном использовании, в целях обеспечения защиты от проникновения воды или твердых предметов и/или чтобы обеспечить работу в качестве аксессуара (см.
рисунок 7).
3.23 прокладка (gasket): Дополнительная деталь или материал, или составная часть, размещенная между смежными поверхностями оболочки, которая при сжатии обеспечивает достижение заявленной пылевлагозащиты.
3.24 реакция на огонь (reaction to fire): Реакция на огонь коробов и специальных коробов в виде своего собственного разложения, которому они подвергаются при определенных условиях.
3.25 огнестойкость (fire resistance): Способность коробов и специальных коробов, выполнять в указанный период времени стабильность, и/или целостность, и/или тепловую изоляцию, и/или иную требуемую характеристику в условиях воздействия стандартного пожара.
Примечание 1 - Огнестойкий (прилагательное) относится только к этой характеристике.
3.26 плинтусная СКК/ССКК (skirting CTS/CDS): Плинтусная система кабельных или специальных кабельных коробов, предназначенная для монтажа в нижней части стены.
3.27 сухая обработка пола (dry-treatment of floor): Процесс очистки пола и/или ухода за ними, осуществляемый без жидкостей или с минимальным количеством жидкости.
Примечание 1 - Требуемые вещества наносятся и распределяются в таких количествах, чтобы не образовывались лужи и не происходило намокание напольного покрытия.
Пример 1 - Примерами сухой обработки являются: подметание щеткой или щеткой для ковров, чистка пылесосом, чистка щеткой, чистка порошком для химической чистки, обработка сухим шампунем, влажная обработка ковров шампунем, обработка подстилкой (жидкое химическое чистящее средство на твердый материал, используемый в качестве носителя, например, пропитанные опилки, влажная ткань и т.д.).
3.28 влажная обработка пола (wet-treatment of floor): Процесс очистки и/или ухода, при котором пол обрабатывается жидкими средствами, предотвращающими образование луж жидкости, или пропитка напольного покрытия в течение короткого периода времени.
Пример 1 - Примерами влажной обработки являются: влажная очистка, ручная или механическая очистка.
3.29 экран; проводящий экран (screen, conductive screen): Проводящая часть, которая окружает или разделяет электрические цепи и/или проводники.
[МЭК 60050-195:1998, 195-02-38]
3.30 защитный экран; электрозащитный экран (protective screen, electrically protective screen): Проводящий экран, используемый для отделения электрической цепи и/или проводников от частей, находящихся под опасным напряжением.
[МЭК 60050-195:1998, 195-06-17]
3.31 защитное экранирование; электрозащитное экранирование (protective screening, electrically protective screening): Отделение электрических цепей или проводников от опасных частей, находящихся под напряжением, с помощью электрозащитного экрана, подключенного к системе защитного уравнивания потенциалов и предназначенного для обеспечения защиты от поражения электрическим током.
[МЭК 60050-195:1998, 195-06-18]
3.32 защитное разделение; электрически защитное разделение (protective separation, electrically protective separation): Разделение одной электрической цепи от другой посредством:
- двойной изоляции, или
- основной изоляции и электрозащитного экрана, или
- усиленной изоляции.
[МЭК 60050-195:1998, 195-06-19]
3.33 перегородка; сборная перегородка (partition, partition of an assembly): Часть сборки, отделяющая один отсек от других отсеков.
[МЭК 60050-441:1984, 441-13-06]
3.34 внутренняя защитная перегородка (internal protective partition): Перегородка, которая при использовании в сочетании с основной изоляцией обеспечивает электрически защитное разделение между отсеками коробов.
Конструкция и технические характеристики системы кабельных и специальных кабельных коробов при необходимости должны обеспечивать надежную механическую защиту находящихся в них проводов и кабелей, а также соответствующую защиту людей от поражения электрическим током.
Кроме того, компоненты системы должны выдерживать нагрузки, которые могут возникнуть при минимальной температуре в процессе хранения и транспортирования, монтажа и эксплуатации (см.
таблицы 1 и
2) и при максимальной температуре в процессе эксплуатации (см.
таблицу 3), а также при рекомендуемой практике монтажа и эксплуатации.
Оборудование, связанное с компонентом системы или включенное в систему, но не являющееся ее компонентом, должно обеспечивать соответствие только применимому стандарту на такое оборудование, при наличии. Тем не менее, может потребоваться включить оборудование системы в испытательный комплект с целью тестирования его взаимодействия с СКК.
Соответствие требованиям проверяют путем проведения всех указанных испытаний.
5 Общие требования к испытаниям
5.1 Испытания в соответствии с настоящим стандартом называются типовыми испытаниями.
5.2 Образцы компонентов системы далее называются образцами.
5.3 Если не указано иное, испытания проводят с учетом заявленной классификации и функций системы; при этом СКК/ССКК собирают и устанавливают как для нормальной эксплуатации в соответствии с инструкциями изготовителя.
Испытания неметаллических компонентов системы или композитных компонентов системы должны начинаться не ранее чем через 168 ч после изготовления. В течение этого времени образцы могут подвергаться выдерживанию в соответствии с
10.3.1.1, при необходимости.
5.4 Если не указано иное, испытания проводят при температуре окружающей среды (20 +/- 5) °C.
5.5 Образцы прямых секций кабельного или специального кабельного короба для данного испытания отбирают из различных прямых секций кабельного или специального кабельного короба.
5.6 Если не указано иное, испытания проводят на новых образцах.
5.7 При наличии токсичных или опасных технологических процессов необходимо принимать меры предосторожности для обеспечения безопасности испытательного персонала.
5.8 Если не указано иное, испытания проводят на трех образцах, и требования считают выполненными, если результаты всех испытаний признаются удовлетворительными.
Если результат испытания хотя бы одного из образцов не удовлетворяет требованиям из-за дефекта сборки или изготовления, то это испытание и предшествующее испытание, которое могло повлиять на результаты испытания, должны быть проведены повторно; при этом последующие испытания следует проводить в требуемой последовательности на другом полном наборе образцов, каждый из которых должен соответствовать требованиям.
Примечание - Заявитель при предоставлении комплекта образцов может также предоставить дополнительный комплект образцов, который может быть использован в случае неуспешного испытания какого-либо из образцов. Затем испытательная станция без дальнейших запросов должна провести испытания дополнительного комплекта образцов и зарегистрировать неуспешные результаты испытаний только в случае повторного несоответствия требованиям.
Если дополнительный комплект образцов не предоставлен, испытания считают неуспешными при неудовлетворительных результатах одного образца.
6.1 По материалу
Классификация отсутствует.
6.2 По механическим свойствам
6.2.1 СКК/ССКК, выдерживающая удар энергией 0,5 Дж
6.2.2 СКК/ССКК, выдерживающая удар энергией 0,7 Дж
6.2.3 СКК/ССКК, выдерживающая удар энергией 1 Дж
6.2.4 СКК/ССКК, выдерживающая удар энергией 2 Дж
6.2.5 СКК/ССКК, выдерживающая удар энергией 5 Дж
6.2.6 СКК/ССКК, выдерживающая удар энергией 10 Дж
6.2.7 СКК/ССКК, выдерживающая удар энергией 20 Дж
6.3 По значениям температуры, приведенным в таблицах 1, 2 и 3
Таблица 1
Минимальная температура хранения и транспортирования
Минимальная температура хранения и транспортирования, °C |
-45 |
-25 |
-15 |
-5 |
Таблица 2
Минимальная температура монтажа и эксплуатации
Минимальная температура монтажа и эксплуатации, °C |
-25 |
-15 |
-5 |
+5 |
+15 |
Таблица 3
Максимальная температура эксплуатации
Максимальная температура эксплуатации, °C |
+60 |
+90 |
+105 |
+120 |
Примечание - Приведенные в
таблицах 2 и
3 значения температуры являются рабочими. Значения температуры окружающей среды приведены в таблице 51A МЭК 60364-5-51.
6.4 По сопротивлению распространению горения
6.4.1 СКК/ССКК, распространяющие горение
6.4.2 СКК/ССКК, не распространяющие горение
6.5 По электрическим характеристикам
6.5.1 СКК/ССКК, обеспечивающие непрерывность электрической цепи
6.5.2 СКК/ССКК, не обеспечивающие непрерывность электрической цепи
6.6 По электроизоляционным характеристикам
6.6.1 СКК/ССКК, не имеющие изолирующих свойств
6.6.2 СКК/ССКК с наличием изолирующих свойств
Примечание - Электроизоляционные характеристики обеспечивают дополнительную изоляцию при использовании с изолированными проводниками и другими частями под напряжением, если такие имеются, снабженными основной изоляцией.
6.7 По степени защиты, обеспечиваемой оболочкой согласно МЭК 60529:1989
6.7.1 Защита от проникновения твердых предметов
Запрещено заявлять степень защиты IP4X или более высокую степень защиты, если она зависит от стыкового соединения или точности резки прямых секций кабельных, или специальных кабельных коробов, или крышек для доступа без предоставления соответствующих фасонных секций, или средств сборки, или дополнительных заводских готовых средств уплотнения.
6.7.2 По степени защиты от попадания воды
Запрещено заявлять степень защиты IPX1 или более высокую степень защиты, если она зависит от стыкового соединения или точности резки прямых секций кабельных, или специальных кабельных коробов, или крышек для доступа без предоставления соответствующих фасонных секций, или средств сборки, или дополнительных заводских готовых средств уплотнения.
6.7.3 По защите от доступа к опасным частям
Запрещено заявлять степень защиты IPXX-D, если она зависит от стыкового соединения или точности резки прямых секций кабельных, или специальных кабельных коробов, или крышек для доступа без предоставления соответствующих фасонных секций, или средств сборки, или дополнительных заводских готовых средств уплотнения.
6.8 По защите от агрессивных или загрязняющих веществ
Классификация находится в разработке.
6.9 По фиксации крышки на системе
6.9.1 СКК/ССКК с крышкой, которую возможно открыть без использования инструмента
6.9.2 СКК/ССКК с крышкой, которую возможно открыть только с использованием инструмента
7 Маркировка и документация
7.1 Маркировка каждой прямой и фасонной секции должна включать:
- наименование предприятия-изготовителя или ответственного торгового представителя, торговую марку или другой идентификационный символ, обозначение настоящего стандарта и/или номер ТУ, по которым изготовлена секция;
- идентификационный знак изделия, например, каталожный номер, символ и т.п.
Если компоненты системы, отличные от прямых секций кабельного или специального кабельного короба, поставляются в упаковке и из-за малого размера изделия невозможно обеспечить разборчивость обеих маркировок:
- если возможно обеспечить только одну разборчивую маркировку, достаточно отметить идентификационный знак изделия на самой маленькой из поставляемых упаковок, при этом на изделии должно быть указано наименование, торговая марка или идентификационный знак изготовителя или ответственного поставщика;
- если невозможно обеспечить разборчивую маркировку, следует разместить обе маркировки на самой маленькой из поставляемых упаковок.
Зажимы для защитного заземления должны иметь маркировку в соответствии с
7.4. Данную маркировку не следует наносить на винты или другую легко снимаемую деталь.
Компонент системы, не обеспечивающий защиту от распространения горения, должен быть четко идентифицирован на компоненте системы и на самой маленькой поставляемой упаковке или этикетке.
Если из-за малого размера изделия невозможно использовать данное средство идентификации на небольших компонентах системы, следует поместить это средство идентификации на самую маленькую поставляемую упаковку.
Соответствие требованиям проверяют посредством осмотра одного образца.
7.2 Маркировка должна быть долговечной и легкочитаемой.
Соответствие маркировки проверяют путем ее осмотра и трения вручную. Маркировка, выполненная методом печати или в виде этикеток, должна выдерживать в течение 15 с трение вручную куском ткани, смоченным водой, а затем в течение следующих 15 с - куском ткани, смоченным 95%-ным раствором н-гексана (уайт-спиритом).
Примечание 1 - 95%-ный раствор н-гексана (регистрационный номер службы химических рефератов, CAS RN, 110-54-3) можно приобрести у различных поставщиков химических веществ в качестве растворителя для жидкостной хроматографии высокого давления (ВЭЖХ).
В качестве альтернативы можно использовать следующий растворитель: "Уайт-спирит" - растворитель с содержанием ароматизаторов не более 0,1% объема, каури-бутаноловым числом, равным 29, начальной точкой кипения приблизительно 65 °C, точкой испарения приблизительно 69 °C и удельным весом приблизительно 0,68 г/см3.
При использовании указанной для испытания жидкости для обеспечения безопасности лаборантов должны быть приняты меры предосторожности, указанные в соответствующем паспорте безопасности материала, предоставляемом поставщиком химического вещества.
Лазерная маркировка непосредственно на изделии и маркировка, выполненная формованием, прессованием или гравировкой, не подлежат этому испытанию.
Изделия, соответствующие требованиям предыдущей редакции настоящего стандарта, не требуют повторных испытаний, поскольку это требование не влияет на безопасность продукта.
Поверхность маркировки, подлежащая испытанию, должна быть высушена перед протиранием маркировки 95%-ным раствором н-гексана.
Трение необходимо начинать непосредственно после пропитывания хлопчатобумажной ткани, прилагая усилие нажатия (5 +/- 1) Н со скоростью примерно один цикл в секунду (цикл включает движение вперед и назад по длине маркировки). Для маркировки длиной более 20 мм поверхность трения может быть ограничена частью маркировки длиной не менее 20 мм.
Усилие сжатия прикладывают с помощью испытательного поршня в соответствии с
рисунком 10. Поршень оборачивают ватным тампоном, состоящим из ваты, покрытой куском хлопчатобумажной медицинской марли.
Испытательный поршень должен быть изготовлен из эластичного материала, инертного по отношению к испытательным жидкостям и имеющего твердость по Шору A 47 +/- 5 (например, синтетический каучук).
При невозможности проведения испытаний на образцах из-за формы или размера изделия, для испытания может быть представлен подходящий образец, имеющий характеристики, аналогичные характеристикам изделия.
Испытания проводят на одном образце. Если образец не удовлетворяет требованиям испытания, испытание проводят повторно на двух новых образцах, которые должны соответствовать требованиям.
После испытания маркировка должна оставаться разборчивой.
Примечание 2 - Маркировка может быть нанесена, например, посредством формования, прессования, гравировки, печати, нанесения клейких этикеток или холодного трансфера.
7.3 Изготовитель должен предоставить в документации всю информацию, необходимую для правильного и безопасного монтажа и эксплуатации. Эта информация должна включать:
- перечень компонентов системы;
- функции компонентов системы и их сборок;
- информацию о классификации системы в соответствии с
разделом 6;
- информацию о линейном сопротивлении прямой секции кабельного или специального кабельного короба, заявленном в соответствии с
6.5.1, Ом/м;
- информацию о номинальном напряжении систем кабельных или специальных кабельных коробов, заявленном в соответствии с
6.6.2;
- информацию о полезной площади поперечного сечения для кабелей систем кабельных или специальных кабельных коробов, мм2.
Примечание - Некоторые компоненты системы при монтаже могут уменьшать полезную площадь поперечного сечения кабелей;
- инструкции по достижению заявленной степени защиты и функций системы. Эти инструкции должны включать рекомендуемое расположение установки для систем кабельных или специальных кабельных коробов, позволяющее обеспечить сохранение заявленной степени защиты IP после монтажа.
Соответствие требованиям проверяют посредством осмотра.
7.4 Символы, указанные в МЭК 60417, должны соответствовать требованиям данного стандарта.
Примеры:
Ампер | А |
Вольт | В |
Частота | Гц |
Переменный ток |  или AC |
Фаза | L или L1, L2, L3 и т.д., если имеется более одной фазы |
Нейтраль | N |
Защитное заземление | | МЭК 60417-5019 (2006-08) |
Плавкий предохранитель |  МЭК 60417-5016 (2002-10) |
Степень защиты | IPXX (см. МЭК 60529) |
Не обеспечивает защиту от распространения горения | | МЭК 60417-6180 (2013-01) |
Для обозначения номинального тока и номинального напряжения могут использоваться только цифры. Эти цифры могут быть размещены на одной линии и разделены наклонной линией, или цифры номинального тока могут быть размещены над цифрами номинального напряжения и разделены горизонтальной линией.
Маркировку, указывающую характер источника электропитания, следует располагать рядом с маркировкой номинального тока и номинального напряжения.
Маркировка тока, напряжения и характера источника электропитания может выглядеть, например, следующим образом:
16 А 440 В ~ или 16/440 ~ или

Габаритные размеры должны соответствовать требованиям применимой части МЭК 61084-2.
Любая поверхность или кромка не должны повреждать изолированные проводники или кабели.
Соответствие требованиям проверяют посредством осмотра; при необходимости образцы разрезают на части.
Винты, шпильки или другие предусмотренные крепежные приспособления должны быть установлены таким образом, чтобы не повреждать изолированные провода или кабели.
Соответствие проверяют путем осмотра с разборкой образцов, при необходимости.
9.2 Установка аппаратов
Если система кабельных или специальных кабельных коробов оснащена деталями для установки аппаратов, то эти детали должны соответствующим образом фиксировать такие аппараты. Соответствие требованиям проверяют испытанием по
10.5.
9.3 Средства для защитного разделения и/или удержания
Если система кабельных или специальных кабельных коробов оснащена деталями для защитного разделения и/или удержания, то эти детали должны обладать достаточными механическими характеристиками для выполнения своих функций.
Соответствие требованиям проверяют испытанием по
10.2.
9.4 Механические соединения
9.4.1 Винтовые соединения и другие механические соединения должны выдерживать механические нагрузки при монтаже и нормальной эксплуатации.
Винты должны:
a) иметь метрическую резьбу по стандарту ИСО, или
b) быть резьбоформирующими, или
c) быть резьбонарезающими (при обеспечении надлежащих конструктивных условий), или
d) иметь резьбу, отличную от
a) -
c), в соответствии с указаниями изготовителя.
Механические соединения СКК, используемые для прокладки изолированных проводов или кабелей или размещения аппаратов, должны быть предназначены для многократного использования.
Соответствие требованиям проверяют испытаниями, предусмотренными в
9.4.2 -
9.4.4 соответственно.
9.4.2 Винты, предназначенные для многократного использования, запрещено затягивать резкими или порывистыми движениями.
Для испытания винт необходимо затянуть и выкрутить:
- 10 раз для металлических винтов, находящихся в зацеплении с резьбой из неметаллического материала, и для винтов из неметаллического материала или
- пять раз во всех остальных случаях.
Испытание проводят с помощью соответствующей отвертки или гаечного ключа для приложения крутящего момента, указанного изготовителем. Если изготовитель не указывает крутящий момент, применяют значения, приведенные в
таблице 4.
Таблица 4
Значения крутящего момента для испытания
резьбовых соединений
Номинальный диаметр резьбы, мм | Крутящий момент, Н·м |
| | |
До 2,8 включ. | 0,2 | 0,4 | 0,4 |
От 2,8 до 3,0 " | 0,25 | 0,5 | 0,5 |
" 3,0 до 3,2 " | 0,3 | 0,6 | 0,6 |
" 3,2 до 3,6 " | 0,4 | 0,8 | 0,8 |
" 3,6 до 4,1 " | 0,7 | 1,2 | 1,2 |
" 4,1 до 4,7 " | 0,8 | 1,8 | 1,8 |
" 4,7 до 5,3 " | 0,8 | 2,0 | 2,0 |
" 5,3 до 6,0 " | 1,2 | 2,5 | 3,0 |
" 6,0 до 8,0 " | 2,5 | 3,5 | 6,0 |
Св. 8,0 | 3,0 | 4,0 | 10,0 |
Примечание - Графу I применяют к винтам, которые не могут быть затянуты с помощью отвертки с плоским шлицем, ширина которых превышает диаметр винта. Графу II применяют к другим винтам, которые затягиваются с помощью отвертки. Графу III применяют к винтам и гайкам, которые затягиваются с помощью средств, отличных от отвертки. |
После испытания на резьбовом соединении не должно быть каких-либо повреждений, которые могут ухудшить его дальнейшую эксплуатацию.
9.4.3 Механические соединения, предназначенные для многократного использования, кроме резьбовых соединений, необходимо установить и снять 10 раз.
После испытания на механическом соединении не должно быть каких-либо повреждений, которые могли бы ухудшить его дальнейшую эксплуатацию.
9.4.4 Механические соединения, не предназначенные для многократного использования, проверяют посредством осмотра.
9.5 Доступные токопроводящие части
9.5.1 Доступные токопроводящие части систем кабельных или специальных кабельных коробов должны соответствовать требованиям
9.5.2, кроме случаев, когда они соответствуют требованиям
9.5.3.
9.5.2 Для доступных токопроводящих частей систем кабельных или специальных кабельных коробов, установленных в соответствии с инструкциями изготовителя, которые могут оказаться под напряжением в случае нарушения изоляции, должно быть предусмотрено надежное соединение с землей.
Если приняты меры предосторожности для предотвращения уменьшения расстояния утечки и зазоров до значения менее 3 мм, даже при отсоединении проводника от зажима, не считается, что доступная токопроводящая часть может оказаться под напряжением.
Защита от поражения электрическим током в случае замыкания не требуется для доступных проводящих частей, которые вследствие их уменьшенных размеров (примерно до 50 x 50 мм) или их расположения не доступны для захвата или значительного контакта с частью человеческого тела, и при условии, что соединение с защитным проводником затруднено или ненадежно.
Примечание - Данное требование относится, например, к болтам, заклепкам, паспортным табличкам и кабельным клипсам.
Соответствие требованиям проверяют осмотром, измерением и, при необходимости, соответствующим испытанием, предусмотренным в
11.1.3 или
11.2. Перед испытанием образцы подлежат приведению в заданное состояние согласно требованиям
11.1.2,
11.2.2 соответственно.
9.5.3 Доступные токопроводящие части не требуют соединения с землей, если они изолированы от токоведущих частей дополнительными или усиленными изолирующими конструкциями, используемыми для создания барьеров или изолирующих экранов, которые должны быть спроектированы таким образом, чтобы:
- их невозможно было удалить без полного разрушения, или
- при замене их невозможно было установить в неправильное положение, или
- при их отсутствии система считалась не подлежащей эксплуатации или очевидно неполной.
Соответствие требованиям проверяют посредством осмотра.
Примечание - Для конкретных применений уравнивание потенциалов между этими частями или соединение этих частей с заземляющим проводником допускается использовать для функциональных целей, таких как обеспечение ЭМС.
9.6 Уравнивание потенциалов
9.6.1 Изготовитель должен указывать возможность использования СКК/ССКК для уравнивания потенциалов.
9.6.2 Если уравнивание потенциалов предусмотрено, то соответствие требованиям проверяют посредством испытаний, указанных в
11.1.3. Перед испытанием образец подлежит приведению в заданное состояние согласно требованиям
11.1.2.
9.7 Доступ к частям под напряжением
9.7.1 Система кабельных или специальных кабельных коробов СКК/ССКК должна быть сконструирована таким образом, чтобы при ее монтаже и установке аппаратов и/или другим электрическим оборудованием, как при нормальной эксплуатации, токоведущие части были недоступны.
Соответствие требованиям проверяют осмотром и, при необходимости, испытаниями, приведенными в
9.7.2 -
9.7.4, на образце, смонтированном и оснащенном аппаратурой и/или другим электрооборудованием, как при нормальной эксплуатации.
Испытания проводят после удаления всех частей, которые можно снять без инструментов.
9.7.2 Испытательный щуп B, соответствующий требованиям МЭК 61032:1997, применяют во всех возможных положениях, при этом для индикации контакта с соответствующей частью используют индикатор электрического напряжения с диапазоном не менее 40 В и не более 50 В.
9.7.3 Неметаллические компоненты системы и композитные компоненты системы подлежат следующему дополнительному испытанию, которое проводят при температуре, заявленной в соответствии с
таблицей 3, с допустимым отклонением +/- 2 °C.
Образец подвергают воздействию силы 50 Н, приложенной через наконечник испытательного щупа 11, соответствующего требованиям МЭК 61032:1997, в течение 1 мин.
Этот испытательный щуп 11 с индикатором электрического напряжения, как описано в
9.7.2, следует применять во всех местах, где деформация изоляционного материала может ухудшить безопасность системы; измерения на заглушках выбивных отверстий, мембранах и т.д. не требуются.
В ходе этого испытания компоненты системы и связанные с ними устройства крепления не должны деформироваться до такой степени, чтобы допускать возможность контакта токоведущих частей с испытательным щупом 11.
9.7.4 Заглушки выбивных отверстий подвергают воздействию силы 10 Н, приложенной через наконечник испытательного щупа 11, соответствующего требованиям МЭК 61032:1997, в течение 1 мин.
В процессе испытания заглушки выбивных отверстий не должны сломаться.
9.8 Входные отверстия
Входные отверстия, при наличии, должны обеспечивать возможность ввода труб и/или аналогичных устройств или защитной оболочки кабеля по меньшей мере на 1 мм в компонент системы для поддержания механической защиты.
Входные отверстия для труб должны быть способны принимать трубы размером в соответствии с МЭК 60423:2007.
Соответствие требованиям проверяют осмотром и измерением.
9.9.1 Мембраны и аналогичные устройства, препятствующие доступу к токоведущим частям, должны выдерживать механические нагрузки, возникающие при нормальной эксплуатации.
Изготовитель должен указывать размеры кабелей, которые могут быть установлены во входных мембранах.
Соответствие требованиям проверяют посредством испытания, описанного в
9.9.2.
9.9.2 Испытания мембран проводят в собранном в системе виде. Образец помещают на 2 ч в нагревательный шкаф при поддержании температуры на уровне, заявленном в соответствии с
таблицей 3, с допустимым отклонением +/- 2 °C. Непосредственно после этого времени в течение 5 с к различным областям мембраны прикладывают усилие 30 Н через наконечник испытательного щупа 11, соответствующего требованиям МЭК 61032:1997. Для мембран, которые могут подвергаться осевому тянущему усилию при нормальной эксплуатации, осевое тянущее усилие 30 Н должно прилагаться в течение 5 с.
Во время этого испытания мембраны не должны деформироваться до такой степени, чтобы допускать доступ к токоведущим частям, и мембраны не должны отсоединяться.
9.9.3 Входные мембраны должны обеспечивать возможность ввода кабелей в систему при минимальной температуре монтажа, заявленной в соответствии с
таблицей 2.
Соответствие требованиям проверяют испытанием по
9.9.4.
9.9.4 Компонент системы должен быть оснащен входными мембранами, которые не подвергались какому-либо выдерживанию; мембраны, не имеющие отверстий, которые были бы соответствующим образом проколоты.
Затем образец выдерживают в течение 2 ч в холодильнике при температуре, указанной в
таблице 2, с допустимым отклонением +/- 2 °C.
По истечении этого периода образец извлекают из холодильника, и непосредственно после этого, пока образец еще холодный, кабели с наибольшим заявленным наружным размером должны без чрезмерного усилия вводиться через входные мембраны.
9.9.5 После проведения испытаний, указанных в
9.9.2 и
9.9.4, мембраны не должны иметь трещин или аналогичных повреждений, которые могут ухудшить безопасность, видимых нормальным или скорректированным зрением без увеличения.
9.10 Фиксатор кабеля
Фиксаторы кабеля, при наличии, предназначены для снятия напряжения с проводников в зажимах или концевых заделках, обеспечивая сопротивление усилию вытягивания кабеля или изолированных проводников.
В инструкциях изготовителя должно быть четко указано, каким образом предполагается снятие напряжения.
Фиксатор кабеля:
- должен подходить для различных типов кабелей, а также для различных типов и количества изолированных проводников в соответствии с инструкциями изготовителя;
- должен быть таким, чтобы по крайней мере часть его была составной частью компонента системы или была стационарно закреплена на нем;
- не должен использовать самодельный или временный метод фиксации, такой как завязывание кабеля или изолированного проводника в узел или связывание концов бечевкой;
- не должен нарушать электрическую безопасность.
Соответствие требованиям проверяют осмотром и следующим испытанием.
Для фиксатора кабеля используют кабель наименьшего наружного размера или изолированные проводники наименьшего наружного размера, для которого он предназначен. Винты, при наличии, затягивают с моментом, указанным изготовителем. В случае, если изготовитель не указывает крутящий момент, применяют значения, приведенные в
таблице 4.
К кабелю или каждому изолированному проводнику прилагают осевое тянущее усилие (20 +/- 1) Н в течение (60 +/- 5) с.
Затем испытание проводят повторно с фиксатором кабеля с кабелем наибольшего наружного размера или изолированными проводниками наибольшего наружного размера, для которых он предназначен.
После каждого испытания:
- продольное смещение кабеля или какого-либо изолированного проводника в фиксаторе не должно превышать 2 мм и
- электрическая безопасность не должна быть нарушена.
9.11 Кабельный анкер
Кабельный анкер, при наличии, предназначен для снятия напряжения с проводников в зажимах или концевых заделках, обеспечивая сопротивление усилию вытягивания и скручивания на кабеле.
В инструкциях изготовителя должно быть четко указано, каким образом предполагается снятие напряжения.
Кабельный анкер:
- должен подходить для различных типов кабелей в соответствии с инструкциями изготовителя;
- должен быть таким, чтобы по крайней мере часть его была составной частью компонента системы или была стационарно закреплена на нем;
- не должен использовать самодельный или временный метод фиксации, такой как завязывание кабеля в узел или связывание концов бечевкой;
- не должен нарушать электрическую безопасность.
Соответствие требованиям проверяют посредством осмотра и следующего испытания.
Эффективность кабельного анкера проверяют с помощью устройства, показанного на
рисунках 8 и
9.
Для кабельного анкера используют кабель наименьшего наружного размера, для которого он предназначен. Винты, при наличии, затягивают с моментом, указанным изготовителем. В случае, если изготовитель не указывает крутящий момент, применяют значения, приведенные в
таблице 4.
Затем кабель подвергают тянущему усилию 50 раз в течение 1 с, как указано в
таблице 5, и непосредственно после этого на кабель воздействуют крутящим моментом не менее соответствующего значения, указанного в
таблице 5, в течение (15 +/- 1) с, приложенного как можно ближе к вводу кабеля.
Таблица 5
Усилия и крутящие моменты, прилагаемые к кабельному анкеру
Минимальный наружный размер кабеля, мм | Усилие, Н | Крутящий момент, Н·м |
До 5 включ. | 40 +/- 2 | 0,05 |
До 8 включ. | 50 +/- 2 | 0,10 |
До 11 включ. | 60 +/- 2 | 0,15 |
До 16 включ. | 80 +/- 2 | 0,35 |
Св. 16 | 100 +/- 2 | 0,42 |
Затем испытание повторяют с помощью кабельного анкера с кабелем наибольшего наружного размера, для которого он предназначен.
После каждого испытания:
- продольное смещение кабеля в кабельном анкере не должно превышать 2 мм, и
- кабель не должен проворачиваться в кабельном анкере более чем на 2 оборота, и
- электрическая безопасность не должна быть нарушена.
10.1 Механическая прочность
Системы кабельных и специальных кабельных коробов СКК/ССКК должны иметь соответствующую механическую прочность.
Соответствие проверяют испытаниями по 10.2 - 10.5.
10.2 Испытание на удержание кабеля
Испытание описано в соответствующей части МЭК 61084-2.
10.3 Испытание на воздействие ударов
10.3.1 Испытание на воздействие ударов для хранения и транспортирования
10.3.1.1 Испытание проводят на образцах прямых секций кабельных и специальных кабельных коробов длиной (250 +/- 5) мм.
Перед испытанием неметаллические компоненты системы и композитные компоненты системы непрерывно выдерживают при температуре, указанной в
таблице 3, с допустимым отклонением +/- 2 °C в течение 168 ч без перерыва.
10.3.1.2 Испытательное устройство состоит в основном из ударного элемента, который свободно падает из положения покоя вертикально вниз с высоты на промежуточную часть, размещенную на образце, удерживаемом в горизонтальной плоскости.
Также обеспечивают следующие условия:
- падение ударного элемента происходит вдоль направляющей, например, трубы, с незначительным торможением;
- направляющая не опирается на образец;
- масса ударного элемента составляет 0,5+0,005 кг, а высота падения составляет (100 +/- 1) мм;
- промежуточная часть выполнена в форме стального цилиндра диаметром 20 мм. Его нижняя поверхность имеет радиус изгиба 300 мм, а его масса составляет (100 +/- 5) г.
Примечание - Пример испытательного устройства приведен на
рисунке 2.
Образцы помещают в холодильник при температуре, заявленной в соответствии с
таблицей 1, с допустимым отклонением +/- 2 °C.
10.3.1.3 Через 2 ч образцы по очереди извлекают из холодильника и незамедлительно помещают в испытательное устройство.
Через (12 +/- 2) с после удаления образца из холодильника ударный элемент сбрасывают таким образом, чтобы воздействие прилагалось максимально перпендикулярно области, которая, как ожидается, будет самой слабой доступной областью. Соответствие результатов воздействия, приложенного ранее 10 с, также обеспечивает соответствие условиям данного испытания стандарта.
Это испытание не применяется к заглушкам выбивных отверстий, мембранам и т.д., а также требует отступа 50 мм от каждого края.
10.3.1.4 После испытания образцы не должны иметь признаков разрушения, а также трещин или аналогичных повреждений, которые могут ухудшить безопасность, видимых нормальным или скорректированным зрением без увеличения.
Примечание - Трещины в перегородках, которые не могут повлиять на электробезопасность или нормальную эксплуатацию, игнорируют. Электробезопасность может быть нарушена, если при ударе о перегородку образуется острый край, который может повредить изолированные проводники или кабели (см.
9.1).
10.3.2 Испытание на воздействие ударов для монтажа и эксплуатации
Испытание проводят в соответствии с сопротивлением воздействию ударов, заявленным в соответствии с
таблицей 6, при температуре, заявленной в соответствии с
таблицей 2, с допустимым отклонением +/- 2 °C.
Таблица 6
Значения испытаний на воздействие ударов
Классификация стойкости к ударам | Эквивалентная масса, кг | Высота падения +/- 1%, мм |
Энергия удара 0,5 Дж | 0,25 | 200 |
Энергия удара 0,7 Дж | 0,25 | 280 |
Энергия удара 1 Дж | 0,25 | 400 |
Энергия удара 2 Дж | 0,50 | 400 |
Энергия удара 5 Дж | 1,70 | 300 |
Энергия удара 10 Дж | 5,00 | 200 |
Энергия удара 20 Дж | 5,00 | 400 |
Испытание описано в МЭК 61084-2.
Кроме того, изготовитель может указать код степени ударопрочности СКК/ССКК IK в соответствии с МЭК 62262 и
приложением B к настоящему стандарту.
10.4 Испытание на продольный прогиб
Испытание описано в соответствующей части МЭК 61084-2.
10.5 Испытание на стойкость к внешним механическим воздействиям
10.5.1 Испытание крепления для установки штепсельных розеток
Деталь для установки аппаратов устанавливают на образце соответствующего компонента системы по центру его длины, если в инструкциях изготовителя не указано иное. Если компонент системы представляет собой прямую секцию кабельного или специального кабельного короба, длина образца составляет (250 +/- 5) мм или на (100 +/- 5) мм длиннее детали для установки аппаратов, в зависимости от того, какое из значений больше.
Примечание - При необходимости могут быть добавлены другие компоненты системы, чтобы предотвратить перемещение детали для установки аппаратов. Эти компоненты системы, при их наличии, являются компонентами системы, используемыми для оконцевания прямой секции кабельного или специального кабельного короба. При отсутствии таких компонентов системы используют компоненты, выбранные изготовителем.
Если результаты испытаний зависят от температуры, то испытания проводят при температуре (60 +/- 2) °C.
К креплению аппарата детали для установки аппаратов в течение 1 мин поочередно прикладывают тянущее усилие и усилие нажатия, в 1,5 раза превышающее максимальное усилие извлечения штекера, в наиболее неблагоприятном положении и направлении в пределах угла от 45° до 90° от лицевой поверхности.
Максимальное усилие извлечения штекера приведено в соответствующем национальном стандарте. При отсутствии соответствующего стандарта используют максимальное усилие извлечения 50 Н.
После испытания электробезопасность не должна быть нарушена. В случае сомнений на сборке должно быть проведено испытание, предусмотренное в
14.1.4, для проверки соблюдения заявленной степени защиты от доступа к опасным частям. Заявленная степень защиты от доступа к опасным частям представлена либо дополнительной литерой, непосредственно заявленной изготовителем в соответствии с
6.7.3, при наличии, либо степенью защиты от доступа к опасным частям, косвенно заявленной изготовителем в соответствии с
6.7.1.
Непосредственно после этого испытания деталь для установки аппаратов подвергают воздействию крутящего момента (3,0 +/- 0,2) Н·м по часовой стрелке и против часовой стрелки. Продолжительность испытания составляет 1 мин в каждом направлении.
Во время испытания деталь для установки аппаратов не должна поворачиваться более чем на 15° по отношению к своему первоначальному положению, и после испытания электробезопасность не должна быть нарушена.
10.5.2 Испытание крепления для установки аппаратов, отличающихся от штепсельных розеток
Для других аппаратов проводят только испытание на тянущее усилие и усилие нажатия в соответствии с испытанием, приведенным в
10.5.1, с усилием (50 +/- 2) Н.
10.6 Испытание крепления крышки
Крышка доступа к компонентам системы, классифицированная в соответствии с
6.9.2, не должна открываться без инструмента.
Соответствие требованиям проверяют проведением следующего испытания.
Перед испытанием неметаллические компоненты системы и композитные компоненты системы непрерывно выдерживают при температуре, указанной в
таблице 3, с допустимым отклонением +/- 2 °C в течение (168 +/- 4) ч.
Испытание проводят на сборке, изготовленной из одной или нескольких прямых секций кабельного или специального короба с соответствующим компонентом системы, при наличии, для проверки выполнения различных функций системы и подготовленной в соответствии с инструкциями изготовителя. Для определения выполнения различных функций системы может потребоваться более одной сборки. В каждом направлении длина L прямой секции кабельного или специального короба, выходящего из функциональной области, связанной с функцией системы, равна ширине W прямой секции кабельного или специального короба, или 250 мм, в зависимости от того, какая из этих величин больше. Допуск L составляет +/- 25 мм.
Образцы монтируют на жесткой гладкой опоре, такой как фанерная плита толщиной 16 мм, с минимальным расстоянием 50 мм между сборкой и краем опоры.
При необходимости могут быть добавлены другие компоненты системы для предотвращения перемещений. Эти компоненты системы, при наличии, являются компонентами системы, используемыми для оконцевания прямой секции кабельного или специального кабельного короба. При отсутствии такого системного компонента используют системный компонент, выбранный изготовителем.
Прилагают достаточные усилия для открывания крышки вручную, без использования какого-либо инструмента. Соответствующие достаточные усилия предназначены для имитации возможных действий и инстинктивного обращения.
После испытания крышка не должна отделяться от прямой секции и оставаться зафиксированной.
11 Электрические свойства
11.1 Испытания непрерывности электрических цепей
11.1.1 Основные положения
Система кабельных или специальных коробов, заявленная в соответствии с
6.5.1, должна иметь достаточную проводимость.
Примечание 1 - Система кабельных или специальных коробов, спроектированная таким образом, чтобы обеспечивать соблюдение требований МЭК 60364-5-54:2011, может использоваться в качестве устройства уравнения потенциалов и/или защитного проводника.
Примечание 2 - Специальные требования к использованию системы кабельных или специальных коробов в качестве защитного проводника находятся в разработке.
Соответствие требованиям проверяют посредством испытаний, описанных в
11.1.3, проводимых после приведения в заданное состояние согласно требованиям
11.1.2 на образцах системы с минимальной длиной 1 м по средней линии, состоящей из одной или двух прямых секций кабельного или специального кабельного короба с соответствующим компонентом системы, при наличии.
В тех случаях, когда электрические соединения включают резьбовые соединения, резьбовые соединения затягивают путем приложения момента затяжки, указанного изготовителем. В случае, если изготовитель не указывает момент затяжки, применяют момент затяжки величиной
2/
3 от значений, приведенных в
таблице 4.
11.1.2 Подготовка и приведение в заданное состояние
Всю смазку удаляют с деталей, подлежащих испытанию, путем очистки уайт-спиритом с каури-бутанольным числом 35 +/- 5. Затем образцы погружают на 10 мин в 10%-ный водный раствор хлорида аммония при температуре (20 +/- 5) °C. Без сушки, но после стряхивания всех капель образцы помещают на 10 мин в камеру с насыщенным влагой воздухом при температуре (20 +/- 5) °C.
Затем образцы просушивают в течение 10 мин в камере тепла при температуре (100 +/- 5) °C и оставляют при комнатной температуре на 24 ч.
11.1.3 Испытания электрического сопротивления
11.1.3.1 Основные положения
Ток от источника переменного тока, имеющего напряжение без нагрузки, не превышающее 12 В и равное (25 +/- 1) А при номинальной частоте 50 Гц, пропускают через четыре образца системы в соответствии с
11.1.3.2 -
11.1.3.5, и измеряют падение напряжения.
11.1.3.2 Сопротивление образца на единицу длины
Испытание проводят на одном или нескольких из следующих образцов в соответствии с заявленными изготовителем данными:
- прямой секции специального кабельного короба;
- основания прямой секции кабельного короба;
- крышки прямой секции специального короба;
- прямой секции кабельного короба.
Падение напряжения

измеряют между двумя удобными точками, как показано на
рисунке 6 a). Сопротивление образца
Z1, Ом/м, рассчитывают по следующей формуле:
где I - ток;
d1 - расстояние между двумя точками измерения;
Z1 не должно превышать заявленное значение.
11.1.3.3 Сопротивление стыкового соединения
Испытание проводят на следующих образцах:
- две прямые секции кабельного или специального кабельного короба в сборе;
- прямая секция кабельного или специального кабельного короба в сборе с другим компонентом системы.
Падение напряжения

измеряют, как показано на
рисунке 6 b), между двумя удобными точками, каждая из которых находится на одной стороне стыкового соединения и находится на расстоянии не менее 50 мм от области соединения. Сопротивление образца
Z2, Ом, рассчитывают по следующей формуле:
где
Z1 - сопротивление соответствующей прямой секции кабельного или специального кабельного короба, рассчитанное в соответствии с
11.1.3.2;
Z2 не должно быть более 50 мОм.
11.1.3.4 Сопротивление между основанием прямой секции кабельного короба и крышкой
Если изготовитель заявляет, что система обеспечивает надлежащую непрерывность электрической цепи между основанием и крышкой для хорошего заземления, то на одном из следующих образцов проводят следующее испытание:
- одна крышка, имеющая длину, равную наименьшей длине крышки, разрешенной инструкцией изготовителя, установленной на основании такой же длины, как крышка, но не менее 100 мм;
- компонент системы.
Падение напряжения

измеряют, как показано на
рисунке 6 c), между обеими сторонами соединения. Сопротивление образца
Z3, Ом, рассчитывают по следующей формуле:
Z3 не должно быть более 50 мОм.
11.1.3.5 Сопротивление соединения зажима заземления или концевой заделки
Испытание проводят на компонентах системы, оснащенных или предназначенных для оснащения зажимом заземления или концевой заделкой.
Падение напряжения

измеряют, как показано на
рисунке 6 d), между зажимом заземления или концевой заделкой и точкой, удаленной на расстояние
d3 от 10 до 20 мм от края зажима заземления или концевой заделки вдоль линии тока. Сопротивление образца
Z4, Ом, рассчитывают по следующей формуле:
Z4 не должно быть более 50 мОм.
11.2 Электрическая изоляция
11.2.1 Сплошная изоляция
Компоненты системы, составляющие часть оболочки СКК/ССКК, заявленной в соответствии с
6.6.2, должны выдерживать возможное электрическое напряжение.
Внутренние защитные перегородки, заявленные изготовителем как обеспечивающие дополнительную изоляцию, должны выдерживать возможное электрическое напряжение.
Соответствие требованиям проверяют проведением испытаний, описанных в
11.2.3 и
11.2.4, с использованием того же образца после приведения в заданное состояние и подготовки согласно требованиям
11.2.2.
Для прямых секций кабельного или специального кабельного короба длина образцов составляет (250 +/- 5) мм. Другие компоненты системы испытывают в состоянии поставки. Если изготовитель заявляет, что внутренние защитные перегородки обеспечивают дополнительную изоляцию, сплошную изоляцию проверяют таким же образом, как и компоненты системы, входящие в состав оболочки.
11.2.2 Приведение в заданное состояние и подготовка
Комплект образцов подвергают воздействию влаги в испытательной камере, в которой установлена относительная влажность воздуха от 91% до 95% при любом подходящем значении температуры t от 20 °C до 30 °C с точностью +/- 1 °C.
Перед помещением в камеру влажности температуру образцов доводят до значения от t до t + 4 °C, что может быть достигнуто путем выдерживания их при этой температуре не менее 4 ч перед воздействием влаги.
В камере влажности образцы выдерживают в течение 48 ч.
Сразу после того как образцы вынут из камеры влажности, на них наносят проводящую фольгу в качестве электродов с наружной и с внутренней стороны, чтобы обеспечить площадь перекрытия на менее 2500 мм2. Если обеспечить площадь перекрытия 2500 мм2 практически невозможно, используют максимально возможную площадь перекрытия.
Примечание - Листы фольги могут быть меньше образца и должны перемещаться одновременно для проверки различных участков образца. Повторение испытания на участках образца, имеющих одинаковые характеристики, не требуется.
Фольгу вдавливают в углы и аналогичные углубления с максимальным усилием 10 Н, чтобы обеспечить хороший контакт с поверхностью, используя испытательный щуп 11, соответствующий требованиям МЭК 61032:1997; при необходимости образец разрезают.
Соблюдают расстояние не менее 2 мм от краев и отверстий для предотвращения короткого замыкания между электродами по воздуху или по поверхности образца.
11.2.3 Испытание сопротивления изоляции
Сопротивление изоляции измеряют путем подачи между электродами постоянного напряжения (500 +/- 25) В. Измерение проводят через 60+10 с после подачи напряжения. Сопротивление изоляции должно быть не менее 100 МОм.
11.2.4 Испытание на электрическую прочность
Непосредственно после испытания, описанного в
11.2.3, между электродами подают напряжение (2
Un + 1000) В, где
Un - номинальное напряжение, синусоидальной формы, имеющее номинальную частоту 50 Гц.
Первоначально подают не более половины напряжения, и это напряжение повышается до испытательного напряжения как можно быстрее без переходного перенапряжения. Напряжение поддерживается в течение 5+1 с.
Трансформатор высокого напряжения, используемый для испытания, должен быть спроектирован таким образом, чтобы при коротком замыкании выходных зажимов после регулировки выходного напряжения до соответствующего испытательного напряжения выходной ток составлял не менее 200 мА.
Реле перегрузки по току не должно срабатывать, если выходной ток составляет менее 100 мА.
Во время испытания не должно происходить пробоев изоляции.
Примечание 1 - Среднеквадратичное значение приложенного испытательного напряжения измеряют в пределах +/- 3%.
Примечание 2 - Тлеющие разряды без падения напряжения не учитывают.
12 Температурные характеристики
12.1 Устойчивость к нагреву
12.1.1 Основные требования
Неметаллические или композитные компоненты системы должны обладать достаточной термостойкостью.
Примечание - Для целей испытаний в соответствии с
12.1.2 и
12.1.3 изолированные проводники и кабели не считаются токоведущими частями.
12.1.2 Испытание неметаллических или композитных компонентов системы, требующихся для удержания токоведущих частей в надлежащем положении
Неметаллические или композитные компоненты системы, требующиеся для удержания токоведущих частей в надлежащем положении, подвергают испытанию на твердость вдавливанием шарика с помощью устройства, показанного на
рисунке 5.
Перед началом испытания шарик и подставку, на которую помещается образец, доводят до указанной температуры. Испытуемую часть помещают на стальную пластину толщиной 3 мм в непосредственном контакте с ней таким образом, чтобы она выдерживала испытательное усилие.
Если проведение испытания на образце невозможно, его проводят на фрагменте того же материала толщиной не менее 2 мм.
Поверхность испытуемой детали помещают в горизонтальное положение и прижимают к ней стальной шарик диаметром 5 мм с усилием 20 Н.
Испытание проводят в камере тепла при температуре (125 +/- 2) °C. Через 1 ч шарик извлекают из образца, который затем охлаждают в течение 10 с приблизительно до комнатной температуры путем погружения в холодную воду.
Диаметр отпечатка, оставленного шариком, измеряют. Он не должен превышать 2 мм.
12.1.3 Испытание неметаллических или композитных компонентов системы, не требующихся для удержания токоведущих частей в надлежащем положении
Неметаллические или композитные компоненты системы, не требующиеся для удержания токоведущих частей в надлежащем положении, но контактирующие с ними, и неметаллические или композитные компоненты системы, удерживающие части защитной цепи заземления, подвергают испытанию на твердость, указанному в
12.1.2, вдавливанием шарика, но испытание проводят при температуре (70 +/- 2) °C.
13.1 Реакция на огонь
Неметаллические компоненты системы и композитные компоненты системы, которые могут подвергаться воздействию чрезмерного тепла из-за электрических воздействий, и износ которых может ухудшить безопасность системы, не должны инициировать возгорание.
Соответствие требованиям проверяют проведением следующего испытания.
Испытание раскаленной проволокой на воспламеняемость выполняют в соответствии с разделами 4 - 10 МЭК 60695-2-11:2014 с соблюдением следующих условий:
- для неметаллических или композитных частей компонентов системы, требующихся для удержания токоведущих частей в надлежащем положении - посредством испытания, проводимого при температуре 850 °C;
- для неметаллических или композитных частей компонентов системы не требующихся для удержания токоведущих частей и частей цепи заземления в надлежащем положении, но контактирующих с ними - посредством испытания, проводимого при температуре 650 °C.
Мелкие детали, такие как шайбы, не подлежат испытанию в соответствии с настоящим подразделом.
Испытания не проводят на деталях из керамического материала.
По возможности образец должен представлять собой целый компонент системы.
Если провести испытание на целом компоненте системы невозможно, для целей испытания из него может быть вырезана подходящая часть.
Испытание проводят на одном образце, который разрешается испытывать в нескольких точках.
В случае сомнений испытание проводят повторно еще на двух образцах.
Испытание проводят путем однократного приложения раскаленной проволоки в течение (30 +/- 1) с.
Образец считается прошедшим испытание раскаленной проволокой на воспламеняемость, если
a) возгорание отсутствует или
b) при возникновении возгорания применяются все следующие ситуации:
i) если пламя или горение испытуемого образца гаснет в течение 30 с после удаления раскаленной проволоки, т.е. tE <= tA + 30 с; и
ii) указанный слой, помещенный под испытуемым образцом, не воспламеняется.
13.1.2 Пожаробезопасность
Неметаллические компоненты системы и композитные компоненты системы не должны активно способствовать возгоранию.
Соответствие требованиям проверяют проведением следующего испытания.
Испытание раскаленной проволокой на воспламеняемость проводят в соответствии с разделами 4 - 10 МЭК 60695-2-11:2014 на всех частях в условиях, указанных в
13.1.1, при температуре 650 °C.
Части, которые уже были испытаны при температуре 650 °C или 850 °C в соответствии с
13.1.1, не подлежат повторным испытаниям при этой температуре.
Мелкие детали и детали из керамического материала не подлежат испытаниям.
13.1.3 Распространение горения
СКК/ССКК, заявленная как не распространяющая горение в соответствии с
6.4.2, должна либо не воспламеняться, либо, если она воспламеняется, не должна продолжать гореть при удалении источника воспламенения.
Неметаллический компонент системы или металлический компонент системы, покрытый краской или любым другим веществом, которое может повлиять на его сопротивляемость распространению горения, должен рассматриваться в качестве композитного компонента и подвергаться соответствующим испытаниям.
Соответствие требованиям проверяют:
- для прямых секций кабельного или специального кабельного короба из неметаллического или композитного материала - посредством следующего испытания,
- для других компонентов системы из неметаллического или композитного материала - путем испытания в соответствии с
13.1.1 при температуре 650 °C.
Компоненты системы, которые уже были испытаны при температуре 650 °C или 850 °C в соответствии с
13.1.1, не подлежат повторным испытаниям при этой температуре.
Испытание проводят на образце длиной (675 +/- 10) мм. Если перегородки не являются единым целым с образцом, перегородку необходимо установить на прямую секцию кабельного короба или специального кабельного короба. По запросу изготовителя к образцу могут быть добавлены другие части.
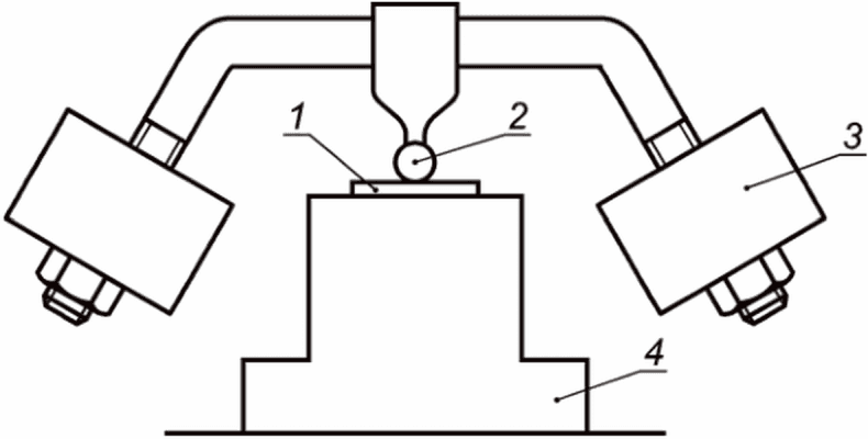
Испытание проводят с использованием горелки, указанной в МЭК 60695-11-2.
Образец помещают, как показано на
рисунке 3, в прямоугольный металлический корпус с открытой лицевой поверхностью, как показано на
рисунке 4, в зоне без сквозняков. Его зажимают с обоих концов, чтобы предотвратить деформацию или перемещение самого образца при применении пламени.
Горелку располагают таким образом, чтобы ось образовывала угол 45° +/- 2° с вертикальной осью. Пламя применяют к образцу таким образом, чтобы расстояние от верхней части трубки горелки до образца, измеренное вдоль оси трубки горелки, составляло (100 +/- 10) мм, а ось пламени пересекалась с поверхностью образца в точке на (100 +/- 5) мм выше верхнего конца нижнего зажима. Верхний конец нижнего зажима находится на (500 +/- 10) мм выше внутренней нижней поверхности оболочки, как показано на
рисунке 3.
Внутреннюю нижнюю поверхность оболочки покрывают фрагментом доски из мягкой белой древесины толщиной приблизительно 10 мм, покрытой одним слоем оберточной бумаги.
Образец подвергают воздействию пламени в течение (60 +/- 2) с.
Образец считается прошедшим испытание, если
- он не загорается или
- в случае возгорания выполняются следующие условия:
1) пламя гаснет в течение 30 с после удаления испытательного пламени;
2) упаковочная бумага не воспламеняется, и доска не обгорает;
3) после протирания образца признаки горения или обугливания более чем на 50 мм ниже нижней части верхнего зажима отсутствуют.
13.1.4 Дополнительные характеристики реакции на огонь
Классификация находится в разработке.
13.2 Огнеупорность
Классификация находится в разработке.
14.1 Степень защиты, обеспечиваемая оболочкой
14.1.1 Основные положения
СКК/ССКК, при сборке и установке в соответствии с инструкциями изготовителя, должна обеспечивать надлежащую защиту в соответствии со степенью защиты, заявленной изготовителем. При этом минимальная степень защиты должна составлять IP20.
Соответствие требованиям проверяют испытанием, описанным в
14.1.2 -
14.1.4.
Испытания заявленной изготовителем системы проводят в наиболее неблагоприятных монтажных положениях в соответствии с инструкцией изготовителя. Каждую сборку выполняют из одной или более прямых секций кабельного короба или специального кабельного короба длиной (250 +/- 5) мм с соответствующим компонентом системы, при наличии, для проверки выполнения различных функций системы. Для определения выполнения различных функций системы может потребоваться более одной сборки. При необходимости открытые концы сборки закрывают или не рассматривают в качестве части испытания.
Следующую выдержку проводят перед испытаниями, указанными в
14.1.2 -
14.1.4, на сборках, которые содержат неметаллический компонент системы или композитный компонент системы.
Сборки помещают в камеру тепла на (168 +/- 4) ч при максимальной температуре эксплуатации, заявленной изготовителем в соответствии с
таблицей 3, с допустимым отклонением +/- 2 °C.
Затем сборки извлекают из камеры и выдерживают при комнатной температуре не менее 24 ч.
Сборки, конструкции которых предусматривают открывание, открывают и закрывают пять раз.
14.1.2 Защита от попадания посторонних твердых предметов
Испытания сборки проводят в соответствии с применимым испытанием МЭК 60529:1989. Для характеристической цифры 5 применяется категория 2.
Сборку, испытанную на определение характеристической цифры 5 или 6, считают прошедшей испытание, если попадание пыли, видимой нормальным или скорректированным зрением без увеличения, отсутствует.
14.1.3 Защита от попадания воды
Испытания сборки проводят в соответствии с применимым испытанием МЭК 60529:1989. Для характеристических цифр 3 и 4 используют качающуюся трубку в соответствии с рисунком 4 МЭК 60529:1989, если размеры сборки не предполагают использования распылительной форсунки в соответствии с рисунком 5 МЭК 60529:1989.
Сборку, испытанную на характеристическую цифру 1 и выше, считают прошедшей испытание при отсутствии попадания воды в опасном количестве.
Количество в мм3 считается неопасным, если объем воды, проникшей в сборку, менее, чем:
5 x 10-3 x площадь поперечного сечения (мм2) x [250 (мм) x количество прямых секций кабельного или специального кабельного короба + длина (мм) вдоль оси соответствующего компонента системы, при наличии].
Измерение объема воды проводят с помощью шприца после протирания внешней поверхности сборки и осторожного снятия крышек, при наличии.
14.1.4 Защита от доступа к опасным частям
Испытания сборки проводят в соответствии с применимым испытанием МЭК 60529:1989.
Щуп не должен проникать в пространство для размещения электрических цепей.
14.2 Защита от агрессивных или загрязняющих веществ
Классификация находится в разработке.
15 Электромагнитная совместимость
Изделия, входящие в область применения настоящего стандарта, при нормальной эксплуатации являются пассивными в отношении электромагнитных воздействий (эмиссия и устойчивость).
Примечание - Если изделия, входящие в область применения настоящего стандарта, устанавливаются в рамках монтажа электропроводки, установка может излучать электромагнитные сигналы или подвергаться их воздействию. Степень влияния будет зависеть от характера установки в пределах ее рабочей среды и устройства, подключенного проводкой.
Примечание - Пояснение к цифрам, используемым на данном рисунке, приведено в
приложении A.
Рисунок 1 - Типы и применение систем кабельных коробов (СКК)
и систем специальных кабельных коробов (ССКК)
Данный чертеж не предназначен для определения параметров конструкции, за исключением указанных размеров.
Примечание 1 - Базовая пластина толщиной 40 мм может быть заменена двумя пластинами толщиной 20 мм.
Примечание 2 - Неуказанные допуски соответствуют классу M по ИСО 2768-1.
Примечание 3 - Размеры указаны в миллиметрах.
Рисунок 2 - Пример устройства для испытаний
на воздействие ударов
1 - образец расположен в центре горизонтальной плоскости;
2 - зажим; 3 - пламя; 4 - обратная сторона; 5 - оберточная
ткань; 6 - доска из белой древесины, толщина 10 мм,
ширина 700-25
Данный чертеж не предназначен для определения параметров конструкции, за исключением указанных размеров.
Рисунок 3 - Схема испытания на сопротивление
распространению горения
Все размеры указаны для внутренней части оболочки.
Материал: металл.
Данный чертеж не предназначен для определения параметров конструкции, за исключением указанных размеров.
Рисунок 4 - Оболочка для испытания на сопротивление
распространению горения
1 - испытуемый образец; 2 - шарик; 3 - груз; 4 - опора
Рисунок 5 - Устройство для испытаний на твердость
вдавливанием шарика

- падение напряжения;
I - ток;
d1 - расстояние
между двумя точками измерения
a) Схема прямой секции кабельного короба
или специального кабельного короба
A - зона соединения;

- падение напряжения;
I - ток;
d2 - расстояние между двумя точками измерения
b) Схема стыкового соединения
M - точка измерения в центре поверхности
c) Схема соединения между основанием прямой секции
кабельного короба и крышкой
T - зажим заземления или концевая заделка;

- падение
напряжения; I - ток; d3 - расстояние между двумя
точками измерения
d) Схема зажима заземления или концевой заделки
Рисунок 6 - Устройство для испытаний
на электрическое сопротивление
1 - стенка компонента системы; 2 - входная мембрана;
3 - защитная мембрана; 4 - выключатель;
5 - изолирующая втулка
Рисунок 7 - Примеры мембран и изолирующих втулок
1 - кабельный анкер; 2 - рукоятка; 3 - эксцентрик
Рисунок 8 - Стандартная аппаратура для испытаний
сопротивления кабельного анкера тянущему усилию
1 - подшипники, обеспечивающие легкое вращение;
2 - устройство для фиксации испытательной оправки;
3 - испытательная оправка; 4 - образец; 5 - пластина
для крепления образца (сменная); 6 - стационарный
индикатор вращения; 7 - направление вращения;
8 - вращающийся индикатор; 9 - радиус; 10 - груз
Рисунок 9 - Стандартная аппаратура для испытаний
сопротивления кабельного анкера усилию скручивания
A - диаметр поршня (20 +/- 1) мм; B - радиус головки
поршня (20 +/- 1) мм; C - зазор между головкой поршня
и цилиндра 2+1 мм
Рисунок 10 - Поршень для испытания маркировки
на долговечность
(справочное)
ТИПЫ СИСТЕМ КАБЕЛЬНЫХ КОРОБОВ (СКК) И СИСТЕМ
СПЕЦИАЛЬНЫХ КАБЕЛЬНЫХ КОРОБОВ (ССКК)
Таблица A.1
Типы СКК и ССКК для настенного и потолочного монтажа
| Тип | Назначение | Монтаж |
1, 7, 11, 12, 13, 14, 15 | СКК | Изолированные проводники, кабели | Поверхностный на стенах и потолке, на стенах монтируется горизонтально или вертикально, на потолке - подвешивается |
5 | СКК | Изолированные проводники, кабели, устройства (выключатели, розетки, автоматические выключатели и т.д.) | Поверхностный на стенах и потолке, на стенах монтируется горизонтально или вертикально |
3, 9 | СКК | Изолированные проводники, кабели | Заподлицо на стенах и потолке, на стенах монтируется горизонтально или вертикально |
Не показано | СКК | Изолированные проводники, кабели, устройства (выключатели, розетки, автоматические выключатели и т.д.) | Заподлицо на стенах и потолке, на стенах монтируется горизонтально или вертикально |
6 | Плинтусная СКК | Изолированные проводники, кабели | Поверхностный на стенах и потолке |
Не показано | Плинтусная СКК | Изолированные проводники, кабели, устройства (выключатели, розетки, автоматические выключатели и т.д.) | Поверхностный на стенах и потолке |
2, 8, 10 | ССКК | Изолированные проводники, кабели | Поверхностный на стенах и потолке, на стенах монтируется горизонтально или вертикально, на потолке - подвешивается |
4 | ССКК | Изолированные проводники, кабели | Встраиваемый в стенах и на потолке, на стенах монтируется горизонтально или вертикально |
Таблица A.2
Типы СКК и ССКК для напольного монтажа
| Тип | Назначение | Монтаж |
1 | СКК | Изолированные проводники, кабели | Заподлицо с полом |
4, 6 | СКК | Изолированные проводники, кабели | На поверхности пола |
5 | СКК | Изолированные проводники, кабели | Фальшпол |
2 | ССКК | Изолированные проводники, кабели | Заподлицо с полом |
3 | ССКК | Изолированные проводники, кабели | Встраиваемый в пол |
7 | Напольное устройство для подключения | Устройство | Заподлицо с полом |
8 | Напольное устройство для подключения | Устройство | На поверхности пола |
Таблица A.3
Типы СКК и ССКК для монтажа
между противоположными поверхностями
| Тип | Назначение | Монтаж |
1 | Сервисные стойки | Изолированные проводники, кабели, устройства (выключатели, розетки, автоматические выключатели и т.д.) | Между полом и потолком |
(обязательное)
КОД СТЕПЕНИ УДАРОПРОЧНОСТИ СКК/ССКК IK
Изготовитель может заявить код степени ударопрочности СКК/ССКК IK в соответствии с МЭК 62262 при следующих условиях.
Заявленный код должен быть не менее IK04.
Испытание проводят при температуре окружающей среды с использованием ударного устройства маятникового типа.
Перед испытанием неметаллические компоненты системы и композитные компоненты системы непрерывно выдерживают при температуре, указанной в
таблице 3, с допустимым отклонением +/- 2 °C в течение 168 ч.
Условия монтажа, сборки и размещения образцов, количество ударов и места их приложения, а также условия соответствия требованиям испытаний описаны в соответствующей части стандарта МЭК 61084-2 в разделе "Испытание на воздействие ударов для монтажа и эксплуатации".
(справочное)
СВЕДЕНИЯ О СООТВЕТСТВИИ ССЫЛОЧНЫХ МЕЖДУНАРОДНЫХ СТАНДАРТОВ
НАЦИОНАЛЬНЫМ И МЕЖГОСУДАРСТВЕННЫМ СТАНДАРТАМ
Таблица ДА.1
Обозначение ссылочного международного стандарта | Степень соответствия | Обозначение и наименование соответствующего национального, межгосударственного стандарта |
IEC 60417 | - | |
IEC 60423:2007 | - | |
IEC 60529:1989 | MOD | ГОСТ 14254-96 (МЭК 529-89) "Степени защиты, обеспечиваемые оболочками (код IP)" <1> |
IEC 60695-2-11:2014 | - | |
IEC 60695-11-2:2013 | - | |
IEC 61032:1997 | IDT | ГОСТ Р МЭК 61032-2000 "Защита людей и оборудования, обеспечиваемая оболочками. Щупы испытательные" |
ISO 2768-1:1989 | IDT | ГОСТ 30893.1-2002 (ИСО 2768-1-89) "Основные нормы взаимозаменяемости. Общие допуски. Предельные отклонения линейных и угловых размеров с неуказанными допусками" |
<*> Соответствующий национальный стандарт отсутствует. До его принятия рекомендуется использовать перевод на русский язык данного международного стандарта. Примечание - В настоящей таблице использованы следующие условные обозначения степени соответствия стандартов: - IDT - идентичные стандарты; - MOD - модифицированный стандарт. |
--------------------------------
<1> Заменен на
ГОСТ 14254-2015 (IEC 60529:2013), являющийся модифицированным по отношению к МЭК 60529:2013 (включающий в себя МЭК 60529:1989/Изм. 1:1999 и МЭК 60529:1989/Изм. 2:2013).
<2> Действует
ГОСТ IEC 60695-2-11-2013 "Испытания на пожароопасность. Часть 2-11. Основные методы испытаний раскаленной проволокой. Испытание раскаленной проволокой на воспламеняемость конечной продукции", идентичный МЭК 60695-2-11:2000.
<3> Действует
ГОСТ IEC 60695-11-2-2017 "Испытания на пожароопасность. Часть 11-2. Испытательное пламя. Пламя предварительно подготовленной смеси мощностью 1 кВт. Аппаратура, руководство и порядок испытания на подтверждение соответствия", идентичный МЭК 60695-11-2:2017.
[1] | IEC 60050-195:1998 | International Electrotechnical Vocabulary - Part 195: Earthing and protection against electric shock (Международный электротехнический словарь. Часть 195. Заземление и защита от поражения электрическим током) |
[2] | lEC 60050-441:1984 | International Electrotechnical Vocabulary - Chapter 441: Switchgear, controlgear and fuses (Международный электротехнический словарь. Глава 441. Коммутационная аппаратура, аппаратура управления и предохранители) |
[3] | IEC 60050-826:2004 | International Electrotechnical Vocabulary - Part 826: Electrical installations (Международный электротехнический словарь. Часть 826. Установки электрические) |
[4] | IEC 60364-5-54:2011 | Low-voltage electrical installations - Part 5-54: Selection and erection of electrical equipment - Earthing arrangements and protective conductors (Электроустановки низковольтные. Часть 5-54. Заземляющие устройства, защитные проводники и защитные проводники уравнивания потенциалов) |
[5] | IEC 62262:2002 | Degrees of protection provided by enclosures for electrical equipment against external mechanical impacts (IK code) [Степени защиты, обеспечиваемой оболочками от наружного механического удара (код IK)] |
УДК 621.315.673.1:006.354 | |
Ключевые слова: системы кабельных и специальных кабельных коробов, кабельные короба, прямая секция, фасонная секция, кабельный ввод, фиксатор кабеля, входная мембрана, защитная мембрана, защитное экранирование, защитное разделение, классификация, маркировка, конструкция, испытания |