Главная // Актуальные документы // ГОСТ Р (Государственный стандарт)СПРАВКА
Источник публикации
М.: ФГБУ "Институт стандартизации", 2023
Примечание к документу
Документ
введен в действие с 01.08.2023.
Название документа
"ГОСТ Р 70810-2023. Национальный стандарт Российской Федерации. Гидроэлектростанции. Гидроагрегаты. Эксплуатационный контроль вибрационного состояния опорных узлов"
(утв. и введен в действие Приказом Росстандарта от 10.07.2023 N 494-ст)
"ГОСТ Р 70810-2023. Национальный стандарт Российской Федерации. Гидроэлектростанции. Гидроагрегаты. Эксплуатационный контроль вибрационного состояния опорных узлов"
(утв. и введен в действие Приказом Росстандарта от 10.07.2023 N 494-ст)
Утвержден и введен в действие
агентства по техническому
регулированию и метрологии
от 10 июля 2023 г. N 494-ст
НАЦИОНАЛЬНЫЙ СТАНДАРТ РОССИЙСКОЙ ФЕДЕРАЦИИ
ГИДРОЭЛЕКТРОСТАНЦИИ
ГИДРОАГРЕГАТЫ
ЭКСПЛУАТАЦИОННЫЙ КОНТРОЛЬ ВИБРАЦИОННОГО СОСТОЯНИЯ
ОПОРНЫХ УЗЛОВ
Hydroelectric power plants. Hydraulic units.
Operational control of the vibration state
of supporting parts
ГОСТ Р 70810-2023
Дата введения
1 августа 2023 года
1 РАЗРАБОТАН Акционерным обществом "Силовые машины - ЗТЛ, ЛМЗ, Электросила, Энергомашэкспорт" (АО "Силовые машины")
2 ВНЕСЕН Техническим комитетом по стандартизации ТК 016 "Электроэнергетика"
3 УТВЕРЖДЕН И ВВЕДЕН В ДЕЙСТВИЕ
Приказом Федерального агентства по техническому регулированию и метрологии от 10 июля 2023 г. N 494-ст
4 ВВЕДЕН ВПЕРВЫЕ
Правила применения настоящего стандарта установлены в статье 26 Федерального закона от 29 июня 2015 г. N 162-ФЗ "О стандартизации в Российской Федерации". Информация об изменениях к настоящему стандарту публикуется в ежегодном (по состоянию на 1 января текущего года) информационном указателе "Национальные стандарты", а официальный текст изменений и поправок - в ежемесячном информационном указателе "Национальные стандарты". В случае пересмотра (замены) или отмены настоящего стандарта соответствующее уведомление будет опубликовано в ближайшем выпуске ежемесячного информационного указателя "Национальные стандарты". Соответствующая информация, уведомление и тексты размещаются также в информационной системе общего пользования - на официальном сайте Федерального агентства по техническому регулированию и метрологии в сети Интернет (www.rst.gov.ru)
Настоящий стандарт направлен на повышение безопасности эксплуатации гидроагрегатов гидроэлектрических станций.
Установленные настоящим стандартом методики оценки вибрационного состояния гидроагрегатов учитывают подтвержденные опытом эксплуатации потенциальные опасности и сценарии развития опасных ситуаций основного оборудования с учетом требований его безопасной эксплуатации.
1.1 Настоящий стандарт устанавливает общие требования к измерению и эксплуатационному контролю вибрации, содержит правила назначения уставок предупредительной и аварийной сигнализации по параметрам абсолютной вибрации, а также уставок срабатывания защит для стационарных систем вибрационного контроля по параметрам относительной вибрации, а также требования к действиям виброзащит гидроагрегатов гидравлических электрических станций (ГЭС), расположенных в сейсмически активных районах.
1.2 Настоящий стандарт распространяется на гидроагрегаты мощностью 10 МВт и более следующих типов:
а) гидроагрегаты вертикального исполнения, оборудованные гидравлическими поворотно-лопастными осевыми и диагональными турбинами, пропеллерными, радиально-осевыми турбинами, а также радиально-осевыми насос-турбинами;
б) гидроагрегаты горизонтального исполнения.
1.3 Требования настоящего стандарта могут применяться к гидроагрегатам меньшей мощности в части назначения уставок.
1.4 При принятии решения о возможности безопасной эксплуатации следует руководствоваться требованиями настоящего стандарта.
1.5 Настоящий стандарт не подразумевает обязательного аварийного останова гидроагрегата по параметрам абсолютной вибрации (осуществляется только световая и звуковая сигнализация).
1.6 Необходимость аварийного останова гидроагрегата по параметрам абсолютной вибрации может устанавливаться изготовителем гидротурбины и гидрогенератора или эксплуатирующей организацией.
В таком случае для гидроагрегатов ГЭС, расположенных в сейсмически активных районах, при превышении уставок аварийного останова по датчикам абсолютной вибрации эксплуатирующей организации необходимо принять меры, исключающие риски ложной работы виброзащит при сейсмособытиях.
В настоящем стандарте использованы нормативные ссылки на следующие стандарты:
ГОСТ 14254 (IEC 60529:2013) Степени защиты, обеспечиваемые оболочками (Код IP)
ГОСТ ИСО 5348 Вибрация и удар. Механическое крепление акселерометров
ГОСТ ИСО 10817-1 Вибрация. Системы измерений вибрации вращающихся валов. Часть 1. Устройства для снятия сигналов относительной и абсолютной вибрации
ГОСТ Р 56969 Единая энергетическая система и изолированно работающие энергосистемы. Оперативно-диспетчерское управление. Обеспечение согласованной работы централизованных систем автоматического регулирования частоты и перетоков активной мощности и автоматики управления активной мощностью гидравлических электростанций. Нормы и требования
Примечание - При пользовании настоящим стандартом целесообразно проверить действие ссылочных стандартов в информационной системе общего пользования - на официальном сайте Федерального агентства по техническому регулированию и метрологии в сети Интернет или по ежегодному информационному указателю "Национальные стандарты", который опубликован по состоянию на 1 января текущего года, и по выпускам ежемесячного информационного указателя "Национальные стандарты" за текущий год. Если заменен ссылочный стандарт, на который дана недатированная ссылка, то рекомендуется использовать действующую версию этого стандарта с учетом всех внесенных в данную версию изменений. Если заменен ссылочный стандарт, на который дана датированная ссылка, то рекомендуется использовать версию этого стандарта с указанным выше годом утверждения (принятия). Если после утверждения настоящего стандарта в ссылочный стандарт, на который дана датированная ссылка, внесено изменение, затрагивающее положение, на которое дана ссылка, то это положение рекомендуется применять без учета данного изменения. Если ссылочный стандарт отменен без замены, то положение, в котором дана ссылка на него, рекомендуется применять в части, не затрагивающей эту ссылку.
3 Термины, определения и сокращения
3.1 В настоящем стандарте применены термины по
ГОСТ 24346, а также следующие термины с соответствующими определениями:
3.1.1 абсолютная вибрация: Колебания тела около положения своего равновесия или в абсолютной системе координат.
3.1.2 относительная вибрация: Колебания одного тела относительно другого.
3.1.3 мониторинг вибрационного состояния: Процесс постоянного или регулярно проводимого наблюдения за вибрационным состоянием гидроагрегата, находящегося в работе.
3.1.4 оценка вибрационного состояния: Сопоставление контролируемого(ых) параметра(ов) вибрации с установленными предельными значениями.
3.1.5 контроль вибрационного состояния: Комплекс измерений и испытаний для принятия решений по дальнейшей эксплуатации объекта контроля на основе вибрационного состояния оборудования.
3.1.6 эксплуатационный контроль: Контроль, выполняемый непрерывно с использованием стационарных систем вибрационного контроля или периодически с применением переносных систем вибрационного контроля.
Примечание - Периодичность контроля устанавливается локальными нормативными актами предприятия.
3.1.7 защита гидроагрегата от повышенных вибраций (виброзащита): Совокупность программно-аппаратных средств автоматизации, предназначенных для ограничения в работе или отключения, остановки основного оборудования гидроэлектростанции при повышенных вибрациях с целью недопущения повреждения оборудования.
3.1.8 стационарная система вибрационного контроля: Стационарно установленный комплекс средств измерений и автоматизации, осуществляющий контроль вибрационного состояния с функцией формирования управляющих воздействий при превышении допустимых значений вибрации, указанных в нормативно-технической документации, а также представление персоналу полученных данных в требуемом виде.
3.1.9 переносная система вибрационного контроля: Устанавливаемый на время проведения испытаний (в том числе для верификации показаний стационарной системы вибрационного контроля или для выборочных измерений) переносной комплекс средств измерений, осуществляющий измерения вибрационных параметров, необходимых для оценки вибрационного состояния гидроагрегата по нормам, указанным в нормативно-технической документации.
3.1.10 радиальное виброперемещение: Виброперемещение в плоскости, перпендикулярной к оси гидроагрегата.
3.1.11 осевое виброперемещение: Проекция вектора виброперемещения на прямую, параллельную оси вращения ротора гидроагрегата.
3.1.12 статическое смещение: Изменение расстояния (зазора) между датчиком и измеряемой поверхностью.
3.1.13
установившийся нагрузочный проектный режим: Режим, определяющийся эксплуатационными характеристиками гидроагрегата, при условии, что изменение положения направляющего аппарата происходит со скоростью менее 0,4 максимальной скорости движения направляющего аппарата
<1>, которую определяют при проверке гарантий регулирования.
--------------------------------
<1> Соответствует требованиям к генерирующему оборудованию, установленным в
ГОСТ Р 56969.
3.1.14 относительное виброперемещение вала и/или диска: Виброперемещение вала и/или диска относительно подшипника (направляющего или упорного).
3.1.15 референсный период определения вибрационного состояния: Интервал времени измерения, включающий, как правило, 10 оборотов ротора гидроагрегата в период работы в установившемся режиме.
3.1.16 размах виброперемещений Sp-p: Разность между наибольшим и наименьшим значениями колеблющейся величины, характеризующей виброперемещение в рассматриваемом интервале времени.
3.1.17 среднее квадратическое значение; СКЗ: Число, равное квадратному корню из среднего арифметического квадратов данных чисел

(1)
где xi - i-й элемент выборки;
n - объем выборки.
3.1.18 среднее квадратическое отклонение; СКО: Показатель рассеивания значений случайной величины относительно ее среднего значения

(2)
где xi - i-й элемент выборки;
n - объем выборки;

- среднее арифметическое выборки, вычисляемое по формуле

(3)
Примечания
1 Для абсолютной вибрации среднее значение равно 0 и СКЗ = СКО.
2 При невозможности определения СКО или 2
Aср напрямую (например, система вибрационного контроля определяет только размах) допускается выполнить пересчет СКО следующим образом:

.
3.1.19 средний размах (определенный по СКО) 2Aср: Двойная амплитуда гармонического сигнала (синусоида) эквивалентного по мощности

(4)
3.1.20 уставка: Предельное значение контролируемого параметра, превышение которого ведет к появлению оповещения в виде сигналов уведомления, предупреждения или останова.
3.2 В настоящем стандарте применены следующие сокращения:
АРЗ - аварийно-ремонтный затвор;
ГА - гидроагрегат;
ОС - оперативная служба;
РО - радиально-осевая.
4 Контролируемые параметры вибрации
Основными измеряемыми параметрами вибрации в соответствии с требованиями
[1] -
[3] (см. также
[4]), которые необходимы для контроля вибрационного состояния гидроагрегата, являются:
а) для опорных (неподвижных) частей (кроме упругой камеры подпятника на гидравлической опоре и крышки турбины в районе лопаток направляющего аппарата относительно стенки шахты турбины):
1) среднее квадратическое отклонение или средний размах радиальных виброперемещений, мкм;
2) среднее квадратическое отклонение или средний размах спектральных составляющих осевых виброперемещений, мкм;
б) для упругой камеры подпятника на гидравлической опоре, для крышки турбины в районе лопаток направляющего аппарата относительно стенки шахты турбины и для вращающихся частей:
1) размах относительного виброперемещения, мкм;
2) статическое смещение, мкм.
Для вновь вводимых систем вибрационного контроля (или вновь вводимых гидроагрегатов с системой вибрационного контроля) применяют параметр СКО вибрации опорных (неподвижных) частей.
Технические требования к средствам измерения вибрации приведены в
приложении А, рекомендуемые настройки при разложении сигнала по спектральным составляющим приведены в
приложении Б, рекомендации по оснащению сейсмическими системами ГЭС, расположенных в сейсмически активных районах, приведены в
приложении В.
5 Места и направления измерения
Принципиальные схемы гидроагрегатов с указанием подшипников приведены на
рисунках 1 -
3. Контроль вибрационного состояния следует выполнять на следующих частях гидроагрегата (гидротурбина и гидрогенератор):
а) осевая абсолютная вибрация:
1) крышка турбины или турбинный подшипник по указанию изготовителя гидротурбины (измерение вибрации фланца турбинного подшипника ближе к оси вращения);
2) верхняя или нижняя крестовина гидрогенератора (измерение вибрации выполняют в той крестовине, на которую опирается подпятник гидрогенератора);
3) корпус подшипника, в котором размещены подпятник и контрподпятник (для гидроагрегата горизонтального исполнения);
б) радиальная абсолютная вибрация:
1) корпус турбинного подшипника;
2) верхняя и нижняя крестовины при размещении в них подшипников (корпус генераторного подшипника для гидроагрегата горизонтального исполнения);
в) относительные виброперемещения:
1) вал у корпусов направляющих подшипников (виброперемещение вала);
2) диск подпятника на жесткой опоре (виброперемещение зеркальной поверхности диска подпятника)
<1>;
3) упругая камера подпятника на гидравлической опоре [просадка и осевые колебания упругой камеры (ее верхнего торца)]
<1>;
4) крышка турбины в районе лопаток направляющего аппарата относительно стенки шахты турбины (статическое смещение и относительная вибрация) в осевом направлении для вертикальных гидроагрегатов
<1>.
--------------------------------
<1> Только при эксплуатационном контроле с применением стационарных систем вибрационного контроля.
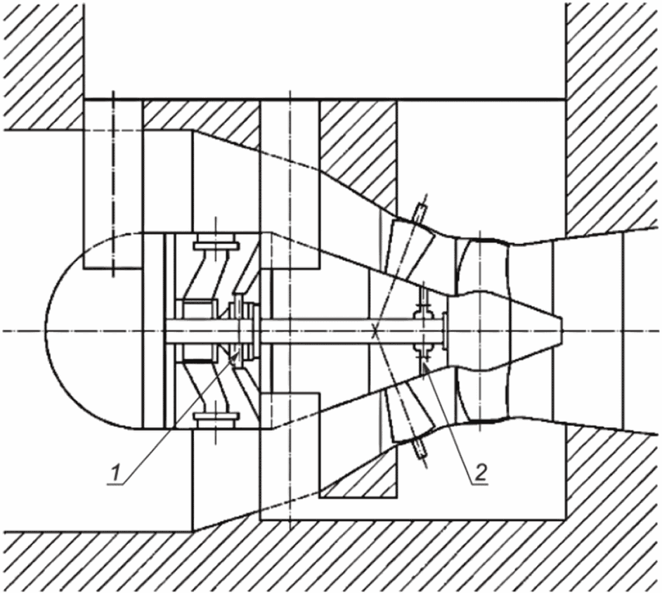
1 - направляющий подшипник генератора в верхней крестовине
генератора; 2 - направляющий подшипник турбины
Рисунок 1 - Схема вертикального гидроагрегата с подпятником,
опирающимся на крышку турбины
1 - направляющий подшипник, совмещенный с подпятником,
в верхней крестовине генератора; 2 - направляющий подшипник
в нижней крестовине генератора; 3 - направляющий
подшипник турбины
Рисунок 2 - Схема вертикального гидроагрегата с подпятником,
опирающимся на верхнюю крестовину генератора
1 - направляющий подшипник генератора, совмещенный
с подпятником и контрподпятником; 2 - направляющий
подшипник турбины
Рисунок 3 - Схема горизонтального гидроагрегата
6 Требования к установке вибродатчиков
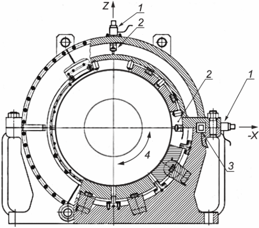
6.1 Число мест контроля вибрационного состояния для измерения радиальных виброперемещений опорных узлов гидроагрегата и относительных виброперемещений вала (и диска подпятника) должно быть не менее двух для каждого опорного узла. Все точки контроля одного направления на ГА должны располагаться в одной плоскости, проходящей через ось вращения. Вибродатчики должны располагаться в одних и тех же плоскостях, перпендикулярных к оси вращения, под углом 90° +/- 5°.
Вибродатчики должны располагаться со стороны нижнего бьефа (-
Y) и со стороны левого берега (+
X) - для вертикальных гидроагрегрегатов правого вращения (см.
рисунок 4) или со стороны правого берега (-
X) - для вертикальных гидроагрегатов левого вращения; со стороны правого берега (-
X) и верха подшипника (
Z) - для горизонтальных гидроагрегатов (см.
рисунок 5).
1 - виброперемещение вала в зоне подшипника;
2 - осевая вибрация; 3 - радиальная вибрация подшипника;
Y - верхний бьеф
Рисунок 4 - Схема расположения вибродатчиков
для вертикальных машин
1 - радиальная вибрация подшипника; 2 - виброперемещение
вала в зоне подшипника; 3 - осевая вибрация подшипника;
4 - направления вращения; Z - верх подшипника;
-X - правый берег
Рисунок 5 - Схема расположения вибродатчиков
для горизонтальных машин
Вышеуказанные направления выбраны исходя из следующего:
- вихревой "жгут" за рабочим колесом прижимается к верхней части колена отсасывающей трубы со стороны нижнего бьефа, в связи с чем в этом направлении будут наибольшие пульсации давления;
- для РО-турбин правого вращения "зуб" спиральной камеры, где также могут возникать наибольшие пульсации давления, расположен по левому берегу. Для РО-турбин левого вращения "зуб", наоборот, расположен по правому берегу.
6.2 Измерение радиального и осевого виброперемещения следует выполнять на минимально возможном расстоянии от оси ротора гидроагрегата в точке наибольшей жесткости.
6.3 Вибродатчики для измерения осевой вибрации опорных деталей гидроагрегатов, имеющих опору подпятника на крышке гидротурбины, следует устанавливать на корпусе турбинного подшипника.
6.4 Вибродатчики для измерения размаха радиального виброперемещения вала следует устанавливать на кронштейнах, жестко прикрепленных к корпусу направляющего подшипника. Общие требования к креплению датчиков вибрации и виброперемещения вала представлены в
ГОСТ ИСО 5348 и
ГОСТ ИСО 10817-1.
6.5 Датчики статического смещения и относительного виброперемещения крышки турбины рекомендуется располагать в осевом направлении в трех плоскостях: со стороны нижнего бьефа (-
Y), со стороны левого берега (+
X), под 45° +/- 5° между верхним бьефом (+
Y) и правым берегом (-
X). Датчики следует устанавливать на кронштейнах, обеспечивающих жесткое крепление к стенкам шахты турбины (см.
рисунок 6).
1 - лопатка; 2 - кронштейн; 3 - датчик; Y - верхний бьеф;
X - левый берег
Рисунок 6 - Схема установки датчиков статического смещения
крышки турбины на кронштейнах к стенкам шахты турбины
7 Контроль вибрационного состояния
7.1 Контроль параметров абсолютной и относительной вибраций должен выполняться на основе измерений, включающих, как правило, 10 оборотов ротора гидроагрегата (референсный период определения вибрационного состояния).
7.2 Контроль вибрационного состояния опорных частей и вала гидроагрегата должен выполняться при работе гидроагрегата в диапазоне установившихся нагрузочных проектных режимов и в режиме холостого хода.
Вибрационное состояние опорных частей и вала гидроагрегата в неустановившихся режимах не нормируется.
7.3 Контроль значений относительных вибраций [относительного виброперемещения вала, относительного виброперемещения диска, просадки и осевых колебаний упругой камеры (ее верхнего торца), статического смещения и относительного виброперемещения крышки турбины] гидроагрегата следует выполнять сравнением результатов измерения с предельными значениями, установленными в руководстве по эксплуатации, выпущенном заводом - изготовителем гидротурбины и гидрогенератора, или величинами, определенными в ходе натурных испытаний, проведенных специализированными организациями.
7.4 Если иное не указано в руководствах по эксплуатации гидротурбины и гидрогенератора, контроль абсолютных виброперемещений опорных частей выполняют в соответствии с
приложением Г:
- предельно допустимые значения абсолютной радиальной вибрации определяют в зависимости от частоты вращения ротора гидроагрегата;
- предельно допустимые значения абсолютной осевой вибрации определяют в зависимости от частоты вибрации, то есть контролируют спектральные составляющие. Настройки для разложения в спектр рекомендуется применять в соответствии с
приложением Б.
7.5 Формирование выходных сигналов при превышении предупредительного и аварийного пороговых значений по каждой точке измерения вибрации реализуется в составе стационарной системы вибрационного контроля.
7.6 Выдержку времени при срабатывании сигнальной аппаратуры гидроагрегатов в случаях нерегулярных превышений установленных пороговых значений (предупредительной и аварийной уставок) рекомендуется установить 15 с (может быть уточнена по результатам приемо-сдаточных испытаний).
7.7 При превышении уровней предупредительной и аварийной уставок по параметрам абсолютной вибрации опорных узлов осуществляется только (звуковая и световая) сигнализация. Реализация управляющих воздействий на режим работы гидроагрегата при превышении уровней предупредительной и аварийной уставок по параметрам абсолютной вибрации опорных узлов осуществляется в соответствии с положениями местных инструкций на основании указаний изготовителей гидротурбины и гидрогенератора (например, в руководстве по эксплуатации) и на основании опыта эксплуатации.
7.8 При превышении уровня предупредительной сигнализации по параметрам относительной вибрации или аварийной сигнализации по одному датчику осуществляется только сигнализация (звуковая и световая).
7.9 При устойчивом, в течение установленного промежутка времени, превышении уставки аварийной сигнализации по двум датчикам относительной вибрации одного (любого) опорного узла должен выполняться аварийный останов с запретом последующего автоматического пуска до устранения причин срабатывания защиты: разгрузка ГА по активной мощности плавным закрытием направляющего аппарата посредством системы регулирования гидротурбины, последующее отключение от сети, замедление частоты вращения с нормальным торможением до полного останова.
7.10 При превышении уровня аварийной сигнализации по параметру статического смещения крышки турбины любого датчика останов выполняется системой аварийного останова (аварийным золотником) с одновременным прекращением подачи воды в напорный тракт турбины (закрытие предтурбинного затвора/сброс АРЗ/срыв вакуума и т.п.) и выдачей отдельного сигнала в централизованной системе ГЭС для оповещения ОС о данном повреждении. Выдержку времени на срабатывание виброзащит по параметру статического смещения крышки турбины необходимо определять экспертно с учетом расчетных исследований и приемо-сдаточных испытаний.
(обязательное)
МИНИМАЛЬНЫЕ ТЕХНИЧЕСКИЕ ТРЕБОВАНИЯ
К СРЕДСТВАМ ИЗМЕРЕНИЯ ВИБРАЦИИ
А.1 Положение ротора гидроагрегата (отметка оборота и фаза)
Отметчик оборотов обеспечивает запуск начала считывания сигналов виброизмерительных каналов при одном и том же положении ротора в пространстве. Отметчик оборотов должен удовлетворять следующим техническим требованиям:
- амплитуда импульса - до 500 мВ;
- длительность импульса - от 10 до 20 мс.
А.2 Абсолютная вибрация опорных узлов
А.2.1 Технические требования к аппаратуре измерения абсолютной вибрации:
- контролируемая величина - виброперемещение;
- диапазон рабочих частот - не менее 0,8 - 200 Гц;
- диапазон измерения виброперемещений - от +/- 5 до +/- 500 мкм;
- уровень выходного сигнала датчика в амплитудном значении - унифицированный сигнал напряжения или тока;
- основная относительная погрешность - не более +/- 8%;
- возможность устойчивой работы в условиях высокочастотных (в т.ч. ударных) воздействий со стороны объекта, вибрация которого измеряется.
А.2.2 Условия измерений:
- температура окружающей среды для датчика - от минус 10 °C до плюс 70 °C;
- индукция внешнего магнитного поля - до 0,1 Тл.
А.3 Относительная вибрация
А.3.1 Технические требования к аппаратуре измерения относительной вибрации и статического перемещения:
- контролируемая величина - зазор;
- тип - бесконтактный;
- диапазон измерений статического перемещения - от 30 до 2000 мкм;
- диапазон измерений относительной вибрации - от 15 до 500 мкм;
- рабочий диапазон частот - от 0 до 100 Гц;
- тип выходного сигнала датчика - унифицированный сигнал напряжения или тока;
- напряжение питания - от 18 до 30 В;
- основная относительная погрешность - не более +/- 10%.
А.3.2 Условия измерений:
- индукция внешнего магнитного поля - до 0,1 Тл;
- герметичность - защита от проникновения пыли, возможность работы в воде (код IP67/IP68 в соответствии с
ГОСТ 14254).
А.4 Система вибрационного контроля
Система вибрационного контроля должна иметь возможность определения как среднего квадратического отклонения сигнала вибрации, так и размаха вибрации за определенный промежуток времени, а также возможность разложения измеренного сигнала по спектральным составляющим.
(справочное)
РЕКОМЕНДУЕМЫЕ НАСТРОЙКИ ПРИ РАЗЛОЖЕНИИ СИГНАЛА
ПО СПЕКТРАЛЬНЫМ СОСТАВЛЯЮЩИМ
Рекомендуемыми настройками при разложении сигнала по спектральным составляющим являются:
- тип весового окна - Ханнинг;
- метод - быстрое преобразование Фурье;
- разрешение по частоте - не менее 0,1 Гц;
- верхний предел - не менее 200 Гц;
- значение - СКЗ (А/1,41).
(справочное)
РЕКОМЕНДАЦИИ ПО ОСНАЩЕНИЮ СЕЙСМИЧЕСКИМИ СИСТЕМАМИ
ГИДРАВЛИЧЕСКИХ ЭЛЕКТРИЧЕСКИХ СТАНЦИЙ, РАСПОЛОЖЕННЫХ
В СЕЙСМИЧЕСКИ АКТИВНЫХ РАЙОНАХ
В.1 Гидроэлектростанции, расположенные в сейсмически активных районах, рекомендуется оснастить сейсмическими системами, которые позволяют выдавать сигнал на щит управления о факте прохождения землетрясения в районе ГЭС. Датчики сейсмической системы рекомендуется устанавливать в удалении от работающих гидроагрегатов и вспомогательного оборудования (в теле плотины, в здании машинного зала).
В.2 Имеющиеся данные по вибрационному состоянию гидроагрегатов ГЭС и работе системы вибрационного контроля гидроагрегатов при прохождении землетрясения свидетельствуют:
- о превышении (в несколько раз) показаний датчиков абсолютной вибрации опорных узлов (направляющих подшипников, опоры подпятника, крышки турбины, грузонесущей крестовины) во время землетрясения относительно показаний датчиков во время штатной эксплуатации гидроагрегатов;
- практической неизменности показаний датчиков относительной вибрации (виброперемещение вала, виброперемещение диска) до и во время землетрясений.
По датчикам абсолютной вибрации осуществляется только световая и звуковая сигнализация, без действия на аварийный останов ГА.
(обязательное)
ПРЕДЕЛЬНО ДОПУСТИМЫЕ ВЕЛИЧИНЫ АБСОЛЮТНОЙ ВИБРАЦИИ
ОПОРНЫХ УЗЛОВ
На
рисунках Г.1,
Г.2 и в
таблице Г.1 показаны предельно допустимые величины абсолютной вибрации опорных узлов в графической и табличной форме соответственно.

- предупредительный уровень;

- аварийный уровень
Рисунок Г.1 - Предельно допустимые величины абсолютной
радиальной вибрации опорных узлов в графической форме

- предупредительный уровень;

- аварийный уровень
Рисунок Г.2 - Предельно допустимые величины абсолютной
осевой вибрации опорных узлов в графической форме
Примечание - Предельные кривые на
рисунке Г.2 применимы для линейчатого спектра и отдельных спектральных составляющих (линий) абсолютной осевой вибрации опорных узлов.
Таблица Г.1
Предельно допустимые величины абсолютной вибрации
опорных узлов в табличной форме
Частота вращения/вибрации, с-1/Гц | СКО предупредительного уровня, мкм | СКО аварийного уровня, мкм |
Менее 0,8 | 64 | 80 |
0,8 | 64 | 80 |
1,0 | 64 | 80 |
2,5 | 57 | 71 |
5,0 | 42 | 53 |
7,1 | 35 | 44 |
10,0 | 28 | 35 |
16,0 | 21 | 27 |
30,0 | 14 | 18 |
Более 30,0 | 14 | 18 |
Примечания 1 Уровни вибрации для промежуточных значений частоты определяют линейным интерполированием. 2 Уставки по среднему размаху определяют по формуле (4) путем умножения уставки по СКО на константу. |
| РД 24.023.117-88 | Методические указания "Измерение вибрации и оценка вибрационного состояния вертикальных гидравлических турбин" |
[2] | Правила технической эксплуатации электрических станций и сетей Российской Федерации (утверждены приказом Министерства энергетики Российской Федерации от 19 июня 2003 г. N 229) |
| Методика оценки технического состояния основного технологического оборудования и линий электропередачи электрических станций и электрических сетей (утверждены приказом Минэнерго от 26 июля 2017 г. N 676) |
| ИСО 20816-5:2018 | Механическая вибрация. Измерение и оценка вибрации машин. Часть 5. Агрегаты на гидроэлектростанциях и насосных станциях |
УДК 621.22:006.86:006.354 | |
Ключевые слова: гидроагрегат, вибрационное состояние, абсолютные и относительные виброперемещения, предупредительная и аварийная уставки, опорные узлы, установившийся нагрузочный проектный режим, система вибрационного контроля |