Главная // Актуальные документы // ГОСТ Р (Государственный стандарт)СПРАВКА
Источник публикации
М.: ФГБУ "Институт стандартизации", 2023
Примечание к документу
Документ
введен в действие с 01.06.2023.
Название документа
"ГОСТ Р 70697-2023. Национальный стандарт Российской Федерации. Грунты. Определение характеристик прочности скальных грунтов методом трехосного сжатия"
(утв. и введен в действие Приказом Росстандарта от 23.03.2023 N 163-ст)
"ГОСТ Р 70697-2023. Национальный стандарт Российской Федерации. Грунты. Определение характеристик прочности скальных грунтов методом трехосного сжатия"
(утв. и введен в действие Приказом Росстандарта от 23.03.2023 N 163-ст)
Утвержден и введен в действие
агентства по техническому
регулированию и метрологии
от 23 марта 2023 г. N 163-ст
НАЦИОНАЛЬНЫЙ СТАНДАРТ РОССИЙСКОЙ ФЕДЕРАЦИИ
ГРУНТЫ
ОПРЕДЕЛЕНИЕ ХАРАКТЕРИСТИК ПРОЧНОСТИ СКАЛЬНЫХ ГРУНТОВ
МЕТОДОМ ТРЕХОСНОГО СЖАТИЯ
Soils. Determination of the strength of rock soils
by the triaxial compression method
ГОСТ Р 70697-2023
Дата введения
1 июня 2023 года
1 РАЗРАБОТАН Акционерным обществом "Научно-исследовательский центр "Строительство" (АО "НИЦ "Строительство") - Научно-исследовательским, проектно-изыскательским и конструкторско-технологическим институтом оснований и подземных сооружений им. Н.М. Герсеванова (НИИОСП им. Н.М. Герсеванова) при участии геологического факультета Московского государственного университета им. М.В. Ломоносова, Санкт-Петербургского горного университета (СПГУ), Акционерного общества "ПрогрессГео" (АО "ПрогрессГео"), Акционерного общества "МОСТДОРГЕОТРЕСТ" (АО "МОСТДОРГЕОТРЕСТ") и Общества с ограниченной ответственностью "Научно-производственное предприятие "Геотек" (ООО "НПП "Геотек")
2 ВНЕСЕН Техническим комитетом по стандартизации ТК 465 "Строительство"
3 УТВЕРЖДЕН И ВВЕДЕН В ДЕЙСТВИЕ
Приказом Федерального агентства по техническому регулированию и метрологии от 23 марта 2023 г. N 163-ст
4 ВВЕДЕН ВПЕРВЫЕ
Правила применения настоящего стандарта установлены в статье 26 Федерального закона от 29 июня 2015 г. N 162-ФЗ "О стандартизации в Российской Федерации". Информация об изменениях к настоящему стандарту публикуется в ежегодном (по состоянию на 1 января текущего года) информационном указателе "Национальные стандарты", а официальный текст изменений и поправок - в ежемесячном информационном указателе "Национальные стандарты". В случае пересмотра (замены) или отмены настоящего стандарта соответствующее уведомление будет опубликовано в ближайшем выпуске ежемесячного информационного указателя "Национальные стандарты". Соответствующая информация, уведомление и тексты размещаются также в информационной системе общего пользования - на официальном сайте Федерального агентства по техническому регулированию и метрологии в сети Интернет (www.rst.gov.ru)
В основу настоящего стандарта положены результаты последних достижений в области лабораторных испытаний скальных грунтов.
Настоящий стандарт разработан авторским коллективом под руководством заведующего Лабораторией методов исследований грунтов (N 9) НИИОСП им. Н.М. Герсеванова, канд. техн. наук А.Н. Труфанова.
Настоящий стандарт распространяется на скальные грунты и устанавливает требования к определению характеристик прочности скальных грунтов методом трехосного сжатия.
В настоящем стандарте использованы нормативные ссылки на следующие стандарты:
ГОСТ 5180 Грунты. Методы лабораторного определения физических характеристик
ГОСТ 12071 Грунты. Отбор, упаковка, транспортирование и хранение образцов
ГОСТ 20522 Грунты. Методы статистической обработки результатов испытаний
Примечание - При пользовании настоящим стандартом целесообразно проверить действие ссылочных стандартов в информационной системе общего пользования - на официальном сайте Федерального агентства по техническому регулированию и метрологии в сети Интернет или по ежегодному информационному указателю "Национальные стандарты", который опубликован по состоянию на 1 января текущего года, и по выпускам ежемесячного информационного указателя "Национальные стандарты" за текущий год. Если заменен ссылочный стандарт, на который дана недатированная ссылка, то рекомендуется использовать действующую версию этого стандарта с учетом всех внесенных в данную версию изменений. Если заменен ссылочный стандарт, на который дана датированная ссылка, то рекомендуется использовать версию этого стандарта с указанным выше годом утверждения (принятия). Если после утверждения настоящего стандарта в ссылочный стандарт, на который дана датированная ссылка, внесено изменение, затрагивающее положение, на которое дана ссылка, то это положение рекомендуется применять без учета данного изменения. Если ссылочный стандарт отменен без замены, то положение, в котором дана ссылка на него, рекомендуется применять в части, не затрагивающей эту ссылку.
В настоящем стандарте применены термины по
ГОСТ 25100,
ГОСТ 30416, а также следующие термины с соответствующими определениями:
3.1
скальный грунт: Грунт, в котором преобладают структурные связи химической природы. |
3.2 многостадийное трехосное испытание: Многократное приведение к предельному состоянию одного и того же образца при различных значениях горизонтального напряжения в условиях трехосного осесимметричного нагружения.
4.1 Испытания скальных грунтов методом трехосного сжатия проводят в условиях осесимметричного нагружения путем разрушения образца вертикальной нагрузкой при заданных постоянных значениях горизонтального напряжения в условиях отсутствия дренажа.
4.2 Испытания грунта методом трехосного сжатия проводят для определения угла внутреннего трения

и удельного сцепления
c.
Определение всех характеристик проводят в полных напряжениях без измерения и учета порового давления.
Примечание - При необходимости по требованию заказчика могут быть указаны и другие характеристики, доступные для определения в рамках данного вида испытаний.
4.3 В процессе испытаний грунтов ведут журналы,
формы которых приведены в приложении А. При автоматизации процесса испытаний и обработки данных с помощью компьютерных программ результаты опыта выводят на компьютер в форме паспорта (протокола) испытаний.
4.4 Паспорт (протокол) испытаний должен включать в себя:
- идентификацию образца (номер буровой скважины, номер пробы, номер испытания, глубину отбора и т.п.);
- начальные размеры образца;
- физические характеристики образца грунта;
- таблицы измеренных и рассчитанных текущих параметров;
- графические материалы (графики зависимости вертикальной деформации от вертикального напряжения и девиатора напряжений, диаграмма Кулона-Мора);
- числовые значения полученных характеристик грунта;
- фотографию образца после испытания.
При необходимости допускается приводить другую дополнительную информацию.
4.5 Общие требования к лабораторным испытаниям грунтов, оборудованию, приборам и лабораторным помещениям приведены в
ГОСТ 30416.
5.1 Способы отбора монолитов и подготовки образцов для испытаний должны обеспечить сохранение их структуры и влажности в соответствии с
ГОСТ 12071 и
ГОСТ 30416.
5.2 Для испытуемых образцов должна быть определена исходная влажность в соответствии с требованиями
ГОСТ 5180. Для этого используется раздробленный материал обломков того же монолита скального грунта.
Примечание - По требованию заказчика могут быть определены другие классификационные параметры по
ГОСТ 25100.
5.3 Отбор, упаковку, транспортирование и хранение образцов скальных грунтов, предназначенных для трехосных испытаний, проводят в соответствии с требованиями
ГОСТ 12071.
5.4 Образцы скальных грунтов изготовляют в соответствии с требованиями ГОСТ 30416-2020
(приложение Б) и с учетом требований
5.2.
5.5 Образцы должны иметь цилиндрическую форму диаметром не менее 30 мм и соотношением высоты к диаметру, равным (2,0 +/- 0,1).
5.6 Образцы одной выборки должны иметь одинаковые форму и размеры.
5.7 Образцы изготовляют из штуфов и кернов выбуриванием на лабораторном буровом станке. Торцевые поверхности шлифуют на шлифовальном станке.
5.8 Горизонтальные торцевые поверхности изготовленного образца должны быть плоскими, строго параллельными друг другу и перпендикулярными его боковой поверхности. Вертикальная цилиндрическая поверхность образца должна быть прямолинейной по всей высоте.
5.9 Образцы из негигроскопических грунтов изготовляют с применением промывочной жидкости. Образцы из гигроскопических пород изготовляют без применения промывочной жидкости и до начала испытания хранят в эксикаторе.
5.10 Образцы скальных грунтов испытывают при природной влажности, в воздушно-сухом и водонасыщенном состоянии в зависимости от программы испытаний.
5.11 Перед проведением испытаний образец взвешивают и с учетом его объема определяют плотность грунта перед испытанием согласно
ГОСТ 5180.
5.12 Число образцов для испытаний при различных горизонтальных напряжениях должно быть не менее 3.
6.1 В состав установки для трехосных испытаний скальных грунтов в условиях осесимметричного нагружения должны входить:
- устройство вертикального нагружения;
- камера стабилометра;
- устройство для измерения вертикальной нагрузки на образец;
- устройство для измерения вертикальных перемещений;
- устройство создания и измерения давления в камере стабилометра.
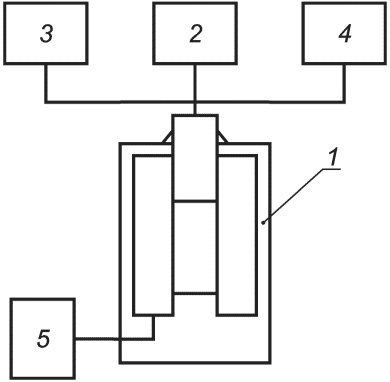
Блок-схема установки для трехосных испытаний скальных грунтов приведена на
рисунке Б.1 (приложение Б).
6.2 Устройство вертикального нагружения должно обеспечивать создание вертикального напряжения в образце, превышающего не менее чем на 20% максимальное вертикальное напряжение при разрушении

.
6.3 Устройство вертикального нагружения должно обеспечивать режим заданной скорости деформирования образца (кинематический режим) или заданной скорости возрастания нагрузки (возрастающей нагрузкой) с отклонениями не более 10% от заданных программой испытаний.
6.4 Для испытаний скальных грунтов используется камера стабилометра типа Б, схема которой приведена на
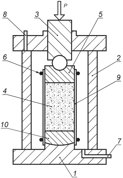
рисунке Б.2 (приложение Б).
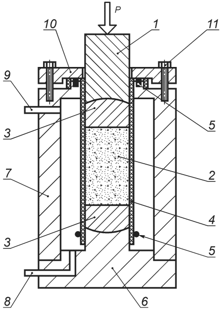
Примечание - Допускается также проведение трехосных испытаний скальных грунтов в камерах стабилометра типа А [
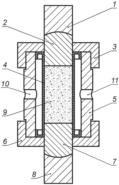
рисунок Б.3 (приложение Б)] и "ячейках Хука" [
рисунок Б.4 (приложение Б)].
6.5 Камера стабилометра должна обеспечивать размещение в ней образца скального грунта, изолированного от жидкости непроницаемой упругой оболочкой. Образец в камере размещается между двумя штампами, снабженными шарнирами для равномерной передачи вертикальной нагрузки на образец, как в начале испытания, так и в процессе его проведения.
Примечания
1 Допускается использование конструкции камеры с одним шарниром на верхнем или нижнем штампе.
2 Штампы должны быть изготовлены из инструментальной стали с упрочнением до твердости не менее 0,58 ед. по шкале Роквелла HRC. Контактирующие с образцом поверхности штампов должны быть отшлифованы и отполированы, при этом отклонение от плоскости не должно превышать 0,01 мм.
6.6 Устройство создания и измерения давления в камере стабилометра должно обеспечивать поддержание значения горизонтального напряжения

с отклонением не более 2% от заданного программой испытаний.
6.7 Погрешности для всех измерений должны соответствовать требованиями
ГОСТ 30416, при этом они не должны превышать:
- при измерении вертикальной нагрузки на образец - 2% максимальной нагрузки при разрушении;
- при измерении вертикальной деформации образца - 0,2% начальной высоты образца;
- при измерении давления в камере - 2% заданного значения.
7 Методика проведения испытания
7.1 Образец грунта размещают в камере стабилометра в гидроизолирующей оболочке. Процедура установки образца может отличаться в зависимости от конструкции камеры.
7.2 Камеру стабилометра герметизируют и заполняют рабочей жидкостью.
7.3 Испытания проводят при различных давлениях в камере стабилометра, предусмотренных программой испытаний. При этом горизонтальное напряжение

и вертикальное напряжение

поднимают одновременно.
7.4 С помощью устройства вертикального нагружения к образцу прикладывают дополнительную вертикальную нагрузку в соответствии с
6.3 вплоть до его разрушения.
Вертикальную нагрузку прикладывают с заданной скоростью деформирования образца (кинематический режим) или с заданной скоростью возрастания нагрузки (режим возрастающей нагрузки).
Кинематический режим нагружения осуществляется приращением вертикальной деформации образца грунта

со скоростью от 0,5% до 2% в минуту.
Примечания
1 В случае если мощность нагрузочного устройства недостаточна для проведения всего испытания с выбранной начальной скоростью деформирования, допускается в процессе испытаний проводить ее снижение.
2 При ограниченном объеме исследуемого материала по согласованию с заказчиком допускается проведение многостадийных трехосных испытаний в режиме заданной скорости деформирования в соответствии с
приложением В.
Режим возрастающей нагрузки обеспечивается непрерывным приращением вертикальной нагрузки со скоростью от 1 до 5 МПа/с.
7.5 Критерием разрушения образца скального грунта является снижение вертикальной нагрузки при кинематическом режиме нагружения и деформирование образца без приращения нагрузки - в режиме возрастающей нагрузки.
7.6 После испытания разрушенный образец фотографируют и определяют его влажность в соответствии с требованиями
ГОСТ 5180, для чего используют раздробленный материал из обломков этого же образца.
8.1 Значение максимального вертикального напряжения при разрушении

, МПа, вычисляют по формуле

, (1)
где Fm - максимальная нагрузка при разрушении, кН;
S - площадь поперечного сечения образца, см2.
8.2 При определении характеристик прочности по вычисленным значениям строят графики зависимости относительной вертикальной деформации от девиатора напряжений

для испытаний, проведенных при различных значениях горизонтальных напряжений

, и диаграмму Кулона-Мора.
По графику зависимости относительной вертикальной деформации от девиатора напряжений

определяют значения разрушающего девиатора напряжения

, соответствующего моменту разрушения образца грунта. Пример такого графика представлен на
рисунке Г.1 (приложение Г).
По результатам испытаний отдельных образцов строят диаграмму Кулона-Мора, по которой в соответствии с примером, приведенным на
рисунке Г.2, графическим путем определяют частные значения угла внутреннего трения

, град, и удельного сцепления
c, МПа (кПа).
8.3 Вычисление нормативных значений угла внутреннего трения

, град, и удельного сцепления
c, МПа (кПа), проводят в соответствии с
ГОСТ 20522. При этом для скальных грунтов во всех расчетных формулах вместо эффективных напряжений используют значения полных напряжений.
(рекомендуемое)
ФОРМА ЖУРНАЛА ИСПЫТАНИЙ СКАЛЬНОГО ГРУНТА
МЕТОДОМ ТРЕХОСНОГО СЖАТИЯ
ЖУРНАЛ ИСПЫТАНИЙ СКАЛЬНОГО ГРУНТА МЕТОДОМ ТРЕХОСНОГО СЖАТИЯ
(первая страница)
Организация (лаборатория) _________________________________________________
Объект (пункт) ____________________________________________________________
Сооружение ________________________________________________________________
Шурф (скважина) N _________________________________________________________
Глубина отбора образца, м _________________________________________________
Лабораторный номер образца ________________________________________________
Наименование грунта _______________________________________________________
Сложение грунта ___________________________________________________________
Визуальное описание грунта в лаборатории __________________________________
Вид испытания _____________________________________________________________
Приборы (тип, номер) ______________________________________________________
Дата испытаний: начало ___ окончание ___ Фотография образца после испытания
Данные об образце: ┌────────────────────────────────┐
Высота, мм __________ │ │
Диаметр, мм _________ │ │
Площадь, см2 ________ │ │
Объем, см3 __________ │ │
Масса, г ____________ │ │
│ │
│ │
└────────────────────────────────┘
Физические характеристики грунта
Характеристика | Значение | Примечание |
До опыта | После опыта |
| | | |
ЖУРНАЛ ИСПЫТАНИЙ СКАЛЬНОГО ГРУНТА МЕТОДОМ ТРЕХОСНОГО СЖАТИЯ
(продолжение)
Номер образца _____________
Дата испытания | Время снятия отсчета ti, ч | Время t, мин | Давление в камере  , МПа | Вертикальная нагрузка | Вертикальные деформации |
Осевая нагрузка F, кН | Площадь образца Ai, см2 | Полное напряжение  , МПа | Показания по прибору | Деформация с поправкой  , мм | Относительная деформация  |
| | | | | | | | | |
Объемные деформации | Примечание |
Показания по прибору | Объемная деформация с поправкой  , см 3 | Относительная объемная деформация  |
| | | |
(рекомендуемое)
СХЕМА УСТАНОВКИ ДЛЯ ТРЕХОСНЫХ ИСПЫТАНИЙ СКАЛЬНЫХ ГРУНТОВ
Б.1 Блок-схема установки для трехосных испытаний скальных грунтов
1 - камера стабилометра; 2 - блок вертикального нагружения;
3 - блок измерения вертикальной нагрузки; 4 - блок измерения
вертикальных перемещений; 5 - блок давления в камере
Рисунок Б.1 - Блок-схема установки для трехосных испытаний
скальных грунтов
Б.2 Схемы камер стабилометров для испытаний скальных грунтов
1 - нагрузочный шток; 2 - образец; 3 - штамп со сферической
посадкой; 4 - водонепроницаемая оболочка; 5 - уплотнительные
кольца (хомуты); 6 - основание камеры; 7 - корпус камеры;
8 - подающая магистраль; 9 - выпускная магистраль;
10 - прижимной фланец; 11 - шпильки; P - нагрузка
Рисунок Б.2 - Структурная схема камеры стабилометра типа Б
1 - основание камеры; 2 - корпус камеры; 3 - шток;
4 - образец скального грунта в оболочке; 5 - верхний штамп;
6 - уплотнительные кольца (хомуты); 7 - магистраль давления
в камере; 8 - магистраль для выпуска воздуха;
9 - водонепроницаемая оболочка; 10 - штамп со сферической
посадкой; P - нагрузка
Рисунок Б.3 - Структурная схема камеры стабилометра типа А
1 - верхняя опора; 2 - верхний штамп; 3 - верхняя накидная
гайка; 4 - резиновая уплотняющая втулка; 5 - корпус;
6 - нижняя накидная гайка; 7 - нижний штамп; 8 - нижняя
опора; 9 - образец скального грунта; 10 - подача рабочей
жидкости; 11 - отверстие для выпуска воздуха
Рисунок Б.4 - Структурная схема "ячейки Хука"
(рекомендуемое)
МНОГОСТАДИЙНОЕ ТРЕХОСНОЕ ИСПЫТАНИЕ СКАЛЬНЫХ ГРУНТОВ
В.1 Многостадийные трехосные испытания в целом соответствуют требованиям настоящего стандарта.
В.2 Сущность многостадийного трехосного испытания заключается в многократном доведении одного и того же образца до предельного состояния при постадийном увеличении горизонтального напряжения.
В.3 Метод является вспомогательным и используется, как правило, при ограниченном объеме грунтового материала. В отличие от
5.12 испытания для определения угла внутреннего трения

и удельного сцепления
c проводят на одном образце.
В.4 Процедура подготовки образца к испытанию и оборудование для его проведения соответствуют
разделам 5,
6 и
7.1,
7.2 настоящего стандарта.
В.5 В отличие от
7.4 вертикальное нагружение образцов скальных грунтов при данном виде испытаний проводят только в режиме заданной скорости деформирования.
В.6 После выполнения операций по
7.1,
7.2 к образцу одновременно прикладывают горизонтальное и вертикальное напряжения, соответствующие условиям природного напряженного состояния грунта.
В.7 При поддержании горизонтального напряжения на достигнутом уровне проводят дальнейшее вертикальное нагружение образца до достижения значения разрушающего девиатора напряжений
qf, фиксируемого на графике кривой напряжение-деформация
(рисунок Г.1). Критерием завершения нагружения на текущей ступени нагружения и перехода к следующей является достижение пиковой нагрузки.
В.8 После первой стадии испытания горизонтальное напряжение, МПа, поднимается на величину

:

, (В.1)
где

- величина максимального дополнительного горизонтального напряжения, заданного программой испытаний, МПа;
n - заданное программой число ступеней разрушения (n <= 3).
В.9 Далее в соответствии с процедурой по
В.7 воспроизводят следующую стадию нагружения образца.
В.10 Повторение стадий нагружения образца продолжается вплоть до последней стадии при максимальном дополнительном горизонтальном напряжении

.
В.11 На последней стадии вертикальное нагружение образца продолжается вплоть до получения установившегося значения девиатора напряжений
qf, соответствующего остаточной прочности образца.
В.12 После этого осуществляют снижение горизонтального напряжения до атмосферного давления с измерением текущих значений вертикального и горизонтального напряжений.
В.13 Частные значения максимального девиатора напряжений при разрушении
qf для каждого этапа нагружения фиксируют, как и для основного метода, по графику зависимости деформации от девиатора напряжений в соответствии с
приложением Г.
В.14 По результатам многостадийного испытания в соответствии с
8.2 строят диаграмму Кулона-Мора, по которой графически определяют угол внутреннего трения

и удельное сцепление
c [
рисунок Г.2 (приложение Г)].
В.15 Нормативные значения прочностных характеристик определяют в соответствии с
8.3.
В.16 Значения вертикального и горизонтального напряжений, полученные в соответствии с
В.11 на этапе установившегося значения девиатора, могут быть использованы для определения угла внутреннего трения и удельного сцепления остаточной прочности.
В.17 После завершения испытания проводят определение влажности образца в соответствии с
7.6.
(справочное)
ПРИМЕРЫ ГРАФИЧЕСКОГО ОФОРМЛЕНИЯ РЕЗУЛЬТАТОВ ИСПЫТАНИЙ
ГРУНТА МЕТОДОМ ТРЕХОСНОГО СЖАТИЯ
Рисунок Г.1 - График зависимости
вертикальной деформации

от девиатора напряжений
q
при разрушении образца скального грунта

- полное напряжение;

- сопротивление сдвигу
Рисунок Г.2 - Диаграмма прочности Кулона-Мора
УДК 624.131:006.354 | |
Ключевые слова: скальные грунты, трехосные испытания, угол внутреннего трения, удельное сцепление, модуль деформации |